JP7003074B2 - 磁気テープ、磁気テープカートリッジおよび磁気テープ装置 - Google Patents
磁気テープ、磁気テープカートリッジおよび磁気テープ装置 Download PDFInfo
- Publication number
- JP7003074B2 JP7003074B2 JP2019016532A JP2019016532A JP7003074B2 JP 7003074 B2 JP7003074 B2 JP 7003074B2 JP 2019016532 A JP2019016532 A JP 2019016532A JP 2019016532 A JP2019016532 A JP 2019016532A JP 7003074 B2 JP7003074 B2 JP 7003074B2
- Authority
- JP
- Japan
- Prior art keywords
- magnetic tape
- magnetic
- reading
- track
- servo
- Prior art date
- Legal status (The legal status is an assumption and is not a legal conclusion. Google has not performed a legal analysis and makes no representation as to the accuracy of the status listed.)
- Active
Links
Images
Classifications
-
- G—PHYSICS
- G11—INFORMATION STORAGE
- G11B—INFORMATION STORAGE BASED ON RELATIVE MOVEMENT BETWEEN RECORD CARRIER AND TRANSDUCER
- G11B5/00—Recording by magnetisation or demagnetisation of a record carrier; Reproducing by magnetic means; Record carriers therefor
- G11B5/48—Disposition or mounting of heads or head supports relative to record carriers ; arrangements of heads, e.g. for scanning the record carrier to increase the relative speed
- G11B5/58—Disposition or mounting of heads or head supports relative to record carriers ; arrangements of heads, e.g. for scanning the record carrier to increase the relative speed with provision for moving the head for the purpose of maintaining alignment of the head relative to the record carrier during transducing operation, e.g. to compensate for surface irregularities of the latter or for track following
- G11B5/584—Disposition or mounting of heads or head supports relative to record carriers ; arrangements of heads, e.g. for scanning the record carrier to increase the relative speed with provision for moving the head for the purpose of maintaining alignment of the head relative to the record carrier during transducing operation, e.g. to compensate for surface irregularities of the latter or for track following for track following on tapes
-
- G—PHYSICS
- G11—INFORMATION STORAGE
- G11B—INFORMATION STORAGE BASED ON RELATIVE MOVEMENT BETWEEN RECORD CARRIER AND TRANSDUCER
- G11B20/00—Signal processing not specific to the method of recording or reproducing; Circuits therefor
- G11B20/10—Digital recording or reproducing
- G11B20/10009—Improvement or modification of read or write signals
- G11B20/10046—Improvement or modification of read or write signals filtering or equalising, e.g. setting the tap weights of an FIR filter
-
- G—PHYSICS
- G11—INFORMATION STORAGE
- G11B—INFORMATION STORAGE BASED ON RELATIVE MOVEMENT BETWEEN RECORD CARRIER AND TRANSDUCER
- G11B23/00—Record carriers not specific to the method of recording or reproducing; Accessories, e.g. containers, specially adapted for co-operation with the recording or reproducing apparatus ; Intermediate mediums; Apparatus or processes specially adapted for their manufacture
- G11B23/50—Reconditioning of record carriers; Cleaning of record carriers ; Carrying-off electrostatic charges
- G11B23/502—Reconditioning of record carriers; Cleaning of record carriers ; Carrying-off electrostatic charges of tape carriers
-
- G—PHYSICS
- G11—INFORMATION STORAGE
- G11B—INFORMATION STORAGE BASED ON RELATIVE MOVEMENT BETWEEN RECORD CARRIER AND TRANSDUCER
- G11B27/00—Editing; Indexing; Addressing; Timing or synchronising; Monitoring; Measuring tape travel
- G11B27/02—Editing, e.g. varying the order of information signals recorded on, or reproduced from, record carriers
- G11B27/022—Electronic editing of analogue information signals, e.g. audio or video signals
-
- G—PHYSICS
- G11—INFORMATION STORAGE
- G11B—INFORMATION STORAGE BASED ON RELATIVE MOVEMENT BETWEEN RECORD CARRIER AND TRANSDUCER
- G11B5/00—Recording by magnetisation or demagnetisation of a record carrier; Reproducing by magnetic means; Record carriers therefor
- G11B5/62—Record carriers characterised by the selection of the material
- G11B5/68—Record carriers characterised by the selection of the material comprising one or more layers of magnetisable material homogeneously mixed with a bonding agent
- G11B5/70—Record carriers characterised by the selection of the material comprising one or more layers of magnetisable material homogeneously mixed with a bonding agent on a base layer
- G11B5/702—Record carriers characterised by the selection of the material comprising one or more layers of magnetisable material homogeneously mixed with a bonding agent on a base layer characterised by the bonding agent
- G11B5/7021—Record carriers characterised by the selection of the material comprising one or more layers of magnetisable material homogeneously mixed with a bonding agent on a base layer characterised by the bonding agent containing a polyurethane or a polyisocyanate
- G11B5/7022—Record carriers characterised by the selection of the material comprising one or more layers of magnetisable material homogeneously mixed with a bonding agent on a base layer characterised by the bonding agent containing a polyurethane or a polyisocyanate containing mixtures of polyurethanes or polyisocyanates with other polymers
-
- G—PHYSICS
- G11—INFORMATION STORAGE
- G11B—INFORMATION STORAGE BASED ON RELATIVE MOVEMENT BETWEEN RECORD CARRIER AND TRANSDUCER
- G11B5/00—Recording by magnetisation or demagnetisation of a record carrier; Reproducing by magnetic means; Record carriers therefor
- G11B5/62—Record carriers characterised by the selection of the material
- G11B5/68—Record carriers characterised by the selection of the material comprising one or more layers of magnetisable material homogeneously mixed with a bonding agent
- G11B5/70—Record carriers characterised by the selection of the material comprising one or more layers of magnetisable material homogeneously mixed with a bonding agent on a base layer
- G11B5/706—Record carriers characterised by the selection of the material comprising one or more layers of magnetisable material homogeneously mixed with a bonding agent on a base layer characterised by the composition of the magnetic material
- G11B5/70605—Record carriers characterised by the selection of the material comprising one or more layers of magnetisable material homogeneously mixed with a bonding agent on a base layer characterised by the composition of the magnetic material metals or alloys
- G11B5/7061—Record carriers characterised by the selection of the material comprising one or more layers of magnetisable material homogeneously mixed with a bonding agent on a base layer characterised by the composition of the magnetic material metals or alloys with a non-magnetic core
-
- G—PHYSICS
- G11—INFORMATION STORAGE
- G11B—INFORMATION STORAGE BASED ON RELATIVE MOVEMENT BETWEEN RECORD CARRIER AND TRANSDUCER
- G11B5/00—Recording by magnetisation or demagnetisation of a record carrier; Reproducing by magnetic means; Record carriers therefor
- G11B5/62—Record carriers characterised by the selection of the material
- G11B5/68—Record carriers characterised by the selection of the material comprising one or more layers of magnetisable material homogeneously mixed with a bonding agent
- G11B5/70—Record carriers characterised by the selection of the material comprising one or more layers of magnetisable material homogeneously mixed with a bonding agent on a base layer
- G11B5/706—Record carriers characterised by the selection of the material comprising one or more layers of magnetisable material homogeneously mixed with a bonding agent on a base layer characterised by the composition of the magnetic material
- G11B5/70626—Record carriers characterised by the selection of the material comprising one or more layers of magnetisable material homogeneously mixed with a bonding agent on a base layer characterised by the composition of the magnetic material containing non-metallic substances
- G11B5/70642—Record carriers characterised by the selection of the material comprising one or more layers of magnetisable material homogeneously mixed with a bonding agent on a base layer characterised by the composition of the magnetic material containing non-metallic substances iron oxides
- G11B5/70678—Ferrites
- G11B5/70684—Ferro-ferrioxydes
-
- G—PHYSICS
- G11—INFORMATION STORAGE
- G11B—INFORMATION STORAGE BASED ON RELATIVE MOVEMENT BETWEEN RECORD CARRIER AND TRANSDUCER
- G11B5/00—Recording by magnetisation or demagnetisation of a record carrier; Reproducing by magnetic means; Record carriers therefor
- G11B5/62—Record carriers characterised by the selection of the material
- G11B5/68—Record carriers characterised by the selection of the material comprising one or more layers of magnetisable material homogeneously mixed with a bonding agent
- G11B5/70—Record carriers characterised by the selection of the material comprising one or more layers of magnetisable material homogeneously mixed with a bonding agent on a base layer
- G11B5/708—Record carriers characterised by the selection of the material comprising one or more layers of magnetisable material homogeneously mixed with a bonding agent on a base layer characterised by addition of non-magnetic particles to the layer
-
- G—PHYSICS
- G11—INFORMATION STORAGE
- G11B—INFORMATION STORAGE BASED ON RELATIVE MOVEMENT BETWEEN RECORD CARRIER AND TRANSDUCER
- G11B5/00—Recording by magnetisation or demagnetisation of a record carrier; Reproducing by magnetic means; Record carriers therefor
- G11B5/74—Record carriers characterised by the form, e.g. sheet shaped to wrap around a drum
- G11B5/78—Tape carriers
-
- B—PERFORMING OPERATIONS; TRANSPORTING
- B82—NANOTECHNOLOGY
- B82Y—SPECIFIC USES OR APPLICATIONS OF NANOSTRUCTURES; MEASUREMENT OR ANALYSIS OF NANOSTRUCTURES; MANUFACTURE OR TREATMENT OF NANOSTRUCTURES
- B82Y10/00—Nanotechnology for information processing, storage or transmission, e.g. quantum computing or single electron logic
-
- B—PERFORMING OPERATIONS; TRANSPORTING
- B82—NANOTECHNOLOGY
- B82Y—SPECIFIC USES OR APPLICATIONS OF NANOSTRUCTURES; MEASUREMENT OR ANALYSIS OF NANOSTRUCTURES; MANUFACTURE OR TREATMENT OF NANOSTRUCTURES
- B82Y25/00—Nanomagnetism, e.g. magnetoimpedance, anisotropic magnetoresistance, giant magnetoresistance or tunneling magnetoresistance
-
- G—PHYSICS
- G01—MEASURING; TESTING
- G01B—MEASURING LENGTH, THICKNESS OR SIMILAR LINEAR DIMENSIONS; MEASURING ANGLES; MEASURING AREAS; MEASURING IRREGULARITIES OF SURFACES OR CONTOURS
- G01B11/00—Measuring arrangements characterised by the use of optical techniques
- G01B11/02—Measuring arrangements characterised by the use of optical techniques for measuring length, width or thickness
- G01B11/06—Measuring arrangements characterised by the use of optical techniques for measuring length, width or thickness for measuring thickness ; e.g. of sheet material
- G01B11/0616—Measuring arrangements characterised by the use of optical techniques for measuring length, width or thickness for measuring thickness ; e.g. of sheet material of coating
- G01B11/0675—Measuring arrangements characterised by the use of optical techniques for measuring length, width or thickness for measuring thickness ; e.g. of sheet material of coating using interferometry
-
- G—PHYSICS
- G11—INFORMATION STORAGE
- G11B—INFORMATION STORAGE BASED ON RELATIVE MOVEMENT BETWEEN RECORD CARRIER AND TRANSDUCER
- G11B5/00—Recording by magnetisation or demagnetisation of a record carrier; Reproducing by magnetic means; Record carriers therefor
- G11B2005/0002—Special dispositions or recording techniques
- G11B2005/0005—Arrangements, methods or circuits
- G11B2005/001—Controlling recording characteristics of record carriers or transducing characteristics of transducers by means not being part of their structure
- G11B2005/0013—Controlling recording characteristics of record carriers or transducing characteristics of transducers by means not being part of their structure of transducers, e.g. linearisation, equalisation
-
- G—PHYSICS
- G11—INFORMATION STORAGE
- G11B—INFORMATION STORAGE BASED ON RELATIVE MOVEMENT BETWEEN RECORD CARRIER AND TRANSDUCER
- G11B5/00—Recording by magnetisation or demagnetisation of a record carrier; Reproducing by magnetic means; Record carriers therefor
- G11B5/62—Record carriers characterised by the selection of the material
- G11B5/68—Record carriers characterised by the selection of the material comprising one or more layers of magnetisable material homogeneously mixed with a bonding agent
- G11B5/70—Record carriers characterised by the selection of the material comprising one or more layers of magnetisable material homogeneously mixed with a bonding agent on a base layer
- G11B5/7013—Record carriers characterised by the selection of the material comprising one or more layers of magnetisable material homogeneously mixed with a bonding agent on a base layer characterised by the dispersing agent
-
- G—PHYSICS
- G11—INFORMATION STORAGE
- G11B—INFORMATION STORAGE BASED ON RELATIVE MOVEMENT BETWEEN RECORD CARRIER AND TRANSDUCER
- G11B5/00—Recording by magnetisation or demagnetisation of a record carrier; Reproducing by magnetic means; Record carriers therefor
- G11B5/62—Record carriers characterised by the selection of the material
- G11B5/68—Record carriers characterised by the selection of the material comprising one or more layers of magnetisable material homogeneously mixed with a bonding agent
- G11B5/70—Record carriers characterised by the selection of the material comprising one or more layers of magnetisable material homogeneously mixed with a bonding agent on a base layer
- G11B5/702—Record carriers characterised by the selection of the material comprising one or more layers of magnetisable material homogeneously mixed with a bonding agent on a base layer characterised by the bonding agent
-
- G—PHYSICS
- G11—INFORMATION STORAGE
- G11B—INFORMATION STORAGE BASED ON RELATIVE MOVEMENT BETWEEN RECORD CARRIER AND TRANSDUCER
- G11B5/00—Recording by magnetisation or demagnetisation of a record carrier; Reproducing by magnetic means; Record carriers therefor
- G11B5/62—Record carriers characterised by the selection of the material
- G11B5/68—Record carriers characterised by the selection of the material comprising one or more layers of magnetisable material homogeneously mixed with a bonding agent
- G11B5/70—Record carriers characterised by the selection of the material comprising one or more layers of magnetisable material homogeneously mixed with a bonding agent on a base layer
- G11B5/706—Record carriers characterised by the selection of the material comprising one or more layers of magnetisable material homogeneously mixed with a bonding agent on a base layer characterised by the composition of the magnetic material
- G11B5/70626—Record carriers characterised by the selection of the material comprising one or more layers of magnetisable material homogeneously mixed with a bonding agent on a base layer characterised by the composition of the magnetic material containing non-metallic substances
- G11B5/70642—Record carriers characterised by the selection of the material comprising one or more layers of magnetisable material homogeneously mixed with a bonding agent on a base layer characterised by the composition of the magnetic material containing non-metallic substances iron oxides
- G11B5/70678—Ferrites
-
- G—PHYSICS
- G11—INFORMATION STORAGE
- G11B—INFORMATION STORAGE BASED ON RELATIVE MOVEMENT BETWEEN RECORD CARRIER AND TRANSDUCER
- G11B5/00—Recording by magnetisation or demagnetisation of a record carrier; Reproducing by magnetic means; Record carriers therefor
- G11B5/62—Record carriers characterised by the selection of the material
- G11B5/73—Base layers, i.e. all non-magnetic layers lying under a lowermost magnetic recording layer, e.g. including any non-magnetic layer in between a first magnetic recording layer and either an underlying substrate or a soft magnetic underlayer
- G11B5/733—Base layers, i.e. all non-magnetic layers lying under a lowermost magnetic recording layer, e.g. including any non-magnetic layer in between a first magnetic recording layer and either an underlying substrate or a soft magnetic underlayer characterised by the addition of non-magnetic particles
-
- G—PHYSICS
- G11—INFORMATION STORAGE
- G11B—INFORMATION STORAGE BASED ON RELATIVE MOVEMENT BETWEEN RECORD CARRIER AND TRANSDUCER
- G11B5/00—Recording by magnetisation or demagnetisation of a record carrier; Reproducing by magnetic means; Record carriers therefor
- G11B5/62—Record carriers characterised by the selection of the material
- G11B5/73—Base layers, i.e. all non-magnetic layers lying under a lowermost magnetic recording layer, e.g. including any non-magnetic layer in between a first magnetic recording layer and either an underlying substrate or a soft magnetic underlayer
- G11B5/735—Base layers, i.e. all non-magnetic layers lying under a lowermost magnetic recording layer, e.g. including any non-magnetic layer in between a first magnetic recording layer and either an underlying substrate or a soft magnetic underlayer characterised by the back layer
Landscapes
- Engineering & Computer Science (AREA)
- Metallurgy (AREA)
- Signal Processing (AREA)
- Multimedia (AREA)
- Physics & Mathematics (AREA)
- General Physics & Mathematics (AREA)
- Adjustment Of The Magnetic Head Position Track Following On Tapes (AREA)
- Magnetic Record Carriers (AREA)
- Signal Processing For Digital Recording And Reproducing (AREA)
- Recording Or Reproducing By Magnetic Means (AREA)
- Moving Of The Head To Find And Align With The Track (AREA)
Description
非磁性支持体と、強磁性粉末および結合剤を含む磁性層と、を有する磁気テープであって、
上記磁性層は、タイミングベースサーボパターンを有し、
上記タイミングベースサーボパターンの磁気力顕微鏡観察により特定されるエッジ形状は、磁気テープの長手方向における理想形状からの位置ずれ幅の累積分布関数99.9%の値L99.9と上記累積分布関数0.1%の値L0.1との差分(L99.9-L0.1)が180nm以下である形状であり、かつ
上記磁性層の表面においてメチルエチルケトン洗浄後に光学干渉法により測定されるスペーシングSafterと、上記磁性層の表面においてメチルエチルケトン洗浄前に光学干渉法により測定されるスペーシングSbeforeとの差分(Safter-Sbefore)(以下、「メチルエチルケトン洗浄前後のスペーシング差分(Safter-Sbefore)」または単に「差分(Safter-Sbefore)」とも記載する。)が0nm超15.0nm以下である、磁気テープ、
に関する。
磁気テープと、
読取素子ユニットと、
抽出部と、
を含み、
上記磁気テープは、上記の本発明の一態様にかかる磁気テープであり、
上記読取素子ユニットは、上記磁気テープに含まれるトラック領域のうちの読取対象トラックを含む特定トラック領域からデータを各々読み取る複数の読取素子を有し、
上記抽出部は、上記読取素子毎の読取結果の各々に対して波形等化処理を施すことにより、上記読取結果から、上記読取対象トラックに由来するデータを抽出する、磁気テープ装置、
に関する。
これに対し、複数の読取素子を利用し、磁気テープに含まれるトラック領域のうちの読取対象トラックを含む特定トラック領域からデータを各々読み取り、かつ、読取素子毎の読取結果の各々に対して波形等化処理を施すことにより、上記読取結果から上記読取対象トラックに由来するデータを抽出すれば、読取対象トラックから単一の読取素子のみによってデータが読み取られる場合に比べ、読取対象トラックから読み取られるデータの再生品質を高めることができる。その結果、良好な再生品質を確保できるずれ量(トラックオフセット量)の許容量を大きくすることができる。
ただし、読取素子と読取対象トラックとの相対位置の変動(以下、「相対位置変動」という。)が大きいと、複数の読取素子毎の読取結果の各々に対して施される波形等化処理が、必ずしも各読取結果に対する最適な波形等化処理とは言えない場合がある。例えば、2次元FIRフィルタにより施される波形等化処理が、必ずしも各読取結果に対する最適な波形等化処理とは言えない場合がある。これに対し、上記の相対位置変動を抑制することができれば、複数の読取素子により読み取られた読取結果の各々に対して、より適した波形等化処理を施すことが可能となる。その結果、上記の波形等化処理が施されて抽出された読取対象トラックに由来するデータについて良好な再生品質を確保できるずれ量の許容量を大きくすることができる。この点に関して、本発明の一態様にかかる磁気テープにおいて、上記のメチルエチルケトン洗浄前後のスペーシング差分(Safter-Sbefore)が0nm超15.0nm以下であることは、上記の相対位置変動を抑制することに寄与すると推察される。この点については更に後述する。
また、サーボパターンが設計形状(例えば、詳細を後述する理想形状)により近い形状で形成されているほど、読取素子が走行している位置を特定する精度はより高まる。このことも、良好な再生品質を確保できるずれ量(トラックオフセット量)の許容量を大きくすることにつながる。この点に関して、上記差分(L99.9-L0.1)は、サーボパターン(タイミングベースサーボパターン)の形状に関する指標である。詳細は後述する。
以上のように、良好な再生品質を確保できるずれ量の許容量を大きくできることは、トラックマージン(記録トラック幅-再生素子幅)を小さくしても良好な再生品質(例えば高SNR、低エラーレート等)での再生を可能にすることに寄与し得る。そしてトラックマージンを小さくできることは、記録トラック幅を小さくして磁気テープの幅方向に配置可能な記録トラック数を増すこと、即ち高容量化に寄与し得る。
一例として図1に示すように、磁気テープ装置10は、磁気テープカートリッジ12、搬送装置14、読取ヘッド16、および制御装置18を備えている。
また、上記磁気テープ装置は、磁気テープに記録されたデータの読み取り(再生)を行うことができ、更に、磁気テープへのデータの記録を行うための構成を有することもできる。
次に、本発明の一態様にかかる磁気テープの詳細について説明する。
本発明および本明細書における「タイミングベースサーボパターン」とは、タイミングベースサーボシステムにおけるヘッドトラッキングが可能なサーボパターンをいう。タイミングベースサーボシステムにおけるヘッドトラッキングが可能なサーボパターンは、サーボパターンを形成するためのヘッドであるサーボライトヘッド(servo write head)により、磁性層に二種以上の異なる形状の複数のサーボパターンとして形成される。一例では、二種以上の異なる形状の複数のサーボパターンが、同種の形状の複数のサーボパターンごとに連続して一定の間隔をもって配置される。他の一例では、異なる種類のサーボパターンが交互に配置される。なおサーボパターンが同種の形状であることに関しては、サーボパターンのエッジ形状の位置ずれは不問とする。タイミングベースサーボシステムにおけるヘッドトラッキングが可能なサーボパターンの形状およびサーボバンド上での配置は公知であり、具体的態様は後述する。以下、タイミングベースサーボパターンを、単にサーボパターンとも記載する。本発明および本明細書において、タイミングベースサーボパターンの磁気力顕微鏡観察により特定されるエッジ形状は、データ(情報)を記録する際の磁気テープ走行方向(以下、単に「走行方向」とも記載する。)に対して下流側に位置するエッジ(端辺)の形状とする。
以下では、磁気テープの幅方向の一方から他方に向かって連続的に延び、磁気テープの幅方向に対して角度αで傾斜した直線状サーボパターンを主に例に取り説明する。上記の角度αとは、データ(情報)を記録する際の磁気テープの走行方向に対して下流側に位置するサーボパターンのエッジのテープ幅方向の端部2箇所を結ぶ線分と磁気テープの幅方向とのなす角度をいうものとする。この点を含め、以下に更に説明する。
サーボパターンが形成された磁気テープの磁性層表面を磁気力顕微鏡(MFM;Magnetic Force Microscope)で観察する。測定範囲は、サーボパターンが5本含まれる範囲とする。例えば、LTO Ultriumフォーマットテープでは、測定範囲を90μm×90μmとすることにより、AバーストまたはBバーストの5本のサーボパターンを観察することができる。測定範囲を100nmピッチで測定(粗測定)することによりサーボパターン(磁化領域)を抽出する。なお本発明および本明細書において、磁性層表面との語は、磁気テープの磁性層側表面と同義で用いるものとする。
その後、サーボパターンの、走行方向に対して下流側に位置するエッジにおいて磁化領域と非磁化領域との境界を検出するために、上記境界近傍において5nmピッチで測定を行い磁気プロファイルを得る。得られた磁気プロファイルが、磁気テープの幅方向に対して角度α傾斜している場合には、解析ソフトにより磁気テープ幅方向に沿うように(α=0°となるように)回転補正する。その後、解析ソフトにより、5nmピッチで測定された各プロファイルのピーク値の位置座標を算出する。このピーク値の位置座標は、磁化領域と非磁化領域との境界の位置を示している。位置座標は、例えば、走行方向をx座標、幅方向をy座標とするxy座標系により特定される。
理想形状が直線であって直線上のある位置の位置座標が(x,y)=(a,b)である場合を例に取ると、実際に求められたエッジ形状(上記境界の位置座標)が理想形状と一致していたならば、算出される位置座標は、(x,y)=(a,b)となる。この場合、位置ずれ幅はゼロである。これに対し、実際に求められたエッジ形状が理想形状からずれていたならば、上記境界のy=bの位置のx座標は、x=a+cまたはx=a―cとなる。x=a+cとは、例えば走行方向に対して上流側に幅cずれている場合であり、x=a-cとは、例えば走行方向に対して下流側に幅c(即ち上流側を基準にすると-c)ずれている場合である。ここでcが、位置ずれ幅である。即ち、理想形状からのx座標の位置ずれ幅の絶対値が、磁気テープの長手方向における理想形状からの位置ずれ幅である。こうして、5nmピッチでの測定により求められた走行方向の下流側のエッジ各箇所での位置ずれ幅を求める。
各サーボパターンについて得られた値から、解析ソフトにより累積分布関数を得る。得られた累積分布関数から、累積分布関数99.9%の値L99.9と0.1%の値L0.1とを求め、求められた値から各サーボパターンについて差分(L99.9-L0.1)を求める。
以上の測定を、異なる3箇所の測定範囲で行う(測定数N=3)。
各サーボパターンについて得られた差分(L99.9-L0.1)の算術平均を、磁気テープについての上記の差分(L99.9-L0.1)と定義する。
テープ幅方向の一方から他方に向かって連続的に延びる直線状サーボパターンについて、エッジ形状の「理想形状」とは、直線状のサーボパターンの走行方向の下流側のエッジの端部2箇所を結ぶ線分の形状(直線形状)である。例えば図15に示した直線状サーボパターンについては、図16または図17中のL1で示した直線の形状である。一方、不連続に延びる直線状サーボパターンについては、理想形状とは、傾斜角度の変曲点がある形状については、傾斜角度が同じ部分の一端から他端を結ぶ線分の形状(直線形状)である。また、1箇所以上で途切れて延びている形状については、連続的に延びている各部分のそれぞれの一端から他端を結ぶ線分の形状(直線形状)である。例えば、図19に示すサーボパターンについては、e1とe2とを結ぶ線分、およびe2とe3とを結ぶ線分である。図20に示すサーボパターンについては、e4とe5とを結ぶ線分、およびe6とe7とを結ぶ線分である。図21に示すサーボパターンについては、e8とe9とを結ぶ線分、およびe10とe11とを結ぶ線分である。
また、上記解析ソフトとしては、市販の解析ソフト、または公知の演算式を組み込んだ解析ソフトを用いることができる。
磁気テープ(詳しくは上記の試料片。以下同様。)と透明な板状部材(例えばガラス板等)を、磁気テープの磁性層表面が透明な板状部材と対向するように重ね合わせた状態で、磁気テープの磁性層側とは反対側から0.5atmの圧力で押圧部材を押しつける。1atm=101325Pa(パスカル)である。この状態で、透明な板状部材を介して磁気テープの磁性層表面に光を照射し(照射領域:150000~200000μm2)、磁気テープの磁性層表面からの反射光と透明な板状部材の磁気テープ側表面からの反射光との光路差によって発生する干渉光の強度(例えば干渉縞画像のコントラスト)に基づき、磁気テープの磁性層表面と透明な板状部材の磁気テープ側表面との間のスペーシング(距離)を求める。ここで照射される光は特に限定されるものではない。照射される光が、複数波長の光を含む白色光のように、比較的広範な波長範囲にわたり発光波長を有する光の場合には、透明な板状部材と反射光を受光する受光部との間に、干渉フィルタ等の特定波長の光または特定波長域以外の光を選択的にカットする機能を有する部材を配置し、反射光の中の一部の波長の光または一部の波長域の光を選択的に受光部に入射させる。照射させる光が単一の発光ピークを有する光(いわゆる単色光)の場合には、上記の部材は用いなくてもよい。受光部に入射させる光の波長は、一例として、例えば500~700nmの範囲にあることができる。ただし、受光部に入射させる光の波長は、上記範囲に限定されるものではない。また、透明な板状部材は、この部材を介して磁気記録媒体に光を照射し干渉光が得られる程度に、照射される光が透過する透明性を有する部材であればよい。
上記スペーシングの測定により得られる干渉縞画像を300000ポイントに分割して各ポイントのスペーシング(磁気テープの磁性層表面と透明な板状部材の磁気テープ側表面との間の距離)を求め、これをヒストグラムとし、このヒストグラムにおける最頻値を、スペーシングとする。差分(Safter-Sbefore)は、上記300000ポイントにおけるメチルエチルケトン洗浄後の最頻値からメチルエチルケトン洗浄前の最頻値を差し引いた値をいうものとする。
同じ磁気テープから2つの試料片を切り出し、一方をメチルエチルケトン洗浄なしで上記スペーシングの値Sbeforeを求め、他方をメチルエチルケトン洗浄に付した後に上記スペーシングの値Safterを求めることによって、差分(Safter-Sbefore)を求めてもよい。または、メチルエチルケトン洗浄前に上記スペーシングの値を求めた試料片を、その後にメチルエチルケトン洗浄に付した後に上記スペーシングの値を求めることによって差分(Safter-Sbefore)を求めてもよい。
以上の測定は、例えばMicro Physics社製Tape Spacing Analyzer等の市販のテープスペーシングアナライザー(Tape Spacing Analyzer;TSA)を用いて行うことができる。実施例におけるスペーシング測定は、Micro Physics社製Tape Spacing Analyzerを用いて実施した。
以上の点に関して本発明者らは、メチルエチルケトン洗浄によって除去される成分が磁性層表面上に存在することが、読取素子と読取対象トラックとの相対位置の変動(相対位置変動)の原因になると推察している。そのため、メチルエチルケトン洗浄前後の差分(Safter-Sbefore)を小さくすること、即ち上記成分量を低減することにより、上記の相対位置変動の発生を抑制することが可能になると推察される。このことが、複数の読取素子により得られた読取結果の各々に対して、より適した波形等化処理を施すことを可能にすることに寄与し、良好な再生品質を確保できるずれ量(トラックオフセット量)の許容量を大きくすることにつながると本発明者らは考えている。これに対し、本発明者らの検討によれば、メチルエチルケトン以外の溶媒、例えばn-ヘキサンによって洗浄する前と洗浄した後のスペーシングの差分の値と上記のトラックオフセット量の許容量との間には、相関は見られなかった。これは、n-ヘキサン洗浄では、上記成分を除去できないか十分に除去できないことによるものと推察される。上記成分の詳細は明らかではない。あくまでも推察として、本発明者らは、上記成分は、磁性層に添加剤として通常添加される有機化合物より分子量が大きい成分ではないかと考えている。この成分の一態様について、本発明者らは以下のように推察している。磁性層は、一態様では、強磁性粉末および結合剤に加えて、硬化剤を含む磁性層形成用組成物を非磁性支持体上に直接または他の層を介して塗布し、硬化処理を施し形成される。ここでの硬化処理により、結合剤と硬化剤とを硬化反応(架橋反応)させることができる。ただし、硬化剤と硬化反応しなかった結合剤または硬化剤との硬化反応が不十分であった結合剤は磁性層から遊離しやすく、磁性層表面上にも存在する場合があると考えられる。このような結合剤が磁性層表面上に存在することが、読取素子と読取対象トラックとの相対位置変動が発生する原因になるのではないかと本発明者らは推察している。
また、先に記載したように、サーボパターンが設計形状により近い形状で形成されていることも、良好な再生品質を確保できるずれ量(トラックオフセット量)の許容量を大きくすることにつながると考えられる。この点に関して、上記の差分(L99.9-L0.1)は、サーボパターンの形状に関する指標であって、この差分(L99.9-L0.1)が180nm以下であることも、良好な再生品質を確保できるずれ量(トラックオフセット量)の許容量を大きくすることに寄与すると本発明者らは考えている。磁性層に形成されるサーボパターンの形状については、サーボライトヘッドが磁場を印加して磁性層に形成しようとするサーボパターン(磁化領域)の形状と、実際に磁性層に形成されるサーボパターンの形状とのずれを抑制するための手段の1つとしては、サーボライトヘッドの能力を高めること、具体的には磁場(漏れ磁界)が大きなサーボライトヘッドを使用することが考えられる。また、サーボライトヘッドが磁性層表面と接触して摺動しながら磁性層に磁場を印加してサーボパターンを形成する際に、磁性層のサーボパターンを形成すべき位置とサーボライトヘッドとの相対位置の変動が生じることは、サーボライトヘッドが磁場を印加して磁性層に形成しようとするサーボパターン(磁化領域)の形状と、実際に磁性層に形成されるサーボパターンの形状とのずれが発生する原因になると、本発明者らは推察している。この点に関して、メチルエチルケトン洗浄によって除去される成分が磁性層表面上に存在することは、磁性層のサーボパターンを形成すべき位置とサーボライトヘッドとの相対位置の変動の原因にもなると考えられる。これに対し、メチルエチルケトン洗浄前後のスペーシング差分(Safter-Sbefore)が0nm超15.0nm以下であることは、磁性層のサーボパターンを形成すべき位置とサーボライトヘッドとの相対位置の変動を抑制することにも寄与すると推察される。このことが、設計形状により近い形状のサーボパターンを形成すること、即ち、上記の差分(L99.9-L0.1)を180nm以下にすること、に寄与すると、本発明者らは考えている。
ただし、以上の推察に、本発明は限定されない。
上記磁気テープの磁性層表面において光学干渉法により測定されるメチルエチルケトン洗浄前後のスペーシング差分(Safter-Sbefore)は、0nm超15.0nm以下である。このことが、良好な再生品質を確保できるずれ量(トラックオフセット量)の許容量を大きくすることに寄与すると推察される。以上の観点からは、上記差分(Safter-Sbefore)は、14.0nm以下であることが好ましく、13.0nm以下であることがより好ましく、12.0nm以下であることが更に好ましく、11.0nm以下であることが一層好ましく、10.0nm以下であることがより一層好ましい。詳細を後述するように、上記差分(Safter-Sbefore)は、磁気テープの製造工程における磁性層の表面処理によって制御することができる。ただし、本発明者らの検討の結果、メチルエチルケトン洗浄前後のスペーシング差分(Safter-Sbefore)が0nmになるほどまでは磁性層の表面処理を実施せずに差分(Safter-Sbefore)を0nm超とすることが、良好な再生品質を確保できるずれ量(トラックオフセット量)の許容量を大きくすることに寄与することも判明した。この理由は明らかではない。あくまでも推察として、メチルエチルケトン洗浄前後のスペーシング差分(Safter-Sbefore)が0nmになるほど磁性層の表面処理を実施してしまうと、走行安定性の向上に寄与する成分(例えば潤滑剤)が磁気テープから過剰に除去されてしまうことが一因ではないかと、本発明者らは考えている。この点から、上記磁気テープのメチルエチルケトン洗浄前後のスペーシング差分(Safter-Sbefore)は0nm超であり、1.0nm以上であることが好ましく、2.0nm以上であることがより好ましく、3.0nm以上であることが更に好ましく、4.0nm以上であることが一層好ましい。
上記差分(L99.9-L0.1)は、180nm以下である。このことも、良好な再生品質を確保できるずれ量(トラックオフセット量)の許容量を大きくすることに寄与すると推察される。以上の観点からは、上記差分(L99.9-L0.1)は、170nm以下であることが好ましく、160nm以下であることがより好ましく、150nm以下であることが更に好ましい。また、上記差分(L99.9-L0.1)は、例えば、50nm以上、60nm以上、70nm以上、80nm以上、90nm以上または100nm以上であることができる。ただし、上記差分(L99.9-L0.1)の値が小さいほど、良好な再生品質を確保できるずれ量(トラックオフセット量)の許容量を大きくするうえで好ましいと考えられるため、上記差分(L99.9-L0.1)は上記で例示した下限を下回ってもよい。
(強磁性粉末)
磁性層は、強磁性粉末および結合剤を含む。磁性層に含まれる強磁性粉末としては、各種磁気記録媒体の磁性層において用いられる強磁性粉末として公知の強磁性粉末を使用することができる。強磁性粉末として平均粒子サイズの小さいものを使用することは記録密度向上の観点から好ましい。この点から、強磁性粉末の平均粒子サイズは50nm以下であることが好ましく、45nm以下であることがより好ましく、40nm以下であることが更に好ましく、35nm以下であることが一層好ましく、30nm以下であることがより一層好ましく、25nm以下であることが更に一層好ましく、20nm以下であることがなお一層好ましい。一方、磁化の安定性の観点からは、強磁性粉末の平均粒子サイズは5nm以上であることが好ましく、8nm以上であることがより好ましく、10nm以上であることが更に好ましく、15nm以上であることが一層好ましく、20nm以上であることがより一層好ましい。
強磁性粉末の好ましい具体例としては、六方晶フェライト粉末を挙げることができる。六方晶フェライト粉末の詳細については、例えば、特開2011-225417号公報の段落0012~0030、特開2011-216149号公報の段落0134~0136、特開2012-204726号公報の段落0013~0030および特開2015-127985号公報の段落0029~0084を参照できる。
Hc=2Ku/Ms{1-[(kT/KuV)ln(At/0.693)]1/2}
[上記式中、Ku:異方性定数(単位:J/m3)、Ms:飽和磁化(単位:kA/m)、k:ボルツマン定数、T:絶対温度(単位:K)、V:活性化体積(単位:cm3)、A:スピン歳差周波数(単位:s-1)、t:磁界反転時間(単位:s)]
希土類原子表層部含有率/希土類原子バルク含有率>1.0
の比率を満たすことを意味する。後述の六方晶フェライト粉末の希土類原子含有率とは、希土類原子バルク含有率と同義である。これに対し、酸を用いる部分溶解は六方晶ストロンチウムフェライト粉末を構成する粒子の表層部を溶解するため、部分溶解により得られる溶解液中の希土類原子含有率とは、六方晶ストロンチウムフェライト粉末を構成する粒子の表層部における希土類原子含有率である。希土類原子表層部含有率が、「希土類原子表層部含有率/希土類原子バルク含有率>1.0」の比率を満たすことは、六方晶ストロンチウムフェライト粉末を構成する粒子において、希土類原子が表層部に偏在(即ち内部より多く存在)していることを意味する。本発明および本明細書における表層部とは、六方晶ストロンチウムフェライト粉末を構成する粒子の表面から内部に向かう一部領域を意味する。
また、希土類原子表層部偏在性を有する六方晶ストロンチウムフェライト粉末を磁性層の強磁性粉末として用いることは、磁気ヘッドとの摺動によって磁性層表面が削れることを抑制することにも寄与すると推察される。即ち、磁気テープの走行耐久性の向上にも、希土類原子表層部偏在性を有する六方晶ストロンチウムフェライト粉末が寄与し得ると推察される。これは、六方晶ストロンチウムフェライト粉末を構成する粒子の表面に希土類原子が偏在することが、粒子表面と磁性層に含まれる有機物質(例えば、結合剤および/または添加剤)との相互作用の向上に寄与し、その結果、磁性層の強度が向上するためではないかと推察される。
繰り返し再生における再生出力の低下をより一層抑制する観点および/または走行耐久性の更なる向上の観点からは、希土類原子含有率(バルク含有率)は、0.5~4.5原子%の範囲であることがより好ましく、1.0~4.5原子%の範囲であることが更に好ましく、1.5~4.5原子%の範囲であることが一層好ましい。
上記部分溶解とは、溶解終了時に液中に六方晶ストロンチウムフェライト粉末の残留が目視で確認できる程度に溶解することをいう。例えば、部分溶解により、六方晶ストロンチウムフェライト粉末を構成する粒子について、粒子全体を100質量%として10~20質量%の領域を溶解することができる。一方、上記全溶解とは、溶解終了時に液中に六方晶ストロンチウムフェライト粉末の残留が目視で確認されない状態まで溶解することをいう。
上記部分溶解および表層部含有率の測定は、例えば、以下の方法により行われる。ただし、下記の試料粉末量等の溶解条件は例示であって、部分溶解および全溶解が可能な溶解条件を任意に採用できる。
試料粉末12mgおよび1mol/L塩酸10mlを入れた容器(例えばビーカー)を、設定温度70℃のホットプレート上で1時間保持する。得られた溶解液を0.1μmのメンブレンフィルタでろ過する。こうして得られたろ液の元素分析を誘導結合プラズマ(ICP;Inductively Coupled Plasma)分析装置によって行う。こうして、鉄原子100原子%に対する希土類原子の表層部含有率を求めることができる。元素分析により複数種の希土類原子が検出された場合には、全希土類原子の合計含有率を、表層部含有率とする。この点は、バルク含有率の測定においても、同様である。
一方、上記全溶解およびバルク含有率の測定は、例えば、以下の方法により行われる。
試料粉末12mgおよび4mol/L塩酸10mlを入れた容器(例えばビーカー)を、設定温度80℃のホットプレート上で3時間保持する。その後は上記の部分溶解および表層部含有率の測定と同様に行い、鉄原子100原子%に対するバルク含有率を求めることができる。
強磁性粉末の好ましい具体例としては、強磁性金属粉末を挙げることもできる。強磁性金属粉末の詳細については、例えば特開2011-216149号公報の段落0137~0141および特開2005-251351号公報の段落0009~0023を参照できる。
強磁性粉末の好ましい具体例としては、ε-酸化鉄粉末を挙げることもできる。本発明および本明細書において、「ε-酸化鉄粉末」とは、X線回折分析によって、主相としてε-酸化鉄型の結晶構造が検出される強磁性粉末をいうものとする。例えば、X線回折分析によって得られるX線回折スペクトルにおいて最も高強度の回折ピークがε-酸化鉄型の結晶構造に帰属される場合、ε-酸化鉄型の結晶構造が主相として検出されたと判断するものとする。ε-酸化鉄粉末の製造方法としては、ゲーサイトから作製する方法、逆ミセル法等が知られている。上記製造方法は、いずれも公知である。また、Feの一部がGa、Co、Ti、Al、Rh等の置換原子によって置換されたε-酸化鉄粉末を製造する方法については、例えば、J. Jpn. Soc. Powder Metallurgy Vol. 61 Supplement, No. S1, pp. S280-S284、J. Mater. Chem. C, 2013, 1, pp.5200-5206等を参照できる。ただし、上記磁気テープの磁性層において強磁性粉末として使用可能なε-酸化鉄粉末の製造方法は、ここで挙げた方法に限定されない。
粉末を、透過型電子顕微鏡を用いて撮影倍率100000倍で撮影し、総倍率500000倍になるように印画紙にプリントして粉末を構成する粒子の写真を得る。得られた粒子の写真から目的の粒子を選びデジタイザーで粒子の輪郭をトレースし粒子(一次粒子)のサイズを測定する。一次粒子とは、凝集のない独立した粒子をいう。
以上の測定を、無作為に抽出した500個の粒子について行う。こうして得られた500個の粒子の粒子サイズの算術平均を、粉末の平均粒子サイズとする。上記透過型電子顕微鏡としては、例えば日立製透過型電子顕微鏡H-9000型を用いることができる。また、粒子サイズの測定は、公知の画像解析ソフト、例えばカールツァイス製画像解析ソフトKS-400を用いて行うことができる。後述の実施例に示す平均粒子サイズは、特記しない限り、透過型電子顕微鏡として日立製透過型電子顕微鏡H-9000型、画像解析ソフトとしてカールツァイス製画像解析ソフトKS-400を用いて測定された値である。本発明および本明細書において、粉末とは、複数の粒子の集合を意味する。例えば、強磁性粉末とは、複数の強磁性粒子の集合を意味する。また、複数の粒子の集合とは、集合を構成する粒子が直接接触している態様に限定されず、後述する結合剤、添加剤等が、粒子同士の間に介在している態様も包含される。粒子との語が、粉末を表すために用いられることもある。
(1)針状、紡錘状、柱状(ただし、高さが底面の最大長径より大きい)等の場合は、粒子を構成する長軸の長さ、即ち長軸長で表され、
(2)板状または柱状(ただし、厚みまたは高さが板面または底面の最大長径より小さい)の場合は、その板面または底面の最大長径で表され、
(3)球形、多面体状、不特定形等であって、かつ形状から粒子を構成する長軸を特定できない場合は、円相当径で表される。円相当径とは、円投影法で求められるものを言う。
そして、特記しない限り、粒子の形状が特定の場合、例えば、上記粒子サイズの定義(1)の場合、平均粒子サイズは平均長軸長であり、同定義(2)の場合、平均粒子サイズは平均板径である。同定義(3)の場合、平均粒子サイズは、平均直径(平均粒径、平均粒子径ともいう)である。
上記磁気テープは塗布型の磁気テープであって、磁性層に結合剤を含む。結合剤とは、一種以上の樹脂である。結合剤としては、塗布型磁気記録媒体の結合剤として通常使用される各種樹脂を用いることができる。例えば、結合剤としては、ポリウレタン樹脂、ポリエステル樹脂、ポリアミド樹脂、塩化ビニル樹脂、スチレン、アクリロニトリル、メチルメタクリレート等を共重合したアクリル樹脂、ニトロセルロース等のセルロース樹脂、エポキシ樹脂、フェノキシ樹脂、ポリビニルアセタール、ポリビニルブチラール等のポリビニルアルキラール樹脂等から選ばれる樹脂を単独で用いるか、または複数の樹脂を混合して用いることができる。これらの中で好ましいものはポリウレタン樹脂、アクリル樹脂、セルロース樹脂、および塩化ビニル樹脂である。これらの樹脂は、ホモポリマーでもよく、コポリマー(共重合体)でもよい。これらの樹脂は、後述する非磁性層および/またはバックコート層においても結合剤として使用することができる。以上の結合剤については、特開2010-24113号公報の段落0028~0031を参照できる。また、結合剤は、電子線硬化型樹脂等の放射線硬化型樹脂であってもよい。放射線硬化型樹脂については、特開2011-048878号公報の段落0044~0045を参照できる。
結合剤として使用される樹脂の平均分子量は、重量平均分子量として、例えば10,000以上200,000以下であることができる。本発明および本明細書における重量平均分子量とは、ゲルパーミエーションクロマトグラフィー(GPC)によって、下記測定条件により測定された値をポリスチレン換算して求められる値である。後述の実施例に示す結合剤の重量平均分子量は、下記測定条件によって測定された値をポリスチレン換算して求めた値である。
GPC装置:HLC-8120(東ソー社製)
カラム:TSK gel Multipore HXL-M(東ソー社製、7.8mmID(Inner Diameter)×30.0cm)
溶離液:テトラヒドロフラン(THF)
磁性層には、強磁性粉末および結合剤が含まれ、必要に応じて一種以上の添加剤が含まれていてもよい。添加剤としては、一例として、上記の硬化剤が挙げられる。また、磁性層に含まれる添加剤としては、非磁性粉末(例えば無機粉末、カーボンブラック等)、潤滑剤、分散剤、分散助剤、防黴剤、帯電防止剤、酸化防止剤等を挙げることができる。
脂肪酸としては、例えば、ラウリン酸、ミリスチン酸、パルミチン酸、ステアリン酸、オレイン酸、リノール酸、リノレン酸、ベヘン酸、エルカ酸、エライジン酸等を挙げることができ、ステアリン酸、ミリスチン酸、パルミチン酸が好ましく、ステアリン酸がより好ましい。脂肪酸は、金属塩等の塩の形態で磁性層に含まれていてもよい。
脂肪酸エステルとしては、例えば、ラウリン酸、ミリスチン酸、パルミチン酸、ステアリン酸、オレイン酸、リノール酸、リノレン酸、ベヘン酸、エルカ酸、エライジン酸等のエステルを挙げることができる。具体例としては、例えば、ミリスチン酸ブチル、パルミチン酸ブチル、ステアリン酸ブチル、ネオペンチルグリコールジオレエート、ソルビタンモノステアレート、ソルビタンジステアレート、ソルビタントリステアレート、オレイン酸オレイル、ステアリン酸イソセチル、ステアリン酸イソトリデシル、ステアリン酸オクチル、ステアリン酸イソオクチル、ステアリン酸アミル、ステアリン酸ブトキシエチル等を挙げることができる。
脂肪酸アミドとしては、上記の各種脂肪酸のアミド、例えば、ラウリン酸アミド、ミリスチン酸アミド、パルミチン酸アミド、ステアリン酸アミド等を挙げることができる。
磁性層形成用組成物における脂肪酸含有量は、強磁性粉末100.0質量部あたり、例えば0~10.0質量部であり、好ましくは0.1~10.0質量部であり、より好ましくは1.0~7.0質量部である。磁性層形成用組成物における脂肪酸エステル含有量は、強磁性粉末100.0質量部あたり、例えば0.1~10.0質量部であり、好ましくは1.0~7.0質量部である。磁性層形成用組成物における脂肪酸アミド含有量は、強磁性粉末100.0質量部あたり、例えば0~3.0質量部であり、好ましくは0~2.0質量部であり、より好ましくは0~1.0質量部である。
また、上記磁気テープが非磁性支持体と磁性層との間に非磁性層を有する場合、非磁性層形成用組成物における脂肪酸含有量は、非磁性粉末100.0質量部あたり、例えば0~10.0質量部であり、好ましくは1.0~10.0質量部であり、より好ましくは1.0~7.0質量部である。非磁性層形成用組成物における脂肪酸エステル含有量は、非磁性粉末100.0質量部あたり、例えば0~10.0質量部であり、好ましくは0.1~8.0質量部である。非磁性層形成用組成物における脂肪酸アミド含有量は、非磁性粉末100.0質量部あたり、例えば0~3.0質量部であり、好ましくは0~1.0質量部である。
本発明および本明細書において、特記しない限り、ある成分は、一種のみ用いてもよく二種以上用いてもよい。ある成分が二種以上用いられる場合の含有量とは、これら二種以上の合計含有量をいうものとする。
分散剤は、非磁性層に含まれていてもよい。非磁性層に含まれ得る分散剤については、特開2012-133837号公報の段落0061を参照できる。
各種添加剤は、所望の性質に応じて市販品を適宜選択して、または公知の方法で製造して、任意の量で使用することができる。
次に非磁性層について説明する。上記磁気テープは、非磁性支持体上に直接磁性層を有していてもよく、非磁性支持体と磁性層との間に非磁性粉末および結合剤を含む非磁性層を有していてもよい。非磁性層に使用される非磁性粉末は、無機物質の粉末でも有機物質の粉末でもよい。また、カーボンブラック等も使用できる。無機物質としては、例えば金属、金属酸化物、金属炭酸塩、金属硫酸塩、金属窒化物、金属炭化物、金属硫化物等が挙げられる。これらの非磁性粉末は、市販品として入手可能であり、公知の方法で製造することもできる。その詳細については、特開2011-216149号公報の段落0146~0150を参照できる。非磁性層に使用可能なカーボンブラックについては、特開2010-24113号公報の段落0040~0041も参照できる。非磁性層における非磁性粉末の含有量(充填率)は、好ましくは50~90質量%の範囲であり、より好ましくは60~90質量%の範囲である。
次に、非磁性支持体について説明する。非磁性支持体(以下、単に「支持体」とも記載する。)としては、二軸延伸を行ったポリエチレンテレフタレート、ポリエチレンナフタレート、ポリアミド、ポリアミドイミド、芳香族ポリアミド等の公知のものが挙げられる。これらの中でもポリエチレンテレフタレート、ポリエチレンナフタレート、ポリアミドが好ましい。これらの支持体には、あらかじめコロナ放電、プラズマ処理、易接着処理、加熱処理等を行ってもよい。
上記磁気テープは、非磁性支持体の磁性層を有する表面側とは反対の表面側に、非磁性粉末および結合剤を含むバックコート層を有することもでき、有さなくてもよい。バックコート層には、カーボンブラックおよび無機粉末の一方または両方が含有されていることが好ましい。バックコート層に含まれる結合剤、任意に含まれ得る各種添加剤については、バックコート層に関する公知技術を適用することができ、磁性層および/または非磁性層の処方に関する公知技術を適用することもできる。例えば、特開2006-331625号公報の段落0018~0020および米国特許第7,029,774号明細書の第4欄65行目~第5欄38行目の記載を、バックコート層について参照できる。
非磁性支持体の厚みは、例えば3.0~80.0μmの範囲であり、好ましくは3.0~50.0μmの範囲であり、より好ましくは3.0~10.0μmの範囲である。
磁性層の厚みは、近年求められている高密度記録化の観点からは、100nm以下であることが好ましい。磁性層の厚みは、より好ましくは10nm~100nmの範囲であり、更に好ましくは20~90nmの範囲である。磁性層は少なくとも一層あればよく、磁性層を異なる磁気特性を有する2層以上に分離してもかまわず、公知の重層磁性層に関する構成が適用できる。2層以上に分離する場合の磁性層の厚みとは、これらの層の合計厚みとする。
非磁性層の厚みは、例えば50nm以上であり、好ましくは70nm以上であり、より好ましくは100nm以上である。一方、非磁性層の厚みは、800nm以下であることが好ましく、500nm以下であることがより好ましい。
バックコート層の厚みは、0.9μm以下であることが好ましく、0.1~0.7μmの範囲であることが更に好ましい。
<<サーボパターンが形成される磁気テープの作製>>
(各層形成用組成物の調製)
磁性層、非磁性層またはバックコート層を形成するための組成物は、先に説明した各種成分とともに、通常、溶媒を含む。溶媒としては、塗布型磁気記録媒体を製造するために一般に使用される各種有機溶媒を用いることができる。中でも、塗布型磁気記録媒体に通常使用される結合剤の溶解性の観点からは、各層形成用組成物には、アセトン、メチルエチルケトン、メチルイソブチルケトン、ジイソブチルケトン、シクロヘキサノン、イソホロン、テトラヒドロフラン等のケトン溶媒の一種以上が含まれることが好ましい。各層形成用組成物における溶媒量は特に限定されるものではなく、通常の塗布型磁気記録媒体の各層形成用組成物と同様にすることができる。また、各層形成用組成物を調製する工程は、通常、少なくとも混練工程、分散工程、およびこれらの工程の前後に必要に応じて設けた混合工程を含むことができる。個々の工程はそれぞれ2段階以上に分かれていてもかまわない。各層形成用組成物の調製に用いられる成分は、どの工程の最初または途中で添加してもかまわない。また、個々の成分を2つ以上の工程で分割して添加してもかまわない。例えば、結合剤を混練工程、分散工程、および分散後の粘度調整のための混合工程で分割して投入してもよい。磁気テープの製造工程では、従来の公知の製造技術を一部または全部の工程において用いることができる。混練工程では、オープンニーダ、連続ニーダ、加圧ニーダ、エクストルーダ等の強い混練力をもつニーダを使用することが好ましい。これらの混練処理の詳細については特開平1-106338号公報および特開平1-79274号公報に記載されている。また、各層形成用組成物を分散させるために、ガラスビーズおよび/またはその他のビーズを用いることができる。このような分散ビーズとしては、高比重の分散ビーズであるジルコニアビーズ、チタニアビーズ、およびスチールビーズが好適である。これら分散ビーズは、粒径(ビーズ径)と充填率を最適化して用いることが好ましい。分散機は公知のものを使用することができる。各層形成用組成物を、塗布工程に付す前に公知の方法によってろ過してもよい。ろ過は、例えばフィルタろ過によって行うことができる。ろ過に用いるフィルタとしては、例えば孔径0.01~3μmのフィルタ(例えばガラス繊維製フィルタ、ポリプロピレン製フィルタ等)を用いることができる。
磁性層は、磁性層形成用組成物を、例えば、非磁性支持体上に直接塗布するか、または非磁性層形成用組成物と逐次もしくは同時に重層塗布することにより形成することができる。配向処理を行う態様では、磁性層形成用組成物の塗布層が湿潤状態にあるうちに、配向ゾーンにおいて塗布層に対して配向処理が行われる。配向処理については、特開2010-24113号公報の段落0052の記載をはじめとする各種公知技術を適用することができる。例えば、垂直配向処理は、異極対向磁石を用いる方法等の公知の方法によって行うことができる。配向ゾーンでは、乾燥風の温度、風量および/または配向ゾーンにおける搬送速度によって塗布層の乾燥速度を制御することができる。また、配向ゾーンに搬送する前に塗布層を予備乾燥させてもよい。
バックコート層は、バックコート層形成用組成物を、非磁性支持体の磁性層を有する(または磁性層が追って設けられる)側とは反対側に塗布することにより形成することができる。各層形成のための塗布の詳細については、特開2010-231843号公報の段落0066を参照できる。
塗布工程後には、乾燥処理、表面平滑化処理(カレンダ処理)等の各種処理を行うことができる。各種工程については、特開2010-24113号公報の段落0052~0057を参照できる。
上記磁気テープの製造方法の一態様としては、磁性層表面を、好ましくは上記加熱処理の後に、メチルエチルケトンを浸潤させたワイピング材によって拭き取ること(以下、「メチルエチルケトン拭き取り処理」とも記載する。)を含む製造方法を挙げることができる。このメチルエチルケトン拭き取り処理によって除去可能な成分が磁性層表面上に存在することが、先に記載したように、読取素子と読取対象トラックとの相対位置変動の発生の原因になると考えられる。メチルエチルケトン拭き取り処理は、磁気記録媒体の製造工程において一般に実施される乾式拭き取り処理に準じて、乾式拭き取り処理で使用されるワイピング材に代えて、メチルエチルケトンを浸潤させたワイピング材を用いて実施することができる。例えば、磁気テープを磁気テープカートリッジに収容する幅にスリットした後またはスリットする前に、磁気テープを送り出しローラーと巻き取ローラーとの間で走行させ、走行中の磁気テープの磁性層表面にメチルエチルケトンを浸潤させたワイピング材(例えば布(例えば不織布)または紙(例えばティッシュペーパー))を押し付けることにより、磁性層表面のメチルエチルケトン拭き取り処理を行うことができる。上記走行における磁気テープの走行速度および磁性層表面の長手方向に与えられる張力(以下、単に「張力」と記載する。)は、磁気記録媒体の製造工程において一般に実施される乾式拭き取り処理で一般に採用されている処理条件と同様にすることができる。例えば、メチルエチルケトン拭き取り処理における磁気テープの走行速度は、60~600m/分程度とすることができ、張力は、0.196~3.920N(ニュートン)程度とすることができる。また、メチルエチルケトン拭き取り処理は、少なくとも1回行うことができる。先に記載したように、メチルエチルケトン洗浄前後のスペーシング差分(Safter-Sbefore)が0nmになるほど磁性層の表面処理を実施することは好ましくないため、この点を考慮してメチルエチルケトン拭き取り処理の処理条件および処理回数を設定することが好ましい。
また、メチルエチルケトン拭き取り処理の前および/または後に、磁性層表面に、塗布型磁気記録媒体の製造工程において一般に実施される研磨処理および/または乾式拭き取り処理(以下、これらを「乾式表面処理」と記載する。)を1回以上行うこともできる。乾式表面処理によれば、例えばスリットにより発生した切り屑等の製造工程中で発生して磁性層表面に付着している異物を除去することができる。
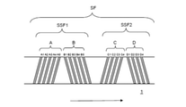
上記磁気テープは、磁性層に、タイミングベースサーボパターンを有する。タイミングベースサーボパターンが形成された領域(サーボバンド)および2本のサーボバンドに挟まれた領域(データバンド)の配置例が、図14に示されている。タイミングベースサーボパターンの配置例は、図15に示されている。タイミングベースサーボパターンの形状の具体例は、図15~図17および図19~図21に示されている。ただし、各図面に示す配置例および/または形状は例示であって、磁気テープ装置(ドライブ)の方式に応じた形状および配置で、サーボパターン、サーボバンドおよびデータバンドを形成し配置すればよい。また、タイミングベースサーボパターンの形状および配置については、例えば、米国特許第5689384号のFIG.4、FIG.5、FIG.6、FIG.9、FIG.17、FIG.20等に例示された配置例等の公知技術を何ら制限なく適用することができる。
また、サーボバンドに情報を埋め込む方法としては、上記以外の方法を採用することも可能である。例えば、一対のサーボパターンの群の中から、所定の対を間引くことによって、所定のコードを記録するようにしてもよい。
本発明の一態様は、上記磁気テープを含む磁気テープカートリッジに関する。
本発明の一態様は、
上記磁気テープと、読取素子ユニットと、抽出部と、を含み、
上記読取素子ユニットは、上記磁気テープに含まれるトラック領域のうちの読取対象トラックを含む特定トラック領域からデータを各々読み取る複数の読取素子を有し、
上記抽出部は、上記読取素子毎の読取結果の各々に対して波形等化処理を施すことにより、上記読取結果から、上記読取対象トラックに由来するデータを抽出する、磁気テープ装置
に関する。かかる磁気テープ装置については、先に詳述した通りである。
<実施例1>
<<磁性層形成用組成物の処方>>
(磁性液)
強磁性粉末:100.0部
(種類:六方晶バリウムフェライト粉末、活性化体積:表1参照)
オレイン酸:2.0部
塩化ビニル共重合体(カネカ社製MR-104):10.0部
(重量平均分子量:55000、活性水素含有基(ヒドロキシ基):0.33meq/g、OSO3K基(硫酸基のカリウム塩):0.09meq/g)
SO3Na基含有ポリウレタン樹脂:4.0部
(重量平均分子量:70000、活性水素含有基(ヒドロキシ基):4~6mgKOH/g、SO3Na基(スルホン酸基のナトリウム塩):0.07meq/g)
ポリアルキレンイミン系ポリマー(特開2016-51493号公報の段落0115~0123に記載の方法により得られた合成品):6.0部
メチルエチルケトン:150.0部
シクロヘキサノン:150.0部
(研磨剤液)
α-アルミナ(BET(Brunauer-Emmett-Teller)比表面積19m2/g):6.0部
SO3Na基含有ポリウレタン樹脂:0.6部
(重量平均分子量70000、SO3Na基:0.1meq/g)
2,3-ジヒドロキシナフタレン:0.6部
シクロヘキサノン:23.0部
(突起形成剤液)
コロイダルシリカ(平均粒子サイズ120nm):2.0部
メチルエチルケトン:8.0部
(その他の成分)
ステアリン酸:3.0部
ステアリン酸アミド:0.3部
ステアリン酸ブチル:6.0部
メチルエチルケトン:110.0部
シクロヘキサノン:110.0部
ポリイソシアネート(東ソー社製コロネート(登録商標)L):3.0部
非磁性無機粉末 α-酸化鉄(平均粒子サイズ10nm、BET比表面積75m2/g):100.0部
カーボンブラック(平均粒子サイズ:20nm):25.0部
SO3Na基含有ポリウレタン樹脂(重量平均分子量70000、SO3Na基含有量0.2meq/g):18.0部
ステアリン酸:1.0部
シクロヘキサノン:300.0部
メチルエチルケトン:300.0部
非磁性無機粉末:α-酸化鉄(平均粒子サイズ:0.15μm、BET比表面積52m2/g):80.0部
カーボンブラック(平均粒子サイズ:20nm):20.0部
塩化ビニル共重合体:13.0部
スルホン酸塩基含有ポリウレタン樹脂:6.0部
フェニルホスホン酸:3.0部
シクロヘキサノン:155.0部
メチルエチルケトン:155.0部
ステアリン酸:3.0部
ステアリン酸ブチル:3.0部
ポリイソシアネート:5.0部
シクロヘキサノン:200.0部
磁性層形成用組成物を、以下の方法によって調製した。
上記磁性液の各種成分をバッチ式縦型サンドミルを用いて24時間分散(ビーズ分散)することにより、磁性液を調製した。分散ビーズとしては、ビーズ径0.5mmのジルコニアビーズを使用した。
研磨剤液は、上記の研磨剤液の各種成分を混合してビーズ径0.3mmのジルコニアビーズとともに横型ビーズミル分散機に入れ、研磨剤液体積とビーズ体積との合計に対するビーズ体積の割合が80%になるように調整し、120分間ビーズミル分散処理を行い、処理後の液を取り出し、フロー式の超音波分散ろ過装置を用いて、超音波分散ろ過処理を施した。こうして研磨剤液を調製した。
調製した磁性液および研磨剤液、ならびに上記の突起形成剤液およびその他の成分をディゾルバー攪拌機に導入し、周速10m/秒で30分間攪拌した後、フロー式超音波分散機により流量7.5kg/分で3パス処理した後に、孔径1μmのフィルタでろ過して磁性層形成用組成物を調製した。
上記の非磁性層形成用組成物の各種成分を、バッチ式縦型サンドミルによりビーズ径0.1mmのジルコニアビーズを使用して24時間分散し、その後、0.5μmの平均孔径を有するフィルタを用いてろ過することにより、非磁性層形成用組成物を調製した。
上記のバックコート層形成用組成物の各種成分のうち潤滑剤(ステアリン酸およびステアリン酸ブチル)、ポリイソシアネートおよび200.0部のシクロヘキサノンを除いた成分をオープンニーダにより混練および希釈した後、横型ビーズミル分散機によりビーズ径1mmのジルコニアビーズを用い、ビーズ充填率80体積%、ローター先端周速10m/秒で1パス滞留時間を2分間とし、12パスの分散処理に供した。その後、上記の残りの成分を添加してディゾルバーで撹拌し、得られた分散液を1μmの平均孔径を有するフィルタを用いてろ過することにより、バックコート層形成用組成物を調製した。
厚み5.0μmの二軸延伸ポリエチレンナフタレート製支持体の表面上に、乾燥後の厚みが400nmになるように上記で調製した非磁性層形成用組成物を塗布および乾燥させて非磁性層を形成した後、非磁性層の表面上に乾燥後の厚みが70nmになるように上記で調製した磁性層形成用組成物を塗布して塗布層を形成した。この磁性層形成用組成物の塗布層が湿潤(未乾燥)状態にあるうちに、磁場強度0.3Tの磁場を塗布層の表面に対し垂直方向に印加する垂直配向処理を施し、乾燥させた。その後、この支持体の反対面に乾燥後の厚みが0.4μmになるように上記で調製したバックコート層形成用組成物を塗布し、乾燥させた。こうして磁気テープ原反を作製した。
作製された磁気テープ原反に対し、金属ロールのみから構成されるカレンダにより、速度100m/min、線圧300kg/cm(294kN/m)、カレンダロールの表面温度100℃でカレンダ処理(表面平滑化処理)し、その後、表1に示す雰囲気温度の環境で表1に示す時間、加熱処理を施した。加熱処理後、磁気テープ原反を裁断機によりスリットし、1/2インチ(0.0127メートル)幅の磁気テープを得た。この磁気テープを送り出しローラーと巻き取りローラーとの間で走行させながら(走行速度120m/分、張力:表1参照)、磁性層表面のブレード研磨、乾式拭き取り処理およびメチルエチルケトン拭き取り処理をこの順で実施した。具体的には、上記2つのローラーの間にサファイアブレード、乾いたワイピング材(東レ社製トレシー(登録商標))およびメチルエチルケトンを浸潤させたワイピング材(東レ社製トレシー(登録商標))を配置し、上記2つのローラー間で走行している磁気テープの磁性層表面にサファイアブレードを押し当ててブレード研磨し、その後に上記の乾いたワイピング材により磁性層表面の乾式拭き取り処理を行い、その後に上記のメチルエチルケトンを浸潤させたワイピング材により磁性層表面のメチルエチルケトン拭き取り処理を行った。以上により、ブレード研磨、乾式拭き取り処理およびメチルエチルケトン拭き取り処理がそれぞれ1回磁性層表面に施された。
こうして得られた磁気テープの磁性層を消磁した状態で、サーボライターに搭載されたサーボライトヘッド(漏れ磁界:247kA/m)によって、LTO Ultriumフォーマットにしたがう配置および形状のサーボパターン(タイミングベースサーボパターン)を磁性層に形成した。これにより、磁性層に、LTO Ultriumフォーマットにしたがう配置でデータバンド、サーボバンド、およびガイドバンドを有し、かつサーボバンド上にLTO Ultriumフォーマットにしたがう配置および形状のサーボパターンを有する実施例1の磁気テープを得た。
表1に示すように各種条件を変更した点以外、実施例1と同様の方法で磁気テープを作製した。
強磁性粉末として表1に示す活性化体積を有する六方晶バリウムフェライト粉末を使用し、表1に示すように各種条件を変更し、かつサーボライトヘッドとして漏れ磁界366kA/mのサーボライトヘッドを使用した点以外、実施例1と同様の方法で磁気テープを作製した。
(1)メチルエチルケトン洗浄前後のスペーシング差分(Safter-Sbefore)
TSA(Tape Spacing Analyzer(Micro Physics社製))を用いて、以下の方法により、メチルエチルケトン洗浄前後のスペーシング差分(Safter-Sbefore)を求めた。
実施例および比較例の各磁気テープから長さ5cmの試料片を2つ切り出し、一方の試料片についてはメチルエチルケトン洗浄を行わずに、以下の方法によりスペーシング(Sbefore)を求めた。他方の試料片については先に記載した方法によりメチルエチルケトン洗浄を行った後に、以下の方法によりスペーシング(Safter)を求めた。
磁気テープ(詳しくは上記試料片)の磁性層表面上に、TSAに備えられたガラス板(Thorlabs,Inc.社製ガラス板(型番:WG10530))を配置した状態で、押圧部材としてTSAに備えられているウレタン製の半球を用いて、この半球を磁気テープのバックコート層表面に、0.5atmの圧力で押しつけた。この状態で、TSAに備えられているストロボスコープから白色光を、ガラス板を通して磁気テープの磁性層表面の一定領域(150000~200000μm2)に照射し、得られる反射光を、干渉フィルタ(波長633nmの光を選択的に透過させるフィルタ)を通してCCD(Charge-Coupled Device)で受光することで、この領域の凹凸で生じた干渉縞画像を得た。
この画像を300000ポイントに分割して各ポイントのガラス板の磁気テープ側の表面から磁気テープの磁性層表面までの距離(スペーシング)を求めこれをヒストグラムとし、メチルエチルケトン洗浄後の試料片について得られたヒストグラムの最頻値Safterから、メチルエチルケトン洗浄なしの試料片について得られたヒストグラムの最頻値Sbeforeを差し引いて、差分(Safter-Sbefore)を求めた。
実施例および比較例の各磁気テープから長さ5cmの試料片を更に1つ切り出し、メチルエチルケトンに代えてn-ヘキサンを用いた点以外は上記と同様に洗浄した後に上記と同様にn-ヘキサン洗浄後のスペーシングを求めた。参考値として、ここで求められたスペーシングSreferenceと上記(1)で求めた洗浄なしの試料片について得られたスペーシングSbeforeの差分(Sreference-Sbefore)を求めた。
実施例および比較例の各磁気テープについて、以下の方法により差分(L99.9-L0.1)を求めた。
磁気力顕微鏡としてBruker製Dimension 3100を周波数変調モードで使用し、プローブとしてNanoworld社製SSS-MFMR(公称曲率半径15nm)を使用して、サーボパターンを形成した磁気テープの磁性層表面の90μm×90μmの測定範囲で、100nmピッチで粗測定を行いサーボパターン(磁化領域)を抽出した。磁気力顕微鏡観察時の磁性層表面とプローブ先端との間の距離は、20nmとした。上記測定範囲には、LTO Ultriumフォーマットにしたがい形成されたAバーストの5本のサーボパターンが含まれるため、これら5本のサーボパターンが抽出された。
上記磁気力顕微鏡およびプローブを用いて、各サーボパターンの走行方向に対して下流側のエッジについて、磁化領域と非磁化領域との境界近傍を5nmピッチで測定し磁気プロファイルを得た。得られた磁気プロファイルは、角度α=12°で傾斜していたため、解析ソフトにより角度α=0°となるように回転補正を行った。
測定は、磁性層表面の異なる3箇所で行った。各測定範囲には、それぞれAバーストの5本のサーボパターンが含まれていた。
その後、解析ソフトを用いて先に記載した方法により差分(L99.9-L0.1)を求めた。解析ソフトとしては、MathWorks製MATLABを使用した。こうして求められた差分(L99.9-L0.1)を、表1に示す。
(1)実施例および比較例の各磁気テープの磁性層に対して、IBM社製TS1155テープドライブに搭載されている記録再生ヘッドを用いて、速度:6m/s、線記録密度:600kbpi(255bitPRBS)およびトラックピッチ:2μmの記録条件にて、データの記録を行った。上記の単位kbpiは、線記録密度の単位(SI単位系に換算不可)である。上記のPRBSは、Pseudo Random Bit Sequenceの略称である。
上記記録により、各磁気テープの磁性層に、2つの隣接トラックの間、即ち第1のノイズ混入源トラックと第2のノイズ混入源トラックとの間に、読取対象トラックが位置する特定トラック領域が形成される。
(2)近接した状態で配置された2つの読取素子を有する読取素子ユニットを用いてデータ読取を行うモデル実験として、以下のデータ読取を行った。以下のモデル実験では、磁性層表面と読取素子とが接触し摺動することによってデータ読取が行われた。
単一の読取素子を有する磁気ヘッドを、読取対象トラックのテープ幅方向の中心と読取素子のトラック幅方向の中心とが一致するように配置した状態で読取を開始し、1回目のデータ読取を行った。この1回目のデータ読取中、サーボ素子によってサーボパターンを読み取り、タイミングベースサーボ方式のトラッキングも行った。また、サーボパターン読取動作に同期して読取素子によりデータ読取動作が行われた。
次いで同一の磁気ヘッドをテープ幅方向(一方の隣接トラック側)に500nmずらして、2回目のデータ読取を1回目のデータ読取と同様に行った。上記の2回のデータ読取は、それぞれ再生素子幅:0.2μm、速度:4m/s、サンプリングレート:ビットレートの1.25倍の読取条件で行った。
1回目のデータ読取で得られた読取信号を等化器に入力し、1回目のデータ読取における磁気テープと磁気ヘッド(読取素子)との位置のずれ量に応じた波形等化処理を施した。この波形等化処理は、次のように行われる処理である。一定周期で形成されているサーボパターンをサーボ素子によって読み取ることにより得られた位置のずれ量から、読取素子と読取対象トラックとの重複領域と、読取素子と隣接トラックとの重複領域との比を特定する。この特定された比から演算式を用いて導出されたタップ係数を読取信号に対して畳み込み演算することにより、波形等化処理を行う。上記演算式は、EPR4(Extended Partial Response class4)を基本波形(ターゲット)とする演算式である。2回目のデータ読取で得られた読取信号についても、同様に波形等化処理を施した。
上記の波形等化処理が施された2つの読取信号の位相合わせ処理(2次元信号処理)を行うことにより、近接した状態で配置された2つの読取素子(読取素子ピッチ=500nm)を有する読取素子ユニットにより得られるであろう読取信号を得た。こうして得られた読取信号について、信号検出点でのSNRを算出した。
(3)上記の(2)を、1回目のデータ読取開始時の読取素子の位置を、読取対象トラックのテープ幅方向の中心から0.1μm間隔で第1のノイズ混入源トラック側および第2のノイズ混入源トラック側にそれぞれトラックオフセットさせながら繰り返し、トラック位置に対するSNRのエンベロープを得た。
実施例および比較例のそれぞれについて、上記の1回目のデータ読取結果のみ(即ち単一素子のみでのデータ読取結果)に関しても、SNRのエンベロープを得た。
(4)単一素子のみでのデータ読取結果に関して得られたSNRのエンベロープを参照エンベロープとし、参照エンベロープにおけるトラックセンターのSNRからSNRが-3dB低下したところを、SNR下限値として設定した。各エンベロープにおいて、この下限値以上で最大のトラックオフセット量を、許容可能トラックオフセット量とした。実施例および比較例のそれぞれについて、単一素子のみでの許容可能トラックオフセット量に対する許容可能トラックオフセット量の増加率を、「許容可能トラックオフセット量増加率」として求めた。
上記方法により求められる許容可能トラックオフセット量が大きいことは、トラックマージンを小さくしても良好な再生品質での再生を可能にするうえで有利である。この点から、許容トラックオフセット量増加率が20%以上であることは好ましい。
なお表1に示すように、n-ヘキサン洗浄前後のスペーシング差分(Sreference-Sbefore)の値とメチルエチルケトン洗浄前後のスペーシング差分(Safter-Sbefore)の値との間には相関は見られなかった。
Claims (9)
- 非磁性支持体と、強磁性粉末および結合剤を含む磁性層と、を有する磁気テープであって、
前記磁性層は、タイミングベースサーボパターンを有し、
前記タイミングベースサーボパターンの磁気力顕微鏡観察により特定されるエッジ形状は、磁気テープの長手方向における理想形状からの位置ずれ幅の累積分布関数99.9%の値L99.9と前記累積分布関数0.1%の値L0.1との差分、L99.9-L0.1、が180nm以下である形状であり、かつ
前記磁性層の表面においてメチルエチルケトン洗浄後に光学干渉法により測定されるスペーシングSafterと、前記磁性層の表面においてメチルエチルケトン洗浄前に光学干渉法により測定されるスペーシングSbeforeとの差分、Safter-Sbefore、が0nm超15.0nm以下である、磁気テープ。 - 前記差分、Safter-Sbefore、が2.0nm以上15.0nm以下である、請求項1に記載の磁気テープ。
- 前記差分、Safter-Sbefore、が3.0nm以上12.0nm以下である、請求項1または2に記載の磁気テープ。
- 前記タイミングベースサーボパターンは、磁気テープの幅方向の一方から他方に向かって連続的に延び、かつ前記幅方向に対して角度αで傾斜した直線状サーボパターンであり、かつ
前記理想形状は、前記角度αの方向に延びる直線形状である、請求項1~3のいずれか1項に記載の磁気テープ。 - 前記差分、L99.9-L0.1、が100nm以上180nm以下である、請求項1~4のいずれか1項に記載の磁気テープ。
- 前記非磁性支持体と前記磁性層との間に、非磁性粉末および結合剤を含む非磁性層を有する、請求項1~5のいずれか1項に記載の磁気テープ。
- 前記非磁性支持体の前記磁性層を有する表面側とは反対の表面側に、非磁性粉末および結合剤を含むバックコート層を有する、請求項1~6のいずれか1項に記載の磁気テープ。
- 請求項1~7のいずれか1項に記載の磁気テープを含む磁気テープカートリッジ。
- 磁気テープと、
読取素子ユニットと、
抽出部と、
を含み、
前記磁気テープは、請求項1~7のいずれか1項に記載の磁気テープであり、
前記読取素子ユニットは、前記磁気テープに含まれるトラック領域のうちの読取対象トラックを含む特定トラック領域からデータを各々読み取る複数の読取素子を有し、
前記抽出部は、前記読取素子毎の読取結果の各々に対して波形等化処理を施すことにより、前記読取結果から、前記読取対象トラックに由来するデータを抽出する、磁気テープ装置。
Priority Applications (4)
| Application Number | Priority Date | Filing Date | Title |
|---|---|---|---|
| JP2019016532A JP7003074B2 (ja) | 2019-01-31 | 2019-01-31 | 磁気テープ、磁気テープカートリッジおよび磁気テープ装置 |
| US16/777,418 US11355142B2 (en) | 2019-01-31 | 2020-01-30 | Magnetic tape, magnetic tape cartridge, and magnetic tape apparatus |
| US17/399,241 US11423932B2 (en) | 2019-01-31 | 2021-08-11 | Magnetic tape, magnetic tape cartridge, and magnetic tape apparatus |
| JP2021214244A JP7189312B2 (ja) | 2019-01-31 | 2021-12-28 | 磁気テープ、磁気テープカートリッジおよび磁気テープ装置 |
Applications Claiming Priority (1)
| Application Number | Priority Date | Filing Date | Title |
|---|---|---|---|
| JP2019016532A JP7003074B2 (ja) | 2019-01-31 | 2019-01-31 | 磁気テープ、磁気テープカートリッジおよび磁気テープ装置 |
Related Child Applications (1)
| Application Number | Title | Priority Date | Filing Date |
|---|---|---|---|
| JP2021214244A Division JP7189312B2 (ja) | 2019-01-31 | 2021-12-28 | 磁気テープ、磁気テープカートリッジおよび磁気テープ装置 |
Publications (2)
| Publication Number | Publication Date |
|---|---|
| JP2020123424A JP2020123424A (ja) | 2020-08-13 |
| JP7003074B2 true JP7003074B2 (ja) | 2022-01-20 |
Family
ID=71836228
Family Applications (1)
| Application Number | Title | Priority Date | Filing Date |
|---|---|---|---|
| JP2019016532A Active JP7003074B2 (ja) | 2019-01-31 | 2019-01-31 | 磁気テープ、磁気テープカートリッジおよび磁気テープ装置 |
Country Status (2)
| Country | Link |
|---|---|
| US (2) | US11355142B2 (ja) |
| JP (1) | JP7003074B2 (ja) |
Families Citing this family (28)
| Publication number | Priority date | Publication date | Assignee | Title |
|---|---|---|---|---|
| JP6797231B2 (ja) * | 2018-03-29 | 2020-12-09 | 富士フイルム株式会社 | 磁気記録媒体および磁気記録再生装置 |
| JP6797232B2 (ja) * | 2018-03-29 | 2020-12-09 | 富士フイルム株式会社 | 磁気テープおよび磁気記録再生装置 |
| US11367460B2 (en) | 2018-03-29 | 2022-06-21 | Fujifilm Corporation | Magnetic recording medium and magnetic recording and reproducing device |
| US11514940B2 (en) | 2018-09-14 | 2022-11-29 | Fujifilm Corporation | Magnetic recording medium and magnetic recording and reproducing device |
| JP7003072B2 (ja) * | 2019-01-31 | 2022-01-20 | 富士フイルム株式会社 | 磁気テープ、磁気テープカートリッジおよび磁気テープ装置 |
| JP7003074B2 (ja) | 2019-01-31 | 2022-01-20 | 富士フイルム株式会社 | 磁気テープ、磁気テープカートリッジおよび磁気テープ装置 |
| JP7189313B2 (ja) * | 2019-01-31 | 2022-12-13 | 富士フイルム株式会社 | 磁気テープ、磁気テープカートリッジおよび磁気テープ装置 |
| JP6972051B2 (ja) * | 2019-02-26 | 2021-11-24 | 富士フイルム株式会社 | 磁気テープ読取装置、磁気テープカートリッジ及び磁気テープ読取方法 |
| JP7166042B2 (ja) * | 2019-02-27 | 2022-11-07 | 富士フイルム株式会社 | 磁気記録媒体および磁気記録再生装置 |
| JP7117258B2 (ja) * | 2019-02-28 | 2022-08-12 | 富士フイルム株式会社 | 磁気記録媒体および磁気記録再生装置 |
| JP7098562B2 (ja) * | 2019-03-22 | 2022-07-11 | 富士フイルム株式会社 | 磁気テープ、磁気テープカートリッジおよび磁気記録再生装置 |
| JP7105211B2 (ja) | 2019-03-28 | 2022-07-22 | 富士フイルム株式会社 | 磁気テープ、磁気テープカートリッジおよび磁気記録再生装置 |
| JP7128147B2 (ja) * | 2019-04-26 | 2022-08-30 | 富士フイルム株式会社 | 磁気記録媒体および磁気記録再生装置 |
| JP6778787B1 (ja) | 2019-05-15 | 2020-11-04 | 富士フイルム株式会社 | 磁気記録媒体および磁気記録再生装置 |
| JP7247128B2 (ja) * | 2020-01-31 | 2023-03-28 | 富士フイルム株式会社 | 磁気テープ、磁気テープカートリッジおよび磁気テープ装置 |
| JP7337036B2 (ja) * | 2020-09-30 | 2023-09-01 | 富士フイルム株式会社 | 磁気テープ、磁気テープカートリッジおよび磁気テープ装置 |
| WO2023008292A1 (ja) | 2021-07-26 | 2023-02-02 | 富士フイルム株式会社 | 磁気テープ、磁気テープカートリッジおよび磁気テープ装置 |
| JP7762206B2 (ja) | 2021-07-26 | 2025-10-29 | 富士フイルム株式会社 | 磁気テープ、磁気テープカートリッジおよび磁気テープ装置 |
| US11869557B2 (en) | 2021-09-29 | 2024-01-09 | Fujifilm Corporation | Magnetic tape having characterized magnetic layer surface, magnetic tape cartridge, and magnetic tape device |
| US11854586B2 (en) | 2021-09-29 | 2023-12-26 | Fujifilm Corporation | Magnetic tape having characterized magnetic layer surface, magnetic tape cartridge, and magnetic tape device |
| US11869553B2 (en) | 2021-09-29 | 2024-01-09 | Fujifilm Corporation | Magnetic tape having characterized magnetic layer surface, magnetic tape cartridge, and magnetic tape device |
| JP2023050108A (ja) | 2021-09-29 | 2023-04-10 | 富士フイルム株式会社 | 磁気テープ、磁気テープカートリッジおよび磁気テープ装置 |
| US11887637B2 (en) | 2021-09-29 | 2024-01-30 | Fujifilm Corporation | Magnetic tape having characterized magnetic layer surface, magnetic tape cartridge, and magnetic tape device |
| JP7702324B2 (ja) | 2021-09-29 | 2025-07-03 | 富士フイルム株式会社 | 磁気テープ、磁気テープカートリッジおよび磁気テープ装置 |
| JP7702325B2 (ja) | 2021-09-29 | 2025-07-03 | 富士フイルム株式会社 | 磁気テープ、磁気テープカートリッジおよび磁気テープ装置 |
| US11869558B2 (en) | 2021-09-29 | 2024-01-09 | Fujifilm Corporation | Magnetic tape having characterized magnetic layer surface, magnetic tape cartridge, and magnetic tape device |
| JPWO2023100884A1 (ja) | 2021-12-02 | 2023-06-08 | ||
| JP2024042269A (ja) | 2022-09-15 | 2024-03-28 | 富士フイルム株式会社 | 磁気テープ、磁気テープカートリッジおよび磁気テープ装置 |
Citations (7)
| Publication number | Priority date | Publication date | Assignee | Title |
|---|---|---|---|---|
| JP2007287222A (ja) | 2006-04-14 | 2007-11-01 | Sony Corp | 磁気記録再生装置及び磁気記録再生方法 |
| JP2010192065A (ja) | 2009-02-20 | 2010-09-02 | Hitachi Maxell Ltd | 磁気テープ表層における潤滑剤層の厚み評価方法 |
| JP2012043495A (ja) | 2010-08-17 | 2012-03-01 | Hitachi Maxell Ltd | 磁気記録媒体 |
| JP2014199706A (ja) | 2013-03-15 | 2014-10-23 | ソニー株式会社 | 磁気記録媒体、サーボ信号記録装置及び磁気記録媒体の製造方法 |
| JP2017117505A (ja) | 2015-12-25 | 2017-06-29 | 富士フイルム株式会社 | 磁気テープおよび磁気テープ装置 |
| JP2017228335A (ja) | 2016-06-23 | 2017-12-28 | 富士フイルム株式会社 | 磁気テープおよび磁気テープ装置 |
| JP2020123420A (ja) | 2019-01-31 | 2020-08-13 | 富士フイルム株式会社 | 磁気テープ、磁気テープカートリッジおよび磁気テープ装置 |
Family Cites Families (54)
| Publication number | Priority date | Publication date | Assignee | Title |
|---|---|---|---|---|
| JPS6185621A (ja) | 1984-10-04 | 1986-05-01 | Fuji Photo Film Co Ltd | 磁気記録媒体 |
| US5671211A (en) | 1994-11-24 | 1997-09-23 | Fuji Xerox Co., Ltd. | Data recording medium |
| JP3773145B2 (ja) * | 1997-09-04 | 2006-05-10 | 富士写真フイルム株式会社 | ウェブ洗浄及び除電装置 |
| JP2000057565A (ja) * | 1998-08-11 | 2000-02-25 | Kao Corp | 磁気記録媒体の製造方法及び装置 |
| US6798617B2 (en) | 2000-09-13 | 2004-09-28 | Hitachi Maxell, Ltd. | Cleaning tape for magnetic head system with magnetoresistance effect head |
| US6780531B2 (en) | 2000-10-31 | 2004-08-24 | Hitachi Maxell, Ltd. | Magnetic recording medium comprising a magnetic layer having specific surface roughness and protrusions |
| JP3706947B2 (ja) | 2001-03-12 | 2005-10-19 | 日立マクセル株式会社 | 磁気テープカートリッジ |
| JP2003022520A (ja) | 2001-07-03 | 2003-01-24 | Hitachi Maxell Ltd | 磁気テープ |
| JP2004005795A (ja) | 2002-05-30 | 2004-01-08 | Fuji Photo Film Co Ltd | 磁気記録テープ |
| JP2004022103A (ja) | 2002-06-18 | 2004-01-22 | Fuji Photo Film Co Ltd | 磁気記録テープ |
| JP2004055137A (ja) | 2002-07-18 | 2004-02-19 | Hitachi Maxell Ltd | 磁気テープおよび磁気テープカートリッジ |
| JP2004127435A (ja) | 2002-10-03 | 2004-04-22 | Fuji Photo Film Co Ltd | テープクリーナ |
| JP2004213828A (ja) | 2003-01-08 | 2004-07-29 | Fuji Photo Film Co Ltd | 磁気記録媒体 |
| CA2758182C (en) | 2003-03-05 | 2014-03-25 | Toray Industries, Inc. | A compound obtained by reacting a compound having a carbohydrazide structure with an acid or a base |
| JP2005085305A (ja) | 2003-09-04 | 2005-03-31 | Fuji Photo Film Co Ltd | 磁気記録媒体 |
| JP2005276285A (ja) | 2004-03-24 | 2005-10-06 | Fuji Photo Film Co Ltd | 磁気記録媒体 |
| JP2006079691A (ja) | 2004-09-08 | 2006-03-23 | Fuji Photo Film Co Ltd | 磁気記録媒体 |
| JP2006099920A (ja) | 2004-09-30 | 2006-04-13 | Fuji Photo Film Co Ltd | 磁気抵抗効果型ヘッド用クリーニングテープ |
| US7755863B2 (en) | 2006-03-14 | 2010-07-13 | Quantum Corporation | Adjacent track readers |
| WO2007114394A1 (ja) | 2006-03-30 | 2007-10-11 | Fujifilm Corporation | 磁気記録媒体、リニア磁気記録再生システムおよび磁気記録再生方法 |
| JP2007299500A (ja) | 2006-05-08 | 2007-11-15 | Fujifilm Corp | テープ貼付装置、テープ貼付方法、テープカートリッジの製造装置及びテープカートリッジの製造方法 |
| JP2009087468A (ja) | 2007-09-28 | 2009-04-23 | Fujifilm Corp | 磁気記録媒体、磁気信号再生方法および磁気信号再生システム |
| JP2010264683A (ja) | 2009-05-15 | 2010-11-25 | Teijin Ltd | 支持体 |
| JP2011048878A (ja) | 2009-08-27 | 2011-03-10 | Fujifilm Corp | 磁気記録媒体およびその製造方法 |
| JP5410919B2 (ja) | 2009-10-19 | 2014-02-05 | 帝人デュポンフィルム株式会社 | 二軸配向多層積層フィルムおよび積層体 |
| JP2011134372A (ja) | 2009-12-22 | 2011-07-07 | Samsung Electronics Co Ltd | 磁気信号再生装置および磁気信号再生方法 |
| JP5208148B2 (ja) | 2010-03-10 | 2013-06-12 | 富士フイルム株式会社 | 磁気記録媒体 |
| US9101966B2 (en) | 2010-08-23 | 2015-08-11 | International Business Machines Corporation | Cleaning magnetic tape |
| JP2016110680A (ja) | 2014-12-10 | 2016-06-20 | 株式会社東芝 | 磁気ヘッド、これを備える磁気ディスク装置、および磁気ヘッドを用いる再生方法 |
| US10540996B2 (en) | 2015-09-30 | 2020-01-21 | Fujifilm Corporation | Magnetic tape having characterized magnetic layer and magnetic tape device |
| JP6465823B2 (ja) | 2016-02-03 | 2019-02-06 | 富士フイルム株式会社 | 磁気テープおよびその製造方法 |
| JP6785167B2 (ja) | 2016-03-14 | 2020-11-18 | マクセルホールディングス株式会社 | 磁気記録媒体 |
| JP6498154B2 (ja) | 2016-06-23 | 2019-04-10 | 富士フイルム株式会社 | 磁気テープおよび磁気テープ装置 |
| JP6649234B2 (ja) | 2016-11-30 | 2020-02-19 | 富士フイルム株式会社 | ε−酸化鉄型強磁性粉末および磁気記録媒体 |
| JP6626031B2 (ja) | 2017-03-29 | 2019-12-25 | 富士フイルム株式会社 | 磁気テープ装置および磁気再生方法 |
| JP6615815B2 (ja) | 2017-03-29 | 2019-12-04 | 富士フイルム株式会社 | 磁気テープ装置およびヘッドトラッキングサーボ方法 |
| JP6626032B2 (ja) | 2017-03-29 | 2019-12-25 | 富士フイルム株式会社 | 磁気テープ装置および磁気再生方法 |
| JP6909619B2 (ja) | 2017-04-20 | 2021-07-28 | マクセルホールディングス株式会社 | 高記録密度用磁気記録媒体及びその記録再生機構 |
| JP6707060B2 (ja) | 2017-07-19 | 2020-06-10 | 富士フイルム株式会社 | 磁気テープ |
| WO2019159466A1 (ja) | 2018-02-16 | 2019-08-22 | ソニー株式会社 | 磁気記録媒体 |
| US10741208B2 (en) * | 2018-03-29 | 2020-08-11 | Fujifilm Corporation | Magnetic recording medium and magnetic recording and reproducing device |
| US10679657B2 (en) | 2018-03-29 | 2020-06-09 | Fujifilm Corporation | Magnetic tape and magnetic recording and reproducing device |
| US11367460B2 (en) * | 2018-03-29 | 2022-06-21 | Fujifilm Corporation | Magnetic recording medium and magnetic recording and reproducing device |
| US11211087B2 (en) | 2018-03-29 | 2021-12-28 | Fujifilm Corporation | Magnetic tape having characterized back coating layer, magnetic recording medium and magnetic recording and reproducing device |
| US11514940B2 (en) | 2018-09-14 | 2022-11-29 | Fujifilm Corporation | Magnetic recording medium and magnetic recording and reproducing device |
| US10811048B2 (en) | 2019-01-31 | 2020-10-20 | Fujifilm Corporation | Magnetic tape, magnetic tape cartridge, and magnetic tape apparatus |
| JP7003074B2 (ja) | 2019-01-31 | 2022-01-20 | 富士フイルム株式会社 | 磁気テープ、磁気テープカートリッジおよび磁気テープ装置 |
| JP7117258B2 (ja) | 2019-02-28 | 2022-08-12 | 富士フイルム株式会社 | 磁気記録媒体および磁気記録再生装置 |
| JP7098562B2 (ja) | 2019-03-22 | 2022-07-11 | 富士フイルム株式会社 | 磁気テープ、磁気テープカートリッジおよび磁気記録再生装置 |
| JP7105211B2 (ja) | 2019-03-28 | 2022-07-22 | 富士フイルム株式会社 | 磁気テープ、磁気テープカートリッジおよび磁気記録再生装置 |
| JP7128148B2 (ja) | 2019-04-26 | 2022-08-30 | 富士フイルム株式会社 | 磁気記録媒体および磁気記録再生装置 |
| JP7128147B2 (ja) | 2019-04-26 | 2022-08-30 | 富士フイルム株式会社 | 磁気記録媒体および磁気記録再生装置 |
| JP6788069B2 (ja) | 2019-05-15 | 2020-11-18 | 富士フイルム株式会社 | 磁気記録媒体および磁気記録再生装置 |
| JP6778787B1 (ja) | 2019-05-15 | 2020-11-04 | 富士フイルム株式会社 | 磁気記録媒体および磁気記録再生装置 |
-
2019
- 2019-01-31 JP JP2019016532A patent/JP7003074B2/ja active Active
-
2020
- 2020-01-30 US US16/777,418 patent/US11355142B2/en active Active
-
2021
- 2021-08-11 US US17/399,241 patent/US11423932B2/en active Active
Patent Citations (7)
| Publication number | Priority date | Publication date | Assignee | Title |
|---|---|---|---|---|
| JP2007287222A (ja) | 2006-04-14 | 2007-11-01 | Sony Corp | 磁気記録再生装置及び磁気記録再生方法 |
| JP2010192065A (ja) | 2009-02-20 | 2010-09-02 | Hitachi Maxell Ltd | 磁気テープ表層における潤滑剤層の厚み評価方法 |
| JP2012043495A (ja) | 2010-08-17 | 2012-03-01 | Hitachi Maxell Ltd | 磁気記録媒体 |
| JP2014199706A (ja) | 2013-03-15 | 2014-10-23 | ソニー株式会社 | 磁気記録媒体、サーボ信号記録装置及び磁気記録媒体の製造方法 |
| JP2017117505A (ja) | 2015-12-25 | 2017-06-29 | 富士フイルム株式会社 | 磁気テープおよび磁気テープ装置 |
| JP2017228335A (ja) | 2016-06-23 | 2017-12-28 | 富士フイルム株式会社 | 磁気テープおよび磁気テープ装置 |
| JP2020123420A (ja) | 2019-01-31 | 2020-08-13 | 富士フイルム株式会社 | 磁気テープ、磁気テープカートリッジおよび磁気テープ装置 |
Also Published As
| Publication number | Publication date |
|---|---|
| JP2020123424A (ja) | 2020-08-13 |
| US11355142B2 (en) | 2022-06-07 |
| US20200251136A1 (en) | 2020-08-06 |
| US20210375311A1 (en) | 2021-12-02 |
| US11423932B2 (en) | 2022-08-23 |
Similar Documents
| Publication | Publication Date | Title |
|---|---|---|
| JP7003074B2 (ja) | 磁気テープ、磁気テープカートリッジおよび磁気テープ装置 | |
| JP7003072B2 (ja) | 磁気テープ、磁気テープカートリッジおよび磁気テープ装置 | |
| US10811048B2 (en) | Magnetic tape, magnetic tape cartridge, and magnetic tape apparatus | |
| JP7003073B2 (ja) | 磁気テープ、磁気テープカートリッジおよび磁気テープ装置 | |
| JP7097834B2 (ja) | 磁気テープ装置 | |
| JP7097833B2 (ja) | 磁気テープ装置 | |
| JP7009415B2 (ja) | 磁気テープ装置 | |
| JP7012064B2 (ja) | 磁気テープ、磁気テープカートリッジおよび磁気テープ装置 | |
| JP7009414B2 (ja) | 磁気テープ装置 | |
| JP7009417B2 (ja) | 磁気テープ装置 | |
| JP7009413B2 (ja) | 磁気テープ装置 | |
| JP7009416B2 (ja) | 磁気テープ装置 | |
| JP6898962B2 (ja) | 磁気テープ装置 | |
| JP7189312B2 (ja) | 磁気テープ、磁気テープカートリッジおよび磁気テープ装置 | |
| JP7189313B2 (ja) | 磁気テープ、磁気テープカートリッジおよび磁気テープ装置 | |
| JP7190020B2 (ja) | 磁気テープ、磁気テープカートリッジおよび磁気テープ装置 | |
| JP7357752B2 (ja) | 磁気テープ、磁気テープカートリッジおよび磁気テープ装置 | |
| JP6898963B2 (ja) | 磁気テープ装置 |
Legal Events
| Date | Code | Title | Description |
|---|---|---|---|
| A621 | Written request for application examination |
Free format text: JAPANESE INTERMEDIATE CODE: A621 Effective date: 20210218 |
|
| A977 | Report on retrieval |
Free format text: JAPANESE INTERMEDIATE CODE: A971007 Effective date: 20211119 |
|
| TRDD | Decision of grant or rejection written | ||
| A01 | Written decision to grant a patent or to grant a registration (utility model) |
Free format text: JAPANESE INTERMEDIATE CODE: A01 Effective date: 20211207 |
|
| A61 | First payment of annual fees (during grant procedure) |
Free format text: JAPANESE INTERMEDIATE CODE: A61 Effective date: 20211228 |
|
| R150 | Certificate of patent or registration of utility model |
Ref document number: 7003074 Country of ref document: JP Free format text: JAPANESE INTERMEDIATE CODE: R150 |
|
| R250 | Receipt of annual fees |
Free format text: JAPANESE INTERMEDIATE CODE: R250 |
|
| R250 | Receipt of annual fees |
Free format text: JAPANESE INTERMEDIATE CODE: R250 |

