JP6991826B2 - グロメット - Google Patents

グロメット Download PDF

Info

Publication number
JP6991826B2
JP6991826B2 JP2017199456A JP2017199456A JP6991826B2 JP 6991826 B2 JP6991826 B2 JP 6991826B2 JP 2017199456 A JP2017199456 A JP 2017199456A JP 2017199456 A JP2017199456 A JP 2017199456A JP 6991826 B2 JP6991826 B2 JP 6991826B2
Authority
JP
Japan
Prior art keywords
grommet
panel member
flange portion
annular lip
flange
Prior art date
Legal status (The legal status is an assumption and is not a legal conclusion. Google has not performed a legal analysis and makes no representation as to the accuracy of the status listed.)
Active
Application number
JP2017199456A
Other languages
English (en)
Other versions
JP2019075233A (ja
Inventor
真由 小川
悟史 横山
晋一 池田
Current Assignee (The listed assignees may be inaccurate. Google has not performed a legal analysis and makes no representation or warranty as to the accuracy of the list.)
Yazaki Corp
Original Assignee
Yazaki Corp
Priority date (The priority date is an assumption and is not a legal conclusion. Google has not performed a legal analysis and makes no representation as to the accuracy of the date listed.)
Filing date
Publication date
Application filed by Yazaki Corp filed Critical Yazaki Corp
Priority to JP2017199456A priority Critical patent/JP6991826B2/ja
Priority to US16/114,810 priority patent/US10518723B2/en
Priority to CN201811105427.2A priority patent/CN109664840B/zh
Priority to DE102018217491.1A priority patent/DE102018217491B4/de
Publication of JP2019075233A publication Critical patent/JP2019075233A/ja
Application granted granted Critical
Publication of JP6991826B2 publication Critical patent/JP6991826B2/ja
Active legal-status Critical Current
Anticipated expiration legal-status Critical

Links

Images

Classifications

    • BPERFORMING OPERATIONS; TRANSPORTING
    • B60VEHICLES IN GENERAL
    • B60RVEHICLES, VEHICLE FITTINGS, OR VEHICLE PARTS, NOT OTHERWISE PROVIDED FOR
    • B60R16/00Electric or fluid circuits specially adapted for vehicles and not otherwise provided for; Arrangement of elements of electric or fluid circuits specially adapted for vehicles and not otherwise provided for
    • B60R16/02Electric or fluid circuits specially adapted for vehicles and not otherwise provided for; Arrangement of elements of electric or fluid circuits specially adapted for vehicles and not otherwise provided for electric constitutive elements
    • B60R16/0207Wire harnesses
    • B60R16/0215Protecting, fastening and routing means therefor
    • B60R16/0222Grommets
    • HELECTRICITY
    • H02GENERATION; CONVERSION OR DISTRIBUTION OF ELECTRIC POWER
    • H02GINSTALLATION OF ELECTRIC CABLES OR LINES, OR OF COMBINED OPTICAL AND ELECTRIC CABLES OR LINES
    • H02G3/00Installations of electric cables or lines or protective tubing therefor in or on buildings, equivalent structures or vehicles
    • H02G3/02Details
    • H02G3/04Protective tubing or conduits, e.g. cable ladders or cable troughs
    • H02G3/0462Tubings, i.e. having a closed section
    • H02G3/0468Corrugated
    • HELECTRICITY
    • H02GENERATION; CONVERSION OR DISTRIBUTION OF ELECTRIC POWER
    • H02GINSTALLATION OF ELECTRIC CABLES OR LINES, OR OF COMBINED OPTICAL AND ELECTRIC CABLES OR LINES
    • H02G3/00Installations of electric cables or lines or protective tubing therefor in or on buildings, equivalent structures or vehicles
    • H02G3/22Installations of cables or lines through walls, floors or ceilings, e.g. into buildings

Landscapes

  • Engineering & Computer Science (AREA)
  • Architecture (AREA)
  • Civil Engineering (AREA)
  • Structural Engineering (AREA)
  • Mechanical Engineering (AREA)
  • Insulating Bodies (AREA)
  • Installation Of Indoor Wiring (AREA)

Description

本発明は、パネル部材の取付孔に取り付けられるグロメットに関するものである。
車両における扉体等に電力を供給するために電線を設ける際、この電線を水から保護するためにグロメットが設けられることがある。例えば、ハッチバック式の車両では、電線を覆うグロメットが、バックドアのヒンジ部近傍において、一端が車体側のパネルに取り付けられ、他端がドア側のパネルに取り付けられる。
このようなグロメットとして、パネルに対向するフランジ部と、取付孔の開口縁部(平面部)に接触する環状リップ部と、を互いに当接させるものが提案されている(例えば、特許文献1参照)。特許文献1に記載されたグロメットでは、フランジ部と環状リップ部とが当接し、環状リップ部がフランジ部とパネルとによって挟み込まれる。これにより、環状リップ部が開口縁部に対して強く押圧されるようになっている。
特開2014-33564号公報
しかしながら、特許文献1に記載されたようなグロメットでは、フランジ部は環状リップ部と同様の軟質な部材によって構成されており、環状リップ部をフランジ部とパネルとによって挟み込んでも、充分な押圧力が得られない場合があった。そこで、環状リップ部をパネル部材に対してより強く押し付けることができる構成とすることが望まれていた。
本発明の目的は、環状リップ部をパネル部材に対して強く押し付けることができるグロメットを提供することにある。
本願発明のグロメットは、電線を覆うように筒状に形成されるとともにパネル部材の取付孔に取り付けられるグロメットであって、前記パネル部材に対向する第1フランジ部、及び、該第1フランジ部の内周部から前記パネル部材に向かって延びることで前記取付孔の周囲の平面部に弾性接触する環状リップ部を有するグロメット本体と、前記グロメット本体に取り付けられるとともに当該グロメット本体よりも硬質な部材によって構成されたインナ部材と、を備え、前記インナ部材は、前記第1フランジ部に収容されるインナフランジ部と、前記取付孔に挿通される挿通部と、前記パネル部材のうち前記グロメット本体と反対側を向いた面に係止される係止部と、を有し、前記環状リップ部は、前記インナフランジ部の外周縁よりも径方向内側においてのみ前記平面部に当接する突起部を有し、前記環状リップ部の前記突起部が前記平面部と前記インナフランジ部とによって挟み込まれることを特徴とする。
このような本願発明のグロメットによれば、環状リップ部がインナフランジ部の外周縁よりも径方向内側において平面部に当接することで、環状リップ部の当接部が平面部とインナフランジ部とによって挟み込まれる。このとき、インナ部材がグロメット本体よりも硬質な部材によって構成されていることで、環状リップ部をパネル部材に対して強く押し付けることができる。
本発明の実施形態に係るグロメットを示す斜視図である。 前記グロメットを示す平面図である。 前記グロメットの取付部を示す平面図である。 前記グロメットの要部を示す断面図である。 前記グロメットをパネル部材に取り付けた様子を示す断面図である。 前記グロメットを他のパネル部材に取り付けた様子を示す断面図である。 前記グロメットの要部を示す側面図である。
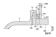
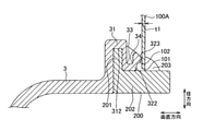
以下、本発明の実施形態を図面に基づいて説明する。図1は、本発明の実施形態に係るグロメット1を示す斜視図であり、図2は、グロメット1を示す平面図であり、図3は、グロメット1の取付部3を示す平面図であり、図4は、グロメット1の要部を示す断面図であり、図5は、グロメット1をパネル部材100Aに取り付けた様子を示す断面図であり、図6は、グロメット1を他のパネル部材100Bに取り付けた様子を示す断面図であり、図7は、グロメット1の要部を示す側面図である。
本実施形態のグロメット1は、図1~3に示すように、電線を覆うように筒状に形成されるとともにパネル部材100の取付孔101に対して取り付けられるものであって、例えばハッチバック式のバックドアを有する車両において、バックドアのヒンジ部近傍に設けられる。グロメット1は、グロメット本体10と、インナ部材200と、を備え、グロメット本体10は、電線が挿通されるコルゲートチューブ部2と、パネル部材に取り付けられる取付部3と、を備え、例えば軟質な樹脂によって一体に形成されている。尚、取付部3は、コルゲートチューブ部2の両端に設けられ、それぞれ例えば車体側のパネル部材とドア側のパネル部材とに取り付けられるが、本実施形態では、両方の取付部3が同様の構成を有するものとする。
コルゲートチューブ部2は、蛇腹状に形成されることで屈曲および伸縮可能となっている。即ち、コルゲートチューブ部2は、バックドアの開閉に応じて適宜に変形するようになっている。
取付部3は、パネル部材100側が開口した筒状に形成されるとともに、パネル部材100から見てオーバル状となっている。取付部3のうち開口側には、図4に示すように、パネル部材100に対向する第1フランジ部31と、第1フランジ部31の内周部311に連続するとともにパネル部材100に向かって延びる環状リップ部32と、が形成されている。
第1フランジ部31は、取付部3における他の部分よりも拡径された部分であり、パネル部材100に沿った鍔状に形成されている。第1フランジ部31の内径側には、凹状のインナ部材収容部312が形成されている。インナ部材収容部312には、インナ部材200の後述するフランジ部201が収容されるようになっている。
インナ部材200は、グロメット1の取付部3の径方向内側に配置されるとともに電線が挿通される部材であって、グロメット1よりも硬質な樹脂によって構成されている。インナ部材200は、グロメット1からパネル部材100に向かう方向に沿って、フランジ部(インナフランジ部)201と、筒部202と、係止部203と、をこの順に有している。
フランジ部201は、取付孔101よりも大径に形成され、パネル部材100と対向する。また、フランジ部201がインナ部材収容部312に収容されることにより、インナ部材200が取付部3に取り付けられるようになっている。筒部202は、取付孔101に挿通可能なように、取付孔101よりも小径に形成されている。係止部203は、先端側が小径となるような傾斜を有するとともに、その最外径が取付孔101の内径よりも大きい。即ち、係止部203を取付孔101に挿通することにより、係止部203がパネル部材100の内面(グロメット本体10側と反対側の面)に係止されるようになっている。
このように、グロメット1は、インナ部材200を備えることにより、パネル部材100に取り付けられるように構成されている。また、グロメット本体10の一部、及び、パネル部材100における取付孔101の周辺部が、フランジ部201と係止部203とによって挟み込まれる。
環状リップ部32は、パネル部材100のうち取付孔101の周囲の平面部102に弾性接触することにより止水性を確保するものである。環状リップ部32は、第1フランジ部31の内周部311に連続した筒状部321と、筒状部321の先端に連続した第2フランジ部322と、第2フランジ部322から突出した突起部323と、を有する。
筒状部321は、パネル部材100に対する面直方向を延在方向とする筒状に形成されている。また、第2フランジ部322は、筒状部321から径方向外側に向かってパネル部材100と略平行に延びている。また、突起部323は、平面部102に向かって突出している。さらに、第2フランジ部322には、突起部323よりも径方向外側に突出したフランジ突起部324が形成されている。
第1フランジ部31がパネル部材100と略平行に延びており、筒状部321がパネル部材100に対して略垂直に延びていることから、これらの間には、略直角の第1屈曲部33が形成されている。また、筒状部321がパネル部材100に対して略垂直に延びており、第2フランジ部322がパネル部材100と略平行に延びていることから、これらの間には、略直角の第2屈曲部34が形成されている。
第1フランジ部31と筒状部321と第2フランジ部322とによって、取付部3には、外周面が凹状にとなった外側凹部35が形成されている。また、第2フランジ部322の径方向寸法は、第1フランジ部31のインナ部材収容部312の深さよりも小さい。従って、突起部323の先端(即ち平面部102と接触する部分)は、インナ部材収容部312の底部よりも径方向内側に配置されている。インナ部材200のフランジ部201における径方向外側端縁は、インナ部材収容部312の底部に当接するようになっており、パネル部材100の面直方向に沿って見た際に、突起部323の先端がフランジ部201と重なるような配置となっている。突起部323は、後述するように径方向外側に移動しないようになっている。従って、環状リップ部32は、フランジ部201の外周縁よりも径方向内側において平面部102に当接する。
取付部3には、環状リップ部32と第1フランジ部31とを繋ぐ複数のリブ36が形成されている。複数のリブ36は、取付部3の開口に沿うように所定の間隔をあけて配置されている。リブ36は、第2フランジ部322の径方向外側端部から、さらに径方向外側に向かうように斜めに延びて第1フランジ部31に接続されている。後述するように環状リップ部32が変形する際、リブ36も変形する。
フランジ突起部324の先端が、環状リップ部32全体の先端縁となる。環状リップ部32の先端縁は、図7に示すように、第1フランジ部31におけるパネル部材100側の外縁313と、インナ部材200の先端における外縁204と、を結ぶ仮想的な直線よりも内側に位置する。従って、取付部3を適宜な載置面に横置き(開口が水平方向を向くように置く)した場合に、取付部3が載置面に対して傾いたとしても、環状リップ部32の先端縁が載置面と接触しないようになっている。
ここで、グロメット1をパネル部材100に取り付ける際の環状リップ部32の変形について説明する。まず、面直方向におけるフランジ部201と係止部203との間隔L1よりも、これらの間における取付部3の寸法L2とパネル部材の板厚t1との和が若干大きくなるようなパネル部材100Aを用いた場合について、図4に基づいて説明する。係止部203がパネル部材100Aに係止された際、環状リップ部32における突起部323の先端が平面部102に当接し、取付部3はほとんど変形しない。
次に、間隔L1よりも、寸法L2と板厚t2との和がさらに大きくなるようなパネル部材100Bを用いた場合について、図5に基づいて説明する。係止部203がパネル部材100Bに係止された際、環状リップ部32における突起部323の先端が平面部102に当接する。このとき、各部が上記のような寸法の関係を有するとともに、グロメット1がパネル部材100及びインナ部材200よりも軟質であることから、取付部3が変形する。
具体的には、第2フランジ部322が第1フランジ部31に近づくことにより、第2屈曲部34が鋭角となるように屈曲する。このとき、外側凹部35が、第2フランジ部322が移動するためのスペースとなっている。このような変形により、突起部323は、第2屈曲部34を中心とする円弧に沿って移動し、即ち、面直方向において第1フランジ部31に近づくように移動するとともに、径方向内側に移動する。また、図4に示す場合と同様に、環状リップ部32は、突起部323において平面部102に当接する。
このように、環状リップ部32は、パネル部材100の平面部102に弾性接触して変形する際、平面部102に当接する突起部323が主に面直方向において移動し、径方向外側への移動が抑制される。即ち、環状リップ部32は、全体がパネル部材100に対する面直方向に沿って延びていることにより、平面部102への弾性接触時に、パネル部材100の面直方向を圧縮方向として変形するにおいて圧縮される。このとき、上記のように突起部323は径方向内側に移動するものの、突起部323は曲面状に形成されており、上記変形に伴い、先端が接触した状態から、先端よりも径方向内側の部分が接触した状態となる。このとき、平面部102における突起部323との接触箇所は略一定であり、少なくとも径方向外側には移動しないようになっている。
このような本実施形態によれば、以下のような効果がある。即ち、環状リップ部32がフランジ部201の外周縁よりも径方向内側において平面部102に当接することで、環状リップ部32の突起部323が平面部102とフランジ部201とによって挟み込まれる。このとき、インナ部材200がグロメット本体10よりも硬質な部材によって構成されていることで、環状リップ部32をパネル部材100に対して強く押し付けることができる。
また、環状リップ部32が面直方向を圧縮方向とし、弾性接触時に平面部102における突起部324との接触箇所の径方向外側への移動が抑制されていることから、環状リップ部32を、フランジ部201の外周縁よりも径方向内側において平面部102に当接させやすい。
なお、本発明は、前記実施形態に限定されるものではなく、本発明の目的が達成できる他の構成等を含む。本発明を実施するための最良の構成、方法などは、以上の記載で開示されているが、本発明は、これに限定されるものではない。すなわち、本発明は、主に特定の実施形態に関して特に図示され、且つ、説明されているが、本発明の技術的思想および目的の範囲から逸脱することなく、以上述べた実施形態に対し、形状、材質、数量、その他の詳細な構成において、当業者が様々な変形を加えることができるものである。従って、上記に開示した形状、材質などを限定した記載は、本発明の理解を容易にするために例示的に記載したものであり、本発明を限定するものではないから、それらの形状、材質などの限定の一部、もしくは全部の限定を外した部材の名称での記載は、本発明に含まれるものである。
1 グロメット
10 グロメット本体
31 第1フランジ部
32 環状リップ部
321 筒状部
322 第2フランジ部
34 第2屈曲部
100 パネル部材
101 取付孔
102 平面部
200 インナ部材
201 フランジ部(インナフランジ部)
202 挿通部
203 係止部

Claims (3)

  1. 電線を覆うように筒状に形成されるとともにパネル部材の取付孔に取り付けられるグロメットであって、
    前記パネル部材に対向する第1フランジ部、及び、該第1フランジ部の内周部から前記パネル部材に向かって延びることで前記取付孔の周囲の平面部に弾性接触する環状リップ部を有するグロメット本体と、
    前記グロメット本体に取り付けられるとともに当該グロメット本体よりも硬質な部材によって構成されたインナ部材と、を備え、
    前記インナ部材は、前記第1フランジ部に収容されるインナフランジ部と、前記取付孔に挿通される挿通部と、前記パネル部材のうち前記グロメット本体と反対側を向いた面に係止される係止部と、を有し、
    前記環状リップ部は、前記インナフランジ部の外周縁よりも径方向内側においてのみ前記平面部に当接する突起部を有し、前記環状リップ部の前記突起部が前記平面部と前記インナフランジ部とによって挟み込まれることを特徴とするグロメット。
  2. 前記環状リップ部は、全体が前記パネル部材に対する面直方向に沿って延びていることにより、弾性接触時に前記面直方向を圧縮方向として変形することを特徴とする請求項1に記載のグロメット。
  3. 前記環状リップ部は、前記第1フランジ部から前記パネル部材に向かって延びる筒状部と、該筒状部の先端に連続するとともに径方向外側に向かって延びる第2フランジ部と、を有し、弾性接触時に、前記筒状部と前記第2フランジ部との間の屈曲部が変形することを特徴とする請求項2に記載のグロメット。
JP2017199456A 2017-10-13 2017-10-13 グロメット Active JP6991826B2 (ja)

Priority Applications (4)

Application Number Priority Date Filing Date Title
JP2017199456A JP6991826B2 (ja) 2017-10-13 2017-10-13 グロメット
US16/114,810 US10518723B2 (en) 2017-10-13 2018-08-28 Grommet
CN201811105427.2A CN109664840B (zh) 2017-10-13 2018-09-21 索环
DE102018217491.1A DE102018217491B4 (de) 2017-10-13 2018-10-12 Kabeldurchführung

Applications Claiming Priority (1)

Application Number Priority Date Filing Date Title
JP2017199456A JP6991826B2 (ja) 2017-10-13 2017-10-13 グロメット

Publications (2)

Publication Number Publication Date
JP2019075233A JP2019075233A (ja) 2019-05-16
JP6991826B2 true JP6991826B2 (ja) 2022-01-13

Family

ID=65910466

Family Applications (1)

Application Number Title Priority Date Filing Date
JP2017199456A Active JP6991826B2 (ja) 2017-10-13 2017-10-13 グロメット

Country Status (4)

Country Link
US (1) US10518723B2 (ja)
JP (1) JP6991826B2 (ja)
CN (1) CN109664840B (ja)
DE (1) DE102018217491B4 (ja)

Families Citing this family (2)

* Cited by examiner, † Cited by third party
Publication number Priority date Publication date Assignee Title
JP7133596B2 (ja) * 2020-09-10 2022-09-08 住友電装株式会社 グロメット
EP4148310B1 (en) * 2021-09-10 2023-08-02 Leoni Wiring Systems France Grommet

Citations (1)

* Cited by examiner, † Cited by third party
Publication number Priority date Publication date Assignee Title
JP2014033564A (ja) 2012-08-06 2014-02-20 Yazaki Corp グロメット

Family Cites Families (21)

* Cited by examiner, † Cited by third party
Publication number Priority date Publication date Assignee Title
US4928349A (en) * 1987-07-15 1990-05-29 Yazaki Corporation Grommet structure
JPH0534179Y2 (ja) * 1987-12-16 1993-08-30
JP2529348Y2 (ja) * 1991-09-02 1997-03-19 矢崎総業株式会社 グロメット
JP2534201Y2 (ja) * 1991-12-03 1997-04-30 住友電装株式会社 グロメット
JP3442198B2 (ja) * 1995-07-12 2003-09-02 矢崎総業株式会社 グロメット
JP3410948B2 (ja) * 1998-02-10 2003-05-26 矢崎総業株式会社 グロメット
JP3520797B2 (ja) * 1999-03-02 2004-04-19 住友電装株式会社 グロメット
DE10244408B4 (de) * 2001-10-01 2007-03-01 Sumitomo Wiring Systems, Ltd., Yokkaichi Durchgangstülle mit Kunststoffeinsatz
US7020931B1 (en) * 2003-12-23 2006-04-04 Yazaki North America, Inc. Grommet and retainer
JP4412144B2 (ja) * 2004-10-20 2010-02-10 住友電装株式会社 ワイヤハーネスの配索構造
DE102005001708B4 (de) * 2005-01-13 2007-03-08 Drossbach Gmbh & Co Kg Gummiringdichtung für die Verbindung zweier Wellrohre
JP5144908B2 (ja) * 2006-03-06 2013-02-13 矢崎総業株式会社 防水ケース
JP4791396B2 (ja) * 2007-03-19 2011-10-12 矢崎総業株式会社 グロメットおよびその組付方法
JP5109965B2 (ja) * 2008-12-24 2012-12-26 住友電装株式会社 グロメット
US8022304B2 (en) * 2009-06-05 2011-09-20 Ford Global Technologies, Llc Grommet
JP5549408B2 (ja) * 2010-06-17 2014-07-16 住友電装株式会社 ワイヤハーネス用のグロメット
JP5387541B2 (ja) * 2010-10-29 2014-01-15 住友電装株式会社 グロメット
JP5758645B2 (ja) * 2011-02-14 2015-08-05 矢崎総業株式会社 グロメット
JP5806523B2 (ja) * 2011-06-24 2015-11-10 矢崎総業株式会社 グロメット付きコネクタ
JP6014093B2 (ja) * 2014-09-12 2016-10-25 矢崎総業株式会社 グロメット
JP6810536B2 (ja) 2016-04-25 2021-01-06 臼井国際産業株式会社 金属材およびその製造方法

Patent Citations (1)

* Cited by examiner, † Cited by third party
Publication number Priority date Publication date Assignee Title
JP2014033564A (ja) 2012-08-06 2014-02-20 Yazaki Corp グロメット

Also Published As

Publication number Publication date
DE102018217491B4 (de) 2025-01-30
US20190111868A1 (en) 2019-04-18
CN109664840A (zh) 2019-04-23
JP2019075233A (ja) 2019-05-16
DE102018217491A1 (de) 2019-04-18
CN109664840B (zh) 2022-02-01
US10518723B2 (en) 2019-12-31

Similar Documents

Publication Publication Date Title
JP6687577B2 (ja) グロメット
JP5922527B2 (ja) グロメット
JP6214335B2 (ja) ホールプラグ
JP5880457B2 (ja) グロメット
JP5758645B2 (ja) グロメット
JP6991826B2 (ja) グロメット
CN109672125B (zh) 索环
JP6970064B2 (ja) グロメット
CN111959250B (zh) 车辆外腰密封组件
US20190092397A1 (en) Hole plug
JP6900011B2 (ja) 内装部品
JP6783748B2 (ja) ホールプラグ
JP6975023B2 (ja) グロメットおよびグロメット取付構造
JP7060456B2 (ja) 自動車用ドアウエザーストリップ
JP6947628B2 (ja) ホールプラグの取付構造
JP2021048657A (ja) グロメット
JP6865113B2 (ja) 収納装置
JP2006166640A (ja) ケーブル保護カバー
JP7178300B2 (ja) グロメットインナ及びグロメット
JP6865377B2 (ja) 不陸調整部材および造作部材
JP2021109509A (ja) 車両用外装部品の取付構造
JP6793695B2 (ja) グロメット
US20240331676A1 (en) Soundproofing cover
JP7321020B2 (ja) ルーフモールの取付構造
JP2002152947A (ja) グロメット

Legal Events

Date Code Title Description
RD04 Notification of resignation of power of attorney

Free format text: JAPANESE INTERMEDIATE CODE: A7424

Effective date: 20180219

A621 Written request for application examination

Free format text: JAPANESE INTERMEDIATE CODE: A621

Effective date: 20190117

A977 Report on retrieval

Free format text: JAPANESE INTERMEDIATE CODE: A971007

Effective date: 20191125

A131 Notification of reasons for refusal

Free format text: JAPANESE INTERMEDIATE CODE: A131

Effective date: 20191203

A521 Request for written amendment filed

Free format text: JAPANESE INTERMEDIATE CODE: A523

Effective date: 20200115

A131 Notification of reasons for refusal

Free format text: JAPANESE INTERMEDIATE CODE: A131

Effective date: 20200407

A02 Decision of refusal

Free format text: JAPANESE INTERMEDIATE CODE: A02

Effective date: 20200728

C60 Trial request (containing other claim documents, opposition documents)

Free format text: JAPANESE INTERMEDIATE CODE: C60

Effective date: 20200929

C22 Notice of designation (change) of administrative judge

Free format text: JAPANESE INTERMEDIATE CODE: C22

Effective date: 20210608

C22 Notice of designation (change) of administrative judge

Free format text: JAPANESE INTERMEDIATE CODE: C22

Effective date: 20210622

C302 Record of communication

Free format text: JAPANESE INTERMEDIATE CODE: C302

Effective date: 20210910

C13 Notice of reasons for refusal

Free format text: JAPANESE INTERMEDIATE CODE: C13

Effective date: 20210914

A521 Request for written amendment filed

Free format text: JAPANESE INTERMEDIATE CODE: A523

Effective date: 20210915

C23 Notice of termination of proceedings

Free format text: JAPANESE INTERMEDIATE CODE: C23

Effective date: 20210928

C22 Notice of designation (change) of administrative judge

Free format text: JAPANESE INTERMEDIATE CODE: C22

Effective date: 20211026

C03 Trial/appeal decision taken

Free format text: JAPANESE INTERMEDIATE CODE: C03

Effective date: 20211207

C30A Notification sent

Free format text: JAPANESE INTERMEDIATE CODE: C3012

Effective date: 20211207

A61 First payment of annual fees (during grant procedure)

Free format text: JAPANESE INTERMEDIATE CODE: A61

Effective date: 20211208

R150 Certificate of patent or registration of utility model

Ref document number: 6991826

Country of ref document: JP

Free format text: JAPANESE INTERMEDIATE CODE: R150

S531 Written request for registration of change of domicile

Free format text: JAPANESE INTERMEDIATE CODE: R313531

R350 Written notification of registration of transfer

Free format text: JAPANESE INTERMEDIATE CODE: R350

R250 Receipt of annual fees

Free format text: JAPANESE INTERMEDIATE CODE: R250

R250 Receipt of annual fees

Free format text: JAPANESE INTERMEDIATE CODE: R250