JP6902090B2 - 酸化物半導体膜、薄膜トランジスタ、スパッタリングターゲット用酸化物焼結体、スパッタリングターゲット及び電子機器 - Google Patents
酸化物半導体膜、薄膜トランジスタ、スパッタリングターゲット用酸化物焼結体、スパッタリングターゲット及び電子機器 Download PDFInfo
- Publication number
- JP6902090B2 JP6902090B2 JP2019501265A JP2019501265A JP6902090B2 JP 6902090 B2 JP6902090 B2 JP 6902090B2 JP 2019501265 A JP2019501265 A JP 2019501265A JP 2019501265 A JP2019501265 A JP 2019501265A JP 6902090 B2 JP6902090 B2 JP 6902090B2
- Authority
- JP
- Japan
- Prior art keywords
- oxide
- sintered body
- transistor
- thin film
- film
- Prior art date
- Legal status (The legal status is an assumption and is not a legal conclusion. Google has not performed a legal analysis and makes no representation as to the accuracy of the status listed.)
- Active
Links
Images
Classifications
-
- H—ELECTRICITY
- H10—SEMICONDUCTOR DEVICES; ELECTRIC SOLID-STATE DEVICES NOT OTHERWISE PROVIDED FOR
- H10D—INORGANIC ELECTRIC SEMICONDUCTOR DEVICES
- H10D30/00—Field-effect transistors [FET]
- H10D30/60—Insulated-gate field-effect transistors [IGFET]
- H10D30/67—Thin-film transistors [TFT]
- H10D30/674—Thin-film transistors [TFT] characterised by the active materials
- H10D30/6755—Oxide semiconductors, e.g. zinc oxide, copper aluminium oxide or cadmium stannate
- H10D30/6756—Amorphous oxide semiconductors
-
- H—ELECTRICITY
- H01—ELECTRIC ELEMENTS
- H01L—SEMICONDUCTOR DEVICES NOT COVERED BY CLASS H10
- H01L21/00—Processes or apparatus adapted for the manufacture or treatment of semiconductor or solid state devices or of parts thereof
- H01L21/02—Manufacture or treatment of semiconductor devices or of parts thereof
- H01L21/02104—Forming layers
- H01L21/02107—Forming insulating materials on a substrate
- H01L21/02225—Forming insulating materials on a substrate characterised by the process for the formation of the insulating layer
- H01L21/0226—Forming insulating materials on a substrate characterised by the process for the formation of the insulating layer formation by a deposition process
- H01L21/02263—Forming insulating materials on a substrate characterised by the process for the formation of the insulating layer formation by a deposition process deposition from the gas or vapour phase
- H01L21/02266—Forming insulating materials on a substrate characterised by the process for the formation of the insulating layer formation by a deposition process deposition from the gas or vapour phase deposition by physical ablation of a target, e.g. sputtering, reactive sputtering, physical vapour deposition or pulsed laser deposition
-
- C—CHEMISTRY; METALLURGY
- C04—CEMENTS; CONCRETE; ARTIFICIAL STONE; CERAMICS; REFRACTORIES
- C04B—LIME, MAGNESIA; SLAG; CEMENTS; COMPOSITIONS THEREOF, e.g. MORTARS, CONCRETE OR LIKE BUILDING MATERIALS; ARTIFICIAL STONE; CERAMICS; REFRACTORIES; TREATMENT OF NATURAL STONE
- C04B35/00—Shaped ceramic products characterised by their composition; Ceramics compositions; Processing powders of inorganic compounds preparatory to the manufacturing of ceramic products
- C04B35/01—Shaped ceramic products characterised by their composition; Ceramics compositions; Processing powders of inorganic compounds preparatory to the manufacturing of ceramic products based on oxide ceramics
-
- C—CHEMISTRY; METALLURGY
- C04—CEMENTS; CONCRETE; ARTIFICIAL STONE; CERAMICS; REFRACTORIES
- C04B—LIME, MAGNESIA; SLAG; CEMENTS; COMPOSITIONS THEREOF, e.g. MORTARS, CONCRETE OR LIKE BUILDING MATERIALS; ARTIFICIAL STONE; CERAMICS; REFRACTORIES; TREATMENT OF NATURAL STONE
- C04B35/00—Shaped ceramic products characterised by their composition; Ceramics compositions; Processing powders of inorganic compounds preparatory to the manufacturing of ceramic products
- C04B35/01—Shaped ceramic products characterised by their composition; Ceramics compositions; Processing powders of inorganic compounds preparatory to the manufacturing of ceramic products based on oxide ceramics
- C04B35/453—Shaped ceramic products characterised by their composition; Ceramics compositions; Processing powders of inorganic compounds preparatory to the manufacturing of ceramic products based on oxide ceramics based on zinc, tin, or bismuth oxides or solid solutions thereof with other oxides, e.g. zincates, stannates or bismuthates
-
- C—CHEMISTRY; METALLURGY
- C04—CEMENTS; CONCRETE; ARTIFICIAL STONE; CERAMICS; REFRACTORIES
- C04B—LIME, MAGNESIA; SLAG; CEMENTS; COMPOSITIONS THEREOF, e.g. MORTARS, CONCRETE OR LIKE BUILDING MATERIALS; ARTIFICIAL STONE; CERAMICS; REFRACTORIES; TREATMENT OF NATURAL STONE
- C04B35/00—Shaped ceramic products characterised by their composition; Ceramics compositions; Processing powders of inorganic compounds preparatory to the manufacturing of ceramic products
- C04B35/01—Shaped ceramic products characterised by their composition; Ceramics compositions; Processing powders of inorganic compounds preparatory to the manufacturing of ceramic products based on oxide ceramics
- C04B35/453—Shaped ceramic products characterised by their composition; Ceramics compositions; Processing powders of inorganic compounds preparatory to the manufacturing of ceramic products based on oxide ceramics based on zinc, tin, or bismuth oxides or solid solutions thereof with other oxides, e.g. zincates, stannates or bismuthates
- C04B35/457—Shaped ceramic products characterised by their composition; Ceramics compositions; Processing powders of inorganic compounds preparatory to the manufacturing of ceramic products based on oxide ceramics based on zinc, tin, or bismuth oxides or solid solutions thereof with other oxides, e.g. zincates, stannates or bismuthates based on tin oxides or stannates
-
- C—CHEMISTRY; METALLURGY
- C04—CEMENTS; CONCRETE; ARTIFICIAL STONE; CERAMICS; REFRACTORIES
- C04B—LIME, MAGNESIA; SLAG; CEMENTS; COMPOSITIONS THEREOF, e.g. MORTARS, CONCRETE OR LIKE BUILDING MATERIALS; ARTIFICIAL STONE; CERAMICS; REFRACTORIES; TREATMENT OF NATURAL STONE
- C04B35/00—Shaped ceramic products characterised by their composition; Ceramics compositions; Processing powders of inorganic compounds preparatory to the manufacturing of ceramic products
- C04B35/622—Forming processes; Processing powders of inorganic compounds preparatory to the manufacturing of ceramic products
- C04B35/626—Preparing or treating the powders individually or as batches ; preparing or treating macroscopic reinforcing agents for ceramic products, e.g. fibres; mechanical aspects section B
- C04B35/62605—Treating the starting powders individually or as mixtures
- C04B35/6261—Milling
-
- C—CHEMISTRY; METALLURGY
- C04—CEMENTS; CONCRETE; ARTIFICIAL STONE; CERAMICS; REFRACTORIES
- C04B—LIME, MAGNESIA; SLAG; CEMENTS; COMPOSITIONS THEREOF, e.g. MORTARS, CONCRETE OR LIKE BUILDING MATERIALS; ARTIFICIAL STONE; CERAMICS; REFRACTORIES; TREATMENT OF NATURAL STONE
- C04B35/00—Shaped ceramic products characterised by their composition; Ceramics compositions; Processing powders of inorganic compounds preparatory to the manufacturing of ceramic products
- C04B35/622—Forming processes; Processing powders of inorganic compounds preparatory to the manufacturing of ceramic products
- C04B35/64—Burning or sintering processes
-
- C—CHEMISTRY; METALLURGY
- C23—COATING METALLIC MATERIAL; COATING MATERIAL WITH METALLIC MATERIAL; CHEMICAL SURFACE TREATMENT; DIFFUSION TREATMENT OF METALLIC MATERIAL; COATING BY VACUUM EVAPORATION, BY SPUTTERING, BY ION IMPLANTATION OR BY CHEMICAL VAPOUR DEPOSITION, IN GENERAL; INHIBITING CORROSION OF METALLIC MATERIAL OR INCRUSTATION IN GENERAL
- C23C—COATING METALLIC MATERIAL; COATING MATERIAL WITH METALLIC MATERIAL; SURFACE TREATMENT OF METALLIC MATERIAL BY DIFFUSION INTO THE SURFACE, BY CHEMICAL CONVERSION OR SUBSTITUTION; COATING BY VACUUM EVAPORATION, BY SPUTTERING, BY ION IMPLANTATION OR BY CHEMICAL VAPOUR DEPOSITION, IN GENERAL
- C23C14/00—Coating by vacuum evaporation, by sputtering or by ion implantation of the coating forming material
- C23C14/06—Coating by vacuum evaporation, by sputtering or by ion implantation of the coating forming material characterised by the coating material
- C23C14/08—Oxides
-
- C—CHEMISTRY; METALLURGY
- C23—COATING METALLIC MATERIAL; COATING MATERIAL WITH METALLIC MATERIAL; CHEMICAL SURFACE TREATMENT; DIFFUSION TREATMENT OF METALLIC MATERIAL; COATING BY VACUUM EVAPORATION, BY SPUTTERING, BY ION IMPLANTATION OR BY CHEMICAL VAPOUR DEPOSITION, IN GENERAL; INHIBITING CORROSION OF METALLIC MATERIAL OR INCRUSTATION IN GENERAL
- C23C—COATING METALLIC MATERIAL; COATING MATERIAL WITH METALLIC MATERIAL; SURFACE TREATMENT OF METALLIC MATERIAL BY DIFFUSION INTO THE SURFACE, BY CHEMICAL CONVERSION OR SUBSTITUTION; COATING BY VACUUM EVAPORATION, BY SPUTTERING, BY ION IMPLANTATION OR BY CHEMICAL VAPOUR DEPOSITION, IN GENERAL
- C23C14/00—Coating by vacuum evaporation, by sputtering or by ion implantation of the coating forming material
- C23C14/22—Coating by vacuum evaporation, by sputtering or by ion implantation of the coating forming material characterised by the process of coating
- C23C14/34—Sputtering
-
- C—CHEMISTRY; METALLURGY
- C23—COATING METALLIC MATERIAL; COATING MATERIAL WITH METALLIC MATERIAL; CHEMICAL SURFACE TREATMENT; DIFFUSION TREATMENT OF METALLIC MATERIAL; COATING BY VACUUM EVAPORATION, BY SPUTTERING, BY ION IMPLANTATION OR BY CHEMICAL VAPOUR DEPOSITION, IN GENERAL; INHIBITING CORROSION OF METALLIC MATERIAL OR INCRUSTATION IN GENERAL
- C23C—COATING METALLIC MATERIAL; COATING MATERIAL WITH METALLIC MATERIAL; SURFACE TREATMENT OF METALLIC MATERIAL BY DIFFUSION INTO THE SURFACE, BY CHEMICAL CONVERSION OR SUBSTITUTION; COATING BY VACUUM EVAPORATION, BY SPUTTERING, BY ION IMPLANTATION OR BY CHEMICAL VAPOUR DEPOSITION, IN GENERAL
- C23C14/00—Coating by vacuum evaporation, by sputtering or by ion implantation of the coating forming material
- C23C14/22—Coating by vacuum evaporation, by sputtering or by ion implantation of the coating forming material characterised by the process of coating
- C23C14/34—Sputtering
- C23C14/3407—Cathode assembly for sputtering apparatus, e.g. Target
- C23C14/3414—Metallurgical or chemical aspects of target preparation, e.g. casting, powder metallurgy
-
- H—ELECTRICITY
- H01—ELECTRIC ELEMENTS
- H01L—SEMICONDUCTOR DEVICES NOT COVERED BY CLASS H10
- H01L21/00—Processes or apparatus adapted for the manufacture or treatment of semiconductor or solid state devices or of parts thereof
- H01L21/02—Manufacture or treatment of semiconductor devices or of parts thereof
- H01L21/02104—Forming layers
- H01L21/02107—Forming insulating materials on a substrate
- H01L21/02109—Forming insulating materials on a substrate characterised by the type of layer, e.g. type of material, porous/non-porous, pre-cursors, mixtures or laminates
- H01L21/02112—Forming insulating materials on a substrate characterised by the type of layer, e.g. type of material, porous/non-porous, pre-cursors, mixtures or laminates characterised by the material of the layer
- H01L21/02172—Forming insulating materials on a substrate characterised by the type of layer, e.g. type of material, porous/non-porous, pre-cursors, mixtures or laminates characterised by the material of the layer the material containing at least one metal element, e.g. metal oxides, metal nitrides, metal oxynitrides or metal carbides
-
- H—ELECTRICITY
- H01—ELECTRIC ELEMENTS
- H01L—SEMICONDUCTOR DEVICES NOT COVERED BY CLASS H10
- H01L21/00—Processes or apparatus adapted for the manufacture or treatment of semiconductor or solid state devices or of parts thereof
- H01L21/02—Manufacture or treatment of semiconductor devices or of parts thereof
- H01L21/02104—Forming layers
- H01L21/02365—Forming inorganic semiconducting materials on a substrate
- H01L21/02367—Substrates
- H01L21/0237—Materials
- H01L21/02373—Group 14 semiconducting materials
- H01L21/02381—Silicon, silicon germanium, germanium
-
- H—ELECTRICITY
- H01—ELECTRIC ELEMENTS
- H01L—SEMICONDUCTOR DEVICES NOT COVERED BY CLASS H10
- H01L21/00—Processes or apparatus adapted for the manufacture or treatment of semiconductor or solid state devices or of parts thereof
- H01L21/02—Manufacture or treatment of semiconductor devices or of parts thereof
- H01L21/02104—Forming layers
- H01L21/02365—Forming inorganic semiconducting materials on a substrate
- H01L21/02518—Deposited layers
- H01L21/02521—Materials
- H01L21/02551—Group 12/16 materials
- H01L21/02554—Oxides
-
- H—ELECTRICITY
- H01—ELECTRIC ELEMENTS
- H01L—SEMICONDUCTOR DEVICES NOT COVERED BY CLASS H10
- H01L21/00—Processes or apparatus adapted for the manufacture or treatment of semiconductor or solid state devices or of parts thereof
- H01L21/02—Manufacture or treatment of semiconductor devices or of parts thereof
- H01L21/02104—Forming layers
- H01L21/02365—Forming inorganic semiconducting materials on a substrate
- H01L21/02518—Deposited layers
- H01L21/02521—Materials
- H01L21/02565—Oxide semiconducting materials not being Group 12/16 materials, e.g. ternary compounds
-
- H—ELECTRICITY
- H01—ELECTRIC ELEMENTS
- H01L—SEMICONDUCTOR DEVICES NOT COVERED BY CLASS H10
- H01L21/00—Processes or apparatus adapted for the manufacture or treatment of semiconductor or solid state devices or of parts thereof
- H01L21/02—Manufacture or treatment of semiconductor devices or of parts thereof
- H01L21/02104—Forming layers
- H01L21/02365—Forming inorganic semiconducting materials on a substrate
- H01L21/02612—Formation types
- H01L21/02617—Deposition types
- H01L21/02631—Physical deposition at reduced pressure, e.g. MBE, sputtering, evaporation
-
- H—ELECTRICITY
- H10—SEMICONDUCTOR DEVICES; ELECTRIC SOLID-STATE DEVICES NOT OTHERWISE PROVIDED FOR
- H10D—INORGANIC ELECTRIC SEMICONDUCTOR DEVICES
- H10D12/00—Bipolar devices controlled by the field effect, e.g. insulated-gate bipolar transistors [IGBT]
- H10D12/211—Gated diodes
-
- H—ELECTRICITY
- H10—SEMICONDUCTOR DEVICES; ELECTRIC SOLID-STATE DEVICES NOT OTHERWISE PROVIDED FOR
- H10D—INORGANIC ELECTRIC SEMICONDUCTOR DEVICES
- H10D30/00—Field-effect transistors [FET]
- H10D30/60—Insulated-gate field-effect transistors [IGFET]
- H10D30/67—Thin-film transistors [TFT]
- H10D30/674—Thin-film transistors [TFT] characterised by the active materials
- H10D30/6755—Oxide semiconductors, e.g. zinc oxide, copper aluminium oxide or cadmium stannate
-
- H—ELECTRICITY
- H10—SEMICONDUCTOR DEVICES; ELECTRIC SOLID-STATE DEVICES NOT OTHERWISE PROVIDED FOR
- H10D—INORGANIC ELECTRIC SEMICONDUCTOR DEVICES
- H10D62/00—Semiconductor bodies, or regions thereof, of devices having potential barriers
- H10D62/80—Semiconductor bodies, or regions thereof, of devices having potential barriers characterised by the materials
-
- H—ELECTRICITY
- H10—SEMICONDUCTOR DEVICES; ELECTRIC SOLID-STATE DEVICES NOT OTHERWISE PROVIDED FOR
- H10D—INORGANIC ELECTRIC SEMICONDUCTOR DEVICES
- H10D62/00—Semiconductor bodies, or regions thereof, of devices having potential barriers
- H10D62/80—Semiconductor bodies, or regions thereof, of devices having potential barriers characterised by the materials
- H10D62/82—Heterojunctions
-
- H—ELECTRICITY
- H10—SEMICONDUCTOR DEVICES; ELECTRIC SOLID-STATE DEVICES NOT OTHERWISE PROVIDED FOR
- H10D—INORGANIC ELECTRIC SEMICONDUCTOR DEVICES
- H10D99/00—Subject matter not provided for in other groups of this subclass
-
- C—CHEMISTRY; METALLURGY
- C04—CEMENTS; CONCRETE; ARTIFICIAL STONE; CERAMICS; REFRACTORIES
- C04B—LIME, MAGNESIA; SLAG; CEMENTS; COMPOSITIONS THEREOF, e.g. MORTARS, CONCRETE OR LIKE BUILDING MATERIALS; ARTIFICIAL STONE; CERAMICS; REFRACTORIES; TREATMENT OF NATURAL STONE
- C04B2235/00—Aspects relating to ceramic starting mixtures or sintered ceramic products
- C04B2235/02—Composition of constituents of the starting material or of secondary phases of the final product
- C04B2235/30—Constituents and secondary phases not being of a fibrous nature
- C04B2235/32—Metal oxides, mixed metal oxides, or oxide-forming salts thereof, e.g. carbonates, nitrates, (oxy)hydroxides, chlorides
- C04B2235/3224—Rare earth oxide or oxide forming salts thereof, e.g. scandium oxide
-
- C—CHEMISTRY; METALLURGY
- C04—CEMENTS; CONCRETE; ARTIFICIAL STONE; CERAMICS; REFRACTORIES
- C04B—LIME, MAGNESIA; SLAG; CEMENTS; COMPOSITIONS THEREOF, e.g. MORTARS, CONCRETE OR LIKE BUILDING MATERIALS; ARTIFICIAL STONE; CERAMICS; REFRACTORIES; TREATMENT OF NATURAL STONE
- C04B2235/00—Aspects relating to ceramic starting mixtures or sintered ceramic products
- C04B2235/02—Composition of constituents of the starting material or of secondary phases of the final product
- C04B2235/30—Constituents and secondary phases not being of a fibrous nature
- C04B2235/32—Metal oxides, mixed metal oxides, or oxide-forming salts thereof, e.g. carbonates, nitrates, (oxy)hydroxides, chlorides
- C04B2235/3224—Rare earth oxide or oxide forming salts thereof, e.g. scandium oxide
- C04B2235/3225—Yttrium oxide or oxide-forming salts thereof
-
- C—CHEMISTRY; METALLURGY
- C04—CEMENTS; CONCRETE; ARTIFICIAL STONE; CERAMICS; REFRACTORIES
- C04B—LIME, MAGNESIA; SLAG; CEMENTS; COMPOSITIONS THEREOF, e.g. MORTARS, CONCRETE OR LIKE BUILDING MATERIALS; ARTIFICIAL STONE; CERAMICS; REFRACTORIES; TREATMENT OF NATURAL STONE
- C04B2235/00—Aspects relating to ceramic starting mixtures or sintered ceramic products
- C04B2235/02—Composition of constituents of the starting material or of secondary phases of the final product
- C04B2235/30—Constituents and secondary phases not being of a fibrous nature
- C04B2235/32—Metal oxides, mixed metal oxides, or oxide-forming salts thereof, e.g. carbonates, nitrates, (oxy)hydroxides, chlorides
- C04B2235/3224—Rare earth oxide or oxide forming salts thereof, e.g. scandium oxide
- C04B2235/3227—Lanthanum oxide or oxide-forming salts thereof
-
- C—CHEMISTRY; METALLURGY
- C04—CEMENTS; CONCRETE; ARTIFICIAL STONE; CERAMICS; REFRACTORIES
- C04B—LIME, MAGNESIA; SLAG; CEMENTS; COMPOSITIONS THEREOF, e.g. MORTARS, CONCRETE OR LIKE BUILDING MATERIALS; ARTIFICIAL STONE; CERAMICS; REFRACTORIES; TREATMENT OF NATURAL STONE
- C04B2235/00—Aspects relating to ceramic starting mixtures or sintered ceramic products
- C04B2235/02—Composition of constituents of the starting material or of secondary phases of the final product
- C04B2235/30—Constituents and secondary phases not being of a fibrous nature
- C04B2235/32—Metal oxides, mixed metal oxides, or oxide-forming salts thereof, e.g. carbonates, nitrates, (oxy)hydroxides, chlorides
- C04B2235/3286—Gallium oxides, gallates, indium oxides, indates, thallium oxides, thallates or oxide forming salts thereof, e.g. zinc gallate
-
- C—CHEMISTRY; METALLURGY
- C04—CEMENTS; CONCRETE; ARTIFICIAL STONE; CERAMICS; REFRACTORIES
- C04B—LIME, MAGNESIA; SLAG; CEMENTS; COMPOSITIONS THEREOF, e.g. MORTARS, CONCRETE OR LIKE BUILDING MATERIALS; ARTIFICIAL STONE; CERAMICS; REFRACTORIES; TREATMENT OF NATURAL STONE
- C04B2235/00—Aspects relating to ceramic starting mixtures or sintered ceramic products
- C04B2235/02—Composition of constituents of the starting material or of secondary phases of the final product
- C04B2235/30—Constituents and secondary phases not being of a fibrous nature
- C04B2235/32—Metal oxides, mixed metal oxides, or oxide-forming salts thereof, e.g. carbonates, nitrates, (oxy)hydroxides, chlorides
- C04B2235/3293—Tin oxides, stannates or oxide forming salts thereof, e.g. indium tin oxide [ITO]
-
- C—CHEMISTRY; METALLURGY
- C04—CEMENTS; CONCRETE; ARTIFICIAL STONE; CERAMICS; REFRACTORIES
- C04B—LIME, MAGNESIA; SLAG; CEMENTS; COMPOSITIONS THEREOF, e.g. MORTARS, CONCRETE OR LIKE BUILDING MATERIALS; ARTIFICIAL STONE; CERAMICS; REFRACTORIES; TREATMENT OF NATURAL STONE
- C04B2235/00—Aspects relating to ceramic starting mixtures or sintered ceramic products
- C04B2235/60—Aspects relating to the preparation, properties or mechanical treatment of green bodies or pre-forms
- C04B2235/604—Pressing at temperatures other than sintering temperatures
-
- C—CHEMISTRY; METALLURGY
- C04—CEMENTS; CONCRETE; ARTIFICIAL STONE; CERAMICS; REFRACTORIES
- C04B—LIME, MAGNESIA; SLAG; CEMENTS; COMPOSITIONS THEREOF, e.g. MORTARS, CONCRETE OR LIKE BUILDING MATERIALS; ARTIFICIAL STONE; CERAMICS; REFRACTORIES; TREATMENT OF NATURAL STONE
- C04B2235/00—Aspects relating to ceramic starting mixtures or sintered ceramic products
- C04B2235/65—Aspects relating to heat treatments of ceramic bodies such as green ceramics or pre-sintered ceramics, e.g. burning, sintering or melting processes
- C04B2235/656—Aspects relating to heat treatments of ceramic bodies such as green ceramics or pre-sintered ceramics, e.g. burning, sintering or melting processes characterised by specific heating conditions during heat treatment
- C04B2235/6562—Heating rate
-
- C—CHEMISTRY; METALLURGY
- C04—CEMENTS; CONCRETE; ARTIFICIAL STONE; CERAMICS; REFRACTORIES
- C04B—LIME, MAGNESIA; SLAG; CEMENTS; COMPOSITIONS THEREOF, e.g. MORTARS, CONCRETE OR LIKE BUILDING MATERIALS; ARTIFICIAL STONE; CERAMICS; REFRACTORIES; TREATMENT OF NATURAL STONE
- C04B2235/00—Aspects relating to ceramic starting mixtures or sintered ceramic products
- C04B2235/65—Aspects relating to heat treatments of ceramic bodies such as green ceramics or pre-sintered ceramics, e.g. burning, sintering or melting processes
- C04B2235/656—Aspects relating to heat treatments of ceramic bodies such as green ceramics or pre-sintered ceramics, e.g. burning, sintering or melting processes characterised by specific heating conditions during heat treatment
- C04B2235/6567—Treatment time
-
- C—CHEMISTRY; METALLURGY
- C04—CEMENTS; CONCRETE; ARTIFICIAL STONE; CERAMICS; REFRACTORIES
- C04B—LIME, MAGNESIA; SLAG; CEMENTS; COMPOSITIONS THEREOF, e.g. MORTARS, CONCRETE OR LIKE BUILDING MATERIALS; ARTIFICIAL STONE; CERAMICS; REFRACTORIES; TREATMENT OF NATURAL STONE
- C04B2235/00—Aspects relating to ceramic starting mixtures or sintered ceramic products
- C04B2235/70—Aspects relating to sintered or melt-casted ceramic products
- C04B2235/74—Physical characteristics
- C04B2235/77—Density
-
- C—CHEMISTRY; METALLURGY
- C04—CEMENTS; CONCRETE; ARTIFICIAL STONE; CERAMICS; REFRACTORIES
- C04B—LIME, MAGNESIA; SLAG; CEMENTS; COMPOSITIONS THEREOF, e.g. MORTARS, CONCRETE OR LIKE BUILDING MATERIALS; ARTIFICIAL STONE; CERAMICS; REFRACTORIES; TREATMENT OF NATURAL STONE
- C04B2235/00—Aspects relating to ceramic starting mixtures or sintered ceramic products
- C04B2235/70—Aspects relating to sintered or melt-casted ceramic products
- C04B2235/80—Phases present in the sintered or melt-cast ceramic products other than the main phase
Landscapes
- Engineering & Computer Science (AREA)
- Chemical & Material Sciences (AREA)
- Manufacturing & Machinery (AREA)
- Materials Engineering (AREA)
- Organic Chemistry (AREA)
- Ceramic Engineering (AREA)
- Physics & Mathematics (AREA)
- Computer Hardware Design (AREA)
- Condensed Matter Physics & Semiconductors (AREA)
- Microelectronics & Electronic Packaging (AREA)
- General Physics & Mathematics (AREA)
- Power Engineering (AREA)
- Mechanical Engineering (AREA)
- Chemical Kinetics & Catalysis (AREA)
- Structural Engineering (AREA)
- Metallurgy (AREA)
- Inorganic Chemistry (AREA)
- Optics & Photonics (AREA)
- Physical Vapour Deposition (AREA)
- Physical Deposition Of Substances That Are Components Of Semiconductor Devices (AREA)
- Thin Film Transistor (AREA)
- Solid State Image Pick-Up Elements (AREA)
- Junction Field-Effect Transistors (AREA)
Description
In、Ga及びSnを下記原子比
0.01≦Ga/(In+Ga+Sn)≦0.30 ・・・(1)
0.01≦Sn/(In+Ga+Sn)≦0.40 ・・・(2)
0.55≦In/(In+Ga+Sn)≦0.98 ・・・(3)
で含有し、
かつ、レアアース元素Xを下記原子比
0.03≦X/(In+Ga+Sn+X)≦0.25 ・・・(4)
で含有する酸化物半導体膜。
前記レアアース元素Xが、イットリウム(Y)、ランタン(La)、ネオジム(Nd)、サマリウム(Sm)、ユウロピウム(Eu)、ガドリニウム(Gd)、テルビウム(Tb)、ジスプロシウム(Dy)、ホロミウム(Ho)、エルビウム(Er)、ツリウム(Tm)、イッテルビウム(Yb)及びルテチウム(Lu)からなる群から選択される1種以上である上記に記載の酸化物半導体膜。
前記レアアース元素Xが、イットリウム(Y)、ランタン(La)、ネオジム(Nd)及びサマリウム(Sm)からなる群から選択される1種以上である上記に記載の酸化物半導体膜。
上記いずれか1つに記載の酸化物半導体膜を用いた薄膜トランジスタ。
In、Ga及びSnを下記原子比
0.01≦Ga/(In+Ga+Sn)≦0.30 ・・・(5)
0.01≦Sn/(In+Ga+Sn)≦0.40 ・・・(6)
0.55≦In/(In+Ga+Sn)≦0.98 ・・・(7)
で含有し、
かつ、レアアース元素Xを下記原子比
0.03≦X/(In+Ga+Sn+X)≦0.25 ・・・(8)
で含有する酸化物焼結体。
前記レアアース元素Xが、イットリウム(Y)、ランタン(La)、ネオジム(Nd)、サマリウム(Sm)、ユウロピウム(Eu)、ガドリニウム(Gd)、テルビウム(Tb)、ジスプロシウム(Dy)、ホロミウム(Ho)、エルビウム(Er)、ツリウム(Tm)、イッテルビウム(Yb)及びルテチウム(Lu)からなる群から選択される1種以上である上記に記載の酸化物焼結体。
前記レアアース元素Xが、イットリウム(Y)、ランタン(La)、ネオジム(Nd)及びサマリウム(Sm)からなる群から選択される1種以上である上記に記載の酸化物焼結体。
In2O3結晶を主成分とし、X2Sn2O7結晶及びX3Ga5O12結晶(ここで、Xは前記レアアース元素を示す)のいずれか一方又は両方を含有する上記のいずれか一つに記載の酸化物焼結体。
相対密度が95%以上である上記のいずれか一つに記載の酸化物焼結体。
バルク抵抗が30mΩcm以下である上記のいずれか一つに記載の酸化物焼結体。
上記のいずれか一つに記載の酸化物焼結体と、バッキングプレートとを含むスパッタリングターゲット。
上記に記載の薄膜トランジスタを用いた電子機器。
本発明によれば、TFTに用いたときに優れたTFT性能が発揮される酸化物半導体膜、及びそれを形成できるスパッタリングターゲット、及びその材料である酸化物焼結体が提供できる。
従来の、酸化インジウム(In2O3)、酸化ガリウム(Ga2O3)、及び酸化スズ(SnO2)を焼結して得られる酸化物焼結体からなるスパッタリングターゲットは、スパッタ時にターゲットにヘアーラインクラックと呼ばれる、微小なライン状のクラックが生じることがあった。これらが生じるとスパッタ時に異常放電を起こして、ノジュールと呼ばれる異物を発生させる場合が有り、製品の歩留まりや性能を低下させる要因となっていた。
これにより、内部応力が発生せず、ヘアーラインクラック等の発生がなくなり、一方で酸化物半導体も安定した組成であることが判明した。
本発明の一態様の酸化物焼結体(以下、本発明の焼結体と略称すことがある)は、In、Ga及びSnを下記原子比
0.01≦Ga/(In+Ga+Sn)≦0.30 ・・・(5)
0.01≦Sn/(In+Ga+Sn)≦0.40 ・・・(6)
0.55≦In/(In+Ga+Sn)≦0.98 ・・・(7)
で含有し、
かつ、レアアース元素Xを下記原子比
0.03≦X/(In+Ga+Sn+X)≦0.25 ・・・(8)
で含有することを特徴とする。
レアアース元素Xは、イットリウム(Y)、ランタン(La)、ネオジム(Nd)及びサマリウム(Sm)からなる群から選択される1種以上であるのが、よりさらに好ましい。
0.01≦Ga/(In+Ga+Sn)≦0.30 ・・・(5)
0.01≦Sn/(In+Ga+Sn)≦0.40 ・・・(6)
0.55≦In/(In+Ga+Sn)≦0.98 ・・・(7)
となるように、In2O3,Ga2O3及びSnO2を混合し、さらに、レアアース元素Xの原子比組成が下記範囲
0.03≦X/(In+Ga+Sn+X)≦0.25 ・・・(8)
となるように、結晶の生成抑制剤としてX2O3を添加、混合した原料を焼結すればよい。
以下、上記本発明の焼結体とバッキングプレートとを含む、スパッタリングターゲットにおける焼結体を、「本発明のターゲット材」という。
本発明のターゲット材を用いれば、スパッタ時にヘアーラインクラックの発生がなく、ヘアーラインクラックに起因する異常放電によるノジュールと呼ばれる異物の発生もない。
ここで、「In2O3結晶を主成分とする」とは、焼結体の全酸化物中に占めるIn2O3結晶の割合が50質量%を超えることを意味し、より好ましくは、55質量%以上、さらに好ましくは、60質量%以上である。
以下、本明細書において「主成分」というときは、焼結体の全酸化物中に占める割合が50質量%を超えることを意味する。
より好ましくは、0.02≦Ga/(In+Ga+Sn)≦0.27であり、さらに好ましくは、0.03≦Ga/(In+Ga+Sn)≦0.23である。
本発明の酸化物焼結体は、In、Ga、Sn及びレアアース元素以外の金属元素として、例えば、Ce(セリウム)元素等を含んでいてもよい。
0.03≦X/(In+Ga+Sn+X)≦0.25 ・・・(8)
の範囲であることが好ましい。0.03未満では、Ga3InSn5O16化合物や、Ga2In6Sn2O16化合物の生成を、十分に抑えることができない場合がある。また、0.25超では、得られる酸化物半導体膜を用いた薄膜トランジスタの移動度が小さくなり、実用に供さなくなる場合がある。レアアース元素の添加により、得られる酸化物半導体膜を用いた薄膜トランジスタの、耐CVD性が向上する効果が得られる。より好ましくは、0.04≦X/(In+Ga+Sn+X)≦0.20であり、さらに好ましくは、0.05≦X/(In+Ga+Sn+X)≦0.17である。
0.02≦Ga/(In+Ga+Sn)≦0.27 ・・・(5A)
0.02≦Sn/(In+Ga+Sn)≦0.35 ・・・(6A)
0.60≦In/(In+Ga+Sn)≦0.96 ・・・(7A)
で含有し、
かつ、レアアース元素Xを下記原子比
0.04≦X/(In+Ga+Sn+X)≦0.20 ・・・(8A)
で含有する。
0.03≦Ga/(In+Ga+Sn)≦0.23 ・・・(5B)
0.03≦Sn/(In+Ga+Sn)≦0.30 ・・・(6B)
0.60≦In/(In+Ga+Sn)≦0.94 ・・・(7B)
で含有し、
かつ、Xを下記原子比
0.05≦X/(In+Ga+Sn+X)≦0.17 ・・・(8B)
で含有する。
焼結体(ターゲット材)の相対密度が95%未満であると、スパッタ時にヘアーラインクラックが入ったりノジュールが発生し、得られる酸化物半導体膜を用いた薄膜トランジスタの性能の低下をもたらしたり、歩留まりを低下させる場合がある。得られる膜の密度も低くなり、当該膜の上に保護絶縁膜や層間絶縁膜をCVD装置を用いて形成する際に、CVD装置での成膜温度を下げざるを得なくなり、耐久性の乏しい膜となる場合がある。焼結体(ターゲット材)の相対密度は、好ましくは、97%以上であり、より好ましくは、98%であり、さらに好ましくは、99%以上である。
相対密度は実施例に記載の方法により測定できる。
バルク抵抗は、例えば、四探針法に基づき測定することができる。
本発明の一実施形態に係る酸化物焼結体は、原料粉末を混合する混合工程と、混合した粉末を成形して成型体を得る成形工程と、成形体を焼結する焼結工程を実施することにより製造できる。
原料としてはインジウム化合物、ガリウム化合物、スズ化合物、およびレアアース化合物が挙げられ、これら化合物としては酸化物が好ましい。例えば、酸化インジウム(In2O3)、酸化ガリウム(Ga2O3)及び希土類酸化物を用いる。
酸化ガリウム粉は特に限定はなく、工業的に市販されているものが使用できるが、高純度、例えば、4N(0.9999)以上であることが好ましい。また、酸化物だけでなく、塩化物、硝酸塩、酢酸塩等のガリウム塩を用いても構わない。
酸化スズ粉は特に限定はなく、工業的に市販されているものが使用できるが、高純度、例えば、4N(0.9999)以上であることが好ましい。また、酸化物だけでなく、塩化物、硝酸塩、酢酸塩等のアルミニウム塩を用いても構わない。
希土類酸化物粉は特に限定はなく、工業的に市販されているものが使用できるが、高純度、例えば、4N(0.9999)以上であることが好ましい。また、酸化物でなくてもよい。
成形工程では、混合工程で得た混合粉を、例えば加圧成形して成形体とする。この工程により、製品の形状(例えば、スパッタリングターゲットとして好適な形状)に成形する。
成形処理としては、例えば、金型成形、鋳込み成形、射出成形等が挙げられるが、焼結密度の高い酸化物焼結体を得るためには、冷間静水圧(CIP)等で成形するのが好ましい。
成形処理に際しては、ポリビニルアルコールやメチルセルロース、ポリワックス、オレイン酸等の成形助剤を用いてもよい。
焼結条件としては、大気圧下、酸素ガス雰囲気又は酸素ガス加圧下に、通常、1200〜1550℃において、通常、30分〜360時間、好ましくは8〜180時間、より好ましくは12〜96時間焼結する。焼結温度が1200℃未満であると、ターゲットの密度が上がり難くなったり、焼結に時間がかかり過ぎたりするおそれがある。一方、1550℃を超えると成分の気化により、組成がずれたり、炉を傷めたりするおそれがある。
燃焼時間が30分未満であると、ターゲットの密度が上がり難く、360時間より長いと、製造時間がかかり過ぎコストが高くなるため、実用上採用できない。前記範囲内であると相対密度を向上させ、バルク抵抗を下げることができる。
本発明の一実施形態に係る酸化物焼結体を用いて、スパッタリングターゲットとすることができる。具体的には、酸化物焼結体を切削・研磨加工し、バッキングプレートにボンディングすることによって、スパッタリングターゲットとすることができる。
バッキングプレートとの接合率は、95%以上であると好ましい。接合率はX線CTより確認することができる。
本発明の一実施形態に係るスパッタリングターゲット(以下、本発明のターゲットという)は、上記本発明の一実施形態に係る酸化物焼結体(以下、併せて、本発明の酸化物焼結体という)と、バッキングプレートとを含む。本発明の一実施形態のスパッタリングターゲットは、上記本発明の酸化物焼結体と、必要に応じて酸化物焼結体に設けられる、バッキングプレート等の冷却および保持用の部材とを含むことが好ましい。
本発明のターゲットを構成する酸化物焼結体(ターゲット材)は、上記本発明の酸化物焼結体に研削加工を施したものであるから、ターゲット材は、物質としては、本発明の酸化物焼結体と同一である。従って、本発明の酸化物焼結体についての説明はターゲット材にもそのまま当てはまる。
バッキングプレート3は、酸化物焼結体の保持や冷却用の部材である。材料は銅等の熱伝導性に優れた材料が好ましい。
酸化物焼結体の表面を研削する工程(研削工程)。
酸化物焼結体をバッキングプレートにボンディングする工程(ボンディング工程)。
以下、各工程を具体的に説明する。
研削工程では、焼結体を、スパッタリング装置への装着に適した形状に切削加工する。
焼結体表面は、高酸化状態の焼結部が存在したり、面が凸凹であることが多く、また、所定の寸法に切断加工する必要がある。
焼結体の表面は0.3mm以上研削するのが好ましい。研削する深さは、0.5mm以上研削するのが好ましく、2mm以上が特に好ましい。0.3mm以上研削することにより、表面付近の結晶構造の変動部分を除去できる。
ボンディング工程では、研削後の焼結体を、金属インジウムなどの低融点金属で、バッキングプレートにボンディングする。
以上がスパッタリングターゲットの説明である。
本発明の一態様の酸化物半導体膜(以下、本発明の半導体膜と略称することがある)は、In、Ga及びSnを下記原子比
0.01≦Ga/(In+Ga+Sn)≦0.30 ・・・(1)
0.01≦Sn/(In+Ga+Sn)≦0.40 ・・・(2)
0.55≦In/(In+Ga+Sn)≦0.98 ・・・(3)で含有し、
かつ、レアアース元素Xを下記原子比
0.03≦X/(In+Ga+Sn+X)≦0.25 ・・・(4)
で含有することを特徴とする。
本発明の半導体膜は、薄膜トランジスタの半導体層(半導体部分)として好適に用いることができる。
酸化物焼結体からなるスパッタリングターゲットを、スパッタして形成された膜の原子比組成は、用いたスパッタリングターゲットの原子比組成と一致する。
レアアース元素Xは、酸素欠損によるキャリヤーの発生を抑える効果が大きく、例えば、ケミカルベーパーデポジション(CVD)処理等により、層間絶縁膜やゲート絶縁膜の形成時に半導体膜に発生するキャリヤーを、後アニール時に正常なキャリヤー濃度に戻す能力が高い。レアアース元素Xのこの性質により、CVD処理等により一旦はキャリヤー濃度が高くなっても、後アニールにより膜が半導体として機能し得る正常なキャリヤー濃度に戻り、TFT特性を回復することができることが分かった。
0.02≦Ga/(In+Ga+Sn)≦0.25 ・・・(1A)
0.02≦Sn/(In+Ga+Sn)≦0.35 ・・・(2A)
0.60≦In/(In+Ga+Sn)≦0.96 ・・・(3A)
で含有し、
かつ、レアアース元素Xを下記原子比
0.03≦X/(In+Ga+Sn+X)≦0.25 ・・・(4A)
で含有することが好ましい。
0.03≦Ga/(In+Ga+Sn)≦0.20 ・・・(1B)
0.03≦Sn/(In+Ga+Sn)≦0.30 ・・・(2B)
0.60≦In/(In+Ga+Sn)≦0.94 ・・・(3B)
で含有し、
かつ、レアアース元素Xを下記原子比
0.03≦X/(In+Ga+Sn+X)≦0.25 ・・・(4B)
で含有することがより好ましい。
レアアース元素Xは、イットリウム(Y)、ランタン(La)、ネオジム(Nd)及びサマリウム(Sm)からなる群から選択される1種以上であるのが、よりさらに好ましい。
本発明の一態様の薄膜トランジスタ(以下、本発明のTFTと略称することがある)は、上記本発明の酸化物半導体膜を用いたことを特徴とする。
本発明の一実施形態の薄膜トランジスタの形状は、特に限定されないが、バックチャンネルエッチ型トランジスタ、エッチストッパー型トランジスタ、トップゲート型トランジスタ等が好ましい。
本発明の一実施形態に係る非晶質酸化物半導体膜は薄膜トランジスタに用いることができ、薄膜トランジスタのチャネル層として好適である。
本発明の一実施形態に係る薄膜トランジスタは、本発明の一実施形態に係る非晶質酸化物半導体膜を、チャネル層として有していれば他の素子構成は特に限定されず、公知のものを採用することができる。本発明の薄膜トランジスタは、液晶ディスプレイや有機ELディスプレイ等の表示装置に好適に用いることができる。
特にボトムゲート構成が、アモルファスシリコンやZnOの薄膜トランジスタに比べ、高い性能が得られるので有利である。ボトムゲート構成は、製造時のマスク枚数を削減しやすく、大型ディスプレイ等の用途の製造コストを低減しやすいため好ましい。
本発明の一実施形態に係る薄膜トランジスタは、表示装置に好適に用いることができる。
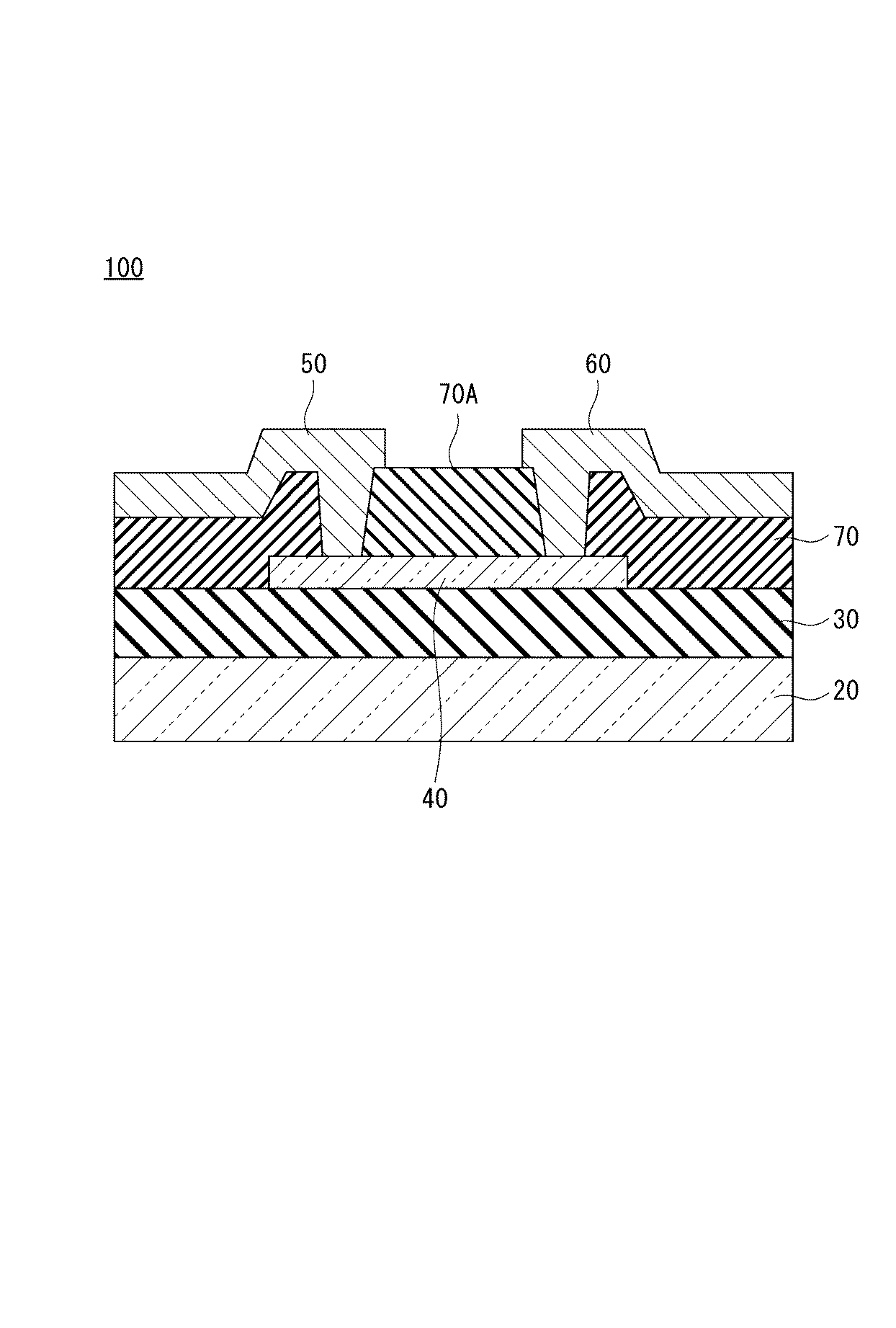
図5に示すように、薄膜トランジスタ100は、シリコンウエハ20、ゲート絶縁膜30、酸化物半導体薄膜40、ソース電極50、ドレイン電極60、および層間絶縁膜70、70Aを備える。
酸化物半導体薄膜40はチャネル層であり、ゲート絶縁膜30上に設けられる。酸化物半導体薄膜40は本発明の一実施形態に係る酸化物半導体薄膜が用いられる。
層間絶縁膜70は、ソース電極50およびドレイン電極60と、酸化物半導体薄膜40の間の接触部分以外の導通を遮断する絶縁膜である。
層間絶縁膜70Aは、ソース電極50およびドレイン電極60と、酸化物半導体薄膜40の間の接触部分以外の導通を遮断する絶縁膜である。層間絶縁膜70Aは、ソース電極50とドレイン電極60の間の導通を遮断する絶縁膜でもある。層間絶縁膜70Aは、チャネル層保護層でもある。
例えば、酸化インジウムスズ(ITO)、酸化インジウム亜鉛(IZO)、ZnO、およびSnO2等の透明電極や、Al、Ag、Cu、Cr、Ni、Mo、Au、Ti、およびTa等の金属電極、またはこれらを含む合金の金属電極や積層電極を用いることができる。
また、図5および図6において、ガラス等の基板上にゲート電極を形成してもよい。
on−off比は、Vg=−10VのIdの値をOff電流値とし、Vg=20VのIdの値をOn電流値として、比[On電流値/Off電流値]を決めることにより、求められる。
また、本発明の一実施形態に係るTFTの移動度は、5cm2/Vs以上であることが好ましく、10cm2/Vs以上であることが好ましい。
飽和移動度は、ドレイン電圧を20V印加した場合の伝達特性から求められる。具体的に、伝達特性Id−Vgのグラフを作成し、各Vgのトランスコンダクタンス(Gm)を算出し、飽和領域の式により飽和移動度を求めることにより、算出できる。Idはソース・ドレイン電極間の電流、Vgはソース・ドレイン電極間に電圧Vdを印加したときのゲート電圧である。
on−off比は106以上、1012以下が好ましく、107以上、1011以下がより好ましく、108以上、1010以下がさらに好ましい。on−off比が106以上であると、液晶ディスプレイの駆動ができる。on−off比が1012以下であると、コントラストの大きな有機ELの駆動ができる。また、オフ電流を10-11A以下にでき、CMOSイメージセンサーの転送トランジスタやリセットトランジスタに用いた場合、画像の保持時間を長くしたり、感度を向上させたりできる。
本発明の一実施形態に係る酸化物半導体薄膜は、量子トンネル電界効果トランジスタ(FET)に用いることもできる。
量子トンネル電界効果トランジスタ501は、p型半導体層503、n型半導体層507、ゲート絶縁膜509、ゲート電極511、ソース電極513、およびドレイン電極515を備える。
ソース電極513は、p型半導体層503上に設けられる。ドレイン電極515はn型半導体層507上に設けられる。
p型半導体層503は、p型のIV族半導体層であり、ここではp型シリコン層である。
n型半導体層507は、ここでは上記実施形態に係るイメージセンサーに用いた、n型の酸化物半導体薄膜である。ソース電極513およびドレイン電極515は導電膜である。
量子トンネル電界効果トランジスタ501Aの構成は、量子トンネル電界効果トランジスタ501と同様であるが、p型半導体層503とn型半導体層507の間に、酸化シリコン層505が形成されている点が異なる。酸化シリコン層が有ることにより、オフ電流を小さくすることが出来る。
酸化シリコン層505の厚みは、10nm以下であるのが好ましい。10nm以下とすることにより、トンネル電流が流れなかったり、形成されるエネルギー障壁が形成しにくかったり障壁高さが変化したりするのを防止でき、トンネリング電流が低下したり、変化したりするのを防げる。好ましくは、8nm以下、より好ましくは5nm以下、更に好ましくは3nm以下、更により好ましくは1nm以下である。
図9にp型半導体層503とn型半導体層507の間に酸化シリコン層505が形成された部分のTEM写真を示す。
まず、図10に示すように、p型半導体層503上に絶縁膜505Aを形成し、絶縁膜505Aの一部をエッチング等で開口してコンタクトホール505Bを形成する。
次に、図11に示すように、p型半導体層503および絶縁膜505A上にn型半導体層507を形成する。この際、コンタクトホール505Bを介してp型半導体層503とn型半導体層507を接続する。
次に、図13に示すように、絶縁膜505A、n型半導体層507、ゲート絶縁膜509およびゲート電極511を覆うように、層間絶縁膜519を設ける。
さらに、図14に示すように、n型半導体層507上のゲート絶縁膜509および層間絶縁膜519の一部を開口してコンタクトホール519Bを形成し、コンタクトホール519Bにドレイン電極515を形成する。
以上の手順で量子トンネル電界効果トランジスタ501を製造できる。
本発明の一実施形態に係る薄膜トランジスタは、電界効果型トランジスタ、論理回路、メモリ回路、および差動増幅回路等の各種の集積回路にも適用でき、それらを電子機器等に適用することができる。さらに、本発明の一実施形態に係る薄膜トランジスタは、電界効果型トランジスタ以外にも静電誘起型トランジスタ、ショットキー障壁型トランジスタ、ショットキーダイオード、および抵抗素子にも適応できる。
本発明の一実施形態に係る薄膜トランジスタは、表示装置及び固体撮像素子等に好適に用いることができる。
以下、本発明の一実施形態に係る薄膜トランジスタを、表示装置および固体撮像素子に用いる場合について、説明する。
図15は、本発明の一実施形態に係る表示装置の上面図である。図16は、本発明の一実施形態に係る表示装置の画素部に、液晶素子を適用する場合の画素部の回路を説明するための回路図である。また、図17は、本発明の一実施形態に係る表示装置の画素部に、有機EL素子を適用する場合の画素部の回路を説明するための回路図である。
以上が本発明の一実施形態に係る薄膜トランジスタを表示装置に用いる場合の説明である。
なお、フォトダイオード3002に本発明の一実施形態に係る酸化物半導体膜を用いても良く、転送トランジスタ3004、リセットトランジスタ3006に用いられる酸化物半導体膜と同じ材料を用いてよい。
以上が、本発明の一実施形態に係る薄膜トランジスタを固体撮像素子に用いる場合の説明である。
実施例1:
表1に示す割合(原子比)となるように、酸化ガリウム粉末、酸化スズ粉末、酸化インジウム粉末、レアアース元素Xの酸化物の粉末を秤量し、ポリエチレン製のポットに入れて、乾式ボールミルにより72時間混合粉砕し、混合粉末を作製した。
この混合粉末を金型に入れ、49MPa(500kg/cm2)の圧力でプレス成型体とした。この成型体を196MPa(2000kg/cm2)の圧力でCIPにより緻密化を行った。次に、この成型体を大気圧焼成炉に入れ、350℃で3時間保持した後に、昇温速度100℃/時間にて昇温し、1450℃にて、32時間保持し、その後、放置して冷却し、酸化物焼結体を得た。
得られた酸化物焼結体について、下記物性を評価した。結果を表1に示す。
(1)XRDによる結晶相
得られた焼結体について、X線回折測定装置Smartlabにより、以下の条件で、焼結体のX線回折(XRD)を測定した。得られたXRDチャートをJADE6により分析し、焼結体中の結晶相を求めた。得られたXRDチャートを図19に示す。
・X線:Cu−Kα線(波長1.5418×10-10m)
・2θ−θ反射法、連続スキャン(2.0°/分)
・サンプリング間隔:0.02°
・スリットDS(発散スリット)、SS(散乱スリット)、RS(受光スリット):1mm
ここで「相対密度」とは、アルキメデス法により測定される酸化物焼結体の実測密度を、酸化物焼結体の理論密度で除した値の百分率であることを意味する。本発明において、理論密度は以下のように算出されるものである。
理論密度=酸化物焼結体に用いた原料粉末の総重量/酸化物焼結体に用いた原料粉末の総体積
例えば、酸化物焼結体の原料粉末として酸化物A、酸化物B、酸化物C、酸化物Dを用いた場合において、酸化物A、酸化物B、酸化物C、酸化物Dの使用量(仕込量)をそれぞれa(g)、b(g)、c(g)、d(g)とすると、理論密度は、以下のように当てはめることで算出できる。
理論密度=(a+b+c+d)/((a/酸化物Aの密度)+(b/酸化物Bの密度)+(c/酸化物Cの密度)+(d/酸化物Dの密度))
尚、本発明において各酸化物の密度は、密度と比重はほぼ同等であることから化学便覧 基礎編I日本化学編 改定2版(丸善株式会社)に記載されている比重の値を用いた。
得られた焼結体のバルク抵抗(mΩ・cm)を、抵抗率計ロレスタ(三菱化学株式会社製)を使用して、四探針法(JISR1637)に基づき測定した。
DCパワー400Wで5時間成膜を行った後、ターゲット表面を目視で確認した。
原料粉末を、表1に示した組成で原料酸化物を使用して、実施例1と同様に操作して酸化物焼結体を得た。得られた酸化物焼結体について、実施例1と同様に評価した。結果を表1及び表2に示す。また、得られたXRDチャートを図20〜26に示す。
表2に示すように、比較例1はレアアース元素Xを含んでおらず、成膜後のエロージョン部に黒色異物およびヘアーラインクラックが発生した。
比較例2は、Gaの含有量が式(5)の上限外れであり、成膜後のエロージョン部に黒色異物およびヘアーラインクラックが発生した。
比較例3は、Inの含有量が式(7)の下限外れであり、焼結時に試料が割れてしまい、ターゲットを製造できなかった。
比較例4は、Gaの含有量が式(5)の上限外れ、Inの含有量が式(7)の下限外れであり、成膜後のエロージョン部に黒色異物およびヘアーラインクラックが発生した。
実施例A
(1)成膜工程
実施例1で製造した酸化物焼結体から作製したスパッタリングターゲットを用いて、表2に示す成膜条件で、熱酸化膜(ゲート絶縁膜)付きのシリコンウエハ(ゲート電極)上に、メタルマスクを介して50nmの薄膜(酸化物半導体層)を形成した。スパッタガスとして、高純度アルゴン及び高純度酸素1%の混合ガスを用い、スパッタリングを行った。
薄膜(酸化物半導体層)の成膜は4インチφターゲットを用いて、200kHz、デューディー比50%、出力200Wにて行った。得られた半導体膜の下記特性を評価した。結果を表3に示す。
メタルマスクを用いてソース・ドレイン電極として、チタン金属をスパッタ成膜で付けた後、得られた積層体を大気中にて350℃、30分間加熱処理した。薄膜トランジスタ(TFT)を完成し、TFTの特性を評価した。
得られたTFTの下記特性について、以下の項目の評価を行った。
結果を表3の「加熱処理後のTFTの特性」に示す。
加熱処理後の半導体膜の上に、基板温度300℃で化学蒸着法(CVD)により、SiO2膜(保護絶縁膜;層間絶縁膜)を形成し、その後、後アニールとして350℃、1時間加熱処理を行った。
SiO2膜成膜後の加熱処理を行ったTFTの特性を「加熱処理後のTFTの特性」と同じ条件で評価した。結果を表3の「CVDでSiO2膜成膜後、加熱処理して得られたTFTの特性」に示す。
また、酸化物薄膜のみをガラス基板に載せたサンプルも同時に作製し、以下の手順で、半導体膜成膜の加熱処理後、並びにCVDでのSiO2膜成膜直後及び加熱処理後の各段階でホール測定を行い、キャリヤー密度の増減等の半導体膜の特性を測定、評価した。
尚、得られた酸化物薄膜は、用いたターゲットと同じ原子比組成を有していた。
TFT製造工程と同様に図27に示すように、ガラス基板上に厚さ50nmの酸化物半導体膜を成膜し、加熱処理を行った後、1cm角の正方形に切り出して、4角に金(Au)を2mm×2mm以下の大きさ位になるようにメタルマスクを用いてイオンコーターで成膜し、Au金属上にインジウムはんだを乗せて接触を良くしてホール効果測定用サンプルとした。
ガラス基板には、日本電気硝子株式会社製ABC−Gを用いた。
ホール効果測定用サンプルをホール効果・比抵抗測定装置(ResiTest8300型、東陽テクニカ社製)にセットし、室温においてホール効果を評価し、キャリヤー密度及び移動度を求めた。結果を表3の「加熱処理後の半導体膜の特性」に示す。
さらに加熱処理後にも「加熱処理後の半導体膜の特性」と同じ条件でホール測定を行った。SiO2膜に測定用針をAu金属の層まで突き刺し、コンタクトを取った。結果を表3の「CVDでSiO2膜成膜後、加熱処理した半導体膜の特性」に示す。
スパッタ後(膜堆積後)の加熱していない膜、及び加熱した後の膜の結晶性を、X線回折(XRD)測定によって評価した結果を表3に示した。
石英基板上に成膜し、半導体膜と同様に熱処理した薄膜資料の透過スペクトルを測定し、横軸の波長をエネルギー(eV)に、縦軸の透過率を
(αhν)1/2
(ここで、
α:吸収係数
h:プランク定数
ν:振動数
である。)
に変換したあと、吸収が立ち上がる部分に直線をフィッティングし、その直線がベースラインと交わるところのeV値を算出した。
表3に示した実施例で製造した酸化物焼結体から作製したスパッタリングターゲットを用い、表3に示した条件とした以外は、実施例Aと同様にして半導体膜および薄膜トランジスタを製造し、評価した。結果を表3に示す。
比較例Aは、比較例1の焼結体を用いて半導体膜を製膜したものであり、加熱すると膜が導通してしまい、TFTとしての特性が得られなかった。
本発明の一態様の酸化物焼結体は、スパッタリングターゲット材として有用である。
3 :バッキングプレート
20 :シリコンウエハ
30 :ゲート絶縁膜
40 :酸化物半導体薄膜
50 :ソース電極
60 :ドレイン電極
70 :層間絶縁膜
70A :層間絶縁膜
70B :層間絶縁膜
100 :薄膜トランジスタ
100A :薄膜トランジスタ
300 :基板
301 :画素部
302 :第1の走査線駆動回路
303 :第2の走査線駆動回路
304 :信号線駆動回路
310 :容量配線
312 :ゲート配線
313 :ゲート配線
314 :ドレイン電極
316 :トランジスタ
317 :トランジスタ
318 :第1の液晶素子
319 :第2の液晶素子
320 :画素部
321 :スイッチング用トランジスタ
322 :駆動用トランジスタ
3002 :フォトダイオード
3004 :転送トランジスタ
3006 :リセットトランジスタ
3008 :増幅トランジスタ
3010 :信号電荷蓄積部
3100 :電源線
3110 :リセット電源線
3120 :垂直出力線
Claims (12)
- In、Ga及びSnを下記原子比
0.01≦Ga/(In+Ga+Sn)≦0.30 ・・・(1)
0.01≦Sn/(In+Ga+Sn)≦0.40 ・・・(2)
0.55≦In/(In+Ga+Sn)≦0.98 ・・・(3)
で含有し、
かつ、レアアース元素Xを下記原子比
0.03≦X/(In+Ga+Sn+X)≦0.25 ・・・(4)
で含有する酸化物半導体膜。 - 前記レアアース元素Xが、イットリウム(Y)、ランタン(La)、ネオジム(Nd)、サマリウム(Sm)、ユウロピウム(Eu)、ガドリニウム(Gd)、テルビウム(Tb)、ジスプロシウム(Dy)、ホロミウム(Ho)、エルビウム(Er)、ツリウム(Tm)、イッテルビウム(Yb)及びルテチウム(Lu)からなる群から選択される1種以上である請求項1に記載の酸化物半導体膜。
- 前記レアアース元素Xが、イットリウム(Y)、ランタン(La)、ネオジム(Nd)及びサマリウム(Sm)からなる群から選択される1種以上である請求項2に記載の酸化物半導体膜。
- 請求項1から請求項3のいずれか一項に記載の酸化物半導体膜を用いた薄膜トランジスタ。
- In、Ga及びSnを下記原子比
0.01≦Ga/(In+Ga+Sn)≦0.30 ・・・(5)
0.01≦Sn/(In+Ga+Sn)≦0.40 ・・・(6)
0.55≦In/(In+Ga+Sn)≦0.98 ・・・(7)
で含有し、
かつ、レアアース元素Xを下記原子比
0.03≦X/(In+Ga+Sn+X)≦0.25 ・・・(8)
で含有するスパッタリングターゲット用酸化物焼結体。 - 前記レアアース元素Xが、イットリウム(Y)、ランタン(La)、ネオジム(Nd)、サマリウム(Sm)、ユウロピウム(Eu)、ガドリニウム(Gd)、テルビウム(Tb)、ジスプロシウム(Dy)、ホロミウム(Ho)、エルビウム(Er)、ツリウム(Tm)、イッテルビウム(Yb)及びルテチウム(Lu)からなる群から選択される1種以上である請求項5に記載のスパッタリングターゲット用酸化物焼結体。
- 前記レアアース元素Xが、イットリウム(Y)、ランタン(La)、ネオジム(Nd)及びサマリウム(Sm)からなる群から選択される1種以上である請求項6に記載のスパッタリングターゲット用酸化物焼結体。
- In2O3結晶を主成分とし、X2Sn2O7結晶及びX3Ga5O12結晶(ここで、Xは前記レアアース元素を示す)のいずれか一方又は両方を含有する請求項5から請求項7のいずれか一項に記載のスパッタリングターゲット用酸化物焼結体。
- 相対密度が95%以上である請求項5から請求項8のいずれか一項に記載のスパッタリングターゲット用酸化物焼結体。
- バルク抵抗が30mΩcm以下である請求項5から請求項9のいずれか一項に記載のスパッタリングターゲット用酸化物焼結体。
- 請求項5から請求項10のいずれか一項に記載の酸化物焼結体と、バッキングプレートとを含むスパッタリングターゲット。
- 請求項4に記載の薄膜トランジスタを用いた電子機器。
Applications Claiming Priority (3)
| Application Number | Priority Date | Filing Date | Title |
|---|---|---|---|
| JP2017031460 | 2017-02-22 | ||
| JP2017031460 | 2017-02-22 | ||
| PCT/JP2018/005245 WO2018155301A1 (ja) | 2017-02-22 | 2018-02-15 | 酸化物半導体膜、薄膜トランジスタ、酸化物焼結体及びスパッタリングターゲット |
Publications (2)
| Publication Number | Publication Date |
|---|---|
| JPWO2018155301A1 JPWO2018155301A1 (ja) | 2019-12-12 |
| JP6902090B2 true JP6902090B2 (ja) | 2021-07-14 |
Family
ID=63253791
Family Applications (1)
| Application Number | Title | Priority Date | Filing Date |
|---|---|---|---|
| JP2019501265A Active JP6902090B2 (ja) | 2017-02-22 | 2018-02-15 | 酸化物半導体膜、薄膜トランジスタ、スパッタリングターゲット用酸化物焼結体、スパッタリングターゲット及び電子機器 |
Country Status (6)
| Country | Link |
|---|---|
| US (1) | US11251310B2 (ja) |
| JP (1) | JP6902090B2 (ja) |
| KR (1) | KR102380806B1 (ja) |
| CN (1) | CN110447093B (ja) |
| TW (1) | TWI786088B (ja) |
| WO (1) | WO2018155301A1 (ja) |
Families Citing this family (13)
| Publication number | Priority date | Publication date | Assignee | Title |
|---|---|---|---|---|
| CN112289863B (zh) * | 2020-09-25 | 2024-07-19 | 华南理工大学 | 一种金属氧化物半导体及薄膜晶体管与应用 |
| CN116240630A (zh) * | 2018-08-01 | 2023-06-09 | 出光兴产株式会社 | 晶体化合物、氧化物烧结体、溅射靶、晶质及无定形氧化物薄膜、薄膜晶体管及电子设备 |
| CN110797395A (zh) * | 2019-09-18 | 2020-02-14 | 华南理工大学 | 掺杂型金属氧化物半导体及薄膜晶体管与应用 |
| CN110767745A (zh) * | 2019-09-18 | 2020-02-07 | 华南理工大学 | 复合金属氧化物半导体及薄膜晶体管与应用 |
| JP7373428B2 (ja) * | 2020-02-14 | 2023-11-02 | 株式会社神戸製鋼所 | 薄膜トランジスタ、酸化物半導体薄膜、およびスパッタリングターゲット |
| DE102021108615A1 (de) * | 2020-05-29 | 2021-12-02 | Taiwan Semiconductor Manufacturing Company, Ltd. | Erhöhter source/drain-oxidhalbleiterdünnfilmtransistor und verfahren zur herstellung davon |
| CN112390622A (zh) * | 2020-11-23 | 2021-02-23 | 先导薄膜材料(广东)有限公司 | 一种eigzo靶材的制备方法 |
| KR20220090871A (ko) * | 2020-12-23 | 2022-06-30 | 한양대학교 산학협력단 | Igto 산화물 반도체 결정화를 통한 고이동도 트랜지스터 소자 및 그의 제조 방법 |
| KR20220094735A (ko) * | 2020-12-29 | 2022-07-06 | 에이디알씨 주식회사 | 결정성 산화물 반도체 박막 및 그 형성 방법, 박막 트랜지스터 및 그 제조 방법, 표시 패널 및 전자 장치 |
| KR102888127B1 (ko) * | 2021-05-18 | 2025-11-20 | 삼성전자주식회사 | 반도체 메모리 소자 및 그의 제조 방법 |
| US20240128327A1 (en) * | 2022-02-17 | 2024-04-18 | Boe Technology Group Co., Ltd. | Semiconductor material, light-emitting device, display panel and display device |
| CN116334557B (zh) * | 2023-03-30 | 2025-02-25 | 浙江大学 | 一种氟铒共掺氧化锡薄膜及其制备方法和应用 |
| CN116813310B (zh) * | 2023-06-01 | 2024-06-07 | 先导薄膜材料(广东)有限公司 | 一种稀土元素掺杂氧化铟锡镓靶材及其制备方法 |
Family Cites Families (22)
| Publication number | Priority date | Publication date | Assignee | Title |
|---|---|---|---|---|
| JPH04272612A (ja) | 1991-02-26 | 1992-09-29 | Kojundo Chem Lab Co Ltd | 透明電極 |
| US20020017331A1 (en) | 2000-06-30 | 2002-02-14 | Renaud Michel C. | Variable stiffness bellows |
| US20040180217A1 (en) | 2001-08-02 | 2004-09-16 | Kazuyoshi Inoue | Sputtering target, transparent conductive film, and their manufacturing method |
| ITMI20012075A1 (it) * | 2001-10-08 | 2003-04-08 | Consiglio Nazionale Ricerche | Procedimento per il conferimento e controllo su scale micro e nanomatriche dell'anisotropia di proprieta' strutturali elettriche ottiche ed |
| KR100514952B1 (ko) * | 2003-01-15 | 2005-09-14 | 주식회사 피앤아이 | 씨앗층과 벌크층의 성막 시퀀스 방법을 이용한 인듐 주석산화물 박막 형성 방법 |
| JP4985928B2 (ja) * | 2005-10-21 | 2012-07-25 | 信越化学工業株式会社 | 多層コート耐食性部材 |
| DE102007009546B4 (de) | 2007-02-27 | 2008-12-04 | Continental Automotive Gmbh | Verfahren und Vorrichtung zur Steuerung einer Brennkraftmaschine eines auf den Betrieb mit CNG-Gas umschaltbaren Kraftfahrzeugs |
| JP5348132B2 (ja) * | 2008-04-16 | 2013-11-20 | 住友金属鉱山株式会社 | 薄膜トランジスタ型基板、薄膜トランジスタ型液晶表示装置および薄膜トランジスタ型基板の製造方法 |
| KR101242840B1 (ko) * | 2008-05-28 | 2013-03-13 | 에스티마이크로일렉트로닉스(뚜르) 에스에이에스 | 강유전체 박막 형성용 조성물, 강유전체 박막의 형성 방법 그리고 그 방법에 의해 형성된 강유전체 박막 |
| JP2010030824A (ja) * | 2008-07-28 | 2010-02-12 | Idemitsu Kosan Co Ltd | 金属相含有酸化インジウム焼結体及びその製造方法 |
| KR101533391B1 (ko) * | 2008-08-06 | 2015-07-02 | 삼성디스플레이 주식회사 | 박막 트랜지스터 기판과 그 제조 방법 |
| KR20110047308A (ko) | 2009-10-30 | 2011-05-09 | 삼성코닝정밀소재 주식회사 | 산화인듐주석 스퍼터링 타겟 및 이를 이용하여 제조되는 투명전도막 |
| JP2011174134A (ja) | 2010-02-24 | 2011-09-08 | Idemitsu Kosan Co Ltd | In−Ga−Sn系酸化物焼結体、ターゲット、酸化物半導体膜、及び半導体素子 |
| US9224820B2 (en) | 2012-05-31 | 2015-12-29 | Samsung Corning Advanced Glass, Llc | Oxide semiconductor sputtering target, method of manufacturing thin-film transistors using the same, and thin film transistor manufactured using the same |
| JP2014111818A (ja) * | 2012-11-09 | 2014-06-19 | Idemitsu Kosan Co Ltd | スパッタリングターゲット、酸化物半導体薄膜及びそれらの製造方法 |
| JP6064895B2 (ja) * | 2013-12-27 | 2017-01-25 | 住友金属鉱山株式会社 | 酸化インジウム系酸化物焼結体およびその製造方法 |
| JP5802343B2 (ja) | 2014-01-15 | 2015-10-28 | 株式会社神戸製鋼所 | 薄膜トランジスタ |
| WO2015115330A1 (ja) * | 2014-01-31 | 2015-08-06 | 独立行政法人物質・材料研究機構 | 薄膜トランジスタ、酸化物半導体、およびその製造方法 |
| KR101563700B1 (ko) * | 2014-03-17 | 2015-10-27 | 삼성중공업 주식회사 | 도장장치 |
| WO2016170442A1 (en) | 2015-04-22 | 2016-10-27 | Semiconductor Energy Laboratory Co., Ltd. | Imaging device, method for driving imaging device, and electronic device |
| JP6610062B2 (ja) * | 2015-07-31 | 2019-11-27 | 日本製鉄株式会社 | チタン板 |
| JP6141381B2 (ja) | 2015-10-14 | 2017-06-07 | 出光興産株式会社 | スパッタリングターゲットの製造方法 |
-
2018
- 2018-02-15 JP JP2019501265A patent/JP6902090B2/ja active Active
- 2018-02-15 KR KR1020197023688A patent/KR102380806B1/ko active Active
- 2018-02-15 WO PCT/JP2018/005245 patent/WO2018155301A1/ja not_active Ceased
- 2018-02-15 US US16/485,381 patent/US11251310B2/en active Active
- 2018-02-15 CN CN201880012548.4A patent/CN110447093B/zh active Active
- 2018-02-22 TW TW107105954A patent/TWI786088B/zh active
Also Published As
| Publication number | Publication date |
|---|---|
| KR102380806B1 (ko) | 2022-03-30 |
| US11251310B2 (en) | 2022-02-15 |
| CN110447093B (zh) | 2023-04-25 |
| TWI786088B (zh) | 2022-12-11 |
| WO2018155301A1 (ja) | 2018-08-30 |
| KR20190117528A (ko) | 2019-10-16 |
| US20190378933A1 (en) | 2019-12-12 |
| CN110447093A (zh) | 2019-11-12 |
| TW201833062A (zh) | 2018-09-16 |
| JPWO2018155301A1 (ja) | 2019-12-12 |
Similar Documents
| Publication | Publication Date | Title |
|---|---|---|
| JP6902090B2 (ja) | 酸化物半導体膜、薄膜トランジスタ、スパッタリングターゲット用酸化物焼結体、スパッタリングターゲット及び電子機器 | |
| JP7075934B2 (ja) | スパッタリングターゲット、酸化物半導体薄膜、薄膜トランジスタおよび電子機器 | |
| JP6834062B2 (ja) | 結晶構造化合物、酸化物焼結体、及びスパッタリングターゲット | |
| JP7092746B2 (ja) | 酸化物焼結体、スパッタリングターゲット、酸化物半導体薄膜、薄膜トランジスタ、および電子機器 | |
| JP7082947B2 (ja) | 非晶質酸化物半導体膜、酸化物焼結体、薄膜トランジスタ、スパッタリングターゲット、電子機器及び非晶質酸化物半導体膜の製造方法 | |
| JP6869157B2 (ja) | 酸化物焼結体、スパッタリングターゲット、非晶質酸化物半導体薄膜、および薄膜トランジスタ | |
| JP6956748B2 (ja) | 酸化物半導体膜、薄膜トランジスタ、酸化物焼結体及びスパッタリングターゲット | |
| KR20250165360A (ko) | 산화물 소결체, 스퍼터링 타깃, 산화물 박막, 박막 트랜지스터, 및 전자 기기 |
Legal Events
| Date | Code | Title | Description |
|---|---|---|---|
| A621 | Written request for application examination |
Free format text: JAPANESE INTERMEDIATE CODE: A621 Effective date: 20200903 |
|
| A131 | Notification of reasons for refusal |
Free format text: JAPANESE INTERMEDIATE CODE: A131 Effective date: 20210511 |
|
| A521 | Request for written amendment filed |
Free format text: JAPANESE INTERMEDIATE CODE: A523 Effective date: 20210602 |
|
| TRDD | Decision of grant or rejection written | ||
| A01 | Written decision to grant a patent or to grant a registration (utility model) |
Free format text: JAPANESE INTERMEDIATE CODE: A01 Effective date: 20210615 |
|
| A61 | First payment of annual fees (during grant procedure) |
Free format text: JAPANESE INTERMEDIATE CODE: A61 Effective date: 20210618 |
|
| R150 | Certificate of patent or registration of utility model |
Ref document number: 6902090 Country of ref document: JP Free format text: JAPANESE INTERMEDIATE CODE: R150 |
