JP6894792B2 - 動力伝達装置 - Google Patents

動力伝達装置 Download PDF

Info

Publication number
JP6894792B2
JP6894792B2 JP2017145838A JP2017145838A JP6894792B2 JP 6894792 B2 JP6894792 B2 JP 6894792B2 JP 2017145838 A JP2017145838 A JP 2017145838A JP 2017145838 A JP2017145838 A JP 2017145838A JP 6894792 B2 JP6894792 B2 JP 6894792B2
Authority
JP
Japan
Prior art keywords
clutch
pressure
cam
side clutch
plate
Prior art date
Legal status (The legal status is an assumption and is not a legal conclusion. Google has not performed a legal analysis and makes no representation as to the accuracy of the status listed.)
Active
Application number
JP2017145838A
Other languages
English (en)
Other versions
JP2019027483A (ja
Inventor
片岡 真
片岡  真
安藤 剛
剛 安藤
嘉彦 小澤
嘉彦 小澤
恒香 曾
恒香 曾
Current Assignee (The listed assignees may be inaccurate. Google has not performed a legal analysis and makes no representation or warranty as to the accuracy of the list.)
FCC Co Ltd
Original Assignee
FCC Co Ltd
Priority date (The priority date is an assumption and is not a legal conclusion. Google has not performed a legal analysis and makes no representation as to the accuracy of the date listed.)
Filing date
Publication date
Application filed by FCC Co Ltd filed Critical FCC Co Ltd
Priority to JP2017145838A priority Critical patent/JP6894792B2/ja
Priority to TW107123874A priority patent/TWI769277B/zh
Priority to BR112020001756-6A priority patent/BR112020001756B1/pt
Priority to PCT/JP2018/028052 priority patent/WO2019022190A1/ja
Priority to EP18837647.9A priority patent/EP3660348B9/en
Priority to CN201880049886.5A priority patent/CN110998120B/zh
Publication of JP2019027483A publication Critical patent/JP2019027483A/ja
Priority to US16/751,453 priority patent/US11391328B2/en
Application granted granted Critical
Publication of JP6894792B2 publication Critical patent/JP6894792B2/ja
Active legal-status Critical Current
Anticipated expiration legal-status Critical

Links

Images

Classifications

    • FMECHANICAL ENGINEERING; LIGHTING; HEATING; WEAPONS; BLASTING
    • F16ENGINEERING ELEMENTS AND UNITS; GENERAL MEASURES FOR PRODUCING AND MAINTAINING EFFECTIVE FUNCTIONING OF MACHINES OR INSTALLATIONS; THERMAL INSULATION IN GENERAL
    • F16DCOUPLINGS FOR TRANSMITTING ROTATION; CLUTCHES; BRAKES
    • F16D13/00Friction clutches
    • F16D13/22Friction clutches with axially-movable clutching members
    • F16D13/38Friction clutches with axially-movable clutching members with flat clutching surfaces, e.g. discs
    • F16D13/52Clutches with multiple lamellae ; Clutches in which three or more axially moveable members are fixed alternately to the shafts to be coupled and are pressed from one side towards an axially-located member
    • F16D13/54Clutches with multiple lamellae ; Clutches in which three or more axially moveable members are fixed alternately to the shafts to be coupled and are pressed from one side towards an axially-located member with means for increasing the effective force between the actuating sleeve or equivalent member and the pressure member
    • F16D13/56Clutches with multiple lamellae ; Clutches in which three or more axially moveable members are fixed alternately to the shafts to be coupled and are pressed from one side towards an axially-located member with means for increasing the effective force between the actuating sleeve or equivalent member and the pressure member in which the clutching pressure is produced by springs only
    • FMECHANICAL ENGINEERING; LIGHTING; HEATING; WEAPONS; BLASTING
    • F16ENGINEERING ELEMENTS AND UNITS; GENERAL MEASURES FOR PRODUCING AND MAINTAINING EFFECTIVE FUNCTIONING OF MACHINES OR INSTALLATIONS; THERMAL INSULATION IN GENERAL
    • F16DCOUPLINGS FOR TRANSMITTING ROTATION; CLUTCHES; BRAKES
    • F16D13/00Friction clutches
    • F16D13/22Friction clutches with axially-movable clutching members
    • F16D13/38Friction clutches with axially-movable clutching members with flat clutching surfaces, e.g. discs
    • F16D13/52Clutches with multiple lamellae ; Clutches in which three or more axially moveable members are fixed alternately to the shafts to be coupled and are pressed from one side towards an axially-located member
    • F16D13/54Clutches with multiple lamellae ; Clutches in which three or more axially moveable members are fixed alternately to the shafts to be coupled and are pressed from one side towards an axially-located member with means for increasing the effective force between the actuating sleeve or equivalent member and the pressure member
    • F16D13/56Clutches with multiple lamellae ; Clutches in which three or more axially moveable members are fixed alternately to the shafts to be coupled and are pressed from one side towards an axially-located member with means for increasing the effective force between the actuating sleeve or equivalent member and the pressure member in which the clutching pressure is produced by springs only
    • F16D2013/565Clutches with multiple lamellae ; Clutches in which three or more axially moveable members are fixed alternately to the shafts to be coupled and are pressed from one side towards an axially-located member with means for increasing the effective force between the actuating sleeve or equivalent member and the pressure member in which the clutching pressure is produced by springs only with means for releasing the clutch pressure in case of back torque

Landscapes

  • Engineering & Computer Science (AREA)
  • General Engineering & Computer Science (AREA)
  • Mechanical Engineering (AREA)
  • Mechanical Operated Clutches (AREA)
  • One-Way And Automatic Clutches, And Combinations Of Different Clutches (AREA)
  • Glass Compositions (AREA)

Description

本発明は、任意に入力部材の回転力を出力部材に伝達させ又は遮断させ得る動力伝達装置に関するものである。
一般に自動二輪車が具備する動力伝達装置は、エンジンの駆動力のミッション及び駆動輪への伝達又は遮断を任意に行わせるためのもので、エンジン側と連結された入力部材と、ミッション及び駆動輪側と連結された出力部材と、出力部材と連結されたクラッチ部材とを有しており、複数形成された駆動側クラッチ板と被動側クラッチ板とを圧接させることにより動力の伝達を行い、その圧接力を解放させることにより当該動力の伝達を遮断するよう構成されている。
より具体的には、従来の動力伝達装置は、例えば特許文献1にて開示されているように、入力部材と共に回転し複数の駆動側クラッチ板が形成されたクラッチハウジングと、クラッチハウジングの駆動側クラッチ板と交互に形成された複数の被動側クラッチ板と、出力部材と連結されたクラッチ部材と、クラッチ部材の軸方向に移動が可能とされつつ当該クラッチ部材に取り付けられ、クラッチ部材に対する軸方向への移動に伴い駆動側クラッチ板と被動側クラッチ板とを圧接させ又は圧接力を解放させ得るプレッシャ部材とを具備し、駆動側クラッチ板と被動側クラッチ板との圧接又は圧接力の解放により、入力部材に入力された回転力を出力部材に伝達し又は遮断し得るよう構成されている。
また、上記従来の動力伝達装置は、入力部材に入力された回転力が出力部材に伝達され得る状態となったときにプレッシャ部材及びクラッチ部材が相対的に回転して近接することにより駆動側クラッチ板と被動側クラッチ板との圧接力を増加させ得る圧接アシスト用カムと、出力部材の回転が入力部材の回転数を上回ったときにプレッシャ部材及びクラッチ部材が相対的に回転して離間することにより駆動側クラッチ板と被動側クラッチ板との圧接力の解放を行わせるバックトルクリミッタ用カムとが形成されていた。
さらに、上記従来の動力伝達装置においては、プレッシャ部材がクラッチ部材に対して相対的に回転する際、当該プレッシャ部材に対して摺動抵抗を生じさせるためのゴム材等から成る抵抗部材を具備していた。これにより、圧接アシスト用カム又はバックトルクリミッタ用カムにおいてカム面の間に生じたクリアランスによってプレッシャ部材とクラッチ部材とが相対的に回転する際、抵抗部材によって回転抵抗を生じさせることができ、カム面が当接する際の衝撃や打音を抑制することができるようになっていた。
特開2013−137039号公報
しかしながら、上記従来の動力伝達装置においては、プレッシャ部材がクラッチ部材に対して相対的に回転する際、当該プレッシャ部材に対して摺動抵抗を生じさせるためのゴム材等から成る抵抗部材を具備していたので、部品点数が増加するとともにゴム材の摩耗が著しい場合、頻繁にメンテナンスが必要となってしまうという問題があった。
そこで、本出願人は、プレッシャ部材に対して軸方向の付勢力を付与するためのクラッチスプリングに着目し、当該クラッチスプリングを流用することにより、プレッシャ部材がクラッチ部材に対して相対的に回転する際に回転抵抗を生じさせることを検討するに至った。すなわち、プレッシャ部材に対して軸方向の付勢力を付与するクラッチスプリングを流用すれば、その軸方向の付勢力に応じた回転方向の摺動抵抗を生じさせることができ、ゴム材等の専用の別部品を用いなくても、回転方向の回転抵抗を精度よく且つ容易に生じさせることができるのである。
本発明は、このような事情に鑑みてなされたもので、クラッチスプリングによってプレッシャ部材のクラッチ部材に対する相対的な回転に対して回転抵抗を付与することができ、専用の別部材を用いることなく、圧接アシスト用カム又はバックトルクリミッタ用カムにおけるカム面が当接する際の衝撃や打音を抑制することができる動力伝達装置を提供することにある。
請求項1記載の発明は、入力部材と共に回転し複数の駆動側クラッチ板が取り付けられるクラッチハウジングと、前記クラッチハウジングの駆動側クラッチ板と交互に形成された複数の被動側クラッチ板が取り付けられるとともに、出力部材と連結されたクラッチ部材と、前記クラッチ部材の軸方向に移動が可能とされつつ当該クラッチ部材に取り付けられ、クラッチ部材に対する軸方向への移動に伴い前記駆動側クラッチ板と被動側クラッチ板とを圧接させ又は圧接力を解放させ得るプレッシャ部材と、前記クラッチ部材に取り付けられ、前記プレッシャ部材が当該クラッチ部材から所定寸法離間するのを規制し得る規制部材と、一端が前記規制部材の表面に当接して組み付けられ、前記プレッシャ部材に対して前記駆動側クラッチ板と被動側クラッチ板とを圧接させる方向に付勢力を付与するクラッチスプリングと、前記入力部材に入力された回転力が前記出力部材に伝達され得る状態となったときに前記プレッシャ部材及び前記クラッチ部材が相対的に回転して近接することにより前記駆動側クラッチ板と被動側クラッチ板との圧接力を増加させ得る圧接アシスト用カム、または前記出力部材の回転が前記入力部材の回転数を上回ったときに前記プレッシャ部材及び前記クラッチ部材が相対的に回転して離間することにより前記駆動側クラッチ板と被動側クラッチ板との圧接力の解放を行わせるバックトルクリミッタ用カムとを有し、前記駆動側クラッチ板と被動側クラッチ板との圧接又は圧接力の解放により、入力部材に入力された回転力を出力部材に伝達し又は遮断し得る動力伝達装置において、前記クラッチスプリングは、前記プレッシャ部材に形成された凹部に収容されて組み付けられるとともに、前記圧接アシスト用カムまたはバックトルクリミッタ用カムにおけるカム面のクリアランスにより前記プレッシャ部材が前記クラッチ部材に対して相対的に回転する際、長手方向に亘る外周側面が当該凹部の内周壁面に当接して保持されつつ前記一端が前記規制部材の表面上を摺動して回転抵抗を生じさせ得ることを特徴とする。
請求項記載の発明は、入力部材と共に回転し複数の駆動側クラッチ板が取り付けられるクラッチハウジングと、前記クラッチハウジングの駆動側クラッチ板と交互に形成された複数の被動側クラッチ板が取り付けられるとともに、出力部材と連結されたクラッチ部材と、前記クラッチ部材の軸方向に移動が可能とされつつ当該クラッチ部材に取り付けられ、クラッチ部材に対する軸方向への移動に伴い前記駆動側クラッチ板と被動側クラッチ板とを圧接させ又は圧接力を解放させ得るプレッシャ部材と、前記クラッチ部材に取り付けられ、前記プレッシャ部材が当該クラッチ部材から所定寸法離間するのを規制し得る規制部材と、一端が前記規制部材の表面に当接して組み付けられ、前記プレッシャ部材に対して前記駆動側クラッチ板と被動側クラッチ板とを圧接させる方向に付勢力を付与するクラッチスプリングと、前記入力部材に入力された回転力が前記出力部材に伝達され得る状態となったときに前記プレッシャ部材及び前記クラッチ部材が相対的に回転して近接することにより前記駆動側クラッチ板と被動側クラッチ板との圧接力を増加させ得る圧接アシスト用カム、または前記出力部材の回転が前記入力部材の回転数を上回ったときに前記プレッシャ部材及び前記クラッチ部材が相対的に回転して離間することにより前記駆動側クラッチ板と被動側クラッチ板との圧接力の解放を行わせるバックトルクリミッタ用カムとを有し、前記駆動側クラッチ板と被動側クラッチ板との圧接又は圧接力の解放により、入力部材に入力された回転力を出力部材に伝達し又は遮断し得る動力伝達装置において、前記クラッチスプリングは、前記プレッシャ部材に取り付けられた収容部材に収容されて組み付けられるとともに、前記圧接アシスト用カムまたはバックトルクリミッタ用カムにおけるカム面のクリアランスにより前記プレッシャ部材が前記クラッチ部材に対して相対的に回転する際、長手方向に亘る外周側面が当該収容部材の内周壁面に当接して保持されつつ前記一端が前記規制部材の表面上を摺動して回転抵抗を生じさせ得ることを特徴とする。
請求項記載の発明は、請求項1又は請求項2記載の動力伝達装置において、前記規制部材は、少なくとも前記クラッチスプリングの一端が摺動する摺動面が硬化処理されて成ることを特徴とする。
請求項1の発明によれば、クラッチスプリングは、圧接アシスト用カムまたはバックトルクリミッタ用カムにおけるカム面のクリアランスによりプレッシャ部材がクラッチ部材に対して相対的に回転する際、側面が長手方向に亘って保持されつつ一端が規制部材の表面上を摺動して回転抵抗を生じさせ得るので、クラッチスプリングによってプレッシャ部材のクラッチ部材に対する相対的な回転に対して回転抵抗を付与することができ、専用の別部材を用いることなく、圧接アシスト用カム又はバックトルクリミッタ用カムにおけるカム面が当接する際の衝撃や打音を抑制することができる。
さらに、クラッチスプリングは、プレッシャ部材に形成された凹部に収容されて組み付けられるとともに、圧接アシスト用カムまたはバックトルクリミッタ用カムによりプレッシャ部材がクラッチ部材に対して相対的に回転する際、長手方向に亘る外周側面が当該凹部の内周壁面に当接して保持されつつ一端が規制部材の表面上を摺動し得るので、回転抵抗を生じさせる際にクラッチスプリングが傾倒又は屈曲してしまうのを凹部の内周壁面によって防止することができ、必要な回転抵抗をより確実に生じさせることができる。
請求項の発明によれば、クラッチスプリングは、プレッシャ部材に取り付けられた収容部材に収容されて組み付けられるとともに、圧接アシスト用カムまたはバックトルクリミッタ用カムによりプレッシャ部材がクラッチ部材に対して相対的に回転する際、長手方向に亘る外周側面が当該収容部材の内周壁面に当接して保持されつつ一端が規制部材の表面上を摺動し得るので、回転抵抗を生じさせる際にクラッチスプリングが傾倒又は屈曲してしまうのを収容部材の内周壁面によって防止することができ、必要な回転抵抗をより確実に生じさせることができる。
請求項の発明によれば、規制部材は、少なくともクラッチスプリングの一端が摺動する摺動面が硬化処理されて成るので、繰り返しの摺動によって規制部材の摺動面が摩耗してしまうのを抑制することができ、摩耗による動作不良を防止することができる。
本発明の第1の実施形態に係る動力伝達装置を示す全体縦断面図 同動力伝達装置における圧接アシスト用カムを構成するクラッチ部材側第1カム面及びプレッシャ部材側第1カム面を示す模式図 同動力伝達装置におけるクラッチ部材にプレッシャ部材を組み付けた状態を示す斜視図 同動力伝達装置におけるクラッチ部材にプレッシャ部材を組み付けた状態を示す平面図 図4におけるA1−A1線断面図 同動力伝達装置におけるクラッチ部材、プレッシャ部材及び規制部材を示す分解斜視図 同動力伝達装置におけるクラッチ部材、プレッシャ部材及び規制部材を示す分解斜視図 同動力伝達装置におけるクラッチ部材を示す平面図及び裏面図 同動力伝達装置におけるプレッシャ部材を示す平面図及び裏面図 同動力伝達装置における規制部材を示す平面図及び裏面図 同動力伝達装置におけるクラッチスプリングを示す側面図及び正面図 同動力伝達装置における圧接アシスト用カムの作用を示す模式図 同動力伝達装置におけるバックトルクリミッタ用カムの作用を示す模式図 同動力伝達装置におけるクラッチスプリングが規制部材の表面上を摺動する過程(摺動前)を示す断面図 同動力伝達装置におけるクラッチスプリングが規制部材の表面上を摺動する過程(摺動中)を示す断面図 同動力伝達装置におけるクラッチスプリングが規制部材の表面上を摺動する過程(摺動後)を示す断面図 本発明の第2の実施形態に係る動力伝達装置を示す全体縦断面図 同動力伝達装置における圧接アシスト用カムを構成するクラッチ部材側第1カム面及びプレッシャ部材側第1カム面を示す模式図 同動力伝達装置におけるクラッチ部材にプレッシャ部材を組み付けた状態を示す斜視図 同動力伝達装置におけるクラッチ部材にプレッシャ部材を組み付けた状態を示す平面図 図20におけるA2−A2線断面図 同動力伝達装置におけるクラッチ部材、プレッシャ部材及び規制部材を示す分解斜視図 同動力伝達装置におけるクラッチ部材、プレッシャ部材及び規制部材を示す分解斜視図 同動力伝達装置におけるクラッチ部材を示す平面図及び裏面図 同動力伝達装置におけるプレッシャ部材を示す平面図及び裏面図 同動力伝達装置における規制部材を示す平面図及び裏面図 同動力伝達装置における収容部材を示す平面図及び裏面図 図27におけるA3−A3断面図 同動力伝達装置におけるクラッチスプリングが規制部材の表面上を摺動する過程(摺動前)を示す断面図 同動力伝達装置におけるクラッチスプリングが規制部材の表面上を摺動する過程(摺動中)を示す断面図 同動力伝達装置におけるクラッチスプリングが規制部材の表面上を摺動する過程(摺動後)を示す断面図 本発明の第3の実施形態に係る動力伝達装置を示す全体縦断面図 同動力伝達装置におけるクラッチ部材にプレッシャ部材を組み付けた状態を示す斜視図 同動力伝達装置におけるクラッチ部材にプレッシャ部材を組み付けた状態を示す平面図 図34におけるA4−A4線断面図 同動力伝達装置におけるクラッチ部材、プレッシャ部材及び規制部材を示す分解斜視図 同動力伝達装置におけるクラッチ部材、プレッシャ部材及び規制部材を示す分解斜視図 同動力伝達装置におけるクラッチ部材を示す平面図及び裏面図 同動力伝達装置におけるプレッシャ部材を示す平面図及び裏面図 同動力伝達装置における規制部材を示す平面図及び裏面図 同動力伝達装置におけるクラッチスプリングが規制部材の表面上を摺動する過程(摺動前)を示す断面図 同動力伝達装置におけるクラッチスプリングが規制部材の表面上を摺動する過程(摺動中)を示す断面図 同動力伝達装置におけるクラッチスプリングが規制部材の表面上を摺動する過程(摺動後)を示す断面図
以下、本発明の実施形態について図面を参照しながら具体的に説明する。
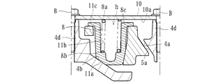
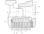
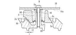
第1の実施形態に係る動力伝達装置は、二輪車等の車両に配設されて任意にエンジンの駆動力をミッションや駆動輪側へ伝達し又は遮断するためのダイカスト成形で得られるもので、図1〜11に示すように、入力部材としてのギア1が形成されたクラッチハウジング2と、出力部材としてのシャフト3と連結されたクラッチ部材4と、該クラッチ部材4の図中右端側に形成されたプレッシャ部材5と、クラッチハウジング2側に連結された駆動側クラッチ板6及びクラッチ部材4側に連結された被動側クラッチ板7と、クラッチ部材4に形成されたクラッチ部材側第1カム面4a及びクラッチ部材側第2カム面4bと、プレッシャ部材5に形成されたプレッシャ部材側第1カム面5a及びプレッシャ部材側第2カム面5bと、クラッチスプリング8と、規制部材10とから主に構成されている。尚、図中符号Sはダンパを示しているとともに、符号Nはニードルベアリングを示している。
ギア1は、エンジンから伝達された駆動力(回転力)が入力されるとシャフト3を中心として回転可能とされたもので、リベットR等によりクラッチハウジング2と連結されている。このクラッチハウジング2は、同図右端側が開口した円筒状のケース部材から成り、その内周壁にはスプライン(スプライン嵌合部2a)が形成されるとともに、当該スプライン嵌合部2aには複数の駆動側クラッチ板6が取り付けられている。かかる駆動側クラッチ板6のそれぞれは、略円環状に形成された板材から成るとともにクラッチハウジング2の内周面に形成されたスプライン嵌合部2aと嵌合することにより、当該クラッチハウジング2と共に回転し、且つ、軸方向(同図中左右方向)に摺動し得るよう構成されている。
クラッチ部材4は、クラッチハウジング2内に配設された部材から成るものである。かかるクラッチ部材4の略中央には出力部材としてのシャフト3が貫通しつつスプライン嵌合により当該クラッチ部材4とシャフト3とが連結されており、クラッチ部材4が回転するとシャフト3も回転するよう構成されている。また、クラッチ部材4の外周側面には、図6、7に示すように、その軸方向(同図中上下方向)に延びるスプライン(スプライン嵌合部4c)が形成されており、該スプライン嵌合部4cに被動側クラッチ板7が嵌め込まれて取り付けられている。
より具体的には、クラッチ部材4に形成されたスプライン(スプライン嵌合部4c)は、図6、7に示すように、その外周側面における略全周に亘って一体的に形成された凹凸形状にて構成されており、スプラインを構成する凹溝に被動側クラッチ板7が嵌合することにより、被動側クラッチ板7のクラッチ部材4に対する軸方向の移動を許容しつつ回転方向の移動が規制され、当該クラッチ部材4と共に回転し得るよう構成されているのである。
かかる被動側クラッチ板7は、駆動側クラッチ板6と交互に積層形成されており、隣接する各クラッチ板6、7が圧接又は圧接力が解放されるようになっている。即ち、両クラッチ板6、7は、クラッチ部材4の軸方向への摺動が許容されており、プレッシャ部材5にて図1中左方向へ押圧されると圧接され、クラッチハウジング2の回転力がクラッチ部材4を介してシャフト3に伝達される状態となり、プレッシャ部材5による押圧を解除すると当該圧接力が解放されてクラッチ部材4がクラッチハウジング2の回転に追従しなくなって停止し、シャフト3への回転力の伝達がなされなくなるのである。
プレッシャ部材5は、クラッチ部材4の軸方向(図1中左右方向)に移動が可能とされつつ当該クラッチ部材4の図中右端側の位置に取り付けられ、クラッチ部材4に対する軸方向への移動に伴い駆動側クラッチ板6と被動側クラッチ板7とを圧接させ又は圧接力を解放させ得るものである。より具体的には、プレッシャ部材5は、クラッチスプリング8により同図中左方向へ常時付勢されるとともに、シャフト3の内部には、その軸方向に延びるプッシュロッド9が配設されており、運転者が図示しないクラッチレバー等の操作手段を操作することにより当該プッシュロッド9を同図中右方向へ突出させ、プレッシャ部材5をクラッチスプリング8の付勢力に抗して右方向(クラッチ部材4から離間する方向)へ移動させることができるようになっている。
しかして、プレッシャ部材5が右方向へ移動すると、駆動側クラッチ板6と被動側クラッチ板7との圧接力が解かれ、ギア1及びクラッチハウジング2に入力された回転力がクラッチ部材4及びシャフト3へ伝達されず遮断されることとなる。すなわち、プレッシャ部材5は、クラッチ部材4に対する軸方向への移動に伴い駆動側クラッチ板6と被動側クラッチ板7とを圧接又は圧接力を解放させることができるよう構成されているのである。
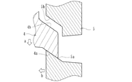
さらに、クラッチ部材4及びプレッシャ部材5には、図2、図5〜9に示すように、所定角度勾配した勾配面から成るクラッチ部材側第1カム面4a、クラッチ部材側第2カム面4b、及びプレッシャ部材側第1カム面5a、プレッシャ部材側第2カム面5bがそれぞれ形成されている。しかるに、クラッチ部材側第1カム面4aとプレッシャ部材側第1カム面5aとを対峙させて圧接アシスト用カムを構成するとともに、クラッチ部材側第2カム面4bとプレッシャ部材側第2カム面5bとを対峙させてバックトルクリミッタ用カムを構成している。
圧接アシスト用カムは、クラッチハウジング2(入力部材)に入力された回転力がシャフト3(出力部材)に伝達され得る状態となったときにプレッシャ部材5及びクラッチ部材4が相対的に回転し、これらプレッシャ部材5及びクラッチ部材4が近接することにより駆動側クラッチ板6と被動側クラッチ板7との圧接力を増加させ得るものである。すなわち、クラッチハウジング2(入力部材)に入力された回転力がシャフト3(出力部材)に伝達され得る状態となったとき、図12に示すように、クラッチ部材4がプレッシャ部材5に対してa方向に相対的に回転するので、クラッチ部材側第1カム面4aとプレッシャ部材側第1カム面5aとが当接し、これらカム面のカムの作用により、プレッシャ部材5をb方向に移動させ、駆動側クラッチ板6と被動側クラッチ板7との圧接力を増加させるよう構成されているのである。
バックトルクリミッタ用カムは、シャフト3(出力部材)の回転がクラッチハウジング2(入力部材)の回転数を上回ったときにプレッシャ部材5及びクラッチ部材4が相対的に回転し、これらプレッシャ部材5及びクラッチ部材4が離間することにより駆動側クラッチ板6と被動側クラッチ板7との圧接力の解放を行わせるものである。すなわち、シャフト3(出力部材)の回転がクラッチハウジング2(入力部材)の回転数を上回ったとき、図13に示すように、クラッチ部材4がプレッシャ部材5に対してc方向に相対的に回転するので、クラッチ部材側第2カム面4bとプレッシャ部材側第2カム面5bとが当接し、これらカム面のカムの作用により、プレッシャ部材5をd方向に移動させ、駆動側クラッチ板6と被動側クラッチ板7との圧接力を解放させるよう構成されているのである。
規制部材10は、所定寸法を超えてプレッシャ部材5がクラッチ部材4に対して離間する方向に移動するのを規制する円環状部材(図10参照)から成るもので、図1及び図3〜5に示すように、クラッチ部材4に形成されたボス部4dの突端に取り付けられるとともに、ボルトBにより固定されている。かかる規制部材10は、ボルトBにてクラッチ部材4に固定された状態において、その表面10aがプレッシャ部材5に向かって対峙するとともに、裏面10bが装置外部に臨むようになっている。
一方、本実施形態に係るプレッシャ部材5には、図6、9に示すように、複数(本実施形態においては3つ)の凹部5cが周方向に等間隔で形成されており、図1、5に示すように、これら凹部5cに対してクラッチスプリング8がそれぞれ収容されて組み付けられている。かかるクラッチスプリング8は、その一端8aが規制部材10の表面10aに当接するとともに、他端8bが凹部5cの底面又は底面近傍に当接して組み付けられており、プレッシャ部材5に対して駆動側クラッチ板6と被動側クラッチ板7とを圧接させる方向(軸方向)に付勢力を付与し得るようになっている。
具体的には、クラッチスプリング8は、図11に示すように、一端8aから他端8bまで螺旋状に延びるコイルスプリングから成り、その長手方向(一端8aから他端8bに向かう方向)に亘って外周側面8c及び内周側面8dを有して構成されている。しかして、凹部5cにクラッチスプリング8を収容した後、ボス部4dの突端に規制部材10を固定させると、当該規制部材10にてクラッチスプリング8が圧縮され、プレッシャ部材5に対して駆動側クラッチ板6と被動側クラッチ板7とを圧接させる方向(軸方向)に付勢力を付与するのである。
ここで、本実施形態に係るクラッチスプリング8は、圧接アシスト用カムまたはバックトルクリミッタ用カムにおけるカム面のクリアランス(本実施形態においては、クラッチ部材側第1カム面4aとプレッシャ部材側第1カム面5aとの間に生じたクリアランス、或いはクラッチ部材側第2カム面4bとプレッシャ部材側第2カム面5bとの間に生じたクリアランス)によりプレッシャ部材5がクラッチ部材4に対して相対的に回転する際、側面(外周側面8c)が長手方向に亘って保持されつつ一端8aが規制部材10の表面10a上を摺動して回転抵抗を生じさせ得るようになっている。
また、本実施形態に係るクラッチスプリング8は、プレッシャ部材5に形成された凹部5cに収容されて組み付けられるとともに、圧接アシスト用カムまたはバックトルクリミッタ用カムによりプレッシャ部材5がクラッチ部材4に対して相対的に回転する際、長手方向に亘る外周側面8cが当該凹部5cの内周壁面5dに当接して保持されるよう構成されている。
例えば、図14に示すように、圧接アシスト用カムを構成するクラッチ部材側第1カム面4aとプレッシャ部材側第1カム面5aとが当接した状態であって、バックリミッタ用カムを構成するクラッチ部材側第2カム面4bとプレッシャ部材側第2カム面5bとが寸法tのクリアランスを有して対峙している状態(セット状態)において、バックトルクリミッタ用カムが作動する際、図15に示すように、プレッシャ部材5がクラッチ部材4に対して相対的に回転するのに伴って、圧接アシスト用カムを構成するクラッチ部材側第1カム面4aとプレッシャ部材側第1カム面5aとが離間するとともに、バックリミッタ用カムを構成するクラッチ部材側第2カム面4bとプレッシャ部材側第2カム面5bとが近接する。
そして、図16に示すように、バックトルクリミッタ用カムを構成するクラッチ部材側第2カム面4bとプレッシャ部材側第2カム面5bとが当接し、更にプレッシャ部材5のクラッチ部材4に対する相対的な回転が行われると、カムの作用によりプレッシャ部材5及びクラッチ部材4が離間し、駆動側クラッチ板6と被動側クラッチ板7との圧接力を解放することとなる。
一方、バックトルクリミッタ用カムの作動が完了してセット状態に戻る際は、プレッシャ部材5がクラッチ部材4に対して相対的に回転するのに伴って、圧接アシスト用カムを構成するクラッチ部材側第1カム面4aとプレッシャ部材側第1カム面5aとが近接(図15参照)した後、当接(図14参照)するとともに、バックリミッタ用カムを構成するクラッチ部材側第2カム面4bとプレッシャ部材側第2カム面5bとが離間(図14、15参照)することとなる。
ここで、本実施形態に係るクラッチスプリング8は、セット状態からバックトルクリミッタ用カムが作動する際(バックトルクリミッタ用カムの作動が完了してセット状態に戻る際も同様)、図15に示すように、長手方向に亘る外周側面8cが凹部5cの内周壁面5dに当接して保持され、回転力によって傾倒又は屈曲してしまうのを抑制した状態とするとともに、一端8aが規制部材10の表面10aを摺動して回転抵抗を生じさせるので、カム面が当接する際の衝撃を緩和して打音を抑制することができることができる。
特に、本実施形態においては、バックリミッタ用カムを構成するクラッチ部材側第2カム面4bとプレッシャ部材側第2カム面5bとの間のクリアランスの寸法tは、凹部5cの開口径寸法からクラッチスプリング8の外径寸法(外周側面8cの直径)を減算した値より大きくなるよう設定されており、クラッチスプリング8の傾倒又は屈曲を抑制しつつ回転抵抗をより確実に付与できるようになっている。
しかして、本実施形態に係るクラッチスプリング8は、通常時において、軸方向の付勢力を付与して駆動側クラッチ板6と被動側クラッチ板7とを圧接する機能を有するとともに、バックトルクリミッタ用カム(又は圧接アシスト用カム)におけるカム面のクリアランスによりプレッシャ部材5がクラッチ部材4に対して相対的に回転する際、一端8aが規制部材10の表面上を摺動して回転抵抗を生じさせる機能を有しているのである。
次に、本発明の第2の実施形態について説明する。
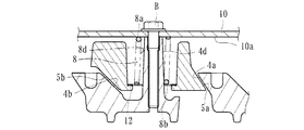
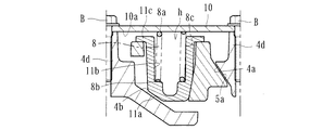
第2の実施形態に係る動力伝達装置は、先の実施形態と同様、二輪車等の車両に配設されて任意にエンジンの駆動力をミッションや駆動輪側へ伝達し又は遮断するためのダイカスト成形で得られるもので、図17〜28に示すように、入力部材としてのギア1が形成されたクラッチハウジング2と、出力部材としてのシャフト3と連結されたクラッチ部材4と、プレッシャ部材5と、駆動側クラッチ板6及び被動側クラッチ板7と、クラッチスプリング8と、規制部材10と、収容部材11とから主に構成されている。なお、第1の実施形態と同様の構成要素には、同一の符号を付し、それらの詳細な説明を省略する。
本実施形態に係るプレッシャ部材5には、図22、23、25に示すように、複数(本実施形態においては3つ)の挿通孔hが周方向に等間隔で形成されており、図17、21に示すように、これら挿通孔hに収容部材11がそれぞれ取り付けられるとともに、各収容部材11にクラッチスプリング8がそれぞれ収容されて組み付けられている。この収容部材11は、図22、23、27、28に示すように、収容部材側カム面11aと、内周壁面11bと、フランジ部11cとを有した有底筒状部材から成り、クラッチスプリング8を収容しつつフランジ部11cを挿通孔hの開口縁部に当接させて組み付けられている。
さらに、クラッチ部材4及びプレッシャ部材5には、図18、図21〜25に示すように、所定角度勾配した勾配面から成るクラッチ部材側第1カム面4a、クラッチ部材側第2カム面4b、及びプレッシャ部材側第1カム面5aがそれぞれ形成されている。しかるに、クラッチ部材側第1カム面4aとプレッシャ部材側第1カム面5aとを対峙させて圧接アシスト用カムを構成するとともに、クラッチ部材側第2カム面4bと収容部材11に形成された収容部材側カム面11aとを対峙させてバックトルクリミッタ用カムを構成している。
規制部材10は、所定寸法を超えてプレッシャ部材5がクラッチ部材4に対して離間する方向に移動するのを規制する円環状部材(図26参照)から成るもので、図17及び図19〜21に示すように、クラッチ部材4に形成されたボス部4dの突端に取り付けられるとともに、ボルトBにより固定されている。かかる規制部材10は、ボルトBにてクラッチ部材4に固定された状態において、その表面10aがプレッシャ部材5に向かって対峙するとともに、裏面10bが装置外部に臨むようになっている。
一方、本実施形態に係るクラッチスプリング8は、先の実施形態と同様、その一端8aが規制部材10の表面10aに当接するとともに、他端8bが収容部材11の底面又は底面近傍に当接して組み付けられており、プレッシャ部材5に対して駆動側クラッチ板6と被動側クラッチ板7とを圧接させる方向(軸方向)に付勢力を付与し得るようになっている。なお、クラッチスプリング8については、先の実施形態と同様、一端8aから他端8bまで螺旋状に延びるコイルスプリングから成り、その長手方向(一端8aから他端8bに向かう方向)に亘って外周側面8c及び内周側面8dを有して構成されている(図11参照)。
ここで、本実施形態に係るクラッチスプリング8は、圧接アシスト用カムまたはバックトルクリミッタ用カムにおけるカム面のクリアランス(本実施形態においては、クラッチ部材側第1カム面4aとプレッシャ部材側第1カム面5aとの間に生じたクリアランス、或いはクラッチ部材側第2カム面4bと収容部材側カム面11aとの間に生じたクリアランス)によりプレッシャ部材5がクラッチ部材4に対して相対的に回転する際、側面(外周側面8c)が長手方向に亘って保持されつつ一端8aが規制部材10の表面10a上を摺動して回転抵抗を生じさせ得るようになっている。
また、本実施形態に係るクラッチスプリング8は、プレッシャ部材5に取り付けられた収容部材11に収容されて組み付けられるとともに、圧接アシスト用カムまたはバックトルクリミッタ用カムによりプレッシャ部材5がクラッチ部材4に対して相対的に回転する際、長手方向に亘る外周側面8cが当該収容部材11の内周壁面11bに当接して保持されるよう構成されている。
例えば、図29に示すように、圧接アシスト用カムを構成するクラッチ部材側第1カム面4aとプレッシャ部材側第1カム面5aとが当接した状態であって、バックリミッタ用カムを構成するクラッチ部材側第2カム面4bと収容部材11の収容部材側カム面11aとが寸法tのクリアランスを有して対峙している状態(セット状態)において、バックトルクリミッタ用カムが作動する際、図30に示すように、プレッシャ部材5がクラッチ部材4に対して相対的に回転するのに伴って、圧接アシスト用カムを構成するクラッチ部材側第1カム面4aとプレッシャ部材側第1カム面5aとが離間するとともに、バックリミッタ用カムを構成するクラッチ部材側第2カム面4bと収容部材側カム面11aとが近接する。
そして、図31に示すように、バックトルクリミッタ用カムを構成するクラッチ部材側第2カム面4bと収容部材側カム面11aとが当接し、更にプレッシャ部材5のクラッチ部材4に対する相対的な回転が行われると、カムの作用によりプレッシャ部材5及びクラッチ部材4が離間し、駆動側クラッチ板6と被動側クラッチ板7との圧接力を解放することとなる。
一方、バックトルクリミッタ用カムの作動が完了してセット状態に戻る際は、プレッシャ部材5がクラッチ部材4に対して相対的に回転するのに伴って、圧接アシスト用カムを構成するクラッチ部材側第1カム面4aとプレッシャ部材側第1カム面5aとが近接(図30参照)した後、当接(図29参照)するとともに、バックリミッタ用カムを構成するクラッチ部材側第2カム面4bと収容部材側カム面11aとが離間(図29、30参照)することとなる。
ここで、本実施形態に係るクラッチスプリング8は、セット状態からバックトルクリミッタ用カムが作動する際(バックトルクリミッタ用カムの作動が完了してセット状態に戻る際も同様)、図30に示すように、長手方向に亘る外周側面8cが収容部材11の内周壁面11bに当接して保持され、回転力によって傾倒又は屈曲してしまうのを抑制した状態とするとともに、一端8aが規制部材10の表面10aを摺動して回転抵抗を生じさせるので、カム面が当接する際の衝撃を緩和して打音を抑制することができることができる。
特に、本実施形態においては、バックリミッタ用カムを構成するクラッチ部材側第2カム面4bと収容部材側カム面11aとの間のクリアランスの寸法tは、収容部材11の開口径寸法からクラッチスプリング8の外径寸法(外周側面8cの直径)を減算した値より大きくなるよう設定されており、クラッチスプリング8の傾倒又は屈曲を抑制しつつ回転抵抗をより確実に付与できるようになっている。
しかして、本実施形態に係るクラッチスプリング8は、通常時において、軸方向の付勢力を付与して駆動側クラッチ板6と被動側クラッチ板7とを圧接する機能を有するとともに、バックトルクリミッタ用カム(又は圧接アシスト用カム)におけるカム面のクリアランスによりプレッシャ部材5がクラッチ部材4に対して相対的に回転する際、一端8aが規制部材10の表面上を摺動して回転抵抗を生じさせる機能を有しているのである。
次に、本発明の第3の実施形態について説明する。
第3の実施形態に係る動力伝達装置は、先の実施形態と同様、二輪車等の車両に配設されて任意にエンジンの駆動力をミッションや駆動輪側へ伝達し又は遮断するためのダイカスト成形で得られるもので、図32〜40に示すように、入力部材としてのギア1が形成されたクラッチハウジング2と、出力部材としてのシャフト3と連結されたクラッチ部材4と、プレッシャ部材5と、駆動側クラッチ板6及び被動側クラッチ板7と、クラッチスプリング8と、規制部材10と、クラッチスプリング8の座面を構成するスプリングシート12とから主に構成されている。なお、第1、2の実施形態と同様の構成要素には、同一の符号を付し、それらの詳細な説明を省略する。
本実施形態に係るクラッチ部材4には、図36、38に示すように、複数(本実施形態においては3つ)のボス部4dが周方向に等間隔で形成されており、図32、35に示すように、これらボス部4dにクラッチスプリング8がそれぞれ挿通して組み付けられている。そして、ボス部4dにクラッチスプリング8を組み付けると、その一端8aが規制部材10の表面10aに当接するとともに、他端8bがプレッシャ部材5に取り付けられたスプリングシート12に当接するようになっている。かかるスプリングシート12は、クラッチスプリング8の座面を構成するもので、当該クラッチスプリング8の付勢力を受けて、プレッシャ部材5を押圧し得るよう構成されている。
さらに、クラッチ部材4及びプレッシャ部材5には、図32〜39に示すように、所定角度勾配した勾配面から成るクラッチ部材側第1カム面4a、クラッチ部材側第2カム面4b、及びプレッシャ部材側第1カム面5a、プレッシャ部材側第2カム面5bがそれぞれ形成されている。しかるに、クラッチ部材側第1カム面4aとプレッシャ部材側第1カム面5aとを対峙させて圧接アシスト用カムを構成するとともに、クラッチ部材側第2カム面4bとプレッシャ部材側第2カム面5bとを対峙させてバックトルクリミッタ用カムを構成している。
規制部材10は、所定寸法を超えてプレッシャ部材5がクラッチ部材4に対して離間する方向に移動するのを規制する円環状部材(図40参照)から成るもので、図32及び図33〜35に示すように、クラッチ部材4に形成されたボス部4dの突端に取り付けられるとともに、ボルトBにより固定されている。かかる規制部材10は、ボルトBにてクラッチ部材4に固定された状態において、その表面10aがプレッシャ部材5に向かって対峙するとともに、裏面10bが装置外部に臨むようになっている。
一方、本実施形態に係るクラッチスプリング8は、先の実施形態と同様、その一端8aが規制部材10の表面10aに当接するとともに、他端8bがスプリングシート12に当接して組み付けられており、プレッシャ部材5に対して駆動側クラッチ板6と被動側クラッチ板7とを圧接させる方向(軸方向)に付勢力を付与し得るようになっている。なお、クラッチスプリング8については、先の実施形態と同様、一端8aから他端8bまで螺旋状に延びるコイルスプリングから成り、その長手方向(一端8aから他端8bに向かう方向)に亘って外周側面8c及び内周側面8dを有して構成されている(図11参照)。
ここで、本実施形態に係るクラッチスプリング8は、圧接アシスト用カムまたはバックトルクリミッタ用カムにおけるカム面のクリアランス(本実施形態においては、クラッチ部材側第1カム面4aとプレッシャ部材側第1カム面5aとの間に生じたクリアランス、或いはクラッチ部材側第2カム面4bとプレッシャ部材側第2カム面5bとの間に生じたクリアランス)によりプレッシャ部材5がクラッチ部材4に対して相対的に回転する際、側面(内周側面8d)が長手方向に亘って保持されつつ他端8bがスプリングシート12の表面上を摺動して回転抵抗を生じさせ得るようになっている。
また、本実施形態に係るクラッチスプリング8は、クラッチ部材4に形成されたボス部4dに挿通されて組み付けられるとともに、圧接アシスト用カムまたはバックトルクリミッタ用カムによりプレッシャ部材5がクラッチ部材4に対して相対的に回転する際、長手方向に亘る内周側面8dが当該ボス部4dの外周面に当接して保持されるよう構成されている。
例えば、図41に示すように、圧接アシスト用カムを構成するクラッチ部材側第1カム面4aとプレッシャ部材側第1カム面5aとが当接した状態であって、バックリミッタ用カムを構成するクラッチ部材側第2カム面4bとプレッシャ部材側第2カム面5bとが寸法tのクリアランスを有して対峙している状態(セット状態)において、バックトルクリミッタ用カムが作動する際、図42に示すように、プレッシャ部材5がクラッチ部材4に対して相対的に回転するのに伴って、圧接アシスト用カムを構成するクラッチ部材側第1カム面4aとプレッシャ部材側第1カム面5aとが離間するとともに、バックリミッタ用カムを構成するクラッチ部材側第2カム面4bとプレッシャ部材側第2カム面5bとが近接する。
そして、図43に示すように、バックトルクリミッタ用カムを構成するクラッチ部材側第2カム面4bとプレッシャ部材側第2カム面5bとが当接し、更にプレッシャ部材5のクラッチ部材4に対する相対的な回転が行われると、カムの作用によりプレッシャ部材5及びクラッチ部材4が離間し、駆動側クラッチ板6と被動側クラッチ板7との圧接力を解放することとなる。
一方、バックトルクリミッタ用カムの作動が完了してセット状態に戻る際は、プレッシャ部材5がクラッチ部材4に対して相対的に回転するのに伴って、圧接アシスト用カムを構成するクラッチ部材側第1カム面4aとプレッシャ部材側第1カム面5aとが近接(図42参照)した後、当接(図41参照)するとともに、バックリミッタ用カムを構成するクラッチ部材側第2カム面4bとプレッシャ部材側第2カム面5bとが離間(図41、42参照)することとなる。
ここで、本実施形態に係るクラッチスプリング8は、セット状態からバックトルクリミッタ用カムが作動する際(バックトルクリミッタ用カムの作動が完了してセット状態に戻る際も同様)、図42に示すように、長手方向に亘る内周側面8dがボス部4dの外周面に当接して保持され、回転力によって傾倒又は屈曲してしまうのを抑制した状態とするとともに、他端8bがスプリングシート12の表面を摺動して回転抵抗を生じさせるので、カム面が当接する際の衝撃を緩和して打音を抑制することができることができる。
特に、本実施形態においては、バックリミッタ用カムを構成するクラッチ部材側第2カム面4bとプレッシャ部材側第2カム面5bとの間のクリアランスの寸法tは、クラッチスプリング8の内径寸法(内周側面8dの直径)からボス部4dの外径寸法(直径)を減算した値より大きくなるよう設定されており、クラッチスプリング8の傾倒又は屈曲を抑制しつつ回転抵抗をより確実に付与できるようになっている。
しかして、本実施形態に係るクラッチスプリング8は、通常時において、軸方向の付勢力を付与して駆動側クラッチ板6と被動側クラッチ板7とを圧接する機能を有するとともに、バックトルクリミッタ用カム(又は圧接アシスト用カム)におけるカム面のクリアランスによりプレッシャ部材5がクラッチ部材4に対して相対的に回転する際、他端8bがスプリングシート12の表面上を摺動して回転抵抗を生じさせる機能を有しているのである。
上記第1、2の実施形態によれば、クラッチスプリング8は、圧接アシスト用カムまたはバックトルクリミッタ用カムにおけるカム面のクリアランスによりプレッシャ部材5がクラッチ部材5に対して相対的に回転する際、側面(第1、2の実施形態においては外周側面8c)が長手方向に亘って保持されつつ一端8aが規制部材10の表面10a上を摺動して回転抵抗を生じさせ得るので、クラッチスプリング8によってプレッシャ部材4のクラッチ部材5に対する相対的な回転に対して回転抵抗を付与することができ、専用の別部材を用いることなく(規制部材10を流用して)、圧接アシスト用カム又はバックトルクリミッタ用カムにおけるカム面が当接する際の衝撃や打音を抑制することができる。
また、上記第3の実施形態によれば、クラッチスプリング8は、圧接アシスト用カムまたはバックトルクリミッタ用カムにおけるカム面のクリアランスによりプレッシャ部材5がクラッチ部材5に対して相対的に回転する際、側面(第3の実施形態においては内周側面8d)が長手方向に亘って保持されつつ他端8bがスプリングシート12の表面上を摺動して回転抵抗を生じさせ得るので、クラッチスプリング8によってプレッシャ部材4のクラッチ部材5に対する相対的な回転に対して回転抵抗を付与することができ、専用の別部材を用いることなく(スプリングシート12を流用して)、圧接アシスト用カム又はバックトルクリミッタ用カムにおけるカム面が当接する際の衝撃や打音を抑制することができる。
特に、上記第1の実施形態によれば、クラッチスプリング8は、プレッシャ部材5に形成された凹部5cに収容されて組み付けられるとともに、圧接アシスト用カムまたはバックトルクリミッタ用カムによりプレッシャ部材5がクラッチ部材4に対して相対的に回転する際、長手方向に亘る外周側面8cが当該凹部5cの内周壁面5dに当接して保持されるので、回転抵抗を生じさせる際にクラッチスプリング8が傾倒又は屈曲してしまうのを凹部5cの内周壁面5dによって防止することができ、必要な回転抵抗をより確実に生じさせることができる。
また、上記第2の実施形態によれば、クラッチスプリング8は、プレッシャ部材5に取り付けられた収容部材11に収容されて組み付けられるとともに、圧接アシスト用カムまたはバックトルクリミッタ用カムによりプレッシャ部材5がクラッチ部材4に対して相対的に回転する際、長手方向に亘る外周側面8cが当該収容部材11の内周壁面11bに当接して保持されるので、回転抵抗を生じさせる際にクラッチスプリング8が傾倒又は屈曲してしまうのを収容部材11の内周壁面11bによって防止することができ、必要な回転抵抗をより確実に生じさせることができる。
さらに、上記第3の実施形態によれば、クラッチスプリング8は、クラッチ部材4に形成されたボス部4dに挿通されて組み付けられるとともに、圧接アシスト用カムまたはバックトルクリミッタ用カムによりプレッシャ部材5がクラッチ部材4に対して相対的に回転する際、長手方向に亘る内周側面8dが当該ボス部4dの外周面に当接して保持されるので、回転抵抗を生じさせる際にクラッチスプリング8が傾倒又は屈曲してしまうのをボス部4dの外周面によって防止することができ、必要な回転抵抗をより確実に生じさせることができる。
以上、本実施形態について説明したが、本発明はこれらに限定されるものではなく、例えば規制部材10の表面10a又はスプリングシート12の表面について、少なくともクラッチスプリング8の一端8a又は他端8bが摺動する摺動面が硬化処理されて成るのが好ましく、当該硬化処理として、浸炭処理等が好ましい。このように、規制部材10又はスプリングシート12について、少なくともクラッチスプリング8の一端8a又は他端8bが摺動する摺動面が硬化処理されて成るようにすれば、繰り返しの摺動によって規制部材10又はスプリングシート12の摺動面が摩耗してしまうのを抑制することができ、摩耗による動作不良を防止することができる。
また、本実施形態においては、何れも圧接アシスト用カム及びバックトルクリミッタ用カムの両方が形成されているが、例えば圧接アシスト用カムが形成されず、バックトルクリミッタ用カムのみ形成されたものに適用してもよい。なお、本発明の動力伝達装置は、自動二輪車の他、自動車、3輪又は4輪バギー、或いは汎用機等種々の多板クラッチ型の動力伝達装置に適用することができる。
圧接アシスト用カムまたはバックトルクリミッタ用カムにおけるカム面のクリアランスによりプレッシャ部材がクラッチ部材に対して相対的に回転する際、クラッチスプリングの側面が長手方向に亘って保持されつつ一端又は他端が規制部材又は前記クラッチスプリングの座面を構成するスプリングシートの表面上を摺動して回転抵抗を生じさせ得る動力伝達装置であれば、外観形状が異なるもの或いは他の機能が付加されたもの等にも適用することができる。
1 ギア(入力部材)
2 クラッチハウジング(入力部材)
2a スプライン嵌合部
3 シャフト(出力部材)
4 クラッチ部材
4a クラッチ部材側第1カム面
4b クラッチ部材側第2カム面
4c スプライン嵌合部
4d ボス部
5 プレッシャ部材
5a プレッシャ部材側第1カム面
5b プレッシャ部材側第2カム面
5c 凹部
5d 内周壁面
6 駆動側クラッチ板
7 被動側クラッチ板
8 クラッチスプリング
8a 一端
8b 他端
8c 外周側面
8d 内周側面
9 プッシュロッド
10 規制部材
10a 表面
10b 裏面
11 収容部材
11a 収容部材側カム面
11b 内周壁面
11c フランジ部
12 スプリングシート
h 挿通孔

Claims (3)

  1. 入力部材と共に回転し複数の駆動側クラッチ板が取り付けられるクラッチハウジングと、
    前記クラッチハウジングの駆動側クラッチ板と交互に形成された複数の被動側クラッチ板が取り付けられるとともに、出力部材と連結されたクラッチ部材と、
    前記クラッチ部材の軸方向に移動が可能とされつつ当該クラッチ部材に取り付けられ、クラッチ部材に対する軸方向への移動に伴い前記駆動側クラッチ板と被動側クラッチ板とを圧接させ又は圧接力を解放させ得るプレッシャ部材と、
    前記クラッチ部材に取り付けられ、前記プレッシャ部材が当該クラッチ部材から所定寸法離間するのを規制し得る規制部材と、
    一端が前記規制部材の表面に当接して組み付けられ、前記プレッシャ部材に対して前記駆動側クラッチ板と被動側クラッチ板とを圧接させる方向に付勢力を付与するクラッチスプリングと、
    前記入力部材に入力された回転力が前記出力部材に伝達され得る状態となったときに前記プレッシャ部材及び前記クラッチ部材が相対的に回転して近接することにより前記駆動側クラッチ板と被動側クラッチ板との圧接力を増加させ得る圧接アシスト用カム、または前記出力部材の回転が前記入力部材の回転数を上回ったときに前記プレッシャ部材及び前記クラッチ部材が相対的に回転して離間することにより前記駆動側クラッチ板と被動側クラッチ板との圧接力の解放を行わせるバックトルクリミッタ用カムと、
    を有し、前記駆動側クラッチ板と被動側クラッチ板との圧接又は圧接力の解放により、入力部材に入力された回転力を出力部材に伝達し又は遮断し得る動力伝達装置において、
    前記クラッチスプリングは、前記プレッシャ部材に形成された凹部に収容されて組み付けられるとともに、前記圧接アシスト用カムまたはバックトルクリミッタ用カムにおけるカム面のクリアランスにより前記プレッシャ部材が前記クラッチ部材に対して相対的に回転する際、長手方向に亘る外周側面が当該凹部の内周壁面に当接して保持されつつ前記一端が前記規制部材の表面上を摺動して回転抵抗を生じさせ得ることを特徴とする動力伝達装置。
  2. 入力部材と共に回転し複数の駆動側クラッチ板が取り付けられるクラッチハウジングと、
    前記クラッチハウジングの駆動側クラッチ板と交互に形成された複数の被動側クラッチ板が取り付けられるとともに、出力部材と連結されたクラッチ部材と、
    前記クラッチ部材の軸方向に移動が可能とされつつ当該クラッチ部材に取り付けられ、クラッチ部材に対する軸方向への移動に伴い前記駆動側クラッチ板と被動側クラッチ板とを圧接させ又は圧接力を解放させ得るプレッシャ部材と、
    前記クラッチ部材に取り付けられ、前記プレッシャ部材が当該クラッチ部材から所定寸法離間するのを規制し得る規制部材と、
    一端が前記規制部材の表面に当接して組み付けられ、前記プレッシャ部材に対して前記駆動側クラッチ板と被動側クラッチ板とを圧接させる方向に付勢力を付与するクラッチスプリングと、
    前記入力部材に入力された回転力が前記出力部材に伝達され得る状態となったときに前記プレッシャ部材及び前記クラッチ部材が相対的に回転して近接することにより前記駆動側クラッチ板と被動側クラッチ板との圧接力を増加させ得る圧接アシスト用カム、または前記出力部材の回転が前記入力部材の回転数を上回ったときに前記プレッシャ部材及び前記クラッチ部材が相対的に回転して離間することにより前記駆動側クラッチ板と被動側クラッチ板との圧接力の解放を行わせるバックトルクリミッタ用カムと、
    を有し、前記駆動側クラッチ板と被動側クラッチ板との圧接又は圧接力の解放により、入力部材に入力された回転力を出力部材に伝達し又は遮断し得る動力伝達装置において、
    前記クラッチスプリングは、前記プレッシャ部材に取り付けられた収容部材に収容されて組み付けられるとともに、前記圧接アシスト用カムまたはバックトルクリミッタ用カムにおけるカム面のクリアランスにより前記プレッシャ部材が前記クラッチ部材に対して相対的に回転する際、長手方向に亘る外周側面が当該収容部材の内周壁面に当接して保持されつつ前記一端が前記規制部材の表面上を摺動して回転抵抗を生じさせ得ることを特徴とする動力伝達装置。
  3. 前記規制部材は、少なくとも前記クラッチスプリングの一端が摺動する摺動面が硬化処理されて成ることを特徴とする請求項1又は請求項2記載の動力伝達装置。
JP2017145838A 2017-07-27 2017-07-27 動力伝達装置 Active JP6894792B2 (ja)

Priority Applications (7)

Application Number Priority Date Filing Date Title
JP2017145838A JP6894792B2 (ja) 2017-07-27 2017-07-27 動力伝達装置
TW107123874A TWI769277B (zh) 2017-07-27 2018-07-10 動力傳遞裝置
PCT/JP2018/028052 WO2019022190A1 (ja) 2017-07-27 2018-07-26 動力伝達装置
EP18837647.9A EP3660348B9 (en) 2017-07-27 2018-07-26 Power transmission device
BR112020001756-6A BR112020001756B1 (pt) 2017-07-27 2018-07-26 Aparelho de transmissão de potência
CN201880049886.5A CN110998120B (zh) 2017-07-27 2018-07-26 动力传递设备
US16/751,453 US11391328B2 (en) 2017-07-27 2020-01-24 Power transmitting apparatus

Applications Claiming Priority (1)

Application Number Priority Date Filing Date Title
JP2017145838A JP6894792B2 (ja) 2017-07-27 2017-07-27 動力伝達装置

Publications (2)

Publication Number Publication Date
JP2019027483A JP2019027483A (ja) 2019-02-21
JP6894792B2 true JP6894792B2 (ja) 2021-06-30

Family

ID=65040626

Family Applications (1)

Application Number Title Priority Date Filing Date
JP2017145838A Active JP6894792B2 (ja) 2017-07-27 2017-07-27 動力伝達装置

Country Status (6)

Country Link
US (1) US11391328B2 (ja)
EP (1) EP3660348B9 (ja)
JP (1) JP6894792B2 (ja)
CN (1) CN110998120B (ja)
TW (1) TWI769277B (ja)
WO (1) WO2019022190A1 (ja)

Cited By (10)

* Cited by examiner, † Cited by third party
Publication number Priority date Publication date Assignee Title
JP7203271B1 (ja) 2022-09-13 2023-01-12 株式会社エフ・シー・シー クラッチ装置および自動二輪車並びにプレッシャプレートの製造方法
US11859674B1 (en) 2022-09-28 2024-01-02 Kabushiki Kaisha F.C.C. Clutch device and motorcycle
WO2024014283A1 (ja) 2022-07-15 2024-01-18 株式会社エフ・シー・シー クラッチ装置および自動二輪車
EP4339474A1 (en) 2022-09-13 2024-03-20 Kabushiki Kaisha F.C.C. Clutch device, motorcycle, and method for producing pressure plate
US11940013B1 (en) 2022-09-13 2024-03-26 Kabushiki Kaisha F.C.C. Clutch device and motorcycle
US11946513B1 (en) 2022-09-13 2024-04-02 Kabushiki Kaisha F.C.C. Clutch device and motorcycle
WO2024070742A1 (ja) 2022-09-28 2024-04-04 株式会社エフ・シー・シー クラッチ装置および自動二輪車
WO2024214479A1 (ja) 2023-04-14 2024-10-17 株式会社エフ・シー・シー クラッチ装置
JP2024177495A (ja) * 2023-04-14 2024-12-19 株式会社エフ・シー・シー クラッチ装置
WO2025126779A1 (ja) * 2023-12-15 2025-06-19 株式会社エフ・シー・シー クラッチ装置

Families Citing this family (5)

* Cited by examiner, † Cited by third party
Publication number Priority date Publication date Assignee Title
IT201700031815A1 (it) * 2017-03-22 2018-09-22 Adler Spa Frizione, in particolare frizione per motocicli, e relativo metodo di montaggio
EP4137714B1 (en) * 2020-04-13 2025-06-25 Kabushiki Kaisha F.C.C. Power transmission device
JP7255009B1 (ja) 2022-07-06 2023-04-10 株式会社エフ・シー・シー クラッチ装置および自動二輪車
JP7581288B2 (ja) 2022-07-21 2024-11-12 株式会社エフ・シー・シー クラッチ装置
JP7196356B1 (ja) * 2022-09-06 2022-12-26 株式会社エフ・シー・シー クラッチ装置および自動二輪車

Family Cites Families (15)

* Cited by examiner, † Cited by third party
Publication number Priority date Publication date Assignee Title
JP3328311B2 (ja) * 1991-03-20 2002-09-24 本田技研工業株式会社 多板クラッチ
JPH0979285A (ja) * 1995-09-12 1997-03-25 Exedy Corp ダンパーディスク組立体
JP2002145085A (ja) * 2000-11-13 2002-05-22 Mitsubishi Electric Corp 電動パワーステアリング装置
JP4344396B2 (ja) * 2007-09-12 2009-10-14 株式会社エフ・シー・シー 動力伝達装置
JP4452301B2 (ja) * 2007-09-12 2010-04-21 株式会社エフ・シー・シー 動力伝達装置
JP5198188B2 (ja) * 2008-08-29 2013-05-15 本田技研工業株式会社 湿式多板クラッチのオイル通路
JP5502507B2 (ja) * 2010-01-27 2014-05-28 株式会社エフ・シー・シー 動力伝達装置
JP5847551B2 (ja) * 2011-11-17 2016-01-27 株式会社エフ・シー・シー クラッチ装置
JP5995439B2 (ja) * 2011-12-28 2016-09-21 株式会社エフ・シー・シー 動力伝達装置
DE112013002771T5 (de) * 2012-06-04 2015-04-30 Kabushiki Kaisha F.C.C. Leistungsübertragungsvorrichtung
JP6516756B2 (ja) * 2014-08-12 2019-05-22 株式会社エフ・シー・シー 動力伝達装置
JP6501354B2 (ja) * 2015-05-12 2019-04-17 株式会社エフ・シー・シー 車両用動力伝達システム
JP6649067B2 (ja) * 2015-12-04 2020-02-19 株式会社エクセディ モータサイクル用クラッチ装置
JP7217588B2 (ja) * 2018-01-11 2023-02-03 株式会社エフ・シー・シー 動力伝達装置
JP6903020B2 (ja) * 2018-01-11 2021-07-14 株式会社エフ・シー・シー 動力伝達装置

Cited By (24)

* Cited by examiner, † Cited by third party
Publication number Priority date Publication date Assignee Title
WO2024014283A1 (ja) 2022-07-15 2024-01-18 株式会社エフ・シー・シー クラッチ装置および自動二輪車
WO2024014284A1 (ja) 2022-07-15 2024-01-18 株式会社エフ・シー・シー クラッチ装置および自動二輪車
US11946513B1 (en) 2022-09-13 2024-04-02 Kabushiki Kaisha F.C.C. Clutch device and motorcycle
JP7403620B1 (ja) 2022-09-13 2023-12-22 株式会社エフ・シー・シー クラッチ装置および自動二輪車並びにプレッシャプレートの製造方法
JP7203271B1 (ja) 2022-09-13 2023-01-12 株式会社エフ・シー・シー クラッチ装置および自動二輪車並びにプレッシャプレートの製造方法
US11933369B1 (en) 2022-09-13 2024-03-19 Kabushiki Kaisha F.C.C. Clutch device, motorcycle, and method for producing pressure plate
EP4339474A1 (en) 2022-09-13 2024-03-20 Kabushiki Kaisha F.C.C. Clutch device, motorcycle, and method for producing pressure plate
WO2024058174A1 (ja) 2022-09-13 2024-03-21 株式会社エフ・シー・シー クラッチ装置および自動二輪車並びにプレッシャプレートの製造方法
JP2024040959A (ja) * 2022-09-13 2024-03-26 株式会社エフ・シー・シー クラッチ装置および自動二輪車並びにプレッシャプレートの製造方法
JP2024041020A (ja) * 2022-09-13 2024-03-26 株式会社エフ・シー・シー クラッチ装置および自動二輪車並びにプレッシャプレートの製造方法
US11940013B1 (en) 2022-09-13 2024-03-26 Kabushiki Kaisha F.C.C. Clutch device and motorcycle
WO2024070742A1 (ja) 2022-09-28 2024-04-04 株式会社エフ・シー・シー クラッチ装置および自動二輪車
US11859674B1 (en) 2022-09-28 2024-01-02 Kabushiki Kaisha F.C.C. Clutch device and motorcycle
WO2024214479A1 (ja) 2023-04-14 2024-10-17 株式会社エフ・シー・シー クラッチ装置
JPWO2024214479A1 (ja) * 2023-04-14 2024-10-17
JP2024177495A (ja) * 2023-04-14 2024-12-19 株式会社エフ・シー・シー クラッチ装置
JP2025036743A (ja) * 2023-04-14 2025-03-14 株式会社エフ・シー・シー クラッチ装置
JP2025036742A (ja) * 2023-04-14 2025-03-14 株式会社エフ・シー・シー クラッチ装置
JP7651051B2 (ja) 2023-04-14 2025-03-25 株式会社エフ・シー・シー クラッチ装置
JP7696519B2 (ja) 2023-04-14 2025-06-20 株式会社エフ・シー・シー クラッチ装置
JP7715961B1 (ja) 2023-04-14 2025-07-30 株式会社エフ・シー・シー クラッチ装置
JP2025116209A (ja) * 2023-04-14 2025-08-07 株式会社エフ・シー・シー クラッチ装置
JP7727134B2 (ja) 2023-04-14 2025-08-20 株式会社エフ・シー・シー クラッチ装置
WO2025126779A1 (ja) * 2023-12-15 2025-06-19 株式会社エフ・シー・シー クラッチ装置

Also Published As

Publication number Publication date
CN110998120A (zh) 2020-04-10
BR112020001756A2 (pt) 2020-07-21
US11391328B2 (en) 2022-07-19
EP3660348B1 (en) 2023-04-19
WO2019022190A1 (ja) 2019-01-31
JP2019027483A (ja) 2019-02-21
EP3660348A1 (en) 2020-06-03
TWI769277B (zh) 2022-07-01
TW201923246A (zh) 2019-06-16
EP3660348B9 (en) 2023-07-05
EP3660348A4 (en) 2021-03-10
CN110998120B (zh) 2021-10-08
US20200158194A1 (en) 2020-05-21

Similar Documents

Publication Publication Date Title
JP6894792B2 (ja) 動力伝達装置
JP5995439B2 (ja) 動力伝達装置
JP6890150B2 (ja) 動力伝達装置
JP4452301B2 (ja) 動力伝達装置
JP6166720B2 (ja) 動力伝達装置
JP6961427B2 (ja) 動力伝達装置
JP7231333B2 (ja) クラッチ装置
JP6603143B2 (ja) 動力伝達装置
JP6498722B2 (ja) クラッチ装置
JP2005325993A (ja) 動力伝達装置
JP4527055B2 (ja) 動力伝達装置
JP2009063023A (ja) 動力伝達装置
WO2019139044A1 (ja) 動力伝達装置
JP6596180B2 (ja) クラッチ装置
WO2019139045A1 (ja) 動力伝達装置
JP7481420B2 (ja) クラッチ装置
JP2006132744A (ja) 動力伝達装置
WO2007088766A1 (ja) 動力伝達装置
JP7429484B2 (ja) クラッチ装置
JP4364170B2 (ja) 動力伝達装置
JP7252405B1 (ja) クラッチ装置および自動二輪車
JP2008039192A (ja) 動力伝達装置
JP5324345B2 (ja) 動力伝達装置

Legal Events

Date Code Title Description
A621 Written request for application examination

Free format text: JAPANESE INTERMEDIATE CODE: A621

Effective date: 20200310

A131 Notification of reasons for refusal

Free format text: JAPANESE INTERMEDIATE CODE: A131

Effective date: 20210319

A521 Request for written amendment filed

Free format text: JAPANESE INTERMEDIATE CODE: A523

Effective date: 20210423

TRDD Decision of grant or rejection written
A01 Written decision to grant a patent or to grant a registration (utility model)

Free format text: JAPANESE INTERMEDIATE CODE: A01

Effective date: 20210528

A61 First payment of annual fees (during grant procedure)

Free format text: JAPANESE INTERMEDIATE CODE: A61

Effective date: 20210604

R150 Certificate of patent or registration of utility model

Ref document number: 6894792

Country of ref document: JP

Free format text: JAPANESE INTERMEDIATE CODE: R150

R250 Receipt of annual fees

Free format text: JAPANESE INTERMEDIATE CODE: R250

R250 Receipt of annual fees

Free format text: JAPANESE INTERMEDIATE CODE: R250