JP6604792B2 - 送風装置 - Google Patents

送風装置 Download PDF

Info

Publication number
JP6604792B2
JP6604792B2 JP2015184075A JP2015184075A JP6604792B2 JP 6604792 B2 JP6604792 B2 JP 6604792B2 JP 2015184075 A JP2015184075 A JP 2015184075A JP 2015184075 A JP2015184075 A JP 2015184075A JP 6604792 B2 JP6604792 B2 JP 6604792B2
Authority
JP
Japan
Prior art keywords
introduction port
outside air
air
air introduction
casing
Prior art date
Legal status (The legal status is an assumption and is not a legal conclusion. Google has not performed a legal analysis and makes no representation as to the accuracy of the status listed.)
Active
Application number
JP2015184075A
Other languages
English (en)
Other versions
JP2017056864A (ja
Inventor
和己 藤本
努 山本
Current Assignee (The listed assignees may be inaccurate. Google has not performed a legal analysis and makes no representation or warranty as to the accuracy of the list.)
Japan Climate Systems Corp
Original Assignee
Japan Climate Systems Corp
Priority date (The priority date is an assumption and is not a legal conclusion. Google has not performed a legal analysis and makes no representation as to the accuracy of the date listed.)
Filing date
Publication date
Application filed by Japan Climate Systems Corp filed Critical Japan Climate Systems Corp
Priority to JP2015184075A priority Critical patent/JP6604792B2/ja
Priority to PCT/JP2016/003210 priority patent/WO2017046985A1/ja
Priority to EP16845865.1A priority patent/EP3335918B1/en
Publication of JP2017056864A publication Critical patent/JP2017056864A/ja
Application granted granted Critical
Publication of JP6604792B2 publication Critical patent/JP6604792B2/ja
Active legal-status Critical Current
Anticipated expiration legal-status Critical

Links

Images

Classifications

    • BPERFORMING OPERATIONS; TRANSPORTING
    • B60VEHICLES IN GENERAL
    • B60HARRANGEMENTS OF HEATING, COOLING, VENTILATING OR OTHER AIR-TREATING DEVICES SPECIALLY ADAPTED FOR PASSENGER OR GOODS SPACES OF VEHICLES
    • B60H1/00Heating, cooling or ventilating [HVAC] devices
    • B60H1/00007Combined heating, ventilating, or cooling devices
    • B60H1/00021Air flow details of HVAC devices
    • B60H1/00064Air flow details of HVAC devices for sending air streams of different temperatures into the passenger compartment
    • BPERFORMING OPERATIONS; TRANSPORTING
    • B60VEHICLES IN GENERAL
    • B60HARRANGEMENTS OF HEATING, COOLING, VENTILATING OR OTHER AIR-TREATING DEVICES SPECIALLY ADAPTED FOR PASSENGER OR GOODS SPACES OF VEHICLES
    • B60H1/00Heating, cooling or ventilating [HVAC] devices
    • B60H1/00007Combined heating, ventilating, or cooling devices
    • B60H1/00021Air flow details of HVAC devices
    • B60H2001/00078Assembling, manufacturing or layout details
    • B60H2001/00085Assembling, manufacturing or layout details of air intake
    • BPERFORMING OPERATIONS; TRANSPORTING
    • B60VEHICLES IN GENERAL
    • B60HARRANGEMENTS OF HEATING, COOLING, VENTILATING OR OTHER AIR-TREATING DEVICES SPECIALLY ADAPTED FOR PASSENGER OR GOODS SPACES OF VEHICLES
    • B60H1/00Heating, cooling or ventilating [HVAC] devices
    • B60H1/00007Combined heating, ventilating, or cooling devices
    • B60H1/00021Air flow details of HVAC devices
    • B60H2001/00114Heating or cooling details
    • B60H2001/00135Deviding walls for separate air flows
    • BPERFORMING OPERATIONS; TRANSPORTING
    • B60VEHICLES IN GENERAL
    • B60HARRANGEMENTS OF HEATING, COOLING, VENTILATING OR OTHER AIR-TREATING DEVICES SPECIALLY ADAPTED FOR PASSENGER OR GOODS SPACES OF VEHICLES
    • B60H3/00Other air-treating devices
    • B60H3/06Filtering
    • B60H3/0608Filter arrangements in the air stream

Landscapes

  • Physics & Mathematics (AREA)
  • Thermal Sciences (AREA)
  • Engineering & Computer Science (AREA)
  • Mechanical Engineering (AREA)
  • Air-Conditioning For Vehicles (AREA)

Description

本発明は、空調用空気を送風する送風装置に関するものであり、特に、車両に搭載され、車室内の空気と車室外の空気を送風する構造の技術分野に属する。
一般に、車両用空調装置は、冷却用熱交換器及び加熱用熱交換器の他、これら熱交換器に空調用空気を送風するための送風装置を備えており、送風装置によって送風された空調用空気を冷却用熱交換器及び加熱用熱交換器によって温度調節した後、車室の各部に供給するように構成されている(例えば、特許文献1参照)。
特許文献1の送風装置は、車室外の空気を導入する外気導入口と車室内の空気を導入する内気導入口とが形成されたケーシングを備えている。ケーシングには、外気導入口を開閉する外気ドアと、内気導入口を開閉する内気ドアと、ケーシングの内部を仕切って外気導入口側の空間と内気取入口側の空間とに区画するための通路仕切ドアとが設けられている。さらに、ケーシング内には、外気側独立通路と内気側独立通路とが形成されており、外気側独立通路及び内気側独立通路にはそれぞれ送風ファンが配設され、これら送風ファンは共通のモーターによって駆動されるようになっている。
この送風装置では、外気ドア、内気ドア及び通路仕切ドアの開閉動作により、車室外の空気のみを導入する外気導入モード、車室内の空気のみを導入する内気導入モードの他に、両方の空気を導入する内外気二層流モードにも切り替えられる。内外気二層流モードでは、外気を外気側独立通路に流す一方、内気を内気側独立通路に流すようになっている。この内外気二層流モードは、特に冬場において外気側独立通路を流れる車室外の乾燥した空気をフロントウインドの内面に供給してフロントウインドの曇りを防止しながら、内気側独立通路によって車室内の比較的暖かい空気を循環させて暖房効率を向上させることができる点で有効である。
特開2013−78979号公報
ところで、内外気二層流モードを有する送風装置の場合、車室外の空気と車室内の空気の両方をケーシングに導入して流すことになるので、該ケーシングの内部に外気側独立通路及び内気側独立通路を形成する必要がある。特許文献1では、2つの通路として上層通路と下層通路とがケーシングの内部で上下に並ぶように形成されており、それぞれに送風ファンを配設しているため、送風装置の高さを高くせざるを得ず、例えばインストルメントパネルの内部に送風装置を配設する際に、インストルメントパネル内の他の部品等との関係においてレイアウトの自由度が低下するという問題がある。
このことに対して、外気導入口や内気導入口を小さくすることによってケーシングの小型化を図ることが考えられるが、そのようにした場合には、外気導入口や内気導入口の開口面積が狭くなって通気抵抗が増大し、ひいては送風量の低下を招く。
本発明は、かかる点に鑑みてなされたものであり、その目的とするところは、内外気二層流モードを有する送風装置の高さを送風量の低下を招くことなく低くし、送風装置のレイアウト自由度を向上させることにある。
上記目的を達成するために、本発明では、外気導入口及び内気導入口をケーシングの車両前後方向に延びるように形成し、内外気切替ドアの回動軸を車両前後方向に延びるものとした。
第1の発明は、
車室外の空気を空調用空気として導入する外気導入口と、車室内の空気を空調用空気として導入する内気導入口とが形成されたケーシングと、
上記外気導入口及び上記内気導入口を開閉する内外気切替ドアと、
上記内外気切替ドアを駆動するドア駆動装置とを備え、
車両に搭載されて上記空調用空気を送風する送風装置において、
上記ケーシングは、車両前後方向の中間部において前側ケーシング部材と後側ケーシング部材とに分割され、
上記ケーシングの上部には、上記外気導入口に連通する外気導入ダクト部が上方へ突出するとともに車両前側へ延びるように設けられ、
上記外気導入口及び上記内気導入口は、上記ケーシングの車両前後方向に延びるように形成され、
上記内外気切替ドアは、車両前後方向に延びるとともに上記ケーシングに回動可能に支持される回動軸を有し、該回動軸には、上記外気導入口及び上記内気導入口を開閉する開閉板部が設けられ、
上記後側ケーシング部材における車両後側の壁部には、上記空調用空気を濾過するためのフィルタを上記ケーシングの内部に挿入するためのフィルタ挿入孔が上記回動軸よりも下に形成され、
上記ドア駆動装置は、上記内外気切替ドアの上記回動軸に連結されるとともに上記後側ケーシング部材における車両後側の壁部に取り付けられ、該ドア駆動装置の下端部は、上記フィルタ挿入孔の上縁部よりも上に位置付けられ、
上記送風装置の内部には、上記外気導入口及び上記内気導入口に連通し、空調用空気が流通する第1通路と第2通路とが上下に並ぶように形成され、
上記第1通路及び上記第2通路には、上記空調用空気を送風する第1ファン及び第2ファンが配設されていることを特徴とする。
すなわち、送風装置の車幅方向の側方には空調装置を構成する熱交換器等が配設される場合がある。この場合、送風装置の車両前方や後方には比較的余裕のあるスペースを作ることができ、ケーシングの車両前後方向の寸法を長く確保することが可能になる。本発明では、外気導入口及び内気導入口がケーシングの車両前後方向に延びているので、外気導入口及び内気導入口の上下方向の寸法を短くして送風装置の高さの低減を図る場合に、外気導入口及び内気導入口の車両前後方向の寸法を十分に長く確保して開口面積を広くすることが可能になる。
また、比較的スペースに余裕のあるケーシングの車両後方にドア駆動装置が配設されることになるので、ドア駆動装置のレイアウト自由度が向上する。
また、後側ケーシング部材の後側の壁部にフィルタ挿入孔を形成したことで、フィルタを交換する際には車両後側、つまり、車室の乗員側から容易に交換することが可能になる。
また、ドア駆動装置がケーシングの乗員側に取り付けられる。そして、このドア駆動装置の下端部がフィルタ挿入孔の上縁部よりも上に位置付けられるので、フィルタを交換する際にフィルタがドア駆動装置と干渉することはなく、交換作業性が良好になる。
の発明は、第の発明において、
上記外気導入口及び上記内気導入口が上記ケーシングの車両左右方向に並ぶように形成され、
上記内外気切替ドアの上記回動軸は、上記外気導入口及び上記内気導入口の間に配置されていることを特徴とする。
この構成によれば、内外気切替ドアの回動軸が外気導入口及び内気導入口の間で車両前後方向に延びているので、内外気切替ドアが回動軸周りに車両左右方向に回動し、これにより、外気導入口及び内気導入口が開閉される。
の発明は、第1または2の発明において、
上記内気導入口は、上記ケーシングの車両左側及び右側の少なくとも一方に開口するように形成されていることを特徴とする。
この構成によれば、内気導入口が車室側に向けて開口しなくなるので、例えば外気導入口と内気導入口の両方を開いた状態にあるときに、車室外の音が内気導入口から車室の乗員側に届きにくくなる。
の発明は、第の発明において、
上記内気導入口は、上記ケーシングの車両左側及び右側にそれぞれ開口するように形成され、
上記外気導入口は、上記ケーシングにおける車両左側の上記内気導入口と、車両右側の上記内気導入口との間に形成されていることを特徴とする。
この構成によれば、外気導入口をケーシングにおける車両左右方向の中央部に形成することが可能になる。これにより、外気がケーシングの左右方向中央部からスムーズに導入される。
第1の発明によれば、送風装置の内部に、外気導入口及び内気導入口に連通する第1通路と第2通路とを上下に並ぶように形成し、第1通路及び第2通路に第1ファン及び第2ファンを配設したので、内外気二層流モードを有する送風装置とすることができる。そして、外気導入口及び内気導入口をケーシングの車両前後方向に延びるように形成し、外気導入口及び内気導入口を開閉する内外気切替ドアが車両前後方向に延びる回動軸を有している。これにより、外気導入口及び内気導入口の上下方向の寸法を短くすることによって送風装置の高さを低減して送風装置のレイアウト自由度を向上させる場合に、外気導入口及び内気導入口の車両前後方向の寸法を十分に長く確保して開口面積を広くすることができ、送風量の低下を抑制できる。
また、ドア駆動装置を、比較的スペースに余裕のあるケーシングの車両後方に配設できるので、ドア駆動装置のレイアウト自由度を向上させることができる。
また、後側ケーシング部材における車両後側の壁部にフィルタ挿入孔を形成したので、フィルタを車室の乗員側から容易に交換することができる。
また、ドア駆動装置を後側ケーシング部材における車両後側の壁部に取り付け、ドア駆動装置の下端部をフィルタ挿入孔の上縁部よりも上に位置付けたので、交換作業時のフィルタがドア駆動装置と干渉するのを防止でき、交換作業性を良好にすることができる。
の発明によれば、外気導入口及び内気導入口をケーシングの車両左右方向に並ぶように形成し、内外気切替ドアの回動軸を外気導入口及び内気導入口の間に配置したので、内外気切替ドアを車両左右方向に回動させることによって外気導入口及び内気導入口を開閉することができる。
の発明によれば、内気導入口がケーシングの車両左側及び右側の少なくとも一方に開口しているので、内気導入口が車室側に向けて開口しなくなる。これにより、外気導入口と内気導入口の両方を開いたときに、車室外の音が内気導入口から車室の乗員側に届きにくくなり、車室の静粛性を高めることができる。
の発明によれば、外気導入口を、ケーシングにおける車両左側の内気導入口と右側の内気導入口との間に形成したので、外気をケーシングの左右方向中央部からスムーズに導入することができ、外気導入時の風量を十分に確保することができる。また、内気は、ケーシングの車両左右両側からそれぞれ導入することができるので、内気導入時の風量も十分に確保することができる。
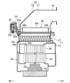
実施形態に係る送風装置を車両後側から見た斜視図である。 内外気切替部の分解斜視図である。 図1におけるIII−III線断面図である。 図1におけるIV−IV線断面図であり、外気導入モードにある場合を示す。 内気導入モードにある場合の図4相当図である。 内外気導入モードにある場合の図4相当図である。 内外気二層流モードにある場合の図4相当図である。
以下、本発明の実施形態を図面に基づいて詳細に説明する。尚、以下の好ましい実施形態の説明は、本質的に例示に過ぎず、本発明、その適用物或いはその用途を制限することを意図するものではない。
図1は、本発明の実施形態に係る車両用送風装置1を車両後側、かつ、右上方から見た斜視図である。この実施形態の説明では、車両前側を単に「前」といい、車両後側を単に「後」といい、車両左側を単に「左」といい、車両右側を単に「右」というものとする。
送風装置1は、自動車の車室前端部に配設されているインストルメントパネル(図示せず)の内部に収容されており、図示しないが空調ユニットとともに車両に搭載される車両用空調装置を構成している。送風装置1は車体の左右方向中央部よりも右寄りに配設されている。空調ユニットは、車体の左右方向中央部に配設されている。また、図示しないが、インストルメントパネルにはナビゲーション装置や助手席エアバッグ装置等も配設されている。
空調ユニットは、図示しないが、冷却用熱交換器及び加熱用熱交換器と、温度調節用ダンパと、吹出方向切替用ダンパと、これらを収容するケーシングとを備えている。そして、送風装置1から送風された空調用空気を冷却用熱交換器、加熱用熱交換器及び温度調節用ダンパによって温度調節した後、吹出方向切替用ダンパの動作によって車室の各部に供給することができるように構成されている。この空調ユニットの構成は従来周知のものであるため、詳細な説明は省略する。
(送風装置の全体構成)
送風装置1は、内外気切替部2と、送風部3とを有している。内外気切替部2は、送風装置1の略上半部を構成しており、また、送風部3は、送風装置1の略下半部を構成している。内外気切替部2は、詳細は後述するが、車室外の空気と車室内の空気の一方を導入するモードや、両方を導入するモード等に切り替えるためのものである。送風部3は、内外気切替部2から導入された空調用空気を空調ユニットに送風するためのものである。
(内外気切替部の構成)
次に内外気切替部2の構成について説明する。図2〜図3に示すように、内外気切替部2は、ケーシング10と、左側内外気切替ドア20と、右側内外気切替ドア21と、ドア駆動装置23と、フィルタ24とを備えている。ケーシング10は、該ケーシング10の前後方向中間部において前側ケーシング部材11と、後側ケーシング部材12とに分割されている。前側ケーシング部材11と後側ケーシング部材12は共に樹脂材を成形してなるものであり、互いに締結部材等によって締結されて一体化している。このように分割箇所を設定することで、前側ケーシング部材11の前側の壁部及び後側ケーシング部材12の後側の壁部には継ぎ目がなくなるので、該各壁部の強度を高めることができる。
ケーシング10の上部の左側には、左側内気導入口10aが該ケーシング10の前後方向に延びるように、かつ、該ケーシング10の左側に開口するように形成されている。左側内気導入口10aは、ケーシング10の前端部から後端部に亘って開口している。また、ケーシング10の上部の右側には、右側内気導入口10bが該ケーシング10の前後方向に延びるように、かつ、該ケーシング10の右側に開口するように形成されている。右側内気導入口10bは、ケーシング10の前端部から後端部に亘って開口している。
この実施形態では、インストルメントパネル内に空調ユニットが送風装置1の側方に並ぶように配設されているので、送風装置1の左右方向両側にはスペースの余裕が殆どなく、送風装置1の左右方向の寸法を短くする必要があり、左右方向に拡大することができない。一方、送風装置1の前後方向には比較的スペースの余裕があるので、送風装置1の前後方向の寸法は長くすることができる。この送風装置1の前後方向に延びるように左側内気導入口10a及び右側内気導入口10bを形成することで、左側内気導入口10a及び右側内気導入口10bの開口面積を十分に広く確保しながら、左側内気導入口10a及び右側内気導入口10bの上下方向の寸法を短くすることができるようになっている。
左側内気導入口10a及び右側内気導入口10bは、車室内に開口するとともに、車室内空間に連通している。従って、左側内気導入口10a及び右側内気導入口10bは車室内の空気を空調用空気として導入する開口である。
ケーシング10の内部には、該ケーシング10の内部を左右方向に2つに仕切るための上側仕切壁13が設けられている。上側仕切壁13は、上下方向に延びるとともに、前後方向にも延びており、上側仕切壁13の前端部は、ケーシング10の前側の壁部の内面と一体化し、上側仕切壁13の後側の端部は、ケーシング10の後側の壁部の内面と一体化している。
上側仕切壁13の上部は左側へ突出している。そして、ケーシング10の上部における上側仕切壁13の上方には、左側外気導入口10cと、右側外気導入口10dとが形成されている。左側外気導入口10c及び右側外気導入口10dは、上側仕切板13に沿ってケーシングの車両前後方向に延びるように、かつ、上方に向けて開口するように形成されている。左側外気導入口10c及び右側外気導入口10dは、ケーシング10の前端部から後端部に亘って開口している。
上述したように送風装置1の前後方向の寸法を長くすることができるので、左側外気導入口10c及び右側外気導入口10dの開口面積を十分に広く確保しながら、左側外気導入口10c及び右側外気導入口10dの上下方向の寸法を短くすることができるようになっている。
左側外気導入口10c及び右側外気導入口10dは、ケーシング10における左側内気導入口10aと右側内気導入口10bとの間で、互いに左右に隣り合うように形成されることになり、ケーシング10の上壁部において左右方向の略中央部に開口する。従って、左側内気導入口10a、左側外気導入口10c、右側外気導入口10d及び右側内気導入口10bは、ケーシング10の上壁部において左右方向に並ぶように形成されることになる。
ケーシング10の上部には、左側外気導入口10c及び右側外気導入口10dに連通する外気導入ダクト部14が設けられている。外気導入ダクト部14は、ケーシング10の上壁部において、左側内気導入口10aと右側内気導入口10bとの間の部位から上方へ突出するとともに、前側へ延びており、その前端部において開口している。外気導入ダクト部14の断面積は、前側へ行くに従って拡大している。
外気導入ダクト部14の後部は、後側ケーシング部材12に一体成形される。また、外気導入ダクト部14の前部は、前側ケーシング部材11に一体成形される。外気導入ダクト部14の前端部の開口は、図示しないが車体に設けられたカウルの外気取入口に接続されている。従って、左側外気導入口10c及び右側外気導入口10dは、車室外の空気を空調用空気として導入する開口である。
左側内外気切替ドア20は、左側内気導入口10aと左側外気導入口10cを開閉するためのロータリーダンパであり、前後方向に延びるとともにケーシング10の前側の壁部及び後側の壁部に回動可能に支持される回動軸20aを有している。左側内外気切替ドア20の回動軸20aは、左側内気導入口10a及び左側外気導入口10cの間に配置されている。左側内外気切替ドア20の回動軸20aには、軸方向の両側(前側及び後側)に径方向に突出する端壁部20bがそれぞれ設けられている。端壁部20b、20bの突出方向先端部には、両端壁部20b、20bを連結するように軸方向に延びる開閉板部20cが設けられている。左側内外気切替ドア20が回動軸20a周りに回動することにより、開閉板部20cが左側内気導入口10a及び左側外気導入口10cを開閉する。
右側内外気切替ドア21は、右側内気導入口10bと右側外気導入口10dを開閉するためのロータリーダンパであり、前後方向に延びるとともにケーシング10の前側の壁部及び後側の壁部に回動可能に支持される回動軸21aを有している。右側内外気切替ドア21の回動軸21aは、左側内外気切替ドア20の回動軸20aと略平行に延びており、右側内気導入口10bと右側外気導入口10dの間に配置されている。右側内外気切替ドア21の回動軸21aには、軸方向の両側(前側及び後側)に径方向に突出する端壁部21bがそれぞれ設けられている。端壁部21b、21bの突出方向先端部には、両端壁部21b、21bを連結するように軸方向に延びる開閉板部21cが設けられている。右側内外気切替ドア21が回動軸21a周りに回動することにより、開閉板部21cが右側内気導入口10bと右側外気導入口10dを開閉する。
この実施形態では、左側内気導入口10aと左側外気導入口10cを開閉する左側内外気切替ドア20と、右側内気導入口10bと右側外気導入口10dを開閉する右側内外気切替ドア21とを設けているので、左側内気導入口10aと左側外気導入口10cの開閉と、右側内気導入口10bと右側外気導入口10dの開閉とを独立して行うことができる。
尚、左側内外気切替ドア20及び右側内外気切替ドア21は、ロータリーダンパ以外にも板ダンパ等で構成してもよい。
図4に示すように、左側内外気切替ドア20が左側内気導入口10aを全閉にし、かつ、左側外気導入口10cを全開にし、右側内外気切替ドア21が右側内気導入口10bを全閉にし、かつ、右側外気導入口10dを全開にすると、外気のみが空調用空気として導入される外気導入モードとなる。
図5に示すように、左側内外気切替ドア20が左側内気導入口10aを全開にし、かつ、左側外気導入口10cを全閉にし、右側内外気切替ドア21が右側内気導入口10bを全開にし、かつ、右側外気導入口10dを全閉にすると、内気のみが空調用空気として導入される内気導入モードとなる。
図6に示すように、左側内外気切替ドア20が左側内気導入口10a及び左側外気導入口10cを開き、右側内外気切替ドア21が右側内気導入口10b及び右側外気導入口10dを開くと、外気と内気の両方が空調用空気として導入される内外気導入モードとなる。
図7に示すように、左側内外気切替ドア20が左側内気導入口10aを全閉にし、かつ、左側外気導入口10cを全開にし、右側内外気切替ドア21が右側内気導入口10bを全開にし、かつ、右側外気導入口10dを全閉にすると、ケーシング10の左側には外気が導入され、右側には内気が導入される内外気二層流モードとなる。
図1に示すドア駆動装置23は、左側内外気切替ドア20及び右側内外気切替ドア21を駆動する電動アクチュエータで構成されている。ドア駆動装置23は、ケーシング10の後側の壁部に締結部材等によって着脱可能に取り付けられている。
図2及び図3に示すように、ドア駆動装置23の出力軸は、リンク機構25を介して左側内外気切替ドア20の回動軸20a及び右側内外気切替ドア21の回動軸21aに連結されている。リンク機構25は、1つの出力を左側内外気切替ドア20の回動軸20a及び右側内外気切替ドア21の回動軸21aに伝達するように構成されており、基本的な構造は従来から周知のものである。すなわち、リンク機構25は、左側内外気切替ドア20の回動軸20aの後端部に固定されて径方向に突出する第1リンク25aと、右側内外気切替ドア21の回動軸21aの後端部に固定されて径方向に突出する第2リンク25bと、第1リンク25a及び第2リンク25bに係合するカム溝(図示せず)が形成されたメインリンク25cとを有している。メインリンク25cは、ケーシング10の後側の壁部の上部に後方へ突出するように形成された軸部10eに対して回動可能に支持されている。ドア駆動装置23は、メインリンク25cを軸部10e周りに回動させるように構成されている。
メインリンク25cには、第1リンク25aが係合するカム溝と、第2リンク25bが係合するカム溝とがそれぞれ形成されており、これらカム溝の形状によって第1リンク25a及び第2リンク25bを個別に動かすことができるようになっている。そして、ドア駆動装置23を作動させてメインリンク25cを回動させると、左側内外気切替ドア20及び右側内外気切替ドア21が回動して、図4に示す外気導入モード、図5に示す内気導入モード、図6に示す内外気導入モード及び図7に示す内外気二層流モードに適宜切り替えられる。尚、図6に示す内外気導入モードでは、左側内外気切替ドア20及び右側内外気切替ドア21の回動角度を微妙に変えて内気導入量と外気導入量を変更することができるようになっている。
尚、この実施形態では、ドア駆動装置23及びリンク機構25をケーシング10の後側の壁部に取り付けているが、これに限らず、ケーシング10の前側の壁部に取り付けてもよい。この場合、リンク機構25の第1リンク25aを左側内外気切替ドア20の回動軸20aの前端部に固定し、また、第2リンク25bを右側内外気切替ドア21の回動軸21aの前端部に固定すればよい。
ドア駆動装置23は、図示しないが空調制御装置に接続されて該空調制御装置によって制御される。空調制御装置は、車室内温度、車室外温度、乗員の設定温度、車室内の湿度等を各種センサで検出し、その検出結果に基づいて所定の演算を行い、演算結果に従ってドア駆動装置23を制御する。具体的には、例えば暖房が要求されている時には、図6に示す内外気導入モードや図7に示す内外気二層流モードとなるようにドア駆動装置23を制御する。また、空調制御装置には、乗員によって操作される内外気切替スイッチ(図示せず)も接続されており、内外気切替スイッチの操作状態を検出して乗員が手動で外気導入モードを選択した場合には、図4に示す外気導入モードとなるようにドア駆動装置23を制御し、内気導入モードを選択した場合には、図5に示す内気導入モードとなるようにドア駆動装置23を制御する。また、導入モードを自動制御する場合、例えば冷房時には、冷房効率を考慮して図5に示す内気導入モードとなるようにドア駆動装置23を制御する。
尚、この実施形態では、1つのドア駆動装置23で左側内外気切替ドア20と右側内外気切替ドア21を連動させるようにしているが、これに限らず、図示しないが2つのドア駆動装置23を設けて左側内外気切替ドア20と右側内外気切替ドア21を別のドア駆動装置23で駆動するようにしてもよい。
図2に示すように、ケーシング10の後側の壁部には、空調用空気を濾過するためのフィルタ24をケーシング10の内部に挿入するためのフィルタ挿入孔10fが形成されている。フィルタ挿入孔10fは、左右方向に長い略矩形状に形成されている。フィルタ24は、略水平に延びる板状をなしており、左側内気導入口10a、右側内気導入口10b、左側外気導入口10c及び右側外気導入口10dから導入された空調用空気の全てを濾過する。フィルタ24を構成する濾過材としては、例えば不織布等をプリーツ状に成形したものを使用することができる。フィルタ挿入孔10fの蓋はフィルタ24の外面部(後面部)によって構成されている。これにより、フィルタ24をフィルタ挿入孔10fに挿入することによってフィルタ挿入孔10fを閉塞することができる。また、内外気切替部2の下部は開放されており、この開放部分にフィルタ24が配置される。
また、ドア駆動装置23の下端部は、フィルタ挿入孔10fの上縁部よりも上に位置付けられている。これにより、フィルタ挿入孔10fにフィルタ24を挿入するとき、及びフィルタ挿入孔10fからフィルタ24を抜くときにフィルタ24がドア駆動装置23に干渉することはない。また、同様に、リンク機構25の下端部は、フィルタ挿入孔10fの上縁部よりも上に位置付けられている。
(送風部の構成)
次に送風部3の構成について説明する。図3及び図4に示すように、送風部3は、上側ファン(第1ファン)40及び下側ファン(第2ファン)41と、これら上側ファン40及び下側ファン41を回転駆動するファンモーター43と、上側ファン40及び下側ファン41を収容する樹脂製のスクロールケーシング44とを有している。上側ファン40及び下側ファン41は遠心式ファン(シロッコファン)である。この実施形態では、上側ファン40の直径を下側ファン41の直径よりも若干小さく設定しているが、同じにしてもよい。また、上側ファン40及び下側ファン41を一体にすることも可能である。
スクロールケーシング44が内外気切替部2のケーシング10と結合されている。スクロールケーシング44の上部には、内外気切替部2の下部に連通する連通孔44aが形成されており、内外気切替部2の左側内気導入口10a、右側内気導入口10b、左側外気導入口10c及び右側外気導入口10dからケーシング10の内部に導入された空調用空気は全てスクロールケーシング44に流入するようになっている。
図4に示すように、スクロールケーシング44の上部には、連通孔44aを前後方向に横切るように延びる下側仕切壁44bが形成されている。下側仕切壁44bは、スクロールケーシング44の内部を左右方向に2つに仕切るためのものであり、上下方向に延び、上方から見たとき、内外気切替部2の上側仕切壁13と重複するように配置されている。下側仕切壁44bの前端部は、スクロールケーシング44の前側の壁部の内面と一体化し、下側仕切壁44bの後端部は、スクロールケーシング44の後側の壁部の内面と一体化している。下側仕切壁44bの上端部は、フィルタ24の内部に達している。
スクロールケーシング44の内部には、左側内気導入口10a及び左側外気導入口10cに連通し、空調用空気が流通する上層通路(第1通路)45と、右側内気導入口10b及び右側外気導入口10dに連通し、空調用空気が流通する下層通路(第2通路)46とが上下に並ぶように形成されている。
上層通路45の上端部(上流端部)は、連通孔44aにおける下側仕切壁44bよりも左側の領域に上側ベルマウス開口部44cを介して接続されている。この上層通路45の上流側に、上側ファン40が、その回転中心線を上下方向に向けた状態で配設されている。上側ファン40は、上層通路45の内部の空調用空気を送風するためのものである。上層通路45の下流側は左側へ延びており、上層通路45の下流端部はスクロールケーシング44の左側壁部に開口している。上層通路45の下流端部には空調ユニットが接続されている。上層通路45を流通した空調用空気は、空調ユニットの内部で主にデフロスタ吹出口(フロントウインドの内面)に向けて送風される。
下層通路46の上流端部は、接続通路47を介して連通孔44aにおける下側仕切壁44bよりも右側の領域に接続されている。接続通路47は、連通孔44aの右側の領域からスクロールケーシング44の内部を下方へ延びた後、左側へ延びており、該接続通路47の下流端が下側ベルマウス開口部44dを介して下層通路46に接続されている。この下層通路46の上流側に、下側ファン41が、その回転中心線を上下方向に向けた状態で配設されている。下側ファン41は、下層通路46の内部の空調用空気を送風するためのものである。下側ファン41の回転中心線と上側ファン40の回転中心線とは略一致するように配置されている。また、下層通路46の下流側は上層通路45の下方を左側へ延びており、下層通路46の下流端部はスクロールケーシング44の左側壁部に開口している。下層通路46の下流端部には空調ユニットが接続されている。下層通路46を流通した空調用空気は、空調ユニットの内部で主にヒート吹出口(乗員の足下近傍)に向けて送風される。
ファンモーター43は、スクロールケーシング44の底壁部に取り付けられている。ファンモーター43の出力軸は、スクロールケーシング44の内部へ突出しており、この出力軸には、上側ファン40及び下側ファン41が固定されている。
(実施形態の作用効果)
図4に示す外気導入モードでは、左側外気導入口10c及び右側外気導入口10dが全開になり、矢印で示すように左側外気導入口10c及び右側外気導入口10dから外気のみが空調用空気として導入され、フィルタ24によって濾過される。左側外気導入口10cから導入された外気は、上側ベルマウス開口部44cを通って上層通路45を流通し、右側外気導入口10dから導入された外気は、下側ベルマウス開口部44dを通って下層通路46を流通する。このとき、左側外気導入口10c及び右側外気導入口10dがケーシング10の左右方向の中央部に位置しているので、外気をケーシング10の左右方向中央部からスムーズに導入することができ、送風量を十分に確保することができる。
また、外気導入モードでは、左側内外気切替ドア20の開閉板部20cが左へ回動していて、下側へ行くほど左に位置するように傾斜している。これにより、左側外気導入口10cから導入された外気が左側内外気切替ドア20の開閉板部20cによって下方へ案内されるので、このことによっても外気の流れをスムーズにすることができる。また、右側内外気切替ドア21の開閉板部21cが右へ回動していて、下側へ行くほど右に位置するように傾斜しているので、右側外気導入口10dから導入された外気を右側内外気切替ドア21の開閉板部21cによって下方へ案内することができる。
図5に示す内気導入モードでは、左側内気導入口10a及び右側内気導入口10bが全開になり、矢印で示すように左側内気導入口10a及び右側内気導入口10bから内気のみが空調用空気として導入され、フィルタ24によって濾過される。左側内気導入口10aから導入された内気は、上側ベルマウス開口部44cを通って上層通路45を流通し、右側内気導入口10bから導入された内気は、下側ベルマウス開口部44dを通って下層通路46を流通する。このとき、左側内気導入口10a及び右側内気導入口10bがケーシング10の左右両側にそれぞれ形成されているので、内気の流れをケーシング10の左右方向中央部へ向けることができ、内気をスムーズに導入することができる。
また、内気導入モードでは、左側内外気切替ドア20の開閉板部20cが右へ回動している。これにより、左側内気導入口10aから導入された内気が左側内外気切替ドア20の開閉板部20cによって下方へ案内される。また、右側内外気切替ドア21の開閉板部21cが左へ回動しているので、右側内気導入口10bから導入された内気が右側内外気切替ドア21の開閉板部21cによって下方へ案内される。
図6に示す内外気導入モードでは、左側内気導入口10a、右側内気導入口10b、左側外気導入口10c及び右側外気導入口10dが開き、内気及び外気が空調用空気として導入され、上層通路45及び下層通路46を流通する。このとき、左側内気導入口10a及び右側内気導入口10bがケーシング10の左右両側にそれぞれ形成されているので、左側内気導入口10a及び右側内気導入口10bが車室側(後側)に向けて開口しなくなる。これにより、車室外の音が左側内気導入口10a及び右側内気導入口10bから車室の乗員側に届きにくくなり、車室の静粛性を高めることができる。
また、内外気導入モードでは、外気が上方からケーシング10に流入し、内気が側方からケーシング10に流入するので、ケーシング10に流入する前に外気の流れと内気の流れとが干渉し難くなる。
図7に示す内外気二層流モードでは、左側外気導入口10cから導入された外気が上側ベルマウス開口部44cを通って上層通路45を流通し、右側内気導入口10bから導入された内気が下側ベルマウス開口部44dを通って下層通路46を流通する。矢印で示すように、左側外気導入口10cから導入された外気の流れの方向と、右側内気導入口10bから導入された内気の流れの方向とは略同じ方向となるが、上側仕切壁13及び下側仕切壁44bを設けていることで外気の流れと内気の流れとが干渉し合うことはない。よって、内外気二層流モードで内気と外気をスムーズに流すことができる。
そして、上層通路45を流通した外気はフロントウインドの内面に供給されるので、フロントウインドの曇りを抑制できる。一方、内気は下層通路46を流通させて車室を循環させることができるので、暖房効率を向上させることができる。このモードにおいても、車室外の音が右側内気導入口10bから車室の乗員側に届きにくくなり、車室の静粛性を高めることができる。
さらに、この実施形態では、インストルメントパネルの内部において、送風装置1の左側に空調ユニットが配設されるので、送風装置1の側方にはスペースの余裕が少ない反面、送風装置1の前方や後方には比較的余裕のあるスペースを作ることができるようになっている。これにより、送風装置1のケーシング10の前後方向の寸法を長く確保することができる。そして、左側内気導入口10a、左側外気導入口10c、右側内気導入口10b及び右側外気導入口10dがケーシング10の前後方向に延びているので、左側内気導入口10a、左側外気導入口10c、右側内気導入口10b及び右側外気導入口10dの上下方向の寸法を短くして送風装置1の高さの低減を図る場合に、左側内気導入口10a、左側外気導入口10c、右側内気導入口10b及び右側外気導入口10dの車両前後方向の寸法を十分に長く確保して開口面積を広くすることが可能になる。これにより、送風装置1のレイアウト自由度を向上させながら、送風量の低下を抑制できる。左側内気導入口10a、左側外気導入口10c、右側内気導入口10b及び右側外気導入口10dの上下方向の寸法を短くすることで、左側内外気切替ドア20及び右側内外気切替ドア21の上下方向の寸法も短くできる。
また、ドア駆動装置23を、比較的スペースに余裕のあるケーシング10の後側に配設できるので、ドア駆動装置23のレイアウト自由度を向上させることができる。
また、後側ケーシング部材12における後側の壁部にフィルタ挿入孔10fを形成したので、フィルタ24を車室の乗員側から容易に交換することができる。
また、ドア駆動装置23の下端部をフィルタ挿入孔10fの上縁部よりも上に位置付けたので、交換作業時のフィルタ24がドア駆動装置23と干渉するのを防止でき、交換作業性を良好にすることができる。
また、左側内気導入口10a及び左側外気導入口10cをケーシング10の左右方向に並ぶように形成し、左側内外気切替ドア20の回動軸20aを左側内気導入口10a及び左側外気導入口10cの間に配置したので、左側内外気切替ドア20を左右方向に回動させることによって左側内気導入口10a及び左側外気導入口10cを開閉することができる。
上述の実施形態はあらゆる点で単なる例示に過ぎず、限定的に解釈してはならない。さらに、特許請求の範囲の均等範囲に属する変形や変更は、全て本発明の範囲内のものである。
以上説明したように、本発明に係る送風装置は、車両用空調装置の送風機として利用することができる。
1 送風装置
10 ケーシング
10a 左側内気導入口
10b 右側内気導入口
10c 左側外気導入口
10d 右側外気導入口
10f フィルタ挿入孔
11 前側ケーシング部材
12 後側ケーシング部材
20 左側内外気切替ドア
20a 回動軸
20c 開閉板部
21 右側内外気切替ドア
21a 回動軸
21c 開閉板部
23 ドア駆動装置

Claims (4)

  1. 車室外の空気を空調用空気として導入する外気導入口と、車室内の空気を空調用空気として導入する内気導入口とが形成されたケーシングと、
    上記外気導入口及び上記内気導入口を開閉する内外気切替ドアと、
    上記内外気切替ドアを駆動するドア駆動装置とを備え、
    車両に搭載されて上記空調用空気を送風する送風装置において、
    上記ケーシングは、車両前後方向の中間部において前側ケーシング部材と後側ケーシング部材とに分割され、
    上記ケーシングの上部には、上記外気導入口に連通する外気導入ダクト部が上方へ突出するとともに車両前側へ延びるように設けられ、
    上記外気導入口及び上記内気導入口は、上記ケーシングの車両前後方向に延びるように形成され、
    上記内外気切替ドアは、車両前後方向に延びるとともに上記ケーシングに回動可能に支持される回動軸を有し、該回動軸には、上記外気導入口及び上記内気導入口を開閉する開閉板部が設けられ、
    上記後側ケーシング部材における車両後側の壁部には、上記空調用空気を濾過するためのフィルタを上記ケーシングの内部に挿入するためのフィルタ挿入孔が上記回動軸よりも下に形成され、
    上記ドア駆動装置は、上記内外気切替ドアの上記回動軸に連結されるとともに上記後側ケーシング部材における車両後側の壁部に取り付けられ、該ドア駆動装置の下端部は、上記フィルタ挿入孔の上縁部よりも上に位置付けられ、
    上記送風装置の内部には、上記外気導入口及び上記内気導入口に連通し、空調用空気が流通する第1通路と第2通路とが上下に並ぶように形成され、
    上記第1通路及び上記第2通路には、上記空調用空気を送風する第1ファン及び第2ファンが配設されていることを特徴とする送風装置。
  2. 請求項に記載の送風装置において、
    上記外気導入口及び上記内気導入口が上記ケーシングの車両左右方向に並ぶように形成され、
    上記内外気切替ドアの上記回動軸は、上記外気導入口及び上記内気導入口の間に配置されていることを特徴とする送風装置。
  3. 請求項1または2に記載の送風装置において、
    上記内気導入口は、上記ケーシングの車両左側及び右側の少なくとも一方に開口するように形成されていることを特徴とする送風装置。
  4. 請求項に記載の送風装置において、
    上記内気導入口は、上記ケーシングの車両左側及び右側にそれぞれ開口するように形成され、
    上記外気導入口は、上記ケーシングにおける車両左側の上記内気導入口と、車両右側の上記内気導入口との間に形成されていることを特徴とする送風装置。
JP2015184075A 2015-09-17 2015-09-17 送風装置 Active JP6604792B2 (ja)

Priority Applications (3)

Application Number Priority Date Filing Date Title
JP2015184075A JP6604792B2 (ja) 2015-09-17 2015-09-17 送風装置
PCT/JP2016/003210 WO2017046985A1 (ja) 2015-09-17 2016-07-05 送風装置
EP16845865.1A EP3335918B1 (en) 2015-09-17 2016-07-05 Air blowing device

Applications Claiming Priority (1)

Application Number Priority Date Filing Date Title
JP2015184075A JP6604792B2 (ja) 2015-09-17 2015-09-17 送風装置

Publications (2)

Publication Number Publication Date
JP2017056864A JP2017056864A (ja) 2017-03-23
JP6604792B2 true JP6604792B2 (ja) 2019-11-13

Family

ID=58288492

Family Applications (1)

Application Number Title Priority Date Filing Date
JP2015184075A Active JP6604792B2 (ja) 2015-09-17 2015-09-17 送風装置

Country Status (3)

Country Link
EP (1) EP3335918B1 (ja)
JP (1) JP6604792B2 (ja)
WO (1) WO2017046985A1 (ja)

Families Citing this family (5)

* Cited by examiner, † Cited by third party
Publication number Priority date Publication date Assignee Title
JP6925910B2 (ja) * 2017-08-25 2021-08-25 株式会社ヴァレオジャパン 車両用空調装置のための遠心送風機
KR102428763B1 (ko) * 2017-11-22 2022-08-05 한온시스템 주식회사 차량용 공조장치
JP6961510B2 (ja) * 2018-02-15 2021-11-05 株式会社ヴァレオジャパン 車両用空調装置のための送風ユニット
CN110356190B (zh) * 2018-04-11 2022-12-20 翰昂汽车零部件有限公司 车辆用空调机的送风装置
JP7059952B2 (ja) * 2019-02-05 2022-04-26 株式会社デンソー 車両用空調装置の送風ユニット

Family Cites Families (12)

* Cited by examiner, † Cited by third party
Publication number Priority date Publication date Assignee Title
JPS5724566Y2 (ja) * 1978-06-05 1982-05-28
JPS6231508U (ja) * 1985-08-12 1987-02-25
JPH0688489B2 (ja) * 1985-12-27 1994-11-09 日本電装株式会社 車両用空気調和装置
JP3700258B2 (ja) * 1996-06-26 2005-09-28 株式会社デンソー 車両用空調装置
JP3694990B2 (ja) * 1996-07-02 2005-09-14 株式会社デンソー 車両用空調装置
JPH10272966A (ja) * 1997-03-28 1998-10-13 Mitsubishi Motors Corp インストルメントパネル装置
JP3906570B2 (ja) * 1997-10-08 2007-04-18 株式会社デンソー 車両用空調装置
JP4161457B2 (ja) * 1998-03-25 2008-10-08 株式会社デンソー 車両用空調装置
JP3975566B2 (ja) * 1998-08-04 2007-09-12 株式会社デンソー 車両用空調装置
KR100842210B1 (ko) * 2002-08-29 2008-06-30 한라공조주식회사 블로어 유닛 및 이를 이용한 공기조화장치
JP4618347B2 (ja) * 2008-08-08 2011-01-26 株式会社デンソー 車両用空調装置
JP5482720B2 (ja) * 2011-04-19 2014-05-07 株式会社デンソー 車両用空調装置

Also Published As

Publication number Publication date
JP2017056864A (ja) 2017-03-23
WO2017046985A1 (ja) 2017-03-23
EP3335918A1 (en) 2018-06-20
EP3335918B1 (en) 2020-01-01
EP3335918A4 (en) 2018-10-03

Similar Documents

Publication Publication Date Title
JP4432992B2 (ja) 車両用空調装置
WO2017163631A1 (ja) 車両空調用送風装置
JP6604792B2 (ja) 送風装置
CN105517822A (zh) 空调单元
WO2018096871A1 (ja) 車両用空調装置
WO2014156646A1 (ja) 車両用空調装置
JP2008222041A (ja) 自動車のバッテリ冷却装置
WO2014058009A1 (ja) 車両用空調装置
JP5711982B2 (ja) 車両用空調装置
JP7061842B2 (ja) 車両空調用送風装置
JP6234747B2 (ja) 車両用空調装置
CN106103150B (zh) 车辆用空调装置
CN113928078B (zh) 车辆用空调装置
JP4543361B2 (ja) 自動車用空調装置
JP6259302B2 (ja) 車両用空調装置
JP3700258B2 (ja) 車両用空調装置
JP5527302B2 (ja) 送風装置
JP3694990B2 (ja) 車両用空調装置
KR101572569B1 (ko) 차량용 후석 공조장치
JP5562265B2 (ja) 車両用空調装置
WO2023228647A1 (ja) 車両用空調装置
JP3169060B2 (ja) 車両用空調装置の送風ユニット
JP5140140B2 (ja) 車両用空調装置
JP2018039457A (ja) 車両用空調装置
JP2011218929A (ja) 車両用空気調和装置

Legal Events

Date Code Title Description
A621 Written request for application examination

Free format text: JAPANESE INTERMEDIATE CODE: A621

Effective date: 20180806

A131 Notification of reasons for refusal

Free format text: JAPANESE INTERMEDIATE CODE: A131

Effective date: 20190618

A521 Request for written amendment filed

Free format text: JAPANESE INTERMEDIATE CODE: A523

Effective date: 20190805

TRDD Decision of grant or rejection written
A01 Written decision to grant a patent or to grant a registration (utility model)

Free format text: JAPANESE INTERMEDIATE CODE: A01

Effective date: 20191008

A61 First payment of annual fees (during grant procedure)

Free format text: JAPANESE INTERMEDIATE CODE: A61

Effective date: 20191015

R150 Certificate of patent or registration of utility model

Ref document number: 6604792

Country of ref document: JP

Free format text: JAPANESE INTERMEDIATE CODE: R150

R250 Receipt of annual fees

Free format text: JAPANESE INTERMEDIATE CODE: R250

R250 Receipt of annual fees

Free format text: JAPANESE INTERMEDIATE CODE: R250

R250 Receipt of annual fees

Free format text: JAPANESE INTERMEDIATE CODE: R250

R250 Receipt of annual fees

Free format text: JAPANESE INTERMEDIATE CODE: R250