JP6602913B2 - 表示装置 - Google Patents

表示装置 Download PDF

Info

Publication number
JP6602913B2
JP6602913B2 JP2018089721A JP2018089721A JP6602913B2 JP 6602913 B2 JP6602913 B2 JP 6602913B2 JP 2018089721 A JP2018089721 A JP 2018089721A JP 2018089721 A JP2018089721 A JP 2018089721A JP 6602913 B2 JP6602913 B2 JP 6602913B2
Authority
JP
Japan
Prior art keywords
touch
disposed
line
conductive layer
routing line
Prior art date
Legal status (The legal status is an assumption and is not a legal conclusion. Google has not performed a legal analysis and makes no representation as to the accuracy of the status listed.)
Active
Application number
JP2018089721A
Other languages
English (en)
Other versions
JP2018189964A (ja
Inventor
▲ショウ▼奕 元
▲ミン▼朱 金
宰源 李
相勳 朴
炳厚 金
相▲斤▼ 李
香明 權
政勳 李
Original Assignee
エルジー ディスプレイ カンパニー リミテッド
Priority date (The priority date is an assumption and is not a legal conclusion. Google has not performed a legal analysis and makes no representation as to the accuracy of the date listed.)
Filing date
Publication date
Application filed by エルジー ディスプレイ カンパニー リミテッド filed Critical エルジー ディスプレイ カンパニー リミテッド
Publication of JP2018189964A publication Critical patent/JP2018189964A/ja
Application granted granted Critical
Publication of JP6602913B2 publication Critical patent/JP6602913B2/ja
Active legal-status Critical Current
Anticipated expiration legal-status Critical

Links

Images

Classifications

    • GPHYSICS
    • G06COMPUTING OR CALCULATING; COUNTING
    • G06FELECTRIC DIGITAL DATA PROCESSING
    • G06F3/00Input arrangements for transferring data to be processed into a form capable of being handled by the computer; Output arrangements for transferring data from processing unit to output unit, e.g. interface arrangements
    • G06F3/01Input arrangements or combined input and output arrangements for interaction between user and computer
    • G06F3/03Arrangements for converting the position or the displacement of a member into a coded form
    • G06F3/041Digitisers, e.g. for touch screens or touch pads, characterised by the transducing means
    • G06F3/0412Digitisers structurally integrated in a display
    • GPHYSICS
    • G06COMPUTING OR CALCULATING; COUNTING
    • G06FELECTRIC DIGITAL DATA PROCESSING
    • G06F3/00Input arrangements for transferring data to be processed into a form capable of being handled by the computer; Output arrangements for transferring data from processing unit to output unit, e.g. interface arrangements
    • G06F3/01Input arrangements or combined input and output arrangements for interaction between user and computer
    • G06F3/03Arrangements for converting the position or the displacement of a member into a coded form
    • G06F3/041Digitisers, e.g. for touch screens or touch pads, characterised by the transducing means
    • G06F3/044Digitisers, e.g. for touch screens or touch pads, characterised by the transducing means by capacitive means
    • G06F3/0446Digitisers, e.g. for touch screens or touch pads, characterised by the transducing means by capacitive means using a grid-like structure of electrodes in at least two directions, e.g. using row and column electrodes
    • GPHYSICS
    • G06COMPUTING OR CALCULATING; COUNTING
    • G06FELECTRIC DIGITAL DATA PROCESSING
    • G06F3/00Input arrangements for transferring data to be processed into a form capable of being handled by the computer; Output arrangements for transferring data from processing unit to output unit, e.g. interface arrangements
    • G06F3/01Input arrangements or combined input and output arrangements for interaction between user and computer
    • G06F3/03Arrangements for converting the position or the displacement of a member into a coded form
    • G06F3/041Digitisers, e.g. for touch screens or touch pads, characterised by the transducing means
    • G06F3/0416Control or interface arrangements specially adapted for digitisers
    • G06F3/04164Connections between sensors and controllers, e.g. routing lines between electrodes and connection pads
    • GPHYSICS
    • G06COMPUTING OR CALCULATING; COUNTING
    • G06FELECTRIC DIGITAL DATA PROCESSING
    • G06F3/00Input arrangements for transferring data to be processed into a form capable of being handled by the computer; Output arrangements for transferring data from processing unit to output unit, e.g. interface arrangements
    • G06F3/01Input arrangements or combined input and output arrangements for interaction between user and computer
    • G06F3/03Arrangements for converting the position or the displacement of a member into a coded form
    • G06F3/041Digitisers, e.g. for touch screens or touch pads, characterised by the transducing means
    • G06F3/044Digitisers, e.g. for touch screens or touch pads, characterised by the transducing means by capacitive means
    • GPHYSICS
    • G06COMPUTING OR CALCULATING; COUNTING
    • G06FELECTRIC DIGITAL DATA PROCESSING
    • G06F3/00Input arrangements for transferring data to be processed into a form capable of being handled by the computer; Output arrangements for transferring data from processing unit to output unit, e.g. interface arrangements
    • G06F3/01Input arrangements or combined input and output arrangements for interaction between user and computer
    • G06F3/03Arrangements for converting the position or the displacement of a member into a coded form
    • G06F3/041Digitisers, e.g. for touch screens or touch pads, characterised by the transducing means
    • G06F3/044Digitisers, e.g. for touch screens or touch pads, characterised by the transducing means by capacitive means
    • G06F3/0443Digitisers, e.g. for touch screens or touch pads, characterised by the transducing means by capacitive means using a single layer of sensing electrodes
    • GPHYSICS
    • G09EDUCATION; CRYPTOGRAPHY; DISPLAY; ADVERTISING; SEALS
    • G09GARRANGEMENTS OR CIRCUITS FOR CONTROL OF INDICATING DEVICES USING STATIC MEANS TO PRESENT VARIABLE INFORMATION
    • G09G3/00Control arrangements or circuits, of interest only in connection with visual indicators other than cathode-ray tubes
    • G09G3/20Control arrangements or circuits, of interest only in connection with visual indicators other than cathode-ray tubes for presentation of an assembly of a number of characters, e.g. a page, by composing the assembly by combination of individual elements arranged in a matrix no fixed position being assigned to or needed to be assigned to the individual characters or partial characters
    • G09G3/22Control arrangements or circuits, of interest only in connection with visual indicators other than cathode-ray tubes for presentation of an assembly of a number of characters, e.g. a page, by composing the assembly by combination of individual elements arranged in a matrix no fixed position being assigned to or needed to be assigned to the individual characters or partial characters using controlled light sources
    • G09G3/30Control arrangements or circuits, of interest only in connection with visual indicators other than cathode-ray tubes for presentation of an assembly of a number of characters, e.g. a page, by composing the assembly by combination of individual elements arranged in a matrix no fixed position being assigned to or needed to be assigned to the individual characters or partial characters using controlled light sources using electroluminescent panels
    • G09G3/32Control arrangements or circuits, of interest only in connection with visual indicators other than cathode-ray tubes for presentation of an assembly of a number of characters, e.g. a page, by composing the assembly by combination of individual elements arranged in a matrix no fixed position being assigned to or needed to be assigned to the individual characters or partial characters using controlled light sources using electroluminescent panels semiconductive, e.g. using light-emitting diodes [LED]
    • G09G3/3208Control arrangements or circuits, of interest only in connection with visual indicators other than cathode-ray tubes for presentation of an assembly of a number of characters, e.g. a page, by composing the assembly by combination of individual elements arranged in a matrix no fixed position being assigned to or needed to be assigned to the individual characters or partial characters using controlled light sources using electroluminescent panels semiconductive, e.g. using light-emitting diodes [LED] organic, e.g. using organic light-emitting diodes [OLED]
    • G09G3/3225Control arrangements or circuits, of interest only in connection with visual indicators other than cathode-ray tubes for presentation of an assembly of a number of characters, e.g. a page, by composing the assembly by combination of individual elements arranged in a matrix no fixed position being assigned to or needed to be assigned to the individual characters or partial characters using controlled light sources using electroluminescent panels semiconductive, e.g. using light-emitting diodes [LED] organic, e.g. using organic light-emitting diodes [OLED] using an active matrix
    • G09G3/3233Control arrangements or circuits, of interest only in connection with visual indicators other than cathode-ray tubes for presentation of an assembly of a number of characters, e.g. a page, by composing the assembly by combination of individual elements arranged in a matrix no fixed position being assigned to or needed to be assigned to the individual characters or partial characters using controlled light sources using electroluminescent panels semiconductive, e.g. using light-emitting diodes [LED] organic, e.g. using organic light-emitting diodes [OLED] using an active matrix with pixel circuitry controlling the current through the light-emitting element
    • G09G3/3241Control arrangements or circuits, of interest only in connection with visual indicators other than cathode-ray tubes for presentation of an assembly of a number of characters, e.g. a page, by composing the assembly by combination of individual elements arranged in a matrix no fixed position being assigned to or needed to be assigned to the individual characters or partial characters using controlled light sources using electroluminescent panels semiconductive, e.g. using light-emitting diodes [LED] organic, e.g. using organic light-emitting diodes [OLED] using an active matrix with pixel circuitry controlling the current through the light-emitting element the current through the light-emitting element being set using a data current provided by the data driver, e.g. by using a two-transistor current mirror
    • HELECTRICITY
    • H01ELECTRIC ELEMENTS
    • H01BCABLES; CONDUCTORS; INSULATORS; SELECTION OF MATERIALS FOR THEIR CONDUCTIVE, INSULATING OR DIELECTRIC PROPERTIES
    • H01B1/00Conductors or conductive bodies characterised by the conductive materials; Selection of materials as conductors
    • H01B1/02Conductors or conductive bodies characterised by the conductive materials; Selection of materials as conductors mainly consisting of metals or alloys
    • H01B1/023Alloys based on aluminium
    • HELECTRICITY
    • H01ELECTRIC ELEMENTS
    • H01BCABLES; CONDUCTORS; INSULATORS; SELECTION OF MATERIALS FOR THEIR CONDUCTIVE, INSULATING OR DIELECTRIC PROPERTIES
    • H01B1/00Conductors or conductive bodies characterised by the conductive materials; Selection of materials as conductors
    • H01B1/02Conductors or conductive bodies characterised by the conductive materials; Selection of materials as conductors mainly consisting of metals or alloys
    • H01B1/026Alloys based on copper
    • HELECTRICITY
    • H01ELECTRIC ELEMENTS
    • H01BCABLES; CONDUCTORS; INSULATORS; SELECTION OF MATERIALS FOR THEIR CONDUCTIVE, INSULATING OR DIELECTRIC PROPERTIES
    • H01B5/00Non-insulated conductors or conductive bodies characterised by their form
    • H01B5/14Non-insulated conductors or conductive bodies characterised by their form comprising conductive layers or films on insulating-supports
    • HELECTRICITY
    • H10SEMICONDUCTOR DEVICES; ELECTRIC SOLID-STATE DEVICES NOT OTHERWISE PROVIDED FOR
    • H10KORGANIC ELECTRIC SOLID-STATE DEVICES
    • H10K50/00Organic light-emitting devices
    • H10K50/80Constructional details
    • H10K50/805Electrodes
    • H10K50/81Anodes
    • HELECTRICITY
    • H10SEMICONDUCTOR DEVICES; ELECTRIC SOLID-STATE DEVICES NOT OTHERWISE PROVIDED FOR
    • H10KORGANIC ELECTRIC SOLID-STATE DEVICES
    • H10K50/00Organic light-emitting devices
    • H10K50/80Constructional details
    • H10K50/805Electrodes
    • H10K50/82Cathodes
    • HELECTRICITY
    • H10SEMICONDUCTOR DEVICES; ELECTRIC SOLID-STATE DEVICES NOT OTHERWISE PROVIDED FOR
    • H10KORGANIC ELECTRIC SOLID-STATE DEVICES
    • H10K59/00Integrated devices, or assemblies of multiple devices, comprising at least one organic light-emitting element covered by group H10K50/00
    • H10K59/10OLED displays
    • H10K59/12Active-matrix OLED [AMOLED] displays
    • H10K59/131Interconnections, e.g. wiring lines or terminals
    • HELECTRICITY
    • H10SEMICONDUCTOR DEVICES; ELECTRIC SOLID-STATE DEVICES NOT OTHERWISE PROVIDED FOR
    • H10KORGANIC ELECTRIC SOLID-STATE DEVICES
    • H10K59/00Integrated devices, or assemblies of multiple devices, comprising at least one organic light-emitting element covered by group H10K50/00
    • H10K59/30Devices specially adapted for multicolour light emission
    • H10K59/38Devices specially adapted for multicolour light emission comprising colour filters or colour changing media [CCM]
    • HELECTRICITY
    • H10SEMICONDUCTOR DEVICES; ELECTRIC SOLID-STATE DEVICES NOT OTHERWISE PROVIDED FOR
    • H10KORGANIC ELECTRIC SOLID-STATE DEVICES
    • H10K59/00Integrated devices, or assemblies of multiple devices, comprising at least one organic light-emitting element covered by group H10K50/00
    • H10K59/40OLEDs integrated with touch screens
    • GPHYSICS
    • G06COMPUTING OR CALCULATING; COUNTING
    • G06FELECTRIC DIGITAL DATA PROCESSING
    • G06F2203/00Indexing scheme relating to G06F3/00 - G06F3/048
    • G06F2203/041Indexing scheme relating to G06F3/041 - G06F3/045
    • G06F2203/04103Manufacturing, i.e. details related to manufacturing processes specially suited for touch sensitive devices
    • GPHYSICS
    • G06COMPUTING OR CALCULATING; COUNTING
    • G06FELECTRIC DIGITAL DATA PROCESSING
    • G06F2203/00Indexing scheme relating to G06F3/00 - G06F3/048
    • G06F2203/041Indexing scheme relating to G06F3/041 - G06F3/045
    • G06F2203/04111Cross over in capacitive digitiser, i.e. details of structures for connecting electrodes of the sensing pattern where the connections cross each other, e.g. bridge structures comprising an insulating layer, or vias through substrate
    • GPHYSICS
    • G06COMPUTING OR CALCULATING; COUNTING
    • G06FELECTRIC DIGITAL DATA PROCESSING
    • G06F2203/00Indexing scheme relating to G06F3/00 - G06F3/048
    • G06F2203/041Indexing scheme relating to G06F3/041 - G06F3/045
    • G06F2203/04112Electrode mesh in capacitive digitiser: electrode for touch sensing is formed of a mesh of very fine, normally metallic, interconnected lines that are almost invisible to see. This provides a quite large but transparent electrode surface, without need for ITO or similar transparent conductive material

Landscapes

  • Engineering & Computer Science (AREA)
  • Theoretical Computer Science (AREA)
  • General Engineering & Computer Science (AREA)
  • Physics & Mathematics (AREA)
  • General Physics & Mathematics (AREA)
  • Human Computer Interaction (AREA)
  • Optics & Photonics (AREA)
  • Computer Hardware Design (AREA)
  • Microelectronics & Electronic Packaging (AREA)
  • Computer Networks & Wireless Communication (AREA)
  • Electroluminescent Light Sources (AREA)
  • Devices For Indicating Variable Information By Combining Individual Elements (AREA)
  • Optical Filters (AREA)

Description

本発明は表示装置及びその製造方法に関するもので、特に工程の簡素化及びコストの節減が可能な表示装置に関するものである。
タッチスクリーンは表示装置などの画面に現れた指示内容を人の手又は物体で選択して使用者の命令を入力することができるようにした入力装置である。すなわち、タッチスクリーンは人の手又は物体に直接接触した接触位置を電気的信号に変換し、接触位置で選択された指示内容を入力信号として受け取る。このようなタッチスクリーンはキーボードやマウスのように表示装置に連結されて動作する付加の入力装置を取り替えることができるので、その利用範囲が徐々に広がっている趨勢である。
このようなタッチスクリーンは一般的に液晶表示パネル又は有機電界発光表示パネルのような表示パネルの前面に接着剤を介して付着される場合が多い。この場合、タッチスクリーンが別に製作されて表示パネルの前面に付着されるので、付着工程の追加によって工程が複雑になり、コストが上昇する問題点がある。
本発明は前記問題点を解決するためのもので、本発明の目的は工程の簡素化及びコストの節減が可能な表示装置を提供することである。
前記目的を達成するために、本発明によるタッチセンサーを有する有機発光表示装置は、封止部上に配置される多数のタッチセンサーのそれぞれと接続される多数のルーティングラインのそれぞれが互いに異なる平面上に互いに重畳するように配置され、多数のルーティングコンタクトホールを介して電気的に接続されるので、ルーティングライン間の接続不良を改善することができ、封止部の上部にタッチセンサーが配置されることによって付加の接着工程が不要になるので、工程が簡素化し、コストを節減することができる。
本発明による表示装置は、多数のタッチセンサーのそれぞれと接続される多数のルーティングラインのそれぞれが互いに異なる平面上に互いに重畳するように配置され、多数のルーティングコンタクトホールを介して電気的に接続される。これにより、本発明はルーティングライン間の接続不良を改善することができる。また、本発明では、タッチ電極のそれぞれに含まれる透明な透明導電層とメッシュ状の不透明導電層が同一マスク工程で形成されるので、マスク工程数の低減によって工程を簡素化するとともにコストを低減することができる。これだけでなく、従来の有機発光表示装置は接着剤を介してタッチスクリーンが有機発光表示装置に付着されるが、本発明による有機発光表示装置は封止部上にタッチ電極が配置されることによって付加の接着工程が不要になるので、工程が簡素化し、コストを低減することができる。
本発明によるタッチセンサーを有する有機発光表示装置を示す斜視図である。 図1に示したタッチセンサーを有する有機発光表示装置を示す平面図である。 図2で、線I−I’及びII−II’に沿って切断した、タッチセンサーを有する有機発光表示装置の断面図である。 図2及び図3に示した第2ブリッジ、下部ルーティングライン及び下部パッド電極の製造方法を説明するための平面図である。 図2及び図3に示した第2ブリッジ、下部ルーティングライン及び下部パッド電極の製造方法を説明するための断面図である。 図2及び図3に示したタッチコンタクトホール、ルーティングコンタクトホール及びパッドコンタクトホールの製造方法を説明するための平面図である。 図2及び図3に示したタッチコンタクトホール、ルーティングコンタクトホール及びパッドコンタクトホールの製造方法を説明するための断面図である。 図2及び図3に示した第1及び第2タッチ電極、第1ブリッジ、上部ルーティングライン及び上部パッド電極の製造方法を説明するための平面図である。 図2及び図3に示した第1及び第2タッチ電極、第1ブリッジ、上部ルーティングライン及び上部パッド電極の製造方法を説明するための断面図である。 図6bに示した第1及び第2タッチ電極、第1ブリッジ、上部ルーティングライン及び上部パッド電極の製造方法を具体的に説明するための断面図である。 図6bに示した第1及び第2タッチ電極、第1ブリッジ、上部ルーティングライン及び上部パッド電極の製造方法を具体的に説明するための断面図である。 図6bに示した第1及び第2タッチ電極、第1ブリッジ、上部ルーティングライン及び上部パッド電極の製造方法を具体的に説明するための断面図である。 図6bに示した第1及び第2タッチ電極、第1ブリッジ、上部ルーティングライン及び上部パッド電極の製造方法を具体的に説明するための断面図である。 図2及び図3に示したタッチ保護膜の製造方法を説明するための平面図である。 図2及び図3に示したタッチ保護膜の製造方法を説明するための断面図である。 本発明の第2実施例によるタッチセンサーを有する有機発光表示装置を示す断面図である。 本発明によるタッチセンサーを有する有機発光表示装置のブリッジの他の形態を示す平面図及び断面図である。
以下、添付図面に基づいて本発明による実施例を詳細に説明する。
図1は本発明によるタッチセンサーを有する有機発光表示装置を示す斜視図である。
図1に示したタッチセンサーを有する有機発光表示装置は、タッチ期間中に図2に示したタッチ電極152e、154eを介して使用者のタッチによる相互静電容量(mutual capacitance)(Cm;タッチセンサー)の変化量を感知してタッチ有無及びタッチ位置をセンシングする。そして、図1に示したタッチセンサーを有する有機発光表示装置は発光素子120を含む単位画素を介して映像を表示する。単位画素は赤色(R)、緑色(G)及び青色(B)サブ画素PXLで構成され、または、赤色(R)、緑色(G)、青色(B)及び白色(W)サブ画素PXLで構成される。
このために、図1に示した有機発光表示装置は、基板111上にマトリックス状に配列された多数のサブ画素PXLと、多数のサブ画素PXL上に配置された封止部140と、封止部140上に配置された相互静電容量Cmとを備えている。
多数のサブ画素PXLのそれぞれは、画素駆動回路と、画素駆動回路と接続される発光素子 120とを備える。
画素駆動回路は、スイッチングトランジスタT1、駆動トランジスタT2及びストレージキャパシタCstを備える。
スイッチングトランジスタT1は、スキャンラインSLにスキャンパルスが供給されれば、ターンオンされ、データラインDLに供給されたデータ信号をストレージキャパシタCst及び駆動トランジスタT2のゲート電極に供給する。
駆動トランジスタT2はその駆動トランジスタT2のゲート電極に供給されるデータ信号に応答して高電圧VDD供給ラインから発光素子120に供給される電流を制御することによって発光素子120の発光量を調節することになる。そして、スイッチングトランジスタT1がターンオフされても、ストレージキャパシタCstに充電された電圧によって駆動トランジスタT2は次のフレームのデータ信号が供給されるまで一定した電流を供給して発光素子120が発光を維持するようにする。
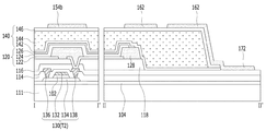
このような駆動トランジスタT2、130は、図3に示したように、ゲート電極132と、ゲート絶縁膜102を挟んでゲート電極132と重畳する半導体層134と、層間絶縁膜114上に形成され、半導体層134と接触するソース及びドレイン電極136、138とを備える。ここで、半導体層134はバッファー層104上に非晶質半導体物質、多結晶半導体物質及び酸化物半導体物質の少なくとも1種から形成される。
発光素子120は、アノード電極122と、アノード電極122上に形成される少なくとも一つの発光スタック124と、発光スタック124上に形成されたカソード電極126とを備える。
アノード電極122は保護膜116を貫く画素コンタクトホールを通じて露出された駆動トランジスタT2、130のドレイン電極138と電気的に接続される。
少なくとも一つの発光スタック124はバンク128によって設けられた発光領域のアノード電極122上に形成される。少なくとも一つの発光スタック124は、アノード電極122上に正孔関連層、有機発光層、電子関連層の順に又は逆順に積層されて形成される。その外にも、発光スタック124は生成層(Charge Generation Layer;CGL)を挟んで対向する第1及び第2発光スタックを備えることもできる。この場合、第1及び第2発光スタックのいずれか一つの有機発光層は青色光を生成し、第1及び第2発光スタックの残り一つの有機発光層は黄色−緑色光を生成することによって第1及び第2発光スタックを介して白色光が生成される。この発光スタック124で生成された白色光は発光スタック124の上部又は下部に位置するカラーフィルター(図示せず)に入射してカラー映像を具現することができる。その外にも、付加のカラーフィルターなしに各発光スタック124で各サブ画素に相応するカラー光を生成してカラー映像を具現することもできる。すなわち、赤色(R)サブ画素の発光スタック124は赤色光を、緑色(G)サブ画素の発光スタック124は緑色光を、青色(B)サブ画素の発光スタック124は青色光を生成することもできる。
カソード電極126は発光スタック124を挟んでアノード電極122と対向するように形成され、低電圧VSS供給ラインと接続される。
封止部140は外部の水分又は酸素に弱い発光素子120に外部の水分又は酸素が浸透することを遮断する。このために、封止部140は、多数の無機封止層142、146と、多数の無機封止層142、146の間に配置される有機封止層144とを備え、無機封止層146が最上層に配置される。この時、封止部140は、少なくとも2層の無機封止層142、146と少なくとも1層の有機封止層144とを備える。本発明では第1及び第2無機封止層142、146の間に有機封止層144が配置される封止部140の構造を例として説明する。
第1無機封止層142は発光素子120に最も近付くようにカソード電極126が形成された基板111上に形成される。このような第1無機封止層142は、窒化シリコン(SiNx)、酸化シリコン(SiOx)、酸化窒化シリコン(SiON)又は酸化アルミニウム(Al2O3)のような低温蒸着の可能な無機絶縁素材から形成される。これにより、第1無機封止層142が低温雰囲気で蒸着されるので、第1無機封止層142の蒸着工程時に高温雰囲気に弱い発光スタック124が損傷することを防止することができる。
有機封止層144は有機発光表示装置の撓みによる各層間の応力を緩和させる緩衝の役目をし、平坦化性能を強化する。この有機封止層144は、アクリル樹脂、エポキシ樹脂、ポリイミド、ポリエチレン又はシリコンオキシカーボン(SiOC)のような有機絶縁素材から形成される。
第2無機封止層146は有機封止層144の上面及び側面と、有機封止層144によって露出された第1無機封止層142の上面を覆うように形成される。これにより、第1及び第2無機封止層146によって有機封止層144の上下面が密閉されるので、外部の水分又は酸素が有機封止層144に浸透し、または、有機封止層144内の水分又は酸素が発光素子130に浸透することを最小化し、または遮断する。このような第2無機封止層146は窒化シリコン(SiNx)、酸化シリコン(SiOx)、酸化窒化シリコン(SiON)又は酸化アルミニウム(Al2O3)のような無機絶縁素材から形成される。
封止部140上にはタッチ絶縁膜156を挟んでタッチセンシングライン154及びタッチ駆動ライン152が交差するように配置される。このようなタッチセンシングライン154とタッチ駆動ライン152の交差部には相互静電容量(mutual capacitance)Cmが形成される。これにより、相互静電容量Cmはタッチ駆動ライン152に供給されるタッチ駆動パルスによって電荷を充電し、充電された電荷をタッチセンシングライン154に放電することによってタッチセンサーの役目をするようになる。
タッチ駆動ライン152は、多数の第1タッチ電極152eと、多数の第1タッチ電極152eの間を電気的に連結する第1ブリッジ152bとを備える。
多数の第1タッチ電極152eはタッチ絶縁膜156上に第1方向であるY方向に一定の間隔で離隔される。このような多数の第1タッチ電極152eのそれぞれは第1ブリッジ152bを介して隣接した第1タッチ電極152eと電気的に連結される。
第1ブリッジ152bは第1タッチ電極152eと同一平面であるタッチ絶縁膜156上に配置され、付加のコンタクトホールなしに第1タッチ電極152eと電気的に接続される。
タッチセンシングライン154は、多数の第2タッチ電極154eと、多数の第2タッチ電極154eの間を電気的に連結する第2ブリッジ154bとを備える。
多数の第2タッチ電極154eはタッチ絶縁膜156上に第2方向であるX方向に一定の間隔で離隔される。このような多数の第2タッチ電極154eのそれぞれは第2ブリッジ154bを介して隣接した第2タッチ電極154eと電気的に連結される。
第2ブリッジ154bは第2無機封止層146上に形成されてタッチ絶縁膜156を貫くタッチコンタクトホール150を通じて露出されて第2タッチ電極154eと電気的に接続される。この第2ブリッジ154bは、第1ブリッジ152bと同様に、バンク128と重畳するように配置されるので、第1及び第2ブリッジ152b、154bによって開口率が損傷することを防止することができる。
このような本発明のタッチ駆動ライン152及びタッチセンシングライン154のそれぞれは非アクティブ(ベゼル)領域に配置されるルーティングライン160及びタッチパッド170を介してタッチ駆動部(図示せず)と連結される。
これにより、ルーティングライン160はタッチ駆動部で生成されたタッチ駆動パルスをタッチパッド170を介してタッチ駆動ライン152に伝送し、タッチセンシングライン154からのタッチ信号をタッチパッド170に伝送する。
このルーティングライン160は第1及び第2タッチ電極152e、154eのそれぞれとタッチパッド170の間でこれら152e、154e、170と接続されるように配置される。第1タッチ電極152eと接続されたルーティングライン160は、図2に示したように、アクティブ領域の上側及び下側の少なくとも一側に伸びてタッチパッド170と接続される。第2タッチ電極154eと接続されたルーティングライン160はアクティブ領域の左側及び右側の少なくとも一側に伸びてタッチパッド170と接続される。一方、ルーティングライン160の配置は図2の構造に限定されず、表示装置の設計事項によって多様に変更可能である。
ルーティングライン160は互いに異なる平面上に互いに重畳するように多数が備えられる。本発明では、ルーティングライン160が互いに異なる平面上に配置される下部及び上部ルーティングライン162、164を備える構造を例として説明する。
下部ルーティングライン162は第2ブリッジ154bと同一素材から第2ブリッジ154bと同一マスク工程で形成される。この下部ルーティングライン162は封止部140の最上部に位置する第2無機封止層146上に封止部140の側面を覆うように形成される。このような下部ルーティングライン162はタッチ絶縁膜156によって保護されるので、上部ルーティングライン164のパターニング時に下部ルーティングライン162が損傷することを防止することができ、信頼性が高くなる。
上部ルーティングライン164はタッチ電極152e、154eと同一素材からタッチ電極152e、154eと同一マスク工程で形成される。この上部ルーティングライン164は下部ルーティングライン162を覆うように形成されたタッチ絶縁膜156上に配置されるので、タッチ絶縁膜156の側面を覆うように形成される。また、上部ルーティングライン164はタッチ絶縁膜156上に下部ルーティングライン162と同一形状に下部ルーティングライン162に沿って配置される。このような上部ルーティングライン164は第1及び第2タッチ電極152e、154eのそれぞれから延設され、下部ルーティングライン162とタッチ絶縁膜156を挟んで重畳する。
一方、上部ルーティングライン164はタッチ絶縁膜156を貫く多数のルーティングコンタクトホール166を通じて露出された下部ルーティングライン162と電気的に接続される。この多数のルーティングコンタクトホール166によって、上部ルーティングライン164と下部ルーティングライン162間の接続領域が大きくなるので、上部ルーティングライン164と下部ルーティングライン162の接続不良を改善することができる。また、下部ルーティングライン162及び上部ルーティングライン164を備えるルーティングライン160は多層構造に形成されるので、ルーティングライン160の自体抵抗を減らすことができる。これだけでなく、ルーティングライン160が多層構造になるので、上部及び下部ルーティングライン164、162のいずれか一ルーティングラインに断線が発生しても、残りのルーティングラインを介してタッチ駆動パルス及びタッチ信号それぞれを伝送することができる。
タッチパッド170はタッチ保護膜190によって外部に露出されるように形成されることによってタッチ駆動部が実装された信号伝送フィルムと接続される。このタッチパッド170は、データラインDL、スキャンラインSL、低電圧VSS供給ライン及び高電圧VDD供給ラインの少なくとも一つと接続された表示パッド(図示せず)と一緒に基板111の一側及び他側領域の少なくとも一領域に配置され、または、タッチパッド170及び表示パッドが互いに異なる非アクティブ領域に配置されることができる。一方、タッチパッド170の配置は図2の構造に限定されず、表示装置の設計事項によって多様に変更可能である。
このようなタッチパッド170は発光素子120の下部に配置される多数の絶縁膜102、104、114、116、118の少なくとも一つ116上に配置される。このタッチパッド170は下部ルーティングライン162から伸びた下部パッド電極172と、上部ルーティングライン164から伸びた上部パッド電極174とを備える。
下部パッド電極172は第2ブリッジ154bと同一素材から第2ブリッジ154bと同一マスク工程で形成される。この下部パッド電極172は保護膜116上に下部ルーティングライン162から伸びてルーティングライン160と直接接続される。
上部パッド電極174はタッチ電極152e、154eと同一素材からタッチ電極152e、154eと同一マスク工程で形成される。この上部パッド電極174はタッチ絶縁膜156を貫くパッドコンタクトホール176を通じて露出された下部パッド電極172と電気的に接続される。
このような本発明の第1及び第2タッチ電極152e、154e、第1ブリッジ152b、154b、上部ルーティングライン164及び上部パッド電極174のそれぞれは透明導電層161と、その透明導電層161の上部又は下部に配置される不透明導電層163とからなる。透明導電層161は、ITO、IZO、ZnO、IGZO及びITO/Ag/ITOの少なくとも1種のような素材から単層又は多層の構造に形成される。不透明導電層163は、Al、Ti、Cu、Moのような耐食性及び耐酸性が強くて伝導性の良い導電層から単層又は多層の構造に形成される。例えば、不透明導電層163はTi/Al/Ti又はMo/Al/Moのように積層した3層構造に形成される。
上部ルーティングライン164及び上部パッド電極174のそれぞれの下部及び不透明導電層161、163は同一形状に形成される。すなわち、上部ルーティングライン164及び上部パッド電極174のそれぞれの不透明導電層163は上部ルーティングライン164及び上部パッド電極174のそれぞれの透明導電層161上に透明導電層161と同一形状及び同一線幅で形成される。
第1及び第2タッチ電極152e、154e、第1ブリッジ152b、154bのそれぞれの不透明導電層163は第1及び第2タッチ電極152e、154e、第1ブリッジ152b、154bのそれぞれの透明導電層161より小さい線幅で形成される。すなわち、第1及び第2タッチ電極152e、154e、第1ブリッジ152b、154bのそれぞれの不透明導電層163はその透明導電層161上にメッシュ状に形成される。この不透明導電層163は透明導電層161より伝導性が良いので、第1及び第2タッチ電極152e、154eを低抵抗電極で形成することができる。これにより、第1及び第2タッチ電極152e、154eそのものの抵抗とキャパシタンスが減少してRC時定数が減少し、タッチ感度を向上させることができる。また、メッシュ状の不透明導電層163の線幅が非常に小さいので、メッシュ状の不透明導電層163によって開口率及び透過率が低下することを防止することができる。
図4a〜図8bは図2及び図3に示したタッチセンサーを有する有機電界発光表示装置の製造方法を説明するための平面図及び断面図である。
図4a及び図4bを参照すると、スイッチングトランジスタT1、駆動トランジスタT2、130、発光素子120及び封止部140が形成された基板111上に第2ブリッジ154b、下部ルーティングライン162及び下部パッド電極172が形成される。
具体的に、スイッチングトランジスタT1、駆動トランジスタT2、130、発光素子120及び封止部140が形成された基板111上に蒸着工程によって導電層が全面蒸着される。その後、第1マスクを用いたフォトリソグラフィー工程及び食刻工程によって導電層がパターニングされることによって第2ブリッジ154b、下部ルーティングライン162及び下部パッド電極172が形成される。ここで、第2ブリッジ154b、下部ルーティングライン162及び下部パッド電極172のそれぞれはAl、Ag、Ti、Cu、Mo、MoTiのような耐食性及び耐酸性が強いだけでなく伝導性の良い金属から単層又は多層の構造に形成される。例えば、第2ブリッジ154b、下部ルーティングライン162及び下部パッド電極172のそれぞれはTi/Al/Ti又はMo/Al/Moのように積層した3層構造に形成される。
図5a及び図5bを参照すると、第2ブリッジ154b、下部ルーティングライン162及び下部パッド電極172が形成された基板111上にタッチコンタクトホール150、ルーティングコンタクトホール166及びパッドコンタクトホール176を有するタッチ絶縁膜156が形成される。
具体的に、第2ブリッジ154b、下部ルーティングライン162及び下部パッド電極172が形成された基板111上に無機又は有機絶縁物質が蒸着されることによってタッチ絶縁膜156が形成される。ここで、タッチ絶縁膜156としては、SiNx、SiON、又はSiO2のような無機膜又はアクリル系、エポキシ系、パリレン−C、パリレン−N、パリレン−F又はシロキサン系の有機膜が用いられる。その後、第2マスクを用いたフォトリソグラフィー工程及び食刻工程によってタッチ絶縁膜156がパターニングされることによってタッチコンタクトホール150、ルーティングコンタクトホール166及びパッドコンタクトホール176が形成される。
図6a及び図6bを参照すると、タッチコンタクトホール150、ルーティングコンタクトホール166、パッドコンタクトホール176が形成された基板111上に第1及び第2タッチ電極152e、154e、第1ブリッジ152b、上部ルーティングライン164及び上部パッド電極174が形成される。これについて図7a〜図7dを参照して具体的に説明する。
図7aに示したように、タッチコンタクトホール150、ルーティングコンタクトホール166及びパッドコンタクトホール176が形成された基板111上に透明導電層161及び不透明導電層163が順次積層される。ここで、透明導電層161はITO、IZO、ZnO、IGZO又はITO/Ag/ITOのような透明導電層からなり、不透明導電層163はAl、Ti、Cu、Moのような耐食性及び耐酸性が強くて伝導性が良い導電層から単層又は多層の構造に形成される。例えば、不透明導電層163はTi/Al/Ti又はMo/Al/Moのように積層した3層構造に形成される。
その後、不透明導電層163上に感光膜が積層された後、その感光膜をハーフトーン(half−tone)マスク又はスリットマスクのような第3マスクを用いたフォトリソグラフィー工程でパターニングすることによって多段構造の感光膜180が形成される。多段構造の感光膜180は第1及び第2タッチ電極152e、154eと第1ブリッジ152bのそれぞれのメッシュ状の不透明導電層163、上部ルーティングライン164及び上部パッド電極174が形成される領域に第2厚さd2で形成され、第1及び第2タッチ電極152e、154eと第1ブリッジ152bのそれぞれのメッシュ状の不透明導電層163によって露出される透明導電層161が形成される領域に第2厚さd2より小さい第1厚さd1で形成され、残りの領域には形成されない。
このような多段構造の感光膜180をマスクとして用いた食刻工程によって不透明導電層163及び透明導電層161が食刻される。これにより、図7bに示したように、第1及び第2タッチ電極152e、154e、第1ブリッジ152b、上部ルーティングライン164及び上部パッド電極174のそれぞれが同一線幅を有する下部及び不透明導電層161、163を含む多層構造に形成される。
その後、多段構造の感光膜180をアッシング(ashing)することにより、図7cに示したように、感光膜180の総厚さが減少して第1厚さの感光膜180が除去されるので、第1及び第2タッチ電極152e、154e、第1ブリッジ152bの不透明導電層163が露出される。その後、アッシングされた多段構造の感光膜180をマスクとして用いた食刻工程によって露出された不透明導電層163が除去されることにより、図7dに示したように、第1及び第2タッチ電極152e、154eと第1ブリッジ152bの透明な透明導電層161が露出される。その後、ストリップ工程によって基板上に残存する感光膜180は図6bに示したように除去される。
図8a及び図8bを参照すると、第1及び第2タッチ電極152e、154e、第1ブリッジ152b、上部ルーティングライン164及び上部パッド電極174が形成された基板111上にタッチ保護膜190が形成される。
具体的に、第1及び第2タッチ電極152e、154e、第1ブリッジ152b、上部ルーティングライン164及び上部パッド電極174が形成された基板111上にフォトアクリル系樹脂などの有機絶縁物質が全面塗布された後、第4マスクを用いたフォトリソグラフィー工程及び食刻工程によって有機絶縁物質がパターニングされる。これにより、図8bに示したように、タッチパッド170を露出させるタッチ保護膜190が形成される。
このように、本発明による表示パネルでは、タッチ電極152e、154eのそれぞれに含まれる透明な透明導電層161とメッシュ状の不透明導電層163が同一マスク工程で形成される。したがって、本発明はマスク工程数の低減によって工程を簡素化するとともにコストを低減することができる。
図9は本発明の第2実施例による有機発光表示装置を示す断面図である。
図9に示した有機発光表示装置は、図3に示した有機発光表示装置に比べ、封止部140及びタッチ電極152e、154eの間に配置されるカラーフィルター192をさらに備えることを除き、同一の構成要素を備える。したがって、同一の構成要素についての詳細な説明は省略する。
カラーフィルター192はタッチセンシングライン154及びタッチ駆動ライン152のそれぞれと発光素子120に間に形成される。このカラーフィルター192によって、タッチセンシングライン154及びタッチ駆動ライン152のそれぞれと発光素子120の間の離隔距離が大きくなる。これにより、タッチセンシングライン154及びタッチ駆動ライン152のそれぞれと発光素子120の間に形成される寄生キャパシタの容量値を最小化することができるので、タッチセンシングライン154及びタッチ駆動ライン152のそれぞれと発光素子120の間のカップリング(coupling)による相互影響を防止することができる。また、カラーフィルター192は、タッチセンシングライン154及びタッチ駆動ライン152の製造工程時に用いられる薬液(現像液又は食刻液など)又は外部からの水分などが発光スタック124に浸透することを遮断することができる。したがって、カラーフィルター192は薬液又は水分に弱い発光スタック124の損傷を防止することができる。一方、図9に示したように、カラーフィルター192の上部にタッチ電極152e、154eが配置されるものを例として説明したが、その外にもタッチ電極152e、154eの上部にカラーフィルター192が配置されることもできる。この場合、タッチ電極152e、154eはカラーフィルター192と封止部140の間に配置される。
このようなカラーフィルター192の間にはブラックマトリックス194が配置される。ブラックマトリックス194は各サブ画素領域を区分するとともに隣接したサブ画素領域間の光干渉及び漏光を防止する役目をする。このようなブラックマトリックス194は高抵抗のブラック絶縁素材から形成され、又は赤色(R)、緑色(G)及び青色(B)カラーフィルター192の少なくとも2色のカラーフィルターが積層して形成される。また、カラーフィルター192及びブラックマトリックス194が形成された基板111上にタッチ平坦化膜196が形成される。この平坦化膜196によってカラーフィルター192及びブラックマトリックス194が形成された基板111が平坦化される。
一方、本発明の第1及び第2ブリッジ152b、154bは、図10に示したように、多数のスリット153を備えることもできる。多数のスリット153を備える図10に示した第2ブリッジ154bはスリット153を備えていない図3に示した第2ブリッジ154bに比べて面積が減少することができる。これにより、第2ブリッジ154bによる外部光反射を減らすことができ、視認性が低下することを防止することができる。これだけでなく、本発明では、交差するタッチセンシングライン154及びタッチ駆動ライン152の間に形成される相互容量型のタッチセンサーを例として説明したが、その外にも自己(Self)静電容量型のタッチセンサー(Cs)にも適用することもできる。
以上の説明は本発明を例示的に説明したものに過ぎず、本発明が属する技術分野で通常の知識を有する者によって本発明の技術的思想から逸脱しない範疇内で多様な変形が可能であろう。したがって、本発明の明細書に開示した実施例は本発明を限定するものではない。本発明の範囲は添付の特許請求範囲によって解釈されなければならなく、それと均等な範囲内にある全ての技術も本発明の範囲に含まれるものと解釈しなければならないであろう。
142、146 無機封止層
144 有機封止層
152 タッチ駆動ライン
154 タッチセンシングライン
156 タッチ絶縁膜
158 タッチ絶縁膜
160 ルーティングライン
161 透明導電層
163 不透明導電層

Claims (10)

  1. 基板上に配置される発光素子と、
    前記発光素子上に配置され、多数の無機封止層及び少なくとも一つの有機封止層を備える封止部と、
    前記封止部上に配置される多数のタッチセンサーと、
    前記多数のタッチセンサーのそれぞれと接続され、前記有機封止層の側面を覆う前記無機封止層の側面に沿って配置された多数のルーティングラインとを備え、
    前記多数のルーティングラインのそれぞれは互いに異なる平面上に互いに重畳するように配置され、多数のルーティングコンタクトホールを介して電気的に接続される、表示装置。
  2. 前記多数のルーティングラインは、
    前記封止部上に配置される下部ルーティングラインと、
    前記下部ルーティングラインを覆うように配置されるタッチ絶縁膜を貫く前記多数のルーティングコンタクトホールを介して前記下部ルーティングラインと接続される上部ルーティングラインとを備え、
    前記上部ルーティングラインは前記タッチ絶縁膜上に前記下部ルーティングラインに沿って配置される、請求項1に記載の表示装置。
  3. 前記タッチセンサーは、
    前記封止部上に互いに交差するように配置されるタッチセンシングライン及びタッチ駆動ラインを備え、
    前記タッチ駆動ラインは、
    前記封止部上に第1方向に配列される第1タッチ電極と、
    前記第1タッチ電極を互いに連結する第1ブリッジとを備え、
    前記タッチセンシングラインは、
    前記第1方向とは違う第2方向に配列される第2タッチ電極と、
    前記第2タッチ電極を互いに連結する第2ブリッジとを備え、
    前記下部ルーティングラインは前記第1及び第2ブリッジのいずれか一つと同一素材からなり、
    前記上部ルーティングラインは前記第1及び第2タッチ電極のそれぞれから伸びる、請求項2に記載の表示装置。
  4. 前記発光素子の下部に配置される多数の絶縁膜の少なくとも一つ上に配置され、前記ルーティングラインから伸びるタッチパッドを備え、
    前記タッチパッドは、
    前記下部ルーティングラインから伸びる下部パッド電極と、
    前記上部ルーティングラインから伸びる上部パッド電極とを備える、請求項3に記載の表示装置。
  5. 前記上部ルーティングライン、前記上部パッド電極、第1ブリッジ並びに第1及び第2タッチ電極の少なくとも一つは透明導電層とその透明導電層上に配置される不透明導電層とからなり、
    前記透明導電層はITO、IZO、ZnO及びIGZOの少なくとも1種を含む少なくとも1層の構造に形成され、
    前記不透明導電層はTi、Al、Mo、MoTi、Cu及びTaの少なくとも1種を含む少なくとも1層の構造に形成される、請求項4に記載の表示装置。
  6. 前記上部ルーティングライン及び上部パッド電極のそれぞれの不透明導電層は前記透明導電層の上部又は下部に前記透明導電層と同一形状で配置される、請求項4に記載の表示装置。
  7. 前記第1及び第2タッチ電極と第1ブリッジの不透明導電層は前記透明導電層上に前記不透明導電層より小さい線幅で形成される、請求項4に記載の表示装置。
  8. 前記第1及び第2タッチ電極並びに前記第1及び第2ブリッジの少なくとも一つの不透明導電層はメッシュ状になる、請求項7に記載の表示装置。
  9. 前記第1及び第2ブリッジの少なくとも一つは少なくとも一つのスリットを備える、請求項3に記載の表示装置。
  10. 前記封止部と前記タッチセンサーの間に配置されるカラーフィルターをさらに備える、請求項1に記載の表示装置。
JP2018089721A 2017-05-08 2018-05-08 表示装置 Active JP6602913B2 (ja)

Applications Claiming Priority (2)

Application Number Priority Date Filing Date Title
KR1020170057291A KR102161709B1 (ko) 2017-05-08 2017-05-08 표시 장치
KR10-2017-0057291 2017-05-08

Related Child Applications (1)

Application Number Title Priority Date Filing Date
JP2019186862A Division JP6874089B2 (ja) 2017-05-08 2019-10-10 表示装置

Publications (2)

Publication Number Publication Date
JP2018189964A JP2018189964A (ja) 2018-11-29
JP6602913B2 true JP6602913B2 (ja) 2019-11-06

Family

ID=62186239

Family Applications (4)

Application Number Title Priority Date Filing Date
JP2018089721A Active JP6602913B2 (ja) 2017-05-08 2018-05-08 表示装置
JP2019186862A Active JP6874089B2 (ja) 2017-05-08 2019-10-10 表示装置
JP2021071904A Active JP7189263B2 (ja) 2017-05-08 2021-04-21 表示装置
JP2022192986A Active JP7502399B2 (ja) 2017-05-08 2022-12-01 表示装置

Family Applications After (3)

Application Number Title Priority Date Filing Date
JP2019186862A Active JP6874089B2 (ja) 2017-05-08 2019-10-10 表示装置
JP2021071904A Active JP7189263B2 (ja) 2017-05-08 2021-04-21 表示装置
JP2022192986A Active JP7502399B2 (ja) 2017-05-08 2022-12-01 表示装置

Country Status (5)

Country Link
US (3) US10892304B2 (ja)
EP (1) EP3401769B1 (ja)
JP (4) JP6602913B2 (ja)
KR (1) KR102161709B1 (ja)
CN (2) CN108874202B (ja)

Families Citing this family (32)

* Cited by examiner, † Cited by third party
Publication number Priority date Publication date Assignee Title
KR102354514B1 (ko) * 2017-05-11 2022-01-21 엘지디스플레이 주식회사 표시 장치
JP6842362B2 (ja) * 2017-05-12 2021-03-17 株式会社ジャパンディスプレイ 表示装置
KR102438255B1 (ko) 2017-05-31 2022-08-30 엘지디스플레이 주식회사 표시 장치
KR102582641B1 (ko) 2018-11-30 2023-09-26 삼성디스플레이 주식회사 전자 패널 및 이를 포함하는 전자 장치
KR102758799B1 (ko) * 2018-12-31 2025-01-21 엘지디스플레이 주식회사 폴더블 표시 장치
KR102783612B1 (ko) * 2019-01-30 2025-03-19 삼성디스플레이 주식회사 터치 센서 및 표시장치
CN112020698B (zh) * 2019-03-28 2025-02-11 京东方科技集团股份有限公司 触控基板、触控装置和触控检测方法
KR102734414B1 (ko) * 2019-04-02 2024-11-26 삼성디스플레이 주식회사 터치 센서 및 표시장치
US10817111B1 (en) * 2019-04-10 2020-10-27 Semiconductor Components Industries, Llc Methods and apparatus for a capacitive touch sensor
KR102769392B1 (ko) * 2019-04-15 2025-02-20 삼성디스플레이 주식회사 전자 장치
KR102819912B1 (ko) * 2019-04-29 2025-06-13 삼성디스플레이 주식회사 입력감지회로 및 이를 포함하는 표시장치
CN110176479B (zh) * 2019-05-30 2020-09-01 武汉华星光电半导体显示技术有限公司 显示面板及其制备方法
KR102710487B1 (ko) * 2019-11-01 2024-09-25 동우 화인켐 주식회사 터치센서 및 그 제조방법
KR20210058528A (ko) * 2019-11-14 2021-05-24 엘지디스플레이 주식회사 디스플레이 장치
CN113970984B (zh) * 2019-11-15 2025-02-11 京东方科技集团股份有限公司 触控基板及其制作方法、触控显示基板以及触控显示装置
JP2021086380A (ja) * 2019-11-27 2021-06-03 双葉電子工業株式会社 タッチパネル
KR20210086245A (ko) * 2019-12-31 2021-07-08 엘지디스플레이 주식회사 터치 센서를 포함하는 유기 발광 다이오드 표시 장치 및 그 제조 방법
CN113970977A (zh) * 2020-07-24 2022-01-25 宸美(厦门)光电有限公司 触控面板及其制造方法
CN113970979B (zh) * 2020-07-24 2024-09-10 京东方科技集团股份有限公司 一种显示面板和显示装置
US11460965B2 (en) * 2020-08-27 2022-10-04 Tpk Advanced Solutions Inc. Touch panel and method of manufacturing the same
US11609671B2 (en) * 2020-11-23 2023-03-21 Lg Display Co., Ltd. Touch display apparatus
KR20220082315A (ko) * 2020-12-10 2022-06-17 엘지디스플레이 주식회사 터치 스크린 일체형 발광 표시 장치
KR102890709B1 (ko) 2020-12-11 2025-11-25 엘지디스플레이 주식회사 터치센서를 포함하는 표시장치 및 그의 제조방법
KR20230029061A (ko) 2021-08-23 2023-03-03 엘지디스플레이 주식회사 터치 디스플레이 장치 및 디스플레이 패널
KR20230067762A (ko) * 2021-11-08 2023-05-17 삼성디스플레이 주식회사 표시 장치 및 이의 제조 방법
US11586312B1 (en) 2021-11-10 2023-02-21 Tpk Advanced Solutions Inc. Touch module and method of manufacturing the same
US11789576B2 (en) * 2021-11-16 2023-10-17 Electronics And Telecommunications Research Institute Flexible touch panel and method of manufacturing thereof
KR20230096748A (ko) * 2021-12-23 2023-06-30 엘지디스플레이 주식회사 표시 장치
KR20230103745A (ko) * 2021-12-31 2023-07-07 엘지디스플레이 주식회사 터치 디스플레이 장치
KR20240057845A (ko) * 2022-10-25 2024-05-03 엘지디스플레이 주식회사 표시 장치
CN118409670A (zh) * 2023-01-30 2024-07-30 乐金显示有限公司 触摸感测显示设备
KR20250001300A (ko) * 2023-06-28 2025-01-06 엘지디스플레이 주식회사 표시 장치 및 표시 패널

Family Cites Families (49)

* Cited by examiner, † Cited by third party
Publication number Priority date Publication date Assignee Title
JP2010231533A (ja) 2009-03-27 2010-10-14 Citizen Electronics Co Ltd 透明電極基板及びそれを備えたタッチパネル
JP2011023558A (ja) 2009-07-16 2011-02-03 Sharp Corp 有機el表示装置
KR101886801B1 (ko) * 2010-09-14 2018-08-10 삼성디스플레이 주식회사 터치 스크린 패널 일체형 평판표시장치
KR101908492B1 (ko) 2011-04-12 2018-10-17 엘지디스플레이 주식회사 터치 패널 일체형 표시 장치
CN103649889A (zh) 2011-07-25 2014-03-19 松下电器产业株式会社 显示装置
JP2014240998A (ja) 2011-10-07 2014-12-25 シャープ株式会社 タッチパネルおよびタッチパネル付き表示装置、ならびにタッチパネルの製造方法
US10088930B2 (en) * 2011-11-25 2018-10-02 Shanghai Tianma Micro-electronics Co., Ltd. Active matrix organic light emitting diode in-cell touch panel and drive method thereof
JP6140970B2 (ja) 2012-10-12 2017-06-07 三菱電機株式会社 表示装置およびその製造方法
US20140125250A1 (en) * 2012-11-02 2014-05-08 General Electric Company Antenna sensor
US9733779B2 (en) * 2012-11-27 2017-08-15 Guardian Industries Corp. Projected capacitive touch panel with silver-inclusive transparent conducting layer(s), and/or method of making the same
JP5784088B2 (ja) * 2012-11-30 2015-09-24 エルジー ディスプレイ カンパニー リミテッド 有機発光ダイオード表示装置及びその製造方法
KR102040973B1 (ko) 2012-12-14 2019-11-06 삼성디스플레이 주식회사 터치 스크린 패널
KR20140096507A (ko) 2013-01-28 2014-08-06 삼성디스플레이 주식회사 터치스크린패널 일체형 영상표시장치
JP2014153791A (ja) 2013-02-06 2014-08-25 Alps Electric Co Ltd 入力装置
TWI505335B (zh) * 2013-03-18 2015-10-21 Touch Crporation J 觸控感應電極結構
KR102072140B1 (ko) 2013-06-26 2020-02-03 삼성디스플레이 주식회사 유기 발광 표시 장치
KR102081318B1 (ko) * 2013-09-23 2020-04-14 엘지디스플레이 주식회사 터치센서 내장형 액정 표시장치
US9459746B2 (en) * 2013-09-27 2016-10-04 Sensel, Inc. Capacitive touch sensor system and method
KR102211968B1 (ko) 2013-12-02 2021-02-05 삼성디스플레이 주식회사 터치 패널, 표시 장치 및 터치 패널의 제조 방법
KR102192035B1 (ko) * 2013-12-02 2020-12-17 삼성디스플레이 주식회사 접촉 감지 센서를 포함하는 플렉서블 표시 장치
KR102178133B1 (ko) * 2013-12-30 2020-11-12 엘지디스플레이 주식회사 터치센서 일체형 표시장치
KR20150092384A (ko) * 2014-02-03 2015-08-13 삼성디스플레이 주식회사 표시 장치 및 그 제조 방법
KR102311976B1 (ko) * 2014-03-13 2021-10-12 엘지디스플레이 주식회사 터치 감지 디스플레이 장치
CN104123036B (zh) * 2014-06-09 2017-02-01 京东方科技集团股份有限公司 光栅基板及其制作方法、显示装置
CN104241550B (zh) * 2014-08-05 2017-08-15 京东方科技集团股份有限公司 Oled显示装置及其封装方法
JP2016038697A (ja) 2014-08-07 2016-03-22 株式会社ジャパンディスプレイ センサ装置及び表示装置
JP6446209B2 (ja) * 2014-09-05 2018-12-26 東友ファインケム株式会社Dongwoo Fine−Chem Co., Ltd. 透明電極パターン積層体及びこれを備えたタッチスクリーンパネル
KR20160041541A (ko) 2014-10-08 2016-04-18 엘지디스플레이 주식회사 터치 패널 및 터치 패널 일체형 유기 발광 표시 장치
KR102240937B1 (ko) 2014-10-10 2021-04-15 삼성디스플레이 주식회사 표시 장치
KR102295584B1 (ko) 2014-10-31 2021-08-27 엘지디스플레이 주식회사 터치 패널 내장형 유기 발광 표시 장치
KR102250584B1 (ko) 2014-10-31 2021-05-10 엘지디스플레이 주식회사 유기 발광 표시 장치
KR102289934B1 (ko) 2014-11-28 2021-08-13 삼성디스플레이 주식회사 터치 감지 센서를 포함하는 표시 장치
US9356087B1 (en) * 2014-12-10 2016-05-31 Lg Display Co., Ltd. Flexible display device with bridged wire traces
KR102269919B1 (ko) * 2014-12-12 2021-06-28 삼성디스플레이 주식회사 터치 센서를 포함하는 표시 장치
KR102362188B1 (ko) 2015-01-28 2022-02-11 삼성디스플레이 주식회사 유기 발광 표시 장치 및 그의 제조 방법
CN104750343A (zh) * 2015-02-05 2015-07-01 深圳市华星光电技术有限公司 电容式感应元件、触摸屏及电子设备
JP2016162305A (ja) 2015-03-03 2016-09-05 日本航空電子工業株式会社 タッチパネルおよびその製造方法
KR102350296B1 (ko) * 2015-04-16 2022-01-17 삼성디스플레이 주식회사 유기발광표시장치 및 그 제조방법
KR102388711B1 (ko) 2015-04-27 2022-04-20 삼성디스플레이 주식회사 표시 장치
CN104765502B (zh) * 2015-04-27 2018-09-11 京东方科技集团股份有限公司 一种触控显示面板及其制备方法、控制方法
JP2016222526A (ja) 2015-05-29 2016-12-28 株式会社半導体エネルギー研究所 膜の作製方法および素子
US10168844B2 (en) 2015-06-26 2019-01-01 Samsung Display Co., Ltd. Flexible display device
WO2017010329A1 (ja) 2015-07-10 2017-01-19 シャープ株式会社 エレクトロルミネッセンス装置
CN105094483B (zh) * 2015-07-28 2018-08-07 合肥京东方光电科技有限公司 自电容式触摸结构、触摸屏及显示装置
KR102438247B1 (ko) 2015-09-07 2022-08-30 엘지디스플레이 주식회사 유기 발광 표시 장치 및 이의 제조 방법
KR102375275B1 (ko) * 2015-09-10 2022-03-18 삼성디스플레이 주식회사 터치 스크린 일체형 표시장치 및 그의 제조방법
US10534481B2 (en) * 2015-09-30 2020-01-14 Apple Inc. High aspect ratio capacitive sensor panel
JP6651420B2 (ja) * 2016-07-11 2020-02-19 株式会社ジャパンディスプレイ カバー部材及び表示装置
CN106951125B (zh) * 2017-03-30 2019-09-13 上海天马微电子有限公司 一种触控显示面板及触控显示装置

Also Published As

Publication number Publication date
CN108874202B (zh) 2021-11-09
CN114063816B (zh) 2025-10-21
JP2023039958A (ja) 2023-03-22
US20180323240A1 (en) 2018-11-08
EP3401769B1 (en) 2020-07-08
KR102161709B1 (ko) 2020-10-06
JP2020038679A (ja) 2020-03-12
US11700759B2 (en) 2023-07-11
KR20180123284A (ko) 2018-11-16
JP2018189964A (ja) 2018-11-29
EP3401769A1 (en) 2018-11-14
CN108874202A (zh) 2018-11-23
US11257877B2 (en) 2022-02-22
US20220140012A1 (en) 2022-05-05
JP7502399B2 (ja) 2024-06-18
JP7189263B2 (ja) 2022-12-13
US10892304B2 (en) 2021-01-12
US20210066401A1 (en) 2021-03-04
CN114063816A (zh) 2022-02-18
JP6874089B2 (ja) 2021-05-19
JP2021131542A (ja) 2021-09-09

Similar Documents

Publication Publication Date Title
JP7502399B2 (ja) 表示装置
JP6562994B2 (ja) 表示装置
JP6679655B2 (ja) 表示装置
JP6574286B2 (ja) 表示装置及びその製造方法
JP6591517B2 (ja) 表示装置
KR102688182B1 (ko) 표시 장치
KR102793060B1 (ko) 표시 장치 및 그 제조 방법
KR101926527B1 (ko) 터치 센서를 가지는 유기 발광 표시 장치 및 그 제조 방법
KR20220024321A (ko) 터치 센서를 가지는 표시 장치
KR102330864B1 (ko) 표시 장치
KR102482494B1 (ko) 터치 센서를 가지는 유기 발광 표시 장치
KR20180124607A (ko) 표시 장치
KR102402430B1 (ko) 표시 장치
KR102241446B1 (ko) 표시 장치
KR102508331B1 (ko) 표시 장치

Legal Events

Date Code Title Description
A621 Written request for application examination

Free format text: JAPANESE INTERMEDIATE CODE: A621

Effective date: 20180509

A977 Report on retrieval

Free format text: JAPANESE INTERMEDIATE CODE: A971007

Effective date: 20190410

A131 Notification of reasons for refusal

Free format text: JAPANESE INTERMEDIATE CODE: A131

Effective date: 20190416

A521 Request for written amendment filed

Free format text: JAPANESE INTERMEDIATE CODE: A523

Effective date: 20190716

TRDD Decision of grant or rejection written
A01 Written decision to grant a patent or to grant a registration (utility model)

Free format text: JAPANESE INTERMEDIATE CODE: A01

Effective date: 20190910

A61 First payment of annual fees (during grant procedure)

Free format text: JAPANESE INTERMEDIATE CODE: A61

Effective date: 20191009

R150 Certificate of patent or registration of utility model

Ref document number: 6602913

Country of ref document: JP

Free format text: JAPANESE INTERMEDIATE CODE: R150

R250 Receipt of annual fees

Free format text: JAPANESE INTERMEDIATE CODE: R250

R250 Receipt of annual fees

Free format text: JAPANESE INTERMEDIATE CODE: R250

R250 Receipt of annual fees

Free format text: JAPANESE INTERMEDIATE CODE: R250

R250 Receipt of annual fees

Free format text: JAPANESE INTERMEDIATE CODE: R250