JP6571389B2 - 窒化物半導体発光素子およびその製造方法 - Google Patents

窒化物半導体発光素子およびその製造方法 Download PDF

Info

Publication number
JP6571389B2
JP6571389B2 JP2015102912A JP2015102912A JP6571389B2 JP 6571389 B2 JP6571389 B2 JP 6571389B2 JP 2015102912 A JP2015102912 A JP 2015102912A JP 2015102912 A JP2015102912 A JP 2015102912A JP 6571389 B2 JP6571389 B2 JP 6571389B2
Authority
JP
Japan
Prior art keywords
nitride semiconductor
substrate
light emitting
layer
semiconductor light
Prior art date
Legal status (The legal status is an assumption and is not a legal conclusion. Google has not performed a legal analysis and makes no representation as to the accuracy of the status listed.)
Expired - Fee Related
Application number
JP2015102912A
Other languages
English (en)
Other versions
JP2016219593A (ja
Inventor
上田 吉裕
吉裕 上田
伊藤 茂稔
茂稔 伊藤
Current Assignee (The listed assignees may be inaccurate. Google has not performed a legal analysis and makes no representation or warranty as to the accuracy of the list.)
Sharp Corp
Original Assignee
Sharp Corp
Priority date (The priority date is an assumption and is not a legal conclusion. Google has not performed a legal analysis and makes no representation as to the accuracy of the date listed.)
Filing date
Publication date
Application filed by Sharp Corp filed Critical Sharp Corp
Priority to JP2015102912A priority Critical patent/JP6571389B2/ja
Priority to US15/140,703 priority patent/US10026869B2/en
Priority to CN201610341825.9A priority patent/CN106169527B/zh
Publication of JP2016219593A publication Critical patent/JP2016219593A/ja
Application granted granted Critical
Publication of JP6571389B2 publication Critical patent/JP6571389B2/ja
Expired - Fee Related legal-status Critical Current
Anticipated expiration legal-status Critical

Links

Images

Classifications

    • HELECTRICITY
    • H10SEMICONDUCTOR DEVICES; ELECTRIC SOLID-STATE DEVICES NOT OTHERWISE PROVIDED FOR
    • H10HINORGANIC LIGHT-EMITTING SEMICONDUCTOR DEVICES HAVING POTENTIAL BARRIERS
    • H10H20/00Individual inorganic light-emitting semiconductor devices having potential barriers, e.g. light-emitting diodes [LED]
    • H10H20/80Constructional details
    • H10H20/81Bodies
    • H10H20/815Bodies having stress relaxation structures, e.g. buffer layers
    • HELECTRICITY
    • H10SEMICONDUCTOR DEVICES; ELECTRIC SOLID-STATE DEVICES NOT OTHERWISE PROVIDED FOR
    • H10HINORGANIC LIGHT-EMITTING SEMICONDUCTOR DEVICES HAVING POTENTIAL BARRIERS
    • H10H20/00Individual inorganic light-emitting semiconductor devices having potential barriers, e.g. light-emitting diodes [LED]
    • H10H20/01Manufacture or treatment
    • H10H20/011Manufacture or treatment of bodies, e.g. forming semiconductor layers
    • H10H20/013Manufacture or treatment of bodies, e.g. forming semiconductor layers having light-emitting regions comprising only Group III-V materials
    • H10H20/0133Manufacture or treatment of bodies, e.g. forming semiconductor layers having light-emitting regions comprising only Group III-V materials with a substrate not being Group III-V materials
    • HELECTRICITY
    • H10SEMICONDUCTOR DEVICES; ELECTRIC SOLID-STATE DEVICES NOT OTHERWISE PROVIDED FOR
    • H10HINORGANIC LIGHT-EMITTING SEMICONDUCTOR DEVICES HAVING POTENTIAL BARRIERS
    • H10H20/00Individual inorganic light-emitting semiconductor devices having potential barriers, e.g. light-emitting diodes [LED]
    • H10H20/01Manufacture or treatment
    • H10H20/011Manufacture or treatment of bodies, e.g. forming semiconductor layers
    • H10H20/013Manufacture or treatment of bodies, e.g. forming semiconductor layers having light-emitting regions comprising only Group III-V materials
    • H10H20/0133Manufacture or treatment of bodies, e.g. forming semiconductor layers having light-emitting regions comprising only Group III-V materials with a substrate not being Group III-V materials
    • H10H20/01335Manufacture or treatment of bodies, e.g. forming semiconductor layers having light-emitting regions comprising only Group III-V materials with a substrate not being Group III-V materials the light-emitting regions comprising nitride materials
    • HELECTRICITY
    • H10SEMICONDUCTOR DEVICES; ELECTRIC SOLID-STATE DEVICES NOT OTHERWISE PROVIDED FOR
    • H10HINORGANIC LIGHT-EMITTING SEMICONDUCTOR DEVICES HAVING POTENTIAL BARRIERS
    • H10H20/00Individual inorganic light-emitting semiconductor devices having potential barriers, e.g. light-emitting diodes [LED]
    • H10H20/80Constructional details
    • H10H20/81Bodies
    • H10H20/817Bodies characterised by the crystal structures or orientations, e.g. polycrystalline, amorphous or porous
    • HELECTRICITY
    • H10SEMICONDUCTOR DEVICES; ELECTRIC SOLID-STATE DEVICES NOT OTHERWISE PROVIDED FOR
    • H10HINORGANIC LIGHT-EMITTING SEMICONDUCTOR DEVICES HAVING POTENTIAL BARRIERS
    • H10H20/00Individual inorganic light-emitting semiconductor devices having potential barriers, e.g. light-emitting diodes [LED]
    • H10H20/80Constructional details
    • H10H20/81Bodies
    • H10H20/822Materials of the light-emitting regions
    • H10H20/824Materials of the light-emitting regions comprising only Group III-V materials, e.g. GaP
    • H10H20/825Materials of the light-emitting regions comprising only Group III-V materials, e.g. GaP containing nitrogen, e.g. GaN
    • HELECTRICITY
    • H10SEMICONDUCTOR DEVICES; ELECTRIC SOLID-STATE DEVICES NOT OTHERWISE PROVIDED FOR
    • H10HINORGANIC LIGHT-EMITTING SEMICONDUCTOR DEVICES HAVING POTENTIAL BARRIERS
    • H10H20/00Individual inorganic light-emitting semiconductor devices having potential barriers, e.g. light-emitting diodes [LED]
    • H10H20/01Manufacture or treatment
    • H10H20/011Manufacture or treatment of bodies, e.g. forming semiconductor layers
    • H10H20/018Bonding of wafers
    • HELECTRICITY
    • H10SEMICONDUCTOR DEVICES; ELECTRIC SOLID-STATE DEVICES NOT OTHERWISE PROVIDED FOR
    • H10HINORGANIC LIGHT-EMITTING SEMICONDUCTOR DEVICES HAVING POTENTIAL BARRIERS
    • H10H20/00Individual inorganic light-emitting semiconductor devices having potential barriers, e.g. light-emitting diodes [LED]
    • H10H20/80Constructional details
    • H10H20/81Bodies
    • H10H20/819Bodies characterised by their shape, e.g. curved or truncated substrates
    • H10H20/82Roughened surfaces, e.g. at the interface between epitaxial layers

Landscapes

  • Led Devices (AREA)

Description

本発明は、窒化物半導体発光素子およびその製造方法に関する。
GaN、InGaNまたはAlGaNなどの窒化物半導体は、発光ダイオード(LED(Light Emitting Diode))またはレーザダイオード(LD(Laser Diode))などの材料として利用されている。また、窒化物半導体は、耐熱性または耐環境性に優れるという特徴を有し、よって、電子デバイスへも応用されている。
その一方、窒化物半導体のバルク結晶成長は難しい。そのため、実用可能な品質を有する窒化物半導体基板の製造にはコストがかかり、よって、実用可能な品質を有する窒化物半導体基板は非常に高価となる。したがって、窒化物半導体単結晶からなる層(以下では「窒化物半導体層」と記す)の成長用基板としては単結晶サファイア基板が広く実用化されており、窒化物半導体層の成長方法としては単結晶サファイア基板の上に有機金属気相成長法(MOVPE(Metalorganic Vapor Phase Epitaxy)法)などで窒化物半導体層(例えばGaN層)をエピタキシャル成長させるという方法が一般的に使用されている。
ところで、窒化物半導体層の成長用基板として単結晶サファイア基板を用いた場合には、窒化物半導体とサファイアとの格子定数差に起因する結晶欠陥または格子歪みなどを引き起こす。そのため、窒化物半導体層の成長用基板として単結晶サファイア基板を用いた場合における窒化物半導体層の現在最も一般的な成長法は、600℃程度の低温でAlNまたはGaNなどからなる低温成長バッファ層を単結晶サファイア基板の上に成長させた後、1000℃以上の高温で所望の窒化物半導体層を低温成長バッファ層の上に成長させるというものである(例えば特開2000−277435号公報(特許文献1)参照)。この低温成長バッファ層の導入によって、上記結晶欠陥が減少し、上記格子歪みが緩和する。
窒化物半導体では、原子間の結合が強い。そのため、窒化物半導体層の結晶品質を向上させるためには1000℃以上の高温での窒化物半導体層の成長が必要であると一般的に言われている。低温成長バッファ層の導入と1000℃以上の高温での窒化物半導体層の成長とによって窒化物半導体層のエピタキシャル成長が可能となり、その結果、紫外線から緑色光まで発光可能なLEDが広く実用化されるに至っている。
特開2000−277435号公報 特開2000−58912号公報
しかしながら、窒化物半導体層を含む発光素子(窒化物半導体発光素子)、特に一般照明用LEDまたはバックライト用青色LEDでは、近年、普及拡大と共に価格低下が急速に進行している。市場調査によると、2020年の価格水準は現在の価格水準の約1/5倍であると予想されている。
その一方で、窒化物半導体発光素子の素子特性(例えば、発光効率、発光強度、光の取り出し効率など)については、現状維持、または、現状よりも向上させることが期待されている。また、近年、殺菌、浄水、各種医療分野、公害物質の高速分解処理、または、樹脂硬化などに用いられる小型且つ省電力な新しい光源として、窒化物半導体層を含む紫外線発光素子が大いに期待されている。
以上より、窒化物半導体発光素子の素子特性を現状維持または現状よりも向上させつつ窒化物半導体発光素子の製造コストの低減を図る必要がある。窒化物半導体層の成長用基板として一般的に使われている単結晶サファイア基板では、ここ数年で面積当たり単価の低減が進んでいる。しかし、単結晶サファイアの引き上げ、または、単結晶サファイアの加工などにコストがかかるため、単結晶サファイア基板のさらなるコスト低減は困難である。ところで、特開2000−58912号公報(特許文献2)などでは、Zカット水晶基板のZ面に六方晶系のn−GaN薄膜などを形成することが提案されている。
本発明は、かかる点に鑑みてなされたものであり、その目的は、窒化物半導体層の成長用基板として単結晶サファイア基板を用いた場合に比べ、素子特性が現状維持または現状よりも向上された窒化物半導体発光素子を低コストで提供することである。
本発明の第1の窒化物半導体発光素子は、多結晶二酸化ケイ素またはアモルファス二酸化ケイ素を主成分として含む基板と、基板の上に設けられた下地層と、下地層の上に設けられ、窒化物半導体単結晶からなる層を少なくとも1つ有する積層構造とを備える。下地層は、c軸配向された結晶を含み、スパッタ法によって形成されたものである。
本発明の第2の窒化物半導体発光素子は、多結晶二酸化ケイ素またはアモルファス二酸化ケイ素を主成分として含む基板と、基板の上に設けられた下地層と、下地層の上に設けられ、窒化物半導体単結晶からなる層を少なくとも1つ有する積層構造とを備える。下地層は、c軸配向された結晶を含み、10原子%以下の希ガス原子を含む。
下地層は、c軸配向された結晶として、c軸配向されたAlN結晶、c軸配向されたBN結晶およびc軸配向されたGa23結晶のうちの少なくとも1つを含むことが好ましい。下地層は、c軸配向された結晶とは別に、10原子%以下の酸素原子をさらに含むことがより好ましい。
下地層側に位置する基板の表面には凹凸が形成されていることが好ましい。
基板は、ケイ素原子および酸素原子とは異なる第1原子をさらに含むことが好ましい。第1原子は、基板に含有されることによって基板の屈折率を二酸化ケイ素のみからなる基板の屈折率よりも大きくするものであることが好ましい。第1原子は、ランタン原子およびチタン原子のうちの少なくとも1つであることが好ましい。基板は、第1原子を1×1010cm-3以上1×1012cm-3以下含むことが好ましい。
積層構造の上にはp側電極が設けられていることが好ましく、下地層の下には基板に代えてn側電極が設けられていることが好ましい。
本発明の窒化物半導体発光素子の製造方法は、多結晶二酸化ケイ素またはアモルファス二酸化ケイ素を主成分として含む基板の上に、c軸配向された結晶を含む下地層をスパッタ法によって形成する工程と、下地層の上に、窒化物半導体単結晶からなる層を少なくとも1つ有する積層構造を形成する工程とを備える。
下地層側に位置する基板の表面に凹凸を形成する工程をさらに備えることが好ましい。サンドブラストによって凹凸を形成しても良いし、フッ化水素酸を含むエッチャントを用いたウエットエッチングによって凹凸を形成しても良い。
本発明の窒化物半導体発光素子の製造方法は、窒化物半導体単結晶からなる層を少なくとも1つ形成した後に基板を除去する工程と、積層構造の上にp側電極を形成する工程と、基板が除去されることにより露出された下地層の表面にn側電極を形成する工程とをさらに備えることが好ましい。
本発明では、窒化物半導体層の成長用基板として単結晶サファイア基板を用いた場合に比べ、素子特性が現状維持または現状よりも高められた窒化物半導体発光素子を低コストで提供できる。
本発明の一実施形態の窒化物半導体発光素子の断面図である。 本発明の一実施形態の窒化物半導体発光素子の断面図である。 本発明の一実施形態の窒化物半導体発光素子の製造工程の一工程を示す断面図である。 本発明の一実施形態の窒化物半導体発光素子の断面図である。
上述したように、窒化物半導体発光素子の素子特性を現状維持または現状よりも向上させつつ窒化物半導体発光素子の製造コストの低減を図ることが要求されている。しかし、単結晶サファイア基板の製造コストの更なる低減を図ることは難しい。そのため、窒化物半導体層の成長用基板として単結晶サファイア基板を用いる限りにおいては、窒化物半導体発光素子の製造コストの更なる低減は難しい。
ところで、二酸化ケイ素については、水熱合成法による大口径結晶の育成技術が成熟している。また、単結晶材料よりも多結晶材料およびアモルファス材料の方が安価で提供できると言われている。これらのことから、本発明者らは、窒化物半導体層の成長用基板として多結晶二酸化ケイ素またはアモルファス二酸化ケイ素を主成分として含む基板を用いれば窒化物半導体発光素子の製造コストを低減できるのではないかと考えた。
ここで、「単結晶」とは、結晶内のどの部分においても原子配列の向きが全く同一であるものを意味する。一方、「多結晶」とは、2以上の単結晶が互いに不規則に向きを異にして接触して形成されたものを意味する。そのため、多結晶二酸化ケイ素を主成分として含む基板の表面には、2以上の面方位が存在することとなる。また、「アモルファス」とは、結晶構造を有さないものを意味する。そのため、アモルファス二酸化ケイ素を主成分として含む基板の表面には、面方位が全く存在しないこととなる。これらのことから、多結晶二酸化ケイ素またはアモルファス二酸化ケイ素を主成分として含む基板の上に下地層を挟んで窒化物半導体層を成長させると、結晶品質に優れた下地層を得ることが難しいので結晶品質に優れた窒化物半導体層を得ることは難しい、と考えられていた。実際、窒化物半導体層の成長用基板としては単結晶基板が使用されている。また、窒化物半導体単結晶が六方晶の結晶構造を有することを考慮して、Zカット水晶基板などを窒化物半導体層の成長用基板として使用する場合もある(例えば特許文献2など)。
以上をまとめると、従来では、結晶品質に優れた窒化物半導体層を成長させるために、つまり窒化物半導体発光素子の素子特性を高めるために、窒化物半導体層の成長用基板として高価な単結晶基板を敢えて使用している。そこで、本発明者らは、窒化物半導体層の成長用基板として多結晶二酸化ケイ素またはアモルファス二酸化ケイ素を主成分として含む基板を用いた場合であっても結晶品質に優れた窒化物半導体層を成長可能な方法について、鋭意検討した。その結果、多結晶二酸化ケイ素またはアモルファス二酸化ケイ素を主成分として含む基板の上に所定のスパッタ法で下地層を形成することによって下地層の上には結晶品質に優れた窒化物半導体層を成長させることができるということが分かった。
以上の知見に基づいて、本発明の窒化物半導体発光素子が完成した。以下、本発明について図面を用いて説明する。なお、本発明の図面において、同一の参照符号は、同一部分又は相当部分を表すものである。また、長さ、幅、厚さ、深さ等の寸法関係は図面の明瞭化と簡略化のために適宜変更されており、実際の寸法関係を表すものではない。
以下では、位置関係を表すために、図1〜図4の下側に記載した部分を「下」と表現し、図1〜図4の上側に記載した部分を「上」と表現することがある。これは便宜上の表現であり、重力方向に対して定められる「上」及び「下」とは異なる。
≪第1の実施形態≫
[窒化物半導体発光素子の構造]
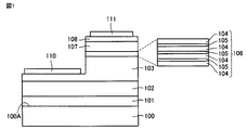
図1は、本発明の第1の実施形態の窒化物半導体発光素子の断面図である。本実施形態の窒化物半導体発光素子は、基板100と、基板100の上に設けられた下地層101と、下地層101の上に設けられた積層構造とを備える。基板100は、多結晶二酸化ケイ素またはアモルファス二酸化ケイ素を主成分として含む。下地層101は、c軸配向された結晶を含み、スパッタ法によって形成されたものである。または、下地層101は、c軸配向された結晶を含み、10原子%以下の希ガス原子を含む。積層構造は、窒化物半導体層(窒化物半導体単結晶からなる層)を少なくとも1つ有する。
本実施形態では、基板100の上には下地層101とバッファ層102と積層構造とが順に設けられており、積層構造ではn型窒化物半導体層103と発光層106とキャリアバリア層107とp型窒化物半導体層108とがバッファ層102の上に順に設けられている。n型窒化物半導体層103が露出するように積層構造がエッチングされており、n型窒化物半導体層103の露出面にはn側電極110が設けられている。また、p型窒化物半導体層108の上にはp側電極111が設けられている。
<基板>
(多結晶二酸化ケイ素またはアモルファス二酸化ケイ素)
基板100は、多結晶二酸化ケイ素またはアモルファス二酸化ケイ素を主成分として含む。そのため、基板100の製造コストを単結晶二酸化ケイ素基板の製造コストよりも低く抑えることができ、よって、基板100の製造コストを単結晶サファイア基板の製造コストよりも低く抑えることができる。したがって、本実施形態では、窒化物半導体層の成長用基板として単結晶サファイア基板を用いた場合に比べ、窒化物半導体層の成長用基板の製造コストを低減できるので、窒化物半導体発光素子の製造コストを低減できる。
本明細書では、「多結晶二酸化ケイ素またはアモルファス二酸化ケイ素を主成分として含む基板」とは、基板100が多結晶二酸化ケイ素またはアモルファス二酸化ケイ素を50質量%以上含むことを意味する。基板100は、好ましくは多結晶二酸化ケイ素またはアモルファス二酸化ケイ素を70質量%以上含み、より好ましくは多結晶二酸化ケイ素またはアモルファス二酸化ケイ素を90質量%以上含む。
本明細書では、ラマン分光法によって、基板100の材料が二酸化ケイ素であるか否かを確認している。また、FIB(Focused Ion Beam)装置で基板100を薄膜に加工して測定試料を作製し、作製された測定試料のTEM(Transmission Electron Microscope)画像またはSTEM(Scanning Transmission Electron Microscope)画像を観察することによって、基板100が多結晶二酸化ケイ素またはアモルファス二酸化ケイ素を含むか否かを確認している。上記TEM画像または上記STEM画像において、電子線回折像に弱いスポットが観察されれば多結晶二酸化ケイ素が基板100に含まれていると言え、電子線回折像の背景にハロー状のパターンが観察されればアモルファス二酸化ケイ素が基板100に含まれていると言える。
また、一般に、ラマンスペクトルには、分子構造の長距離秩序の程度が反映される。そのため、単結晶二酸化ケイ素と多結晶二酸化ケイ素とアモルファス二酸化ケイ素とでは、ラマンスペクトルの形状が明確に異なることとなる。よって、ラマンスペクトルの形状、ラマンスペクトルに現れる特定のピークのピーク強度、ラマンスペクトルに現れる特定のピークの半値幅、および、ラマンスペクトルに現れる特定のピークのピーク位置(ピーク波長)などを総合的に解析することによって、基板100における多結晶二酸化ケイ素またはアモルファス二酸化ケイ素の含有量を求めている。
(第1原子)
基板100は、ケイ素(Si)原子および酸素(O)原子とは異なる第1原子をさらに含むことが好ましい。ここで、第1原子は、基板100に含有されることによって基板100の屈折率を二酸化ケイ素のみからなる基板の屈折率よりも大きくするものである。つまり、第1原子を基板100に添加することによって基板100の屈折率を高めることができる。よって、窒化物半導体発光素子からの光の取り出し効率をさらに高めることができる。ここで、「二酸化ケイ素のみからなる基板」とは、多結晶二酸化ケイ素またはアモルファス二酸化ケイ素からなる基板であって、Si原子およびO原子とは異なる原子をさらに含まない基板を意味する。
詳細には、窒化物半導体発光素子を構成する窒化物半導体としては、GaN、AlNまたはInNなどが知られている。これらの屈折率については、GaNの屈折率が2.54であり、AlNの屈折率が2.2であり、InNの屈折率が3.5である。これらの混晶の屈折率は、混晶の組成に応じて、混晶に含まれている窒化物半導体の屈折率の間の値を示すこととなる。そのため、何れの場合であっても、窒化物半導体と大気との屈折率差が1.2(=2.2−1)以上となるので、窒化物半導体発光素子からの光の取り出し効率を高めることは難しい。
しかし、二酸化ケイ素の屈折率は、1.5程度である。そのため、基板100を窒化物半導体層の成長用基板として用いれば、窒化物半導体層と基板100との屈折率差が0.7(=2.2−1.5)以上となり、基板100と大気との屈折率差が0.5(=1.5−1)程度となる。第1原子の添加によって、基板100の屈折率が大きくなるので、窒化物半導体層と基板100との屈折率差が小さくなる。これにより、下地層101側に位置する基板100の表面100A(以下では「下地層側に位置する基板の表面」を「基板の上面」と記す)においては、発光層106で生じた光の反射率を低く抑えることができる(スネルの法則)。よって、基板100がSi原子およびO原子だけでなく第1原子を含んでいれば、二酸化ケイ素のみからなる基板に比べ窒化物半導体発光素子からの光の取り出し効率を高めることができる。
好ましくは、第1原子は、ランタン(La)原子およびチタン(Ti)原子のうちの少なくとも1つであり、基板100に1×1010cm-3以上1×1012cm-3以下含まれる。例えば、基板100がSi原子およびO原子だけでなくLa原子を1×1010cm-3以上1×1012cm-3以下含んでいれば、かかる基板100の屈折率は二酸化ケイ素のみからなる基板の屈折率よりも約0.1〜0.15程度大きくなる。基板100がSi原子およびO原子だけでなくTi原子を1×1010cm-3以上1×1012cm-3以下含んでいれば、かかる基板100の屈折率は二酸化ケイ素のみからなる基板の屈折率よりも約0.03〜0.05程度大きくなる。
また、本発明者らは、基板100における第1原子の濃度が1×1012cm-3以下であれば発光層106で生じた光が第1原子に吸収される量を低く抑えることができるということを確認している。これにより、窒化物半導体発光素子からの光の取り出し量を確保できるので、窒化物半導体発光素子からの光の取り出し効率を高く維持できる。より好ましくは、基板100は第1原子を1×1010cm-3以上5×1011cm-3以下含む。
本明細書では、WD−TXRF(Wavelength-Dispersive Total reflection X-Ray Fluorescence)によって、基板100に含まれる第1原子の種類および濃度を求めている。基板100における第1原子の位置は特に限定されない。基板100が多結晶二酸化ケイ素を主成分として含む場合には、第1原子は、隣り合う単結晶二酸化ケイ素の間に設けられていても良いし、基板100において点在していても良い。基板100がアモルファス二酸化ケイ素を主成分として含む場合には、第1原子は、基板100において点在していることが好ましい。
以上、基板100について説明したが、基板100は、多結晶二酸化ケイ素またはアモルファス二酸化ケイ素を主成分として含むので、可視光のみならず紫外線および深紫外線に対しても高い透過率を示す。「可視光」とは、波長が360nm以上830nm以下である電磁波を意味し、「紫外線」とは、波長が320nmよりも大きく360nm未満である電磁波を意味し、「深紫外線」とは、波長が200nm以上320nm以下である電磁波を意味する。そのため、基板100を用いて紫外線発光素子または深紫外線発光素子を提供することもできる。このことからも、単結晶サファイア基板の代替として基板100を使用できる。このような基板100の厚さは、200μm以上1500μm以下であることが好ましい。
<下地層>
上述したように、下地層101はスパッタ法で形成されたものである。そのため、基板100を窒化物半導体層の成長用基板として使用した場合であっても、下地層101の上には結晶品質に優れた窒化物半導体層を成長させることができる。このような効果が得られる理由としては次に示すことが考えられる。
スパッタ法では、不活性ガスのイオン化によって発生した電子またはイオンが高速でターゲットに衝突し、ターゲットを構成する重原子または分子がターゲットから叩き出される(スパッタリング現象)。スパッタリング現象によってイオン化された重原子または分子は、大きな運動エネルギーを持った状態で成膜面(本実施形態では基板100の上面100A)に到着し、その成膜面に付着する。このようにして、成膜面に膜が形成される。
このように、「スパッタ法」とは、成膜面において化学反応または相変化などを起こすことなくその成膜面に膜を物理的に形成する手法である。そのため、基板100の選択性がない。つまり、膜を化学的に形成する(例えばCVD(chemical vapor deposition)法などで膜を形成する)場合には使用できない基板を窒化物半導体層の成長用基板として使用できる。よって、基板100を窒化物半導体層の成長用基板として使用した場合であっても、基板100の結晶品質などを受け継ぐことなく下地層101を形成できる。
また、スパッタ法では、膜が成膜面に物理的に形成されるので、ターゲットの材料が本来有する性質が維持された状態で成膜可能である。それだけでなく、ターゲットの材料として高融点な材料を用いた場合であっても、ターゲットの材料の組成が維持された状態で成膜可能である。例えば、イオン性結合を有する材料は、c軸配向され易いという性質を有し、また、高い融点を有する。そのため、下地層101を形成するためのターゲットとしてイオン性結合を有する材料からなるターゲットを用いれば、c軸配向され易いという性質とターゲットの材料の組成とが維持された状態で下地層101を形成できる。よって、形成された下地層101は、c軸配向された結晶であってターゲットの材料の組成からなる結晶を含むこととなる。したがって、結晶品質に優れた下地層101を形成できる。それだけでなく、イオン性結合を有する材料からなるターゲットは低コストで入手されるので、下地層101を低コストで提供できる。また、スパッタ法では、膜が成膜面に物理的に形成されるので、化学反応の進行を考慮して成膜条件を設定または変更する必要がない。以上のことから、結晶品質に優れた下地層101を低コスト且つ容易に形成できる。
さらに、スパッタ法では、イオン化された重原子または分子は、大きな運動エネルギーを持った状態で成膜面に到着するので、成膜面に対し強い付着力で付着する。よって、形成された下地層101の少なくとも一部が基板100の上面100Aから剥離することを防止できるので、貫通孔(例えばマイクロパイプ状の貫通孔)の形成を伴うことなく下地層101を形成できる。
以上より、基板100を窒化物半導体層の成長用基板として使用した場合であっても、イオン性結合を有する材料からなるターゲットを用いてスパッタ法で下地層101を基板100の上面100Aに形成すれば、貫通孔の形成を伴うことなく結晶品質に優れた下地層101を基板100の上面100Aに低コストで形成できる。これにより、基板100の上面100Aは、結晶品質に優れた下地層101によって被覆されることとなる。よって、下地層101の上には、基板100の結晶品質を継承することなく窒化物半導体層を形成できるので、結晶品質に優れた窒化物半導体層を形成できる。したがって、窒化物半導体層の成長用基板として単結晶サファイア基板を用いた場合に比べ、素子特性が現状維持または現状よりも高められた窒化物半導体発光素子を低コストで提供できる。
イオン性結合を有する材料としては、例えば、AlN、BNまたはGa23などが挙げられる。そのため、下地層101は、c軸配向された結晶として、c軸配向されたAlN結晶、c軸配向されたBN結晶およびc軸配向されたGa23結晶のうちの少なくとも1つを含むことが好ましい。下地層101のX線回折スペクトルを測定することによって、c軸配向された結晶の材料を確認できる。
より好ましくは、下地層101は、c軸配向された結晶とは別に、10原子%以下の酸素原子をさらに含む。これにより、下地層101に含まれる結晶(例えばAlN結晶、BN結晶またはGa23結晶など)のc軸配向性を高く維持できる。よって、窒化物半導体層の成長用基板として単結晶サファイア基板を用いた場合に比べ、素子特性がさらに高められた窒化物半導体発光素子を低コストで提供できる。さらに好ましくは、下地層101は、c軸配向された結晶とは別に、3原子%以上8原子%以下の酸素原子をさらに含む。本明細書では、「下地層は、c軸配向された結晶とは別に、10原子%以下の酸素原子をさらに含む」とは、かかる酸素原子がc軸配向された結晶の結晶構造を構成しないことを意味する。本明細書では、SIMS(Secondary Ion Mass Spectrometry)によって、下地層101における上記酸素原子の濃度を求めている。
上述したように、イオン性結合を有する材料からなるターゲットを用いてスパッタ法で下地層101を形成することによって、c軸配向された結晶であってターゲットの材料の組成からなる結晶を含む下地層101を形成できる。そのため、本明細書では、「下地層は、c軸配向された結晶を含」むとは、下地層101が、イオン性結合を有する材料からなるターゲットを用いてスパッタ法によって形成されたことを意味する。
また、「c軸配向された結晶」とは、結晶のc面((001)面)が基板100の上面100Aに対し平行となるように当該結晶が集積されていることを意味する。下地層101の面(0002)のX線ロッキングカーブの半値幅が1000秒以下であり、且つ、下地層101の面(1−102)のX線ロッキングカーブの半値幅が1000秒以下であれば、下地層101に含まれている結晶がc軸配向されていると言える。
さらに、上述したように、スパッタ法では、不活性ガスの雰囲気下において成膜処理が行われるので、不活性ガスが取り込まれて成膜されると言われている。そのため、本明細書では、「下地層は、スパッタ法によって形成されたもの」は、「下地層は、10原子%以下の希ガス原子を含む」と言い換えることができ、好ましくは「下地層は、3原子%以上8原子%以下の希ガス原子を含む」と言い換えることができる。本明細書では、SIMSによって、下地層101における希ガス原子の濃度を求めている。なお、一般的には、不活性ガスとしては、アルゴン(Ar)、クリプトン(Kr)またはキセノン(Xe)などの希ガスが使用されている。
以上、下地層101について説明したが、下地層101の厚さは500nm以上であることが好ましい。これにより、基板100の上面100Aが下地層101によって完全に被覆されることとなるので、下地層101の上に形成される窒化物半導体層の結晶品質をさらに高めることができる。より好ましくは、下地層101の厚さは500nm以上2000nm以下である。
<バッファ層>
バッファ層102が下地層101と積層構造との間に設けられていることによって、積層構造に含まれる窒化物半導体層の結晶品質をさらに高めることができる。これにより、窒化物半導体発光素子の素子特性をさらに向上させることができる。よって、窒化物半導体層の成長用基板として単結晶サファイア基板を用いた場合に比べ、素子特性がさらに高められた窒化物半導体発光素子を低コストで提供できる。
バッファ層102は、AlGaNからなっても良いが、AlNからなることが好ましい。バッファ層102がAlNからなれば、下地層101の材料と積層構造に含まれる窒化物半導体層の材料との格子不整合に起因するクラックの発生を防止できる。詳細には、積層構造に含まれる窒化物半導体層を構成する窒化物半導体の組成が考えられ得る組成のいずれであっても、バッファ層102が下地層101に対して圧縮応力を与えることとなる。よって、上記クラックの発生を防止できる。
このようなバッファ層102の厚さは2μm以上6μm以下であることが好ましい。これにより、積層構造に含まれる窒化物半導体層の結晶品質をさらに高めることができる。特に、バッファ層102の厚さが6μm以下であれば、バッファ層102が窒化物半導体層の結晶品質に対し悪影響を与えることを防止できる。
<積層構造>
(n型窒化物半導体層)
n型窒化物半導体層103を構成する窒化物半導体は、GaN、AlGaN、InGaNまたはInAlGaNであることが好ましく、これらの少なくとも2つからなる混晶であっても良い。窒化物半導体発光素子に要求される発光波長に応じて、n型窒化物半導体層103を構成する窒化物半導体の組成が決定されることが好ましい。これにより、発光層106で生じた光がn型窒化物半導体層103で吸収されることを防止できる。よって、窒化物半導体発光素子からの光の取り出し量を確保できるので、窒化物半導体発光素子からの光の取り出し効率を高く維持できる。
例えば、n型窒化物半導体層103を構成する窒化物半導体がAlx1Ga1-x1N(0.7≦x1≦1)であれば、発光層106で生じた光(例えば深紫外線)がn型窒化物半導体層103で吸収されることを防止できる。また、n型窒化物半導体層103を構成する窒化物半導体がAlx2Ga1-x2N(0.5≦x2≦1)であれば、発光層106で生じた光(例えば紫外線)がn型窒化物半導体層103で吸収されることを防止できる。また、n型窒化物半導体層103を構成する窒化物半導体がInx3Ga1-x3N(0≦x3≦0.05)であれば、発光層106で生じた光(例えば可視光)がn型窒化物半導体層103で吸収されることを防止できる。
n型窒化物半導体層103におけるn型不純物の濃度は、好ましくは1×1016cm-3以上8×1018cm-3以下であり、より好ましくは1×1016cm-3以上1×1018cm-3以下である。窒化物半導体発光素子に要求される素子特性に応じて、n型窒化物半導体層103におけるn型不純物の濃度が決定されることが好ましい。n型不純物は、Si、SeおよびGeのうちの少なくとも1つであれば良いが、Siであることが好ましい。
このようなn型窒化物半導体層103の厚さは、1μm以上4μm以下であることが好ましい。なお、n型窒化物半導体層103は、窒化物半導体の組成、n型不純物の濃度および厚さのうちの少なくとも1つが互いに異なる2以上の層が積層されて構成されたものであっても良い。
(発光層)
発光層106は、井戸層105が障壁層104で挟まれて構成されたものであることが好ましい。窒化物半導体発光素子に要求される発光波長または素子特性などに応じて、障壁層104を構成する窒化物半導体の組成、障壁層104の厚さ、井戸層105を構成する窒化物半導体の組成、または、井戸層105の厚さが決定されることが好ましい。また、障壁層104の厚さ、および、井戸層105の厚さに関しては、発光層106での量子準位の形成をさらに考慮して決定されることが好ましい。
例えば、深紫外線を発生させる窒化物半導体発光素子では、井戸層105は、好ましくはAlを含み、より好ましくはAls1Ga1-s1N(0.4≦s1≦0.6)からなる。また、紫外線を発生させる窒化物半導体発光素子では、井戸層105は、好ましくはAlを含み、より好ましくはAls2Ga1-s2N(0.05≦s2≦0.3)からなる。また、可視光を発生させる窒化物半導体発光素子では、井戸層105は、好ましくはInを含み、より好ましくはIns3Ga1-s3N(0.08≦s3≦0.7)からなる。
また、障壁層104は、井戸層105よりも大きなバンドギャップエネルギーを有することが好ましく、発光層106で生じた光を吸収しないことが好ましい。例えば、深紫外線を発生させる窒化物半導体発光素子では、障壁層104を構成する窒化物半導体のAl組成は井戸層105を構成する窒化物半導体のAl組成よりも高いことが好ましい。例えば、障壁層104は、Alt1Ga1-t1N(0.45≦t1≦0.65)からなることが好ましい。このように、深紫外線を発生させる窒化物半導体発光素子では、障壁層104および井戸層105のそれぞれを構成する窒化物半導体のAl組成が高くなるので、正孔(正孔は有効質量が大きい)がp型窒化物半導体層108から発光層106(特に井戸層105)に注入され難くなる。そのため、障壁層104の厚さを大きくすると、正孔が井戸層105に注入され難くなる。また、井戸層105の厚さを大きくすると、発光層106の厚さ方向中央に位置する井戸層105に対する正孔の注入が困難となる。以上のことから、障壁層104の厚さは、好ましくは5nm以下であり、より好ましくは1nm以上5nm以下である。また、井戸層105の厚さは、好ましくは5nm以下であり、より好ましくは1nm以上5nm以下である。
また、紫外線を発生させる窒化物半導体発光素子では、障壁層104を構成する窒化物半導体のAl組成は井戸層105を構成する窒化物半導体のAl組成よりも高いことが好ましい。例えば、障壁層104は、Alt2Ga1-t2N(0.08≦t2≦0.35)からなることが好ましい。この場合、障壁層104の厚さは、好ましくは5nm以下であり、より好ましくは1nm以上5nm以下である。また、井戸層105の厚さは、好ましくは5nm以下であり、より好ましくは1nm以上5nm以下である。
また、可視光を発生させる窒化物半導体発光素子では、障壁層104を構成する窒化物半導体のIn組成は井戸層105を構成する窒化物半導体のIn組成よりも低いことが好ましい。例えば、障壁層104は、Int3Ga1-t3N(0.05≦t3≦0.65)からなることが好ましい。この場合、障壁層104の厚さは、好ましくは5nm以下であり、より好ましくは1nm以上5nm以下である。また、井戸層105の厚さは、好ましくは5nm以下であり、より好ましくは1nm以上5nm以下である。
p型窒化物半導体層108から発光層106(特に井戸層105)への正孔の注入効率を高く維持できるのであれば、発光層106における障壁層104の層数は限定されず、発光層106における井戸層105の層数もまた限定されない。
(キャリアバリア層)
キャリアバリア層107とは、発光層106に注入された電子がp型窒化物半導体層108側へオーバーフローすることを防止する機能を有する層を意味する。そのため、キャリアバリア層107を構成する窒化物半導体のAl組成は、障壁層104および井戸層105のそれぞれを構成する窒化物半導体のAl組成よりも高いことが好ましい。また、キャリアバリア層107は、上記機能を発揮できる厚さの最小値以上の厚さを有することが好ましい。
一方、窒化物半導体のAl組成が高い層の厚さを大きくすると、窒化物半導体発光素子の直列抵抗の増大を招き、よって、窒化物半導体発光素子の電力変換効率の低下を引き起こす。それだけでなく、キャリアバリア層107の厚さが大きければ、正孔がp型窒化物半導体層108から発光層106(特に井戸層105)に注入され難くなる。以上をふまえて、キャリアバリア層107を構成する窒化物半導体の組成とキャリアバリア層107の厚さとを決定することが好ましい。例えば、キャリアバリア層107は、好ましくはAlu1Ga1-u1N(0.7≦u1≦0.9)からなり、より好ましくはAlu1Ga1-u1N(0.75≦u1≦0.9)からなる。また、キャリアバリア層107の厚さは、好ましくは10nm以上200nm以下であり、より好ましくは30nm以上200nm以下である。
なお、キャリアバリア層107はp型不純物を含むことが好ましい。これにより、窒化物半導体発光素子の直列抵抗を低く抑えることができる。p型不純物としてはMgを使用できる。
(p型窒化物半導体層)
p型窒化物半導体層108を構成する窒化物半導体については、n型窒化物半導体層103を構成する窒化物半導体と同様のことが言える。例えば、p型窒化物半導体層108を構成する窒化物半導体がAly1Ga1-y1N(0.7≦y1≦1)であれば、発光層106で生じた光(例えば深紫外線)がp型窒化物半導体層108で吸収されることを防止できる。また、p型窒化物半導体層108を構成する窒化物半導体がAly2Ga1-y2N(0.5≦y2≦1)であれば、発光層106で生じた光(例えば紫外線)がp型窒化物半導体層108で吸収されることを防止できる。また、p型窒化物半導体層108を構成する窒化物半導体がIny3Ga1-y3N(0≦y3≦0.05)であれば、発光層106で生じた光(例えば可視光)がp型窒化物半導体層108で吸収されることを防止できる。
p型窒化物半導体層108におけるp型不純物の濃度は1×1018cm-3以上1×1020cm-3以下であることが好ましい。窒化物半導体発光素子に要求される素子特性に応じて、p型窒化物半導体層108におけるp型不純物の濃度が決定されることが好ましい。例えば、p型窒化物半導体層108におけるp型不純物の濃度が高ければ、窒化物半導体発光素子の直列抵抗を低く抑えることができる。
このようなp型窒化物半導体層108の厚さは、好ましくは0.05μm以上1.5μm以下であり、より好ましくは0.5μm以上1.5μm以下である。なお、p型窒化物半導体層108は、キャリアバリア層107の上に設けられた第1p型窒化物半導体層と、第1p型窒化物半導体層の上に設けられ、且つ、p型不純物の濃度が第1p型窒化物半導体層よりも高い第2p型窒化物半導体層とを有することが好ましい。これにより、窒化物半導体発光素子の直列抵抗をさらに低く抑えることができる。
<n側電極、p側電極>
n側電極110の材料としては、n型窒化物半導体層に対するコンタクト電極の材料として一般的な材料を特に限定されることなく使用でき、例えば、Ni/Auを使用できる。p側電極111の材料としては、p型窒化物半導体層に対するコンタクト電極の材料として一般的な材料を特に限定されることなく使用でき、例えば、Pd/Auを使用できる。
n側電極110の厚さは、n型窒化物半導体層に対するコンタクト電極の厚さとして一般的な厚さを特に限定されることなく採用できるが、1μm以上であることが好ましい。これにより、n側電極110に対してワイヤーボンディングを行うことができる。p側電極111の厚さについても同様のことが言える。
[窒化物半導体発光素子の製造]
以下に示す窒化物半導体発光素子の製造方法では、窒化物半導体発光素子形成用ウエハ(以下では単に「ウエハ」と記す)をチップに分割することによって本実施形態の窒化物半導体発光素子を得ている。以下では、ウエハの構成要素には窒化物半導体発光素子の対応する構成要素の符号を付して、窒化物半導体発光素子の製造方法を説明する。なお、ウエハの構成要素の材料および厚さなどについては、上記[窒化物半導体発光素子の構造]で説明した通りである。
<下地層の形成>
下地層101の形成工程では、基板100の上に、c軸配向された結晶を含む下地層101をスパッタ法によって形成する。
例えば、まず、基板100をスパッタ装置内の所定の位置に設置し、また、ターゲットをスパッタ装置内の所定の位置に設置する。このとき、基板100の上面100Aがターゲットに対向するように、基板100をスパッタ装置内に設置する。
スパッタ装置内に設置される基板100としては、直径が2インチ(50.8mm)以上の基板100を使用することが好ましく、直径が4インチ(101.6mm)以上の基板100を使用することがより好ましい。直径が4インチ以上の基板100の方が、直径が2インチ以上の基板100に比べ、単位面積当たりの価格を低く抑えることができる。よって、直径が4インチ(101.6mm)以上の基板100を使用すれば、窒化物半導体発光素子の製造コストをさらに低く抑えることができる。
また、スパッタ装置内に設置される基板100としては、有機溶媒により洗浄された後に純水により洗浄された基板100を使用することが好ましい。この2回にわたる洗浄によって、基板100の表面から有機物または微粒子状付着物などを除去することができる。よって、有機物または微粒子状付着物などが表面に付着していない基板100を窒化物半導体層の成長用基板として用いることができる。ここで、有機溶媒としては、洗浄用溶媒として一般的に使用されている有機溶媒を使用できる。
スパッタ装置内に設置されるターゲットとしては、単結晶材料からなるターゲットを使用しても良いが、多結晶材料からなるターゲットを使用することが好ましい。これにより、下地層101の形成コストを低く抑えることができるので、窒化物半導体発光素子の製造コストを低く抑えることができる。
スパッタ装置としては、窒化物半導体発光素子を製造するために一般的に使用されているスパッタ装置を特に限定されることなく使用できる。
次に、スパッタ装置内を真空引きした後、不活性ガスをスパッタ装置内に導入し、基板100とターゲットとの間に高周波電圧を印加する。これにより、スパッタ装置内では、高周波放電が起こるので、スパッタリング現象が発生する。よって、下地層101がスパッタ法によって基板100の上面100Aに形成されることとなる。
下地層101の形成時には、基板100を加熱しなくても良いが、基板100を加熱する方が好ましい。下地層101の形成時における基板100の加熱によって、下地層101に含まれる結晶がc軸配向され易くなるので、結晶品質に優れた下地層101が形成され易くなる。このような効果を効果的に得るためには、基板100の加熱温度を400℃以下とすることが好ましく、基板100の加熱温度を50℃以上150℃以下とすることがより好ましい。基板100の加熱温度が400℃以下であれば、ターゲットの材料が窒素原子を含む場合(例えばターゲットがAlNからなる場合)において窒素原子がターゲットから解離することを防止できるという効果も得られる。
<バッファ層の形成>
バッファ層102の形成工程では、下地層101の上にバッファ層102を例えばMOCVD(Metal Organic Chemical Vapor Deposition)法によって形成する。これにより、バッファ層102の量産に資するので、窒化物半導体発光素子の量産に資する。
例えば、まず、下地層101が形成された基板100をスパッタ装置から取り出しMOCVD装置内に設置する。MOCVD装置としては、窒化物半導体発光素子を製造するために一般的に使用されているMOCVD装置を特に限定されることなく使用できる。
次に、基板100の温度を上昇させる。このとき、水素、アンモニアおよび窒素のうちの少なくとも1つを含む雰囲気下で基板100の温度を上昇させることが好ましい。下地層101が窒素原子を含む場合(例えば下地層101がc軸配向されたAlN結晶を含む場合)には、アンモニアを含む雰囲気下で基板100の温度上昇させることが好ましい。これにより、基板100の温度が400℃を超えても、下地層101からの窒素原子の解離を防止できる。
続いて、基板100の温度を保持した状態で、窒化物半導体単結晶の成長を開始する。深紫外線を発生させる窒化物半導体発光素子を製造する場合には、Alを含む窒化物半導体単結晶を成長させる場合が多い。そのため、基板100の温度を1000℃以上の温度に保持した状態で窒化物半導体単結晶を成長させることが好ましい。紫外線を発生させる窒化物半導体発光素子を製造する場合には、Alを含む窒化物半導体単結晶を成長させる場合が多い。そのため、基板100の温度を1200℃以上の温度に保持した状態で窒化物半導体単結晶を成長させることが好ましい。可視光を発生させる窒化物半導体発光素子を製造する場合には、Inを含む窒化物半導体単結晶を成長させる場合が多い。そのため、基板100の温度を700℃以下の温度に保持した状態で窒化物半導体単結晶を成長させることが好ましい。
<積層構造の形成>
積層構造の形成工程では、バッファ層102の上に、n型窒化物半導体層103、発光層106、キャリアバリア層107およびp型窒化物半導体層108を順に形成する。MOCVD法によって積層構造を形成することが好ましい。このとき、バッファ層102を形成するために使用したMOCVD装置を用いて積層構造を形成しても良いし、バッファ層102を形成するために使用したMOCVD装置とは異なるMOCVD装置を用いて積層構造を形成しても良い。このようにしてウエハが作製される。
<n側電極およびp側電極の形成>
n側電極110およびp側電極111の形成工程では、n型窒化物半導体層103の露出面にn側電極110を形成し、p型窒化物半導体層108の上面にp側電極111を形成する。
例えば、まず、ウエハをMOCVD装置から取り出した後、p型不純物の活性化を行う。その後、フォトリソグラフィとRIE(Reactive Ion Etching)とによってp型窒化物半導体層108、キャリアバリア層107、発光層106およびn型窒化物半導体層103をエッチングし、n型窒化物半導体層103の露出面を形成する。例えば真空蒸着法によって、n型窒化物半導体層103の露出面にn側電極110を形成する。
また、例えばフォトリソグラフィによって、p型窒化物半導体層108の上面のうちp側電極111の形成領域とは異なる領域にマスクを形成する。その後、例えば真空蒸着法によって、p型窒化物半導体層108の上面のうち上記マスクから露出する部分にp側電極111を形成する。
n側電極110およびp側電極111の形成後に熱処理を行うことが好ましい。これにより、n側電極110が焼結化され、よって、n側電極110とn型窒化物半導体層103とがオーミックコンタクトされる。また、p側電極111が焼結化され、よって、p側電極111とp型窒化物半導体層108とがオーミックコンタクトされる。
<個片化>
例えばダイシングまたはレーザスクライブなどによってウエハをチップに分割する。このようにして窒化物半導体発光素子が製造される。好ましくは、製造された窒化物半導体発光素子をステムに実装し、窒化物半導体発光素子とステムとを電気的に接続した後、樹脂などによって窒化物半導体発光素子を封止する。
≪第2の実施形態≫
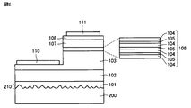
図2は、本発明の第2の実施形態の窒化物半導体発光素子の断面図である。本実施形態の窒化物半導体発光素子は、上記第1の実施形態の基板100の代わりに、上面に凹凸210が形成された基板200を備えている。以下では、上記第1の実施形態とは異なる点を主に説明する。
本実施形態では、基板200の上面に凹凸210が形成されているので、基板200の上面では発光層106で生じた光が散乱することとなる。これにより、凹凸210の表面に対して所定の入射角(0°<入射角<90°)で入射した光(発光層106で生じた光)も窒化物半導体発光素子の外へ取り出されることとなるので、窒化物半導体発光素子からの光の取り出し効率をさらに高めることができる。
下地層101を基板200の上面に化学的に形成する場合には、基板200の上面では化学反応の進行または反応性ガスの流れなどが凹凸210によって不均一となる。そのため、基板200の上面において成膜処理を均一に行うことが難しく、成膜処理は基板200の上面の平坦性などの影響を受けることとなる。
しかし、本実施形態では、上記第1の実施形態と同じく、下地層101は、基板200の上面にスパッタ法によって形成されたものであるので、基板200の上面に物理的に形成されたものである。そのため、化学反応の進行または反応性ガスの流れなどの影響を受けることなく下地層101を形成できる。よって、基板200の上面に凹凸210が形成されている場合であっても、基板200の上面には結晶品質が均一な下地層101を形成することができるので、下地層101の上には結晶品質が均一な窒化物半導体層を形成できる。したがって、基板200の上面に凹凸210を形成することによって窒化物半導体発光素子の光の取り出し効率の向上を実現できる。以上より、窒化物半導体層の成長用基板として単結晶サファイア基板を用いた場合に比べ、素子特性(例えば光の取り出し効率)がさらに高められた窒化物半導体発光素子を低コストで提供できる。
凹凸210では、凹部または凸部の形状、凹部または凸部の大きさ、凹部または凸部の個数、または、凹部または凸部の間隔などは特に限定されない。また、隣り合う凹部においては、凹部の形状または大きさは互いに同じであっても互いに異なっても良い。このことは隣り合う凸部についても言える。さらに、基板200の上面において凹部の間隔は均一であっても互いに異なっても良い。このことは基板200の上面における凸部の間隔についても言える。例えば、凹部または凸部の形状は円錐または多角錐であることが好ましく、凹部の深さまたは凸部の高さは50nm以上500nm以下であることが好ましく、隣り合う凹部の間隔または隣り合う凸部の間隔は50μm以上200μm以下であることが好ましい。
凹凸210の形成方法は特に限定されない。単結晶サファイア基板に対して凹凸加工を行う場合には、高出力エキシマレーザ光などを単結晶サファイア基板に照射する必要がある。そのため、単結晶サファイア基板に対する凹凸加工には困難を伴う。しかし、基板200は多結晶二酸化ケイ素またはアモルファス二酸化ケイ素を主成分として含んでいるので、サンドブラスト、または、フッ化水素酸を含むエッチャントを用いたウエットエッチングによって、基板200に対して凹凸加工を行うことができる。よって、単結晶サファイア基板に対する凹凸加工よりも基板200に対する凹凸加工を容易に且つ低コストで行うことができる。したがって、窒化物半導体層の成長用基板として単結晶サファイア基板を用いた場合に比べ、素子特性(例えば光の取り出し効率)がさらに高められた窒化物半導体発光素子をさらに低コストで提供できる。
サンドブラストの条件としては、基板の表面に凹凸を形成するときのサンドブラストの条件として一般的な条件を特に限定されることなく使用できる。サンドブラストで使用される研磨剤粒子の大きさ、または、研磨剤粒子を基板200の上面に噴射する時間などを変更すれば、凹凸210の形状または大きさが変更される。
また、フッ化水素酸を含むエッチャントを用いたウエットエッチングの条件としては、基板の表面に凹凸を形成するときのウエットエッチングの条件として一般的な条件を特に限定されることなく使用できる。基板200の上面を上記エッチャントに浸漬させる時間などを変更すれば、凹凸210の形状または大きさが変更される。
≪第3の実施形態≫
図3は、本発明の第3の実施形態の窒化物半導体発光素子の製造工程の一工程を示す断面図である。図4は、本実施形態の窒化物半導体発光素子の断面図である。本実施形態では、積層構造を形成した後に基板100を除去する。そのため、製造された窒化物半導体発光素子は基板100を備えていない(図4)。以下では、上記第1の実施形態とは異なる点を主に説明する。
[窒化物半導体発光素子の製造]
<積層構造およびp側電極の形成>
まず、上記第1の実施形態に記載の方法にしたがってウエハを形成した後、p型不純物を活性化させる。積層構造などをエッチングすることなく、上記第1の実施形態に記載の方法にしたがってp型窒化物半導体層108の上面にp側電極311を形成する。その後、p側電極311の上面に支持基体312を接着する。このようにして図3に示す積層体が形成される。
支持基体312は、導電性を有することが好ましい。これにより、窒化物半導体発光素子への電圧印加時に発生する電気抵抗を低く抑えることができる。
より好ましくは、支持基体312は、積層構造に含まれる窒化物半導体層を構成する窒化物半導体と同程度の熱膨張係数を有する材料からなる。これにより、支持基体312の材料と積層構造に含まれる窒化物半導体層の材料との熱膨張係数差に起因するクラックの発生を防止できる。このような材料としては、例えば、タングステンが挙げられる。
支持基体312をp側電極311の上面に接着させるための接着剤は導電性を有することが好ましい。これによっても、窒化物半導体発光素子への電圧印加時に発生する電気抵抗を低く抑えることができる。このような接着剤は、集積回路(Integrated Circuit)を実装基板などに接着させるときに一般的に使用される接着剤(例えば熱硬化性を有する接着剤)であることが好ましいが、低融点な接着剤(例えばハンダ)であっても良い。
<基板の除去>
次に、図3に示す積層体をフッ化水素酸を含むエッチャントに浸漬させる。これにより、基板100が選択的に除去される。基板100の大きさに応じて、図3に示す積層体を上記エッチャントへ浸漬させる時間を変更することが好ましい。
<n側電極の形成>
続いて、基板100が除去されることにより露出した下地層101の表面(「積層構造とは反対側に位置する下地層101の表面」とも言える。以下では、「下地層の露出面」と記す)101Aにn側電極310を形成する。このとき、n側電極310を下地層101の露出面101Aにストライプ状に形成することが好ましく、より好ましくはn側電極310を下地層101の露出面101Aにマトリックス状に形成する。このようにして、本実施形態の窒化物半導体発光素子が製造される(図4)。
[窒化物半導体発光素子の構成]
このようにして製造された窒化物半導体発光素子では、図4に示すように、下地層101とバッファ層102とn型窒化物半導体層103と発光層106とキャリアバリア層107とp型窒化物半導体層108とがこの順に設けられている。n側電極310は、下地層101の露出面101Aにおいてストライプ状またはマトリックス状に設けられており、p側電極311は、p型窒化物半導体層108の下面に設けられている。
本実施形態の窒化物半導体発光素子では、n側電極310は素子の上面側に設けられており、p側電極311は素子の下面側に設けられている。これにより、本実施形態の窒化物半導体発光素子では、n側電極310とp側電極311との間を流れる電流は、発光層106に対し垂直に流れることとなる。つまり、本実施形態の窒化物半導体発光素子は、いわゆる縦型構造の窒化物半導体発光素子である。
ここで、窒化物半導体発光素子には、縦型構造の窒化物半導体発光素子と横型構造の窒化物半導体発光素子とが存在する。横型構造の窒化物半導体発光素子では、n側電極とp側電極との間を流れる電流が発光層に対し平行に流れる(図1または図2参照)。そのため、横型構造の窒化物半導体発光素子では、縦型構造の窒化物半導体発光素子に比べ、発光層106での発光面積が小さくなるので、窒化物半導体発光素子の単位サイズ当たりの光の取り出し量が低下する。また、電流が窒化物半導体発光素子の内部を流れるときに発生する電気抵抗が増加する。よって、縦型構造の窒化物半導体発光素子と横型構造の窒化物半導体発光素子とにおいて素子構造が全く同一であれば、縦型構造の窒化物半導体発光素子の方が横型構造の窒化物半導体発光素子よりも優れた素子特性を示すこととなる。以上のことから、横型構造の窒化物半導体発光素子よりも縦型構造の窒化物半導体発光素子を提供することが好ましいと言われている。
しかし、縦型構造の窒化物半導体発光素子を製造するためには、その製造過程において窒化物半導体層の成長用基板を除去する必要がある。窒化物半導体層の成長用基板として単結晶サファイア基板を用いた場合には、高出力エキシマレーザ光などを単結晶サファイア基板に照射することによって単結晶サファイア基板を除去することとなる。そのため、窒化物半導体層の成長用基板の除去に困難を伴うため、縦型構造の窒化物半導体発光素子を低コストで提供することが難しくなる。
一方、窒化物半導体層の成長用基板として基板100を用いた場合には、図3に示す積層体を上記エッチャントに浸漬させることによって基板100を除去することができる。なぜならば、基板100の主成分である多結晶二酸化ケイ素またはアモルファス二酸化ケイ素がフッ化水素酸によって溶解されるためである。よって、困難を伴うことなく基板100を除去できるので、縦型構造の窒化物半導体発光素子を容易に且つ低コストで提供できる。以上より、本実施形態では、窒化物半導体層の成長用基板として単結晶サファイア基板を用いた場合に比べ、素子特性(例えば光の取り出し効率)がさらに高められた窒化物半導体発光素子をさらに低コストで提供できることとなる。
それだけでなく、p側電極311は、上記第1の実施形態で説明したように金属からなるので、発光層106で生じた光をn側電極310側へ反射させるための反射層として機能し得る。これにより、発光層106で生じた光の多くは、n側電極310側から窒化物半導体発光素子の外側へ取り出されることとなる。そのため、n側電極310が下地層101の露出面101Aにおいてストライプ状に設けられていれば、発光層106で生じた光は、下地層101の露出面101Aのうちn側電極310が設けられていない部分から優先的に窒化物半導体発光素子の外へ取り出されることとなる。よって、n側電極310が下地層101の露出面101A全体に設けられている場合に比べ、光(発光層106で生じた光)がn側電極310によって遮られる量を少なく抑えることができる。したがって、本実施形態においてn側電極310が下地層101の露出面101Aにおいてストライプ状に設けられていれば、窒化物半導体層の成長用基板として単結晶サファイア基板を用いた場合に比べ素子特性(例えば光の取り出し効率)がより一層高められた窒化物半導体発光素子をさらに低コストで提供できる。
n側電極310が下地層101の露出面101Aにおいてマトリックス状に設けられていれば、光(発光層106で生じた光)がn側電極310によって遮られる量をさらに少なく抑えることができる。よって、本実施形態においてn側電極310が下地層101の露出面101Aにおいてマトリックス状に設けられていれば、窒化物半導体層の成長用基板として単結晶サファイア基板を用いた場合に比べ素子特性(例えば光の取り出し効率)がさらに一層高められた窒化物半導体発光素子をさらに低コストで提供できる。
n側電極310の大きさまたは形状、または、隣り合うn側電極310の間隔などは特に限定されない。例えば、下地層101の露出面101Aの露出割合(=下地層101の露出面101Aのうちn側電極310に被覆されていない部分の面積÷下地層101の露出面101Aの面積)が5%以上20%以下となるように、n側電極310が下地層101の露出面101Aに設けられていることが好ましい。
なお、基板100を除去するタイミングは本実施形態で示すタイミングに限定されない。積層構造を構成する窒化物半導体層が1層以上形成された後に基板100を除去することが好ましい。
また、本実施形態では、窒化物半導体層の成長用基板として基板100ではなく基板200を使用しても良い。しかし、基板100の上面の方が基板200の上面よりも平坦である。そのため、窒化物半導体層の成長用基板として基板100を使用した方が、基板100を容易に除去でき、また、外観に優れた窒化物半導体発光素子を製造できる。さらには、窒化物半導体発光素子の製造時または使用時における下地層101の欠けなどを防止できる。
[実施形態の総括]
図1または図2に示す窒化物半導体発光素子は、多結晶二酸化ケイ素またはアモルファス二酸化ケイ素を主成分として含む基板100,200と、基板100,200の上に設けられた下地層101と、下地層101の上に設けられ、窒化物半導体単結晶からなる層を少なくとも1つ有する積層構造とを備える。下地層101は、c軸配向された結晶を含み、スパッタ法によって形成されたものである。これにより、窒化物半導体層の成長用基板として単結晶サファイア基板を用いた場合に比べ、素子特性が現状維持または現状よりも高められた窒化物半導体発光素子を低コストで提供できる。
図1または図2に示す窒化物半導体発光素子は、多結晶二酸化ケイ素またはアモルファス二酸化ケイ素を主成分として含む基板100,200と、基板100,200の上に設けられた下地層101と、下地層101の上に設けられ、窒化物半導体単結晶からなる層を少なくとも1つ有する積層構造とを備える。下地層101は、c軸配向された結晶を含み、10原子%以下の希ガス原子を含む。これによっても、窒化物半導体層の成長用基板として単結晶サファイア基板を用いた場合に比べ、素子特性が現状維持または現状よりも高められた窒化物半導体発光素子を低コストで提供できる。
下地層101は、c軸配向された結晶として、c軸配向されたAlN結晶、c軸配向されたBN結晶およびc軸配向されたGa23結晶うちの少なくとも1つを含むことが好ましい。
下地層101は、c軸配向された結晶とは別に、10原子%以下の酸素原子をさらに含むことが好ましい。これにより、下地層101に含まれる結晶のc軸配向性を高めることができる。
下地層101側に位置する基板200の表面には凹凸210が形成されていることが好ましい。これにより、窒化物半導体発光素子の光の取り出し効率を高めることができる。
基板100,200は、ケイ素原子および酸素原子とは異なる第1原子をさらに含むことが好ましい。第1原子は、基板100,200に含有されることによって基板100,200の屈折率を二酸化ケイ素のみからなる基板の屈折率よりも大きくするものであることが好ましい。これにより、窒化物半導体発光素子の光の取り出し効率を高めることができる。第1原子は、例えば、ランタン原子およびチタン原子のうちの少なくとも1つであることが好ましい。
基板100,200は、第1原子を1×1010cm-3以上1×1012cm-3以下含むことが好ましい。これにより、発光層106で生じた光が第1原子に吸収されることを防止できるという効果も得ることができる。
図3に示すように、積層構造の上にはp側電極311が設けられていることが好ましく、下地層101の下には基板100,200に代えてn側電極310が設けられていることが好ましい。これにより、縦型構造の窒化物半導体発光素子を提供できる。
図1〜図3に示す窒化物半導体発光素子の製造方法は、多結晶二酸化ケイ素またはアモルファス二酸化ケイ素を主成分として含む基板100,200の上に、c軸配向された結晶を含む下地層101をスパッタ法によって形成する工程と、下地層101の上に、窒化物半導体単結晶からなる層を少なくとも1つ有する積層構造を形成する工程とを備える。これにより、窒化物半導体層の成長用基板として単結晶サファイア基板を用いた場合に比べ、素子特性が現状維持または現状よりも高められた窒化物半導体発光素子を低コストで製造できる。
図2に示す窒化物半導体発光素子の製造方法は、下地層101側に位置する基板200の表面に凹凸210を形成する工程をさらに備えることが好ましい。これにより、光の取り出し効率が高められた窒化物半導体発光素子を製造することができる。サンドブラストによって凹凸を形成しても良いし、フッ化水素酸を含むエッチャントを用いたウエットエッチングによって凹凸を形成しても良い。
図3に示す窒化物半導体発光素子の製造方法は、窒化物半導体単結晶からなる層を少なくとも1つ形成した後に基板100,200を除去する工程と、積層構造の上にp側電極311を形成する工程と、基板100,200が除去されることにより露出した下地層101の表面にn側電極310を形成する工程とをさらに備えることが好ましい。これにより、縦型構造の窒化物半導体発光素子を製造できる。
以下、実施例を挙げて本発明をより詳細に説明するが、本発明は以下に限定されない。
[実施例1]
実施例1では、第1の実施形態に記載の方法にしたがって窒化物半導体発光素子を製造した。まず、窒化物半導体層の成長用基板として、多結晶二酸化ケイ素からなる基板(直径:約4インチ(100mm)、厚さ:900μm)を準備した。この基板を、アセトンおよびイソプロピルアルコール(有機溶媒)で洗浄した後、純水で洗浄した。
次に、洗浄後の基板をスパッタ装置内の所定の位置に設置し、多結晶AlNからなるターゲットをスパッタ装置内の所定の位置に設置した。スパッタ装置内を真空引きした後、アルゴン(不活性ガス)をスパッタ装置内に導入した。上記基板の温度を100℃にまで上昇させ、上記基板の温度を100℃に保持した状態で上記基板とターゲットとの間に高周波電圧(電圧:300V、周波数:13.56MHz)を印加した。このようにして、上記基板の上面にAlN層(下地層、厚さ:500nm)が形成された。本発明者らは、形成された下地層が9原子%のアルゴン原子を含んでいることを確認した。
続いて、下地層が形成された基板を、スパッタ装置から取り出し、MOCVD装置内の所定の位置に設置した。アンモニアをMOCVD装置に供給した状態で、基板の温度を1050℃にまで上昇させた。基板の温度を1050℃に保持した状態で、TMA(trimethylaluminium)をMOCVD装置に供給した。これにより、下地層の上面にAlN層(バッファ層、厚さ:4μm)が形成された。
続いて、TMG(trimethylgallium)とSiH4とをMOCVD装置にさらに供給した。これにより、バッファ層の上面にn型Al0.7Ga0.3N層(厚さ:2μm程度、n型不純物の濃度:8×1018cm-3)が形成された。
続いて、MOCVD装置へのSiH4の供給を停止するとともにMOCVD装置へのTMGの供給量を制御することによって、発光層を形成した。具体的には、n型Al0.7Ga0.3N層の上にAl0.6Ga0.4Nからなる障壁層(厚さ:2nm)とAl0.4Ga0.6Nからなる井戸層(厚さ:3nm)とを交互に3層ずつ、形成した後、最上に位置する井戸層の上にAl0.6Ga0.4N障壁層を形成した。
続いて、MOCVD装置へのTMGの供給量を減少させて、また、CP2Mg(ビスメチルシクロペンタマグネシウム)をMOCVD装置にさらに供給した。これにより、Al0.6Ga0.4N障壁層の上にAl0.7Ga0.3Nからなるキャリアバリア層(厚さ:10nm)が形成された。
続いて、MOCVD装置へのTMGの供給量を増加させて、キャリアバリア層の上にp型AlGaN層(厚さ:50nm、p型不純物の濃度:2×1018cm-3)を形成した。その後、MOCVD装置へのCP2Mgの供給量も増加させて、上記p型AlGaN層の上にp+型AlGaN層(厚さ:10nm、p型不純物の濃度:7×1018cm-3)を形成した。得られたウエハを、アンモニアを含む雰囲気下において室温まで冷却させた後、MOCVD装置から取り出した。
MOCVD装置から取り出されたウエハを、窒素雰囲気下において、約900℃の温度で、熱処理した。フォトリソグラフィとRIEとによってウエハをエッチングし、n型Al0.7Ga0.3N層の一部を露出させた。その後、真空蒸着法によって、n型Al0.7Ga0.3N層の露出面にNi/Auからなるn側電極を形成した。
また、フォトリソグラフィによって、p+型AlGaN層の上面の一部にマスクを形成した。その後、真空蒸着法によって、p+型AlGaN層の上面のうち上記マスクから露出する部分にPd/Auからp側電極を形成した。
n側電極およびp側電極の形成後、900℃での熱処理を行った。その後、ダイシングによってウエハをチップに分割した。このようにして得られたチップをステムに実装した後、チップのn側電極とステムのn側電極とを電気的に接続し、チップのp側電極とステムのp側電極とを電気的に接続した。その後、樹脂を用いてチップを封止した。このようにして本実施例の窒化物半導体発光素子が得られた。
得られた窒化物半導体発光素子に対して電圧を印加してその素子特性を評価したところ、内部量子効率は40%程度であり、光の取り出し効率は10%であった。
また、MOCVD装置から取り出されたウエハのp+型AlGaN層の上面にX線を照射して下地層の面(0002)のX線ロッキングカーブの半値幅と下地層の面(1−102)のX線ロッキングカーブの半値幅とを求めたところ、下地層の面(0002)のX線ロッキングカーブの半値幅は100秒以下であり、下地層の面(1−102)のX線ロッキングカーブの半値幅は200秒以下であった。この結果から、窒化物半導体層の成長用基板として単結晶サファイア基板を用いた場合と同程度の結晶品質を有する下地層が形成されたことが分かった。
また、収束電子回折(CBED(Convergent Beam Electron Diffraction))法によってAlN結晶(下地層に含まれるAlN結晶)の配向性を調べたところ、AlN結晶はc軸配向性に優れていることが分かった。
さらに、収束電子回折法によって、MOCVD装置から取り出されたウエハの下地層に含まれるAlN結晶の配向性とバッファ層を下地層の上に形成する前の状態における下地層に含まれるAlN結晶の配向性とを調べた。その結果、下地層に含まれるAlN結晶は、どちらの場合においても、c軸配向性に優れることが分かった。この結果から、下地層に含まれるAlN結晶は、基板の上面に成長した時点において優れたc軸配向性を示すのであって、積層構造などの形成後における熱処理などによって優れたc軸配向性を示すわけではない、ということが明らかとなった。このことは、後述の実施例2〜7においても言える。
なお、本発明者らは、多結晶二酸化ケイ素からなる基板の代わりにアモルファス二酸化ケイ素からなる基板を用いた場合であっても、本実施例と同様の効果が得られることを確認している。
[比較例1]
MOCVD法によって下地層を形成したことを除いては実施例1に記載の方法にしたがって、本比較例の窒化物半導体発光素子を製造した。
実施例1に記載の方法にしたがって下地層の面(0002)のX線ロッキングカーブの半値幅と下地層の面(1−102)のX線ロッキングカーブの半値幅とを求めたところ、下地層の面(0002)のX線ロッキングカーブの半値幅と下地層の面(1−102)のX線ロッキングカーブの半値幅とは共に2000秒を超えていた。この結果から、多結晶二酸化ケイ素からなる基板の上面にMOCVD法で下地層を形成すれば、下地層の結晶品質が低下することが分かった。
[実施例2]
実施例2では、第2の実施形態に記載の方法にしたがって窒化物半導体発光素子を製造した。まず、実施例1で準備された基板の上面(基板の表面のうち下地層が形成される面)に、サンドブラストによって凹凸を形成した。段差計を用いて凹部の深さ(または凸部の高さ)を測定したところ、その平均値は500nm程度であった。その後は、実施例1に記載の方法にしたがって本実施例の窒化物半導体発光素子を製造した。
実施例1に記載の方法にしたがって本実施例の窒化物半導体発光素子の素子特性を評価するために窒化物半導体発光素子に電圧を印加したところ、基板の上面が白濁した。この結果から、基板の上面においては発光層で生じた光が散乱していることが分かった。実際、内部量子効率は40%程度(実施例1と同程度)であったが、光の取り出し効率は25%(実施例1よりも向上)であった。この結果から、基板の上面に凹凸を形成すれば窒化物半導体発光素子の光の取り出し効率がさらに向上することが分かった。
また、収束電子回折法によってAlN結晶(下地層に含まれるAlN結晶)の配向性を調べたところ、AlN結晶のc軸配向性については実施例1と本実施例とで大差がないことが分かった。この結果から、基板の上面に凹凸が形成されていても、基板の上面にスパッタ法で下地層を形成すれば結晶品質に優れた下地層を形成できることが分かった。
[実施例3]
実施例3では、第3の実施形態に記載の方法にしたがって窒化物半導体発光素子を製造した。まず、実施例1で記載の方法にしたがって、基板の上面に、下地層、バッファ層、n型Al0.7Ga0.3N層、発光層、キャリアバリア層、p型AlGaN層およびp+型AlGaN層を順に形成した後、熱処理を行った。熱処理後の積層体をエッチングすることなく、実施例1で記載の方法にしたがってp側電極を形成した。
次に、熱硬化性を有する導電性接着剤を用いて、p側電極の上面にタングステン(W)からなる支持基体を接着させた。その後、得られた積層体を、フッ化水素酸を含むエッチャントに浸漬させた。このようにして、基板が除去された。
続いて、基板が除去されることにより露出した下地層の表面(下地層の露出面)にn側電極をマトリックス状に形成した。その後は、実施例1に記載の方法にしたがって、本実施例の窒化物半導体発光素子(縦型構造の窒化物半導体発光素子)が得られた。
実施例1に記載の方法にしたがって本実施例の窒化物半導体発光素子の素子特性を評価したところ、内部量子効率は40%程度(実施例1と同程度)であり、光の取り出し効率は35%(実施例1および実施例2よりも向上)であった。この結果から、縦型構造の窒化物半導体発光素子では横型構造の窒化物半導体発光素子に比べ光の取り出し効率がさらに向上することが分かった。
[実施例4]
実施例4では、La原子を5×1011cm-3含む基板を用いたことを除いては実施例1に記載の方法にしたがって窒化物半導体発光素子を製造した。
実施例1に記載の方法にしたがって本実施例の窒化物半導体発光素子の素子特性を評価したところ、内部量子効率は40%程度(実施例1と同程度)であり、光の取り出し効率は23%(実施例1よりも向上)であった。この結果から、La原子を5×1011cm-3含む基板を窒化物半導体層の成長用基板として用いれば窒化物半導体発光素子の光の取り出し効率がさらに向上することが分かった。
なお、本発明者らは、La原子を5×1011cm-3含む基板の代わりにTi原子を1×1011cm-3含む基板を用いた場合であっても、本実施例と同様の効果が得られることを確認している。
[実施例5]
実施例5では、実施例2に記載の方法で実施例4の基板の上面に凹凸を形成したことを除いては実施例1に記載の方法にしたがって窒化物半導体発光素子を製造した。
実施例1に記載の方法にしたがって本実施例の窒化物半導体発光素子の素子特性を評価したところ、内部量子効率は40%程度(実施例1と同程度)であり、光の取り出し効率は28%(実施例4よりも向上)であった。この結果から、La原子を5×1011cm-3含む基板であって上面に凹凸が形成された基板を窒化物半導体層の成長用基板として用いれば窒化物半導体発光素子の光の取り出し効率がより一層向上することが分かった。
[実施例6]
実施例6では、多結晶BNからなるターゲットを用いて下地層を形成したことを除いては実施例1に記載の方法にしたがって、窒化物半導体発光素子を製造した。実施例1に記載の方法にしたがって本実施例の窒化物半導体発光素子の素子特性を評価したところ、内部量子効率および光の取り出し効率共に実施例1と同様の結果が得られた。
なお、本発明者らは、多結晶BNからなるターゲットの代わりに多結晶Ga23からなるターゲットを用いた場合であっても、本実施例と同様の効果が得られることを確認している。
[実施例7]
実施例7では、多結晶AlNからなるターゲットであって酸素原子を10原子%含むターゲットを用いて下地層を形成したことを除いては実施例1に記載の方法にしたがって窒化物半導体発光素子を製造した。実施例1に記載の方法にしたがって本実施例の窒化物半導体発光素子の素子特性を評価したところ、内部量子効率および光の取り出し効率共に実施例1と同様の結果が得られた。
また、バッファ層を形成する前に、SIMSによって下地層の組成を調べたところ、下地層の組成はターゲットの組成と同じであることが分かった。この結果から、所望の組成からなるターゲットを用い、且つ、下地層の形成中にターゲットの組成が変化しなければ、ターゲットの組成と同一の組成からなるバッファ層を形成できることが分かった。
なお、本発明者らは、多結晶AlNからなるターゲットであって酸素原子を10原子%含むターゲットの代わりに多結晶BNからなるターゲットであって酸素原子を10原子%含むターゲットまたは多結晶Ga23からなるターゲットであって酸素原子を10原子%含むターゲットを用いた場合であっても、本実施例と同様の効果が得られることを確認している。
[比較例2]
比較例2では、多結晶AlNからなるターゲットであって酸素原子を15原子%含むターゲットを用いて下地層を形成したことを除いては実施例7に記載の方法にしたがって窒化物半導体発光素子を製造した。
実施例1に記載の方法にしたがって本比較例の窒化物半導体発光素子の素子特性を評価したところ、内部量子効率は実施例7の窒化物半導体発光素子の約半分であった。
実施例1に記載の方法にしたがって下地層の面(0002)のX線ロッキングカーブの半値幅と下地層の面(1−102)のX線ロッキングカーブの半値幅とを求めたところ、下地層の面(0002)のX線ロッキングカーブの半値幅は実施例7よりも1.5倍以上広かった。この結果から、下地層に含まれる結晶は下地層の面内においてc軸配向性に分布を持っていることが分かった。つまり、下地層に含まれる結晶はc軸配向性に優れないことが分かった。実際、p側電極を形成する前にp+型AlGaN層の表面を観察したところ、p+型AlGaN層の表面には六角錐状のクラックが多数形成されていることが分かった。
以上のことから、次に示すことが言える。本比較例では、下地層に含まれる結晶がc軸配向性に優れないので、その下地層の上に形成された窒化物半導体層(例えば発光層)には貫通転位が高密度に形成されてしまう。その結果、非発光再結合の増加を引き起こし、よって、内部量子効率の大幅な低下を招いた。
今回開示された実施の形態及び実施例はすべての点で例示であって制限的なものではないと考えられるべきである。本発明の範囲は上記した説明ではなくて特許請求の範囲によって示され、特許請求の範囲と均等の意味及び範囲内でのすべての変更が含まれることが意図される。
100,200 基板、100A 上面、101 下地層、101A 露出面、102 バッファ層、103 n型窒化物半導体層、104 障壁層、105 井戸層、106 発光層、107 キャリアバリア層、108 p型窒化物半導体層、110,310 n側電極、111,311 p側電極、210 凹凸、312 支持基体。

Claims (16)

  1. 多結晶二酸化ケイ素またはアモルファス二酸化ケイ素を主成分として含む基板と、
    前記基板の上に設けられた下地層と、
    前記下地層の上に設けられ、窒化物半導体単結晶からなる層を少なくとも1つ有する積層構造とを備え、
    前記下地層は、イオン性結合を有する材料からなり、かつc軸配向された結晶を含み、
    前記下地層は、前記c軸配向された結晶とは別に、10原子%以下の酸素原子をさらに含み、
    前記下地層の厚さは、500nm以上2000nm以下である、窒化物半導体発光素子。
  2. 多結晶二酸化ケイ素またはアモルファス二酸化ケイ素を主成分として含む基板と、
    前記基板の上に設けられた下地層と、
    前記下地層の上に設けられ、窒化物半導体単結晶からなる層を少なくとも1つ有する積層構造とを備え、
    前記下地層は、c軸配向された結晶を含み、10原子%以下の希ガス原子を含み、
    前記下地層は、前記c軸配向された結晶とは別に、10原子%以下の酸素原子をさらに含み、
    前記下地層の厚さは、500nm以上2000nm以下である、窒化物半導体発光素子。
  3. 前記下地層は、前記c軸配向された結晶として、c軸配向されたAlN結晶、c軸配向されたBN結晶およびc軸配向されたGa23結晶のうちの少なくとも1つを含む請求項1または2に記載の窒化物半導体発光素子。
  4. 前記下地層側に位置する前記基板の表面には凹凸が形成されている請求項1〜3のいずれかに記載の窒化物半導体発光素子。
  5. 前記基板は、ケイ素原子および酸素原子とは異なる第1原子をさらに含み、
    前記第1原子は、前記基板に含有されることによって前記基板の屈折率を二酸化ケイ素のみからなる基板の屈折率よりも大きくするものである請求項1〜4のいずれかに記載の窒化物半導体発光素子。
  6. 前記第1原子は、ランタン原子およびチタン原子のうちの少なくとも1つである請求項5に記載の窒化物半導体発光素子。
  7. 前記基板は、前記第1原子を1×1010cm-3以上1×1012cm-3以下含む請求項5または6に記載の窒化物半導体発光素子。
  8. 前記積層構造の上にはp側電極が設けられており、
    前記下地層の下には前記基板に代えてn側電極が設けられている請求項1〜7のいずれかに記載の窒化物半導体発光素子。
  9. 多結晶二酸化ケイ素またはアモルファス二酸化ケイ素を主成分として含む基板の上に、c軸配向された結晶を含む下地層をスパッタ法によって形成する工程と、
    前記下地層の上に、窒化物半導体単結晶からなる層を少なくとも1つ有する積層構造を形成する工程とを備え、
    前記下地層は、前記c軸配向された結晶とは別に、10原子%以下の酸素原子をさらに含み、
    前記下地層の厚さは、500nm以上2000nm以下である、窒化物半導体発光素子の製造方法。
  10. 前記下地層側に位置する前記基板の表面に凹凸を形成する工程をさらに備える請求項9に記載の窒化物半導体発光素子の製造方法。
  11. サンドブラストによって前記凹凸を形成する請求項10に記載の窒化物半導体発光素子の製造方法。
  12. フッ化水素酸を含むエッチャントを用いたウエットエッチングによって前記凹凸を形成する請求項10に記載の窒化物半導体発光素子の製造方法。
  13. 前記窒化物半導体単結晶からなる層を少なくとも1つ形成した後に前記基板を除去する工程と、
    前記積層構造の上にp側電極を形成する工程と、
    前記基板が除去されることにより露出した前記下地層の表面にn側電極を形成する工程とをさらに備える請求項9〜12のいずれかに記載の窒化物半導体発光素子の製造方法。
  14. 前記基板は、ケイ素原子および酸素原子とは異なる第1原子をさらに含み、
    前記第1原子は、前記基板に含有されることによって前記基板の屈折率を二酸化ケイ素のみからなる基板の屈折率よりも大きくするものである請求項9〜13のいずれかに記載の窒化物半導体発光素子の製造方法。
  15. 前記第1原子は、ランタン原子およびチタン原子のうちの少なくとも1つである請求項14に記載の窒化物半導体発光素子の製造方法。
  16. 前記基板は、前記第1原子を1×1010cm-3以上1×1012cm-3以下含む請求項14または15に記載の窒化物半導体発光素子の製造方法。
JP2015102912A 2015-05-20 2015-05-20 窒化物半導体発光素子およびその製造方法 Expired - Fee Related JP6571389B2 (ja)

Priority Applications (3)

Application Number Priority Date Filing Date Title
JP2015102912A JP6571389B2 (ja) 2015-05-20 2015-05-20 窒化物半導体発光素子およびその製造方法
US15/140,703 US10026869B2 (en) 2015-05-20 2016-04-28 Nitride semiconductor light-emitting device and method for producing the same
CN201610341825.9A CN106169527B (zh) 2015-05-20 2016-05-20 氮化物半导体发光元件及其制造方法

Applications Claiming Priority (1)

Application Number Priority Date Filing Date Title
JP2015102912A JP6571389B2 (ja) 2015-05-20 2015-05-20 窒化物半導体発光素子およびその製造方法

Publications (2)

Publication Number Publication Date
JP2016219593A JP2016219593A (ja) 2016-12-22
JP6571389B2 true JP6571389B2 (ja) 2019-09-04

Family

ID=57325728

Family Applications (1)

Application Number Title Priority Date Filing Date
JP2015102912A Expired - Fee Related JP6571389B2 (ja) 2015-05-20 2015-05-20 窒化物半導体発光素子およびその製造方法

Country Status (3)

Country Link
US (1) US10026869B2 (ja)
JP (1) JP6571389B2 (ja)
CN (1) CN106169527B (ja)

Families Citing this family (9)

* Cited by examiner, † Cited by third party
Publication number Priority date Publication date Assignee Title
US10340416B2 (en) * 2016-02-26 2019-07-02 Riken Crystal substrate, ultraviolet light-emitting device, and manufacturing methods therefor
DE102017106888A1 (de) * 2017-03-30 2018-10-04 Osram Opto Semiconductors Gmbh Verfahren zur Herstellung von Leuchtdiodenchips und Leuchtdiodenchip
US11309686B2 (en) * 2017-06-20 2022-04-19 Sony Corporation Surface emitting laser and method of manufacturing the same
CZ310048B6 (cs) * 2017-07-25 2024-06-19 Tescan Group, A.S. Způsob odstranění hmoty
CN108428621B (zh) * 2018-03-29 2020-05-05 太原理工大学 一种在非晶态SiO2 衬底上生长GaN薄膜的方法
JP7491683B2 (ja) * 2019-11-22 2024-05-28 住友化学株式会社 Iii族窒化物積層基板および半導体発光素子
US12342429B2 (en) * 2020-07-29 2025-06-24 Sharp Kabushiki Kaisha Light-emitting device and driving method for light-emitting device
WO2024232232A1 (ja) * 2023-05-09 2024-11-14 株式会社ジャパンディスプレイ 窒化物半導体デバイス及び窒化物半導体デバイスの作製方法
WO2025169802A1 (ja) * 2024-02-09 2025-08-14 株式会社ジャパンディスプレイ 半導体デバイス及び半導体デバイスの製造方法

Family Cites Families (29)

* Cited by examiner, † Cited by third party
Publication number Priority date Publication date Assignee Title
US5315128A (en) * 1993-04-30 1994-05-24 At&T Bell Laboratories Photodetector with a resonant cavity
DE69633203T2 (de) * 1995-09-18 2005-09-01 Hitachi, Ltd. Halbleiterlaservorrichtungen
TW460599B (en) * 1998-01-14 2001-10-21 Toshiba Corp Method for forming fine wiring pattern
JP3289682B2 (ja) 1998-08-17 2002-06-10 株式会社村田製作所 半導体発光素子
JP3545962B2 (ja) 1999-03-23 2004-07-21 三菱電線工業株式会社 GaN系化合物半導体結晶の成長方法及び半導体結晶基材
JP3859148B2 (ja) * 2002-10-31 2006-12-20 信越半導体株式会社 Zn系半導体発光素子の製造方法
US7122958B2 (en) * 2003-05-16 2006-10-17 Kabushiki Kaisha Toyota Jidoshokki Light-emitting apparatus and method for forming the same
US7449724B2 (en) * 2003-09-12 2008-11-11 Semiconductor Energy Laboratory Co., Ltd. Light-emitting device
US7792489B2 (en) * 2003-12-26 2010-09-07 Semiconductor Energy Laboratory Co., Ltd. Light emitting device, electronic appliance, and method for manufacturing light emitting device
JP4857596B2 (ja) * 2004-06-24 2012-01-18 豊田合成株式会社 発光素子の製造方法
US7431992B2 (en) 2004-08-09 2008-10-07 Ppg Industries Ohio, Inc. Coated substrates that include an undercoating
JP2006306705A (ja) * 2005-03-29 2006-11-09 Asahi Glass Co Ltd 石英系ガラスおよびその製造方法
US20070020451A1 (en) * 2005-07-20 2007-01-25 3M Innovative Properties Company Moisture barrier coatings
TW200812113A (en) * 2006-05-23 2008-03-01 Alps Electric Co Ltd Semiconductor light emitting element and method for manufacturing the same
CN101118291B (zh) * 2006-08-04 2010-04-14 鸿富锦精密工业(深圳)有限公司 扩散片
US8021904B2 (en) * 2007-02-01 2011-09-20 Cree, Inc. Ohmic contacts to nitrogen polarity GaN
WO2008101704A2 (de) * 2007-02-23 2008-08-28 Technische Universität Kaiserslautern Plasmadeponiertes elektrisch isolierendes, diffusionsdichtes und elastisches schichtsystem
KR20090083197A (ko) * 2008-01-29 2009-08-03 삼성전자주식회사 컬러필터기판의 제조 방법
JP5548878B2 (ja) * 2009-03-27 2014-07-16 独立行政法人産業技術総合研究所 多接合型光学素子
US8647904B2 (en) * 2010-03-01 2014-02-11 Sharp Kabushiki Kaisha Method for manufacturing nitride semiconductor device, nitride semiconductor light-emitting device, and light-emitting apparatus
JP2012033521A (ja) * 2010-07-28 2012-02-16 Hitachi Cable Ltd 基板、及び発光素子
DE102010035489A1 (de) * 2010-08-26 2012-03-01 Osram Opto Semiconductors Gmbh Halbleiterbauelement und Verfahren zur Herstellung eines Halbleiterbauelement
KR20120100296A (ko) * 2011-03-03 2012-09-12 삼성전자주식회사 수직 성장된 반도체를 포함하는 적층 구조물과 이를 포함하는 pn 접합 소자 및 이들의 제조 방법
JP2012230969A (ja) * 2011-04-25 2012-11-22 Sumitomo Electric Ind Ltd GaN系半導体デバイスの製造方法
US20120292648A1 (en) * 2011-05-16 2012-11-22 Kabushiki Kaisha Toshiba Nitride semiconductor device, nitride semiconductor wafer, and method for manufacturing nitride semiconductor layer
US20130099357A1 (en) * 2011-10-21 2013-04-25 Rytis Dargis Strain compensated reo buffer for iii-n on silicon
US9512976B2 (en) * 2012-04-13 2016-12-06 Sharp Kabushiki Kaisha Light-emitting device, display device and illumination device
CN104703939A (zh) * 2012-06-29 2015-06-10 康宁股份有限公司 用于半导体加工的玻璃陶瓷基材
US8796121B1 (en) * 2013-11-19 2014-08-05 Translucent, Inc. Stress mitigating amorphous SiO2 interlayer

Also Published As

Publication number Publication date
US10026869B2 (en) 2018-07-17
CN106169527A (zh) 2016-11-30
CN106169527B (zh) 2019-01-18
JP2016219593A (ja) 2016-12-22
US20160343903A1 (en) 2016-11-24

Similar Documents

Publication Publication Date Title
JP6571389B2 (ja) 窒化物半導体発光素子およびその製造方法
US8492186B2 (en) Method for producing group III nitride semiconductor layer, group III nitride semiconductor light-emitting device, and lamp
KR101067122B1 (ko) Ⅲ족 질화물 반도체의 제조 방법, ⅲ족 질화물 반도체 발광 소자의 제조 방법 및 ⅲ족 질화물 반도체 발광 소자, 및 램프
JP4714712B2 (ja) Iii族窒化物半導体発光素子及びその製造方法、並びにランプ
JP6910341B2 (ja) 縦型紫外発光ダイオード
US8227284B2 (en) Group-III nitride compound semiconductor light-emitting device, method of manufacturing group-III nitride compound semiconductor light-emitting device, and lamp
JP4191227B2 (ja) Iii族窒化物半導体発光素子の製造方法及びiii族窒化物半導体発光素子並びにランプ
US20170069793A1 (en) Ultraviolet light-emitting device and production method therefor
JP5262206B2 (ja) Iii族窒化物半導体層の製造方法及びiii族窒化物半導体発光素子の製造方法
US20090001407A1 (en) Semiconductor light-emitting device, manufacturing method thereof, and lamp
JPWO2010032423A1 (ja) Iii族窒化物半導体発光素子の製造方法、iii族窒化物半導体発光素子並びにランプ、iii族窒化物半導体発光素子ウエーハの発光波長分布のばらつき低減方法
JP2006005331A (ja) Iii族窒化物半導体結晶およびその製造方法、iii族窒化物半導体デバイスおよびその製造方法ならびに発光機器
WO2009142311A1 (ja) Iii族窒化物半導体積層構造体およびその製造方法
JP2009277882A (ja) Iii族窒化物半導体発光素子の製造方法及びiii族窒化物半導体発光素子、並びにランプ
JP2009295753A (ja) Iii族窒化物半導体発光素子の製造方法及びiii族窒化物半導体発光素子、並びにランプ
US7646027B2 (en) Group III nitride semiconductor stacked structure
JP2009161434A (ja) Iii族窒化物半導体結晶の製造方法及びiii族窒化物半導体結晶
US8124992B2 (en) Light-emitting device, manufacturing method thereof, and lamp
JP2008115463A (ja) Iii族窒化物半導体の積層構造及びその製造方法と半導体発光素子とランプ
JP4982259B2 (ja) Iii族窒化物化合物半導体発光素子の製造方法
JP2008294449A (ja) Iii族窒化物半導体発光素子の製造方法及びiii族窒化物半導体発光素子並びにランプ
JP2010147497A (ja) Iii族窒化物半導体の積層構造の製造方法及びiii族窒化物半導体発光素子の製造方法
JP2008311420A (ja) スパッタターゲットの製造方法、スパッタターゲット、スパッタ装置、iii族窒化物化合物半導体発光素子の製造方法、及びiii族窒化物化合物半導体発光素子、並びにランプ
JP2010232700A (ja) Iii族窒化物半導体発光素子の製造方法

Legal Events

Date Code Title Description
A621 Written request for application examination

Free format text: JAPANESE INTERMEDIATE CODE: A621

Effective date: 20180323

A977 Report on retrieval

Free format text: JAPANESE INTERMEDIATE CODE: A971007

Effective date: 20180815

A131 Notification of reasons for refusal

Free format text: JAPANESE INTERMEDIATE CODE: A131

Effective date: 20180905

A521 Request for written amendment filed

Free format text: JAPANESE INTERMEDIATE CODE: A523

Effective date: 20181018

A131 Notification of reasons for refusal

Free format text: JAPANESE INTERMEDIATE CODE: A131

Effective date: 20190402

A521 Request for written amendment filed

Free format text: JAPANESE INTERMEDIATE CODE: A523

Effective date: 20190520

TRDD Decision of grant or rejection written
A01 Written decision to grant a patent or to grant a registration (utility model)

Free format text: JAPANESE INTERMEDIATE CODE: A01

Effective date: 20190806

A61 First payment of annual fees (during grant procedure)

Free format text: JAPANESE INTERMEDIATE CODE: A61

Effective date: 20190808

R150 Certificate of patent or registration of utility model

Ref document number: 6571389

Country of ref document: JP

Free format text: JAPANESE INTERMEDIATE CODE: R150

LAPS Cancellation because of no payment of annual fees