JP6415809B2 - 駆動ユニット及び電動補助自転車 - Google Patents

駆動ユニット及び電動補助自転車 Download PDF

Info

Publication number
JP6415809B2
JP6415809B2 JP2013252301A JP2013252301A JP6415809B2 JP 6415809 B2 JP6415809 B2 JP 6415809B2 JP 2013252301 A JP2013252301 A JP 2013252301A JP 2013252301 A JP2013252301 A JP 2013252301A JP 6415809 B2 JP6415809 B2 JP 6415809B2
Authority
JP
Japan
Prior art keywords
torque
crankshaft
drive unit
unit
rotation angle
Prior art date
Legal status (The legal status is an assumption and is not a legal conclusion. Google has not performed a legal analysis and makes no representation as to the accuracy of the status listed.)
Active
Application number
JP2013252301A
Other languages
English (en)
Other versions
JP2014139067A (ja
Inventor
伸泰 有宗
伸泰 有宗
諭 神谷
諭 神谷
正憲 根来
正憲 根来
Current Assignee (The listed assignees may be inaccurate. Google has not performed a legal analysis and makes no representation or warranty as to the accuracy of the list.)
Yamaha Motor Co Ltd
Original Assignee
Yamaha Motor Co Ltd
Priority date (The priority date is an assumption and is not a legal conclusion. Google has not performed a legal analysis and makes no representation as to the accuracy of the date listed.)
Filing date
Publication date
Application filed by Yamaha Motor Co Ltd filed Critical Yamaha Motor Co Ltd
Priority to JP2013252301A priority Critical patent/JP6415809B2/ja
Publication of JP2014139067A publication Critical patent/JP2014139067A/ja
Application granted granted Critical
Publication of JP6415809B2 publication Critical patent/JP6415809B2/ja
Active legal-status Critical Current
Anticipated expiration legal-status Critical

Links

Images

Classifications

    • BPERFORMING OPERATIONS; TRANSPORTING
    • B62LAND VEHICLES FOR TRAVELLING OTHERWISE THAN ON RAILS
    • B62MRIDER PROPULSION OF WHEELED VEHICLES OR SLEDGES; POWERED PROPULSION OF SLEDGES OR SINGLE-TRACK CYCLES; TRANSMISSIONS SPECIALLY ADAPTED FOR SUCH VEHICLES
    • B62M6/00Rider propulsion of wheeled vehicles with additional source of power, e.g. combustion engine or electric motor
    • B62M6/40Rider propelled cycles with auxiliary electric motor
    • B62M6/45Control or actuating devices therefor
    • B62M6/50Control or actuating devices therefor characterised by detectors or sensors, or arrangement thereof
    • BPERFORMING OPERATIONS; TRANSPORTING
    • B62LAND VEHICLES FOR TRAVELLING OTHERWISE THAN ON RAILS
    • B62MRIDER PROPULSION OF WHEELED VEHICLES OR SLEDGES; POWERED PROPULSION OF SLEDGES OR SINGLE-TRACK CYCLES; TRANSMISSIONS SPECIALLY ADAPTED FOR SUCH VEHICLES
    • B62M6/00Rider propulsion of wheeled vehicles with additional source of power, e.g. combustion engine or electric motor
    • B62M6/40Rider propelled cycles with auxiliary electric motor
    • B62M6/45Control or actuating devices therefor
    • BPERFORMING OPERATIONS; TRANSPORTING
    • B62LAND VEHICLES FOR TRAVELLING OTHERWISE THAN ON RAILS
    • B62MRIDER PROPULSION OF WHEELED VEHICLES OR SLEDGES; POWERED PROPULSION OF SLEDGES OR SINGLE-TRACK CYCLES; TRANSMISSIONS SPECIALLY ADAPTED FOR SUCH VEHICLES
    • B62M6/00Rider propulsion of wheeled vehicles with additional source of power, e.g. combustion engine or electric motor
    • B62M6/40Rider propelled cycles with auxiliary electric motor
    • BPERFORMING OPERATIONS; TRANSPORTING
    • B62LAND VEHICLES FOR TRAVELLING OTHERWISE THAN ON RAILS
    • B62MRIDER PROPULSION OF WHEELED VEHICLES OR SLEDGES; POWERED PROPULSION OF SLEDGES OR SINGLE-TRACK CYCLES; TRANSMISSIONS SPECIALLY ADAPTED FOR SUCH VEHICLES
    • B62M6/00Rider propulsion of wheeled vehicles with additional source of power, e.g. combustion engine or electric motor
    • B62M6/40Rider propelled cycles with auxiliary electric motor
    • B62M6/55Rider propelled cycles with auxiliary electric motor power-driven at crank shafts parts
    • BPERFORMING OPERATIONS; TRANSPORTING
    • B62LAND VEHICLES FOR TRAVELLING OTHERWISE THAN ON RAILS
    • B62MRIDER PROPULSION OF WHEELED VEHICLES OR SLEDGES; POWERED PROPULSION OF SLEDGES OR SINGLE-TRACK CYCLES; TRANSMISSIONS SPECIALLY ADAPTED FOR SUCH VEHICLES
    • B62M6/00Rider propulsion of wheeled vehicles with additional source of power, e.g. combustion engine or electric motor
    • B62M6/40Rider propelled cycles with auxiliary electric motor
    • B62M6/70Rider propelled cycles with auxiliary electric motor power-driven at single endless flexible member, e.g. chain, between cycle crankshaft and wheel axle, the motor engaging the endless flexible member

Landscapes

  • Engineering & Computer Science (AREA)
  • Chemical & Material Sciences (AREA)
  • Combustion & Propulsion (AREA)
  • Transportation (AREA)
  • Mechanical Engineering (AREA)
  • Electric Propulsion And Braking For Vehicles (AREA)
  • Force Measurement Appropriate To Specific Purposes (AREA)

Description

本発明は、運転者のペダル踏力を電動モータの駆動力によってアシストする駆動ユニット、及び電動補助自転車に関する。
ペダルとともに回転するクランク軸に発生するトルクをトルク検出部によって検出し、その検出結果を用いて電動モータを制御することにより、運転者のペダル踏力をアシストする電動補助自転車が知られている。このような電動補助自転車では、例えば特許文献1に開示されるように、トルクの変動幅を検出して、その変動幅が所定の幅よりも小さい状態が所定時間以上、継続している場合に、アシスト制御を停止する。
特許第3108311号公報
ところで、上述の特許文献1に開示されている構成において、アシスト制御を停止する基準となる前記所定時間を短く設定した場合、クランク回転速度が低い走行状態では、断続的にアシスト停止の基準を満たして、アシスト制御が頻繁に停止する可能性がある。一方、前記所定時間を長く設定した場合には、運転者がペダルを踏み込むのを停止してからアシスト停止までの時間が長くなる。
このように、特許文献1の構成のように所定の状態が継続する時間に基づいてアシスト停止を判定する場合、アシスト制御を停止する基準となる前記所定時間の長さによって、アシスト制御が断続的に停止したり、停止するタイミングに大きなばらつきが生じたりする。よって、このような構成では、運転者に違和感を与える可能性がある。
そのため、本発明は、運転者に違和感を与えることなくアシスト制御を停止可能な駆動ユニット、及び電動補助自転車を提供することを目的とする。
課題を解決するための手段および発明の効果
本発明の一実施形態に係る駆動ユニットは、運転者のペダル踏力を電動モータの駆動力によってアシストする駆動ユニットである。駆動ユニットは、ペダルが接続されるクランク軸と、前記クランク軸に発生するトルクを検出するトルク検出部と、前記クランク軸が所定の回転角度の範囲を回転する間に前記トルク検出部によって検出されるトルクの振幅を求めるトルク振幅算出部と、前記トルク振幅算出部によって求められたトルクの振幅が閾値以下の場合にアシスト制御を停止するアシスト制御停止部とを備える。
本発明の一実施形態に係る駆動ユニットでは、どのような走行状態でも運転者に違和感を与えることなくアシスト制御を精度良く停止することができる。
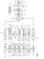
図1は、電動補助自転車の概略構成を示す右側面図である。 図2は、電動補助自転車の駆動ユニット及び従動スプロケットの概略構成を示す図である。 図3は、図2におけるIII−III線断面図である。 図4は、電動補助自転車の動力伝達及び信号伝達の経路を模式的に示すブロック図である。 図5は、電動補助自転車のアシスト制御停止部の概略構成を示すブロック図である。 図6は、電動補助自転車のクランク軸の回転角度とペダル踏力との関係の一例を示す図である。 図7は、電動補助自転車のアシスト停止判定フローを示す図である。 図8は、電動補助自転車のメモリにペダル踏力を記憶する際のフローを示す図である。 図9は、電動補助自転車のメモリの記憶領域を模式的に示す図である。
以下、本発明の実施形態について、図面を参照しながら説明する。なお、各図中の構成部材の寸法は、実際の構成部材の寸法及び各構成部材の寸法比率等を忠実に表したものではない。
以下の説明において、前方、後方、左方及び右方は、ハンドル23を握りつつ電動補助自転車1のシート24に着座した運転者から見た前方、後方、左方及び右方を意味する。
(電動補助自転車の全体構成)
図1に、一実施形態に係る電動補助自転車1の概略構成を示す。図2に、電動補助自転車1の駆動ユニット40及び従動スプロケット45の概略構成を示す。この電動補助自転車1は、後述するように、運転者がペダル33,34(図1参照)を踏み込むことにより得られるペダル踏力を、電動モータ61(図3参照)から出力される駆動力によってアシストする。すなわち、電動補助自転車1は、一般的な自転車の構成に加えて、ペダル踏力をアシストするための駆動機構を有する。
図1に示すように、電動補助自転車1は、前後方向に延びる車体フレーム11を有する。また、電動補助自転車1は、前輪21、後輪22、ハンドル23、シート24及び駆動ユニット40を有する。
車体フレーム11は、ヘッドパイプ12、ダウンフレーム13、シートフレーム14、ブラケット15(図2参照)、一対のチェーンステイ16及び一対のシートステイ17を有する。図1に示すように、ヘッドパイプ12は、電動補助自転車1の前部に配置される。ヘッドパイプ12には、後方に延びるダウンフレーム13の前方側が接続されている。シートフレーム14は、ダウンフレーム13の後方側に接続されていて、該ダウンフレーム13の後端部から上方且つ斜め後方に向かって延びている。
図2に示すように、ブラケット15は、ダウンフレーム13の後方側に取り付けられている。ブラケット15の後方側には、後輪22を左右から挟むように一対のチェーンステイ16が接続されている。図1に示すように、一対のシートステイ17は、それぞれ、一方の端部が各チェーンステイ16に接続されている。また、一対のシートステイ17は、それぞれ、他方の端部がシートフレーム14に接続されている。
ヘッドパイプ12には、ハンドルステム25が回転自在に挿入されている。ハンドルステム25の上端部には、ハンドル23が固定される。ハンドルステム25の下端部には、フロントフォーク26が固定される。フロントフォーク26の下端部には、前輪21が車軸27によって回転可能に支持されている。
円筒状のシートフレーム14の内方には、シートパイプ28が挿入されている。シートパイプ28の上端部には、シート24が設けられている。
図1及び図2に示すように、一対のチェーンステイ16の後端部には、後輪22が車軸29によって回転可能に支持されている。後輪22の右側には、車軸29と同軸に従動スプロケット45が設けられている。従動スプロケット45は、一方向クラッチ92(図4参照)を介して後輪22に連結される。
図2に示すように、ブラケット15には、複数の締結金具30によって駆動ユニット40が固定される。駆動ユニット40の構成については後述する。図1及び図2に示すように、駆動ユニット40の後述する駆動スプロケット42と後輪22に設けられた従動スプロケット45とには、無端状のチェーン46が巻き掛けられている。駆動ユニット40及びチェーン46を覆うように、車体フレーム11にチェーンカバー47が取り付けられている(図1参照)。チェーンカバー47は、メインカバー48及びサブカバー49を有する。メインカバー48は、駆動スプロケット42の右方を覆いつつ前後方向に延びている。サブカバー49は、駆動ユニット40の後部の右方を覆う。
図1に示すように、後述する駆動ユニット40のクランク軸41の両端部には、クランクアーム31,32が取り付けられている。クランクアーム31,32の先端部には、それぞれ、ペダル33,34が取り付けられている。
図1に示すように、シートフレーム14の後方には、後述する駆動ユニット40の電動モータ61に電力を供給するためのバッテリユニット35が配置されている。バッテリユニット35は、図示しないバッテリ及び電池制御部を有する。バッテリは、充放電可能な充電池である。電池制御部は、バッテリの充放電を制御するとともに、該バッテリの出力電流及び残容量等を監視する。
図3は、駆動ユニット40の概略構成を示す断面図である。この図3は、図2におけるIII−III線断面図である。
図3に示すように、駆動ユニット40は、本体部51、クランク軸41、駆動スプロケット42、駆動力発生部60、補助スプロケット43、チェーンテンショナ86及び制御装置100(図1及び図4参照)を有する。
本体部51は、左右から互いに組み合わされる第1ケース部52及び第2ケース部53を有する。第1ケース部52と第2ケース部53とは、複数の締結金具54によって互いに固定されている(図2及び図3参照)。本体部51は、上述の締結金具30によって、ブラケット15に取り付けられている。
図3に示すように、クランク軸41は、本体部51を左右方向に貫通するとともに、該本体部51の前端部に回転可能に支持されている。クランク軸41は、第1ケース部52及び第2ケース部53に対して、複数の軸受を介して回転可能に支持されている。クランク軸41の一方側には、該クランク軸41と一体で回転する略円筒状のインナー部材55aが設けられている。上述のようにクランク軸41の両端部にはクランクアーム31,32が接続されているため、運転者がペダル33,34を踏み込むことにより、クランク軸41が回転する。
駆動スプロケット42は、インナー部材55aの外周面の右端部に取り付けられる。クランク軸41、インナー部材55a及び駆動スプロケット42は、互いに同軸に配置される。
クランク軸41の軸方向中央部分には、該クランク軸41と同軸状に略円筒状の回転部材56が配置される。回転部材56の右端部は、円筒形状の滑り軸受71を介してクランク軸41に支持されている。回転部材56の左端部は、例えばスプライン構造によってクランク軸41に接続されている。これにより、回転部材56は、クランク軸41と一体で回転する。
回転部材56と同軸にトルク検出部57が配置されている。トルク検出部57は、たとえば磁歪式のトルクセンサを含む。トルク検出部57が磁歪式のトルクセンサの場合、トルク検出部57は、回転部材56の外周面に対向して配置されるコイルを有する。このような構成のトルク検出部57は、回転部材56の歪みをコイルの電圧変化として検出することにより、クランク軸41のトルクを検出する。トルク検出部57は、検出したトルクに応じた信号を、後述する制御装置100(図4参照)に出力する。制御装置100は、トルク検出部57から出力された信号に基づいて後述の電動モータ61を制御する。なお、トルク検出部57は、トルクを検出可能な構成であれば、磁歪式のトルクセンサ以外の構成を有していてもよい。
回転部材56とインナー部材55aとを連結するように、一方向クラッチ55(クランク側一方向クラッチ)の略円筒状のアウター部材55bがクランク軸41と同軸に配置されている。アウター部材55bの左端部と回転部材56の右端部とは、例えばスプライン構造によって接続される。これにより、アウター部材55bは、回転部材56と一体で回転する。
アウター部材55bの右端部とインナー部材55aの左端部とは、アウター部材55bからインナー部材55aに一方向の回転力のみが伝達されるように、例えばラチェット構造によって接続される。これにより、アウター部材55bからインナー部材55aに、前転方向(右側から見て時計回りの方向)の回転力が伝達される。しかしながら、アウター部材55bからインナー部材55aに、後転方向(右側から見て反時計回りの方向)の回転力は伝達されない。
この構成により、運転者が電動補助自転車1を前進させるようにペダル33,34を踏み込んでクランク軸41を回転させた場合には、運転者のペダル踏力がクランク軸41から回転部材56及びアウター部材55bを介してインナー部材55aに伝達される。したがって、インナー部材55a及び駆動スプロケット42が前転する。一方、運転者がクランク軸41を後転させた場合、その回転はアウター部材55bからインナー部材55aに伝達されない。したがって、インナー部材55a及び駆動スプロケット42は後転しない。
図3に示すように、一方向クラッチ55のアウター部材55bの外周面上には、略円筒形状の磁石58aが配置されている。この磁石58aの外周面の一部と対向する位置に、ホール素子を備えたエンコーダ58bが配置されている。エンコーダ58bは、樹脂製の支持部材58cによって、第2ケース部53の内面上に保持されている。エンコーダ58bは、アウター部材55bの外周面上に配置された磁石58aによる磁界の変化を検出する。これにより、アウター部材55bが接続されたクランク軸41の回転を検出することが可能になる。すなわち、磁石58a及びエンコーダ58bによって、クランク軸41の回転を検出するクランク回転検出部58が構成される。このクランク回転検出部58は、磁石58aの磁界の変化をエンコーダ58bが検出すると、パルス信号を出力する。なお、クランク回転検出部58は、例えばクランク軸41の回転角度が5度の間隔でパルス信号を出力する。
駆動力発生部60は、第1ケース部52及び第2ケース部53内に、クランク軸41よりも後方に配置されている。駆動力発生部60は、電動モータ61、出力軸81及びギア82を有する。
電動モータ61は、後述する制御装置100から出力される制御信号に基づいて電動補助自転車1の走行をアシストするための駆動力を発生する。また、電動モータ61は、アシストモードに応じて電動補助自転車1の走行をアシストする駆動力を変化させるように、制御される。
電動モータ61は、ステータ62、ロータ63及び回転軸64を有する。ステータ62は、第2ケース部53に固定されている。第2ケース部53には、電動モータ61の左側を覆うように、モータカバー65が取り付けられている。回転軸64は、ロータ63を貫通しているとともに該ロータ63に固定されている。回転軸64は、転がり軸受66,67を介して、第2ケース部53及びモータカバー65に回転可能に支持されている。回転軸64の右端部には、ギア溝64aが形成されている。
なお、特に図示しないが、電動モータ61の近傍には、後述する制御装置100が配置されている。本実施形態では、電動モータ61の近傍に制御装置100を配置しているが、この限りではなく、制御装置100を他の場所に配置してもよい。
また、特に図示しないが、電動モータ61には、ロータ63の回転を検出するためのモータ回転検出部68(図4参照)が設けられている。このモータ回転検出部68は、電動モータ61のロータ63の回転を検出するエンコーダを有する。
図3に示すように、出力軸81は、クランク軸41よりも後方の位置で、本体部51に回転可能に支持されている。具体的には、出力軸81は、転がり軸受83,84を介して第1ケース部52及び第2ケース部53に回転可能に支持されている。
ギア82は、転がり軸受83と転がり軸受84との間に、出力軸81と同軸に配置されている。ギア82は、電動モータ61の回転軸64に形成されたギア溝64aと噛み合っている。これにより、電動モータ61で発生した駆動力が回転軸64からギア82に伝達されて、該ギア82が回転する。この実施形態では、回転軸64が前転するように、電動モータ61が配置される。したがって、ギア82は、回転軸64から伝達される駆動力によって後転する。
ギア82と出力軸81との間には、一方向クラッチ85(モータ側一方向クラッチ)が設けられている。一方向クラッチ85は、ギア82から出力軸81に後転方向の回転力を伝達するが、前転方向の回転力を伝達しないように構成されている。
補助スプロケット43は、出力軸81の右端部に、該出力軸81と同軸に配置されている。補助スプロケット43と出力軸81とは、例えばスプライン構造によって互いに接続される。これにより、駆動力発生部60で発生した駆動力が出力軸81から補助スプロケット43に伝達される。よって、補助スプロケット43が後転する。
チェーンテンショナ86は、第1ケース部52の右側面の後端部に配置されている。チェーンテンショナ86は、図2に示すように、一端側が引張バネ87を介して第1ケース部52に接続されている。また、チェーンテンショナ86は、他端側が支持ボルト88によって第1ケース部52に対して回転可能に接続されている。チェーンテンショナ86には、支持ボルト89に対して回転可能なテンションスプロケット90が設けられている。このテンションスプロケット90には、該テンションスプロケット90を後方に押すようにチェーン46(動力伝達部材)が巻き掛けられる。したがって、チェーン46は、チェーンテンショナ86によって、適度なテンションに調整される。
制御装置100は、電動補助自転車1のアシスト制御を行う。図4に示すように、制御装置100は、ペダル踏力検知部101、モータ回転速度検知部102、補助力演算部103、モータ制御部104、メモリ105及びアシスト制御停止部106を有する。制御装置100の詳しい構成については後述する。
(電動補助自転車のアシスト制御)
図4に、電動補助自転車1において、電動モータ61によるアシスト制御を行う際の信号の授受及び動力の伝達をブロック図で示す。この図4では、アシスト制御を行う際の信号の授受を破線矢印によって示すととともに、動力の伝達を実線矢印で示す。なお、図4中の符号のうち、図1から図3に示す符号と同一の符号は、電動補助自転車1における同一の構成を示す。
電動補助自転車1におけるアシスト制御は、制御装置100によって、運転者のペダル踏力に応じて電動モータ61を駆動制御することによって実現される。すなわち、制御装置100は、クランク軸41のトルクを検出するトルク検出部57から出力される信号に基づいて、運転者のペダル踏力を検知する。また、制御装置100は、検知したペダル踏力に応じて電動モータ61の出力を制御する。さらに、制御装置100は、クランク軸41が1回転の半周分を回転する間のペダル踏力の振幅を求めるとともに、該ペダル踏力の振幅に応じてアシスト制御を停止する。
上述のとおり、制御装置100は、ペダル踏力検知部101、モータ回転速度検知部102、補助力演算部103、モータ制御部104、メモリ105(記憶部)及びアシスト制御停止部106を有する。
ペダル踏力検知部101は、トルク検出部57の検出結果に基づいて、運転者のペダル踏力(トルク)を求める。モータ回転速度検知部102は、モータ回転検出部68によって検出された電動モータ61の回転に基づいて、該電動モータ61の回転速度を求める。
補助力演算部103は、ペダル踏力検知部101によって検知されたペダル踏力に基づいて、電動モータ61に要求される駆動力(補助力)を求める。また、補助力演算部103は、後述するアシスト制御停止部106がアシスト制御の停止を判定した場合に、アシスト制御を停止するように、電動モータ61の駆動力を算出する。
また、補助力演算部103は、アシスト制御を行う際のアシストモードに応じて、電動モータ61の駆動力を算出する。詳しい説明は省略するが、電動補助自転車1は、要求される電動モータ61の駆動力に応じて、例えば、“強”、“標準”、“オートエコ”及び“切”の4つのアシストモードを有する。
モータ制御部104は、補助力演算部103によって求められた必要な駆動力を電動モータ61が出力するように、該電動モータ61の駆動を制御する。また、モータ制御部104は、モータ回転速度検知部102で検出された電動モータ61の回転速度に応じて、電動モータ61の駆動を制御する。
メモリ105は、クランク回転検出部58によって検出されたクランク軸41の回転角度に対応したペダル踏力を記憶する。すなわち、メモリ105には、クランク回転検出部58から出力されるパルス信号が入力されるとともに、ペダル踏力検知部101から出力されるペダル踏力が入力される。メモリ105では、パルス信号に対応するようにペダル踏力を記憶する。
メモリ105には、ペダル踏力検知部101から出力されるペダル踏力のうち、クランク軸41の1回転の半周分(回転角度で180度分)のペダル踏力が記憶される。メモリ105に記憶されるペダル踏力は、例えばクランク軸41の回転角度で5度毎である。なお、メモリ105は、クランク軸41の回転角度で180度以上のペダル踏力を記憶可能に構成されていてもよい。
メモリ105は、例えばバッファが理論的に環状に繋がった、いわゆるリングバッファである。メモリ105の各記憶領域には、クランク軸41の所定の回転角度毎(パルス信号毎)のペダル踏力が記憶される。
図9に、メモリ105の記憶領域を模式的に示す。メモリ105は、複数の記憶領域の中から書き込む領域を指定するためのポインタを有する。クランク軸41が正回転(電動補助自転車1が前進する際の回転)する場合には、メモリ105の各記憶領域に書き込むためのポインタが進む(図9の黒矢印)。一方、クランク軸41が逆回転(正回転とは逆方向に回転)する場合には、メモリ105の各記憶領域に書き込むためのポインタが戻る(図9の黒矢印)。これにより、クランク回転検出部58から出力されるパルス信号に応じて各記憶領域にペダル踏力が記憶される。また、リングバッファであるメモリ105には、クランク軸41の回転に伴って、常に新しいペダル踏力が記憶される。なお、図9では、メモリ105に記憶されるペダル踏力のサンプリング間隔をクランク軸41の回転でa度としている。
アシスト制御停止部106は、メモリ105に記憶されているクランク軸41の1回転の半周分のペダル踏力から求められる踏力振幅に基づいて、アシスト制御を停止するかどうかを判定する。なお、図6に示すように、運転者がペダル33,34を踏み込んだ際にクランク軸41に生じるペダル踏力は、該クランク軸41の回転角度に応じて変動する。
詳しくは、アシスト制御停止部106は、クランク軸41の1回転の半周分のペダル踏力の振幅が閾値以下の場合に、アシスト制御を停止すると判定する。このように、所定時間内の踏力振幅ではなく、クランク軸41の1回転の半周分での踏力振幅に基づいてアシスト制御の停止を判定することで、アシスト停止の判定は、従来技術のように所定時間の長さやクランク軸41の回転速度の影響を受けない。これにより、アシスト停止判定の精度を高めることができる。したがって、アシスト制御の頻繁な停止や、ペダル33,34の踏み込み停止からアシスト停止までの時間遅れなどの違和感を運転者に与えるのを防止できる。
図5に示すように、アシスト制御停止部106は、踏力振幅算出部111(トルク振幅算出部)、踏力振幅比較部112及びアシスト停止判定部113を有する。
踏力振幅算出部111は、メモリ105内に記憶されているクランク軸41の1回転の半周分(180度)のペダル踏力に基づいて、ペダル踏力の最大値と最小値とから踏力振幅を求める。詳しくは、踏力振幅算出部111は、クランク軸41の現在の回転角度(基準となる角度位置)から180度前までの回転角度の範囲(所定の角度範囲)のペダル踏力を、メモリ105から読み出す。そして、踏力振幅算出部111は、読み出したペダル踏力を用いて、ペダル踏力の最大値と最小値との差を算出することにより、踏力振幅を求める。
このように、踏力振幅算出部111によって、クランク軸41の回転角度で180度分のペダル踏力を用いて踏力振幅を算出することで、図6に示すように、回転角度が180度の範囲に含まれるペダル踏力の最小値及び最大値を用いてより正確な踏力振幅を求めることができる。しかも、上述のように、回転角度で180度分のペダル踏力を用いて踏力振幅を算出することで、より正確な踏力振幅を、回転角度で180度以上の範囲のペダル踏力を用いて算出する場合に比べて迅速且つ小さい計算負荷で求めることができる。
踏力振幅比較部112は、踏力振幅算出部111によって求められたペダル踏力の振幅が閾値以下であるかどうかを判定する。この閾値は、クランク軸41の無負荷回転時におけるトルク検出部57の出力の変動幅が下限になるように設定される。なお、閾値は、運転者がペダル33,34を踏み込んでいると判定される最低踏力振幅以下がより好ましい。踏力振幅比較部112は、踏力振幅算出部111によって求められた踏力振幅が閾値以下の場合に、アシスト停止判定部113に信号を出力する。
アシスト停止判定部113は、踏力振幅比較部112から信号が出力されると、アシスト制御を停止すると判定する。アシスト停止判定部113は、アシスト制御を停止すると判定した場合に、補助力演算部103に対して停止信号を出力する。
(アシスト停止判定)
次に、上述のような構成を有する電動補助自転車1において、アシスト制御停止部106がアシスト制御を停止すると判定するアシスト停止判定を、図7に示すフローに基づいて説明する。
図7に示すようなアシスト停止判定フローがスタートする(スタート)と、まず、ステップSA1において、踏力振幅算出部111によって、メモリ105から読み出したペダル踏力に基づいて、踏力振幅を算出する。具体的には、ステップSA1では、踏力振幅算出部111は、メモリ105に記憶されているクランク軸41の1回転の半周分のペダル踏力を読み出して、それらのペダル踏力のうちの最大値と最小値との差を計算することにより、踏力振幅を求める。
続くステップSA2では、ステップSA1で算出した踏力振幅が、閾値以下であるかどうかを判定する。ステップSA2において、踏力振幅が閾値以下であると判定された場合(YESの場合)には、ステップSA3に進んで、アシスト停止判定部113によって、アシスト制御を停止する判定(アシスト停止判定)を行う。一方、踏力振幅が閾値よりも大きいと判定された場合(NOの場合)には、ステップSA4に進んで、アシスト制御を継続する判定(アシスト継続判定)を行う。
ステップSA3,SA4でそれぞれ判定を行った後、このフローを終了する(エンド)。
このように、クランク軸41の1回転の半周分のペダル踏力から振幅を求め、該振幅に基づいてアシスト停止判定を行うことで、判定時間の長さやクランク軸41の回転速度の影響を受けることなく、精度の良いアシスト停止判定が可能になる。
(ペダル踏力の記憶制御)
既述のように、メモリ105には、クランク軸41が1回転の半周分を回転する間にペダル踏力検知部101によって検知されたペダル踏力が記憶されている。このメモリ105は、例えばリングバッファであり、各記憶領域に回転角度毎(クランク回転検出部58から出力されるパルス信号毎)のペダル踏力が記憶される。
以下で、メモリ105にペダル踏力を記憶する際のフローを、図8を用いて説明する。なお、図8のフローは、クランク回転検出部58からパルス信号が出力された際にスタートする。
図8に示すフローがスタートする(スタート)と、ステップSB1で、制御装置100は、クランク回転検出部58の検出結果に基づいてクランク軸41が正回転したかどうかを判定する。このクランク軸41の正回転の検出は、例えば、クランク回転検出部58から出力されるパルス信号の位相差等を考慮することにより実現可能である。
ステップSB1において、クランク軸41は正回転をしていると判定された場合(YESの場合)には、ステップSB2に進んで、メモリ105のポインタを進める。一方、クランク軸41は正回転していないと判定された場合(NOの場合)には、ステップSB3に進んでメモリ105のポインタを戻す。
ステップSB2,SB3でメモリ105のポインタを移動させた後、ステップSB4でポインタの位置する記憶領域にペダル踏力を保存する。その後、このフローを終了する(エンド)。
このように、クランク軸41の回転に応じてメモリ105のポインタの位置を変えて、該ポインタが位置する記憶領域にペダル踏力を保存することにより、クランク軸41の回転角度に応じてペダル踏力をメモリ105に記憶することができる。
本実施形態では、電動補助自転車1は、ペダル33,34が接続されるクランク軸41と、クランク軸41に発生するトルクを検出するトルク検出部57と、クランク軸41が所定の回転角度の範囲を回転する間にトルク検出部57によって検出されるトルクの振幅に基づいて、アシスト制御を停止するアシスト制御停止部106とを備える。
これにより、クランク軸41が所定の回転角度の範囲(1回転の半周分)を回転する際のペダル踏力の振幅を用いて、アシスト停止判定を行うことができる。よって、判定時間の長さやクランク軸41の回転速度の影響を受けることなく、精度良くアシスト制御を停止可能な構成を実現できる。
本実施形態では、アシスト制御停止部106は、トルクの振幅を算出する踏力振幅算出部111と、踏力振幅算出部111によって求められたトルクの振幅が閾値以下の場合にアシスト制御の停止を判定するアシスト停止判定部113とを備える。
これにより、クランク軸41が所定の回転角度の範囲を回転する際のペダル踏力の振幅を用いてアシスト停止判定を行う構成を、実現できる。
本実施形態では、電動補助自転車1は、クランク軸41の回転角度を検出するクランク回転検出部58と、クランク回転検出部58によって検出されたクランク軸41の回転角度ごとに、トルク検出部57によって検出されたトルクを記憶するメモリ105とをさらに備える。踏力振幅算出部111は、メモリ105に記憶されているトルクのうち最大値と最小値との差を、前記トルクの振幅として算出可能に構成されている。
これにより、メモリ105に、クランク軸41が所定の回転角度の範囲を回転する際のペダル踏力を記憶できるため、該所定の回転角度の範囲での踏力振幅を容易に算出することができる。したがって、クランク軸41が所定の回転角度の範囲を回転する際のペダル踏力の振幅を用いてアシスト停止判定を行う構成を、容易に実現できる。
本実施形態では、メモリ105は、トルク検出部57によって検出されたトルクのうち、所定の回転角度の範囲に対応するトルクを記憶可能に構成されている。これにより、メモリ105に記憶されている前記所定の回転角度の範囲での踏力振幅に基づいて、アシスト停止判定を行うことができる。
本実施形態では、前記閾値は、クランク軸41の無負荷回転時におけるトルク検出部57の出力の変動幅を下限とする。クランク軸41にトルクが生じていないときのトルク検出部57の変動幅以上の値を閾値に設定することで、クランク軸41にトルクが生じていないときの踏力振幅をより確実に検出することができる。したがって、精度良くアシスト制御を停止することができる。
本実施形態では、前記所定の回転角度の範囲は、範囲一定で、位相が変化可能な角度範囲である。しかも、前記所定の回転角度の範囲における位相は、ペダル33,34の回転に同期して変化する。すなわち、メモリ150には、ペダル33,34の回転に伴って新規にトルク検出部57によって検出されたトルクを記憶するとともに、最も古いトルクの記憶値を消去する。これにより、メモリ150に記憶されているトルクの記憶値を常に最新の所定角度範囲内のトルクの値にすることができる。
本実施形態では、前記所定の回転角度の範囲は180度以上である。踏力(トルク)は、クランク軸41の回転角度の範囲が180度以上で、最小値及び最大値を含む。したがって、前記所定の回転角度の範囲を180度以上とすることで、より正確な踏力振幅を求めることが可能になる。よって、アシスト制御の停止判定をより精度良く行うことが可能になる。
(その他の実施形態)
以上、本発明の実施の形態を説明したが、上述した実施の形態は本発明を実施するための例示に過ぎない。よって、本発明は上述した実施の形態に限定されることなく、その趣旨を逸脱しない範囲内で上述した実施の形態を適宜変形して実施することが可能である。
前記実施形態では、メモリ105としてリングバッファを用いている。しかしながら、クランク軸41の回転角度毎のペダル踏力を記憶可能な構成であれば、他の構成のメモリであってもよい。
1 電動補助自転車
33,34 ペダル
40 駆動ユニット
41 クランク軸
57 トルク検出部
58 クランク回転検出部
61 電動モータ
105 メモリ(記憶部)
106 アシスト制御停止部
111 踏力振幅算出部(トルク振幅算出部)
113 アシスト停止判定部

Claims (9)

  1. 運転者のペダル踏力を電動モータの駆動力によってアシストする駆動ユニットであって、
    ペダルが接続されるクランク軸と、
    前記クランク軸の回転角度を検出するクランク回転検出部と、
    前記クランク軸に発生するトルクを検出するトルク検出部と、
    前記クランク回転検出部で検出された回転角度が所定の回転角度の範囲にある間に前記トルク検出部によって検出されるトルクの最大値と最小値の差を算出することにより求められるトルクの振幅に基づいて、アシスト制御を停止するアシスト制御停止部とを備える、駆動ユニット。
  2. 請求項1に記載の駆動ユニットにおいて、
    前記アシスト制御停止部は、
    前記トルクの振幅を算出するトルク振幅算出部と、
    前記トルク振幅算出部によって求められたトルクの振幅が閾値以下の場合にアシスト制御の停止を判定するアシスト停止判定部とを備える、駆動ユニット。
  3. 請求項2に記載の駆動ユニットにおいて、
    前記所定の回転角度の範囲は、基準となる角度位置から所定の角度位置までの角度範囲であって、当該角度範囲において、クランク軸に生じるペダル踏力がクランク軸の回転角度に応じて変動可能な角度範囲である、駆動ユニット。
  4. 請求項2又は3に記載の駆動ユニットにおいて、
    前記クランク軸の回転角度を検出するクランク回転検出部と、
    前記クランク回転検出部によって検出されたクランク軸の回転角度ごとに、前記トルク検出部によって検出されたトルクを記憶する記憶部とをさらに備え、
    前記トルク振幅算出部は、前記記憶部に記憶されているトルクのうち最大値と最小値との差を、前記トルクの振幅として算出可能に構成されている、駆動ユニット。
  5. 請求項に記載の駆動ユニットにおいて、
    前記記憶部は、前記トルク検出部によって検出されたトルクのうち、前記所定の回転角度の範囲に対応するトルクを記憶可能に構成されている、駆動ユニット。
  6. 請求項2からのいずれか一つに記載の駆動ユニットにおいて、
    前記閾値は、前記クランク軸にトルクが生じていないときの前記トルク検出部の出力の変動幅を下限とする、駆動ユニット。
  7. 請求項1〜のいずれか1つに記載の駆動ユニットにおいて、
    前記アシスト制御停止部は、前記クランク回転検出部で検出された回転角度が所定の回転角度の範囲にある間に前記トルク検出部によって検出されるトルクの振幅に基づいて、前記ペダルの踏み込み停止を判定してアシスト制御を停止する、駆動ユニット。
  8. 請求項1から7のいずれか一つに記載の駆動ユニットにおいて、
    前記所定の回転角度の範囲は180度以上である、駆動ユニット。
  9. 請求項1から8のいずれか一つに記載の駆動ユニットを搭載した電動補助自転車。
JP2013252301A 2012-12-17 2013-12-05 駆動ユニット及び電動補助自転車 Active JP6415809B2 (ja)

Priority Applications (1)

Application Number Priority Date Filing Date Title
JP2013252301A JP6415809B2 (ja) 2012-12-17 2013-12-05 駆動ユニット及び電動補助自転車

Applications Claiming Priority (3)

Application Number Priority Date Filing Date Title
JP2012275150 2012-12-17
JP2012275150 2012-12-17
JP2013252301A JP6415809B2 (ja) 2012-12-17 2013-12-05 駆動ユニット及び電動補助自転車

Publications (2)

Publication Number Publication Date
JP2014139067A JP2014139067A (ja) 2014-07-31
JP6415809B2 true JP6415809B2 (ja) 2018-10-31

Family

ID=49884937

Family Applications (1)

Application Number Title Priority Date Filing Date
JP2013252301A Active JP6415809B2 (ja) 2012-12-17 2013-12-05 駆動ユニット及び電動補助自転車

Country Status (5)

Country Link
US (1) US9199693B2 (ja)
EP (1) EP2743165B1 (ja)
JP (1) JP6415809B2 (ja)
CN (1) CN103863506B (ja)
CA (1) CA2836764C (ja)

Families Citing this family (24)

* Cited by examiner, † Cited by third party
Publication number Priority date Publication date Assignee Title
JP5575938B1 (ja) * 2013-02-07 2014-08-20 株式会社シマノ 自転車用制御装置
JP2015044526A (ja) * 2013-08-29 2015-03-12 太陽誘電株式会社 モータ駆動制御装置及び電動アシスト車
US20160339992A1 (en) * 2014-01-15 2016-11-24 Sunstar Giken Kabushiki Kaisha Power-assisted unit, power-assisted moving vehicle, power-assisted moving vehicles set, and power-assisted moving vehicle controlling method
DE102014218683A1 (de) * 2014-09-17 2016-03-17 Continental Teves Ag & Co. Ohg Unterstützung für Runden Tritt am Fahrrad
US9802674B2 (en) 2014-10-06 2017-10-31 Ford Global Technologies, Llc Power unit attachable to a bicycle
ES2873174T3 (es) * 2014-11-18 2021-11-03 Zehus S P A Sistema para controlar el movimiento de un vehículo de propulsión humana de tipo impulsivo
DE102014224066A1 (de) * 2014-11-26 2016-06-02 Robert Bosch Gmbh Fahrzeug mit elektrischem Antrieb, insbesondere Elektrofahrrad, und Verfahren zum Betreiben eines derartigen Fahrzeugs
ITUB20150006A1 (it) * 2015-02-10 2016-08-10 Zehus S P A Sistema di interfaccia uomo-macchina per una bicicletta a pedalata assistita e bicicletta a pedalata assistita provvista di tale sistema di interfaccia uomo-macchina
US10118667B2 (en) * 2015-05-28 2018-11-06 Shimano Inc. Bicycle motor control system
JP2017013524A (ja) * 2015-06-26 2017-01-19 ヤマハ発動機株式会社 電動補助自転車
US9857252B2 (en) * 2015-11-24 2018-01-02 GM Global Technology Operations LLC Automated e-assist adjustment for an e-bike for elevation gains and loss
JP6721403B2 (ja) * 2016-04-28 2020-07-15 ヤマハ発動機株式会社 電動補助自転車
JP6761696B2 (ja) * 2016-08-18 2020-09-30 株式会社シマノ 自転車用制御装置および自転車の制御方法
TWI622524B (zh) * 2016-12-28 2018-05-01 Dual mode application and monitoring system for electric bicycle
DE102017219398A1 (de) * 2017-10-27 2019-05-02 Brose Antriebstechnik GmbH & Co. Kommanditgesellschaft, Berlin Hybridantrieb für ein Elektrofahrrad
TWI651237B (zh) * 2017-11-13 2019-02-21 財團法人金屬工業研究發展中心 電助自行車及其輔助動力的控制方法
US10322770B1 (en) 2017-11-27 2019-06-18 Metal Industries Research & Development Centre Electricity aided bicycle and auxiliary power controlling method thereof
CN109895929B (zh) * 2017-12-07 2022-03-29 弗莱克斯有限公司 用于电动助力自行车的电子离合器
JP7373762B2 (ja) 2018-11-13 2023-11-06 パナソニックIpマネジメント株式会社 電動自転車用動力伝達ユニット、及び電動自転車
TWI770430B (zh) * 2019-10-24 2022-07-11 英屬開曼群島商睿能創意公司 電動助力車、傳動裝置及控制方法
CN112706871B (zh) * 2019-10-24 2022-06-21 睿能创意公司 电动助力车、传动装置及控制方法
JP7039545B2 (ja) * 2019-12-27 2022-03-22 ヤマハ発動機株式会社 電動補助自転車、その駆動システム、及び制御方法
CN114228891B (zh) * 2021-12-11 2023-05-02 上海电机学院 一种基于循环充供电的自行车助力装置及方法
CN114212178B (zh) * 2022-02-22 2022-05-13 品上佳自行车(深圳)有限公司 新能源电动自行车的动力装置

Family Cites Families (14)

* Cited by examiner, † Cited by third party
Publication number Priority date Publication date Assignee Title
US5370200A (en) * 1992-05-11 1994-12-06 Yamaha Hatsudoki Kabushiki Kaisha Bicycle with electric motor
TW467091U (en) 1994-03-29 2001-12-01 Sanyo Electric Co Electric bicycle
JP3276782B2 (ja) * 1994-08-18 2002-04-22 本田技研工業株式会社 電動補助自転車
TW404383U (en) 1995-02-28 2000-09-01 Sanyo Electric Co Electric bicycle
JP3108311B2 (ja) 1995-02-28 2000-11-13 三洋電機株式会社 電動機停止機能付き電動自転車
JP3440729B2 (ja) * 1996-12-06 2003-08-25 松下電器産業株式会社 電気自転車
US5922035A (en) * 1997-12-03 1999-07-13 Winston Hsu Fuzzy logic control system for electrical aided vehicle
JP2005041352A (ja) * 2003-07-23 2005-02-17 Moric Co Ltd 電動補助自転車のトルク制御方法
EP2289794A4 (en) * 2008-05-19 2012-04-25 Sunstar Engineering Inc BIKE WITH ELECTROMOTIC AUXILIARY DRIVE
JP5564391B2 (ja) * 2010-09-30 2014-07-30 本田技研工業株式会社 電動補助自転車の制御装置
JP5564390B2 (ja) 2010-09-30 2014-07-30 本田技研工業株式会社 電動補助自転車の制御装置
JP5564389B2 (ja) * 2010-09-30 2014-07-30 本田技研工業株式会社 電動補助自転車の制御装置
JP5684595B2 (ja) 2011-02-07 2015-03-11 ヤマハ発動機株式会社 電動補助自転車
JP2012214151A (ja) 2011-03-31 2012-11-08 Honda Motor Co Ltd 電動補助自転車の補助力制御装置

Also Published As

Publication number Publication date
CA2836764C (en) 2016-04-26
JP2014139067A (ja) 2014-07-31
CN103863506B (zh) 2016-08-17
US9199693B2 (en) 2015-12-01
US20140166386A1 (en) 2014-06-19
EP2743165B1 (en) 2020-09-09
CA2836764A1 (en) 2014-06-17
EP2743165A1 (en) 2014-06-18
CN103863506A (zh) 2014-06-18

Similar Documents

Publication Publication Date Title
JP6415809B2 (ja) 駆動ユニット及び電動補助自転車
CA2836982C (en) Driving unit and battery-assisted bicycle
JP6228442B2 (ja) 駆動ユニット及び電動補助自転車
TWI500554B (zh) Bicycle control device
TWI776972B (zh) 人力驅動車輛用控制裝置
JP6226825B2 (ja) 電動補助自転車
WO2014184826A1 (ja) 電動アシスト自転車
JP7619802B2 (ja) 人力駆動車用の制御装置および人力駆動車用の制御システム
JP7497214B2 (ja) 制御装置および変速システム
JP7266987B2 (ja) 人力駆動車用の制御装置および人力駆動車用の制御方法
JP6095446B2 (ja) 電動アシスト自転車
JP5255347B2 (ja) アシスト力付き車両
JP2019064353A (ja) 自転車用制御装置
JP2014015211A (ja) 自転車用制御装置
JP3810130B2 (ja) 電動モータ付き乗り物およびその制御方法
JP2004243920A (ja) 電動補助車両の補助力制御装置
JPH05310175A (ja) 電動モータ付き自転車
JP7349304B2 (ja) 制御装置
JP7692795B2 (ja) 人力駆動車用の制御装置
JP2019217888A (ja) ギアセンサ、電動アシスト自転車、および制御方法
JP6947689B2 (ja) 人力駆動車用制御装置および人力駆動車用駆動装置

Legal Events

Date Code Title Description
A621 Written request for application examination

Free format text: JAPANESE INTERMEDIATE CODE: A621

Effective date: 20161028

A977 Report on retrieval

Free format text: JAPANESE INTERMEDIATE CODE: A971007

Effective date: 20170427

A131 Notification of reasons for refusal

Free format text: JAPANESE INTERMEDIATE CODE: A131

Effective date: 20170516

A521 Request for written amendment filed

Free format text: JAPANESE INTERMEDIATE CODE: A523

Effective date: 20170714

A131 Notification of reasons for refusal

Free format text: JAPANESE INTERMEDIATE CODE: A131

Effective date: 20170905

A521 Request for written amendment filed

Free format text: JAPANESE INTERMEDIATE CODE: A523

Effective date: 20171023

A02 Decision of refusal

Free format text: JAPANESE INTERMEDIATE CODE: A02

Effective date: 20180403

A521 Request for written amendment filed

Free format text: JAPANESE INTERMEDIATE CODE: A523

Effective date: 20180627

A911 Transfer to examiner for re-examination before appeal (zenchi)

Free format text: JAPANESE INTERMEDIATE CODE: A911

Effective date: 20180704

TRDD Decision of grant or rejection written
A01 Written decision to grant a patent or to grant a registration (utility model)

Free format text: JAPANESE INTERMEDIATE CODE: A01

Effective date: 20180905

A61 First payment of annual fees (during grant procedure)

Free format text: JAPANESE INTERMEDIATE CODE: A61

Effective date: 20181003

R150 Certificate of patent or registration of utility model

Ref document number: 6415809

Country of ref document: JP

Free format text: JAPANESE INTERMEDIATE CODE: R150

R250 Receipt of annual fees

Free format text: JAPANESE INTERMEDIATE CODE: R250

R250 Receipt of annual fees

Free format text: JAPANESE INTERMEDIATE CODE: R250

R250 Receipt of annual fees

Free format text: JAPANESE INTERMEDIATE CODE: R250

R250 Receipt of annual fees

Free format text: JAPANESE INTERMEDIATE CODE: R250

R250 Receipt of annual fees

Free format text: JAPANESE INTERMEDIATE CODE: R250