JP6404591B2 - 半導体装置の製造方法、半導体装置の評価方法および半導体装置 - Google Patents

半導体装置の製造方法、半導体装置の評価方法および半導体装置 Download PDF

Info

Publication number
JP6404591B2
JP6404591B2 JP2014089124A JP2014089124A JP6404591B2 JP 6404591 B2 JP6404591 B2 JP 6404591B2 JP 2014089124 A JP2014089124 A JP 2014089124A JP 2014089124 A JP2014089124 A JP 2014089124A JP 6404591 B2 JP6404591 B2 JP 6404591B2
Authority
JP
Japan
Prior art keywords
electrode
gate
screening
trench
pad
Prior art date
Legal status (The legal status is an assumption and is not a legal conclusion. Google has not performed a legal analysis and makes no representation as to the accuracy of the status listed.)
Active
Application number
JP2014089124A
Other languages
English (en)
Other versions
JP2015207736A (ja
Inventor
聖自 百田
聖自 百田
和 阿部
和 阿部
河野 憲司
憲司 河野
広光 田邊
広光 田邊
Current Assignee (The listed assignees may be inaccurate. Google has not performed a legal analysis and makes no representation or warranty as to the accuracy of the list.)
Fuji Electric Co Ltd
Denso Corp
Original Assignee
Fuji Electric Co Ltd
Denso Corp
Priority date (The priority date is an assumption and is not a legal conclusion. Google has not performed a legal analysis and makes no representation as to the accuracy of the date listed.)
Filing date
Publication date
Application filed by Fuji Electric Co Ltd, Denso Corp filed Critical Fuji Electric Co Ltd
Priority to JP2014089124A priority Critical patent/JP6404591B2/ja
Priority to US14/674,478 priority patent/US9437678B2/en
Priority to CN201510151867.1A priority patent/CN105023845B/zh
Publication of JP2015207736A publication Critical patent/JP2015207736A/ja
Priority to US15/221,034 priority patent/US9761663B2/en
Application granted granted Critical
Publication of JP6404591B2 publication Critical patent/JP6404591B2/ja
Active legal-status Critical Current
Anticipated expiration legal-status Critical

Links

Images

Classifications

    • HELECTRICITY
    • H10SEMICONDUCTOR DEVICES; ELECTRIC SOLID-STATE DEVICES NOT OTHERWISE PROVIDED FOR
    • H10DINORGANIC ELECTRIC SEMICONDUCTOR DEVICES
    • H10D62/00Semiconductor bodies, or regions thereof, of devices having potential barriers
    • H10D62/10Shapes, relative sizes or dispositions of the regions of the semiconductor bodies; Shapes of the semiconductor bodies
    • H10D62/124Shapes, relative sizes or dispositions of the regions of semiconductor bodies or of junctions between the regions
    • H10D62/126Top-view geometrical layouts of the regions or the junctions
    • H10D62/127Top-view geometrical layouts of the regions or the junctions of cellular field-effect devices, e.g. multicellular DMOS transistors or IGBTs
    • HELECTRICITY
    • H10SEMICONDUCTOR DEVICES; ELECTRIC SOLID-STATE DEVICES NOT OTHERWISE PROVIDED FOR
    • H10DINORGANIC ELECTRIC SEMICONDUCTOR DEVICES
    • H10D64/00Electrodes of devices having potential barriers
    • H10D64/01Manufacture or treatment
    • H10D64/017Manufacture or treatment using dummy gates in processes wherein at least parts of the final gates are self-aligned to the dummy gates, i.e. replacement gate processes
    • GPHYSICS
    • G01MEASURING; TESTING
    • G01RMEASURING ELECTRIC VARIABLES; MEASURING MAGNETIC VARIABLES
    • G01R31/00Arrangements for testing electric properties; Arrangements for locating electric faults; Arrangements for electrical testing characterised by what is being tested not provided for elsewhere
    • G01R31/26Testing of individual semiconductor devices
    • G01R31/2601Apparatus or methods therefor
    • HELECTRICITY
    • H01ELECTRIC ELEMENTS
    • H01LSEMICONDUCTOR DEVICES NOT COVERED BY CLASS H10
    • H01L22/00Testing or measuring during manufacture or treatment; Reliability measurements, i.e. testing of parts without further processing to modify the parts as such; Structural arrangements therefor
    • H01L22/10Measuring as part of the manufacturing process
    • H01L22/14Measuring as part of the manufacturing process for electrical parameters, e.g. resistance, deep-levels, CV, diffusions by electrical means
    • HELECTRICITY
    • H01ELECTRIC ELEMENTS
    • H01LSEMICONDUCTOR DEVICES NOT COVERED BY CLASS H10
    • H01L22/00Testing or measuring during manufacture or treatment; Reliability measurements, i.e. testing of parts without further processing to modify the parts as such; Structural arrangements therefor
    • H01L22/30Structural arrangements specially adapted for testing or measuring during manufacture or treatment, or specially adapted for reliability measurements
    • HELECTRICITY
    • H01ELECTRIC ELEMENTS
    • H01LSEMICONDUCTOR DEVICES NOT COVERED BY CLASS H10
    • H01L24/00Arrangements for connecting or disconnecting semiconductor or solid-state bodies; Methods or apparatus related thereto
    • H01L24/01Means for bonding being attached to, or being formed on, the surface to be connected, e.g. chip-to-package, die-attach, "first-level" interconnects; Manufacturing methods related thereto
    • H01L24/42Wire connectors; Manufacturing methods related thereto
    • H01L24/47Structure, shape, material or disposition of the wire connectors after the connecting process
    • H01L24/49Structure, shape, material or disposition of the wire connectors after the connecting process of a plurality of wire connectors
    • HELECTRICITY
    • H01ELECTRIC ELEMENTS
    • H01LSEMICONDUCTOR DEVICES NOT COVERED BY CLASS H10
    • H01L24/00Arrangements for connecting or disconnecting semiconductor or solid-state bodies; Methods or apparatus related thereto
    • H01L24/80Methods for connecting semiconductor or other solid state bodies using means for bonding being attached to, or being formed on, the surface to be connected
    • H01L24/85Methods for connecting semiconductor or other solid state bodies using means for bonding being attached to, or being formed on, the surface to be connected using a wire connector
    • HELECTRICITY
    • H10SEMICONDUCTOR DEVICES; ELECTRIC SOLID-STATE DEVICES NOT OTHERWISE PROVIDED FOR
    • H10DINORGANIC ELECTRIC SEMICONDUCTOR DEVICES
    • H10D12/00Bipolar devices controlled by the field effect, e.g. insulated-gate bipolar transistors [IGBT]
    • H10D12/01Manufacture or treatment
    • H10D12/031Manufacture or treatment of IGBTs
    • H10D12/032Manufacture or treatment of IGBTs of vertical IGBTs
    • H10D12/038Manufacture or treatment of IGBTs of vertical IGBTs having a recessed gate, e.g. trench-gate IGBTs
    • HELECTRICITY
    • H10SEMICONDUCTOR DEVICES; ELECTRIC SOLID-STATE DEVICES NOT OTHERWISE PROVIDED FOR
    • H10DINORGANIC ELECTRIC SEMICONDUCTOR DEVICES
    • H10D12/00Bipolar devices controlled by the field effect, e.g. insulated-gate bipolar transistors [IGBT]
    • H10D12/411Insulated-gate bipolar transistors [IGBT]
    • H10D12/441Vertical IGBTs
    • H10D12/461Vertical IGBTs having non-planar surfaces, e.g. having trenches, recesses or pillars in the surfaces of the emitter, base or collector regions
    • H10D12/481Vertical IGBTs having non-planar surfaces, e.g. having trenches, recesses or pillars in the surfaces of the emitter, base or collector regions having gate structures on slanted surfaces, on vertical surfaces, or in grooves, e.g. trench gate IGBTs
    • HELECTRICITY
    • H10SEMICONDUCTOR DEVICES; ELECTRIC SOLID-STATE DEVICES NOT OTHERWISE PROVIDED FOR
    • H10DINORGANIC ELECTRIC SEMICONDUCTOR DEVICES
    • H10D62/00Semiconductor bodies, or regions thereof, of devices having potential barriers
    • H10D62/10Shapes, relative sizes or dispositions of the regions of the semiconductor bodies; Shapes of the semiconductor bodies
    • H10D62/102Constructional design considerations for preventing surface leakage or controlling electric field concentration
    • H10D62/103Constructional design considerations for preventing surface leakage or controlling electric field concentration for increasing or controlling the breakdown voltage of reverse-biased devices
    • H10D62/105Constructional design considerations for preventing surface leakage or controlling electric field concentration for increasing or controlling the breakdown voltage of reverse-biased devices by having particular doping profiles, shapes or arrangements of PN junctions; by having supplementary regions, e.g. junction termination extension [JTE] 
    • H10D62/106Constructional design considerations for preventing surface leakage or controlling electric field concentration for increasing or controlling the breakdown voltage of reverse-biased devices by having particular doping profiles, shapes or arrangements of PN junctions; by having supplementary regions, e.g. junction termination extension [JTE]  having supplementary regions doped oppositely to or in rectifying contact with regions of the semiconductor bodies, e.g. guard rings with PN or Schottky junctions
    • HELECTRICITY
    • H10SEMICONDUCTOR DEVICES; ELECTRIC SOLID-STATE DEVICES NOT OTHERWISE PROVIDED FOR
    • H10DINORGANIC ELECTRIC SEMICONDUCTOR DEVICES
    • H10D64/00Electrodes of devices having potential barriers
    • H10D64/01Manufacture or treatment
    • H10D64/018Spacers formed inside holes at the prospective gate locations, e.g. holes left by removing dummy gates
    • HELECTRICITY
    • H10SEMICONDUCTOR DEVICES; ELECTRIC SOLID-STATE DEVICES NOT OTHERWISE PROVIDED FOR
    • H10DINORGANIC ELECTRIC SEMICONDUCTOR DEVICES
    • H10D64/00Electrodes of devices having potential barriers
    • H10D64/111Field plates
    • H10D64/117Recessed field plates, e.g. trench field plates or buried field plates
    • HELECTRICITY
    • H10SEMICONDUCTOR DEVICES; ELECTRIC SOLID-STATE DEVICES NOT OTHERWISE PROVIDED FOR
    • H10DINORGANIC ELECTRIC SEMICONDUCTOR DEVICES
    • H10D64/00Electrodes of devices having potential barriers
    • H10D64/20Electrodes characterised by their shapes, relative sizes or dispositions 
    • H10D64/27Electrodes not carrying the current to be rectified, amplified, oscillated or switched, e.g. gates
    • H10D64/311Gate electrodes for field-effect devices
    • H10D64/411Gate electrodes for field-effect devices for FETs
    • H10D64/511Gate electrodes for field-effect devices for FETs for IGFETs
    • H10D64/512Disposition of the gate electrodes, e.g. buried gates
    • H10D64/513Disposition of the gate electrodes, e.g. buried gates within recesses in the substrate, e.g. trench gates, groove gates or buried gates
    • HELECTRICITY
    • H10SEMICONDUCTOR DEVICES; ELECTRIC SOLID-STATE DEVICES NOT OTHERWISE PROVIDED FOR
    • H10DINORGANIC ELECTRIC SEMICONDUCTOR DEVICES
    • H10D64/00Electrodes of devices having potential barriers
    • H10D64/20Electrodes characterised by their shapes, relative sizes or dispositions 
    • H10D64/27Electrodes not carrying the current to be rectified, amplified, oscillated or switched, e.g. gates
    • H10D64/311Gate electrodes for field-effect devices
    • H10D64/411Gate electrodes for field-effect devices for FETs
    • H10D64/511Gate electrodes for field-effect devices for FETs for IGFETs
    • H10D64/517Gate electrodes for field-effect devices for FETs for IGFETs characterised by the conducting layers
    • H10D64/519Gate electrodes for field-effect devices for FETs for IGFETs characterised by the conducting layers characterised by their top-view geometrical layouts
    • HELECTRICITY
    • H01ELECTRIC ELEMENTS
    • H01LSEMICONDUCTOR DEVICES NOT COVERED BY CLASS H10
    • H01L2224/00Indexing scheme for arrangements for connecting or disconnecting semiconductor or solid-state bodies and methods related thereto as covered by H01L24/00
    • H01L2224/01Means for bonding being attached to, or being formed on, the surface to be connected, e.g. chip-to-package, die-attach, "first-level" interconnects; Manufacturing methods related thereto
    • H01L2224/02Bonding areas; Manufacturing methods related thereto
    • H01L2224/04Structure, shape, material or disposition of the bonding areas prior to the connecting process
    • H01L2224/05Structure, shape, material or disposition of the bonding areas prior to the connecting process of an individual bonding area
    • H01L2224/0554External layer
    • H01L2224/05599Material
    • H01L2224/056Material with a principal constituent of the material being a metal or a metalloid, e.g. boron [B], silicon [Si], germanium [Ge], arsenic [As], antimony [Sb], tellurium [Te] and polonium [Po], and alloys thereof
    • H01L2224/05617Material with a principal constituent of the material being a metal or a metalloid, e.g. boron [B], silicon [Si], germanium [Ge], arsenic [As], antimony [Sb], tellurium [Te] and polonium [Po], and alloys thereof the principal constituent melting at a temperature of greater than or equal to 400°C and less than 950°C
    • H01L2224/05624Aluminium [Al] as principal constituent
    • HELECTRICITY
    • H01ELECTRIC ELEMENTS
    • H01LSEMICONDUCTOR DEVICES NOT COVERED BY CLASS H10
    • H01L2224/00Indexing scheme for arrangements for connecting or disconnecting semiconductor or solid-state bodies and methods related thereto as covered by H01L24/00
    • H01L2224/01Means for bonding being attached to, or being formed on, the surface to be connected, e.g. chip-to-package, die-attach, "first-level" interconnects; Manufacturing methods related thereto
    • H01L2224/02Bonding areas; Manufacturing methods related thereto
    • H01L2224/04Structure, shape, material or disposition of the bonding areas prior to the connecting process
    • H01L2224/06Structure, shape, material or disposition of the bonding areas prior to the connecting process of a plurality of bonding areas
    • H01L2224/0601Structure
    • H01L2224/0603Bonding areas having different sizes, e.g. different heights or widths
    • HELECTRICITY
    • H01ELECTRIC ELEMENTS
    • H01LSEMICONDUCTOR DEVICES NOT COVERED BY CLASS H10
    • H01L2224/00Indexing scheme for arrangements for connecting or disconnecting semiconductor or solid-state bodies and methods related thereto as covered by H01L24/00
    • H01L2224/01Means for bonding being attached to, or being formed on, the surface to be connected, e.g. chip-to-package, die-attach, "first-level" interconnects; Manufacturing methods related thereto
    • H01L2224/42Wire connectors; Manufacturing methods related thereto
    • H01L2224/44Structure, shape, material or disposition of the wire connectors prior to the connecting process
    • H01L2224/45Structure, shape, material or disposition of the wire connectors prior to the connecting process of an individual wire connector
    • H01L2224/45001Core members of the connector
    • H01L2224/4501Shape
    • H01L2224/45012Cross-sectional shape
    • H01L2224/45015Cross-sectional shape being circular
    • HELECTRICITY
    • H01ELECTRIC ELEMENTS
    • H01LSEMICONDUCTOR DEVICES NOT COVERED BY CLASS H10
    • H01L2224/00Indexing scheme for arrangements for connecting or disconnecting semiconductor or solid-state bodies and methods related thereto as covered by H01L24/00
    • H01L2224/01Means for bonding being attached to, or being formed on, the surface to be connected, e.g. chip-to-package, die-attach, "first-level" interconnects; Manufacturing methods related thereto
    • H01L2224/42Wire connectors; Manufacturing methods related thereto
    • H01L2224/47Structure, shape, material or disposition of the wire connectors after the connecting process
    • H01L2224/48Structure, shape, material or disposition of the wire connectors after the connecting process of an individual wire connector
    • H01L2224/481Disposition
    • H01L2224/4813Connecting within a semiconductor or solid-state body, i.e. fly wire, bridge wire
    • HELECTRICITY
    • H01ELECTRIC ELEMENTS
    • H01LSEMICONDUCTOR DEVICES NOT COVERED BY CLASS H10
    • H01L2224/00Indexing scheme for arrangements for connecting or disconnecting semiconductor or solid-state bodies and methods related thereto as covered by H01L24/00
    • H01L2224/01Means for bonding being attached to, or being formed on, the surface to be connected, e.g. chip-to-package, die-attach, "first-level" interconnects; Manufacturing methods related thereto
    • H01L2224/42Wire connectors; Manufacturing methods related thereto
    • H01L2224/47Structure, shape, material or disposition of the wire connectors after the connecting process
    • H01L2224/48Structure, shape, material or disposition of the wire connectors after the connecting process of an individual wire connector
    • H01L2224/481Disposition
    • H01L2224/48135Connecting between different semiconductor or solid-state bodies, i.e. chip-to-chip
    • H01L2224/48137Connecting between different semiconductor or solid-state bodies, i.e. chip-to-chip the bodies being arranged next to each other, e.g. on a common substrate
    • H01L2224/48139Connecting between different semiconductor or solid-state bodies, i.e. chip-to-chip the bodies being arranged next to each other, e.g. on a common substrate with an intermediate bond, e.g. continuous wire daisy chain
    • HELECTRICITY
    • H01ELECTRIC ELEMENTS
    • H01LSEMICONDUCTOR DEVICES NOT COVERED BY CLASS H10
    • H01L2224/00Indexing scheme for arrangements for connecting or disconnecting semiconductor or solid-state bodies and methods related thereto as covered by H01L24/00
    • H01L2224/01Means for bonding being attached to, or being formed on, the surface to be connected, e.g. chip-to-package, die-attach, "first-level" interconnects; Manufacturing methods related thereto
    • H01L2224/42Wire connectors; Manufacturing methods related thereto
    • H01L2224/47Structure, shape, material or disposition of the wire connectors after the connecting process
    • H01L2224/49Structure, shape, material or disposition of the wire connectors after the connecting process of a plurality of wire connectors
    • H01L2224/491Disposition
    • H01L2224/4911Disposition the connectors being bonded to at least one common bonding area, e.g. daisy chain
    • H01L2224/49113Disposition the connectors being bonded to at least one common bonding area, e.g. daisy chain the connectors connecting different bonding areas on the semiconductor or solid-state body to a common bonding area outside the body, e.g. converging wires
    • HELECTRICITY
    • H01ELECTRIC ELEMENTS
    • H01LSEMICONDUCTOR DEVICES NOT COVERED BY CLASS H10
    • H01L2224/00Indexing scheme for arrangements for connecting or disconnecting semiconductor or solid-state bodies and methods related thereto as covered by H01L24/00
    • H01L2224/80Methods for connecting semiconductor or other solid state bodies using means for bonding being attached to, or being formed on, the surface to be connected
    • H01L2224/85Methods for connecting semiconductor or other solid state bodies using means for bonding being attached to, or being formed on, the surface to be connected using a wire connector
    • H01L2224/8538Bonding interfaces outside the semiconductor or solid-state body
    • H01L2224/85399Material
    • HELECTRICITY
    • H01ELECTRIC ELEMENTS
    • H01LSEMICONDUCTOR DEVICES NOT COVERED BY CLASS H10
    • H01L2224/00Indexing scheme for arrangements for connecting or disconnecting semiconductor or solid-state bodies and methods related thereto as covered by H01L24/00
    • H01L2224/80Methods for connecting semiconductor or other solid state bodies using means for bonding being attached to, or being formed on, the surface to be connected
    • H01L2224/85Methods for connecting semiconductor or other solid state bodies using means for bonding being attached to, or being formed on, the surface to be connected using a wire connector
    • H01L2224/858Bonding techniques
    • H01L2224/85801Soldering or alloying
    • HELECTRICITY
    • H01ELECTRIC ELEMENTS
    • H01LSEMICONDUCTOR DEVICES NOT COVERED BY CLASS H10
    • H01L24/00Arrangements for connecting or disconnecting semiconductor or solid-state bodies; Methods or apparatus related thereto
    • H01L24/01Means for bonding being attached to, or being formed on, the surface to be connected, e.g. chip-to-package, die-attach, "first-level" interconnects; Manufacturing methods related thereto
    • H01L24/42Wire connectors; Manufacturing methods related thereto
    • H01L24/47Structure, shape, material or disposition of the wire connectors after the connecting process
    • H01L24/48Structure, shape, material or disposition of the wire connectors after the connecting process of an individual wire connector
    • HELECTRICITY
    • H01ELECTRIC ELEMENTS
    • H01LSEMICONDUCTOR DEVICES NOT COVERED BY CLASS H10
    • H01L2924/00Indexing scheme for arrangements or methods for connecting or disconnecting semiconductor or solid-state bodies as covered by H01L24/00
    • H01L2924/0001Technical content checked by a classifier
    • H01L2924/00014Technical content checked by a classifier the subject-matter covered by the group, the symbol of which is combined with the symbol of this group, being disclosed without further technical details
    • HELECTRICITY
    • H01ELECTRIC ELEMENTS
    • H01LSEMICONDUCTOR DEVICES NOT COVERED BY CLASS H10
    • H01L2924/00Indexing scheme for arrangements or methods for connecting or disconnecting semiconductor or solid-state bodies as covered by H01L24/00
    • H01L2924/10Details of semiconductor or other solid state devices to be connected
    • H01L2924/11Device type
    • H01L2924/13Discrete devices, e.g. 3 terminal devices
    • H01L2924/1304Transistor
    • H01L2924/1305Bipolar Junction Transistor [BJT]
    • H01L2924/13055Insulated gate bipolar transistor [IGBT]
    • HELECTRICITY
    • H01ELECTRIC ELEMENTS
    • H01LSEMICONDUCTOR DEVICES NOT COVERED BY CLASS H10
    • H01L2924/00Indexing scheme for arrangements or methods for connecting or disconnecting semiconductor or solid-state bodies as covered by H01L24/00
    • H01L2924/10Details of semiconductor or other solid state devices to be connected
    • H01L2924/11Device type
    • H01L2924/13Discrete devices, e.g. 3 terminal devices
    • H01L2924/1304Transistor
    • H01L2924/1306Field-effect transistor [FET]
    • H01L2924/13091Metal-Oxide-Semiconductor Field-Effect Transistor [MOSFET]

Landscapes

  • Engineering & Computer Science (AREA)
  • Manufacturing & Machinery (AREA)
  • Computer Hardware Design (AREA)
  • Microelectronics & Electronic Packaging (AREA)
  • Power Engineering (AREA)
  • Physics & Mathematics (AREA)
  • General Physics & Mathematics (AREA)
  • Testing Or Measuring Of Semiconductors Or The Like (AREA)
  • Electrodes Of Semiconductors (AREA)
  • Internal Circuitry In Semiconductor Integrated Circuit Devices (AREA)

Description

この発明は、半導体装置の製造方法、半導体装置の評価方法および半導体装置に関する。
従来、IGBT(Insulated Gate Bipolar Transistor:絶縁ゲート型バイポーラトランジスタ)や、MOSFET(Metal Oxide Semiconductor Field Effect Transistor:絶縁ゲート型電界効果トランジスタ)などの半導体装置として、トレンチ内にMOSゲート(金属−酸化膜−半導体からなる絶縁ゲート)構造を有するトレンチゲート型が公知である。トレンチゲート型半導体装置には、トレンチ内に形成したMOSゲート構造によりトレンチ側壁をチャネル領域(反転層)とするトレンチMOSセルが半導体基板上に所定の間隔で多数設けられている。
半導体基板上に設けられたすべてのトレンチMOSセルは、通常、ゲート電位となっている。しかしながら、すべてのトレンチMOSセルが同時に動作した場合、飽和電流が流れ過ぎることで寄生のサイリスタがラッチアップしたり、実効的な寄生容量Qgが増大しスイッチング損失が増大するという問題がある。このため、トレンチMOSセルの数を減らして(間引いて)隣り合うトレンチMOSセル間の間隔を広げることで、トレンチMOSセルを高密度に設けない構成の装置が提案されている。しかしながら、トレンチMOSセルを間引いた場合、トレンチ底部での電界集中が大きくなったり、素子耐圧が低下するという問題がある。
この問題を解消させた装置として、ゲート電位のトレンチMOSセルの他に、トレンチ側壁にチャネル領域を形成しないトレンチMOSセル(以下、ダミートレンチMOSセルとする)を設け、このダミートレンチMOSセルを構成するダミーゲート電極をエミッタ電極に短絡(ショート)させた装置が提案されている。エミッタ電位のダミートレンチMOSセルを設けることで、トレンチMOSセルを間引かずに、ゲート電位のトレンチMOSセルの数を少なくすることができる。このため、実効的な寄生容量Qgが増大することを回避することができるとともに、トレンチ底部での電界集中を緩和させることができる。
トレンチゲート型半導体装置の製造プロセスにおいては、通常、ウエハプロセス後のウエハ検査時、トレンチ内のゲート電極とトレンチ間に挟まれた半導体部との間に電圧を印加することで、トレンチ側壁のゲート絶縁膜に所定の電圧を印加し、ゲート絶縁膜の信頼性を評価するスクリーニングを行う。しかし、ダミートレンチMOSセルを構成するダミーゲート電極はゲート電位以外の電位(例えばエミッタ電位)となっていることで、トレンチ間に挟まれた半導体部との間に電位差が生じない。このため、従来のスクリーニングでは、ダミートレンチMOSセルを構成するダミーゲート絶縁膜に電圧を印加することができず、ダミーゲート絶縁膜の信頼性を測定することができない。
ダミートレンチMOSセルを構成するダミーゲート絶縁膜の信頼性を評価するスクリーニング方法として、ダミートレンチMOSセルを構成するダミーゲート電極をダミーゲートパッドに接続し、ウエハプロセス後のウエハ検査時に、エミッタパッドとダミーゲートパッドとの間に直流電源を接続することでダミーゲート絶縁膜に電圧を印加する方法が提案されている(例えば、下記特許文献1参照。)。
また、別のスクリーニング方法として、次の方法が提案されている。セル領域の周囲に設けられた外周領域を、IGBT素子やダイオード素子の配線を引き回すための領域として利用している。この外周領域には、トレンチ間の活性領域が接続され、かつゲート電極やトレンチ電極と外部とを電気的に接続するためのパッドが複数設けられている。ゲート電極やトレンチ電極は各パッドにそれぞれ電気的に接続されている(例えば、下記特許文献2(第0034段落〜第0036段落)参照。)。
また、別のスクリーニング方法として、次の方法が提案されている。第1フロート配線を二層構造とし、下層部ではダミーゲート電極に繋がるドープトPoly−Siと電気的に接続された部分と、第1フロート層に電気的に接続される部分とが所定間隔離間した構造となるようにする。そして、上層部の形成に先立って、スクリーニング検査工程を行う(例えば、下記特許文献3参照。)。
上記特許文献1,2では、ダミーゲート電極を外部と電気的に接続する構成であり、例えばダミーゲート電極の電位を制御するためのドライバ回路などの外付け部品が必要となる。
また、所定の電極同士を接続する方法として、複数の導電パターンのうち一方の導電パターンと、一方の導電パターンから離間するとともに、一方の導電パターンを挟むように配置された複数の他方の導電パターンとを形成する工程と、少なくとも他方の導電パターンに挟まれた部分の一方の導電パターンを絶縁材料により被覆する工程と、複数の他方の導電パターン間を絶縁材料により被覆された箇所の上方で無電解めっきにより電気的に接続する工程と、を含む方法が提案されている(例えば、下記特許文献4参照。)。
また、所定の電極同士を接続する別の方法として、複数のデバイスの各々について、複数のデバイスの各々にそれぞれ関連して設けられ、かつ複数のデバイスの各々を電気的に隔離するように近接して離間する金属パッドにより構成される橋絡箇所を形成する工程と、複数のデバイスを個々に試験して、所定の動作パラメータに関してデバイスの各々の機能性を測定することにより、不良デバイスと合格デバイスを区別する工程と、不良デバイスの橋絡箇所を塗布流体で被覆して、半田の漏れを防止するようにする工程と、複数のデバイスの全体にわたって半田を適用して、近接して離間する金属パッド間を半田で橋絡することにより合格デバイスの橋絡箇所を電気的に相互接続し、不良デバイスを電気的に隔離した状態に隔離する工程と、を含む方法が提案されている(例えば、下記特許文献5参照。)。
特開2013−251466号公報 特開2011−243695号公報 特開2010−050211号公報 特開2006−186154号公報 特開平2−010855号公報
しかしながら、上記特許文献3では、活性領域およびランナー配線部において、フロート配線(金属配線)の下層部の、ダミーゲート電極に繋がるドープトPoly−Siと電気的に接続された部分と、第1フロート層に電気的に接続される部分とを所定間隔で離した構造とするには、金属配線の微細加工が必要となる。このため、プロセスのばらつきの悪影響を受けやすく、所定間隔で離して形成した金属配線同士が短絡する虞がある。したがって、スクリーニングによってダミーゲート絶縁膜の信頼性を評価することができず、市場投入後における製品の故障率(以下、市場故障率とする)が高くなるという問題がある。
この発明は、上述した従来技術による問題点を解消するため、トレンチ側壁にチャネル領域を形成しないダミートレンチMOSセルを備えたトレンチゲート型半導体装置において、市場故障率を低減させることができる半導体装置の製造方法、半導体装置の評価方法および半導体装置を提供することを目的とする。
上述した課題を解決し、本発明の目的を達成するため、この発明にかかる半導体装置の製造方法は、素子の深さ方向に延びるゲート電極を備えたトレンチゲート構造を複数備え、複数の前記トレンチゲート構造が、素子の制御に寄与する第1トレンチゲート構造と、素子の制御に寄与しない第2トレンチゲート構造とからなる半導体装置の製造方法であって、次の特徴を有する。まず、半導体基板のおもて面側に、複数の前記トレンチゲート構造を形成する第1工程を行う。次に、前記半導体基板のおもて面上に、複数の前記トレンチゲート構造のうち、1つ以上の前記第1トレンチゲート構造を構成する前記ゲート電極が接続されたゲート電極パッドと、複数の前記トレンチゲート構造のうち、1つ以上の前記第2トレンチゲート構造を構成する前記ゲート電極が接続されたスクリーニング電極パッドと、を形成する第2工程を行う。次に、ゲート電位以外の電位をもつ電極部と前記スクリーニング電極パッドとの間に第1所定電圧を印加して、前記スクリーニング電極パッドに接続された前記ゲート電極に接するゲート絶縁膜に前記第1所定電圧を印加するスクリーニングを行い、前記電極部と前記ゲート電極パッドとの間に第2所定電圧を印加して、前記ゲート電極パッドに接続された前記ゲート電極に接するゲート絶縁膜に前記第2所定電圧を印加するスクリーニングを行う第3工程を行う。次に、前記電極部と前記スクリーニング電極パッドとを電気的に接続させて、前記スクリーニング電極パッドに接続された前記ゲート電極を備えた前記第2トレンチゲート構造を形成する第4工程を行う。また、この発明にかかる半導体装置の製造方法は、上述した発明において、前記電極部は、前記半導体基板の、前記トレンチゲート構造のトレンチに沿った部分に電気的に接続されたエミッタ電極であることを特徴とする。また、この発明にかかる半導体装置の製造方法は、上述した発明において、前記エミッタ電極は、前記エミッタ電極と同電位のエミッタ電極パッドを有する。前記第4工程では、前記エミッタ電極パッドと前記スクリーニング電極パッドとの間をワイヤーボンディングによって接続することを特徴とする。また、この発明にかかる半導体装置の製造方法は、上述した発明において、前記第3工程の後、前記半導体基板のおもて面にめっき膜を形成するめっき工程さらに含むことを特徴とする。また、この発明にかかる半導体装置の製造方法は、上述した発明において、前記第3工程と前記第4工程の間に、前記半導体基板を個片化するダイシング工程と、個片化した前記半導体基板の裏面に半田付けを行う裏面半田付け工程と、を含む。前記裏面半田付け工程の後に、個片化した前記半導体基板のおもて面の前記エミッタ電極に電極端子を半田付けするおもて面半田付け工程を行うことを特徴とする。
また、上述した課題を解決し、本発明の目的を達成するため、この発明にかかる半導体装置の製造方法は、素子の深さ方向に延びるゲート電極を備えたトレンチゲート構造を複数備え、複数の前記トレンチゲート構造が、素子の制御に寄与する第1トレンチゲート構造と、素子の制御に寄与しない第2トレンチゲート構造とからなる半導体装置の製造方法であって、次の特徴を有する。まず、半導体基板のおもて面側に、複数の前記トレンチゲート構造を形成する第1工程を行う。次に、前記半導体基板のおもて面上に、複数の前記トレンチゲート構造のうち、1つ以上の前記第1トレンチゲート構造を構成する前記ゲート電極が接続されたゲート電極パッドと、複数の前記トレンチゲート構造のうち、1つ以上の前記第2トレンチゲート構造を構成する前記ゲート電極が接続されたスクリーニング電極パッドと、を形成する第2工程を行う。次に、ゲート電位以外の電位をもつ電極部と前記スクリーニング電極パッドとの間に所定電圧を印加して、前記スクリーニング電極パッドに接続された前記ゲート電極に接するゲート絶縁膜に前記所定電圧を印加するスクリーニングを行う第3工程を行う。次に、前記第3工程の後、前記半導体基板のおもて面にめっき膜を形成する第4工程を行う。次に、前記第4工程の後、前記電極部と前記スクリーニング電極パッドとを電気的に接続させて、前記スクリーニング電極パッドに接続された前記ゲート電極を備えた前記第2トレンチゲート構造を形成する第5工程を行う。前記第5工程では、前記電極部と同電位のエミッタ電極パッドと、前記スクリーニング電極パッドと、の間をワイヤーボンディングによって接続する。また、この発明にかかる半導体装置の製造方法は、上述した発明において、前記第4工程と前記第5工程の間に、前記半導体基板を個片化するダイシング工程と、個片化した前記半導体基板の裏面に半田付けを行う裏面半田付け工程と、を行う。前記裏面半田付け工程の後に、個片化した前記半導体基板のおもて面の前記電極部に電極端子を半田付けするおもて面半田付け工程を行うことを特徴とする。また、上述した課題を解決し、本発明の目的を達成するため、この発明にかかる半導体装置の製造方法は、素子の深さ方向に延びるゲート電極を備えたトレンチゲート構造を複数備え、複数の前記トレンチゲート構造が、素子の制御に寄与する第1トレンチゲート構造と、素子の制御に寄与しない第2トレンチゲート構造とからなる半導体装置の製造方法であって、次の特徴を有する。まず、半導体基板のおもて面側に、複数の前記トレンチゲート構造を形成する第1工程を行う。次に、前記半導体基板のおもて面上に、複数の前記トレンチゲート構造のすべての前記ゲート電極が同一の配線によってすべて続されたゲート電極パッドを形成する第2工程を行う次に、ゲート電位以外の電位をもつ電極部と前記ゲート電極パッドとの間に所定電圧を印加して、前記ゲート電極パッドに接続された前記ゲート電極に接するゲート絶縁膜に前記所定電圧を印加するスクリーニングを行う第3工程を行う。次に、前記配線から一部の前記ゲート電極を電気的に切り離し、前記切り離された前記ゲート電極を前記ゲート電極パッドとは異なるスクリーニング電極パッドに接続する第4工程を行う次に、前記電極部と、前記切り離された前記ゲート電極が接続された前記スクリーニング電極パッドとを短絡させて、前記切り離された前記ゲート電極を備えた前記第2トレンチゲート構造を形成する第5工程を行う
また、この発明にかかる半導体装置の製造方法は、上述した発明において、前記第工程では、まず、前記電極部、および前記第2トレンチゲート構造の前記ゲート電極が接続された前記スクリーニング電極パッドを覆うめっき膜を形成する。そして、前記電極部と、前記第2トレンチゲート構造の前記ゲート電極が接続された前記スクリーニング電極パッドとの間に広がった前記めっき膜を介して、前記電極部と、前記第2トレンチゲート構造の前記ゲート電極が接続された前記スクリーニング電極パッドとを接続することを特徴とする。
また、この発明にかかる半導体装置の製造方法は、上述した発明において、前記第工程では、まず、前記電極部の表面、および前記第2トレンチゲート構造の前記ゲート電極が接続された前記スクリーニング電極パッドの表面にめっき膜を形成する工程を行う。次に、前記めっき膜を介して前記電極部、および前記第2トレンチゲート構造の前記ゲート電極が接続された前記スクリーニング電極パッドに電極端子となる電極層を半田付けする工程を行う。そして、前記電極部と、前記第2トレンチゲート構造の前記ゲート電極が接続された前記スクリーニング電極パッドとの間に広がった半田層によって、前記電極部と、前記第2トレンチゲート構造の前記ゲート電極が接続された前記スクリーニング電極パッドとを接続することを特徴とする。
また、この発明にかかる半導体装置の製造方法は、上述した発明において、前記第工程では、前記電極部と前記第1トレンチゲート構造の前記ゲート電極とにそれぞれワイヤーボンディングによる配線処理を行うとともに、ワイヤーボンディングにより前記電極部と、前記第2トレンチゲート構造の前記ゲート電極が接続された前記スクリーニング電極パッドとを接続することを特徴とする。
また、この発明にかかる半導体装置の製造方法は、上述した発明において、前記第工程後、前記第工程前に、前記電極部と前記第1トレンチゲート構造の前記ゲート電極とにそれぞれワイヤーボンディングによる配線処理を行う。そして、前記第工程では、前記第2トレンチゲート構造の前記ゲート電極が接続された前記スクリーニング電極パッドを外部回路に設けられた前記電極部に接続することを特徴とする。
また、この発明にかかる半導体装置の製造方法は、上述した発明において、前記電極部は、前記半導体基板の、前記トレンチゲート構造のトレンチに沿った部分に電気的に接続されたエミッタ電極であることを特徴とする。また、上述した課題を解決し、本発明の目的を達成するため、この発明にかかる半導体装置は、半導体基板のおもて面側に、素子の深さ方向に伸びるゲート電極を備えた複数のトレンチゲート構造を備えた半導体装置であって、次の特徴を有する。複数の前記トレンチゲート構造のうち、第1トレンチゲート構造は、素子の制御に寄与する。複数の前記トレンチゲート構造のうち、前記第1トレンチゲート構造以外の第2トレンチゲート構造は、素子の制御に寄与しない。前記半導体基板のおもて面上に、ゲート電位以外の電位をもつ電極部が設けられている。前記半導体基板のおもて面上に、前記電極部と短絡され、かつ前記第2トレンチゲート構造の前記ゲート電極を接続されたスクリーニング電極パッドが設けられている。めっき膜は、前記電極部および前記スクリーニング電極パッドを覆う。対向する前記電極部と前記スクリーニング電極パッドとの間の距離は、前記めっき膜の厚さの2倍以下である。また、この発明にかかる半導体装置は、上述した発明において、前記スクリーニング電極パッドは、周囲2辺以上が前記電極部に対向する矩形状の平面形状を有することを特徴とする。また、この発明にかかる半導体装置は、上述した発明において、前記めっき膜の厚さは、0.5μm以上10μm以下であることを特徴とする。
また、上述した課題を解決し、本発明の目的を達成するため、この発明にかかる半導体装置の評価方法は、素子の深さ方向に延びるゲート電極を備えたトレンチゲート構造を複数備え、複数の前記トレンチゲート構造が、素子の制御に寄与する第1トレンチゲート構造と、素子の制御に寄与しない第2トレンチゲート構造とからなる半導体装置の評価方法であって、次の特徴を有する。半導体基板のおもて面側に形成された複数の前記トレンチゲート構造のすべての前記トレンチゲート構造の前記ゲート電極が接続されたゲート電極パッドをゲート電位以外の電位をもつ電極部に短絡させて、スクリーニング電極パッドに接続された前記ゲート電極を備えた前記第2トレンチゲート構造を形成する前に、前記電極部と前記ゲート電極パッドとの間に所定電圧を印加して、前記電極パッドに接続された前記ゲート電極に接するゲート絶縁膜に前記所定電圧を印加するスクリーニングを行う。
上述した発明によれば、ゲート電位以外の電位(例えばエミッタ電位)の第2トレンチゲート構造を備えたMOS型半導体装置において、第2トレンチゲート構造のゲート絶縁膜に対するスクリーニングを行うまでは電極部と第2トレンチゲート構造のゲート電極とを電気的に切り離した状態にすることで、製造プロセス中に電極部と第2トレンチゲート構造のゲート電極との間に所定の電圧を印加して、第2トレンチゲート構造のゲート絶縁膜に対するスクリーニングを行うことができる。これにより、半導体ウエハのダイシング後に、第2トレンチゲート構造のゲート絶縁膜が不良となる半導体チップを取り除くことができる。また、上述した発明によれば、第2トレンチゲート構造のゲート絶縁膜に対するスクリーニング後に、半導体装置を作製(製造)するための諸工程(例えばめっき処理工程や組立工程)において電極部と第2トレンチゲート構造のゲート電極とを短絡させるため、製造プロセス中に第2トレンチゲート構造のゲート絶縁膜に対するスクリーニングを行ったとしても、製品プロセス終了時には、電極部と第2トレンチゲート構造のゲート電極とを短絡させた状態で製品を完成させることができる。
本発明にかかる半導体装置の製造方法、半導体装置の評価方法および半導体装置によれば、トレンチ側壁にチャネル領域を形成しないダミートレンチMOSセルを備えたトレンチゲート型半導体装置において、市場故障率を低減させることができるという効果を奏する。
実施の形態1にかかる半導体装置の製造方法により製造される半導体装置の一例を示す断面図である。 実施の形態1にかかる半導体装置の各電極パッドの平面レイアウトを示す平面図である。 図2のスクリーニングパッド付近を拡大して示す平面図である。 図2の切断線A−A’における断面構造を示す断面図である。 実施の形態1にかかる半導体装置の製造方法の概要を示すフローチャートである。 実施の形態2にかかる半導体装置の各電極パッドの平面レイアウトを示す平面図である。 実施の形態2にかかる半導体装置の各電極パッドの別の一例の平面レイアウトを示す平面図である。 図6のスクリーニングパッド付近を拡大して示す平面図である。 実施の形態3にかかる半導体装置の製造方法の概要を示すフローチャートである。 実施の形態3にかかる半導体装置の各電極パッドの平面レイアウトを示す平面図である。 実施の形態4にかかる半導体装置の製造方法の概要を示すフローチャートである。 実施の形態4にかかる半導体装置の各電極パッドの平面レイアウトを示す平面図である。 図12の切断線B−B’における断面構造を示す断面図である。 実施の形態3にかかる半導体装置の各電極パッドの別の一例の平面レイアウトを示す平面図である。 実施の形態3にかかる半導体装置の各電極パッドの別の一例の平面レイアウトを示す平面図である。 実施の形態3にかかる半導体装置の各電極パッドの別の一例の平面レイアウトを示す平面図である。
以下に添付図面を参照して、この発明にかかる半導体装置の製造方法、半導体装置の評価方法および半導体装置の好適な実施の形態を詳細に説明する。本明細書および添付図面においては、nまたはpを冠記した層や領域では、それぞれ電子または正孔が多数キャリアであることを意味する。また、nやpに付す+および−は、それぞれそれが付されていない層や領域よりも高不純物濃度および低不純物濃度であることを意味する。なお、以下の実施の形態の説明および添付図面において、同様の構成には同一の符号を付し、重複する説明を省略する。
(実施の形態1)
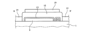
まず、実施の形態1にかかる半導体装置の製造方法により作製(製造)される半導体装置の一例としてトレンチゲート型IGBTの構造について説明する。図1は、実施の形態1にかかる半導体装置の製造方法により製造される半導体装置の一例を示す断面図である。図1(a)には、製造途中のスクリーニング時の状態を模式的に示す。図1(b)には、組立後の状態を模式的に示す。図1に示すように、実施の形態1にかかる半導体装置は、n-型ドリフト層となるn-型半導体基板(半導体チップ)1上に、トレンチ6側壁をチャネル領域(反転層)とするトレンチMOSセル(第1トレンチゲート構造)と、トレンチ(以下、ダミートレンチとする)16側壁にチャネル領域を形成しないトレンチMOSセル(以下、ダミートレンチMOSセル(第2トレンチゲート構造)とする)と、を備える。
具体的には、オン状態のときに電流が流れる活性領域において、n-型半導体基板1のおもて面の表面層には、p型ベース層2が設けられている。p型ベース層2は、基板おもて面から深さ方向にp型ベース層2を貫通してn-型ドリフト層に達する複数のトレンチによって複数の領域(以下、第1,2ベース領域とする)3,4に分割されている。複数のトレンチは、例えば基板おもて面に平行な方向に延びるストライプ状の平面パターンで配置されている。複数のトレンチは、トレンチMOSセルが形成され1つ以上のトレンチ6と、ダミートレンチMOSセルが形成された残りのダミートレンチ16と、からなる。
トレンチMOSセルは、素子の深さ方向に延びるゲート電極8を備えたトレンチゲート型のMOSゲート構造をなす。具体的には、トレンチMOSセルは、第1ベース領域3、n+型エミッタ領域5、トレンチ6、ゲート絶縁膜7およびゲート電極8からなる。第1ベース領域3は、p型ベース層2の、隣り合うトレンチ6とダミートレンチ16との間、および、隣り合うトレンチ6間に挟まれた部分である。n+型エミッタ領域5は、第1ベース領域3の内部には、トレンチ6の側壁に露出されるように選択的に設けられている。トレンチ6の内部には、トレンチ6の側壁に沿ってゲート絶縁膜7が設けられ、ゲート絶縁膜7の内側にゲート電極8が設けられている。すべてのゲート電極8は、例えば活性領域を囲むように基板おもて面上に設けられた一般的なゲートランナー(不図示)を介してゲートパッドGに電気的に接続されている。ゲート電極8と後述するダミーゲートランナーとは、例えばゲート電極8を覆う層間絶縁膜10によって電気的に絶縁されている。
一方、ダミートレンチMOSセルは、素子の深さ方向に延びるダミーゲート電極18を備えた、素子の制御に寄与しないトレンチゲート型のMOSゲート構造をなす。具体的には、ダミートレンチMOSセルは、第2ベース領域4、ダミートレンチ16、ダミーゲート絶縁膜17およびダミーゲート電極18からなる。第2ベース領域4は、p型ベース層2の、隣り合うダミートレンチ16間に挟まれた部分である。第2ベース領域4の内部には、n+型エミッタ領域5は設けられていない。ダミートレンチ16の内部には、ダミートレンチ16の側壁に沿ってダミーゲート絶縁膜17が設けられ、ダミーゲート絶縁膜17の内側にダミーゲート電極18が設けられている。
ダミーゲート電極18は、ダミーゲート絶縁膜17および層間絶縁膜10によってゲート電極8と電気的に絶縁されている。また、すべてのダミーゲート電極18は、例えばゲートランナーの内側または外側にゲートランナーと同様の構成で配置されたダミーゲートランナー(不図示)を介してスクリーニング用に設けられた電極パッド(以下、スクリーニングパッドとする)DGに電気的に接続される。ダミーゲート電極18とゲートランナーとは、例えばダミーゲート電極18を覆う層間絶縁膜10によって電気的に絶縁されている。また、製品完成時、ダミーゲート電極18は、スクリーニングパッドDGを介して、ゲート電位以外の電位をもつ電極部(例えば外部回路(不図示)や後述するエミッタ電極9)に短絡される。ここでは、エミッタ電極9とダミーゲート電極18とが短絡される場合を例に説明する。スクリーニングパッドDGの大きさは、種々変更可能であるが、可能な限り小さいサイズとすることで素子動作に関与しない無効領域を低減させることができる。
エミッタ電極9は、層間絶縁膜10を深さ方向に貫通するコンタクトホールを介して第1,2ベース領域3,4およびn+型エミッタ領域5に接するとともに、層間絶縁膜10によってゲート電極8と電気的に絶縁されている。また、ゲート絶縁膜7およびダミーゲート絶縁膜17の耐圧を測定するためのスクリーニング時には、エミッタ電極9は、ダミーゲート電極18と電気的に絶縁されている(図1(a))。一方、スクリーニング後、組立後の製品完成までの間に、エミッタ電極9は、金属部材(後述するめっき膜13)によってスクリーニングパッドDGに短絡されることで、上述したようにダミーゲート電極18に短絡されている(図1(b))。エミッタ電極9の厚さは、例えば0.5μm以上10μm以下であってもよい。
めっき膜13は、エミッタ電極9およびスクリーニングパッドDGを覆うように形成され、エミッタ電極9およびスクリーニングパッドDGを短絡する。めっき膜13の厚さは、例えば0.5μm以上10μm以下であってもよい。めっき膜13は、例えば電極端子となる銅(Cu)ブロック(不図示)をエミッタ電極9およびスクリーニングパッドDGに半田付けする際に、半田層(不図示)との密着性を高める機能を有する。n-型半導体基板1のおもて面には、活性領域を囲むエッジ終端構造部から活性領域側に延びて、エッジ終端構造部と、活性領域のエッジ終端構造部側の部分とを覆うポリイミド膜がおもて面保護膜(不図示)として設けられている。エッジ終端構造部は、n-型ドリフト層の基板おもて面側の電界を緩和し耐圧を保持する領域である。
-型半導体基板1の裏面の表面層には、p+型コレクタ層11が設けられている。また、n-型半導体基板1の裏面の表面層において、p+型コレクタ層11よりも深い位置に、n型フィールドストップ層(不図示)が設けられていてもよい。n型フィールドストップ層は、オフ時に基板おもて面側のpn接合(第1ベース領域3とn-型ドリフト層との間のpn接合)から伸びる空乏層がp+型コレクタ層11に達しないように抑制する機能を有する。コレクタ電極12は、p+型コレクタ層11に接する。
上述した実施の形態1にかかる半導体装置の製造途中において、ゲート絶縁膜7およびダミーゲート絶縁膜17の耐圧を測定するためのスクリーニング時には、上述したようにダミーゲート電極18とエミッタ電極9とは電気的に絶縁された状態となっている(図1(a))。すなわち、ダミーゲート電極18は、第1,2ベース領域3,4と電気的に絶縁された(切り離された)状態となっている。このため、ダミーゲート電極18と、例えばダミートレンチ16の側壁のダミーゲート絶縁膜17を介して対向する第2ベース領域4(当該ダミーゲート電極18がゲート電極8と隣り合う位置に配置されている場合には第1ベース領域3)との間に、所定の電圧を印加してダミーゲート絶縁膜17の耐圧を測定することで、ダミーゲート絶縁膜17の信頼性を評価するためのスクリーニングを行うことができる。
具体的には、ダミーゲート絶縁膜17の信頼性を評価するためのスクリーニングは、すべてのダミーゲート電極18が接続されたスクリーニングパッドDGと、第1,2ベース領域3,4に接続されたエミッタ電極9との間に所定の電圧を印加する。スクリーニング時にダミーゲート電極18とエミッタ電極9との間に印加する所定の電圧は、製品使用時にダミーゲート電極18に印加される電圧以上で、かつダミーゲート絶縁膜17の絶縁破壊耐圧未満であればよい。特に限定しないが、例えば、ダミーゲート絶縁膜17の厚さが1000Å程度である場合、その絶縁破壊耐圧は80V程度である。また、通常、製品使用時には、ダミーゲート絶縁膜17に15V程度の電圧が印加される。このため、スクリーニング時にダミーゲート電極18とエミッタ電極9との間に印加する所定の電圧は、例えば15V以上80V未満であってもよい。
このスクリーニングにおいては、例えばダミーゲート絶縁膜17の厚さが部分的に薄くなっているなどの要因により、経年劣化によってダミーゲート絶縁膜17が破壊に至る虞のある半導体チップを取り除くことができればよい。すなわち、経年劣化に耐え得ることができ故障しにくい半導体チップをスクリーニングによって判別することができればよい。例えば、ダミーゲート絶縁膜17が不良である場合、一般的なウエハ検査では不良となる半導体チップを検出することができず、経年劣化によって所定の絶縁破壊耐圧よりも低い電圧でダミーゲート絶縁膜17が破壊に至る虞がある。また、通常、ダミーゲート絶縁膜17の絶縁破壊耐圧は、通常、経年劣化に対する安全マージンを考慮し、製品使用時にダミーゲート絶縁膜17に実際に印加される虞のある電圧よりも十分に大きく設定される。このため、スクリーニング時にダミーゲート電極18とエミッタ電極9との間に印加する所定の電圧は、定格電圧(製品仕様で設定される上限値)よりも大きい電圧値であればよく、ダミーゲート絶縁膜17の絶縁破壊耐圧よりも低い値であってもよい。具体的には、スクリーニング時にダミーゲート電極18とエミッタ電極9との間に印加する所定の電圧は、例えば定格15Vである場合、20Vや30V程度であってもよいし、ダミーゲート絶縁膜17の絶縁破壊耐圧の80%(≒65V)以下程度であってもよい。
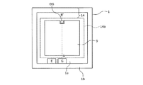
また、上述した実施の形態1にかかる半導体装置の完成時には、上述したようにエミッタ電極9とスクリーニングパッドDGとがめっき膜13によって短絡される。次に、エミッタ電極9とスクリーニングパッドDGとを短絡するための金属部材としてめっき膜13を用いた場合のスクリーニングパッドDGの配置について説明する。図2は、実施の形態1にかかる半導体装置の各電極パッドの平面レイアウトを示す平面図である。図3は、図2のスクリーニングパッド付近を拡大して示す平面図である。図4は、図2の切断線A−A’における断面構造を示す断面図である。図2ではめっき膜13を図示省略する(図6,7においても同様)。
図2〜4に示すように、エミッタ電極9は、例えば、活性領域1aの中央付近に配置される。エミッタパッドEは、主電流を流すエミッタ電極9と同電位の補助的なパッドである。エミッタパッドEやゲートパッドGなどの一般的な電極パッドは、おもて面保護膜14の内終端14aよりも外側(例えば、活性領域1aの、エッジ終端領域1bとの境界付近)に配置される。なお、ゲートパッドG、エミッタパッドE等は、ワイヤ等がボンディングされる予定の箇所に、図示しないおもて面保護膜14の開口部が形成されている。スクリーニングパッドDGは、所定の間隔wでエミッタ電極9と離して、例えばエミッタ電極9の外周付近に配置される。すなわち、略矩形状のスクリーニングパッドDGの周囲1辺がエミッタ電極9に対向する。
スクリーニングパッドDGは、エミッタ電極9と短絡させることができる位置に配置されていればよく、活性領域に配置されていてもよいし、エッジ終端領域に配置されていてもよい。また、スクリーニングパッドDGは、おもて面保護膜14の内終端(内側の端部)14aよりも内側(チップ中央部側)に配置されるのがよい。スクリーニングパッドDGをおもて面保護膜14の内終端14aよりも内側に配置するのが好ましい理由は、次の通りである。エミッタ電極9およびスクリーニングパッドDG上には、めっき膜13が形成される。めっき膜13は、その濡れ性に基づく広がり方で、基板中央部側からおもて面保護膜14の内終端14aまでの全体に基板おもて面上を広がる(以下、濡れ広がるとする)。このため、おもて面保護膜14の内終端14aよりも内側にスクリーニングパッドDGを配置することで、エミッタ電極9とスクリーニングパッドDGとの間をめっき膜13で確実に埋め込むことができるからである。
すなわち、エミッタ電極9とスクリーニングパッドDGとの間隔wは、エミッタ電極9およびスクリーニングパッドDG上から濡れ広がっためっき膜13を介して、エミッタ電極9とスクリーニングパッドDGとが短絡される程度の寸法となっている。具体的には、めっき膜13は、自身の厚さ(エミッタ電極9およびスクリーニングパッドDG上の部分の厚さ)tと同程度の幅で、エミッタ電極9側からスクリーニングパッドDG側へ、かつスクリーニングパッドDG側からエミッタ電極9側へ広がる。このため、エミッタ電極9とスクリーニングパッドDGとの間隔wは、めっき膜13の厚さtの2倍以下であればよい(w≦2t)。より具体的には、例えば、めっき膜13の厚さtを5μm程度とし、エミッタ電極9とスクリーニングパッドDGとの間隔wを10μm以下程度としてもよい。
次に、実施の形態1にかかる半導体装置の製造方法について詳細に説明する。図5は、実施の形態1にかかる半導体装置の製造方法の概要を示すフローチャートである。まず、一般的な方法により、n-型ドリフト層となるn-型半導体ウエハのおもて面側に、トレンチ側壁をチャネル領域とするトレンチMOSセルと、トレンチ側壁にチャネル領域を形成しないダミートレンチMOSセルとを形成する。具体的には、活性領域1aにおいて、n-型半導体ウエハおもて面の表面層に、MOSゲート構造を構成する半導体部(p型ベース層2およびn+型エミッタ領域5)を形成する(ステップS1)。
次に、ウエハおもて面から深さ方向にp型ベース層2およびn+型エミッタ領域5を貫通してn-型ドリフト層に達するトレンチ6を形成するとともに、ウエハおもて面から深さ方向にp型ベース層2を貫通してn-型ドリフト層に達するダミートレンチ16を形成する(ステップS2)。ステップS2においては、トレンチ6およびダミートレンチ16によってp型ベース層2が複数の領域(第1,2ベース領域3,4)に分割される。次に、トレンチ6の内部に、トレンチ6の内壁に沿ってゲート絶縁膜7を形成するとともに、ダミートレンチ16の内部に、ダミートレンチ16の内壁に沿ってダミーゲート絶縁膜17を形成する(ステップS3)。
次に、トレンチ6およびダミートレンチ16の内部に埋め込むように、n-型半導体ウエハのおもて面上にポリシリコン(poly−Si)層を形成する。そして、ポリシリコン層をエッチバックし、トレンチ6およびダミートレンチ16の内部にそれぞれゲート電極8およびダミーゲート電極18となるポリシリコン層を残す(ステップS4)。次に、ウエハおもて面を覆うように層間絶縁膜10を形成する(ステップS5)。次に、層間絶縁膜10を選択的に除去してコンタクトホールを形成し、コンタクトホールの内部に第1,2ベース領域3,4およびn+型エミッタ領域5を露出させる。
次に、コンタクトホールに埋め込むようにウエハおもて面全面に形成した例えばアルミニウム(Al)電極(おもて面電極)をパターニングし、エミッタ電極9、スクリーニングパッドDGおよび各電極パッドを形成する(ステップS6)。次に、ウエハおもて面をおもて面保護膜14で覆った後(ステップS7)、おもて面保護膜14をパターニングしてエミッタ電極9、スクリーニングパッドDGおよび各電極パッドを露出させる。このとき、おもて面保護膜14の内終端14aよりも内側に、エミッタ電極9およびスクリーニングパッドDGを露出させる。また、ステップS7の工程までのいずれかのタイミングで、各ゲート電極8とゲートパッドGとをゲートランナーを介して接続し、各ダミーゲート電極18とスクリーニングパッドDGとをダミーゲートランナーを介して接続する。
次に、ゲート絶縁膜7およびダミーゲート絶縁膜17の信頼性を評価するためのスクリーニングを行う(ステップS8)。具体的には、ダミーゲート絶縁膜17の信頼性を評価するためのスクリーニングは、上述したようにエミッタ電極9とダミーゲート電極18との間に所定の電圧を印加して、ダミーゲート絶縁膜17の耐圧を測定すればよい。すなわち、エミッタ電極9とスクリーニングパッドDGとの間に所定の電圧を印加する。ゲート絶縁膜7の信頼性を評価するためのスクリーニングは、エミッタ電極9とゲート電極8との間に所定の電圧を印加して、ゲート絶縁膜7の耐圧を測定すればよい。すなわち、エミッタ電極9とゲートパッドGとの間に、例えばダミーゲート絶縁膜17に対するスクリーニングと同じ電圧を印加する。個々の半導体チップのスクリーニング結果は、例えば、半導体ウエハの固有認識番号、および、各半導体ウエハの個々のチップの位置をアドレス化したサイト情報に基づいて、電子情報としてスクリーニングのための評価装置の記憶部または外部の記憶部に記憶させる。
次に、n-型半導体ウエハの裏面側の半導体部(p+型コレクタ層11やn型フィールドストップ層)を形成した後、裏面電極としてp+型コレクタ層11に接するコレクタ電極12を形成する(ステップS9)。次に、エミッタ電極9およびスクリーニングパッドDG上にめっき膜13を形成する。このとき、めっき膜13の濡れ広がりを利用して、エミッタ電極9とスクリーニングパッドDGとを短絡(ショート)させる。すなわち、エミッタ電極9とダミーゲート電極18とを短絡させる(ステップS10)。
次に、スクリーニングを除く一般的なウエハ検査を行う(ステップS11)。ステップS11においては、ウエハ検査として、例えば電気を流すことで、正常に動作するか否かを評価するWAT(Wafer Acceptance Test)などを行う。具体的には、ウエハ検査において、しきい値電圧、漏れ電流の有無、オン電圧などを評価する。また、ステップS11においては、ウエハ検査後に、ステップS8のスクリーニングにおいて記憶部に記憶した電子情報、および、ウエハ検査結果に基づいて、良品と判断された半導体チップと、不良と判断された半導体チップとが判別可能なようにマーキングを行う。具体的には、例えば、不良と判断されたすべての半導体チップに模様や文字、バーコードなどの所定マークをマーキング(付加)する。
このように、半導体チップへのマーキングは、めっき膜13を形成した後に行う。これにより、めっき膜13を形成するために用いるめっき液に、半導体チップへのマーキングによる悪影響が及ぶことを回避することができる。また、スクリーニング後、めっき膜13を形成するためのめっき処理を経て、個々のチップにダイシングするまでの間、スクリーニング結果を確実に維持することができるため、めっき膜13を形成した後においても半導体チップに付加した所定マークを正確に認識することができる。ここでは、ステップS8のスクリーニング結果を電子情報として記憶する場合を例に説明しているが、めっき膜13を形成した後に、半導体チップへのマーキングを行うことができればよく、他の方法を用いてもよい。
次に、半導体ウエハを個々のチップ状にダイシング(切断)する(ステップS12)。このとき、ステップS8のスクリーニングおよびステップS11のウエハ検査において不良と判断された半導体チップを取り除く。具体的には、例えば、半導体ウエハのダイシング後、不良と判断され所定マークが付加された半導体チップをステージ(ダイシング時に半導体ウエハを載置したステージ)上にそのまま残し、良品と判断された半導体チップ(すなわち所定マークが付加されていない半導体チップ)のみをピックアップして(取り出して)次の組立工程へと搬送する。
次に、半導体チップをパッケージに実装するための一般的な組立工程を行う。具体的には、例えばDCB(Direct Copper Bonding)基板などの絶縁基板(不図示)に、半導体チップの裏面を半田付け(マウント)する(ステップS13)。上述したように良品と判断された半導体チップのみをピックアップするため、DCB基板上に不良と判断された半導体チップが搭載されることはない。このため、後述する配線工程において、不良と判断された半導体チップを除いて配線処理を行う必要がなく、工程を簡略化することができる。その後、ワイヤーボンディングや、電極端子となる銅ブロック(不図示)へのチップおもて面の半田付け(ワイヤレスボンディング)により、エミッタ電極9とエミッタパッドEとを接続し、かつエミッタパッドEおよびゲートパッドGをそれぞれ所定の電極リード(不図示)に接続する配線工程を行うことで(ステップS14)、図1(b)に示すトレンチゲート型IGBTが完成する。
以上、説明したように、実施の形態1によれば、ゲート電位以外の電位(例えばエミッタ電位)のダミートレンチMOSセルを備えたMOS型半導体装置において、第2トレンチゲート構造のゲート絶縁膜に対するスクリーニングを行うまではエミッタ電極とダミーゲート電極とを電気的に切り離した状態にすることで、製造プロセス中にエミッタ電極とダミーゲート電極との間に所定の電圧を印加して、ダミーゲート絶縁膜に対するスクリーニングを行うことができる。これにより、半導体ウエハのダイシング後に、ダミーゲート絶縁膜の厚さが部分的に薄いなどによって不良となる半導体チップを取り除くことができる。また、実施の形態によれば、ダミーゲート絶縁膜に対するスクリーニング後に、IGBTを作製するための諸工程(具体的にはおもて面電極上に行うめっき処理工程)においてエミッタ電極とダミーゲート電極とを短絡させるため、製造プロセス中にダミーゲート絶縁膜に対するスクリーニングを行ったとしても、製品プロセス終了時には、エミッタ電極とトレンチゲート構造のダミーゲート電極とを短絡させた状態で製品を完成させることができる。したがって、トレンチ側壁にチャネル領域を形成しないダミートレンチMOSセルを備え、かつ市場故障率の低いトレンチゲート型半導体装置を提供することができる。
(実施の形態2)
次に、実施の形態2にかかる半導体装置の製造方法によって作製される半導体装置の構造について説明する。図6は、実施の形態2にかかる半導体装置の各電極パッドの平面レイアウトを示す平面図である。図6の切断線A−A’における断面構造は、実施の形態1(図4)と同様である。図7は、実施の形態2にかかる半導体装置の各電極パッドの別の一例の平面レイアウトを示す平面図である。図8は、図6のスクリーニングパッド付近を拡大して示す平面図である。実施の形態2にかかる半導体装置の製造方法によって作製される半導体装置が実施の形態1にかかる半導体装置の製造方法によって作製される半導体装置と異なる点は、スクリーニングパッドDGの周囲2辺以上がエミッタ電極9に対向する点である。
具体的には、図6に示すように、スクリーニングパッドDGは、例えばエミッタ電極9の外周部に、その周囲3辺がエミッタ電極9に対向するように配置されている。また、図7の別の一例に示すように、スクリーニングパッドDGは、エミッタ電極9の中央部に配置され、その周囲4辺がエミッタ電極9に対向していてもよい。図8に示すように、スクリーニングパッドDGとエミッタ電極9との間隔wは、例えば、スクリーニングパッドDGの、エミッタ電極9に対向する3辺すべて(図示省略するが図7の別の一例の場合には、エミッタ電極9に対向する4辺すべて)において同じ寸法であってもよい。
以上、説明したように、実施の形態2によれば、実施の形態1と同様の効果を得ることができる。
(実施の形態3)
次に、実施の形態3にかかる半導体装置の製造方法について説明する。図9は、実施の形態3にかかる半導体装置の製造方法の概要を示すフローチャートである。図10は、実施の形態3にかかる半導体装置の各電極パッドの平面レイアウトを示す平面図である。実施の形態3にかかる半導体装置の製造方法が実施の形態1にかかる半導体装置の製造方法と異なる点は、次の2点である。1つ目の相違点は、ゲート絶縁膜7およびダミーゲート絶縁膜17に対するスクリーニングをウエハ検査時に行う点である。2つ目の相違点は、組立工程におけるワイヤーボンディングにより、エミッタ電極9とスクリーニングパッドDGとを短絡させる点である。
具体的には、まず、MOSゲート構造を構成する半導体部を形成する工程から、おもて面保護膜14を形成する工程までを順に行った後(ステップS21〜S27)、n-型半導体ウエハの裏面側の半導体部を形成する工程、裏面電極を形成する工程(ステップS28)およびめっき処理工程(ステップS29)を順に行う。実施の形態3においては、例えばエミッタ電極9とスクリーニングパッドDGとの間隔wがめっき膜の濡れ広がりの幅よりも広いなどによって、ステップS29のめっき処理において、エミッタ電極9とスクリーニングパッドDGとは短絡されない。これら各工程における構成部の形成方法は、実施の形態1と同様である。
次に、ウエハ検査を行う(ステップS30)。このウエハ検査時に、ゲート絶縁膜7およびダミーゲート絶縁膜17に対するスクリーニングを行う。そして、ウエハ検査結果(スクリーニング結果を含む)に基づいて、実施の形態1と同様に、良品と判断された半導体チップと、不良と判断された半導体チップとが判別可能なようにマーキングを行う。スクリーニング方法、その他のウエハ検査方法、良品・不良を判断するための半導体チップへのマーキング方法および半導体チップへのマーキングのタイミングは、実施の形態1と同様である。次に、実施の形態1と同様に、n-型半導体ウエハのダイシング工程およびチップ裏面の半田付け工程を順に行う(ステップS31,S32)。ステップS32のチップ裏面の半田付け工程においては、良品と判断された半導体チップのみをピックアップして、DCB基板などの絶縁基板に半導体チップの裏面を半田付けする。すなわち、ステップS30のウエハ検査(スクリーニングを含む)において不良と判断された半導体チップ(所定マークが付加された半導体チップ)が取り除かれる。次に、ワイヤーボンディングにより、エミッタ電極9とエミッタパッドEとを接続し、かつエミッタパッドEおよびゲートパッドGをそれぞれ所定の電極リード(不図示)に接続する。さらに、ワイヤーボンディングにより、エミッタ電極9とスクリーニングパッドDGとを接続することで(ステップS33)、図1(b)に示すトレンチゲート型IGBTが完成する。
すなわち、実施の形態3においては、エミッタ電極9とスクリーニングパッドDGとを短絡させる金属部材として、ボンディングワイヤー(不図示)を用いる。スクリーニングパッドDGは、他の電極パッドと同様に、おもて面保護膜14の内終端14aよりも外側に配置されていてもよい(図10)。また、実施の形態1のように、おもて面保護膜14の内終端14aよりも内側にスクリーニングパッドDGを配置した場合(図2)、ワイヤーボンディングによりスクリーニングパッドDGとエミッタパッドEとを短絡させてもよい。スクリーニングパッドDGの大きさ(表面積)は、例えば1辺の長さをワイヤ径以上(例えば30μm以上400μm以下程度)とした略矩形状の縦横比とするのが好ましい。
また、エミッタパッドEまたはスクリーニングパッドDG、もしくはその両方を、ワイヤーボンディングによりDCB基板などの絶縁基板上の配線層に接続することで、スクリーニングパッドDGとエミッタパッドEとを短絡させてもよい。具体的には、例えば半導体チップの温度を測定するために用いるダイオード(温度センスダイオード)を備えた半導体チップを例に説明する。図14〜16は、実施の形態3にかかる半導体装置の各電極パッドの別の一例の平面レイアウトを示す平面図である。図14〜16の半導体チップの構成は、温度センスダイオード(不図示)を備える点、スクリーニングパッドDGとエミッタパッドEとを絶縁基板上の配線層に接続する点を除いて、図10に示す半導体チップと同様である。
図14に示すように、スクリーニングパッドDGとエミッタパッド(エミッタ電極9と同電位のパッド)Eとを隣接して配置し、スクリーニングパッドDGおよびエミッタパッドEをそれぞれ異なるボンディングワイヤー22,23によって絶縁基板(不図示)上の配線層(金属箔)からなる例えば金属端子(以下、単に配線層とする)21に接続してもよい。金属端子21は、例えばフローティング電位となっている。
また、図15に示すように、スクリーニングパッドDGとエミッタパッドEとを隣接して配置し、スクリーニングパッドDG、エミッタパッドEおよび配線層21の3箇所を1つのボンディングワイヤー24で接続(ステッチ)してもよい。この場合、例えば、1箇所目(スクリーニングパッドDGまたは配線層21)と、真ん中に配置された例えばエミッタパッドEとをボンディングワイヤー24によってボンディング(超音波接合)した後に、ボンディングワイヤー24を切断せずに、さらに続けて残りの3箇所目をボンディングワイヤーによってボンディングすればよい。この場合、モジュールを構成するボンディングワイヤーの本数を減らすことができる。
また、図16に示すように、エミッタ電極9の電流値が数A程度と比較的小さい電流値である場合、スクリーニングパッドDGとエミッタパッドEとを隣接して配置し、エミッタパッドEと配線層21とをボンディングワイヤー25によって接続するとともに、エミッタ電極9とスクリーニングパッドDGとをリードフレーム26によって接続してもよい。エミッタ電極9とエミッタパッドEとを接続するリードフレームは図示省略する。
スクリーニングパッドDGおよびエミッタパッドEは、例えば、他の電極パッドと同様に、おもて面保護膜14の内終端14aよりも外側に配置されている。図14〜16において他の電極パッドとは、温度センスカソードパッドK、温度センスアノードパッドA、ゲートパッドGおよび電流センスパッドSである。温度センスカソードパッドKは、温度センスダイオードのカソードと接続される。温度センスアノードパッドAは、温度センスダイオードのアノードと接続される。電流センスパッドSは、電源と負荷、またはグランドと負荷との間に配置された電流センス素子に接続される。
また、上述した実施の形態3にかかる半導体装置の製造方法おいて、ステップS30のウエハ検査時でなく、ステップS33のワイヤーボンディング後に、ゲート絶縁膜7およびダミーゲート絶縁膜17に対するスクリーニングを行ってもよい。この場合、スクリーニング後に、スクリーニングパッドDGを例えば外部回路(不図示)に短絡させてもよい。
以上、説明したように、実施の形態3によれば、組立工程までの間にダミーゲート絶縁膜に対するスクリーニングを行い、組立工程においてエミッタ電極と第2トレンチゲート構造のダミーゲート電極とを短絡させることで、実施の形態1,2と同様の効果を得ることができる。
(実施の形態4)
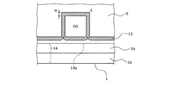
次に、実施の形態4にかかる半導体装置の製造方法について説明する。図11は、実施の形態4にかかる半導体装置の製造方法の概要を示すフローチャートである。図12は、実施の形態4にかかる半導体装置の各電極パッドの平面レイアウトを示す平面図である。図13は、図12の切断線B−B’における断面構造を示す断面図である。実施の形態4にかかる半導体装置の製造方法が実施の形態3にかかる半導体装置の製造方法と異なる点は、組立工程における銅ブロック19へのチップおもて面の半田付けにより、エミッタ電極9とスクリーニングパッドDGとを短絡させる点である。
具体的には、まず、実施の形態3と同様に、MOSゲート構造を構成する半導体部を形成する工程から、チップ裏面の半田付け工程までを順に行う(ステップS41〜S52)。すなわち、実施の形態4においても、実施の形態3と同様に、ステップS50のウエハ検査(スクリーニングを含む)において、良品・不良を判断するための半導体チップへのマーキングを行う。そして、ステップS52のチップ裏面の半田付け工程において、良品と判断された半導体チップのみをピックアップして、DCB基板などの絶縁基板に半導体チップの裏面を半田付けする。次に、図13に示すように銅ブロック19へのチップおもて面の半田付けにより、半田層15を介して、エミッタ電極9とエミッタパッドEとを接続し、かつエミッタパッドEおよびゲートパッドGをそれぞれ所定の電極リード(不図示)に接続する。このとき、さらに、半田層15を介して、エミッタ電極9とスクリーニングパッドDGとを短絡させる(ステップS53)。これによって、図1(b)に示すトレンチゲート型IGBTが完成する。
実施の形態4においては、エミッタ電極9とスクリーニングパッドDGとを短絡させる金属部材として半田層15を用いる。半田層15によって、チップおもて面に銅ブロック19が接合されている。スクリーニングパッドDGは、おもて面保護膜14の内終端14aよりも内側に配置されていればよい。その理由は、実施の形態1において金属部材としてめっき膜13を用いる場合と同様である。すなわち、半田層15はおもて面保護膜14の内終端14aよりも内側全体に濡れ広がるため、エミッタ電極9とスクリーニングパッドDGとの間を半田層15で確実に埋め込むことができる(図13)。したがって、エミッタ電極9およびスクリーニングパッドDG上に形成されるめっき膜13の濡れ広がりではエミッタ電極9とスクリーニングパッドDGとが短絡されない程度にエミッタ電極9とスクリーニングパッドDGとの間隔が広い場合に特に有用である。半田層15の厚さは、例えば50μm以上200μm以下であってもよい。おもて面保護膜14の厚さは、例えば3μm以上15μm以下であってもよく、好ましくはエミッタ電極9とめっき膜13との厚さの合計よりも厚い例えば7μmであるのがよい。
具体的には、例えば、スクリーニングパッドDGは、実施の形態1と同様に、エミッタ電極9の外周付近に、スクリーニングパッドDGの周囲1辺がエミッタ電極9に対向するように配置されてもよい(図2)。また、スクリーニングパッドDGは、実施の形態2と同様に、スクリーニングパッドDGの周囲2辺以上がエミッタ電極9に対向するように、エミッタ電極9の各電極パッド側の外周部や、エミッタ電極9の中央部に配置されてもよい(図6,7)。また、スクリーニングパッドDGは、エミッタ電極9を挟んで、各電極パッドとは反対側に配置されていてもよい(図12)。
以上、説明したように、実施の形態4によれば、組立工程までの間にダミーゲート絶縁膜に対するスクリーニングを行い、組立工程においてエミッタ電極と第2トレンチゲート構造のダミーゲート電極とを短絡させることで、実施の形態1〜3と同様の効果を得ることができる。
(実施の形態5)
次に、実施の形態5にかかる半導体装置の製造方法について、図5を参照しながら説明する。実施の形態5にかかる半導体装置の製造方法が実施の形態1にかかる半導体装置の製造方法と異なる点は、一旦、すべてのトレンチゲート構造をトレンチMOSセルとして形成し(すなわち、n-型半導体基板に形成したすべてのトレンチゲート構造をすべてゲート電極8としてゲートランナーに接続し)、すべてのゲート絶縁膜7を一括してスクリーニングした後に、ゲートランナーに接続された一部のゲート電極8を電気的に切り離してダミーゲート電極18にする点である。
具体的には、まず、実施の形態1と同様に、MOSゲート構造を構成する半導体部を形成する工程、およびトレンチを形成する工程を順に行う(ステップS1,S2)。そして、ステップS3、S4においては、後述する工程でダミーゲート電極18となるゲート電極も後述するステップS7の工程までのいずれかのタイミングでゲートランナーを介してゲートパッドGに接続し、ゲート電位とする。すなわち、ステップS3,S4の段階では、一旦、すべてのトレンチにそれぞれゲート電位のトレンチゲート構造(ゲート絶縁膜7およびゲート電極8)が形成された状態となる。
次に、実施の形態1と同様に、層間絶縁膜10を形成する工程から、おもて面保護膜14を形成する工程までを順に行う(ステップS5〜S7)。次に、ステップS8において、エミッタ電極9とゲートパッドGとの間に所定の電圧を印加することで、すべてのトレンチゲート構造のゲート絶縁膜7に対するスクリーニングを行う。すなわち、後述する工程でゲート絶縁膜17となるゲート絶縁膜は、ゲート絶縁膜7としてスクリーニングが行われる。次に、実施の形態1と同様に、裏面電極を形成する工程を行う(ステップS9)。
また、ステップS8のスクリーニング後、後述するステップS10のめっき処理工程の前までに、例えばエッチングによってゲートランナーを部分的に除去し、一部のトレンチゲート構造(ゲート絶縁膜7およびゲート電極8)をゲートパッドGから電気的に切り離す。そして、ゲートパッドGから切り離したゲート電極8を、実施の形態1と同様に例えばダミーゲートランナーを介してスクリーニングパッドDGに接続することでダミーゲート電極18とする。その後、実施の形態1と同様にめっき処理工程以降の工程を順に行うことで(ステップS10〜S14)、図1(b)のトレンチゲート型IGBTが完成する。
上述した実施の形態5にかかる半導体装置の製造方法を実施の形態2に適用してもよい。すなわち、スクリーニングパッドDGの周囲1辺以上が所定の間隔wでエミッタ電極9に対向していればよく、スクリーニングパッドDGの配置は種々変更可能である。また、上述した実施の形態5にかかる半導体装置の製造方法を実施の形態3,4に適用してもよい。すなわち、ウエハ検査においてゲート絶縁膜7に対するスクリーニングを行った後、ボンディング工程前までに、一部のゲート電極8をゲートランナーから電気的に切り離してダミーゲート電極18とする。スクリーニングパッドDGの配置は、エミッタ電極9とスクリーニングパッドDGとを短絡するために用いる金属部材の種類によって種々変更可能である。
以上、説明したように、実施の形態5によれば、実施の形態1〜4と同様の効果を得ることができる。
以上において本発明は、上述した実施の形態に限らず、本発明の趣旨を逸脱しない範囲で種々変更可能である。例えば、上述した各実施の形態では、p型ベース領域の、ダミートレンチMOSセルに挟まれた部分がエミッタ電位である場合を例に説明しているが、本発明は、p型ベース領域の、ダミートレンチMOSセルに挟まれた部分をフローティング電位(浮遊電位)としたMOS型半導体装置に適用可能である。また、上述した各実施の形態では、ダミーゲート絶縁膜に対するスクリーニングとともに、ゲート絶縁膜に対するスクリーニングを行う場合を例に説明しているが、トレンチMOSセルを構成するゲート電極はエミッタ電極に短絡されないことから、ゲート絶縁膜には任意のタイミングで所定の電圧を印加することができる。また、スクリーニング時にエミッタ電極とスクリーニングパッドとが電気的に絶縁されている場合には、n-型半導体基板に形成したすべてのトレンチゲート構造をすべてダミーゲート電極としてダミーゲートランナーに接続し、すべてのダミーゲート絶縁膜を一括してスクリーニングした後に、ダミーゲートランナーに接続された一部のゲート電極を電気的に切り離してゲート電極8としてもよい。このため、ゲート絶縁膜に対するスクリーニングを行うタイミングは種々変更可能である。また、本発明は、導電型を反転させても同様に成り立つ。
以上のように、本発明にかかる半導体装置の製造方法、半導体装置の評価方法および半導体装置は、エミッタ電極に短絡されたダミートレンチMOSセルを備えたMOS型半導体装置に有用である。
1 n-型半導体基板(n-型ドリフト層)
1a 活性領域
1b エッジ終端領域
2 p型ベース層
3 第1ベース領域
4 第2ベース領域
5 n+型エミッタ領域
6 トレンチ
7 ゲート絶縁膜
8 ゲート電極
9 エミッタ電極
10 層間絶縁膜
11 p+型コレクタ層
12 コレクタ電極
13 めっき膜
14 おもて面保護膜
14a おもて面保護膜の内終端
15 半田層
16 ダミートレンチ
17 ダミーゲート絶縁膜
18 ダミーゲート電極
19 銅ブロック
DG スクリーニングパッド
E エミッタパッド
G ゲートパッド
w エミッタ電極とスクリーニングパッドとの間隔

Claims (8)

  1. 素子の深さ方向に延びるゲート電極を備えたトレンチゲート構造を複数備え、複数の前記トレンチゲート構造が、素子の制御に寄与する第1トレンチゲート構造と、素子の制御に寄与しない第2トレンチゲート構造とからなる半導体装置の製造方法であって、
    半導体基板のおもて面側に、複数の前記トレンチゲート構造を形成する第1工程と、
    前記半導体基板のおもて面上に、複数の前記トレンチゲート構造のすべての前記ゲート電極が同一の配線によってすべて接続されたゲート電極パッドを形成する第2工程と、
    ゲート電位以外の電位をもつ電極部と前記ゲート電極パッドとの間に所定電圧を印加して、前記ゲート電極パッドに接続された前記ゲート電極に接するゲート絶縁膜に前記所定電圧を印加するスクリーニングを行う第3工程と、
    前記第3工程の後、前記配線から一部の前記ゲート電極を電気的に切り離し、前記切り離された前記ゲート電極を前記ゲート電極パッドとは異なるスクリーニング電極パッドに接続する第4工程と、
    前記第4工程の後、前記電極部と、前記切り離された前記ゲート電極が接続された前記スクリーニング電極パッドとを短絡させて、前記切り離された前記ゲート電極を備えた前記第2トレンチゲート構造を形成する第5工程と、
    を含むことを特徴とする半導体装置の製造方法。
  2. 前記第5工程では、
    前記電極部、および前記第2トレンチゲート構造の前記ゲート電極が接続された前記スクリーニング電極パッドを覆うめっき膜を形成し、
    前記電極部と、前記第2トレンチゲート構造の前記ゲート電極が接続された前記スクリーニング電極パッドとの間に広がった前記めっき膜を介して、前記電極部と、前記第2トレンチゲート構造の前記ゲート電極が接続された前記スクリーニング電極パッドとを接続することを特徴とする請求項1に記載の半導体装置の製造方法。
  3. 前記第5工程は、
    前記電極部の表面、および前記第2トレンチゲート構造の前記ゲート電極が接続された前記スクリーニング電極パッドの表面にめっき膜を形成する工程と、
    前記めっき膜を介して前記電極部、および前記第2トレンチゲート構造の前記ゲート電極が接続された前記スクリーニング電極パッドに電極端子となる電極層を半田付けする工程と、を含み、
    前記電極部と、前記第2トレンチゲート構造の前記ゲート電極が接続された前記スクリーニング電極パッドとの間に広がった半田層によって、前記電極部と、前記第2トレンチゲート構造の前記ゲート電極が接続された前記スクリーニング電極パッドとを接続することを特徴とする請求項1に記載の半導体装置の製造方法。
  4. 前記第5工程では、前記電極部と前記第1トレンチゲート構造の前記ゲート電極とにそれぞれワイヤーボンディングによる配線処理を行うとともに、ワイヤーボンディングにより前記電極部と、前記第2トレンチゲート構造の前記ゲート電極が接続された前記スクリーニング電極パッドとを接続することを特徴とする請求項1に記載の半導体装置の製造方法。
  5. 前記第4工程の後、前記第5工程の前に、前記電極部と前記第1トレンチゲート構造の前記ゲート電極とにそれぞれワイヤーボンディングによる配線処理を行い、
    前記第5工程では、前記第2トレンチゲート構造の前記ゲート電極が接続された前記スクリーニング電極パッドを外部回路に設けられた前記電極部に接続することを特徴とする請求項1に記載の半導体装置の製造方法。
  6. 前記電極部は、前記半導体基板の、前記トレンチゲート構造のトレンチに沿った部分に電気的に接続されたエミッタ電極であることを特徴とする請求項1〜5のいずれか一つに記載の半導体装置の製造方法。
  7. 半導体基板のおもて面側に、素子の深さ方向に伸びるゲート電極を備えた複数のトレンチゲート構造を備えた半導体装置であって、
    複数の前記トレンチゲート構造のうち、素子の制御に寄与する第1トレンチゲート構造と、
    複数の前記トレンチゲート構造のうち、前記第1トレンチゲート構造以外の、素子の制御に寄与しない第2トレンチゲート構造と、
    前記半導体基板のおもて面上に設けられた、ゲート電位以外の電位をもつ電極部と、
    前記半導体基板のおもて面上に設けられ、前記電極部と短絡され、かつ前記第2トレンチゲート構造の前記ゲート電極を接続されたスクリーニング電極パッドと、
    前記電極部および前記スクリーニング電極パッドを覆うめっき膜と、
    を備え、
    対向する前記電極部と前記スクリーニング電極パッドとの間の距離は、前記めっき膜の厚さの2倍以下であり、
    前記スクリーニング電極パッドは、周囲2辺以上が前記電極部に対向する矩形状の平面形状を有することを特徴とする半導体装置。
  8. 前記めっき膜の厚さは、0.5μm以上10μm以下であることを特徴とする請求項7に記載の半導体装置。
JP2014089124A 2014-04-23 2014-04-23 半導体装置の製造方法、半導体装置の評価方法および半導体装置 Active JP6404591B2 (ja)

Priority Applications (4)

Application Number Priority Date Filing Date Title
JP2014089124A JP6404591B2 (ja) 2014-04-23 2014-04-23 半導体装置の製造方法、半導体装置の評価方法および半導体装置
US14/674,478 US9437678B2 (en) 2014-04-23 2015-03-31 Fabrication method of semiconductor device, evaluation method of semiconductor device, and semiconductor device
CN201510151867.1A CN105023845B (zh) 2014-04-23 2015-04-01 半导体装置的制造方法、评价方法以及半导体装置
US15/221,034 US9761663B2 (en) 2014-04-23 2016-07-27 Semiconductor device

Applications Claiming Priority (1)

Application Number Priority Date Filing Date Title
JP2014089124A JP6404591B2 (ja) 2014-04-23 2014-04-23 半導体装置の製造方法、半導体装置の評価方法および半導体装置

Related Child Applications (1)

Application Number Title Priority Date Filing Date
JP2018134594A Division JP6681948B2 (ja) 2018-07-17 2018-07-17 半導体装置の製造方法および半導体装置の評価方法

Publications (2)

Publication Number Publication Date
JP2015207736A JP2015207736A (ja) 2015-11-19
JP6404591B2 true JP6404591B2 (ja) 2018-10-10

Family

ID=54335528

Family Applications (1)

Application Number Title Priority Date Filing Date
JP2014089124A Active JP6404591B2 (ja) 2014-04-23 2014-04-23 半導体装置の製造方法、半導体装置の評価方法および半導体装置

Country Status (3)

Country Link
US (2) US9437678B2 (ja)
JP (1) JP6404591B2 (ja)
CN (1) CN105023845B (ja)

Families Citing this family (29)

* Cited by examiner, † Cited by third party
Publication number Priority date Publication date Assignee Title
JP6459791B2 (ja) * 2014-07-14 2019-01-30 株式会社デンソー 半導体装置およびその製造方法
JP2016025124A (ja) * 2014-07-16 2016-02-08 株式会社デンソー 半導体装置およびその製造方法
DE112015006832T5 (de) * 2015-08-26 2018-06-07 Mitsubishi Electric Corporation Halbleiteranordnung
JP6665457B2 (ja) 2015-09-16 2020-03-13 富士電機株式会社 半導体装置
DE102016103587B4 (de) * 2016-02-29 2020-12-03 Infineon Technologies Ag Halbleitervorrichtung mit Hilfselektrodenpins
JP6795032B2 (ja) * 2016-06-03 2020-12-02 富士電機株式会社 半導体装置
CN106783951B (zh) * 2016-12-23 2020-03-24 株洲中车时代电气股份有限公司 一种半导体器件及其形成方法
JP6729452B2 (ja) * 2017-03-06 2020-07-22 株式会社デンソー 半導体装置
JP2018148154A (ja) * 2017-03-09 2018-09-20 ソニーセミコンダクタソリューションズ株式会社 半導体装置および電子機器
JP7006292B2 (ja) * 2017-03-16 2022-01-24 富士電機株式会社 半導体装置
JP7013668B2 (ja) * 2017-04-06 2022-02-01 富士電機株式会社 半導体装置
JP2018186208A (ja) * 2017-04-27 2018-11-22 トヨタ自動車株式会社 半導体装置
JP6843717B2 (ja) * 2017-09-05 2021-03-17 三菱電機株式会社 半導体装置、電力変換装置ならびに半導体装置の駆動方法
JP7013735B2 (ja) * 2017-09-05 2022-02-01 富士電機株式会社 炭化珪素半導体装置および炭化珪素半導体装置の製造方法
JP6866809B2 (ja) * 2017-09-11 2021-04-28 住友電気工業株式会社 炭化珪素半導体ウエハおよび炭化珪素半導体装置
JP6835243B2 (ja) 2017-10-18 2021-02-24 富士電機株式会社 半導体装置
JP6992482B2 (ja) * 2017-12-18 2022-01-13 富士電機株式会社 圧力センサ
JP6946219B2 (ja) * 2018-03-23 2021-10-06 株式会社東芝 半導体装置
CN110323273B (zh) * 2018-03-30 2025-02-25 富士电机株式会社 半导体装置、半导体封装、半导体模块及半导体电路装置
JP7099017B2 (ja) * 2018-04-04 2022-07-12 富士電機株式会社 半導体装置
JP7305979B2 (ja) * 2019-02-15 2023-07-11 富士電機株式会社 半導体装置の製造方法
JP7176978B2 (ja) * 2019-02-25 2022-11-22 ルネサスエレクトロニクス株式会社 半導体装置およびその製造方法
CN112640129B (zh) 2019-03-15 2024-12-13 富士电机株式会社 半导体装置
JP7117260B2 (ja) * 2019-03-18 2022-08-12 ルネサスエレクトロニクス株式会社 半導体装置とその製造方法
CN113054009B (zh) * 2019-12-27 2024-02-23 株洲中车时代半导体有限公司 一种沟槽igbt芯片
JP7481975B2 (ja) * 2020-09-16 2024-05-13 株式会社東芝 半導体装置
JP7703881B2 (ja) 2021-04-08 2025-07-08 富士電機株式会社 半導体装置
US12074226B2 (en) * 2021-09-14 2024-08-27 Analog Power Conversion LLC Schottky diode integrated with a semiconductor device
CN115223869B (zh) * 2022-09-01 2023-04-28 深圳市威兆半导体股份有限公司 绝缘栅双极型晶体管的制作方法及绝缘栅双极型晶体管

Family Cites Families (9)

* Cited by examiner, † Cited by third party
Publication number Priority date Publication date Assignee Title
US4814283A (en) 1988-04-08 1989-03-21 General Electric Company Simple automated discretionary bonding of multiple parallel elements
JP2005101218A (ja) * 2003-09-24 2005-04-14 Toshiba Corp 半導体装置の製造方法
JP2006186154A (ja) 2004-12-28 2006-07-13 Seiko Epson Corp 配線基板の製造方法及び電気光学装置の製造方法
JP5073992B2 (ja) * 2006-08-28 2012-11-14 オンセミコンダクター・トレーディング・リミテッド 半導体装置
JP5239621B2 (ja) * 2008-08-20 2013-07-17 株式会社デンソー 半導体装置の製造方法
JP2011243695A (ja) 2010-05-17 2011-12-01 Denso Corp 半導体装置
JP2013183143A (ja) * 2012-03-05 2013-09-12 Toyota Motor Corp 半導体装置を製造する方法、及び、半導体装置
JP6056202B2 (ja) * 2012-06-01 2017-01-11 富士電機株式会社 半導体装置、半導体装置の制御方法および半導体装置の評価方法
JP6115050B2 (ja) * 2012-09-10 2017-04-19 トヨタ自動車株式会社 半導体装置

Also Published As

Publication number Publication date
US20160336403A1 (en) 2016-11-17
US20150311285A1 (en) 2015-10-29
CN105023845B (zh) 2018-05-08
CN105023845A (zh) 2015-11-04
US9437678B2 (en) 2016-09-06
US9761663B2 (en) 2017-09-12
JP2015207736A (ja) 2015-11-19

Similar Documents

Publication Publication Date Title
JP6404591B2 (ja) 半導体装置の製造方法、半導体装置の評価方法および半導体装置
US8564112B2 (en) Semiconductor device
JP2010016103A (ja) 半導体装置
US10403554B2 (en) Method for manufacturing semiconductor device
JP7334435B2 (ja) 半導体装置および半導体装置の検査方法
JP2017059672A (ja) 半導体装置
US20200091139A1 (en) Semiconductor device
JP2023112212A (ja) 半導体装置
JP3695314B2 (ja) 絶縁ゲート型パワーic
JP6894544B2 (ja) 半導体装置の製造方法
JP5470726B2 (ja) トレンチゲート構造を有するmos型半導体装置の製造方法
JP7707521B2 (ja) 半導体装置および半導体装置の検査方法
JP4449428B2 (ja) 半導体装置の製造方法および半導体装置の試験方法
JP7055534B2 (ja) 半導体装置の製造方法
JP6681948B2 (ja) 半導体装置の製造方法および半導体装置の評価方法
JP2020155451A (ja) 半導体装置とその製造方法
JP7729033B2 (ja) 炭化珪素半導体装置、半導体パッケージおよび炭化珪素半導体装置の検査方法
US12374647B2 (en) Semiconductor device including chip-to-chip bonding
JP2025089194A (ja) 半導体装置および半導体モジュール
JP5861822B2 (ja) 半導体装置およびその試験方法
US20240274697A1 (en) Semiconductor device and method of manufacturing the same
JP2023035453A (ja) 半導体装置およびその製造方法
JP2020129622A (ja) 半導体装置の製造方法

Legal Events

Date Code Title Description
A621 Written request for application examination

Free format text: JAPANESE INTERMEDIATE CODE: A621

Effective date: 20161128

A977 Report on retrieval

Free format text: JAPANESE INTERMEDIATE CODE: A971007

Effective date: 20170828

A131 Notification of reasons for refusal

Free format text: JAPANESE INTERMEDIATE CODE: A131

Effective date: 20170926

A521 Request for written amendment filed

Free format text: JAPANESE INTERMEDIATE CODE: A523

Effective date: 20171127

A02 Decision of refusal

Free format text: JAPANESE INTERMEDIATE CODE: A02

Effective date: 20180417

A521 Request for written amendment filed

Free format text: JAPANESE INTERMEDIATE CODE: A523

Effective date: 20180717

A911 Transfer to examiner for re-examination before appeal (zenchi)

Free format text: JAPANESE INTERMEDIATE CODE: A911

Effective date: 20180724

TRDD Decision of grant or rejection written
A01 Written decision to grant a patent or to grant a registration (utility model)

Free format text: JAPANESE INTERMEDIATE CODE: A01

Effective date: 20180814

A61 First payment of annual fees (during grant procedure)

Free format text: JAPANESE INTERMEDIATE CODE: A61

Effective date: 20180913

R150 Certificate of patent or registration of utility model

Ref document number: 6404591

Country of ref document: JP

Free format text: JAPANESE INTERMEDIATE CODE: R150

R250 Receipt of annual fees

Free format text: JAPANESE INTERMEDIATE CODE: R250

R250 Receipt of annual fees

Free format text: JAPANESE INTERMEDIATE CODE: R250

R250 Receipt of annual fees

Free format text: JAPANESE INTERMEDIATE CODE: R250

R250 Receipt of annual fees

Free format text: JAPANESE INTERMEDIATE CODE: R250

R250 Receipt of annual fees

Free format text: JAPANESE INTERMEDIATE CODE: R250