JP6351007B2 - ステアリング装置 - Google Patents

ステアリング装置 Download PDF

Info

Publication number
JP6351007B2
JP6351007B2 JP2014022531A JP2014022531A JP6351007B2 JP 6351007 B2 JP6351007 B2 JP 6351007B2 JP 2014022531 A JP2014022531 A JP 2014022531A JP 2014022531 A JP2014022531 A JP 2014022531A JP 6351007 B2 JP6351007 B2 JP 6351007B2
Authority
JP
Japan
Prior art keywords
tooth
axial direction
moving
steering
tooth member
Prior art date
Legal status (The legal status is an assumption and is not a legal conclusion. Google has not performed a legal analysis and makes no representation as to the accuracy of the status listed.)
Active
Application number
JP2014022531A
Other languages
English (en)
Other versions
JP2015147542A (ja
Inventor
達 坂田
達 坂田
Current Assignee (The listed assignees may be inaccurate. Google has not performed a legal analysis and makes no representation or warranty as to the accuracy of the list.)
JTEKT Corp
JTEKT Column Systems Corp
Original Assignee
Fuji Kiko Co Ltd
JTEKT Corp
Priority date (The priority date is an assumption and is not a legal conclusion. Google has not performed a legal analysis and makes no representation as to the accuracy of the date listed.)
Filing date
Publication date
Application filed by Fuji Kiko Co Ltd, JTEKT Corp filed Critical Fuji Kiko Co Ltd
Priority to JP2014022531A priority Critical patent/JP6351007B2/ja
Priority to US14/612,803 priority patent/US9376135B2/en
Priority to EP15153991.3A priority patent/EP2905200B1/en
Priority to CN201510064700.1A priority patent/CN104828125B/zh
Publication of JP2015147542A publication Critical patent/JP2015147542A/ja
Application granted granted Critical
Publication of JP6351007B2 publication Critical patent/JP6351007B2/ja
Active legal-status Critical Current
Anticipated expiration legal-status Critical

Links

Images

Classifications

    • BPERFORMING OPERATIONS; TRANSPORTING
    • B62LAND VEHICLES FOR TRAVELLING OTHERWISE THAN ON RAILS
    • B62DMOTOR VEHICLES; TRAILERS
    • B62D1/00Steering controls, i.e. means for initiating a change of direction of the vehicle
    • B62D1/02Steering controls, i.e. means for initiating a change of direction of the vehicle vehicle-mounted
    • B62D1/16Steering columns
    • B62D1/18Steering columns yieldable or adjustable, e.g. tiltable
    • B62D1/184Mechanisms for locking columns at selected positions
    • BPERFORMING OPERATIONS; TRANSPORTING
    • B62LAND VEHICLES FOR TRAVELLING OTHERWISE THAN ON RAILS
    • B62DMOTOR VEHICLES; TRAILERS
    • B62D1/00Steering controls, i.e. means for initiating a change of direction of the vehicle
    • B62D1/02Steering controls, i.e. means for initiating a change of direction of the vehicle vehicle-mounted
    • B62D1/16Steering columns
    • B62D1/18Steering columns yieldable or adjustable, e.g. tiltable
    • B62D1/185Steering columns yieldable or adjustable, e.g. tiltable adjustable by axial displacement, e.g. telescopically
    • BPERFORMING OPERATIONS; TRANSPORTING
    • B62LAND VEHICLES FOR TRAVELLING OTHERWISE THAN ON RAILS
    • B62DMOTOR VEHICLES; TRAILERS
    • B62D1/00Steering controls, i.e. means for initiating a change of direction of the vehicle
    • B62D1/02Steering controls, i.e. means for initiating a change of direction of the vehicle vehicle-mounted
    • B62D1/16Steering columns
    • B62D1/18Steering columns yieldable or adjustable, e.g. tiltable
    • B62D1/187Steering columns yieldable or adjustable, e.g. tiltable with tilt adjustment; with tilt and axial adjustment

Landscapes

  • Engineering & Computer Science (AREA)
  • Chemical & Material Sciences (AREA)
  • Combustion & Propulsion (AREA)
  • Transportation (AREA)
  • Mechanical Engineering (AREA)
  • Steering Controls (AREA)

Description

この発明は、ステアリング装置に関する。
ステアリング装置として、下記特許文献1のステアリングコラム装置では、チルト調整後の操舵部材をロックするための構成として、チルト山部およびチルト谷部が連続するチルト歯部が形成された固定ブラケットと、チルトロック山部およびチルトロック谷部が連続するチルトロック歯部が形成された可動サイド部を含む可動部材とを備えている。チルトロック歯部は、チルト歯部と嵌合可能である。可動部材には、チルトロック山部よりも高く突出した山部を有する可撓性部材が装着される。チルト歯部のチルト山部と可撓性部材の山部とが接触し互いに対面する状態で可動部材が固定ブラケットを締め付けると、チルト山部とチルトロック山部とが互いに接触したままとなるハーフロックを防止するために、可撓性部材の山部がチルト谷部に向けてチルト山部の傾斜面を滑りながら移動する。
また、下記特許文献2で開示されたチルト式ステアリングコラム装置では、近接離反可能な2つのブロックのラチェット歯部同士を噛合させることでチルト調整後の操舵部材がロックされる。このチルト式ステアリングコラム装置では、2つのブロックの両ラチェット歯部が噛合するとき、一方のラチェット歯部に支持固定された噛合案内部材が他方のラチェット歯部の谷部に嵌合して両ラチェット歯部の山部どうしの接触を阻止することによりラチェット歯部間のハーフロックを防止する。
特開2008−239085号公報 特開平9−254792号公報
前述したチルト調整以外の調整として、操舵部材をステアリングシャフトの軸方向に調整するテレスコ調整がある。以下では、特許文献1および2においてハーフロックを防止するための構成をテレスコ調整に適用することを想定する。
特許文献1においてハーフロックを防止するための構成は、可撓性部材をチルトロック山部よりも先にチルト山部に接触させなければならないので、構造が複雑である。このことは、特許文献1と似た構造でハーフロックを防止する特許文献2のチルト式ステアリング装置にもあてはまる。
また、特許文献1のステアリングコラム装置では、可撓性部材がチルトロック山部を最寄りのチルト谷部へ誘導する機能しかないので、この構成では、隣り合うチルト谷部の間隔毎の段階的な調整(特許文献1ではチルト調整)しかできない。このことは、特許文献2においても同様である。
この発明は、かかる背景のもとでなされたものであり、テレスコ調整が可能な構成において、シンプルな構造によってハーフロックを防止でき、無段階にテレスコ調整を行うことができるステアリング装置を提供することを目的とする。
請求項1記載の発明は、一端に操舵部材(2)が連結され、軸方向(X)に伸縮可能なステアリングシャフト(3)と、前記操舵部材側のアッパーコラム(15)および前記操舵部材側とは反対側のロアーコラム(16)を有し、前記アッパーコラムおよびロアーコラムによって前記ステアリングシャフトを回転可能に支持していて、前記ロアーコラムに対する前記アッパーコラムの前記軸方向への相対移動によって前記操舵部材のテレスコ調整が可能なステアリングコラム(4)と、前記軸方向に延びる嵌め込み穴(34)が形成され、前記アッパーコラムに固定されたサポートブラケット(24)と、前記軸方向に沿ってラック状に並ぶ複数の歯(38)で構成された第1ツース(39)を有し、前記嵌め込み穴に対して前記軸方向に遊び(45)を持って嵌め込まれ、所定の中立位置から前記軸方向における両側へ弾性的に変位可能な移動側ツース部材(37)と、前記第1ツースに噛合可能な歯(56)を有する第2ツース(57)を有し、前記移動側ツース部材に対して、前記軸方向に対する直交方向(Y)から対向配置される固定側ツース部材(47)と、前記固定側ツース部材を前記直交方向に移動させて前記移動側ツース部材に対して接離させることによって、前記第2ツースを前記第1ツースに噛合させて前記アッパーコラムを前記軸方向においてロックしたり、前記第1ツースと前記第2ツースとの噛合を解除して前記アッパーコラムのロックを解除したりするロック・解除機構(46)と、を含み、前記移動側ツース部材において前記第1ツースを避けた位置には、前記移動側ツース部材を前記直交方向に貫通し、前記軸方向に長手の長穴(40)が形成されていて、前記ロック・解除機構は、前記直交方向に延びて前記長穴および嵌め込み穴に対して挿通され、前記固定側ツース部材に連結されて前記アッパーコラムに対して前記軸方向に相対移動可能な挿通軸(49)を含み、前記サポートブラケットが、前記嵌め込み穴が形成された側板と、テレスコ調整における前記挿通軸の前記軸方向における相対移動量を所定範囲(S1)内に規制するテレスコ規制部(66)が設けられ前記側板に連結された連結部とを含むことを特徴とする、ステアリング装置(1)である。
請求項2記載の発明は、前記嵌め込み穴内において前記軸方向における前記移動側ツース部材の両側に少なくとも設けられ、前記移動側ツース部材を前記中立位置へ戻すように弾性的に支持する弾性部材(41,69)を含むことを特徴とする、請求項1記載のステアリング装置である
請求項3に記載の発明は、前記固定側ツース部材が前記挿通軸まわりに回転することを規制する回転規制部(55)を含むことを特徴とする、請求項1または2に記載のステアリング装置である。
請求項4に記載の発明は、前記第1ツースと前記第2ツースとが噛合するときにおける前記固定側ツース部材からの押圧力(F)を、前記第1ツースと前記第2ツースとの噛合部分(65)の代わりに受け止める受け部(36)を含むことを特徴とする、請求項1〜のいずれか一項に記載のステアリング装置である。
請求項5に記載の発明は、前記受け部は、前記移動側ツース部材とは別に設けられていることを特徴とする、請求項4に記載のステアリング装置である。
なお、上記において、括弧内の数字等は、後述する実施形態における対応構成要素の参照符号を表すものであるが、これらの参照符号により特許請求の範囲を限定する趣旨ではない。
請求項1記載の発明によれば、テレスコ調整のために移動するアッパーコラム側のサポートブラケットに形成された嵌め込み穴には、ステアリングシャフトの軸方向に遊びを持って移動側ツース部材が嵌め込まれている。この状態の移動側ツース部材は、所定の中立位置から軸方向における両側へ弾性的に変位可能である。移動側ツース部材は、軸方向に沿ってラック状に並ぶ複数の歯で構成された第1ツースを有している。移動側ツース部材に対して、軸方向に対する直交方向から対向配置される固定側ツース部材は、第1ツースに噛合可能な歯を有する第2ツースを有している。
テレスコ調整後のアッパーコラムをロックするためにロック・解除機構によって固定側ツース部材を移動させて移動側ツース部材に接近させる際、第1ツースの歯先と第2ツースの歯先とが接触する場合がある。この場合、移動側ツース部材が軸方向に変位することで第1ツースの歯先が第2ツースの歯先に対してずれるので、第1ツースと第2ツースとはハーフロックすることなく噛合できる。そのため、たとえば第1ツースの歯先よりも先に第2ツースの歯先に接触してハーフロックが発生しないように第1ツースを誘導するような部品を別途設けずに済むので、シンプルな構造によってハーフロックを防止できる。
また、移動側ツース部材は、サポートブラケットの嵌め込み穴内で軸方向に変位することができるため、第1ツースにおいて隣り合う歯の間隔毎に段階的に行うテレスコ調整だけでなく、当該間隔の範囲内における微妙なテレスコ調整も可能である。つまり、無段階にテレスコ調整することができる。
また、テレスコ調整の際、ロック・解除機構の挿通軸が、移動側ツース部材の長穴およびサポートブラケットの嵌め込み穴に対して挿通された状態で、アッパーコラムに対して軸方向に相対移動できる。挿通軸の軸方向への相対移動量が、操舵部材のテレスコ調整量である。サポートブラケットには、移動側ツース部材の長穴およびサポートブラケットの嵌め込み穴のそれぞれとは別の位置に、テレスコ規制部が設けられている。テレスコ規制部は、嵌め込み穴に嵌め込まれた移動側ツース部材と共に軸方向に変位する長穴とは異なり、軸方向に変位しないので、テレスコ調整量を所定範囲内に確実に規制することができる。
請求項2記載の発明によれば、嵌め込み穴内において軸方向における移動側ツース部材の両側に設けられた弾性部材によって、移動側ツース部材を軸方向に弾性的に変位させることができるし、第1ツースと第2ツースとの噛合を解除した際に移動側ツース部材を所定の中立位置に戻すこともできる。
請求項3に記載の発明によれば、固定側ツース部材が挿通軸まわりに回転することが回転規制部によって規制されるので、固定側ツース部材は、挿通軸と共に回転することなく直交方向に移動することができる。そのため、第2ツースを第1ツースに確実に噛合させたり、第1ツースと第2ツースとの噛合を確実に解除したりすることができる。
請求項4に記載の発明によれば、受け部が、固定側ツース部材からの押圧力を、第1ツースと第2ツースとの噛合部分の代わりに受け止めるので、当該噛合部分における第1ツースおよび第2ツースの破損を防止することができる。
請求項5に記載の発明によれば、受け部が移動側ツース部材とは別に設けられていることから、移動側ツース部材は、固定側ツース部材からの押圧力の影響を受けることなく、ハーフロック防止のために円滑に軸方向に変位することができる。
図1は、本発明の一実施形態のステアリング装置1の概略側面図である。 図2は、図1におけるII-II線に沿った断面図である。 図3(a)は、移動側ツース部材37および固定側ツース部材47の斜視図であり、図3(b)は、移動側ツース部材37および固定側ツース部材47を図3(a)とは逆の方向から見た斜視図である。 図4は、図1におけるアッパーブラケット5の要部を拡大した図である。 図5は、第1ツース39と第2ツース57とが噛合した状態の移動側ツース部材37および固定側ツース部材47を示した図である。 図6は、図2におけるVI-VI線に沿った断面を上から見た図である。 図7は、第1ツース39の歯先38Aと第2ツース57の歯先56Aとが軸方向Xで同じ位置にくるようにテレスコ調整されたときの移動側ツース部材37および固定側ツース部材47を示した模式図である。 図8は、図7において第1ツース39と第2ツース57とが噛合した状態を示している。 図9は、本発明の第1変形例の移動側ツース部材37と固定側ツース部材47とが噛合している部分およびその周辺の断面図である。 図10は、本発明の第2変形例の弾性部材69およびその周辺を示した模式図である。
以下では、本発明の実施形態を、添付図面を参照して詳細に説明する。
図1は、本発明の一実施形態のステアリング装置1の概略側面図である。図2は、図1におけるII-II線に沿った断面図である。ここで、図1において、紙面左側が、ステアリング装置1が装備される車体10の前側であり、紙面右側が車体10の後方側であり、紙面上側が車体10の上方側であり、紙面下側が車体10の下方側である。図2では、紙面の奥側が車体10の前方側であり、紙面の手前側が車体10の後方側であり、紙面右側が車体10の右方側であり、紙面の左側が車体10の左方側である。
図1を参照して、ステアリング装置1では、操舵部材2が一端に連結されたステアリングシャフト3が自在継手11、中間軸7、自在継手12およびピニオン軸8を順に介してステアリング機構9に連結されている。そのため、操舵部材2から伝達された操舵トルクによってステアリングシャフト3は、軸回りに回転し、この回転がステアリング機構9に伝達される。
ステアリング機構9は、ラックアンドピニオン機構等で構成されている。ステアリング機構9は、ステアリングシャフト3の回転が伝達されたことに応じて、図示しないタイヤ等の転舵輪を転舵させる。
ステアリングシャフト3は、略円筒状である。ここで、ステアリングシャフト3が延びる方向(図1の紙面において左下から右上へ向かって延びる方向)を軸方向Xとする。軸方向Xの後方には、符号「X1」を付し、軸方向Xの前方には、符号「X2」を付す。また、軸方向Xに直交する方向のうち、図1において紙面と垂直な方向を左右方向Y(直交方向)といい、図1において略上下に延びる方向を上下方向Zという。左右方向Yの右方には、符号「Y1」を付し、左右方向Yの左方には、符号「Y2」を付す。
ステアリングシャフト3は、操舵部材2側(後方X1側)のアッパーシャフト13および操舵部材2側とは反対側(前方X2側)のロアーシャフト14を含んでいる。アッパーシャフト13とロアーシャフト14とは、同軸状に並んでいる。アッパーシャフト13は、少なくとも前方X2側の端部において略円筒状である。ロアーシャフト14が、アッパーシャフト13の前端部に対して、前下側から挿入されている。アッパーシャフト13とロアーシャフト14とは、スプライン嵌合やセレーション嵌合によって嵌合している。そのため、アッパーシャフト13とロアーシャフト14とは、一体回転可能であるとともに、軸方向Xに沿って相対移動可能である。よって、ステアリングシャフト3は、軸方向Xに伸縮可能である。
ステアリング装置1は、ステアリングコラム4と、アッパーブラケット5と、ロアーブラケット6とをさらに含んでいる。なお、以下で述べる他の部品もステアリング装置1を構成している。
ステアリングコラム4は、全体として、軸方向Xに延びる中空体である。ステアリングコラム4内には、ステアリングシャフト3が同軸状で挿通されている。
ステアリングコラム4は、操舵部材2側(後方X1側)のアッパーコラム15および操舵部材2側とは反対側(前方X2側)のロアーコラム16を有している。アッパーコラム15およびロアーコラム16は、略円筒状である。アッパーコラム15とロアーコラム16とは、同軸状に並んでいる。ロアーコラム16が、アッパーコラム15の前方X2側の端部に対して前下側から挿入されている。この状態で、アッパーコラム15は、ロアーコラム16に対して軸方向Xに相対移動可能である。
アッパーシャフト13は、軸受17を介してアッパーコラム15に連結されており、ロアーシャフト14は、軸受18を介してロアーコラム16に連結されている。アッパーコラム15は、アッパーシャフト13を回転可能に支持しており、ロアーコラム16は、ロアーシャフト14を回転可能に支持している。そのため、ステアリングコラム4は、アッパーコラム15およびロアーコラム16によってステアリングシャフト3を回転可能に支持している。また、アッパーコラム15およびロアーコラム16は、アッパーシャフト13およびロアーシャフト14に対して、軸方向Xに相対移動可能である。つまり、ステアリングコラム4は、ステアリングシャフト3と共に軸方向Xに伸縮可能である。ここでの伸縮を「テレスコ」と呼ぶ。
ロアーブラケット6は、ステアリングコラム4(特に、ロアーコラム16)を支持し、ステアリング装置1を車体10に連結する。ロアーブラケット6は、車体10に固定された固定ブラケット19と、ロアーコラム16に固定された可動ブラケット20と、左右方向Yに延びる中心軸21を含んでいる。可動ブラケット20は、固定ブラケット19によって、中心軸21を介して回動可能に支持されている。そのため、ステアリング装置1全体は、中心軸21を中心に回動することができる。ここでの回動を「チルト」と呼ぶ。
アッパーブラケット5は、ステアリングコラム4(特に、アッパーコラム15)を支持し、ステアリング装置1を車体10に連結する。
図2を参照して、アッパーブラケット5は、天板22と、固定ブラケット23と、サポートブラケット24とを含んでいる。
天板22は、軸方向Xおよび左右方向Yに延びる平板状である。天板22は、左右方向Yの両端において、一対の取付体25を介して車体10に固定されている。
各取付体25と天板22とは、それぞれ天板22を上下方向Zに貫通する破断可能な合成樹脂製のピン26によって連結されており、各取付体25は、固定ボルト27によって車体10に固定されている。
固定ブラケット23は、下向きに開放する溝形(軸方向Xから見て上下が逆になった略U字状)であり、ステアリングコラム4を挟んで左右対称に形成されている。詳述すると、固定ブラケット23は、ステアリングコラム4を挟んで対向する一対の側板28と、一対の側板28の上側端部を連結した連結板29とを備えている。連結板29は、天板22に接続されている。一対の側板28において、左右方向Yから見て同じ位置には、チルト用長孔30が形成されている。チルト用長孔30は、中心軸21を中心とした円弧に沿って略上下方向Zに延びている(図1参照)。
サポートブラケット24は、上向きに開放する溝形(軸方向Xから見て略U字状)であり、ステアリングコラム4を挟んで概ね左右対称に形成されている。詳述すると、サポートブラケット24は、ステアリングコラム4を挟んで対向する一対の側板31と、一対の側板31の下側端部を連結した連結板32とを備えている。
一対の側板31の上側端部は、アッパーコラム15の外周面と溶接等によって接続されている。これにより、サポートブラケット24は、アッパーコラム15に固定されている。
右側の側板31には、軸方向Xに延びるテレスコ用長孔33が形成されている。
左側の側板31において、左右方向Yから見てテレスコ用長孔33と重なる位置には、軸方向Xに延びる嵌め込み穴34が形成されている。嵌め込み穴34は、左側の側板31を左右方向Yに貫通している。
左側の側板31の右側面には、嵌め込み穴34の上下の端縁を縁取るように軸方向Xに延びて嵌め込み穴34内に突出した一対の係止部35が一体的に設けられている。
左側の側板31の左側面には、嵌め込み穴34を縁取りつつ左方Y2に突出した上下一対受け部36が一体的に設けられている。一対の受け部36の上下方向Zにおける間隔は、嵌め込み穴34の上下方向Zにおける幅と一致している。受け部36は、左側の側板28に対して右側から当接している。
ステアリング装置1は、移動側ツース部材37と、固定側ツース部材47と、ロック・解除機構46とをさらに含んでいる。
図3(a)は、移動側ツース部材37および固定側ツース部材47の斜視図であり、図3(b)は、移動側ツース部材37および固定側ツース部材47を図3(a)とは逆の方向から見た斜視図である。図4は、図1におけるアッパーブラケット5の要部を拡大した図である。
図3(a)および図3(b)の場合、軸方向Xは、紙面の右手前側と左奥側を結ぶ方向であり、左右方向Yは、紙面の左手前側と右奥側を結ぶ方向であり、上下方向Zは、紙面の上下に延びる方向である。図3(a)において、後方X1は、右手前側へ延びており、前方X2は、左奥側へ延びている。図3(b)において、後方X1は、左奥側へ延びており、前方X2は、右手前側へ延びている。図3(a)において、右方Y1は、右奥側へ延びており、左方Y2は、左手前側へ延びている。図3(b)において、右方Y1は、左手前側へ延びており、左方Y2は、右奥側へ延びている。図4における各部材の姿勢は、軸方向Xが水平になるように図1を傾けたときの姿勢と一致している。
図3(a)を参照して、移動側ツース部材37は、左右方向Yに薄く軸方向Xに長手の平板状である。移動側ツース部材37は、軸方向Xに沿ってラック状に並ぶ複数の歯38で構成された一対の第1ツース39を有している。一対の第1ツース39は、移動側ツース部材37の左方Y2側の端面において、上下方向Zにおける両端に2列で設けられている。各第1ツース39の複数の歯38は、均一なピッチW1で並んでいる。一方、移動側ツース部材37の右方Y1側の端面は、全域に亘って、軸方向Xおよび上下方向Zに対して平坦である。
移動側ツース部材37において第1ツース39を避けた位置である一対の第1ツース39の間には、移動側ツース部材37を左右方向Yに貫通し、軸方向Xに長手の長穴40が形成されている。長穴40の軸方向Xにおける両端縁は、上方に向かうに従って車体10の後方X1へ向かうように傾斜している。そのため、長穴40は、左右方向Yから見て、略平行四辺形である。長穴40の上下方向Zにおける幅h1は、一対の係止部35の上下方向Zにおける間隔とほぼ同じである(図2参照)。
図2を参照して、移動側ツース部材37は、嵌め込み穴34に対して左側から嵌め込まれている。移動側ツース部材37は、上下方向Zにおいて、嵌め込み穴34に対して僅かに小さいが、一対の係止部35の間隔よりも大きい。そのため、移動側ツース部材37は、嵌め込み穴34に対して嵌め込まれた状態では、移動側ツース部材37の右方Y1側の端面が係止部35に対して左側から接触するので、左右方向Yにずれることなく、嵌め込み穴34内に留まっている。
図4を参照して、移動側ツース部材37の軸方向Xにおける幅L1は、嵌め込み穴34の軸方向Xにおける幅L2よりも小さい。移動側ツース部材37は、嵌め込み穴34に対して軸方向Xに幅L2と幅L1との差分に相当する遊び45を持って嵌め込まれている。
左右方向Yから見ると、長穴40は、テレスコ用長孔33と概ね重なっている(図2参照)。また、長穴40およびテレスコ用長孔33のそれぞれと、チルト用長孔30とは、左右方向Yから見て、交差しており、互いの一部が重なっている。
嵌め込み穴34内において軸方向Xにおける移動側ツース部材37の両側には、弾性部材41が1つずつ設けられている。弾性部材41は、上下方向Zに長手の1枚の板状の金属を加工した板ばねである。具体的には、弾性部材41は、この金属板を曲げて、上下方向Zにおける中央部43を嵌め込み穴34の軸方向Xにおける内側へ突出させた形状を有している。弾性部材41は、軸方向Xにおける移動側ツース部材37の両側において、前述した遊び45の半分に相当する隙間42に1つずつ配置されている。1対の弾性部材41の中央部43は、移動側ツース部材37の軸方向Xにおける両端部に対して軸方向Xにおける両側から接触している。一方、各弾性部材41の上下方向Zにおける両端部44は、嵌め込み穴34の軸方向Xにおける端縁において、サポートブラケット24の左側の側板31に接触し固定されている。これにより、各弾性部材41は、サポートブラケット24において嵌め込み穴34の端部を区画する部分と移動側ツース部材37とに挟まれていることから、軸方向Xに圧縮されている。そのため、移動側ツース部材37は、軸方向Xの両側の弾性部材41から均等に押圧力を受けており、嵌め込み穴34内で軸方向Xにおける所定の中立位置に配置されるように弾性的に支持されている。なお、図4における移動側ツース部材37は、中立位置にあり、このとき、移動側ツース部材37の両側の隙間42の大きさは、ほぼ同じである。各隙間42の大きさは、少なくとも各弾性部材41がピッチW1の半分に相当する間隔で弾性変形可能な程度である。
図2を参照して、ロック・解除機構46は、操作レバー48と、挿通軸49とを主に含んでいる。
挿通軸49は、左右方向Yに延びる略円柱状である。挿通軸49は、左右方向Yから見て、長穴40、テレスコ用長孔33およびチルト用長孔30が重なっている部分に対して挿通されている。そのため、挿通軸49は、長穴40を有する移動側ツース部材37が嵌め込まれた嵌め込み穴34に対しても挿通されている。
挿通軸49の左右方向Yにおける両端は固定ブラケット23の一対の側板28よりも外側にはみ出ている。挿通軸49の左端部には、挿通軸49よりも大径な頭部50が形成されている。頭部50と左側の側板28との間には、操作レバー48、カム51および固定側ツース部材47が左側からこの順に並んでいる。挿通軸49は、操作レバー48、カム51および固定側ツース部材47のそれぞれに対して挿通されている。
挿通軸49の右端部には、ナット60が取り付けられている。ナット60と右側の側板28との間には、介在部材61、針状ころ軸受62およびスラストワッシャ63が左からこの順に並んでいる。挿通軸49は、介在部材61、針状ころ軸受62およびスラストワッシャ63のそれぞれに対して挿通されている。
挿通軸49の左右方向Yにおける略中央(サポートブラケット24の一対の側板31の間)には、偏心カム52が挿通軸49と一体回転可能に設けられている。偏心カム52は、左右方向Yにおける略中央部において挿通軸49の径方向に突出している。
図3を参照して、固定側ツース部材47は、押圧部53と、係合部54と、回転規制部55とを一体的に含んでいる。押圧部53は、左右方向Yに薄い板状である。
係合部54は、左右方向Yにおいて、押圧部53よりも右方Y1に設けられている。係合部54は、押圧部53の右方Y1側の端面から右方Y1に延びている。係合部54は、軸方向Xおよび上下方向Zにおいて押圧部53よりも小さい。係合部54の上下方向Zにおける幅は、移動側ツース部材37の上下方向Zにおける幅と概ね等しい。係合部54の軸方向Xにおける両端面は、チルト用長孔30に沿って湾曲している(図4参照)。係合部54の上下方向Zにおける両端には、軸方向Xに沿ってラック状に並ぶ複数の歯56で構成された一対の第2ツース57が2列で形成されている。各第2ツース57の複数の歯56は、均一なピッチW2で並んでいる。ピッチW2は、移動側ツース部材37の第1ツース39の歯38のピッチW1と等しい。また、第1ツース39の歯厚と第2ツース57の歯厚は等しい。
回転規制部55は、係合部54よりも右方Y1に設けられている。回転規制部55は、係合部54の右方Y1側の端面から右方Y1に延びている。回転規制部55は、上下方向Zにおいて、係合部54よりも小さく、一対の第2ツース57の間に配置されている。回転規制部55の軸方向Xにおける両端面は、チルト用長孔30に沿って湾曲している(図4参照)。回転規制部55の軸方向Xにおける各端面は、係合部54の軸方向Xにおける各端面のそれぞれと面一である。
固定側ツース部材47の押圧部53の軸方向Xおよび上下方向Zにおける略中央には、丸い挿通孔58が形成されている。挿通孔58は、係合部54および回転規制部55も貫通しており、固定側ツース部材47全体を左右方向Yに貫通している。挿通軸49は、挿通孔58に挿通されることにより、固定側ツース部材47に連結されている(図2参照)。
図3(a)を参照して、固定側ツース部材47の押圧部53の左方Y2側の端面には、カム突起59が設けられている。カム突起59は、挿通孔58を中心とする周方向において等間隔で4つ設けられている。各カム突起59は、当該周方向の一方側へ向かうにしたがって左方Y2へ緩やかに高くなっている。
図2を参照して、押圧部53は、左側の側板28の左方Y2に配置されている。係合部54は、左側の側板28のチルト用長孔30に挿通されている。また、係合部54の右端部は、チルト用長孔30から右側にはみ出ていて、サポートブラケット24の左側の側板31における上下一対の受け部36の間(嵌め込み穴34)に配置されている。そのため、係合部54(固定側ツース部材47)は、嵌め込み穴34内の移動側ツース部材37に対して、左右方向Yから対向配置されている。この状態では、上側の第1ツース39は、上側の第2ツース57と対向しており、下側の第1ツース39は、下側の第2ツース57と対向している。
回転規制部55は、移動側ツース部材37の長穴40に挿通されている。前述した長穴40の幅h1は、回転規制部55の上下方向Zにおける幅h2とほぼ等しい(厳密には幅h1が幅h2よりも僅かに大きい)(図3参照)。回転規制部55は、その上下の端縁が軸方向Xに沿って延びている。そのため、固定側ツース部材47は、回転規制部55によって、挿通軸49まわりに回転することを規制されている。
なお、回転規制部55は、その上下の端縁が軸方向Xに沿って延びているため、軸方向Xにおける固定側ツース部材47の移動については規制していない。また、回転規制部55の右方Y1の端部は、左右方向Yにおいて、一対の係止部35の間に達している。
操作レバー48およびカム51は、挿通軸49と一体回転可能である。そのため、操作レバー48を回動させると、カム51は回転し、カム51に形成されたカム突起64が固定側ツース部材47に形成されたカム突起59に乗り上げる。これにより、固定側ツース部材47全体が挿通軸49の軸方向に沿って右方Y1に移動して移動側ツース部材37に接近し、押圧部53が左側の側板28に対して押圧される。ここでの押圧によって、一対の側板28は、押圧部53と介在部材61との間で締め付けられる。これにより、左側の側板28は、左側の側板31に対して圧接される。一方、右側の側板31は、介在部材61によって押圧された右側の側板28によって圧接される。このように、操作レバー48の回動から始まる一連の動作によって、一対の側板28(固定ブラケット23)が一対の側板31(サポートブラケット24)に対して圧接されたときの操作レバー48の状態をレバーロック状態という。これに伴い、左側の側板28は、左側の側板31の受け部36に対して圧接されている。
また、操作レバー48をレバーロック状態にするための固定側ツース部材47の右方Y1への移動により、係合部54は、移動側ツース部材37に対して左側から係合する。詳しくは、以下に説明する。
図5は、第1ツース39と第2ツース57とが噛合した状態の移動側ツース部材37および固定側ツース部材47を示した図である。図5において、紙面と直交する方向は、上下方向Zと一致しており、紙面の左右に延びる方向は、軸方向Xと一致しており、紙面の上下に延びる方向は、左右方向Yと一致している。後方X1は、紙面の右側へ延びており、前方X2は、紙面の左側へ延びている。右方Y1は、紙面の上側へ延びており、左方Y2は、紙面の下側へ延びている。
図5を参照して、前述したように、固定側ツース部材47の係合部54における第2ツース57の歯56のピッチW2は、移動側ツース部材37の第1ツース39の歯38のピッチW1と等しい。そのため、係合部54が移動側ツース部材37に係合すると、上側の第2ツース57の歯56が、軸方向Xで同じ位置にある上側の第1ツース39に噛合し、下側の第2ツース57の歯56が、軸方向Xで同じ位置にある下側の第2ツース57に噛合する。詳しくは、歯38の歯先38Aは、歯56の歯先56Aと、ピッチW1またはピッチW2の半分の幅に相当する幅(以下では、「半ピッチ」という)W3だけ軸方向Xにずれた状態で、歯56の歯溝56Bに対して嵌め込まれている。一方、この状態における歯56の歯先56Aは、歯38の歯溝38Bに対して嵌め込まれている。これにより、第1ツース39と第2ツース57とが丁度噛合した状態となり、固定ブラケット23とサポートブラケット24との間の相対移動が規制され、サポートブラケット24側のアッパーコラム15が軸方向Xに移動できない。
第1ツース39と第2ツース57とが噛合しているときにおける固定側ツース部材47からの押圧力に符号「F」を付すことにする。押圧力Fは、挿通軸49の軸力に相当する。
係合部54が移動側ツース部材37に係合した状態で、サポートブラケット24の受け部36が、第1ツース39と第2ツース57との噛合部分65の代わりに押圧部53の押圧力Fを受け止めている(図2参照)。そのため、第2ツース57の歯先56Aおよび第1ツース39の歯先38Aは、それぞれ移動側ツース部材37の歯溝38Bの底および固定側ツース部材47の歯溝56Bの底から若干浮いている。つまり、第1ツース39と第2ツース57との噛合部分65は、レバーロック状態で、押圧力Fを受けていない。よって、噛合部分65における第1ツース39および第2ツース57の破損を防止することができる。
このように、レバーロック状態では、第1ツース39と第2ツース57とが噛合することでテレスコがロックされている。また、固定ブラケット23の一対の側板28がサポートブラケット24の一対の側板31に対して圧接されることによって、チルトがロックされている。このとき、図2に示すように、偏心カム52は、アッパーコラム15の下側外周面に形成された貫通孔15Aに進入し、ロアーコラム16をアッパーコラム15に押し付けている。
このようなレバーロック状態から、操作レバー48を先程と逆方向に回動させる。すると、操作レバー48の回動に伴い、カム51が固定側ツース部材47に対して回転する。これにより、カム51のカム突起64が固定側ツース部材47のカム突起59に乗り上げなくなるので、固定側ツース部材47は、挿通軸49の軸方向に沿って左方Y2に移動する。すると、固定側ツース部材47の押圧部53と介在部材61との間において、一対の側板31に対する締め付けが解除される。そのため、各側板31は、対応する一対の側板28との圧接から解除される。また、偏心カム52が貫通孔15Aから退避し、ロアーコラム16のアッパーコラム15への押し付けが解除される。このように、操作レバー48の回動から始まる一連の動作によって一対の側板31に対する一対の側板28の圧接が解除された操作レバー48の状態をレバーアンロック状態という。
レバーアンロック状態では、固定側ツース部材47が移動側ツース部材37から左方Y2に離されているため、第2ツース57も第1ツース39から左方Y2に離されている。つまり、第2ツース57と第1ツース39との噛合が解除されている。
この状態で、ロアーコラム16に対するアッパーコラム15の軸方向Xへの相対移動が可能となり、当該相対移動によって操舵部材2のテレスコ調整が可能である。テレスコ調整の際、サポートブラケット24は、アッパーコラム15と一体的に軸方向Xへ移動する。このとき、サポートブラケット24側の移動側ツース部材37が固定側ツース部材47に対して軸方向Xに相対移動するので、第1ツース39において第2ツース57に対向する部分がずれる。また、このとき、挿通軸49は、サポートブラケット24およびアッパーコラム15に対して軸方向Xに相対移動する。アッパーコラム15に対する挿通軸49の軸方向Xへの相対移動量が、操舵部材2のテレスコ調整量である。
また、ロック・解除機構46によってアッパーコラム15のロックが解除された状態では、操舵部材2のチルト調整も可能である。挿通軸49は、チルト調整時は、チルト用長孔30内で固定ブラケット23に対して相対移動することができる。
以上のように、ロック・解除機構46は、固定側ツース部材47を左右方向Yに移動させて移動側ツース部材37に対して接離させることによって、第2ツース57を第1ツース39に噛合させてアッパーコラム15を軸方向Xにロックしたり、第1ツース39と第2ツース57との噛合を解除してアッパーコラム15のロックを解除したりすることができる。
また、前述したように、固定側ツース部材47は、回転規制部55によって、挿通軸49まわりに回転することを規制されている。これにより、固定側ツース部材47は、挿通軸49と共に回転することなく左右方向Yに移動することができる。そのため、第2ツース57を第1ツース39に確実に噛合させたり、第1ツース39と第2ツース57との噛合を確実に解除したりすることができる。
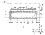
図6は、図2におけるVI-VI線に沿った断面を上から見た図である。
図6における各部材の姿勢は、図5と一致している(図7および図8においても同様)。
図6を参照して、サポートブラケット24の連結板32の上面において、移動側ツース部材37の係止部35よりも右方Y1には、上下方向Zに延びる一対のテレスコ規制部66が設けられている。この位置には、長穴40および嵌め込み穴34のそれぞれとは別の位置である。一対のテレスコ規制部66は、連結板32の上面から上方に延びる突起状であり、挿通軸49を挟んで軸方向Xに間隔を隔てて配置されている。詳しくは、一対のテレスコ規制部66は、嵌め込み穴34の軸方向Xにおける中央部を通り軸方向Xに垂直な平面67を挟んで軸方向Xに対称な位置に配置されている。一対のテレスコ規制部66間の軸方向Xにおける距離S1は、右側の側板31のテレスコ用長孔33(図2参照)の軸方向Xにおける寸法と同じであり、長穴40の軸方向Xにおける両端間の距離S2より短い。そのため、挿通軸49は、テレスコ調整時には、距離S1を所定範囲(前述したテレスコ調整量)として、アッパーコラム15に対して軸方向Xに移動することができる。つまり、テレスコ規制部66は、テレスコ調整における挿通軸49の軸方向Xにおける相対移動量を所定範囲内に規制している。
テレスコ規制部66は、嵌め込み穴34に嵌め込まれた移動側ツース部材37と共に軸方向Xに変位する長穴40とは異なり、軸方向Xに変位しないので、テレスコ調整量を距離S1内に確実に規制することができる。
なお、第1ツース39は、移動側ツース部材37において、距離S1よりも広い範囲に亘って設けられている。よって、距離S1内でのテレスコ調整した後に第2ツース57が軸方向Xにおいて第1ツース39から外れてしまって噛合できないという不具合を避けることができる。
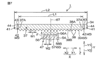
図7は、第1ツース39の歯先38Aと第2ツース57の歯先56Aとが軸方向Xで同じ位置にくるようにテレスコ調整されたときの移動側ツース部材37および固定側ツース部材47を示した模式図である。図8は、図7において第1ツース39と第2ツース57とが噛合した状態を示している。
テレスコ調整後のアッパーコラム15をロックするために固定側ツース部材47を移動側ツース部材37に接近させる際、図7に示すように、第1ツース39の歯先38Aと第2ツース57の歯先56Aとが軸方向Xにおいて同じ位置に配置されることがある。このままレバーロック状態にしようとすると、歯先38Aと歯先56Aとが互いに圧接したハーフロックが生じて操作レバー48の操作が途中で硬くなり、レバーロック状態まで操作できない。
前述したように、移動側ツース部材37は、嵌め込み穴34に対して遊び45を持って嵌め込まれている。そのため、この状態で第1ツース39の歯先38Aと第2ツース57の歯先56Aとが接触すると、図8に示すように移動側ツース部材37が軸方向Xに変位することで第1ツース39の歯先38Aが第2ツース57の歯先56Aに対してずれる。
移動側ツース部材37は、軸方向Xの両側から弾性部材41に弾性的に支持されている。そのため、歯先38Aと歯先56Aとが接触した場合、移動側ツース部材37は、当該接触によって第1ツース39および第2ツース57が受ける押圧力Fを逃がすために、前述した中立位置から軸方向Xの両側のうちのいずれかに弾性的に変位する(図8も参照)。このとき、移動側ツース部材37は、歯先38Aに加わる力における軸方向Xの分力の作用する方向に変位する。
図8を参照して、本実施形態では、歯先38Aに加わる力の分力が軸方向Xの後方X1側に作用しているため、移動側ツース部材37が後方X1に変位している。
ここで、移動側ツース部材37が中立位置にあるときの移動側ツース部材37の軸方向Xにおける両端部37Aを破線で示す。第1ツース39と第2ツース57とが噛合した状態で、両端部37Aは、前述した半ピッチW3だけ軸方向X(後方X1)に中立位置からずれている。
移動側ツース部材37が後方X1に変位すると、後方X1側の隙間42は、嵌め込み穴34の軸方向Xにおける幅L2と移動側ツース部材37の軸方向Xにおける幅L1との差の半分よりも半ピッチW3だけ狭くなる。よって、後方X1側の弾性部材41は、移動側ツース部材37が中立位置にある状態よりも圧縮された状態となる。一方、前方X2側の隙間42は、幅L2と幅L1との差の半分よりも半ピッチW3だけ広くなる。よって、前方X2側の弾性部材41は、移動側ツース部材37が中立位置にある状態よりも圧縮が緩和された状態となる。そのため、後方X1側の弾性部材41が移動側ツース部材37を押圧する押圧力f1は、前方X2側の弾性部材41が移動側ツース部材37を押圧する押圧力f2よりも大きくなる(f1>f2)。よって、一対の弾性部材41は、押圧力f1と押圧力f2とを均一に戻すように弾性変位しようとする。言い換えると、この状態で、一対の弾性部材41は、移動側ツース部材37を中立位置へ戻すように弾性的に支持している。
このように、嵌め込み穴34内において軸方向Xにおける移動側ツース部材37の両側に設けられた弾性部材41によって、移動側ツース部材37を軸方向Xに弾性的に変位させることができるし、第1ツース39と第2ツース57との噛合を解除した際に移動側ツース部材37を所定の中立位置に戻すこともできる。
当然、歯先38Aに加わる力の分力が軸方向Xの前方X2側に作用している場合は、移動側ツース部材37は、前方X2に変位する。この場合、前方X2側の弾性部材41の方が後方X1側の弾性部材41よりも圧縮された状態となっている。この状態で、後方X1側の弾性部材41が移動側ツース部材37を押圧する押圧力f1は、前方X2側の弾性部材41が移動側ツース部材37を押圧する押圧力f2よりも小さくなる(f1<f2)。
このように、移動側ツース部材37は、所定の中立位置から軸方向Xにおける両側へ弾性的に変位可能である。
以上により、第1ツース39と第2ツース57とはハーフロックすることなく噛合できる。そのため、たとえば第1ツース39の歯先38Aよりも先に第2ツース57の歯先56Aに接触してハーフロックが発生しないように第1ツース39を誘導するような部品を別途設けずに済むので、シンプルな構造によってハーフロックを防止できる。
また、移動側ツース部材37は、軸方向Xに変位することができるため、第1ツース39において隣り合う歯先38Aの間隔(ピッチW1)毎に段階的に行うテレスコ調整だけでなく、第1ツース39と第2ツース57との噛み合いを微妙にずらすことで、ピッチW1の範囲内における微妙なテレスコ調整も可能である。つまり、無段階にテレスコ調整することができる。
本実施形態のステアリング装置1は、第1ツース39を第2ツース57に誘導するような前記部品を別途設ける場合と比べて、僅かな部品点数の追加・変更で機能の向上を図ることができ、結果的にコスト低減を図ることもできるし、レイアウト性(車両における他部品との関係における配置のしやすさ)が損なわれないため、多様な車種への展開が可能である。
ちなみに、本実施形態とは異なり、固定側ツース部材47と接離する相手側のツース部材(本実施形態の移動側ツース部材37に相当する部材)が軸方向Xに変位することができない比較例を想定してみる。比較例の場合、第1ツース39の歯先38Aと第2ツース57の歯先56Aとが軸方向Xにおいて同じ位置に配置された状態で、第1ツース39と第2ツース57とを接近させると、第1ツース39と第2ツース57とがハーフロックするため、第2ツース57と第1ツース39とが丁度噛合するようにテレスコ調整したときにしか操作レバー48をレバーロック状態にすることができない。そのため、比較例のステアリング装置1では、第1ツース39において隣り合う歯先38Aの間隔(ピッチW1)毎に段階的に(有段階に)しかテレスコ調整を行うことができない。
また、本実施形態のステアリング装置1は、レバーロック状態では、第1ツース39と第2ツース57とが常に噛合されているため、車両衝突時のいわゆる2次衝突によって第1ツース39と第2ツース57との噛合が不意に外れることがない。
また、本実施形態では、受け部36が移動側ツース部材37とは別に設けられているため、受け部36が移動側ツース部材37とは別に設けられていることから、移動側ツース部材37は、固定側ツース部材47からの押圧力Fの影響を受けることなく、ハーフロック防止のために円滑に軸方向Xに変位することができる。
次に、本発明の第1変形例について説明する。
図9は、本発明の第1変形例の移動側ツース部材37と固定側ツース部材47とが噛合している部分およびその周辺の断面図である。
図9における各部材の姿勢は、図2と一致している。図9において、上記に説明した部材と同様の部材には、同一の参照符号を付し、その説明を省略する。
図9を参照して、第1変形例の左側の側板31には、一対の受け部36および一対の係止部35が設けられていない。第1変形例の移動側ツース部材37は、受け部36に相当する一対の受け部68を一体的に含んでいる。受け部68は、第1ツース39の上下方向Zにおける両外側に設けられている。受け部68は、第1ツース39よりも左方Y2に延びており、左側の側板28に対して右側から当接している。移動側ツース部材37において受け部68よりも右方Y1側の部分は、上下方向Zに一段幅狭となっているので、受け部68よりも右方Y1側には、段差70が設けられている。そのため、移動側ツース部材37は、嵌め込み穴34に対して嵌め込まれた状態では、移動側ツース部材37の段差70が左側の側板31における嵌め込み穴34の周縁部71に対して左側から接触するので、嵌め込み穴34内に留まる。
第1変形例の移動側ツース部材37を用いた場合、サポートブラケット24の構成をシンプルにすることができるため、コスト低減を図ることができる。
次に第2変形例について説明する。
図10は、本発明の第2変形例の弾性部材69およびその周辺を示した模式図である。
図10における各部材の姿勢は、図4と一致している。
図10を参照して、第2変形例の弾性部材69は、本実施形態の一対の弾性部材41の上下方向Zにおける両端部44同士を一対の板状部72で繋いだものである。弾性部材69は、嵌め込み穴34の内周面を縁取るように嵌め込み穴34内に配置されている。移動側ツース部材37は、軸方向Xおよび上下方向Zにおいて弾性部材69よりも内側に配置されている。この場合の弾性部材69は、嵌め込み穴34において軸方向Xの両側および上下方向Zの両側に設けられている。
この発明は、以上に説明した実施形態に限定されるものではなく、請求項記載の範囲内において種々の変更が可能である。
たとえば、弾性部材41は、皿バネやコイルばね等であってもよい。
また、第1ツース39と第2ツース57とが噛合した状態から操作レバー48を回動させたとき、第1ツース39と第2ツース57との噛合を確実に解除するために、固定側ツース部材47と移動側ツース部材37との間に解除用スプリングを設けてもよい。この解除用スプリングは、固定側ツース部材47および移動側ツース部材37の一方を他方から離間するように付勢する。
また、弾性部材41は、嵌め込み穴34内において軸方向Xにおける移動側ツース部材37の両側に少なくとも設けられていればよい。
また、受け部36は、左側の側板31や移動側ツース部材37に対して一体的に設けられなくてもよい。たとえば、受け部36は、軸方向Xに延びる柱状であって、左側の側板31の側面に設けられた溝等に嵌め込まれる等の手法によりサポートブラケット24に固定されていてもよいし、嵌め込み穴34に嵌め込まれることでサポートブラケット24に支持されていてもよい。
また、テレスコ規制部66は、側板31やアッパーコラム15に設けられていてもよい。要は、テレスコ規制部66は、テレスコ調整時に、アッパーコラム15と一体的に挿通軸49に対して軸方向Xに相対移動する部位に設けられていればよい。
また、移動側ツース部材37は、一対の側板31の両方に設けられていてもよい。この場合、固定側ツース部材47は、レバーロック状態で固定側ツース部材47の第2ツース57が移動側ツース部材37の第1ツース39と噛合可能となるように、左方Y2側の側板28とカム51との間および右方Y1側の側板28とナット60との間に介在されている。
1…ステアリング装置、2…操舵部材、3…ステアリングシャフト、4…ステアリングコラム、15…アッパーコラム、16…ロアーコラム、24…サポートブラケット、34…嵌め込み穴、36…受け部、37…移動側ツース部材、38…歯、39…第1ツース、40…長穴、41…弾性部材、45…遊び、46…ロック・解除機構、47…固定側ツース部材、49…挿通軸、55…回転規制部、56…歯、57…第2ツース、65…噛合部分、66…テレスコ規制部、69…弾性部材、F…押圧力、S1…距離、X…軸方向、Y…左右方向

Claims (5)

  1. 一端に操舵部材が連結され、軸方向に伸縮可能なステアリングシャフトと、
    前記操舵部材側のアッパーコラムおよび前記操舵部材側とは反対側のロアーコラムを有し、前記アッパーコラムおよびロアーコラムによって前記ステアリングシャフトを回転可能に支持していて、前記ロアーコラムに対する前記アッパーコラムの前記軸方向への相対移動によって前記操舵部材のテレスコ調整が可能なステアリングコラムと、
    前記軸方向に延びる嵌め込み穴が形成され、前記アッパーコラムに固定されたサポートブラケットと、
    前記軸方向に沿ってラック状に並ぶ複数の歯で構成された第1ツースを有し、前記嵌め込み穴に対して前記軸方向に遊びを持って嵌め込まれ、所定の中立位置から前記軸方向における両側へ弾性的に変位可能な移動側ツース部材と、
    前記第1ツースに噛合可能な歯を有する第2ツースを有し、前記移動側ツース部材に対して、前記軸方向に対する直交方向から対向配置される固定側ツース部材と、
    前記固定側ツース部材を前記直交方向に移動させて前記移動側ツース部材に対して接離させることによって、前記第2ツースを前記第1ツースに噛合させて前記アッパーコラムを前記軸方向においてロックしたり、前記第1ツースと前記第2ツースとの噛合を解除して前記アッパーコラムのロックを解除したりするロック・解除機構と、
    を含み、
    前記移動側ツース部材において前記第1ツースを避けた位置には、前記移動側ツース部材を前記直交方向に貫通し、前記軸方向に長手の長穴が形成されていて、
    前記ロック・解除機構は、前記直交方向に延びて前記長穴および嵌め込み穴に対して挿通され、前記固定側ツース部材に連結されて前記アッパーコラムに対して前記軸方向に相対移動可能な挿通軸を含み、
    前記サポートブラケットが、前記嵌め込み穴が形成された側板と、テレスコ調整における前記挿通軸の前記軸方向における相対移動量を所定範囲内に規制するテレスコ規制部が設けられ前記側板に連結された連結部とを含むことを特徴とする、ステアリング装置。
  2. 前記嵌め込み穴内において前記軸方向における前記移動側ツース部材の両側に少なくとも設けられ、前記移動側ツース部材を前記中立位置へ戻すように弾性的に支持する弾性部材を含むことを特徴とする、請求項1記載のステアリング装置。
  3. 前記固定側ツース部材が前記挿通軸まわりに回転することを規制する回転規制部を含むことを特徴とする、請求項1または2に記載のステアリング装置。
  4. 前記第1ツースと前記第2ツースとが噛合するときにおける前記固定側ツース部材からの押圧力を、前記第1ツースと前記第2ツースとの噛合部分の代わりに受け止める受け部を含むことを特徴とする、請求項1〜のいずれか一項に記載のステアリング装置。
  5. 前記受け部は、前記移動側ツース部材とは別に設けられていることを特徴とする、請求項4に記載のステアリング装置。
JP2014022531A 2014-02-07 2014-02-07 ステアリング装置 Active JP6351007B2 (ja)

Priority Applications (4)

Application Number Priority Date Filing Date Title
JP2014022531A JP6351007B2 (ja) 2014-02-07 2014-02-07 ステアリング装置
US14/612,803 US9376135B2 (en) 2014-02-07 2015-02-03 Steering device
EP15153991.3A EP2905200B1 (en) 2014-02-07 2015-02-05 Steering device
CN201510064700.1A CN104828125B (zh) 2014-02-07 2015-02-06 转向装置

Applications Claiming Priority (1)

Application Number Priority Date Filing Date Title
JP2014022531A JP6351007B2 (ja) 2014-02-07 2014-02-07 ステアリング装置

Publications (2)

Publication Number Publication Date
JP2015147542A JP2015147542A (ja) 2015-08-20
JP6351007B2 true JP6351007B2 (ja) 2018-07-04

Family

ID=52446297

Family Applications (1)

Application Number Title Priority Date Filing Date
JP2014022531A Active JP6351007B2 (ja) 2014-02-07 2014-02-07 ステアリング装置

Country Status (4)

Country Link
US (1) US9376135B2 (ja)
EP (1) EP2905200B1 (ja)
JP (1) JP6351007B2 (ja)
CN (1) CN104828125B (ja)

Families Citing this family (14)

* Cited by examiner, † Cited by third party
Publication number Priority date Publication date Assignee Title
WO2013094105A1 (ja) * 2011-12-21 2013-06-27 日産自動車株式会社 ステアリング装置
FR3027862B1 (fr) * 2014-10-30 2016-11-25 Zf Systemes De Direction Nacam Sas Colonne de direction de vehicule comprenant une cale a cremaillere
JP6536887B2 (ja) * 2015-07-08 2019-07-03 株式会社ジェイテクト ステアリング装置
JP6635297B2 (ja) * 2016-02-19 2020-01-22 株式会社ジェイテクト ステアリング装置
GB201604974D0 (en) 2016-03-23 2016-05-04 Trw Das A S A steering column assembly
KR102509437B1 (ko) * 2016-04-28 2023-03-14 에이치엘만도 주식회사 자동차 조향장치
JP6689692B2 (ja) * 2016-07-12 2020-04-28 株式会社ジェイテクト 締付装置およびステアリング装置
US10160473B2 (en) * 2016-09-13 2018-12-25 Steering Solutions Ip Holding Corporation Steering column decoupling system
FR3078311B1 (fr) * 2018-02-26 2022-02-11 Jtekt Europe Sas Piece inferieure et element de blocage d’un element support d’une colonne de direction
DE112019001599T5 (de) * 2018-03-27 2020-12-24 Nsk Ltd. Lenkvorrichtung
US11325636B2 (en) * 2020-02-14 2022-05-10 Jtekt Corporation Steering column device
US11820422B2 (en) * 2020-03-03 2023-11-21 Steering Solutions Ip Holding Corporation Rake lock mechanism for steering column
DE102021207887B3 (de) * 2021-07-22 2022-02-03 Thyssenkrupp Ag Lenksäule für ein Kraftfahrzeug
KR102690892B1 (ko) 2022-05-16 2024-08-05 주식회사 지디아이앤디 완력기

Family Cites Families (24)

* Cited by examiner, † Cited by third party
Publication number Priority date Publication date Assignee Title
FR2737172B1 (fr) * 1995-07-26 1997-10-10 Nacam Systeme de guidage et de verrouillage pour colonne de direction de vehicules automobile
JP2951883B2 (ja) 1996-03-21 1999-09-20 富士機工株式会社 ロック機構の噛合同期構造
US6419269B1 (en) * 1999-09-20 2002-07-16 Delphi Technologies Locking system for adjustable position steering column
JP4147579B2 (ja) * 2002-01-17 2008-09-10 日本精工株式会社 ステアリング装置
DE10234514C5 (de) * 2002-07-30 2012-06-14 Zf Lenksysteme Nacam Gmbh Positionseinstellvorrichtung für Kraftfahrzeuglenksäulen
US6792824B2 (en) * 2002-08-24 2004-09-21 Daimlerchrysler Corporation Tilt-telescope steering column
DE10240235A1 (de) 2002-08-28 2004-03-11 Thyssenkrupp Presta Ag Verriegelungsvorrichtung für zwei relativ zueinander verschiebbar gelagerte Bauteile
JP4938386B2 (ja) * 2006-08-30 2012-05-23 株式会社ジェイテクト 可動式ステアリング装置
JP4932388B2 (ja) * 2006-08-30 2012-05-16 株式会社ジェイテクト 可動式ステアリング装置
JP2008081026A (ja) * 2006-09-28 2008-04-10 Fuji Kiko Co Ltd 車両用ステアリングコラム装置のロック構造
JP2008239085A (ja) 2007-03-28 2008-10-09 Fuji Kiko Co Ltd ステアリングコラム装置のロック構造
FR2915950B1 (fr) * 2007-05-11 2009-07-03 Zf Systemes De Direction Nacam Sas Dispositif de maintien en position a absorption d'energie d'une colonne de direction de vehicule automobile
GB0719971D0 (en) 2007-10-12 2007-11-21 Trw Ltd Clamp assembly for a steering column assembly
JP2010269629A (ja) * 2009-05-19 2010-12-02 Jtekt Corp 車両用ステアリング装置
JP5230527B2 (ja) * 2009-05-27 2013-07-10 富士機工株式会社 ステアリングコラム装置
JP5328695B2 (ja) * 2010-02-26 2013-10-30 富士機工株式会社 ステアリングコラム装置
JP5614290B2 (ja) * 2011-01-06 2014-10-29 株式会社ジェイテクト ステアリング装置
FR2979881B1 (fr) * 2011-09-14 2013-11-22 Zf Systemes De Direction Nacam Sas Colonne de direction comprenant un mecanisme de blocage en profondeur ameliore.
US20130174684A1 (en) * 2012-01-11 2013-07-11 International Truck Intellectual Property Company, Llc Steering column adjustment
JP2014040181A (ja) * 2012-08-22 2014-03-06 Jtekt Corp ステアリング装置
JP5999767B2 (ja) * 2012-12-27 2016-09-28 株式会社ジェイテクト ステアリング装置
JP6080008B2 (ja) * 2013-04-24 2017-02-15 株式会社ジェイテクト ステアリング装置
JP6288424B2 (ja) * 2014-01-08 2018-03-07 株式会社ジェイテクト ステアリング装置
JP2015157502A (ja) * 2014-02-21 2015-09-03 株式会社ジェイテクト ステアリング装置

Also Published As

Publication number Publication date
EP2905200B1 (en) 2017-03-22
JP2015147542A (ja) 2015-08-20
EP2905200A1 (en) 2015-08-12
US20150225009A1 (en) 2015-08-13
CN104828125A (zh) 2015-08-12
US9376135B2 (en) 2016-06-28
CN104828125B (zh) 2018-09-04

Similar Documents

Publication Publication Date Title
JP6351007B2 (ja) ステアリング装置
EP2594454B1 (en) Steering device
US9604663B2 (en) Steering system
US9840269B2 (en) Steering system
JP6283241B2 (ja) ステアリング装置
US9283984B2 (en) Steering column assembly
US9840270B2 (en) Steering system
US10479396B2 (en) Steering system
EP3000690A1 (en) Position adjusting-type steering device
JPWO2012035891A1 (ja) ステアリング装置
JP2014218228A (ja) ステアリング装置
US20200346680A1 (en) Steering column assembly
US9783221B2 (en) Steering system and tooth member
JP2020109002A (ja) ツース部材
JP2016060337A (ja) ステアリング装置
WO2023038013A1 (ja) ステアリングコラム装置
US7306259B2 (en) Lock for tilting and telescoping steering column
JP6440580B2 (ja) ステアリング装置
CN116803822A (zh) 转向装置
JP2014180908A (ja) ステアリングコラム装置
JP6661447B2 (ja) ステアリング装置
JP6511568B2 (ja) ステアリング装置
JP2018130995A (ja) ステアリング装置
JP2010241187A (ja) ステアリングコラム装置

Legal Events

Date Code Title Description
A621 Written request for application examination

Free format text: JAPANESE INTERMEDIATE CODE: A621

Effective date: 20161206

A131 Notification of reasons for refusal

Free format text: JAPANESE INTERMEDIATE CODE: A131

Effective date: 20171109

A521 Request for written amendment filed

Free format text: JAPANESE INTERMEDIATE CODE: A523

Effective date: 20171227

TRDD Decision of grant or rejection written
A01 Written decision to grant a patent or to grant a registration (utility model)

Free format text: JAPANESE INTERMEDIATE CODE: A01

Effective date: 20180510

A61 First payment of annual fees (during grant procedure)

Free format text: JAPANESE INTERMEDIATE CODE: A61

Effective date: 20180529

R150 Certificate of patent or registration of utility model

Ref document number: 6351007

Country of ref document: JP

Free format text: JAPANESE INTERMEDIATE CODE: R150

S533 Written request for registration of change of name

Free format text: JAPANESE INTERMEDIATE CODE: R313533

R350 Written notification of registration of transfer

Free format text: JAPANESE INTERMEDIATE CODE: R350

R250 Receipt of annual fees

Free format text: JAPANESE INTERMEDIATE CODE: R250

R250 Receipt of annual fees

Free format text: JAPANESE INTERMEDIATE CODE: R250