JP6324364B2 - コネクタのワイヤカバー - Google Patents

コネクタのワイヤカバー Download PDF

Info

Publication number
JP6324364B2
JP6324364B2 JP2015241790A JP2015241790A JP6324364B2 JP 6324364 B2 JP6324364 B2 JP 6324364B2 JP 2015241790 A JP2015241790 A JP 2015241790A JP 2015241790 A JP2015241790 A JP 2015241790A JP 6324364 B2 JP6324364 B2 JP 6324364B2
Authority
JP
Japan
Prior art keywords
hood
wire
connector
top surface
cover
Prior art date
Legal status (The legal status is an assumption and is not a legal conclusion. Google has not performed a legal analysis and makes no representation as to the accuracy of the status listed.)
Active
Application number
JP2015241790A
Other languages
English (en)
Other versions
JP2017107783A (ja
Inventor
旭 佐藤
旭 佐藤
加藤 晃央
晃央 加藤
祐介 日野田
祐介 日野田
Current Assignee (The listed assignees may be inaccurate. Google has not performed a legal analysis and makes no representation or warranty as to the accuracy of the list.)
Aisin AW Co Ltd
Yazaki Corp
Original Assignee
Aisin AW Co Ltd
Yazaki Corp
Priority date (The priority date is an assumption and is not a legal conclusion. Google has not performed a legal analysis and makes no representation as to the accuracy of the date listed.)
Filing date
Publication date
Application filed by Aisin AW Co Ltd, Yazaki Corp filed Critical Aisin AW Co Ltd
Priority to JP2015241790A priority Critical patent/JP6324364B2/ja
Priority to PCT/JP2016/086440 priority patent/WO2017099148A1/ja
Priority to CN201680064912.2A priority patent/CN108352654B/zh
Priority to US15/774,050 priority patent/US10153582B2/en
Publication of JP2017107783A publication Critical patent/JP2017107783A/ja
Application granted granted Critical
Publication of JP6324364B2 publication Critical patent/JP6324364B2/ja
Active legal-status Critical Current
Anticipated expiration legal-status Critical

Links

Images

Classifications

    • HELECTRICITY
    • H01ELECTRIC ELEMENTS
    • H01RELECTRICALLY-CONDUCTIVE CONNECTIONS; STRUCTURAL ASSOCIATIONS OF A PLURALITY OF MUTUALLY-INSULATED ELECTRICAL CONNECTING ELEMENTS; COUPLING DEVICES; CURRENT COLLECTORS
    • H01R13/00Details of coupling devices of the kinds covered by groups H01R12/70 or H01R24/00 - H01R33/00
    • H01R13/58Means for relieving strain on wire connection, e.g. cord grip, for avoiding loosening of connections between wires and terminals within a coupling device terminating a cable
    • H01R13/5804Means for relieving strain on wire connection, e.g. cord grip, for avoiding loosening of connections between wires and terminals within a coupling device terminating a cable comprising a separate cable clamping part
    • H01R13/5808Means for relieving strain on wire connection, e.g. cord grip, for avoiding loosening of connections between wires and terminals within a coupling device terminating a cable comprising a separate cable clamping part formed by a metallic element crimped around the cable
    • HELECTRICITY
    • H01ELECTRIC ELEMENTS
    • H01RELECTRICALLY-CONDUCTIVE CONNECTIONS; STRUCTURAL ASSOCIATIONS OF A PLURALITY OF MUTUALLY-INSULATED ELECTRICAL CONNECTING ELEMENTS; COUPLING DEVICES; CURRENT COLLECTORS
    • H01R13/00Details of coupling devices of the kinds covered by groups H01R12/70 or H01R24/00 - H01R33/00
    • H01R13/58Means for relieving strain on wire connection, e.g. cord grip, for avoiding loosening of connections between wires and terminals within a coupling device terminating a cable
    • HELECTRICITY
    • H01ELECTRIC ELEMENTS
    • H01RELECTRICALLY-CONDUCTIVE CONNECTIONS; STRUCTURAL ASSOCIATIONS OF A PLURALITY OF MUTUALLY-INSULATED ELECTRICAL CONNECTING ELEMENTS; COUPLING DEVICES; CURRENT COLLECTORS
    • H01R13/00Details of coupling devices of the kinds covered by groups H01R12/70 or H01R24/00 - H01R33/00
    • H01R13/46Bases; Cases
    • H01R13/502Bases; Cases composed of different pieces
    • HELECTRICITY
    • H01ELECTRIC ELEMENTS
    • H01RELECTRICALLY-CONDUCTIVE CONNECTIONS; STRUCTURAL ASSOCIATIONS OF A PLURALITY OF MUTUALLY-INSULATED ELECTRICAL CONNECTING ELEMENTS; COUPLING DEVICES; CURRENT COLLECTORS
    • H01R13/00Details of coupling devices of the kinds covered by groups H01R12/70 or H01R24/00 - H01R33/00
    • H01R13/46Bases; Cases
    • H01R13/52Dustproof, splashproof, drip-proof, waterproof, or flameproof cases
    • H01R13/5213Covers
    • HELECTRICITY
    • H01ELECTRIC ELEMENTS
    • H01RELECTRICALLY-CONDUCTIVE CONNECTIONS; STRUCTURAL ASSOCIATIONS OF A PLURALITY OF MUTUALLY-INSULATED ELECTRICAL CONNECTING ELEMENTS; COUPLING DEVICES; CURRENT COLLECTORS
    • H01R13/00Details of coupling devices of the kinds covered by groups H01R12/70 or H01R24/00 - H01R33/00
    • H01R13/58Means for relieving strain on wire connection, e.g. cord grip, for avoiding loosening of connections between wires and terminals within a coupling device terminating a cable
    • H01R13/5804Means for relieving strain on wire connection, e.g. cord grip, for avoiding loosening of connections between wires and terminals within a coupling device terminating a cable comprising a separate cable clamping part
    • H01R13/5812Means for relieving strain on wire connection, e.g. cord grip, for avoiding loosening of connections between wires and terminals within a coupling device terminating a cable comprising a separate cable clamping part the cable clamping being achieved by mounting the separate part on the housing of the coupling device
    • HELECTRICITY
    • H01ELECTRIC ELEMENTS
    • H01RELECTRICALLY-CONDUCTIVE CONNECTIONS; STRUCTURAL ASSOCIATIONS OF A PLURALITY OF MUTUALLY-INSULATED ELECTRICAL CONNECTING ELEMENTS; COUPLING DEVICES; CURRENT COLLECTORS
    • H01R13/00Details of coupling devices of the kinds covered by groups H01R12/70 or H01R24/00 - H01R33/00
    • H01R13/44Means for preventing access to live contacts
    • H01R13/447Shutter or cover plate
    • HELECTRICITY
    • H01ELECTRIC ELEMENTS
    • H01RELECTRICALLY-CONDUCTIVE CONNECTIONS; STRUCTURAL ASSOCIATIONS OF A PLURALITY OF MUTUALLY-INSULATED ELECTRICAL CONNECTING ELEMENTS; COUPLING DEVICES; CURRENT COLLECTORS
    • H01R13/00Details of coupling devices of the kinds covered by groups H01R12/70 or H01R24/00 - H01R33/00
    • H01R13/58Means for relieving strain on wire connection, e.g. cord grip, for avoiding loosening of connections between wires and terminals within a coupling device terminating a cable
    • H01R13/5837Means for relieving strain on wire connection, e.g. cord grip, for avoiding loosening of connections between wires and terminals within a coupling device terminating a cable specially adapted for accommodating various sized cables
    • HELECTRICITY
    • H01ELECTRIC ELEMENTS
    • H01RELECTRICALLY-CONDUCTIVE CONNECTIONS; STRUCTURAL ASSOCIATIONS OF A PLURALITY OF MUTUALLY-INSULATED ELECTRICAL CONNECTING ELEMENTS; COUPLING DEVICES; CURRENT COLLECTORS
    • H01R13/00Details of coupling devices of the kinds covered by groups H01R12/70 or H01R24/00 - H01R33/00
    • H01R13/62Means for facilitating engagement or disengagement of coupling parts or for holding them in engagement
    • H01R13/629Additional means for facilitating engagement or disengagement of coupling parts, e.g. aligning or guiding means, levers, gas pressure electrical locking indicators, manufacturing tolerances

Landscapes

  • Details Of Connecting Devices For Male And Female Coupling (AREA)

Description

本発明はコネクタのワイヤカバー、特に、コネクタに装着され、コネクタから引き出されるワイヤの引き出し方向を規制するコネクタのワイヤカバーに関する。
従来、コネクタから引き出される電線(「ワイヤ」に同じ)の引き出し方向を規制する電線カバー(「ワイヤカバー」に同じ)として、電線カバーの電線導出口の孔縁部から断面略門形の電線固定部を突設させ、電線固定部には、電線を束ねる結束バンドが挿通可能な挿通孔を一対設けた発明が開示されている(例えば、特許文献1参照)。
特開平2002−343497号公報(第2−3頁、図1)
特許文献1に開示された発明は、電線の本数や外径に応じて、結束バンドの巻回経路、すなわち結束バンドが通過する挿通孔を適宜選択することができるため、引き出される電線の本数や外径に応じて選択された挿通孔を通過した結束バンドは、電線の本数や外径に応じて、電線を固定部に固定することができる。
しかしながら、バンド部とバンド部が抜け出し不可能に貫通するバンド結束孔を具備するヘッド部とを有する結束バンドを結束する際、バンド部を挿通孔に挿通すると共に、バンド部をバンド結束孔に挿入する必要があるため、取り付ける作業が煩雑であるという問題があった。
また、結束バンドを結束する際、すなわち、バンド部をバンド結束孔に挿入して締め上げる際、ヘッド部を押し当てる部位がないため、結束作業が不安定になり、結束バンドを結束する作業性が悪いという問題と共に、結束バンドの締め上げが不十分な場合には、電線を電線固定部に確実に固定することができないという問題があった。
本発明は、このような状況に鑑みてなされたものであり、結束バンドを容易かつ安定して結束することを可能にし、結束バンドの締め上げを十分にして、電線を電線カバーに確実に固定することができる、コネクタのワイヤカバーを提供することにある。
本発明に係るコネクタのワイヤカバーは、ワイヤの先端に圧着端子を具備するコネクタ端子が挿入されるコネクタに装着され、前記ワイヤのワイヤ引き出し方向を規制する、コネクタのワイヤカバーであって、
前記コネクタに装着された際、前記コネクタに対向する開口したコネクタ対向開口面および前記ワイヤ引き出し方向になる開口したワイヤ引き出し方向開口面と、
前記コネクタ対向開口面に対向したフード天面と、
前記フード天面の前記ワイヤ引き出し方向に略平行なフード第1稜線およびフード第2稜線にそれぞれ連続し、前記ワイヤ引き出し方向に略平行なフード第1側面およびフード第2側面とを有し、
前記フード第1側面には、前記ワイヤ引き出し開口面側のフード第1側面先端縁から所定の位置に、前記コネクタ対向開口面側のフード第1側面から前記フード第1稜線に向かったフード側面切欠溝が形成され、
前記フード第2側面における前記ワイヤ引き出し開口面寄りの所定の範囲が欠損して、フード側面欠損部分が形成され、
前記フード天面における前記ワイヤ引き出し開口面寄りで前記フード第2側面寄りの所定の範囲が欠損して、前記フード側面欠損部分に連続したフード天面欠損部分が形成されていることを特徴とする。
また、本発明に係るコネクタのワイヤカバーは、前記フード天面の前記コネクタ対向開口面とは反対側の面に、前記ワイヤ引き出し開口面側のフード天板先端縁から所定の位置に、前記フード天面先端縁に平行なフード天面リブが形成されていることを特徴とする。
また、本発明に係るコネクタのワイヤカバーは、前記フード天面の前記ワイヤ引き出し開口面側のフード天面先端縁から所定の幅の範囲が前記フード側面欠損部分に向かって延長され、前記フード天面欠損部分に前記フード側面欠損部分に向かったフード天面切欠溝が形成されていることを特徴とする。
さらに、本発明に係るコネクタのワイヤカバーは、可撓性を具備するバンド部と、前記バンド部が抜け出し不可能に貫通する結束孔を具備するヘッド部とを有する結束バンドの前記バンド部が、前記フード側面切欠溝に案内されると共に、前記フード側面欠損部分および前記フード天面欠損部分を通過し、かつ、前記ヘッド部が前記フード第1側面の前記フード側面切欠溝の周囲に当接することを特徴とする。
(a)本発明によれば、バンド部およびヘッド部を具備する結束バンドは、バンド部の一部がフード側面切欠溝に案内され、フード側面欠損部分およびフード天面欠損部分を通過した状態で、コネクタに取り付けられるため、取り付けが容易で、結束バンドの取り付け作業が迅速になる。
(b)また、ヘッド部をフード第1側面のフード側面切欠溝の周囲に押し当てて、バンド部を締め上げることが可能になる。したがって、結束バンドのズレが防止され、結束バンドの締め上げ作業は安定になり、十分に締め上げられた結束バンドによってワイヤはワイヤカバーに確実に固定される。
(c)また、バンド部は可撓性を有し、フード側面切欠溝、フード側面欠損部分およびフード天面欠損部分を通過してワイヤに直接当接するから、引き出されるワイヤの本数に左右されることなく、ワイヤは結束バンドによってワイヤカバーに確実に固定される。
(d)さらに、結束バンドのバンド部はフード側面欠損部分およびフード天面欠損部分を通過するから、結束バンドのバンド部はフード第1側面寄りの位置に納まって、フード第2側面からフード第1側面とは反対の方向に突出することがない。したがって、フード第2側面に沿って、突出した物のない空間が形成される。
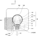
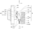
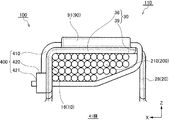
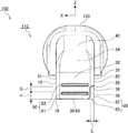
本発明の実施の形態1に係るコネクタのワイヤカバーを説明するものであって、装着対象となる部材(コネクタ等)を分離して示す斜視図である。 本発明の実施の形態1に係るコネクタのワイヤカバーを説明するものであって、装着対象となる部材(コネクタ等)への装着状況を説明する斜視図である。 本発明の実施の形態1に係るコネクタのワイヤカバーを説明する平面図である。 本発明の実施の形態1に係るコネクタのワイヤカバーを説明する正面図である。 本発明の実施の形態1に係るコネクタのワイヤカバーを説明する側面図である。 本発明の実施の形態1に係るコネクタのワイヤカバーを説明する斜視図である。 本発明の実施の形態1に係るコネクタのワイヤカバーを説明する一部を拡大して示す斜視図である。 本発明の実施の形態1に係るコネクタのワイヤカバーを説明するものであって、取り付けられる結束バンドを示す斜視図である。 本発明の実施の形態1に係るコネクタのワイヤカバーを説明するものであって、結束バンドの取り付け状態を示す平面図である。 本発明の実施の形態1に係るコネクタのワイヤカバーを説明するものであって、結束バンドの取り付け状態を示す側面図である。 本発明の実施の形態1に係るコネクタのワイヤカバーを説明するものであって、結束バンドの取り付け状態を示す一部を拡大した斜視図である。 本発明の実施の形態1に係るコネクタのワイヤカバーを説明するものであって、結束バンドの取り付け状態(30極)における一部を拡大して示す正面図である。 本発明の実施の形態1に係るコネクタのワイヤカバーを説明するものであって、結束バンドの取り付け状態(41極)における一部を拡大して示す正面図である。 本発明の実施の形態1に係るコネクタのワイヤカバーを説明するものであって、使用状態を示す平面図である。 本発明の実施の形態1に係るコネクタのワイヤカバーを説明するものであって、使用状態を示す側面図である。 本発明の実施の形態1に係るコネクタのワイヤカバーを説明するものであって、使用状態を示す斜視図である。 本発明の実施の形態2に係るコネクタのワイヤカバーを説明する平面図である。 本発明の実施の形態2に係るコネクタのワイヤカバーの変形例を説明する斜視図である。
[実施の形態1]
以下、発明を実施するための形態(以下「実施の形態1」と称す)を、図面を参照しつつ説明する。なお、本発明は図示された形態に限定されるものではない。また、図面の煩雑さを避けるため、一部の部位の記載あるいは一部の符号の記載を省略する場合がある。
(コネクタ)
図1および図2は本発明の実施の形態1に係るコネクタのワイヤカバーを説明するものであって、図1は装着対象となる部材(コネクタ等)を分離して示す斜視図、図2は装着対象となる部材(コネクタ等)への装着状況を説明する斜視図である。
図1および図2において、コネクタのワイヤカバー(以下「ワイヤカバー」と称す)100は、コネクタ300に装着される。
コネクタ300は、メスコネクタハウジング310と、メスコネクタハウジング310を収納したオスコネクタハウジング320とからなる。
メスコネクタハウジング310にはコネクタ端子200が挿入される。
コネクタ端子200は、ワイヤ210とワイヤ210の先端に設置された圧着端子220とを具備し、コネクタ端子200のワイヤ210の引き出し方向(太い矢印にて示す。以下「ワイヤ引き出し方向」と称す)101は、ワイヤカバー100によって規制される。
以下の説明の便宜上、コネクタ端子200のメスコネクタハウジング310への挿入方向(太い矢印にて示す。以下「コネクタ端子挿入方向」と称す)201の反対方向、すなわち、メスコネクタハウジング310のオスコネクタハウジング320への挿入方向(太い矢印にて示す。以下「ハウジング挿入方向」と称す)301の反対方向を「Y方向」と称す。
また、ワイヤ引き出し方向101の反対方向を「Z方向」と称し、Y方向およびZ方向に垂直な方向を「X方向」と称す。なお、ワイヤ引き出し方向101はワイヤカバー100のメスコネクタハウジング310への装着方向に同じである。
(メスコネクタハウジング)
メスコネクタハウジング310は略直方体であって、複数のコネクタ端子収納室312が設けられ、それぞれにコネクタ端子200に挿入される。そして、対向する一対の外面(X方向の面および−X方向の面)にそれぞれ、突出した位置決め突起311が形成され、位置決め突起311が形成されていない外面(Z方向の面)に、進退可能に突出した係止突起313が形成されている。
(オスコネクタハウジング)
オスコネクタハウジング320は外面に突出した鍔状のオスコネクタフランジ325を具備する略円筒体であって、メスコネクタハウジング310を収納する収納部(図示しない)を具備している。
そして、外面の対向する位置(X方向の位置および−X方向の位置)にそれぞれ、メスコネクタハウジング310の位置決め突起311が侵入する位置決め溝321が形成され、位置決め溝321を結ぶ仮想線に垂直な位置(Z方向の位置)に、メスコネクタハウジング310の係止突起313が係止する係止孔323が形成されている。
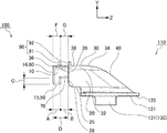
(ワイヤカバー)
図3〜図7は本発明の実施の形態1に係るコネクタのワイヤカバーを説明するものであって、図3は平面図、図4は正面図、図5は側面図、図6は斜視図、図7は一部を拡大して示す斜視図である。なお、説明の便宜上、図1において定義した装着時の方向(X方向、Y方向、Z方向)を付記する。
図1〜図7において、ワイヤカバー100は、フード110と、フード110に連続したカバーフランジ120と、カバーフランジ120に設けられたカバー係止部130とを具備している。以下、それぞれについて説明する。
(フード)
フード110は、開口したコネクタ対向開口面50(−Y方向の面に同じ)および開口したワイヤ引き出し開口面60(−Z方向の面に同じ)を具備する略箱状であって、フード110がコネクタ300に装着された際、コネクタ対向開口面50はオスコネクタハウジング320に対向し、ワイヤ引き出し開口面60からワイヤ引き出し方向101に向けてワイヤ210が引き出される(図10参照)。
そして、フード110はコネクタ対向開口面50に対向したフード天面30(Y方向の面に同じ)を具備している。フード天面30は、ワイヤ引き出し方向101に平行な断面略円弧状のフード第1稜線31およびフード第2稜線32と、ワイヤ引き出し方向101に垂直な断面略円弧状のフード後稜線34と、ワイヤ引き出し開口面60側のフード天面先端縁36とを具備する略矩形状である。
また、フード110は、フード第1稜線31およびフード第2稜線32にそれぞれ滑らかに連続し、ワイヤ引き出し方向101に平行な(Y−Z面に平行な)フード第1側面10およびフード第2側面20と、フード後稜線34、フード第1側面10およびフード第2側面20に滑らかに連続し、コネクタ対向開口面50から離れる程、ワイヤ引き出し開口面60に近づくように傾斜したフード後斜面40とを具備している。
そして、後記するフード側面切欠溝70がフード第1側面10に形成され、後記するフード欠損面80がフード第2側面20とフード天面30とに跨がって形成されているため、フード110の形状は非対称になっている。
なお、以上は、フード天面30がコネクタ対向開口面50に平行な平板状で、フード天面30等にフード後斜面40が連続しているが、本発明はこれに限定されるものではない。例えば、フード110がフード後斜面40やフード天面リブ90を具備しなくてもよい。あるいは、フード天面30がアーチ状(円筒または円錐台の一部)であったり、フード天面30がコネクタ対向開口面50に対して平行でなかったりしてもよい。
(フード側面切欠溝)
フード第1側面10には、ワイヤ引き出し開口面60側の端縁(フード天面先端縁36と同じ面内に位置している面に同じ。以下「フード第1側面先端縁」と称す。)16からフード後斜面40方向(Z方向)に距離Aの位置から幅Bで、コネクタ対向開口面50側の側縁(以下「フード第1側面側縁」と称す)15からフード第1稜線31に向かって(Y方向に向かって)深さCである矩形状のフード側面切欠溝70が形成されている。
なお、フード側面切欠溝70は、後記する結束バンド400を構成するバンド部410が通過可能で結束バンド400を構成するヘッド部420が通過不可能な大きさになっている(図8参照)。
(フード欠損面)
フード第2側面20のワイヤ引き出し開口面60寄りの距離Dの範囲が欠損し、フード側面欠損部分(図3および図6において二点鎖線にて模式的に示す)82が形成されている。
すなわち、フード第2側面20のフード側面欠損部分82側の端縁(ワイヤ引き出し開口面60側の端縁に同じ。以下「フード第2側面欠損端縁」と称す)28は、ワイヤ引き出し開口面60にはなく、フード天面先端縁36(フード第1側面先端縁16に同じ)よりもフード後斜面40に近い位置にある。
また、フード天面30には、フード天面先端縁36からZ方向に距離Dで、フード第2側面20からX方向に距離Eの範囲が欠損し、フード天面欠損部分(図3および図6において二点鎖線にて模式的に示す)83が形成されている。
そして、フード天面先端縁36に平行なフード天面欠損部分83を形成する端縁を「フード天面欠損端縁38」と、フード天面先端縁36に垂直なフード天面欠損部分83を形成する側縁を「フード天面欠損側縁39」と称する。なお、フード天面欠損側縁39はフード第2稜線32に位置する場合がある。
すなわち、フード天面欠損部分83とフード側面欠損部分82とは連続していて、両者によってフード欠損面80が形成されている。
このとき、フード欠損面80のZ方向の距離Dは、フード側面切欠溝70のフード第1側面先端縁16からの距離に相当する距離Aと幅Bの和に同じ(D=A+B)あるいは該和よりもわずかに大きく(D>(A+B))なっている。また、フード欠損面80のX方向の距離Eは、後記する結束バンド400を構成するバンド部410の厚さT(図8参照)よりも大きくなっている(E>T)。
(フード天面リブ)
また、フード天面30のコネクタ対向開口面50とは反対側の面(Y方向の面)に、フード天面先端縁36に平行なフード天面リブ90が設けられている。このとき、フード天面リブ90は、互いに平行に配置されたフード天面先端縁36側の先寄りフード天面リブ91とフード後稜線34側の後寄りフード天面リブ92とによって構成されている。
そして、先寄りフード天面リブ91の後寄りフード天面リブ92に対向した面のフード天面先端縁36からY方向の距離Fは、距離Aに略同じ(F≒A)で、先寄りフード天面リブ91と後寄りフード天面リブ92との互いに対向する面同士の間隔(Y方向の距離)Gは幅Bに略同じ(G≒B)になっている。したがって、後記する結束バンド400を構成するバンド部410(図8参照)は、フード側面切欠溝70に侵入して、フード天面先端縁36に平行な状態で、先寄りフード天面リブ91と後寄りフード天面リブ92とに挟まれた範囲に案内され、さらに、フード欠損面80を通過することになる。
なお、本発明におけるフード天面リブ90は、先寄りフード天面リブ91および後寄りフード天面リブ92の両方を具備するものに限定されるものではなく、何れか一方を具備するものであってもよい。さらに、バンド部410はフード側面切欠溝70において案内されるため、フード天面リブ90を撤去してもよい。
(カバーフランジ)
カバーフランジ120は、オスコネクタハウジング320の外郭に略同じ略円弧状部分を具備する馬蹄形であって、オスコネクタハウジング320の端面324に当接するカバーフランジ端面121と、カバーフランジ端面121における対向した側縁(X方向の側縁および−X方向の側縁)にそれぞれ設けられたカバー係止部130とを具備している。
カバー係止部130は、オスコネクタハウジング320の位置決め溝321に侵入して、同じく位置決め溝321に侵入しているメスコネクタハウジング310の位置決め突起311に係止する。
すなわち、カバー係止部130は、カバーフランジ端面121に垂直な(Y−Z面に平行な)カバー係止垂直部分131と、カバー係止垂直部分131の先端に連続して、カバーフランジ端面121に平行な(X−Z面に平行な)カバー係止平行部分132とを具備している。そして、カバーフランジ端面121、カバー係止垂直部分131およびカバー係止平行部分132の三者によって3方が包囲された空間に、メスコネクタハウジング310の位置決め突起311が侵入した状態になる(図9参照)。
(結束バンド)
図8は本発明の実施の形態1に係るコネクタのワイヤカバーを説明するものであって、取り付けられる結束バンドを示す斜視図である。なお、説明の便宜上、図1において定義した装着時の方向(X方向、Y方向、Z方向)を付記する。
図8において、結束バンド400は、可撓性を具備するバンド部410と、結束孔421が形成されたヘッド部420とを具備している。バンド部410には断面鋸歯状の凹凸(図示しない)が形成され、結束孔421には前記凹凸に係止して一方の方向に向かう移動を拘束する爪状の突起(図示しない)が形成されているから、バンド部410は、ヘッド部420とは反対側の先端から結束孔421に挿入可能であるものの、一旦挿入した後は、抜け出し不可能になる。
なお、バンド部410は図示しない爪状の突起における断面が、幅W(Z方向)および厚さT(X方向またはY方向)を具備する矩形になっている。
(結束バンドの取り付け状態)
図9〜図13は本発明の実施の形態1に係るコネクタのワイヤカバーを説明するものであって、図9は結束バンドの取り付け状態を示す平面図、図10は結束バンドの取り付け状態を示す側面図、図11は結束バンドの取り付け状態を示す一部を拡大した斜視図、図12は結束バンドの取り付け状態(30極)における一部を拡大して示す正面図、図13は結束バンドの取り付け状態(41極)における一部を拡大して示す正面図である。なお、説明の便宜上、図1において定義した装着時の方向(X方向、Y方向、Z方向)を付記する。
図9〜図13において、コネクタ300にワイヤカバー100が装着され、ワイヤカバー100からワイヤ引き出し方向101に引き出されたワイヤ210が、結束バンド400によってワイヤカバー100に固定されている。
メスコネクタハウジング310はオスコネクタハウジング320に収納され、前者の係止突起313が後者の係止孔323に係止し、前者の位置決め突起311が後者の位置決め溝321に侵入している。すなわち、メスコネクタハウジング310とオスコネクタハウジング320とは一体になっている。
そして、ワイヤカバー100のカバーフランジ端面121はオスコネクタハウジング320の端面324に当接し、カバー係止部130は、オスコネクタハウジング320の位置決め溝321に侵入している。このとき、カバーフランジ端面121、カバー係止垂直部分131およびカバー係止平行部分132の三者によって3方が包囲された空間に、メスコネクタハウジング310の位置決め突起311は位置し、カバー係止部130は図示しない固定手段によって位置決め突起311に、抜け出し不可能に固定されている。
また、コネクタ端子200のワイヤ210は、メスコネクタハウジング310から一旦Y方向に引き出された後、フード後斜面40またはフード天面30においてワイヤ引き出し方向101側(−Z方向)に曲げられ(図示しない)、フード第1側面10、フード天面30およびフード第2側面20によって案内され、ワイヤ引き出し開口面60からワイヤ引き出し方向101に引き出されている。
そして、結束バンド400を構成するバンド部410は、フード側面切欠溝70およびフード天面リブ90に案内され、フード欠損面80を通過した状態で、ワイヤ210をワイヤカバー100に固定している。このとき、結束バンド400を構成するヘッド部420は、フード第1側面10のフード側面切欠溝70の周囲に押し当てられ、バンド部410は締め上げられている。
(作用効果)
(a)前記のように、結束バンド400は、バンド部410がフード側面切欠溝70およびフード天面リブ90に案内された状態で、フード欠損面80を通過している。すなわち、フード110にはバンド部410を挿入するための挿通孔(特許文献1参照)に相当する孔がなく、バンド部410をフード110に巻き付けるだけで、取り付けることができるから、作業が容易で迅速になる。
(b)さらに、結束バンド400は、バンド部410がフード側面切欠溝70およびフード天面リブ90に案内されてズレが防止され、かつ、ヘッド部420はフード第1側面10のフード側面切欠溝70の周囲に押し当てられた安定した状態で、結束バンド400は締め上げられる。したがって、結束バンド400の結束作業は安定になって、結束バンド400は十分に締め上げられ、ワイヤ210はワイヤカバー100に確実に固定される。
(c)また、バンド部410は可撓性を具備し、フード欠損面80を通過可能であるから、引き出されるワイヤ210の本数に左右されることなく、ワイヤ210をワイヤカバー100に固定することができる。すなわち、ワイヤ210の本数が少ない場合(例えば30極)、バンド部410は正面視で略三角形を呈し(図12参照)、ワイヤ210の本数が多い場合(例えば41極)、バンド部410は正面視で略台形を呈し(図13参照)、それぞれの場合においてバンド部410を確実に締め上げることができる。
(d)さらに、フード欠損面80を構成するフード天面欠損部分83の欠損範囲は、フード第2稜線32の一部を含み、フード第2側面20からフード第1側面10方向に距離Eの範囲であって、距離Eはバンド部410の厚さTよりも大きい(E>T)。したがって、結束バンド400がワイヤ210をワイヤカバー100に固定した状態で、バンド部410はフード欠損面80を通過して、フード第2側面20からフード第1側面10寄りの位置に納まり、フード第2側面20からフード第1側面10とは反対の方向(−X方向)に突出することがない。このため、フード第2側面20に沿って、突出した物のない空間が形成される。
(使用状態)
図14〜図16は本発明の実施の形態1に係るコネクタのワイヤカバーを説明するものであって、図14は使用状態を示す平面図、図15は使用状態を示す側面図、図16は使用状態を示す斜視図である。なお、説明の便宜上、図1において定義した装着時の方向(X方向、Y方向、Z方向)を付記する。
図14〜図16において、コネクタ300は自動車のオートマチックトランスミッションケース(以下「A/M」と称す)500に取り付けられている。なお、図14〜図16では、A/M500の一部を矩形板にて模式的に示している。
すなわち、コネクタ300は、A/M500に設けられた設置用孔530を貫通し、図示しない固定手段によってA/M500に固定されている。そして、コネクタ300にワイヤカバー100が装着され、結束バンド400がワイヤ210をワイヤカバー100に固定している。
このとき、前記のように、容易な作業によって、ワイヤ引き出し方向101に引き出されたワイヤ210は結束バンド400によってワイヤカバー100に確実に固定されている。したがって、引き出されたワイヤ210と、A/M500のコネクタ300の周囲に配置された機器や部材(以下「周辺他部品900」と称す)との干渉が防止される。
さらに、バンド部410はフード欠損面80を通過して、フード第2側面20の外側に突出しないから、フード第2側面20に沿って突出した物のない空間(図14において模式的に破線にて囲んで示す。以下「周辺空間910」と称す)が形成されている。したがって、周辺空間910に周辺他部品900を配置することが可能になるため、周辺他部品900を配置する自由度が増す。
[実施の形態2]
さらに、発明を実施するための形態(以下「実施の形態2」と称す)を、図面を参照しつつ説明する。なお、実施の形態1と同じ部位または相当する部位については同じ名称および同じ符号を付し、一部の説明を省略する。
図17および図18は本発明の実施の形態2に係るコネクタのワイヤカバーを説明するものであって、図17は平面図、図18は変形例を示す斜視図である。
図17において、コネクタのワイヤカバー(以下「ワイヤカバー」と称す)600は、実施の形態1に示すワイヤカバー100におけるフード天面リブ90を撤去して、代わりに、フード天面欠損部分83にフード天面切欠溝84を設けたものである。
すなわち、フード天面30のコネクタ対向開口面50とは反対側の面には突出した部材がない。
そして、フード天面欠損部分83には、フード天面先端縁36からフード後斜面40方向(Z方向)に距離Fの位置から幅Gで、フード天面欠損側縁39からフード側面欠損部分82に向かって(−X方向に向かって)矩形状のフード天面切欠溝84が形成されている。つまり、フード天面30は、フード天面先端縁36に沿って幅Fの範囲がフード側面欠損部分82に向かって延長されている。
したがって、かかる延長部分を「フード天面延長部分85」と、フード天面延長部分85のフード天面先端縁36に垂直な縁を「フード天面延長側縁86」とそれぞれ称すと、フード天面切欠溝84はフード天面欠損部分83からフード天面延長部分85を除いた範囲である。なお、フード天面延長側縁86はフード第2稜線32を含む仮想面内に位置することがある。
また、フード天面切欠溝84の底を示すフード天面先端縁36に垂直な縁は、フード天面欠損側縁39であるから、フード天面切欠溝84の実質的な深さHは、フード天面欠損側縁39とフード天面延長側縁86との距離に同じであって、結束バンド400のバンド部410が−Z方向に移動不可能に係止するように設定されている。
(作用効果)
したがって、フード天面切欠溝84は、ワイヤカバー100(実施の形態1)におけるフード天面リブ90と同様にバンド部410を案内するから、ワイヤカバー600は、ワイヤカバー100と同様に前記作用効果(a)〜(d)を奏すると共に、フード天面リブ90に相当する部位を具備しないから、フード天面30のコネクタ対向開口面50とは反対の方向には、突出した物のない空間が形成される。
(変形例)
図18において、フード天面延長部分85はフード側面欠損部分82内にまで延長され、フード側面欠損部分82に、フード天面切欠溝84に連続したフード第2側面切欠溝87が形成されている。
このとき、フード天面延長部分85は、フード第1稜線31を含む仮想面に位置する範囲と、フード第2側面20を含む仮想面に位置する範囲とを有している。すなわち、フード第2側面切欠溝87はフード側面欠損部分82からフード天面延長部分85のフード第2側面20を含む仮想面に位置する範囲を除いた範囲である。
なお、フード天面延長側縁86はフード第2側面側縁25(フード第2側面20のコネクタ対向開口面50側の側縁に同じ)を含む仮想線上に位置していなくてもよい。
以上のように、本発明に係るコネクタのワイヤカバーは、結束バンドの結束作業が安定になってワイヤを確実に固定することができるから、可撓性を有する各種索体や各種管体の各種装置からの引き出し方向を規制するカバーとして広く利用することができる。
10:フード第1側面
15:フード第1側面側縁
16:フード第1側面先端縁
20:フード第2側面
25:フード第2側面側縁
28:フード第2側面欠損端縁
30:フード天面
31:フード第1稜線
32:フード第2稜線
34:フード後稜線
36:フード天面先端縁
38:フード天面欠損端縁
39:フード天面欠損側縁
40:フード後斜面
50:コネクタ対向開口面
60:ワイヤ引き出し開口面
70:フード側面切欠溝
80:フード欠損面
82:フード側面欠損部分
83:フード天面欠損部分
84:フード天面切欠溝
85:フード天面延長部分
86:フード天面延長側縁
87:フード第2側面切欠溝
90:フード天面リブ
91:先寄りフード天面リブ
92:後寄りフード天面リブ
100:コネクタのワイヤカバー(ワイヤカバー、実施の形態1)
101:ワイヤ引き出し方向
110:フード
120:カバーフランジ
121:カバーフランジ端面
130:カバー係止部
131:カバー係止垂直部分
132:カバー係止平行部分
200:コネクタ端子
201:コネクタ端子挿入方向
210:ワイヤ
220:圧着端子
300:コネクタ
301:ハウジング挿入方向
310:メスコネクタハウジング
311:位置決め突起
312:コネクタ端子収納室
313:係止突起
320:オスコネクタハウジング
321:位置決め溝
323:係止孔
324:端面
325:オスコネクタフランジ
400:結束バンド
410:バンド部
420:ヘッド部
421:結束孔
500:オートマチックトランスミッションケース(A/M)
530:設置用孔
600:コネクタのワイヤカバー(ワイヤカバー、実施の形態2)
900:周辺他部品
910:周辺空間

Claims (4)

  1. ワイヤの先端に圧着端子を具備するコネクタ端子が挿入されるコネクタに装着され、前記ワイヤのワイヤ引き出し方向を規制する、コネクタのワイヤカバーであって、
    前記コネクタに装着された際、前記コネクタに対向する開口したコネクタ対向開口面および前記ワイヤ引き出し方向になる開口したワイヤ引き出し方向開口面と、
    前記コネクタ対向開口面に対向したフード天面と、
    前記フード天面の前記ワイヤ引き出し方向に略平行なフード第1稜線およびフード第2稜線にそれぞれ連続し、前記ワイヤ引き出し方向に略平行なフード第1側面およびフード第2側面とを有し、
    前記フード第1側面には、前記ワイヤ引き出し開口面側のフード第1側面先端縁から所定の位置に、前記コネクタ対向開口面側のフード第1側面から前記フード第1稜線に向かったフード側面切欠溝が形成され、
    前記フード第2側面における前記ワイヤ引き出し開口面寄りの所定の範囲が欠損して、フード側面欠損部分が形成され、
    前記フード天面における前記ワイヤ引き出し開口面寄りで前記フード第2側面寄りの所定の範囲が欠損して、前記フード側面欠損部分に連続したフード天面欠損部分が形成されていることを特徴とするコネクタのワイヤカバー。
  2. 前記フード天面の前記コネクタ対向開口面とは反対側の面には、前記ワイヤ引き出し開口面側のフード天板先端縁から所定の位置に、前記フード天面先端縁に平行なフード天面リブが形成されていることを特徴とする請求項1記載のコネクタのワイヤカバー。
  3. 前記フード天面の前記ワイヤ引き出し開口面側のフード天面先端縁から所定の幅の範囲が前記フード側面欠損部分に向かって延長され、前記フード天面欠損部分に前記フード側面欠損部分に向かったフード天面切欠溝が形成されていることを特徴とする請求項1記載のコネクタのワイヤカバー。
  4. 可撓性を具備するバンド部と、前記バンド部が抜け出し不可能に貫通する結束孔を具備するヘッド部とを有する結束バンドの前記バンド部が、前記フード側面切欠溝に案内されると共に、前記フード側面欠損部分および前記フード天面欠損部分を通過し、かつ、前記ヘッド部が前記フード第1側面の前記フード側面切欠溝の周囲に当接することを特徴とする請求項1〜3の何れか一項に記載のコネクタのワイヤカバー。
JP2015241790A 2015-12-11 2015-12-11 コネクタのワイヤカバー Active JP6324364B2 (ja)

Priority Applications (4)

Application Number Priority Date Filing Date Title
JP2015241790A JP6324364B2 (ja) 2015-12-11 2015-12-11 コネクタのワイヤカバー
PCT/JP2016/086440 WO2017099148A1 (ja) 2015-12-11 2016-12-07 コネクタ用ワイヤカバー
CN201680064912.2A CN108352654B (zh) 2015-12-11 2016-12-07 连接器用导线罩
US15/774,050 US10153582B2 (en) 2015-12-11 2016-12-07 Wire cover for connector

Applications Claiming Priority (1)

Application Number Priority Date Filing Date Title
JP2015241790A JP6324364B2 (ja) 2015-12-11 2015-12-11 コネクタのワイヤカバー

Publications (2)

Publication Number Publication Date
JP2017107783A JP2017107783A (ja) 2017-06-15
JP6324364B2 true JP6324364B2 (ja) 2018-05-16

Family

ID=59014240

Family Applications (1)

Application Number Title Priority Date Filing Date
JP2015241790A Active JP6324364B2 (ja) 2015-12-11 2015-12-11 コネクタのワイヤカバー

Country Status (4)

Country Link
US (1) US10153582B2 (ja)
JP (1) JP6324364B2 (ja)
CN (1) CN108352654B (ja)
WO (1) WO2017099148A1 (ja)

Families Citing this family (8)

* Cited by examiner, † Cited by third party
Publication number Priority date Publication date Assignee Title
JP1604074S (ja) * 2017-07-20 2018-05-21
JP1604551S (ja) * 2017-07-20 2018-05-21
JP6947104B2 (ja) * 2018-03-30 2021-10-13 株式会社オートネットワーク技術研究所 カバー付きコネクタ
BE1026750B1 (de) * 2018-10-31 2020-06-04 Phoenix Contact Gmbh & Co Steckverbindereinrichtung mit zumindest einem Fixierteil zum Bereitstellen einer Zugentlastung oder Mantelfixierung
CN109586094B (zh) * 2018-11-29 2020-06-23 安徽江淮汽车集团股份有限公司 汽车线束插件
EP3920340B1 (de) * 2020-06-04 2025-10-29 Rosenberger Hochfrequenztechnik GmbH & Co. KG Betätigungsclip
JP7271498B2 (ja) * 2020-12-16 2023-05-11 矢崎総業株式会社 機器用コネクタ
JP7632147B2 (ja) * 2021-07-19 2025-02-19 住友電装株式会社 電線カバー及び配線部材

Family Cites Families (26)

* Cited by examiner, † Cited by third party
Publication number Priority date Publication date Assignee Title
US4195899A (en) * 1977-09-19 1980-04-01 Bunker Ramo Corporation Electrical connector with improved strain relief means
JP2567946Y2 (ja) * 1993-03-11 1998-04-08 住友電装株式会社 パネル取付コネクタ用保護キャップ
JP2694417B2 (ja) * 1993-09-17 1997-12-24 矢崎総業株式会社 分割多極コネクタ
US5735702A (en) * 1995-04-07 1998-04-07 Sumitomo Wiring Systems, Ltd. Lever type connector
JPH1027646A (ja) * 1996-07-12 1998-01-27 Sumitomo Wiring Syst Ltd コネクタ
US5897392A (en) * 1997-03-26 1999-04-27 Yazaki Corporation Wire retaining clip
DE29710305U1 (de) * 1997-06-12 1997-08-21 Siemens AG, 80333 München Abdeckkappe für elektrischen Steckverbinder
JP3505974B2 (ja) * 1997-09-05 2004-03-15 住友電装株式会社 コネクタ
JPH11250973A (ja) * 1998-03-04 1999-09-17 Yazaki Corp コネクタの係止構造
JP3783847B2 (ja) * 2001-05-15 2006-06-07 住友電装株式会社 電線カバー
JP2003272768A (ja) * 2002-03-18 2003-09-26 Yazaki Corp カバー付コネクタ
JP4520315B2 (ja) * 2005-01-21 2010-08-04 タイコエレクトロニクスジャパン合同会社 コネクタ用電線カバー
US7361036B2 (en) * 2005-10-06 2008-04-22 Fci Americas Technology, Inc. Electrical connector with lever and latch
JP4845520B2 (ja) * 2006-01-26 2011-12-28 モレックス インコーポレイテド コネクタ用カバー及び該カバーを用いたコネクタ
JP4924889B2 (ja) * 2007-05-09 2012-04-25 住友電装株式会社 コネクタカバー
JP4835512B2 (ja) * 2007-05-21 2011-12-14 住友電装株式会社 電線カバー
JP5075488B2 (ja) * 2007-06-06 2012-11-21 矢崎総業株式会社 コネクタ
US7494376B1 (en) * 2008-03-10 2009-02-24 Tyco Electronics Corporation Multiple direction wire cover with positioning latch and position assurance lock
JP5150411B2 (ja) * 2008-08-27 2013-02-20 矢崎総業株式会社 カバー付コネクタ
JP3154848U (ja) * 2009-08-01 2009-10-29 ジェイ・ブイ・エス株式会社 Hdmiケーブル用アタッチメント
JP5629512B2 (ja) * 2010-07-20 2014-11-19 矢崎総業株式会社 カバー付コネクタ
JP5722565B2 (ja) * 2010-07-28 2015-05-20 タイコエレクトロニクスジャパン合同会社 ワイヤカバー、電線の配線方法、電気コネクタ
JP5588773B2 (ja) * 2010-07-28 2014-09-10 タイコエレクトロニクスジャパン合同会社 ワイヤカバー、電気コネクタ
JP5898013B2 (ja) * 2012-07-25 2016-04-06 矢崎総業株式会社 電線保護部材
DE102013008728A1 (de) * 2013-05-23 2014-11-27 Phoenix Contact Gmbh & Co. Kg Abdeckhaube
JP2015115255A (ja) * 2013-12-13 2015-06-22 タイコエレクトロニクスジャパン合同会社 ワイヤカバー、及び、電気コネクタ

Also Published As

Publication number Publication date
US10153582B2 (en) 2018-12-11
WO2017099148A1 (ja) 2017-06-15
US20180323536A1 (en) 2018-11-08
JP2017107783A (ja) 2017-06-15
CN108352654B (zh) 2019-12-17
CN108352654A (zh) 2018-07-31

Similar Documents

Publication Publication Date Title
JP6324364B2 (ja) コネクタのワイヤカバー
US10063007B2 (en) Wire cover
JP5033651B2 (ja) ワイヤハーネス及びワイヤハーネス組立方法
WO2014125665A1 (ja) 結束バンド固定構造
US9412494B2 (en) Electrical-wire-protecting member
JP2002343497A (ja) 電線カバー
JP2016046943A (ja) プロテクタ
JP2013101760A (ja) コネクタ
JP4835512B2 (ja) 電線カバー
US9721704B2 (en) Wire cover
JP2019145207A (ja) コネクタ
JP2009146768A (ja) 電線ホルダ
US9203225B2 (en) Wire fixing member
JP2017123746A (ja) プロテクタ及びプロテクタ付ワイヤーハーネス
JP2013021828A (ja) 結束バンドの取付構造
CN102570162A (zh) 电连接器
JP5585777B2 (ja) 電気接続箱
JP6275104B2 (ja) コネクタ構造
US20180162296A1 (en) Wire harness fixing clamp
JP2016188095A (ja) 電線結束部材
JP2017135813A (ja) プロテクタ付ワイヤハーネス
JP6182786B2 (ja) 結束バンドの固定構造
JP2012228085A (ja) 電線固定構造
JP5702219B2 (ja) 配線ボックス
JP5865173B2 (ja) プロテクタ

Legal Events

Date Code Title Description
A621 Written request for application examination

Free format text: JAPANESE INTERMEDIATE CODE: A621

Effective date: 20170316

TRDD Decision of grant or rejection written
A01 Written decision to grant a patent or to grant a registration (utility model)

Free format text: JAPANESE INTERMEDIATE CODE: A01

Effective date: 20180313

A61 First payment of annual fees (during grant procedure)

Free format text: JAPANESE INTERMEDIATE CODE: A61

Effective date: 20180410

R150 Certificate of patent or registration of utility model

Ref document number: 6324364

Country of ref document: JP

Free format text: JAPANESE INTERMEDIATE CODE: R150

R250 Receipt of annual fees

Free format text: JAPANESE INTERMEDIATE CODE: R250

R250 Receipt of annual fees

Free format text: JAPANESE INTERMEDIATE CODE: R250

R250 Receipt of annual fees

Free format text: JAPANESE INTERMEDIATE CODE: R250

S531 Written request for registration of change of domicile

Free format text: JAPANESE INTERMEDIATE CODE: R313531

R350 Written notification of registration of transfer

Free format text: JAPANESE INTERMEDIATE CODE: R350

R250 Receipt of annual fees

Free format text: JAPANESE INTERMEDIATE CODE: R250

R250 Receipt of annual fees

Free format text: JAPANESE INTERMEDIATE CODE: R250

R250 Receipt of annual fees

Free format text: JAPANESE INTERMEDIATE CODE: R250