JP6262903B2 - 半導体装置 - Google Patents

半導体装置 Download PDF

Info

Publication number
JP6262903B2
JP6262903B2 JP2017082471A JP2017082471A JP6262903B2 JP 6262903 B2 JP6262903 B2 JP 6262903B2 JP 2017082471 A JP2017082471 A JP 2017082471A JP 2017082471 A JP2017082471 A JP 2017082471A JP 6262903 B2 JP6262903 B2 JP 6262903B2
Authority
JP
Japan
Prior art keywords
transistor
electrically connected
drain
source
wiring
Prior art date
Legal status (The legal status is an assumption and is not a legal conclusion. Google has not performed a legal analysis and makes no representation as to the accuracy of the status listed.)
Active
Application number
JP2017082471A
Other languages
English (en)
Other versions
JP2017192130A (ja
Inventor
敦司 梅崎
敦司 梅崎
Current Assignee (The listed assignees may be inaccurate. Google has not performed a legal analysis and makes no representation or warranty as to the accuracy of the list.)
Semiconductor Energy Laboratory Co Ltd
Original Assignee
Semiconductor Energy Laboratory Co Ltd
Priority date (The priority date is an assumption and is not a legal conclusion. Google has not performed a legal analysis and makes no representation as to the accuracy of the date listed.)
Filing date
Publication date
Application filed by Semiconductor Energy Laboratory Co Ltd filed Critical Semiconductor Energy Laboratory Co Ltd
Publication of JP2017192130A publication Critical patent/JP2017192130A/ja
Application granted granted Critical
Publication of JP6262903B2 publication Critical patent/JP6262903B2/ja
Active legal-status Critical Current
Anticipated expiration legal-status Critical

Links

Images

Classifications

    • GPHYSICS
    • G09EDUCATION; CRYPTOGRAPHY; DISPLAY; ADVERTISING; SEALS
    • G09GARRANGEMENTS OR CIRCUITS FOR CONTROL OF INDICATING DEVICES USING STATIC MEANS TO PRESENT VARIABLE INFORMATION
    • G09G3/00Control arrangements or circuits, of interest only in connection with visual indicators other than cathode-ray tubes
    • G09G3/20Control arrangements or circuits, of interest only in connection with visual indicators other than cathode-ray tubes for presentation of an assembly of a number of characters, e.g. a page, by composing the assembly by combination of individual elements arranged in a matrix no fixed position being assigned to or needed to be assigned to the individual characters or partial characters
    • HELECTRICITY
    • H10SEMICONDUCTOR DEVICES; ELECTRIC SOLID-STATE DEVICES NOT OTHERWISE PROVIDED FOR
    • H10DINORGANIC ELECTRIC SEMICONDUCTOR DEVICES
    • H10D30/00Field-effect transistors [FET]
    • H10D30/60Insulated-gate field-effect transistors [IGFET]
    • H10D30/67Thin-film transistors [TFT]
    • H10D30/674Thin-film transistors [TFT] characterised by the active materials
    • H10D30/6755Oxide semiconductors, e.g. zinc oxide, copper aluminium oxide or cadmium stannate
    • HELECTRICITY
    • H10SEMICONDUCTOR DEVICES; ELECTRIC SOLID-STATE DEVICES NOT OTHERWISE PROVIDED FOR
    • H10DINORGANIC ELECTRIC SEMICONDUCTOR DEVICES
    • H10D86/00Integrated devices formed in or on insulating or conducting substrates, e.g. formed in silicon-on-insulator [SOI] substrates or on stainless steel or glass substrates
    • H10D86/40Integrated devices formed in or on insulating or conducting substrates, e.g. formed in silicon-on-insulator [SOI] substrates or on stainless steel or glass substrates characterised by multiple TFTs
    • H10D86/441Interconnections, e.g. scanning lines
    • HELECTRICITY
    • H10SEMICONDUCTOR DEVICES; ELECTRIC SOLID-STATE DEVICES NOT OTHERWISE PROVIDED FOR
    • H10DINORGANIC ELECTRIC SEMICONDUCTOR DEVICES
    • H10D86/00Integrated devices formed in or on insulating or conducting substrates, e.g. formed in silicon-on-insulator [SOI] substrates or on stainless steel or glass substrates
    • H10D86/40Integrated devices formed in or on insulating or conducting substrates, e.g. formed in silicon-on-insulator [SOI] substrates or on stainless steel or glass substrates characterised by multiple TFTs
    • H10D86/481Integrated devices formed in or on insulating or conducting substrates, e.g. formed in silicon-on-insulator [SOI] substrates or on stainless steel or glass substrates characterised by multiple TFTs integrated with passive devices, e.g. auxiliary capacitors
    • HELECTRICITY
    • H10SEMICONDUCTOR DEVICES; ELECTRIC SOLID-STATE DEVICES NOT OTHERWISE PROVIDED FOR
    • H10DINORGANIC ELECTRIC SEMICONDUCTOR DEVICES
    • H10D86/00Integrated devices formed in or on insulating or conducting substrates, e.g. formed in silicon-on-insulator [SOI] substrates or on stainless steel or glass substrates
    • H10D86/40Integrated devices formed in or on insulating or conducting substrates, e.g. formed in silicon-on-insulator [SOI] substrates or on stainless steel or glass substrates characterised by multiple TFTs
    • H10D86/60Integrated devices formed in or on insulating or conducting substrates, e.g. formed in silicon-on-insulator [SOI] substrates or on stainless steel or glass substrates characterised by multiple TFTs wherein the TFTs are in active matrices
    • GPHYSICS
    • G06COMPUTING OR CALCULATING; COUNTING
    • G06FELECTRIC DIGITAL DATA PROCESSING
    • G06F3/00Input arrangements for transferring data to be processed into a form capable of being handled by the computer; Output arrangements for transferring data from processing unit to output unit, e.g. interface arrangements
    • G06F3/01Input arrangements or combined input and output arrangements for interaction between user and computer
    • G06F3/03Arrangements for converting the position or the displacement of a member into a coded form
    • G06F3/041Digitisers, e.g. for touch screens or touch pads, characterised by the transducing means
    • GPHYSICS
    • G09EDUCATION; CRYPTOGRAPHY; DISPLAY; ADVERTISING; SEALS
    • G09GARRANGEMENTS OR CIRCUITS FOR CONTROL OF INDICATING DEVICES USING STATIC MEANS TO PRESENT VARIABLE INFORMATION
    • G09G2300/00Aspects of the constitution of display devices
    • G09G2300/04Structural and physical details of display devices
    • G09G2300/0421Structural details of the set of electrodes
    • G09G2300/0426Layout of electrodes and connections
    • GPHYSICS
    • G09EDUCATION; CRYPTOGRAPHY; DISPLAY; ADVERTISING; SEALS
    • G09GARRANGEMENTS OR CIRCUITS FOR CONTROL OF INDICATING DEVICES USING STATIC MEANS TO PRESENT VARIABLE INFORMATION
    • G09G2310/00Command of the display device
    • G09G2310/02Addressing, scanning or driving the display screen or processing steps related thereto
    • G09G2310/0264Details of driving circuits
    • G09G2310/0267Details of drivers for scan electrodes, other than drivers for liquid crystal, plasma or OLED displays
    • GPHYSICS
    • G09EDUCATION; CRYPTOGRAPHY; DISPLAY; ADVERTISING; SEALS
    • G09GARRANGEMENTS OR CIRCUITS FOR CONTROL OF INDICATING DEVICES USING STATIC MEANS TO PRESENT VARIABLE INFORMATION
    • G09G2310/00Command of the display device
    • G09G2310/02Addressing, scanning or driving the display screen or processing steps related thereto
    • G09G2310/0264Details of driving circuits
    • G09G2310/0286Details of a shift registers arranged for use in a driving circuit
    • GPHYSICS
    • G09EDUCATION; CRYPTOGRAPHY; DISPLAY; ADVERTISING; SEALS
    • G09GARRANGEMENTS OR CIRCUITS FOR CONTROL OF INDICATING DEVICES USING STATIC MEANS TO PRESENT VARIABLE INFORMATION
    • G09G2310/00Command of the display device
    • G09G2310/08Details of timing specific for flat panels, other than clock recovery
    • GPHYSICS
    • G09EDUCATION; CRYPTOGRAPHY; DISPLAY; ADVERTISING; SEALS
    • G09GARRANGEMENTS OR CIRCUITS FOR CONTROL OF INDICATING DEVICES USING STATIC MEANS TO PRESENT VARIABLE INFORMATION
    • G09G3/00Control arrangements or circuits, of interest only in connection with visual indicators other than cathode-ray tubes
    • G09G3/20Control arrangements or circuits, of interest only in connection with visual indicators other than cathode-ray tubes for presentation of an assembly of a number of characters, e.g. a page, by composing the assembly by combination of individual elements arranged in a matrix no fixed position being assigned to or needed to be assigned to the individual characters or partial characters
    • G09G3/2092Details of a display terminals using a flat panel, the details relating to the control arrangement of the display terminal and to the interfaces thereto
    • GPHYSICS
    • G11INFORMATION STORAGE
    • G11CSTATIC STORES
    • G11C19/00Digital stores in which the information is moved stepwise, e.g. shift registers
    • G11C19/28Digital stores in which the information is moved stepwise, e.g. shift registers using semiconductor elements
    • GPHYSICS
    • G11INFORMATION STORAGE
    • G11CSTATIC STORES
    • G11C27/00Electric analogue stores, e.g. for storing instantaneous values
    • G11C27/04Shift registers
    • HELECTRICITY
    • H10SEMICONDUCTOR DEVICES; ELECTRIC SOLID-STATE DEVICES NOT OTHERWISE PROVIDED FOR
    • H10DINORGANIC ELECTRIC SEMICONDUCTOR DEVICES
    • H10D84/00Integrated devices formed in or on semiconductor substrates that comprise only semiconducting layers, e.g. on Si wafers or on GaAs-on-Si wafers
    • H10D84/01Manufacture or treatment
    • H10D84/0112Integrating together multiple components covered by H10D8/00, H10D10/00 or H10D18/00, e.g. integrating multiple BJTs
    • H10D84/0116Integrating together multiple components covered by H10D8/00, H10D10/00 or H10D18/00, e.g. integrating multiple BJTs the components including integrated injection logic [I2L]
    • HELECTRICITY
    • H10SEMICONDUCTOR DEVICES; ELECTRIC SOLID-STATE DEVICES NOT OTHERWISE PROVIDED FOR
    • H10DINORGANIC ELECTRIC SEMICONDUCTOR DEVICES
    • H10D84/00Integrated devices formed in or on semiconductor substrates that comprise only semiconducting layers, e.g. on Si wafers or on GaAs-on-Si wafers
    • H10D84/01Manufacture or treatment
    • H10D84/02Manufacture or treatment characterised by using material-based technologies
    • H10D84/03Manufacture or treatment characterised by using material-based technologies using Group IV technology, e.g. silicon technology or silicon-carbide [SiC] technology
    • H10D84/038Manufacture or treatment characterised by using material-based technologies using Group IV technology, e.g. silicon technology or silicon-carbide [SiC] technology using silicon technology, e.g. SiGe
    • HELECTRICITY
    • H10SEMICONDUCTOR DEVICES; ELECTRIC SOLID-STATE DEVICES NOT OTHERWISE PROVIDED FOR
    • H10DINORGANIC ELECTRIC SEMICONDUCTOR DEVICES
    • H10D86/00Integrated devices formed in or on insulating or conducting substrates, e.g. formed in silicon-on-insulator [SOI] substrates or on stainless steel or glass substrates
    • H10D86/40Integrated devices formed in or on insulating or conducting substrates, e.g. formed in silicon-on-insulator [SOI] substrates or on stainless steel or glass substrates characterised by multiple TFTs
    • H10D86/421Integrated devices formed in or on insulating or conducting substrates, e.g. formed in silicon-on-insulator [SOI] substrates or on stainless steel or glass substrates characterised by multiple TFTs having a particular composition, shape or crystalline structure of the active layer
    • H10D86/423Integrated devices formed in or on insulating or conducting substrates, e.g. formed in silicon-on-insulator [SOI] substrates or on stainless steel or glass substrates characterised by multiple TFTs having a particular composition, shape or crystalline structure of the active layer comprising semiconductor materials not belonging to the Group IV, e.g. InGaZnO
    • HELECTRICITY
    • H10SEMICONDUCTOR DEVICES; ELECTRIC SOLID-STATE DEVICES NOT OTHERWISE PROVIDED FOR
    • H10DINORGANIC ELECTRIC SEMICONDUCTOR DEVICES
    • H10D89/00Aspects of integrated devices not covered by groups H10D84/00 - H10D88/00
    • H10D89/10Integrated device layouts

Landscapes

  • Engineering & Computer Science (AREA)
  • Computer Hardware Design (AREA)
  • General Physics & Mathematics (AREA)
  • Theoretical Computer Science (AREA)
  • Physics & Mathematics (AREA)
  • Thin Film Transistor (AREA)
  • Logic Circuits (AREA)
  • Control Of Indicators Other Than Cathode Ray Tubes (AREA)
  • Shift Register Type Memory (AREA)
  • Electronic Switches (AREA)
  • Liquid Crystal Display Device Control (AREA)
  • Metal-Oxide And Bipolar Metal-Oxide Semiconductor Integrated Circuits (AREA)
  • Control Of El Displays (AREA)
  • Semiconductor Integrated Circuits (AREA)
  • Liquid Crystal (AREA)
  • Devices For Indicating Variable Information By Combining Individual Elements (AREA)

Description

本発明の一態様は、半導体装置、表示モジュール及び電子機器に関する。
なお、本発明の一態様は、上記の技術分野に限定されない。本明細書等で開示する発明の
一態様の技術分野は、物、方法、または、製造方法に関するものである。または、本発明
の一態様は、プロセス、マシン、マニュファクチャ、または、組成物(コンポジション・
オブ・マター)に関するものである。または、本発明の一態様は、半導体装置、表示装置
、発光装置、蓄電装置、記憶装置、それらの駆動方法、または、それらの製造方法に関す
る。
記憶装置、イメージセンサ又は表示装置等の駆動回路に適用することが可能な回路の開発
が進められている。特に、同じ極性のトランジスタによって構成される回路の開発が活発
に進められている。そのような回路に関する技術が特許文献1に開示されている。
特許文献1では、トランジスタのゲートとソースとの間の電位差が徐々に小さくなる。そ
して、トランジスタのゲートとソースとの間の電位差がトランジスタの閾値電圧と等しく
なると、トランジスタがオフになり、回路内部のノードが浮遊状態になる。
特開2005−050502号公報
従来の回路では、トランジスタのゲートとソースとの間の電位差が徐々に小さくなるため
、トランジスタのドレイン電流も徐々に小さくなる。そのため、回路内部のノードにおけ
る電位の変化に要する時間が長く、高速に動作することが困難である。また、トランジス
タのW/Lを大きくする必要があり、レイアウト面積を小さくすることが困難である。ま
た、信号の立ち上がり時間又は立下り時間を短くすることが困難である。
本発明の一態様は、新規の半導体装置を提供することを課題の一とする。または、本発明
の一態様は、高速に動作すること又はそれを可能にする構成を提供することを課題の一と
する。または、本発明の一態様は、レイアウト面積を縮小すること又はそれを可能にする
構成を提供することを課題の一とする。または、本発明の一態様は、駆動電圧を小さくす
ること又はそれを可能にする構成を提供することを課題の一とする。または、本発明の一
態様は、信号の立ち上がり時間又は立下り時間を短くすること又はそれを可能にする構成
を提供することを課題の一とする。
なお、本発明の一態様は、必ずしも上記の課題の全てを解決する必要はなく、少なくとも
一の課題を解決できるものであればよい。また、上記の課題の記載は、他の課題の存在を
妨げるものではない。これら以外の課題は、明細書、図面、請求項などの記載から、自ず
と明らかとなるものであり、明細書、図面、請求項などの記載から、これら以外の課題を
抽出することが可能である。
本発明の一態様は、第1乃至第4のトランジスタを有する半導体装置である。第1のトラ
ンジスタのソース又はドレインの一方は、第1の配線と電気的に接続され、第1のトラン
ジスタのソース又はドレインの他方は、第2の配線と電気的に接続され、第2のトランジ
スタのソース又はドレインの一方は、第3の配線と電気的に接続され、第2のトランジス
タのソース又はドレインの他方は、第1のトランジスタのゲートと電気的に接続され、第
3のトランジスタのソース又はドレインの一方は、第4の配線と電気的に接続され、第3
のトランジスタのソース又はドレインの他方は、第2のトランジスタのゲートと電気的に
接続され、第4のトランジスタのソース又はドレインの一方は、第5の配線と電気的に接
続され、第4のトランジスタのソース又はドレインの他方は、第2のトランジスタのゲー
トと電気的に接続される。
本発明の一態様は、第1乃至第4のトランジスタを有する半導体装置である。第1のトラ
ンジスタのソース又はドレインの一方は、第1の配線と電気的に接続され、第1のトラン
ジスタのソース又はドレインの他方は、第2の配線と電気的に接続され、第2のトランジ
スタのソース又はドレインの一方は、第3の配線と電気的に接続され、第2のトランジス
タのソース又はドレインの他方は、第1のトランジスタのゲートと電気的に接続され、第
3のトランジスタのソース又はドレインの一方は、第3の配線と電気的に接続され、第3
のトランジスタのソース又はドレインの他方は、第2のトランジスタのゲートと電気的に
接続され、第4のトランジスタのソース又はドレインの一方は、第4の配線と電気的に接
続され、第4のトランジスタのソース又はドレインの他方は、第2のトランジスタのゲー
トと電気的に接続される。
本発明の一態様は、第1乃至第4のトランジスタを有する半導体装置である。第1のトラ
ンジスタのソース又はドレインの一方は、第1の配線と電気的に接続され、第1のトラン
ジスタのソース又はドレインの他方は、第2の配線と電気的に接続され、第2のトランジ
スタのソース又はドレインの一方は、第3の配線と電気的に接続され、第2のトランジス
タのソース又はドレインの他方は、第1のトランジスタのゲートと電気的に接続され、第
3のトランジスタのソース又はドレインの一方は、第4の配線と電気的に接続され、第3
のトランジスタのソース又はドレインの他方は、第2のトランジスタのゲートと電気的に
接続され、第4のトランジスタのソース又はドレインの一方は、第3の配線又は第4の配
線と電気的に接続され、第4のトランジスタのソース又はドレインの他方は、第2のトラ
ンジスタのゲートと電気的に接続される。
なお、上記本発明の一態様において、第4のトランジスタのゲートは、第1の配線又は第
2の配線と接続されてもよい。
本発明の一態様は、上記半導体装置と、FPCと、を有する表示モジュールである。
本発明の一態様は、上記表示モジュールと、アンテナ、操作ボタン又はスピーカと、を有
する電子機器である。
本発明の一態様は、新規の半導体装置を提供することができる。または、本発明の一態様
は、高速に動作すること又はそれを可能にする構成を提供することができる。または、本
発明の一態様は、レイアウト面積を縮小すること又はそれを可能にする構成を提供するこ
とができる。または、本発明の一態様は、駆動電圧を小さくすること又はそれを可能にす
る構成を提供することができる。または、本発明の一態様は、信号の立ち上がり時間又は
立下り時間を短くすること又はそれを可能にする構成を提供することができる。
なお、これらの効果の記載は、他の効果の存在を妨げるものではない。なお、本発明の一
態様は、必ずしも、これらの効果の全てを有する必要はない。なお、これら以外の効果は
、明細書、図面、請求項などの記載から、自ずと明らかとなるものであり、明細書、図面
、請求項などの記載から、これら以外の効果を抽出することが可能である。
半導体装置の一例を説明する図。 半導体装置の一例を説明する図。 半導体装置の一例を説明する図。 半導体装置の一例を説明する図。 半導体装置の一例を説明する図。 半導体装置の一例を説明する図。 半導体装置の一例を説明する図。 半導体装置の一例を説明する図。 半導体装置の一例を説明する図。 半導体装置の一例を説明する図。 半導体装置の一例を説明する図。 半導体装置の一例を説明する図。 半導体装置の一例を説明する図。 半導体装置の一例を説明する図。 半導体装置の一例を説明する図。 半導体装置の一例を説明する図。 半導体装置の一例を説明する図。 半導体装置の一例を説明する図。 表示装置の一例を説明する図。 半導体装置の一例を説明する図。 半導体装置の一例を説明する図。 半導体装置の一例を説明する図。 半導体装置の一例を説明する図。 表示モジュールの一例を説明する図。 電子機器の一例を説明する図。 半導体装置の一例を説明する図。
以下、本発明の実施の形態について図面を用いて詳細に説明する。ただし、本発明は以下
の実施の形態における説明に限定されず、本発明の趣旨及びその範囲から逸脱することな
くその形態及び詳細を様々に変更し得ることは、当業者であれば容易に理解される。した
がって、本発明は、以下の実施の形態の記載内容に限定して解釈されるものではない。
また、本発明の一態様は、撮像装置の他、RFタグ、表示装置、集積回路を含むあらゆる
装置が、その範疇に含まれる。また、表示装置には、液晶表示装置、有機発光素子に代表
される発光素子を各画素に備えた発光装置、電子ペーパー、DMD(Digital M
icromirror Device)、PDP(Plasma Display Pa
nel)、FED(Field Emission Display)など、集積回路を
有する表示装置が、その範疇に含まれる。
なお、図面を用いて発明の構成を説明するにあたり、同じものを指す符号は異なる図面間
でも共通して用いることがある。
また、本明細書等においては、ある一つの実施の形態において述べる図または文章におい
て、その一部分を取り出して、発明の一態様を構成することは可能である。したがって、
ある部分を述べる図または文章が記載されている場合、その一部分の図または文章を取り
出した内容も、発明の一態様として開示されているものであり、発明の一態様を構成する
ことが可能であるものとする。そして、その発明の一態様は明確であると言える。そのた
め、例えば、能動素子(トランジスタなど)、配線、受動素子(容量素子など)、導電層
、絶縁層、半導体層、部品、装置、動作方法、製造方法などが単数もしくは複数記載され
た図面または文章において、その一部分を取り出して、発明の一態様を構成することが可
能であるものとする。例えば、N個(Nは整数)の回路素子(トランジスタ、容量素子等
)を有して構成される回路図から、M個(Mは整数で、M<N)の回路素子(トランジス
タ、容量素子等)を抜き出して、発明の一態様を構成することは可能である。別の例とし
ては、「Aは、B、C、D、E、または、Fを有する」と記載されている文章から、一部
の要素を任意に抜き出して、「Aは、BとEとを有する」、「Aは、EとFとを有する」
、「Aは、CとEとFとを有する」、または、「Aは、BとCとDとEとを有する」など
の発明の一態様を構成することは可能である。
また、本明細書等においては、ある一つの実施の形態において述べる図または文章におい
て、少なくとも一つの具体例が記載される場合、その具体例の上位概念を導き出すことは
、当業者であれば容易に理解される。したがって、ある一つの実施の形態において述べる
図または文章において、少なくとも一つの具体例が記載される場合、その具体例の上位概
念も、発明の一態様として開示されているものであり、発明の一態様を構成することが可
能である。そして、その発明の一態様は、明確であると言える。
また、本明細書等においては、少なくとも図に記載した内容(図の中の一部でもよい)は
、発明の一態様として開示されているものであり、発明の一態様を構成することが可能で
ある。したがって、ある内容について、図に記載されていれば、文章を用いて述べていな
くても、その内容は、発明の一態様として開示されているものであり、発明の一態様を構
成することが可能である。同様に、図の一部を取り出した図についても、発明の一態様と
して開示されているものであり、発明の一態様を構成することが可能である。そして、そ
の発明の一態様は明確であると言える。
また、明細書の中の文章や図面において規定されていない内容について、その内容を除く
ことを規定した発明の一態様を構成することが出来る。または、ある値について、上限値
と下限値などで示される数値範囲が記載されている場合、その範囲を任意に狭めることで
、または、その範囲の中の一点を除くことで、その範囲を一部除いた発明の一態様を規定
することができる。これらにより、例えば、従来技術が本発明の一態様の技術的範囲内に
入らないことを規定することができる。
また、本明細書等においては、能動素子(トランジスタなど)、受動素子(容量素子など
)などが有するすべての端子について、その接続先を特定しなくても、当業者であれば、
発明の一態様を構成することは可能な場合がある。つまり、接続先を特定しなくても、発
明の一態様が明確であると言える。そして、接続先が特定された内容が、本明細書等に記
載されている場合、接続先を特定しない発明の一態様が、本明細書等に記載されていると
判断することが可能な場合がある。特に、端子の接続先の候補が複数存在する場合には、
その端子の接続先を特定の箇所に限定する必要はない。したがって、能動素子(トランジ
スタなど)、受動素子(容量素子など)などが有する一部の端子についてのみ、その接続
先を特定することによって、発明の一態様を構成することが可能な場合がある。
また、本明細書等においては、ある回路について、少なくとも接続先を特定すれば、当業
者であれば、発明を特定することが可能な場合がある。または、ある回路について、少な
くとも機能を特定すれば、当業者であれば、発明を特定することが可能な場合がある。つ
まり、機能を特定すれば、発明の一態様が明確であると言える。そして、機能が特定され
た発明の一態様が、本明細書等に記載されていると判断することが可能な場合がある。し
たがって、ある回路について、機能を特定しなくても、接続先を特定すれば、発明の一態
様として開示されているものであり、発明の一態様を構成することが可能である。または
、ある回路について、接続先を特定しなくても、機能を特定すれば、発明の一態様として
開示されているものであり、発明の一態様を構成することが可能である。
また、本明細書等において、XとYとが接続されている、と明示的に記載されている場合
は、XとYとが電気的に接続されている場合と、XとYとが機能的に接続されている場合
と、XとYとが直接接続されている場合とが、本明細書等に開示されているものとする。
したがって、所定の接続関係、例えば、図または文章に示された接続関係に限定されず、
図または文章に示された接続関係以外のものも、図または文章に記載されているものとす
る。
ここで、X、Yは、対象物(例えば、装置、素子、回路、配線、電極、端子、導電膜、層
、など)であるとする。
XとYとが直接的に接続されている場合の一例としては、XとYとの電気的な接続を可能
とする素子(例えば、スイッチ、トランジスタ、容量素子、インダクタ、抵抗素子、ダイ
オード、表示素子、発光素子、負荷など)が、XとYとの間に接続されていない場合であ
り、XとYとの電気的な接続を可能とする素子(例えば、スイッチ、トランジスタ、容量
素子、インダクタ、抵抗素子、ダイオード、表示素子、発光素子、負荷など)を介さずに
、XとYとが、接続されている場合である。
XとYとが電気的に接続されている場合の一例としては、XとYとの電気的な接続を可能
とする素子(例えば、スイッチ、トランジスタ、容量素子、インダクタ、抵抗素子、ダイ
オード、表示素子、発光素子、負荷など)が、XとYとの間に1個以上接続されることが
可能である。なお、スイッチは、オンオフが制御される機能を有している。つまり、スイ
ッチは、導通状態(オン状態)、または、非導通状態(オフ状態)になり、電流を流すか
流さないかを制御する機能を有している。または、スイッチは、電流を流す経路を選択し
て切り替える機能を有している。なお、XとYとが電気的に接続されている場合は、Xと
Yとが直接的に接続されている場合を含むものとする。
XとYとが機能的に接続されている場合の一例としては、XとYとの機能的な接続を可能
とする回路(例えば、論理回路(インバータ、NAND回路、NOR回路など)、信号変
換回路(DA変換回路、AD変換回路、ガンマ補正回路など)、電位レベル変換回路(電
源回路(昇圧回路、降圧回路など)、信号の電位レベルを変えるレベルシフタ回路など)
、電圧源、電流源、切り替え回路、増幅回路(信号振幅または電流量などを大きく出来る
回路、オペアンプ、差動増幅回路、ソースフォロワ回路、バッファ回路など)、信号生成
回路、記憶回路、制御回路など)が、XとYとの間に1個以上接続されることが可能であ
る。なお、一例として、XとYとの間に別の回路を挟んでいても、Xから出力された信号
がYへ伝達される場合は、XとYとは機能的に接続されているものとする。なお、XとY
とが機能的に接続されている場合は、XとYとが直接的に接続されている場合と、XとY
とが電気的に接続されている場合とを含むものとする。
なお、XとYとが電気的に接続されている、と明示的に記載されている場合は、XとYと
が電気的に接続されている場合(つまり、XとYとの間に別の素子又は別の回路を挟んで
接続されている場合)と、XとYとが機能的に接続されている場合(つまり、XとYとの
間に別の回路を挟んで機能的に接続されている場合)と、XとYとが直接接続されている
場合(つまり、XとYとの間に別の素子又は別の回路を挟まずに接続されている場合)と
が、本明細書等に開示されているものとする。つまり、電気的に接続されている、と明示
的に記載されている場合は、単に、接続されている、とのみ明示的に記載されている場合
と同様な内容が、本明細書等に開示されているものとする。
なお、例えば、トランジスタのソース(又は第1の端子など)が、Z1を介して(又は介
さず)、Xと電気的に接続され、トランジスタのドレイン(又は第2の端子など)が、Z
2を介して(又は介さず)、Yと電気的に接続されている場合や、トランジスタのソース
(又は第1の端子など)が、Z1の一部と直接的に接続され、Z1の別の一部がXと直接
的に接続され、トランジスタのドレイン(又は第2の端子など)が、Z2の一部と直接的
に接続され、Z2の別の一部がYと直接的に接続されている場合では、以下のように表現
することが出来る。
例えば、「XとYとトランジスタのソース(又は第1の端子など)とドレイン(又は第2
の端子など)とは、互いに電気的に接続されており、X、トランジスタのソース(又は第
1の端子など)、トランジスタのドレイン(又は第2の端子など)、Yの順序で電気的に
接続されている。」と表現することができる。または、「トランジスタのソース(又は第
1の端子など)は、Xと電気的に接続され、トランジスタのドレイン(又は第2の端子な
ど)はYと電気的に接続され、X、トランジスタのソース(又は第1の端子など)、トラ
ンジスタのドレイン(又は第2の端子など)、Yは、この順序で電気的に接続されている
」と表現することができる。または、「Xは、トランジスタのソース(又は第1の端子な
ど)とドレイン(又は第2の端子など)とを介して、Yと電気的に接続され、X、トラン
ジスタのソース(又は第1の端子など)、トランジスタのドレイン(又は第2の端子など
)、Yは、この接続順序で設けられている」と表現することができる。これらの例と同様
な表現方法を用いて、回路構成における接続の順序について規定することにより、トラン
ジスタのソース(又は第1の端子など)と、ドレイン(又は第2の端子など)とを、区別
して、技術的範囲を決定することができる。
または、別の表現方法として、例えば、「トランジスタのソース(又は第1の端子など)
は、少なくとも第1の接続経路を介して、Xと電気的に接続され、前記第1の接続経路は
、第2の接続経路を有しておらず、前記第2の接続経路は、トランジスタを介した、トラ
ンジスタのソース(又は第1の端子など)とトランジスタのドレイン(又は第2の端子な
ど)との間の経路であり、前記第1の接続経路は、Z1を介した経路であり、トランジス
タのドレイン(又は第2の端子など)は、少なくとも第3の接続経路を介して、Yと電気
的に接続され、前記第3の接続経路は、前記第2の接続経路を有しておらず、前記第3の
接続経路は、Z2を介した経路である。」と表現することができる。または、「トランジ
スタのソース(又は第1の端子など)は、少なくとも第1の接続経路によって、Z1を介
して、Xと電気的に接続され、前記第1の接続経路は、第2の接続経路を有しておらず、
前記第2の接続経路は、トランジスタを介した接続経路を有し、トランジスタのドレイン
(又は第2の端子など)は、少なくとも第3の接続経路によって、Z2を介して、Yと電
気的に接続され、前記第3の接続経路は、前記第2の接続経路を有していない。」と表現
することができる。または、「トランジスタのソース(又は第1の端子など)は、少なく
とも第1の電気的パスによって、Z1を介して、Xと電気的に接続され、前記第1の電気
的パスは、第2の電気的パスを有しておらず、前記第2の電気的パスは、トランジスタの
ソース(又は第1の端子など)からトランジスタのドレイン(又は第2の端子など)への
電気的パスであり、トランジスタのドレイン(又は第2の端子など)は、少なくとも第3
の電気的パスによって、Z2を介して、Yと電気的に接続され、前記第3の電気的パスは
、第4の電気的パスを有しておらず、前記第4の電気的パスは、トランジスタのドレイン
(又は第2の端子など)からトランジスタのソース(又は第1の端子など)への電気的パ
スである。」と表現することができる。これらの例と同様な表現方法を用いて、回路構成
における接続経路について規定することにより、トランジスタのソース(又は第1の端子
など)と、ドレイン(又は第2の端子など)とを、区別して、技術的範囲を決定すること
ができる。
なお、これらの表現方法は、一例であり、これらの表現方法に限定されない。ここで、X
、Y、Z1、Z2は、対象物(例えば、装置、素子、回路、配線、電極、端子、導電膜、
層、など)であるとする。
なお、回路図上は独立している構成要素同士が電気的に接続しているように図示されてい
る場合であっても、1つの構成要素が、複数の構成要素の機能を併せ持っている場合もあ
る。例えば配線の一部が電極としても機能する場合は、一の導電膜が、配線の機能、及び
電極の機能の両方の構成要素の機能を併せ持っている。したがって、本明細書における電
気的に接続とは、このような、一の導電膜が、複数の構成要素の機能を併せ持っている場
合も、その範疇に含める。
(実施の形態1)
本実施の形態では、本発明の一態様に係る半導体装置について説明する。
本発明の一態様に係る半導体装置の構成について、図1を参照して説明する。ただし、本
発明の一態様は、以下に説明する構成に限定されない。
図1に示す半導体装置は、回路100を有する。回路100は、配線111、配線113
、配線114及び配線115の電位に基づいて、配線112の電位を制御する機能を有す
る。回路100は、配線111、配線113、配線114及び配線115の電位に基づい
た信号を配線112に出力する。そして、当該信号により、配線112の電位が制御され
る。このように、回路100は、論理回路又は順序回路としての機能を有する。
回路100は、トランジスタ101、トランジスタ102、トランジスタ103、トラン
ジスタ104、容量素子105、及び容量素子106を有する。トランジスタ101は、
第1の端子(ソース又はドレインの一方ともいう)が配線111と接続され、第2の端子
(ソース又はドレインの他方ともいう)が配線112と接続される。トランジスタ102
は、第1の端子が配線113と接続され、第2の端子がトランジスタ101のゲートと接
続される。トランジスタ103は、第1の端子が配線114と接続され、第2の端子がト
ランジスタ102のゲートと接続され、ゲートが配線114と接続される。トランジスタ
104は、第1の端子が配線115と接続され、第2の端子がトランジスタ102のゲー
トと接続される。容量素子105は、第1の端子が配線112と接続され、第2の端子が
トランジスタ101のゲートと接続される。容量素子106は、第1の端子がトランジス
タ101のゲートと接続され、第2の端子がトランジスタ102のゲートと接続される。
本実施の形態の半導体装置は、上記接続関係を有することにより、新規の構成を提供する
ことができる。
なお、トランジスタ101のゲート、トランジスタ102の第2の端子、容量素子105
の第2の端子、又は容量素子106の第1の端子をノードND1と示す。また、トランジ
スタ102のゲート、トランジスタ103の第2の端子、トランジスタ104の第2の端
子、又は容量素子106の第2の端子をノードND2と示す。
なお、配線111、配線113、配線114及び配線115の電位は、各配線に信号又は
電圧等が入力されることによって制御される。便宜上、配線111、配線113及び配線
114の電位は、ハイレベルとロウレベルとを有するものとする。言い換えると、配線1
11、配線113及び配線114のそれぞれには、ハイレベルとロウレベルとを有する信
号が入力される。そして、ハイレベルの電位をVHとし、ロウレベルの電位をVL(VH
>VL)とする。また、配線115の電位をVLとする。ただし、配線115の電位はハ
イレベルとロウレベルとを有していてもよい。言い換えると、配線115にはハイレベル
とロウレベルとを有する信号を入力してもよい。
なお、配線111、配線113及び配線114を入力端子と呼んでもよい。また、配線1
12を出力端子と呼んでもよい。また、配線111、配線112、配線113、及び配線
114を信号線と呼んでもよい。または、配線115を電源線と呼んでもよい。
トランジスタ101、トランジスタ102、トランジスタ103及びトランジスタ104
に採用することが可能なトランジスタについて説明する。ただし、本発明の一態様は、以
下に説明するトランジスタに限定されない。
トランジスタ101、トランジスタ102、トランジスタ103及びトランジスタ104
としては、チャネル形成領域にアモルファスシリコンを有するトランジスタ、チャネル形
成領域に多結晶シリコンを有するトランジスタ、チャネル形成領域に単結晶シリコンを有
するトランジスタ、チャネル形成領域に酸化物半導体を有するトランジスタ、チャネル形
成領域に化合物半導体を有するトランジスタなどを用いることが可能である。特に、チャ
ネル形成領域に酸化物半導体を有するトランジスタ(OSトランジスタともいう)は、チ
ャネル形成領域にアモルファスシリコンを有するトランジスタよりも移動度が高く、且つ
オフ電流が極めて小さいという特徴がある。そのため、トランジスタのチャネル幅を小さ
くすることができるため、レイアウト面積の縮小を図ることができる。
トランジスタ101、トランジスタ102、トランジスタ103及びトランジスタ104
の導電型又は極性について説明する。ただし、本発明の一態様は、以下に説明する導電型
又は極性に限定されない。
トランジスタ101、トランジスタ102、トランジスタ103及びトランジスタ104
は、同じ導電型であることが好ましい。或いは、回路100が有するトランジスタの全て
は、同じ導電型であることが好ましい。或いは、回路100と同じ基板に設けられるトラ
ンジスタは全て同じ導電型であることが好ましい。これにより、製造プロセスの簡略化、
歩留まりの向上、製造コストの削減等を図ることができる。
特に、トランジスタ101、トランジスタ102、トランジスタ103及びトランジスタ
104はNチャネル型であることが好ましい。或いは、回路100が有するトランジスタ
は全てNチャネル型であることが好ましい。或いは、回路100と同じ基板に設けられる
トランジスタは全てNチャネル型であることが好ましい。これにより、チャネル形成領域
に酸化物半導体を有するトランジスタ(OSトランジスタともいう)を採用することが可
能になる。図1には、トランジスタ101、トランジスタ102、トランジスタ103及
びトランジスタ104がNチャネル型である場合について例示している。ただし、トラン
ジスタ101、トランジスタ102、トランジスタ103及びトランジスタ104はPチ
ャネル型であってもよい。或いは、回路100が有するトランジスタは全てPチャネル型
であってもよい。或いは、回路100と同じ基板に設けられるトランジスタは全てPチャ
ネル型であってもよい。図26には、図1のトランジスタ101、トランジスタ102、
トランジスタ103及びトランジスタ104を、トランジスタ101p、トランジスタ1
02p、トランジスタ103p及びトランジスタ104pに置き換えた場合の構成を示す
。トランジスタ101p、トランジスタ102p、トランジスタ103p及びトランジス
タ104pはPチャネル型である。また、図1以外の構成においても、図26と同様にN
チャネル型のトランジスタをPチャネル型のトランジスタに置き換えてもよい。
なお、便宜上、トランジスタ101、トランジスタ102及びトランジスタ103は、N
チャネル型であるものとして説明する。
トランジスタ101、トランジスタ102、トランジスタ103、トランジスタ104、
容量素子105及び容量素子106が有する機能について説明する。ただし、本発明の一
態様は、以下に説明する機能に限定されない。
トランジスタ101は、配線111と配線112との導通又は非導通を制御する。配線1
11と配線112とが導通すると、配線111の電位が配線112に供給され、配線11
2の電位が配線111の電位に基づいて制御される。配線111の電位がハイレベルであ
れば、配線112の電位が上昇する。特に、ノードND1の電位が配線111のハイレベ
ルの電位とトランジスタ101の閾値電圧との和よりも高い値であれば、配線112の電
位がVHまで上昇する。配線111の電位がロウレベルであれば、配線112の電位がV
Lまで下降する。
トランジスタ102は、配線113とノードND1との導通又は非導通を制御する。配線
113とノードND1とが導通すると、配線113の電位がノードND1に供給され、ノ
ードND1の電位が配線113の電位に基づいて制御される。配線113の電位がハイレ
ベルであれば、ノードND1の電位が上昇する。特に、ノードND2の電位が配線113
のハイレベルの電位とトランジスタ102の閾値電圧との和よりも高い値であれば、ノー
ドND1の電位がVHまで上昇する。こうして、ノードND1の電位が、トランジスタ1
01がオンになる値に設定される。配線113の電位がロウレベルであれば、ノードND
1の電位がVLまで下降する。こうして、ノードND1の電位が、トランジスタ101が
オフになる値に設定される。
トランジスタ103は、配線114とノードND2との導通又は非導通を制御する。配線
114とノードND2とが導通すると、配線114の電位がノードND2に供給され、ノ
ードND2の電位が配線114の電位に基づいて制御される。配線114の電位がハイレ
ベルであれば、ノードND2の電位が上昇する。ただし、トランジスタ103のゲートが
配線114と接続されているため、ノードND2の電位が配線114のハイレベルの電位
からトランジスタ103の閾値電圧を引いた値まで上昇すると、トランジスタ103がオ
フになる。そして、ノードND2が浮遊状態になる。こうして、ノードND2の電位が、
トランジスタ102がオンになる値に設定されるとともにノードND2が浮遊状態になる
。また、配線114の電位がロウレベルであれば、トランジスタ103がオフになるため
、配線114とノードND2とは非導通になる。
なお、図2(A)に示すように、トランジスタ103の第1の端子が配線116と接続さ
れ、トランジスタ103のゲートが配線114と接続されてもよい。配線116の電位は
VHであることが好ましい。ただし、配線116の電位はハイレベルとロウレベルとを有
することも可能である。図2(A)では、トランジスタ103は、配線116とノードN
D2との導通又は非導通を制御する。配線116とノードND2とが導通すると、配線1
16の電位がノードND2に供給され、ノードND2の電位が配線116の電位に基づい
て制御される。配線116の電位がVH又はハイレベルであれば、ノードND2の電位が
上昇する。ただし、トランジスタ103のゲートが配線114と接続されているため、ノ
ードND2の電位が配線114のハイレベルの電位からトランジスタ103の閾値電圧を
引いた値まで上昇すると、トランジスタ103がオフになる。そして、ノードND2が浮
遊状態になる。こうして、ノードND2の電位が、トランジスタ102がオンになる値に
設定されるとともにノードND2が浮遊状態になる。
なお、図2(B)に示すように、トランジスタ103の第1の端子が配線114と接続さ
れ、トランジスタ103のゲートが配線116と接続されてもよい。図2(B)では、ト
ランジスタ103は、配線114とノードND2との導通又は非導通を制御する。配線1
14とノードND2とが導通すると、配線114の電位がノードND2に供給され、ノー
ドND2の電位が配線114の電位に基づいて制御される。配線114の電位がハイレベ
ルであれば、ノードND2の電位が上昇する。ただし、トランジスタ103のゲートが配
線116と接続されているため、ノードND2の電位が配線116の電位からトランジス
タ103の閾値電圧を引いた値まで上昇すると、トランジスタ103がオフになる。そし
て、ノードND2が浮遊状態になる。こうして、ノードND2の電位が、トランジスタ1
02がオンになる値に設定されるとともにノードND2が浮遊状態になる。また、配線1
14の電位がロウレベルであれば、ノードND2の電位がVLまで下降する。こうして、
ノードND2の電位が、トランジスタ102がオフになる値に設定される。
なお、図3(A)に示すように、トランジスタ103の第1の端子及びゲートは配線11
3と接続されてもよい。図3(A)では、トランジスタ103は、配線113とノードN
D2との導通又は非導通を制御する。配線113とノードND2とが導通すると、配線1
13の電位がノードND2に供給され、ノードND2の電位が配線113の電位に基づい
て制御される。配線113の電位がハイレベルであれば、ノードND2の電位が上昇する
。ただし、トランジスタ103のゲートが配線113と接続されているため、ノードND
2の電位が配線113のハイレベルの電位からトランジスタ103の閾値電圧を引いた値
まで上昇すると、トランジスタ103がオフになる。そして、ノードND2が浮遊状態に
なる。こうして、ノードND2の電位が、トランジスタ102がオンになる値に設定され
るとともにノードND2が浮遊状態になる。また、配線113の電位がロウレベルであれ
ば、トランジスタ104がオフになるため、配線113とノードND2とは非導通になる
なお、図3(B)に示すように、トランジスタ103の第1の端子が配線116と接続さ
れ、トランジスタ103のゲートが配線113と接続されてもよい。図3(B)では、ト
ランジスタ103は、配線116とノードND2との導通又は非導通を制御する。配線1
16とノードND2とが導通すると、配線116の電位がノードND2に供給され、ノー
ドND2の電位が配線116の電位に基づいて制御される。配線116の電位がVH又は
ハイレベルであれば、ノードND2の電位が上昇する。ただし、トランジスタ103のゲ
ートが配線113と接続されているため、ノードND2の電位が配線113のハイレベル
の電位からトランジスタ103の閾値電圧を引いた値まで上昇すると、トランジスタ10
3がオフになる。そして、ノードND2が浮遊状態になる。こうして、ノードND2の電
位が、トランジスタ102がオンになる値に設定されるとともにノードND2が浮遊状態
になる。
なお、図示はしないが、トランジスタ103の第1の端子が配線114と接続され、トラ
ンジスタ103のゲートが配線113と接続されてもよい。
なお、図示はしないが、トランジスタ103の第1の端子が配線113と接続され、トラ
ンジスタ103のゲートが配線116と接続されてもよい。
トランジスタ104は、配線115とノードND2との導通又は非導通を制御する。配線
115とノードND2とが導通すると、配線115の電位がノードND2に供給され、ノ
ードND2の電位が配線115の電位に基づいて制御される。配線115の電位がVL又
はロウレベルであれば、ノードND2の電位がVLまで下降する。こうして、ノードND
2の電位が、トランジスタ102がオフになる値に設定される。
なお、図4(A)に示すように、トランジスタ104の第1の端子が配線113と接続さ
れてもよい。図4(A)では、トランジスタ104は、配線113とノードND2との導
通又は非導通を制御する。配線113とノードND2とが導通すると、配線113の電位
がノードND2に供給され、ノードND2の電位が配線113の電位に基づいて制御され
る。配線113の電位がVL又はロウレベルであれば、ノードND2の電位がVLまで下
降する。こうして、ノードND2の電位が、トランジスタ102がオフになる値に設定さ
れる。
なお、図4(B)に示すように、トランジスタ104の第1の端子が配線114と接続さ
れてもよい。図4(B)では、トランジスタ104は、配線114とノードND2との導
通又は非導通を制御する。配線114とノードND2とが導通すると、配線114の電位
がノードND2に供給され、ノードND2の電位が配線114の電位に基づいて制御され
る。配線114の電位がVL又はロウレベルであれば、ノードND2の電位がVLまで下
降する。こうして、ノードND2の電位が、トランジスタ102がオフになる値に設定さ
れる。
なお、図5(A)に示すように、トランジスタ104のゲートが配線111と接続されて
もよい。
なお、図5(B)に示すように、トランジスタ104のゲートが配線112と接続されて
もよい。
容量素子105は、配線112とノードND1との電位差を保持する。ノードND1が浮
遊状態であれば、配線112の電位の変化に基づいてノードND1の電位が変化する。そ
のため、配線112の電位の上昇に伴ってノードND1の電位が上昇すれば、ノードND
1の電位が配線111のハイレベルの電位とトランジスタ101の閾値電圧との和よりも
高くなる。
なお、図6(A)に示すように、容量素子105を省略してもよい。トランジスタ101
の第2の端子とゲートとの間の寄生容量によって、配線112とノードND1との間の電
位差は保持される。
容量素子106は、ノードND1とノードND2との電位差を保持する。ノードND2が
浮遊状態であれば、ノードND1の電位の変化に基づいてノードND2の電位が変化する
。そのため、ノードND1の電位の上昇に伴ってノードND2の電位が上昇すれば、ノー
ドND2の電位が配線113のハイレベルの電位とトランジスタ102の閾値電圧との和
よりも高くなる。
なお、図6(B)に示すように、容量素子106を省略してもよい。トランジスタ102
の第2の端子とゲートとの間の寄生容量によって、ノードND1とノードND2との間の
電位差は保持される。
なお、トランジスタ101、トランジスタ102、トランジスタ103、トランジスタ1
04、容量素子105及び容量素子106は、上述する機能の全てを有する必要はない。
なお、図1、図2、図3、図4、図5及び図6等に図示して説明した回路100、並びに
図示せずに説明した回路100を適宜組み合わせることが可能である。
本実施の形態の半導体装置の動作について、図1の構成を例にして説明する。ただし、本
発明の一態様は、以下に説明する動作に限定されない。
図7に示すタイミングチャートは、配線111の電位、配線113の電位、配線114の
電位、トランジスタ104のオン又はオフ、ノードND1の電位、ノードND2の電位、
及び配線112の電位の一例を示す。
なお、便宜上、期間T1、期間T2、期間T3及び期間T4という4つの期間に分けて説
明する。例えば、1フレーム期間が期間T1乃至T4を有する。
なお、便宜上、期間T1直前の期間T0において、配線111の電位がロウレベルであり
、配線113の電位がロウレベルであり、配線114の電位がロウレベルであり、ノード
ND1の電位がVLであり、ノードND2の電位がVLであり、配線112の電位がVL
であるものとする。また、ノードND1の電位がVLであるため、トランジスタ101は
オフである。また、ノードND2の電位がVLであるため、トランジスタ102はオフで
ある。
期間T1における動作について、図8(A)を参照して説明する。配線111の電位がロ
ウレベルのままになり、配線113の電位がロウレベルのままになり、配線114の電位
がロウレベルからハイレベルに変化し、トランジスタ104がオフのままになる。
配線114の電位がハイレベルになるため、トランジスタ103がオンになる。よって、
配線114のハイレベルの電位がノードND2に供給されるため、ノードND2の電位が
VLから上昇する。
その後、ノードND2の電位がトランジスタ102の第1の端子の電位(VL)とトラン
ジスタ102の閾値電圧(Vth102)との和(VL+Vth102)よりも高くなる
と、トランジスタ102がオンになる。よって、配線113のロウレベルの電位がノード
ND1に供給されるため、ノードND1の電位がVLのままになる。また、ノードND1
の電位がVLのままになるため、トランジスタ101がオフのままになる。よって、配線
112の電位がVLのままになる。
その後、ノードND2の電位がトランジスタ103のゲートの電位(VH)からトランジ
スタ103の閾値電圧(Vth103)を引いた値(VH−Vth103)まで上昇する
と、トランジスタ103がオフになる。よって、ノードND2が浮遊状態になり、ノード
ND2の電位がVH−Vth103に維持される。
なお、図2(A)では、トランジスタ103の第1の端子が配線116と接続されている
ため、配線116の電位(例えばVH)がノードND2に供給される。
期間T2における動作について、図8(B)を参照して説明する。配線111の電位がロ
ウレベルのままになり、配線113の電位がロウレベルからハイレベルに変化し、配線1
14の電位がハイレベルからロウレベルに変化し、トランジスタ104がオフのままにな
る。
配線114の電位がロウレベルになるため、トランジスタ103がオフのままになる。よ
って、ノードND2が浮遊状態のままになり、ノードND2の電位がVH−Vth103
のままになる。また、ノードND2の電位がVH−Vth103のままになるため、トラ
ンジスタ102がオンのままになる。よって、配線113のハイレベルの電位がノードN
D1に供給されるため、ノードND1の電位がVLから上昇する。このとき、容量素子1
06はノードND1とノードND2との電位差を保持しており、且つノードND2は浮遊
状態である。よって、ノードND1の電位の上昇に伴って、ノードND2の電位がVH−
Vth103から上昇する。
その後、ノードND1の電位がトランジスタ101の第1の端子の電位(VL)とトラン
ジスタ101の閾値電圧(Vth101)との和(VL+Vth101)よりも高くなる
と、トランジスタ101がオンになる。よって、配線111のロウレベルの電位が配線1
12に供給されるため、配線112の電位がVLのままになる。
その後、ノードND1の電位の上昇に伴って、ノードND2の電位がトランジスタ102
の第1の端子の電位(VH)とトランジスタ102の閾値電圧(Vth102)との和よ
りも高い値(VH+Vth102+α(αは正の数))まで上昇すると、ノードND1の
電位がVHまで上昇する。
なお、図2(B)では、トランジスタ103をオフのままにするために、期間T2におい
て配線114の電位はハイレベルのままであることが好ましい。
なお、図3(A)及び図3(B)では、期間T2において、トランジスタ103が期間T
0後に初めてオンになる。具体的に説明すると、配線113の電位がハイレベルになると
、トランジスタ103がオンになる。よって、図3(A)では、配線113のハイレベル
の電位がノードND2に供給され、ノードND2の電位がVLから上昇する。一方、図3
(B)では、配線116の電位(例えばVH)がノードND2に供給され、ノードND2
の電位がVLから上昇する。その後、ノードND2の電位がVL+Vth102よりも高
くなると、トランジスタ102がオンになる。よって、配線113のハイレベルの電位が
ノードND1に供給され、ノードND1の電位がVLから上昇する。その後、ノードND
2の電位がVH−Vth103になると、トランジスタ103がオフになり、ノードND
2が浮遊状態になる。このとき、ノードND1の電位が上昇している。そして、容量素子
106はノードND1とノードND2との電位差を保持している。よって、ノードND1
の電位の上昇に伴って、ノードND2の電位がVH−Vht103から上昇する。その後
、ノードND1の電位がVL+Vth101よりも高くなると、トランジスタ101がオ
ンになる。よって、配線111のロウレベルの電位が配線112に供給されるため、配線
112の電位がVLのままになる。その後、ノードND1の電位の上昇に伴って、ノード
ND2の電位がVH+Vth102+αまで上昇すると、ノードND1の電位がVHまで
上昇する。このように、図3(A)及び図3(B)では、図1の期間T1及び期間T2に
おける動作を期間T2においてまとめて行うことが可能である。よって、動作速度の向上
を図ることができる。
期間T3における動作について、図9(A)を参照して説明する。配線111の電位がロ
ウレベルからハイレベルに変化し、配線113の電位がハイレベルからロウレベルに変化
し、配線114の電位がロウレベルのままになり、トランジスタ104がオフからオンに
変化する。
配線114の電位がロウレベルのままになるため、トランジスタ103がオフのままにな
る。また、トランジスタ104がオンになる。よって、配線115の電位がノードND2
に供給されるため、ノードND2の電位がVH+Vth102+αからVLに下降する。
ノードND2の電位がVLになるため、トランジスタ102がオフになる。よって、ノー
ドND1が浮遊状態になり、ノードND1の電位がVHのままになる。ノードND1の電
位がVHのままになるため、トランジスタ101がオンのままになる。よって、配線11
1のハイレベルの電位が配線112に供給されるため、配線112の電位がVLから上昇
する。このとき、容量素子105は配線112とノードND1との電位差を保持しており
、且つノードND1は浮遊状態である。よって、配線112の電位の上昇に伴って、ノー
ドND1の電位がVHから上昇する。
その後、配線112の電位の上昇に伴ってノードND1の電位がトランジスタ101の第
1の端子(VH)の電位とトランジスタ101の閾値電圧(Vth101)との和よりも
高い値(VH+Vth101+β(βは正の数))まで上昇すると、配線112の電位が
VHまで上昇する。
なお、図4(A)では、トランジスタ104の第1の端子が配線113と接続されている
ため、配線113のロウレベルの電位がノードND2に供給される。また、図4(B)で
は、トランジスタ104の第1の端子が配線114と接続されているため、配線114の
ロウレベルの電位がノードND2に供給される。
期間T4における動作について、図9(B)を参照して説明する。配線111の電位がハ
イレベルからロウレベルに変化し、配線113の電位がロウレベルのままになり、配線1
14の電位がロウレベルからハイレベルに変化し、トランジスタ104がオンからオフに
変化する。
配線114の電位がハイレベルになるため、トランジスタ103がオンになる。よって、
配線114のハイレベルの電位がノードND2に供給され、ノードND2の電位が上昇す
る。このとき、ノードND1の電位がVH+Vth101+βであるため、トランジスタ
101がオンのままである。よって、配線111のロウレベルの電位が配線112に供給
されるため、配線112の電位がVHからVLに下降する。
その後、ノードND2の電位がトランジスタ102の第1の端子の電位(VL)とトラン
ジスタ102の閾値電圧(Vth102)との和よりも高くなると、トランジスタ102
がオンになる。よって、配線113のロウレベルの電位がノードND1に供給されるため
、ノードND1の電位がVH+Vth101+βからVLに下降する。また、ノードND
1の電位がVLになるため、トランジスタ101がオフになる。
その後、ノードND2の電位がトランジスタ103のゲートの電位(VH)からトランジ
スタ103の閾値電圧(Vth103)を引いた値まで上昇すると、トランジスタ103
がオフになる。よって、ノードND2が浮遊状態になり、ノードND2の電位がVH−V
ht103に維持される。
なお、図2(A)では、トランジスタ103の第1の端子が配線116と接続されている
ため、配線116の電位(例えばVH)がノードND2に供給される。
本実施の形態の半導体装置は、上記動作を行うことが可能な接続関係を有することにより
、ノードND2の電位をVH+Vth102+αにすることができる。
本実施の形態の半導体装置は、ノードND2の電位をVH+Vth102+αにすること
により、トランジスタ102のゲートとソースとの間の電位差をトランジスタ102の閾
値電圧よりも大きい値に維持することができる。
本実施の形態の半導体装置は、トランジスタ102のゲートとソースとの間の電位差をト
ランジスタ102の閾値電圧よりも大きい値に維持することにより、ノードND1の電位
をVHまで上昇させることができる。
本実施の形態の半導体装置は、トランジスタ102のゲートとソースとの間の電位差をト
ランジスタ102の閾値電圧よりも大きい値に維持することにより、ノードND1におけ
る電位の変化に要する時間を短くすることができる。
本実施の形態の半導体装置は、ノードND1の電位をVHまで上昇させることにより、ト
ランジスタ101のゲートとソースとの間の電位差を大きくすることができる。
本実施の形態の半導体装置は、トランジスタ101のゲートとソースとの間の電位差を大
きくすることにより、配線112における電位の変化に要する時間を短くすることができ
る。つまり、立ち上がり時間及び立ち下がり時間が短い信号を配線112に出力すること
ができる。
本実施の形態の半導体装置は、トランジスタ101及びトランジスタ102のゲートとソ
ースとの間の電位差を大きくすることにより、駆動電圧を小さくすることができる。これ
により、消費電力を小さくすることができる。
本実施の形態の半導体装置は、トランジスタ101及びトランジスタ102のゲートとソ
ースとの間の電位差を大きくすることにより、トランジスタ101及びトランジスタ10
2のチャネル幅を小さくすることができる。これにより、レイアウト面積を小さくするこ
とができる。
本実施の形態の半導体装置は、ノードND1における電位の変化に要する時間、及び配線
112における電位の変化に要する時間を短くすることができるため、動作速度の向上を
図ることができる。
トランジスタ101、トランジスタ102、トランジスタ103及びトランジスタ104
のW(Wはチャネル幅)/L(Lはチャネル長)について説明する。ただし、本発明の一
態様は、以下に説明するW/Lに限定されない。
トランジスタ101は配線112を駆動し、トランジスタ102はノードND1を駆動し
、トランジスタ103及びトランジスタ104はノードND2を駆動する。そして、配線
112の負荷は、ノードND1及びノードND2の負荷よりも大きい場合が多い。よって
、トランジスタ101のW/Lは、トランジスタ102、トランジスタ103及びトラン
ジスタ104のW/Lよりも大きいことが好ましい。或いは、回路100が有するトラン
ジスタの中で、トランジスタ101のW/Lが一番大きいことが好ましい。或いは、回路
100と同じ基板に設けられるトランジスタの中で、トランジスタ101のW/Lが一番
大きいことが好ましい。ただし、トランジスタ101と同じ又は概ね同じW/Lのトラン
ジスタが設けられていてもよい。こうして、トランジスタ101の駆動能力を大きくする
ことができるため、配線112の負荷を大きくすることができる。さらに、トランジスタ
102、トランジスタ103及びトランジスタ104のサイズを小さくできるため、レイ
アウト面積の縮小を図ることができる。
ノードND1の電位が上昇しても、トランジスタ102のゲートとソースとの間の電位差
をトランジスタ102の閾値電圧以上の値に維持することができるため、トランジスタ1
02のW/Lを小さくすることが可能である。一方、ノードND2の電位が上昇すると、
トランジスタ103のゲートとソースとの間の電位差は徐々に小さくなるため、トランジ
スタ103のW/Lは大きいことが好ましい。よって、トランジスタ103のW/Lは、
トランジスタ102のW/Lよりも大きいことが好ましい。こうして、トランジスタ10
3の駆動能力を大きくすることができるため、ノードND2における電位の変化に要する
時間を短くすることができる。さらに、トランジスタ102のサイズを小さくすることが
できるため、レイアウト面積の縮小を図ることができる。ただし、トランジスタ102の
W/Lは、トランジスタ103のW/Lよりも大きくてもよい。
図1、図2、図3、図4、図5及び図6等に図示して説明した回路100、図示せずに説
明した回路100、並びにこれらを組み合わせた構成に、追加することが可能なトランジ
スタについて説明する。ただし、本発明の一態様は、以下に説明する構成に限定されない
上述する回路100にトランジスタ107を追加してもよい。図10(A)は、図1に示
す回路100にトランジスタ107を追加する場合の構成を示す。トランジスタ107は
、第1の端子が配線115Bと接続され、第2の端子が配線112と接続される。配線1
15Bの電位はVLであることが好ましい。ただし、配線115Bの電位はハイレベルと
ロウレベルとを有していてもよい。トランジスタ107は、配線115Bと配線112と
の導通又は非導通を制御する。トランジスタ107がオンになると、配線115Bと配線
112とが導通し、配線112の電位が配線115Bの電位に基づいて制御される。配線
115Bの電位がVL又はロウレベルであれば、配線112の電位はVLになる。また、
トランジスタ107は、トランジスタ101乃至104と同じ極性であることが好ましい
期間T1において、トランジスタ107はオンになる。よって、配線115Bの電位が配
線112に供給されるため、配線112の電位がVLになる。ただし、期間T1において
、トランジスタ107はオフでもよい。
期間T2において、トランジスタ107はオンになる。よって、配線115Bの電位が配
線112に供給されるため、配線112の電位がVLになる。ただし、期間T2において
、トランジスタ107はオフでもよい。
期間T3において、トランジスタ107はオフになる。
期間T4おいて、トランジスタ107はオンになる。よって、配線115Bの電位が配線
112に供給されるため、配線112の電位がVLになる。ただし、期間T4において、
トランジスタ107はオフでもよい。
図10(A)は、回路100がトランジスタ107を有することにより、配線112が浮
遊状態になることを防止し、配線112の電位を安定させることができる。よって、誤動
作の防止を図ることができる。
なお、トランジスタ107の第1の端子は、配線111、配線113、配線114又は配
線115と接続されてもよい。また、トランジスタ107のゲートは、配線113又は配
線114と接続されてもよい。
上述する回路100にトランジスタ108を追加してもよい。図10(B)は、図1に示
す回路100にトランジスタ108を追加する場合の構成を示す。トランジスタ108は
、第1の端子が配線115Cと接続され、第2の端子がノードND1と接続される。配線
115Cの電位はVLであることが好ましい。ただし、配線115Cの電位はハイレベル
とロウレベルとを有していてもよい。トランジスタ108は、配線115CとノードND
1との導通又は非導通を制御する。トランジスタ108がオンになると、配線115Cと
ノードND1とが導通し、ノードND1の電位が配線115Cの電位に基づいて制御され
る。配線115Cの電位がVL又はロウレベルであれば、ノードND1の電位がVLにな
る。こうして、ノードND1の電位が、トランジスタ101がオフになる値に設定される
。また、トランジスタ108は、トランジスタ101乃至104と同じ極性であることが
好ましい。
期間T1において、トランジスタ108はオンになる。よって、配線115Cの電位がノ
ードND1に供給され、ノードND1の電位がVLになる。ただし、期間T1において、
トランジスタ108はオフでもよい。
期間T2において、トランジスタ108はオフになる。
期間T3において、トランジスタ108はオフになる。
期間T4において、トランジスタ108はオンになる。よって、配線115Cの電位がノ
ードND1に供給され、ノードND1の電位がVLになる。ただし、期間T4において、
トランジスタ108はオフでもよい。
図10(B)は、回路100がトランジスタ108を有することにより、ノードND1が
浮遊状態になることを防止し、ノードND1の電位を安定させることができる。よって、
誤動作の防止を図ることができる。
なお、トランジスタ108の第1の端子は、配線111、配線113、配線114又は配
線115と接続されてもよい。また、トランジスタ108のゲートは、配線114と接続
されてもよい。
なお、回路100にトランジスタ107及びトランジスタ108の双方が追加される場合
、トランジスタ107のゲートとトランジスタ108のゲートとが接続されてもよい。或
いは、トランジスタ107の第1の端子とトランジスタ108の第1の端子とが接続され
てもよい。
上述する回路100に、トランジスタ107又はトランジスタ108の一方又は双方を追
加するとともに、トランジスタ109及びトランジスタ110を追加してもよい。図11
(A)は、図1に示す回路100に、トランジスタ107及びトランジスタ108を追加
するとともに、トランジスタ109及びトランジスタ110を追加する場合の構成を示す
。トランジスタ109は、第1の端子が配線116と接続され、第2の端子がトランジス
タ107のゲート及びトランジスタ108のゲートと接続され、ゲートが配線114と接
続される。トランジスタ110は、第1の端子が配線114と接続され、第2の端子がト
ランジスタ107のゲート及びトランジスタ108のゲートと接続され、ゲートがノード
ND1と接続される。トランジスタ107のゲート、トランジスタ108のゲート、トラ
ンジスタ109の第2の端子又はトランジスタ110の第2の端子をノードND3と示す
。トランジスタ109は、配線116とノードND3との導通又は非導通を制御する。ト
ランジスタ109がオンになると、配線116とノードND3とが導通し、ノードND3
の電位が配線116の電位に基づいて制御される。配線116の電位がVH又はハイレベ
ルであれば、ノードND3の電位が上昇する。ただし、トランジスタ109のゲートが配
線114と接続されているため、ノードND3の電位が配線114のハイレベルの電位か
らトランジスタ109の閾値電圧を引いた値まで上昇すると、トランジスタ109がオフ
になる。そして、ノードND3が浮遊状態になる。こうして、ノードND3の電位が、ト
ランジスタ107又はトランジスタ108がオンになる値に設定されるとともに、ノード
ND3が浮遊状態になる。また、トランジスタ110は配線114とノードND3との導
通又は非導通を制御する。トランジスタ110がオンになると、配線114とノードND
3とが導通し、ノードND3の電位が配線114の電位に基づいて制御される。配線11
4の電位がロウレベルであれば、ノードND3の電位がVLまで下降する。こうして、ノ
ードND3の電位が、トランジスタ107又はトランジスタ108がオフになる値に設定
される。また、トランジスタ109及びトランジスタ110は、トランジスタ101乃至
104と同じ極性であることが好ましい。
期間T1において、配線114がハイレベルになるため、トランジスタ109がオンにな
る。また、ノードND1の電位がVLになるため、トランジスタ110がオフになる。よ
って、配線116の電位がノードND3に供給され、ノードND3の電位がVLから上昇
する。その後、ノードND3の電位がトランジスタ107の第1の端子の電位(VL)と
トランジスタ107の閾値電圧(Vth107)との和よりも高くなると、トランジスタ
107がオンになる。また、ノードND3の電位がトランジスタ108の第1の端子の電
位(VL)とトランジスタ108の閾値電圧(Vth108)との和よりも高くなると、
トランジスタ108がオンになる。その後、ノードND3の電位がトランジスタ109の
ゲートの電位(VH)からトランジスタ109の閾値電圧(Vth109)を引いた値に
なると、トランジスタ109がオフになる。よって、ノードND3が浮遊状態になり、ノ
ードND3の電位がVH−Vth109に維持される。
期間T2において、配線114の電位がロウレベルになるため、トランジスタ109がオ
フになる。また、ノードND1の電位がトランジスタ110の第1の端子の電位(VL)
とトランジスタ110の閾値電圧(Vth110)との和よりも高くなると、トランジス
タ110がオンになる。よって、配線114のロウレベルの電位がノードND3に供給さ
れ、ノードND3の電位がVH−Vth109からVLに下降する。よって、トランジス
タ107及びトランジスタ108はオフになる。
期間T3において、配線114の電位がロウレベルのままになるため、トランジスタ10
9がオフのままになる。また、ノードND1の電位がVH+Vth110+βになるため
、トランジスタ110がオンのままになる。よって、配線114のロウレベルの電位がノ
ードND3に供給され、ノードND3の電位がVLのままになる。よって、トランジスタ
107及びトランジスタ108はオフのままになる。
期間T4において、配線114の電位がハイレベルになるため、トランジスタ109がオ
ンになる。また、ノードND1の電位がVLになるため、トランジスタ110がオフにな
る。よって、配線116の電位がノードND3に供給され、ノードND3の電位がVLか
ら上昇する。その後、ノードND3の電位がトランジスタ107の第1の端子の電位(V
L)とトランジスタ107の閾値電圧(Vth107)との和よりも高くなると、トラン
ジスタ107がオンになる。また、ノードND3の電位がトランジスタ108の第1の端
子の電位(VL)とトランジスタ108の閾値電圧(Vth108)との和よりも高くな
ると、トランジスタ108がオンになる。
図11(A)は、回路100がトランジスタ109及びトランジスタ110を有すること
により、トランジスタ107又はトランジスタ108を制御する信号を回路100内で生
成することができる。よって、信号の数を減らすことができる。
なお、図11(B)に示すように、トランジスタ109のゲート及びトランジスタ110
の第1の端子は配線117と接続されてもよい。配線117の電位はハイレベル(例えば
VH)とロウレベル(例えばVL)とを有する。
なお、トランジスタ109のゲートが配線117と接続され、トランジスタ110の第1
の端子が配線114と接続されてもよい。或いは、トランジスタ109のゲートが配線1
14と接続され、トランジスタ110の第1の端子が配線117と接続されてもよい。
なお、トランジスタ109の第2の端子及びトランジスタ110の第2の端子は、トラン
ジスタ107のゲート及びトランジスタ108のゲートのうちトランジスタ107のゲー
トのみと接続されてもよい。或いは、トランジスタ109の第2の端子及びトランジスタ
110の第2の端子は、トランジスタ107のゲート及びトランジスタ108のゲートの
うちトランジスタ108のゲートのみと接続されてもよい。
なお、トランジスタ110の第1の端子は配線115、配線115B、配線115C又は
配線117と接続されてもよい。
上述する回路100に、トランジスタ121を追加してもよい。図12(A)は、図1に
示す回路100に、トランジスタ121を追加する場合の構成を示す。トランジスタ12
1は、第1の端子が配線112と接続され、第2の端子がノードND1と接続され、ゲー
トが配線111と接続される。トランジスタ121は、配線112とノードND1との導
通又は非導通を制御する。トランジスタ121がオンになると、配線112とノードND
1とが導通する。例えば期間T3のように配線112の電位がVLから上昇し、且つノー
ドND1の電位がVHから上昇している場合、ノードND1の電位の上昇が抑制されると
ともに、配線112の電位の変化に要する時間が短くなる。ただし、トランジスタ121
のゲートが配線111と接続されているため、配線112の電位が配線111のハイレベ
ルの電位からトランジスタ121の閾値電圧を引いた値になると、トランジスタ121が
オフになる。また、トランジスタ121は、トランジスタ101乃至104と同じ極性で
あることが好ましい。
期間T1において、配線111がロウレベルになるため、トランジスタ121がオフにな
る。
期間T2において、配線111がロウレベルになるため、トランジスタ121がオフにな
る。
期間T3において、配線111がハイレベルになるため、トランジスタ121がオンにな
る。ただし、配線112の電位がトランジスタ121のゲートの電位(VH)からトラン
ジスタ121の閾値電圧(Vth121)を引いた値まで上昇すると、トランジスタ12
1がオフになる。
期間T4において、配線111がロウレベルになるため、トランジスタ121がオフにな
る。
図12(A)は、回路100がトランジスタ121を有することにより、ノードND1の
電位が高くなり過ぎることを防止することができる。よって、ノードND1と接続される
トランジスタの劣化の抑制又は破壊の防止等を図ることができる。
上述する回路100に、トランジスタ122を追加してもよい。図12(B)は、図1に
示す回路100に、トランジスタ122を追加する場合の構成を示す。トランジスタ12
2は、第1の端子がノードND1と接続され、第2の端子がノードND2と接続され、ゲ
ートが配線113と接続される。トランジスタ122は、ノードND1とノードND2と
の導通又は非導通を制御する。トランジスタ122がオンになると、ノードND1とノー
ドND2とが導通する。例えば、期間T2のようにノードND1の電位がVLから上昇し
、且つノードND2の電位がVH−Vth103から上昇している場合、ノードND2の
電位の上昇が抑制されるとともに、ノードND1の電位の変化に要する時間が短くなる。
ただし、トランジスタ122のゲートが配線113と接続されているため、ノードND1
の電位が配線113のハイレベルの電位からトランジスタ122の閾値電圧を引いた値に
なると、トランジスタ122がオフになる。また、トランジスタ122は、トランジスタ
101乃至104と同じ極性であることが好ましい。
期間T1において、配線113がロウレベルになるため、トランジスタ122がオフにな
る。
期間T2において、配線113がハイレベルになるため、トランジスタ122がオンにな
る。ただし、ノードND1の電位がトランジスタ122のゲートの電位(VH)からトラ
ンジスタ122の閾値電圧(Vth122)を引いた値まで上昇すると、トランジスタ1
22がオフになる。
期間T3において、配線113がロウレベルになるため、トランジスタ122がオフにな
る。
期間T4において、配線113がロウレベルになるため、トランジスタ122がオフにな
る。
図12(B)は、回路100がトランジスタ122を有することにより、ノードND2の
電位が高くなり過ぎることを防止することができる。よって、ノードND2と接続される
トランジスタの劣化の抑制又は破壊の防止等を図ることができる。
上述する回路100に、トランジスタ123を追加してもよい。図13(A)は、図1に
示す回路100に、トランジスタ123を追加する場合の構成を示す。トランジスタ12
3は、第1の端子が配線111と接続され、第2の端子がノードND1と接続される。ト
ランジスタ123は、配線111とノードND1との導通又は非導通を制御する。トラン
ジスタ123がオンになると、配線111とノードND1とが導通し、配線111の電位
がノードND1に供給される。配線111の電位がロウレベルであれば、ノードND1の
電位がVLになる。このように、ノードND1の電位が、トランジスタ101がオフにな
る値に設定される。また、トランジスタ123は、トランジスタ101乃至104と同じ
極性であることが好ましい。
期間T0において、トランジスタ123がオンになる。よって、配線111のロウレベル
の電位がノードND1に供給され、ノードND1の電位がVLになる。
期間T1、期間T2、期間T3及び期間T4において、トランジスタ123がオフになる
図13(A)は、回路100がトランジスタ123を有することにより、ノードND1の
電位をVLに設定することができる。よって、誤動作の防止を図ることができる。
上述する回路100に、トランジスタ124を追加してもよい。図13(B)は、図1に
示す回路100に、トランジスタ124を追加する場合の構成を示す。トランジスタ12
4は、第1の端子が配線113と接続され、第2の端子がノードND2と接続される。ト
ランジスタ124は、配線113とノードND2との導通又は非導通を制御する。トラン
ジスタ124がオンになると、配線113とノードND2とが導通し、配線113の電位
がノードND2に供給される。配線113の電位がロウレベルであれば、ノードND2の
電位がVLになる。このように、ノードND2の電位が、トランジスタ102がオフにな
る値に設定される。また、トランジスタ124は、トランジスタ101乃至104と同じ
極性であることが好ましい。
期間T0において、トランジスタ124がオンになる。よって、配線113のロウレベル
の電位がノードND2に供給され、ノードND2の電位がVLになる。
期間T1、期間T2、期間T3及び期間T4において、トランジスタ124がオフになる
図13(B)は、回路100がトランジスタ124を有することにより、ノードND2の
電位をVLに設定することができる。よって、誤動作の防止を図ることができる。
なお、回路100にトランジスタ123及びトランジスタ124の双方が追加される場合
、トランジスタ123のゲートとトランジスタ124のゲートとが接続されてもよい。
図1、図2、図3、図4、図5、図6、図10、図11、図12及び図13等に図示して
説明した回路100、並びに図示せずに説明した回路100を自由に組み合わせることが
可能である。
図14(A)は、トランジスタ103の第1の端子及びゲートが配線113と接続される
構成(図3(A)参照)と、トランジスタ104のゲートが配線111と接続される構成
(図5(A)参照)と、を組み合わせた場合の構成である。
図14(B)は、トランジスタ104のゲートが配線111と接続される構成(図5(A
)参照)と、トランジスタ108を追加する構成(図10(B)参照)と、トランジスタ
109及びトランジスタ110を追加する構成(図11(B)参照)と、を組み合わせた
場合の構成である。
なお、本実施の形態は他の実施の形態の記載と適宜組み合わせることができる。よって、
本実施の形態の中で述べる内容(一部の内容でもよい)は、その実施の形態で述べる別の
内容(一部の内容でもよい)、及び/又は、一つ若しくは複数の別の実施の形態で述べる
内容(一部の内容でもよい)に対して、適用、組み合わせ、又は置き換えなどを行うこと
ができる。なお、実施の形態の中で述べる内容とは、各々の実施の形態において、様々な
図を用いて述べる内容、又は明細書に記載される文章を用いて述べる内容のことである。
また、ある一つの実施の形態において述べる図(一部でもよい)は、その図の別の部分、
その実施の形態において述べる別の図(一部でもよい)、及び/又は、一つ若しくは複数
の別の実施の形態において述べる図(一部でもよい)に対して、組み合わせることにより
、さらに多くの図を構成させることができる。これは、以下の実施の形態においても同様
である。
(実施の形態2)
本実施の形態では、本発明の一態様に係る半導体装置について説明する。
本発明の一態様に係る半導体装置の構成について、図15を参照して説明する。ただし、
本発明の一態様は、以下に説明する構成に限定されない。
図15に示す半導体装置は、回路200を有する。回路200は、配線212、配線21
3、配線214及び配線215の電位に基づいて、N(Nは3以上の自然数)本の配線2
11(配線211[1]乃至[N]とも示す)の電位を制御する機能を有する。回路20
0は、配線212、配線213、配線214及び配線215の電位に基づいた信号を配線
211[1]乃至[N]のそれぞれに出力する。そして、当該信号により、配線211[
1]乃至[N]のそれぞれの電位が制御される。
具体的には、回路200は、配線212、配線213、配線214及び配線215の電位
に基づいて、配線211[1]乃至[N]の電位を順次アクティブにする機能、即ち配線
211[1]乃至[N]の電位を順次ハイレベル又はロウレベルにする機能を有する。図
16には、回路200が、配線212、配線213、配線214及び配線215の電位に
基づいて、配線211[1]乃至[N]の電位を順次ハイレベルにする場合のタイミング
チャートを示す。このように、回路200は、シフトレジスタとしての機能を有する。
なお、配線212、配線213、配線214及び配線215の電位は、各配線に信号又は
電圧等が入力されることによって制御される。例えば、配線212には信号CK1が入力
され、配線213には信号CK2が入力され、配線214には信号CK3が入力され、配
線215には信号SPが入力され、配線211[1]乃至[N]のそれぞれには信号OU
T[1]乃至[N]が出力される。即ち、信号OUT[1]乃至[N]は、信号CK1、
信号CK2、信号CK3及び信号SPに基づいた値を有する。信号CK1、信号CK2及
び信号CK3としては、互いに位相が異なるクロック信号がある。また、信号SPとして
は、スタートパルスがある。
回路200は、N個の回路201(回路201[1]乃至[N]とも示す)を有する。回
路201[1]乃至[N]のそれぞれは、実施の形態1において説明する回路100に相
当する。図15では、回路201[1]乃至[N]のそれぞれに図5(A)に示す回路1
00が用いられている。
回路201[2m+1](mは0又は正の整数)において、トランジスタ101の第1の
端子及びトランジスタ104のゲートは配線214と接続される。よって、配線214は
配線111に相当する。また、トランジスタ101の第2の端子は配線211[2m+1
]と接続される。よって、配線211[2m+1]は配線112に相当する。また、トラ
ンジスタ102の第1の端子は配線215又は配線211[2m]と接続される。よって
、配線215又は配線211[2m]は、配線113に相当する。また、トランジスタ1
03の第1の端子及びゲートは、配線212と接続される。よって、配線212は、配線
114に相当する。また、トランジスタ104の第1の端子は配線213と接続される。
よって、配線213は配線115に相当する。
回路201[2m+2]において、トランジスタ101の第1の端子及びトランジスタ1
04のゲートは配線212と接続される。よって、配線212は配線111に相当する。
また、トランジスタ101の第2の端子は配線211[2m+2]と接続される。よって
、配線211[2m+2]は配線112に相当する。また、トランジスタ102の第1の
端子は配線211[2m+1]と接続される。よって、配線211[2m+1]は、配線
113に相当する。また、トランジスタ103の第1の端子及びゲートは、配線213と
接続される。よって、配線213は、配線114に相当する。また、トランジスタ104
の第1の端子は配線214と接続される。よって、配線214は配線115に相当する。
回路201[2m+3]において、トランジスタ101の第1の端子及びトランジスタ1
04のゲートは配線213と接続される。よって、配線213は配線111に相当する。
また、トランジスタ101の第2の端子は配線211[2m+3]と接続される。よって
、配線211[2m+3]は配線112に相当する。また、トランジスタ102の第1の
端子は配線211[2m+2]と接続される。よって、配線211[2m+2]は、配線
113に相当する。また、トランジスタ103の第1の端子及びゲートは、配線214と
接続される。よって、配線214は、配線114に相当する。また、トランジスタ104
の第1の端子は配線212と接続される。よって、配線212は配線115に相当する。
なお、図17に示すように、回路201[1]乃至[N]のそれぞれにおいて、トランジ
スタ104の第1の端子は配線216と接続されてもよい。配線216は配線115に相
当する。また、配線216には、電圧VSSを供給してもよい。電圧VSSは、例えば信
号CK1、信号CK2、信号CK3及び信号SPのロウレベルに対応する値(等しい又は
概ね等しい値)を有する。
なお、図18に示すように、回路201[2m+1]において、トランジスタ103の第
1の端子及びゲートは、配線213と接続されてもよい。また、回路201[2m+2]
において、トランジスタ103の第1の端子及びゲートは、配線214と接続されてもよ
い。また、回路201[2m+3]において、トランジスタ103の第1の端子及びゲー
トは、配線212と接続されてもよい。即ち、回路201[i](iは2乃至Nのいずれ
か一)において、トランジスタ103の第1の端子及びゲートは、配線212、配線21
3及び配線214のうち回路201[i−1]のトランジスタ101の第1の端子が接続
される配線と接続されてもよい。
なお、回路201[1]乃至[N]のそれぞれにトランジスタ103の第1の端子又はゲ
ートが配線116と接続される回路100(例えば図2(A)、図2(B)、図3(B)
参照)を採用する場合、回路201[1]乃至[N]のそれぞれのトランジスタ103の
第1の端子又はゲートが接続される新たな配線を設けてもよい。
なお、本実施の形態は他の実施の形態の記載と適宜組み合わせることができる。よって、
本実施の形態の中で述べる内容(一部の内容でもよい)は、その実施の形態で述べる別の
内容(一部の内容でもよい)、及び/又は、一つ若しくは複数の別の実施の形態で述べる
内容(一部の内容でもよい)に対して、適用、組み合わせ、又は置き換えなどを行うこと
ができる。なお、実施の形態の中で述べる内容とは、各々の実施の形態において、様々な
図を用いて述べる内容、又は明細書に記載される文章を用いて述べる内容のことである。
また、ある一つの実施の形態において述べる図(一部でもよい)は、その図の別の部分、
その実施の形態において述べる別の図(一部でもよい)、及び/又は、一つ若しくは複数
の別の実施の形態において述べる図(一部でもよい)に対して、組み合わせることにより
、さらに多くの図を構成させることができる。これは、以下の実施の形態においても同様
である。
(実施の形態3)
本実施の形態では、本発明の一態様に係る表示装置について説明する。
本発明の一態様に係る表示装置の構成について、図19を参照して説明する。ただし、本
発明の一態様は、以下に説明する構成に限定されない。
図19に示す表示装置は、画素部301、走査線駆動回路302及び信号線駆動回路30
3を有する。
画素部301では、N本の走査線GL(走査線GL[1]乃至[N]とも示す)と、M(
Mは2以上の自然数)本の信号線SL(信号線SL[1]乃至[M]とも示す)とが交差
するように配置されている。また、各交差部には、画素310が配置されている。
画素310は、表示素子及びトランジスタを少なくとも有する。表示素子としては、発光
素子、液晶素子がある。発光素子としては、EL素子がある。
例えば、本明細書等において、表示素子、表示素子を有する装置である表示装置、発光
素子、及び発光素子を有する装置である発光装置は、様々な形態を用いること、又は様々
な素子を有することが出来る。表示素子、表示装置、発光素子又は発光装置は、例えば、
EL(エレクトロルミネッセンス)素子(有機物及び無機物を含むEL素子、有機EL素
子、無機EL素子)、LED(白色LED、赤色LED、緑色LED、青色LEDなど)
、トランジスタ(電流に応じて発光するトランジスタ)、電子放出素子、液晶素子、電子
インク、電気泳動素子、グレーティングライトバルブ(GLV)、プラズマディスプレイ
(PDP)、MEMS(マイクロ・エレクトロ・メカニカル・システム)を用いた表示素
子、デジタルマイクロミラーデバイス(DMD)、DMS(デジタル・マイクロ・シャッ
ター)、IMOD(インターフェアレンス・モジュレーション)素子、シャッター方式の
MEMS表示素子、光干渉方式のMEMS表示素子、エレクトロウェッティング素子、圧
電セラミックディスプレイ、カーボンナノチューブを用いた表示素子、などの少なくとも
一つを有している。これらの他にも、電気的または磁気的作用により、コントラスト、輝
度、反射率、透過率などが変化する表示媒体を有していても良い。EL素子を用いた表示
装置の一例としては、ELディスプレイなどがある。電子放出素子を用いた表示装置の一
例としては、フィールドエミッションディスプレイ(FED)又はSED方式平面型ディ
スプレイ(SED:Surface−conduction Electron−emi
tter Display)などがある。液晶素子を用いた表示装置の一例としては、液
晶ディスプレイ(透過型液晶ディスプレイ、半透過型液晶ディスプレイ、反射型液晶ディ
スプレイ、直視型液晶ディスプレイ、投射型液晶ディスプレイ)などがある。電子インク
、又は電気泳動素子を用いた表示装置の一例としては、電子ペーパーなどがある。なお、
半透過型液晶ディスプレイや反射型液晶ディスプレイを実現する場合には、画素電極の一
部、または、全部が、反射電極としての機能を有するようにすればよい。例えば、画素電
極の一部、または、全部が、アルミニウム、銀、などを有するようにすればよい。さらに
、その場合、反射電極の下に、SRAMなどの記憶回路を設けることも可能である。これ
により、さらに、消費電力を低減することができる。なお、LEDを用いる場合、LED
の電極や窒化物半導体の下に、グラフェンやグラファイトを配置してもよい。グラフェン
やグラファイトは、複数の層を重ねて、多層膜としてもよい。このように、グラフェンや
グラファイトを設けることにより、その上に、窒化物半導体、例えば、結晶を有するn型
GaN半導体層などを容易に成膜することができる。さらに、その上に、結晶を有するp
型GaN半導体層などを設けて、LEDを構成することができる。なお、グラフェンやグ
ラファイトと、結晶を有するn型GaN半導体層との間に、AlN層を設けてもよい。な
お、LEDが有するGaN半導体層は、MOCVDで成膜してもよい。ただし、グラフェ
ンを設けることにより、LEDが有するGaN半導体層は、スパッタ法で成膜することも
可能である。
走査線駆動回路302は、走査線GL[1]乃至[N]の電位を制御する機能を有する。
走査線駆動回路302は、走査線GL[1]乃至[N]のそれぞれに走査信号を出力する
。そして、走査信号により、走査線GL[1]乃至[N]のそれぞれの電位が制御される
。また、走査線駆動回路302は、実施の形態1において説明する回路100又は実施の
形態2において説明する回路200を有することが可能である。そのような場合、例えば
走査線GL[1]乃至[N]のそれぞれは配線112に対応する。或いは、走査線GL[
1]乃至[N]は配線211[1]乃至[N]にそれぞれ対応する。また、走査線駆動回
路302を制御するための信号(クロック信号及びスタートパルス等、又は信号CK1、
信号CK2、信号CK3及び信号SP等)は、回路304から供給される。
信号線駆動回路303は、信号線SL[1]乃至[M]の電位又は電流を制御する機能を
有する。信号線駆動回路303は、信号線SL[1]乃至[M]のそれぞれにビデオ信号
を出力する。そして、ビデオ信号により、信号線SL[1]乃至[M]のそれぞれの電位
が制御される。また、信号線駆動回路303は、実施の形態1において説明する回路10
0又は実施の形態2において説明する回路200を有することが可能である。また、信号
線駆動回路303を制御するための信号(例えばクロック信号、スタートパルス、ビデオ
信号等)は、回路304から供給される。
なお、回路304は、走査線駆動回路302及び信号線駆動回路303に信号を供給する
ため、タイミングコントローラとしての機能を有する。また、回路304は、走査線駆動
回路302及び信号線駆動回路303に電圧を供給してもよい。そのような場合、回路3
04は、電源回路としての機能を有する。
なお、走査線駆動回路302は、信号線駆動回路303よりも動作速度が遅い。そのため
、走査線駆動回路302が有するトランジスタは、酸化物半導体、多結晶シリコン又は非
晶質シリコンをチャネル形成領域に有することが好ましい。一方で、信号線駆動回路30
3が有するトランジスタは、単結晶シリコンをチャネル形成領域に有することが好ましい
。よって、画素部301及び走査線駆動回路302を同じ基板に設け、信号線駆動回路3
03は別の基板に設けることが好ましい。ただし、画素部301、走査線駆動回路302
及び信号線駆動回路303を同じ基板に設けてもよい。
なお、走査線駆動回路302に実施の形態1において説明する回路100又は実施の形態
2において説明する回路200を採用することにより、走査線駆動回路302が有するト
ランジスタを全て同じ極性にすることができる。よって、画素部301及び走査線駆動回
路302が同じ基板に設けられる場合、当該基板に設けられるトランジスタの全ては同じ
極性であることが好ましい。
なお、走査線駆動回路302に実施の形態1において説明する回路100又は実施の形態
2において説明する回路200を採用することにより、走査線駆動回路302のレイアウ
ト面積を小さくすることができる。よって、画素310の解像度を高くすることができる
。また、額縁を小さくすることができる。
なお、本実施の形態は他の実施の形態の記載と適宜組み合わせることができる。よって、
本実施の形態の中で述べる内容(一部の内容でもよい)は、その実施の形態で述べる別の
内容(一部の内容でもよい)、及び/又は、一つ若しくは複数の別の実施の形態で述べる
内容(一部の内容でもよい)に対して、適用、組み合わせ、又は置き換えなどを行うこと
ができる。なお、実施の形態の中で述べる内容とは、各々の実施の形態において、様々な
図を用いて述べる内容、又は明細書に記載される文章を用いて述べる内容のことである。
また、ある一つの実施の形態において述べる図(一部でもよい)は、その図の別の部分、
その実施の形態において述べる別の図(一部でもよい)、及び/又は、一つ若しくは複数
の別の実施の形態において述べる図(一部でもよい)に対して、組み合わせることにより
、さらに多くの図を構成させることができる。これは、以下の実施の形態においても同様
である。
(実施の形態4)
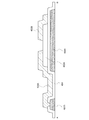
本実施の形態では、実施の形態1において説明する半導体装置の構造について説明する。
図20は、図5(A)に示す半導体装置の上面図である。また、図23は、図20に示す
上面図のA−B断面である。ただし、本発明の一態様は、以下に説明する構成に限定され
ない。
図20に示す半導体装置は、導電層401A乃至401D、半導体層402A乃至402
D、導電層403A乃至403I、及び絶縁層404を有する。図21には、導電層40
1A乃至401Dのみを示す。図22には、導電層403A乃至403Iのみを示す。な
お、X方向は、Y方向と略垂直な方向である。或いは、X方向は、Y方向と交差する方向
である。
絶縁層404は、トランジスタ101のゲート絶縁層となる領域と、トランジスタ102
のゲート絶縁層となる領域と、トランジスタ103のゲート絶縁層となる領域と、トラン
ジスタ104のゲート絶縁層となる領域と、を有する。また、絶縁層404は、導電層4
01Aと半導体層402Aとに挟まれている領域と、導電層401Bと半導体層402B
とに挟まれている領域と、導電層401Cと半導体層402Cとに挟まれている領域と、
導電層401Dと半導体層402Dとに挟まれている領域と、を有する。なお、図中の黒
い丸は、絶縁層404が有するコンタクトホールを示す。
絶縁層404としては、プラズマ化学気相堆積(PECVD:(Plasma Enha
nced Chemical Vapor Deposition))法、スパッタリン
グ法等により、酸化シリコン膜、酸化窒化シリコン膜、窒化酸化シリコン膜、窒化シリコ
ン膜、酸化アルミニウム膜、酸化ハフニウム膜、酸化イットリウム膜、酸化ジルコニウム
膜、酸化ガリウム膜、酸化タンタル膜、酸化マグネシウム膜、酸化ランタン膜、酸化セリ
ウム膜および酸化ネオジム膜を一種以上含む絶縁層を、それぞれ用いることができる。
導電層401A乃至401Dは同層である。或いは、導電層401A乃至401Dは同じ
材料を有する。或いは、導電層401A乃至401Dは同一の導電膜を加工する工程を経
て形成されたものである。
導電層401A乃至401Dとしては、クロム(Cr)、銅(Cu)、アルミニウム(A
l)、金(Au)、銀(Ag)、亜鉛(Zn)、モリブデン(Mo)、タンタル(Ta)
、チタン(Ti)、タングステン(W)、マンガン(Mn)、ニッケル(Ni)、鉄(F
e)、コバルト(Co)から選ばれた金属元素、または上述した金属元素を成分とする合
金か、上述した金属元素を組み合わせた合金等を用いてそれぞれ形成することができる。
また、導電層401A乃至401Dは、単層構造でも、二層以上の積層構造としてもよい
。例えば、シリコンを含むアルミニウム膜の単層構造、アルミニウム膜上にチタン膜を積
層する二層構造、窒化チタン膜上にチタン膜を積層する二層構造、窒化チタン膜上にタン
グステン膜を積層する二層構造、窒化タンタル膜または窒化タングステン膜上にタングス
テン膜を積層する二層構造、チタン膜と、そのチタン膜上にアルミニウム膜を積層し、さ
らにその上にチタン膜を形成する三層構造等がある。また、アルミニウムに、チタン、タ
ンタル、タングステン、モリブデン、クロム、ネオジム、スカンジウムから選ばれた一ま
たは複数を組み合わせた合金膜、もしくは窒化膜を用いてもよい。
また、導電層401A乃至401Dとしては、インジウム錫酸化物、酸化タングステンを
含むインジウム酸化物、酸化タングステンを含むインジウム亜鉛酸化物、酸化チタンを含
むインジウム酸化物、酸化チタンを含むインジウム錫酸化物、インジウム亜鉛酸化物、酸
化シリコンを添加したインジウム錫酸化物等の透光性を有する導電性材料を適用すること
もできる。
また、導電層401A乃至401Dには、Cu−X合金膜(Xは、Mn、Ni、Cr、F
e、Co、Mo、Ta、またはTi)を適用してもよい。Cu−X合金膜を用いることで
、ウエットエッチングプロセスで加工できるため、製造コストを抑制することが可能とな
る。
導電層401Aは、トランジスタ101のゲート電極となる領域と、容量素子105の第
2の電極となる領域と、を有する。また、導電層401Aは、開口部401A1と、開口
部401A2と、を有する。開口部401A1及び開口部401A2は、略Y方向に沿う
長尺を有する。
導電層401Bは、トランジスタ102のゲート電極となる領域と、容量素子106の第
2の電極となる領域と、を有する。また、導電層401Bは、開口部401B1を有する
。開口部401B1は、略Y方向に沿う長尺を有する。
導電層401Cは、トランジスタ103のゲート電極となる領域を有する。
導電層401Dは、トランジスタ104のゲート電極となる領域を有する。
なお、導電層401Aの面積は、導電層401B、導電層401C及び導電層401Dの
面積よりも大きい。また、導電層401Bの面積は、導電層401C及び導電層401D
の面積よりも大きい。
なお、開口部401A1及び開口部401A2の面積は、開口部401B1の面積よりも
大きい。また、開口部401A1及び開口部401A2の幅は、開口部401B1の幅よ
りも大きい。また、開口部401A1及び開口部401A2の長尺方向の長さは、開口部
401B1の長尺方向の長さよりも長い。
なお、導電層401Aには3つ以上の開口部を設けてもよく、導電層401Bには2つ以
上の開口部を設けてもよい。ただし、導電層401Aが有する開口部の数は、導電層40
1Bが有する開口部の数よりも多いことが好ましい。
半導体層402A乃至402Dは同層である。或いは、半導体層402A乃至402Dは
同じ材料を有する。或いは、半導体層402A乃至402Dは同一の半導体膜を加工する
工程を経て形成されたものである。
半導体層402A乃至402Dとしては、単結晶半導体又は非単結晶半導体がある。非単
結晶半導体としては、非単結晶シリコン又は非単結晶ゲルマニウムがある。非単結晶シリ
コンとしては、非晶質シリコン、微結晶シリコン又は多結晶シリコンがあり、非単結晶ゲ
ルマニウムとしては、非晶質ゲルマニウム、微結晶ゲルマニウム又は多結晶ゲルマニウム
などがある。
特に、半導体層402A乃至402Dとしては、酸化物半導体膜を用いることが好ましい
。酸化物半導体膜としては、In−M(Mは、Ti、Ga、Sn、Y、Zr、La、Ce
、Nd、またはHfを表す)酸化物、In−M−Zn酸化物を用いることができる。とく
に、酸化物半導体膜としては、In−M−Zn酸化物を用いると好ましい。酸化物半導体
膜がIn−M−Zn酸化物の場合、In−M−Zn酸化物を成膜するために用いるスパッ
タリングターゲットの金属元素の原子数比は、In≧M、Zn≧Mを満たすことが好まし
い。このようなスパッタリングターゲットの金属元素の原子数比として、In:M:Zn
=1:1:1、In:M:Zn=1:1:1.2、In:M:Zn=2:1:3、In:
M:Zn=3:1:2、In:M:Zn=4:2:4.1が好ましい。また、酸化物半導
体膜がIn−M−Zn酸化物の場合、スパッタリングターゲットとしては、多結晶のIn
−M−Zn酸化物を含むターゲットを用いると好ましい。多結晶のIn−M−Zn酸化物
を含むターゲットを用いることで、結晶性を有する酸化物半導体膜を形成しやすくなる。
なお、成膜される酸化物半導体膜の原子数比はそれぞれ、誤差として上記のスパッタリン
グターゲットに含まれる金属元素の原子数比のプラスマイナス40%の変動を含む。例え
ば、スパッタリングターゲットとして、原子数比がIn:Ga:Zn=4:2:4.1を
用いる場合、成膜される酸化物半導体膜の原子数比は、In:Ga:Zn=4:2:3近
傍となる場合がある。
酸化物半導体膜は、エネルギーギャップが2eV以上、好ましくは2.5eV以上、より
好ましくは3eV以上である。このように、エネルギーギャップの広い酸化物半導体を用
いることで、トランジスタのオフ電流を低減することができる。
酸化物半導体膜の厚さは、それぞれ3nm以上200nm以下、好ましくは3nm以上1
00nm以下、さらに好ましくは3nm以上50nm以下とする。
酸化物半導体膜としては、キャリア密度の低い酸化物半導体膜を用いる。例えば、酸化物
半導体膜は、キャリア密度が1×1017個/cm以下、好ましくは1×1015個/
cm以下、さらに好ましくは1×1013個/cm以下、より好ましくは1×10
個/cm以下とする。また、酸化物半導体膜は、キャリア密度が1×10個/cm
以上、より好ましくは1×10個/cm以上であってもよい。
なお、これらに限られず、必要とするトランジスタの半導体特性及び電気特性(電界効果
移動度、しきい値電圧等)に応じて適切な組成のものを用いればよい。また、必要とする
トランジスタの半導体特性を得るために、酸化物半導体膜のキャリア密度や不純物濃度、
欠陥密度、金属元素と酸素の原子数比、原子間距離、密度等を適切なものとすることが好
ましい。
なお、酸化物半導体膜としては、それぞれ不純物濃度が低く、欠陥準位密度の低い酸化物
半導体膜を用いることで、さらに優れた電気特性を有するトランジスタを作製することが
でき好ましい。ここでは、不純物濃度が低く、欠陥準位密度の低い(酸素欠損の少ない)
ことを高純度真性または実質的に高純度真性とよぶ。高純度真性または実質的に高純度真
性である酸化物半導体膜は、キャリア発生源が少ないため、キャリア密度を低くすること
ができる。従って、該酸化物半導体膜にチャネル領域が形成されるトランジスタは、しき
い値電圧がマイナスとなる電気特性(ノーマリーオンともいう。)になることが少ない。
また、高純度真性または実質的に高純度真性である酸化物半導体膜は、欠陥準位密度が低
いため、トラップ準位密度も低くなる場合がある。また、高純度真性または実質的に高純
度真性である酸化物半導体膜は、オフ電流が著しく小さく、チャネル幅が1×10μm
でチャネル長Lが10μmの素子であっても、ソース電極とドレイン電極間の電圧(ドレ
イン電圧)が1Vから10Vの範囲において、オフ電流が、半導体パラメータアナライザ
の測定限界以下、すなわち1×10−13A以下という特性を得ることができる。
したがって、上記高純度真性、または実質的に高純度真性の酸化物半導体膜にチャネル領
域が形成されるトランジスタは、電気特性の変動が小さく、信頼性の高いトランジスタと
することができる。なお、酸化物半導体膜のトラップ準位に捕獲された電荷は、消失する
までに要する時間が長く、あたかも固定電荷のように振る舞うことがある。そのため、ト
ラップ準位密度の高い酸化物半導体膜にチャネル領域が形成されるトランジスタは、電気
特性が不安定となる場合がある。不純物としては、水素、窒素、アルカリ金属、またはア
ルカリ土類金属等がある。
酸化物半導体膜に含まれる水素は、金属原子と結合する酸素と反応して水になると共に、
酸素が脱離した格子(または酸素が脱離した部分)に酸素欠損を形成する。該酸素欠損に
水素が入ることで、キャリアである電子が生成される場合がある。また、水素の一部が金
属原子と結合する酸素と結合して、キャリアである電子を生成することがある。従って、
水素が含まれている酸化物半導体膜を用いたトランジスタはノーマリーオン特性となりや
すい。このため、酸化物半導体膜は水素ができる限り低減されていることが好ましい。具
体的には、酸化物半導体膜において、SIMS分析により得られる水素濃度を、2×10
20atoms/cm以下、好ましくは5×1019atoms/cm以下、より好
ましくは1×1019atoms/cm以下、5×1018atoms/cm以下、
好ましくは1×1018atoms/cm以下、より好ましくは5×1017atom
s/cm以下としてもよい。また、酸化物半導体膜において、SIMS分析により得ら
れる水素濃度を、1×1016atoms/cm以上、より好ましくは1×1017
toms/cm以上としてもよい。
酸化物半導体膜において、第14族元素の一つであるシリコンや炭素が含まれると、酸化
物半導体膜において酸素欠損が増加し、n型化してしまう。このため、酸化物半導体膜に
おけるシリコンや炭素の濃度と、酸化物半導体膜との界面近傍のシリコンや炭素の濃度(
SIMS分析により得られる濃度)を、2×1018atoms/cm以下とする。ま
た、酸化物半導体膜におけるシリコンや炭素の濃度と、酸化物半導体膜との界面近傍のシ
リコンや炭素の濃度(SIMS分析により得られる濃度)を、1×1017atoms/
cm以上、より好ましくは3×1017atoms/cm以上、より好ましくは1×
1018atoms/cm以上としてもよい。
酸化物半導体膜において、SIMS分析により得られるアルカリ金属またはアルカリ土類
金属の濃度を、1×1018atoms/cm以下、好ましくは2×1016atom
s/cm以下にする。アルカリ金属及びアルカリ土類金属は、酸化物半導体と結合する
とキャリアを生成する場合があり、トランジスタのオフ電流が増大してしまうことがある
。このため、酸化物半導体膜のアルカリ金属またはアルカリ土類金属の濃度を低減するこ
とが好ましい。また、酸化物半導体膜において、SIMS分析により得られるアルカリ金
属またはアルカリ土類金属の濃度を、5×1015atoms/cm以上、好ましくは
1×1016atoms/cm以上としてもよい。
酸化物半導体膜に窒素が含まれていると、キャリアである電子が生じ、キャリア密度が増
加し、n型化しやすい。この結果、窒素が含まれている酸化物半導体膜を用いたトランジ
スタはノーマリーオン特性となりやすい。従って、酸化物半導体膜において、窒素はでき
る限り低減されていることが好ましい、例えば、SIMS分析により得られる窒素濃度は
、5×1018atoms/cm以下にすることが好ましい。また、SIMS分析によ
り得られる窒素濃度は、1×1016atoms/cm以上、より好ましくは5×10
16atoms/cm以上、より好ましくは1×1017atoms/cm以上、よ
り好ましくは5×1017atoms/cm以上としてもよい。
酸化物半導体膜は、それぞれ非単結晶構造でもよい。非単結晶構造は、例えば、後述する
CAAC−OS(C Axis Aligned Crystalline Oxide
Semiconductor)、多結晶構造、微結晶構造、または非晶質構造を含む。
非単結晶構造において、非晶質構造は最も欠陥準位密度が高く、CAAC−OSは最も欠
陥準位密度が低い。
以下では、酸化物半導体膜の構造について説明する。
酸化物半導体膜は、非単結晶酸化物半導体膜と単結晶酸化物半導体膜とに分けられる。ま
たは、酸化物半導体は、例えば、結晶性酸化物半導体と非晶質酸化物半導体とに分けられ
る。
なお、非単結晶酸化物半導体としては、CAAC−OS(C Axis Aligned
Crystalline Oxide Semiconductor)、多結晶酸化物
半導体、微結晶酸化物半導体、非晶質酸化物半導体などがある。また、結晶性酸化物半導
体としては、単結晶酸化物半導体、CAAC−OS、多結晶酸化物半導体、微結晶酸化物
半導体などがある。
まずは、CAAC−OS膜について説明する。
CAAC−OS膜は、c軸配向した複数の結晶部を有する酸化物半導体膜の一つである。
透過型電子顕微鏡(TEM:Transmission Electron Micro
scope)によって、CAAC−OS膜の明視野像および回折パターンの複合解析像(
高分解能TEM像ともいう。)を観察することで複数の結晶部を確認することができる。
一方、高分解能TEM像によっても明確な結晶部同士の境界、即ち結晶粒界(グレインバ
ウンダリーともいう。)を確認することができない。そのため、CAAC−OS膜は、結
晶粒界に起因する電子移動度の低下が起こりにくいといえる。
試料面と略平行な方向から、CAAC−OS膜の断面の高分解能TEM像を観察すると、
結晶部において、金属原子が層状に配列していることを確認できる。金属原子の各層は、
CAAC−OS膜の膜を形成する面(被形成面ともいう。)または上面の凹凸を反映した
形状であり、CAAC−OS膜の被形成面または上面と平行に配列する。
一方、試料面と略垂直な方向から、CAAC−OS膜の平面の高分解能TEM像を観察す
ると、結晶部において、金属原子が三角形状または六角形状に配列していることを確認で
きる。しかしながら、異なる結晶部間で、金属原子の配列に規則性は見られない。
CAAC−OS膜に対し、X線回折(XRD:X−Ray Diffraction)装
置を用いて構造解析を行うと、例えばInGaZnOの結晶を有するCAAC−OS膜
のout−of−plane法による解析では、回折角(2θ)が31°近傍にピークが
現れる場合がある。このピークは、InGaZnOの結晶の(009)面に帰属される
ことから、CAAC−OS膜の結晶がc軸配向性を有し、c軸が被形成面または上面に略
垂直な方向を向いていることが確認できる。
なお、InGaZnOの結晶を有するCAAC−OS膜のout−of−plane法
による解析では、2θが31°近傍のピークの他に、2θが36°近傍にもピークが現れ
る場合がある。2θが36°近傍のピークは、CAAC−OS膜中の一部に、c軸配向性
を有さない結晶が含まれることを示している。CAAC−OS膜は、2θが31°近傍に
ピークを示し、2θが36°近傍にピークを示さないことが好ましい。
CAAC−OS膜は、不純物濃度の低い酸化物半導体膜である。不純物は、水素、炭素、
シリコン、遷移金属元素などの酸化物半導体膜の主成分以外の元素である。特に、シリコ
ンなどの、酸化物半導体膜を構成する金属元素よりも酸素との結合力の強い元素は、酸化
物半導体膜から酸素を奪うことで酸化物半導体膜の原子配列を乱し、結晶性を低下させる
要因となる。また、鉄やニッケルなどの重金属、アルゴン、二酸化炭素などは、原子半径
(または分子半径)が大きいため、酸化物半導体膜内部に含まれると、酸化物半導体膜の
原子配列を乱し、結晶性を低下させる要因となる。なお、酸化物半導体膜に含まれる不純
物は、キャリアトラップやキャリア発生源となる場合がある。
また、CAAC−OS膜は、欠陥準位密度の低い酸化物半導体膜である。例えば、酸化物
半導体膜中の酸素欠損は、キャリアトラップとなることや、水素を捕獲することによって
キャリア発生源となることがある。
不純物濃度が低く、欠陥準位密度が低い(酸素欠損の少ない)ことを、高純度真性または
実質的に高純度真性と呼ぶ。高純度真性または実質的に高純度真性である酸化物半導体膜
は、キャリア発生源が少ないため、キャリア密度を低くすることができる。したがって、
当該酸化物半導体膜を用いたトランジスタは、しきい値電圧がマイナスとなる電気特性(
ノーマリーオンともいう。)になることが少ない。また、高純度真性または実質的に高純
度真性である酸化物半導体膜は、キャリアトラップが少ない。そのため、当該酸化物半導
体膜を用いたトランジスタは、電気特性の変動が小さく、信頼性の高いトランジスタとな
る。なお、酸化物半導体膜のキャリアトラップに捕獲された電荷は、放出するまでに要す
る時間が長く、あたかも固定電荷のように振る舞うことがある。そのため、不純物濃度が
高く、欠陥準位密度が高い酸化物半導体膜を用いたトランジスタは、電気特性が不安定と
なる場合がある。
また、CAAC−OS膜を用いたトランジスタは、可視光や紫外光の照射による電気特性
の変動が小さい。
次に、微結晶酸化物半導体膜について説明する。
微結晶酸化物半導体膜は、高分解能TEM像において、結晶部を確認することのできる領
域と、明確な結晶部を確認することのできない領域と、を有する。微結晶酸化物半導体膜
に含まれる結晶部は、1nm以上100nm以下、または1nm以上10nm以下の大き
さであることが多い。特に、1nm以上10nm以下、または1nm以上3nm以下の微
結晶であるナノ結晶(nc:nanocrystal)を有する酸化物半導体膜を、nc
−OS(nanocrystalline Oxide Semiconductor)
膜と呼ぶ。また、nc−OS膜は、例えば、高分解能TEM像では、結晶粒界を明確に確
認できない場合がある。
nc−OS膜は、微小な領域(例えば、1nm以上10nm以下の領域、特に1nm以上
3nm以下の領域)において原子配列に周期性を有する。また、nc−OS膜は、異なる
結晶部間で結晶方位に規則性が見られない。そのため、膜全体で配向性が見られない。し
たがって、nc−OS膜は、分析方法によっては、非晶質酸化物半導体膜と区別が付かな
い場合がある。例えば、nc−OS膜に対し、結晶部よりも大きい径のX線を用いるXR
D装置を用いて構造解析を行うと、out−of−plane法による解析では、結晶面
を示すピークが検出されない。また、nc−OS膜に対し、結晶部よりも大きいプローブ
径(例えば50nm以上)の電子線を用いる電子回折(制限視野電子回折ともいう。)を
行うと、ハローパターンのような回折パターンが観測される。一方、nc−OS膜に対し
、結晶部の大きさと近いか結晶部より小さいプローブ径の電子線を用いるナノビーム電子
回折を行うと、スポットが観測される。また、nc−OS膜に対しナノビーム電子回折を
行うと、円を描くように(リング状に)輝度の高い領域が観測される場合がある。また、
nc−OS膜に対しナノビーム電子回折を行うと、リング状の領域内に複数のスポットが
観測される場合がある。
nc−OS膜は、非晶質酸化物半導体膜よりも規則性の高い酸化物半導体膜である。その
ため、nc−OS膜は、非晶質酸化物半導体膜よりも欠陥準位密度が低くなる。ただし、
nc−OS膜は、異なる結晶部間で結晶方位に規則性が見られない。そのため、nc−O
S膜は、CAAC−OS膜と比べて欠陥準位密度が高くなる。
次に、非晶質酸化物半導体膜について説明する。
非晶質酸化物半導体膜は、膜中における原子配列が不規則であり、結晶部を有さない酸化
物半導体膜である。石英のような無定形状態を有する酸化物半導体膜が一例である。
非晶質酸化物半導体膜は、高分解能TEM像において結晶部を確認することができない。
非晶質酸化物半導体膜に対し、XRD装置を用いた構造解析を行うと、out−of−p
lane法による解析では、結晶面を示すピークが検出されない。また、非晶質酸化物半
導体膜に対し、電子回折を行うと、ハローパターンが観測される。また、非晶質酸化物半
導体膜に対し、ナノビーム電子回折を行うと、スポットが観測されず、ハローパターンが
観測される。
なお、酸化物半導体膜は、nc−OS膜と非晶質酸化物半導体膜との間の物性を示す構造
を有する場合がある。そのような構造を有する酸化物半導体膜を、特に非晶質ライク酸化
物半導体(a−like OS:amorphous−like Oxide Semi
conductor)膜と呼ぶ。
a−like OS膜は、高分解能TEM像において鬆(ボイドともいう。)が観察され
る場合がある。また、高分解能TEM像において、明確に結晶部を確認することのできる
領域と、結晶部を確認することのできない領域と、を有する。a−like OS膜は、
TEMによる観察程度の微量な電子照射によって、結晶化が起こり、結晶部の成長が見ら
れる場合がある。一方、良質なnc−OS膜であれば、TEMによる観察程度の微量な電
子照射による結晶化はほとんど見られない。
なお、a−like OS膜およびnc−OS膜の結晶部の大きさの計測は、高分解能T
EM像を用いて行うことができる。例えば、InGaZnOの結晶は層状構造を有し、
In−O層の間に、Ga−Zn−O層を2層有する。InGaZnOの結晶の単位格子
は、In−O層を3層有し、またGa−Zn−O層を6層有する、計9層がc軸方向に層
状に重なった構造を有する。よって、これらの近接する層同士の間隔は、(009)面の
格子面間隔(d値ともいう。)と同程度であり、結晶構造解析からその値は0.29nm
と求められている。そのため、高分解能TEM像における格子縞に着目し、格子縞の間隔
が0.28nm以上0.30nm以下である箇所においては、それぞれの格子縞がInG
aZnOの結晶のa−b面に対応する。
また、酸化物半導体膜は、構造ごとに密度が異なる場合がある。例えば、ある酸化物半導
体膜の組成がわかれば、該組成と同じ組成における単結晶の密度と比較することにより、
その酸化物半導体膜の構造を推定することができる。例えば、単結晶の密度に対し、a−
like OS膜の密度は78.6%以上92.3%未満となる。また、例えば、単結晶
の密度に対し、nc−OS膜の密度およびCAAC−OS膜の密度は92.3%以上10
0%未満となる。なお、単結晶の密度に対し密度が78%未満となる酸化物半導体膜は、
成膜すること自体が困難である。
上記について、具体例を用いて説明する。例えば、In:Ga:Zn=1:1:1[原子
数比]を満たす酸化物半導体膜において、菱面体晶構造を有する単結晶InGaZnO
の密度は6.357g/cmとなる。よって、例えば、In:Ga:Zn=1:1:1
[原子数比]を満たす酸化物半導体膜において、a−like OS膜の密度は5.0g
/cm以上5.9g/cm未満となる。また、例えば、In:Ga:Zn=1:1:
1[原子数比]を満たす酸化物半導体膜において、nc−OS膜の密度およびCAAC−
OS膜の密度は5.9g/cm以上6.3g/cm未満となる。
なお、同じ組成の単結晶が存在しない場合がある。その場合、任意の割合で組成の異なる
単結晶を組み合わせることにより、所望の組成の単結晶に相当する密度を算出することが
できる。所望の組成の単結晶の密度は、組成の異なる単結晶を組み合わせる割合に対して
、加重平均を用いて算出すればよい。ただし、密度は、可能な限り少ない種類の単結晶を
組み合わせて算出することが好ましい。
なお、酸化物半導体膜は、例えば、非晶質酸化物半導体膜、a−like OS膜、微結
晶酸化物半導体膜、CAAC−OS膜のうち、二種以上を有する積層膜であってもよい。
本明細書において、「平行」とは、二つの直線が−10°以上10°以下の角度で配置さ
れている状態をいう。したがって、−5°以上5°以下の場合も含まれる。また、「略平
行」とは、二つの直線が−30°以上30°以下の角度で配置されている状態をいう。ま
た、「垂直」とは、二つの直線が80°以上100°以下の角度で配置されている状態を
いう。したがって、85°以上95°以下の場合も含まれる。また、「略垂直」とは、二
つの直線が60°以上120°以下の角度で配置されている状態をいう。
また、本明細書において、結晶が三方晶または菱面体晶である場合、六方晶系として表す
半導体層402Aは、トランジスタ101のチャネル形成領域を有する。
半導体層402Bは、トランジスタ102のチャネル形成領域を有する。
半導体層402Cは、トランジスタ103のチャネル形成領域を有する。
半導体層402Dは、トランジスタ104のチャネル形成領域を有する。
なお、半導体層402Aの面積は、半導体層402B、半導体層402C及び半導体層4
02Dの面積よりも大きい。また、半導体層402Bの面積は、半導体層402C及び半
導体層402Dの面積よりも大きい。
なお、半導体層402Aは、導電層401Aの端部の内側に設けられる。半導体層402
Bは、導電層401Bの端部の内側に設けられる。半導体層402Cは、導電層401C
の端部の内側に設けられる。半導体層402Dは、導電層401Dの端部の内側に設けら
れる。これにより、半導体層402A乃至402Dの段差を無くし、不良の発生を抑制す
ることができる。
導電層403A乃至403Iは同層である。或いは、導電層403A乃至403Iは同じ
材料を有する。或いは、導電層403A乃至403Iは同一の導電膜を加工する工程を経
て形成されたものである。
導電層403A乃至403Iとしては、導電層401A乃至401Dに適用可能な材料又
は構造の中から適宜選択することができる。
導電層403Aは、トランジスタ101のソース電極又はドレイン電極の一方となる領域
を有する。また、導電層403Aは、半導体層402Aと接続されている。或いは、導電
層403Aは、半導体層402Aと接する領域を有する。また、導電層403Aは、絶縁
層404のコンタクトホールを介して導電層401Dと接続される。或いは、導電層40
3Aは、導電層401Dと接する領域を有する。また、導電層403Aは、複数の領域4
03A1を有する。複数の領域403A1のそれぞれは、略Y方向に沿う長尺を有し、半
導体層402Aを介して導電層401Aと重なる。また、導電層403Aは、領域403
A2を有する。領域403A2は、略X方向に沿う長尺を有し、半導体層402A及び導
電層401Aと重ならない。
導電層403Bは、トランジスタ101のソース電極又はドレイン電極の他方となる領域
と、容量素子105の第1の電極となる領域と、配線113となる領域と、を有する。ま
た、導電層403Bは、半導体層402Aと接続されている。或いは、導電層403Bは
、半導体層402Aと接する領域を有する。また、導電層403Bは、複数の領域403
B1を有する。複数の領域403B1は、略Y方向に沿う長尺を有し、半導体層402A
を介して導電層401Aと重なる。また、導電層403Bは、領域403B2を有する。
領域403B2は、略X方向に沿う長尺を有し、半導体層402Aを介さずに導電層40
1Aと重なる。また、導電層403Bは、開口部403B3及び開口部403B4を有す
る。開口部403B3及び開口部403B4は、略Y方向に沿う長尺を有する。
導電層403Cは、トランジスタ102のソース電極又はドレイン電極の一方となる領域
と、配線113となる領域と、を有する。また、導電層403Cは、半導体層402Bと
接続されている。或いは、導電層403Cは、半導体層402Bと接する領域を有する。
また、導電層403Cは、複数の領域403C1を有する。複数の領域403C1は、略
Y方向に沿う長尺を有し、半導体層402Bを介して導電層401Bと重なる。また、導
電層403Cは、領域403C2を有する。領域403C2は、略X方向に沿う長尺を有
し、半導体層402B及び導電層401Bと重ならない。
導電層403Dは、トランジスタ102のソース電極又はドレイン電極の他方となる領域
と、容量素子106の第1の電極となる領域と、を有する。また、導電層403Dは、半
導体層402Bと接続されている。或いは、導電層403Dは、半導体層402Bと接す
る領域を有する。また、導電層403Dは、絶縁層404のコンタクトホールを介して導
電層401Aと接続される。或いは、導電層403Dは、導電層401Aと接する領域を
有する。また、導電層403Dは、複数の領域403D1を有する。複数の領域403D
1は、略Y方向に沿う長尺を有し、半導体層402Bを介して導電層401Bと重なる。
また、導電層403Dは、領域403D2を有する。領域403D2は、略X方向に沿う
長尺を有し、半導体層402Bを介さずに導電層401Bと重なる。また、導電層403
Dは、開口部403D3を有する。開口部403D3は、略Y方向に沿う長尺を有する。
導電層403Eは、トランジスタ103のソース電極又はドレイン電極の一方となる領域
を有する。また、導電層403Eは、半導体層402Cと接続される。或いは、導電層4
03Eは、半導体層402Cと接する領域を有する。また、導電層403Eは、導電層4
01Cと絶縁層404のコンタクトホールを介して接続される。或いは、導電層403E
は、導電層401Cと接する領域を有する。
導電層403Fは、トランジスタ103のソース電極又はドレイン電極の他方となる領域
と、トランジスタ104のソース電極又はドレイン電極の他方となる領域と、を有する。
また、導電層403Fは、半導体層402Cと接続され、半導体層402Dと接続される
。或いは、導電層403Fは、半導体層402Cと接する領域と、半導体層402Dと接
する領域と、を有する。また、導電層403Fは、絶縁層404のコンタクトホールを介
して導電層401Bと接続される。或いは、導電層403Fは、導電層401Bと接する
領域を有する。
導電層403Gは、配線111となる領域を有する。また、導電層403Gは、絶縁層4
04のコンタクトホールを介して導電層401Dと接続される。或いは、導電層403G
は、導電層401Dと接する領域を有する。
導電層403Hは、配線114となる領域を有する。また、導電層403Hは、絶縁層4
04のコンタクトホールを介して導電層401Cと接続される。或いは、導電層403H
は、導電層401Cと接する領域を有する。
導電層403Iは、配線115となる領域と、トランジスタ104のソース電極又はドレ
イン電極の一方となる領域を有する。また、導電層403Iは、半導体層402Dと接続
される。或いは、導電層403Iは、半導体層402Dと接する領域を有する。
なお、開口部403B3の面積は開口部401A1の面積よりも大きく、開口部403B
4の面積は開口部401A2の面積よりも大きい。また、開口部401A1は開口部40
3B3の内側に設けられ、開口部401A2は開口部403B4の内側に設けられている
。これにより、導電層401Aに起因する導電層403Bの段差を無くし、不良の発生を
抑制することができる。
なお、開口部403D3の面積は、開口部401B1の面積よりも大きい。また、開口部
404A1は、開口部403D3の内側に設けられている。これにより、導電層401B
に起因する導電層403Dの段差を無くし、不良の発生を抑制することができる。
なお、導電層403Aの領域403A2は導電層401A及び半導体層402Aと重なら
ないのに対し、導電層403Bの領域403B2は半導体層402Aを介さずに導電層4
01Aと重なる。ただし、導電層403Bの領域403B2は半導体層402Aを介して
導電層401Aと重なってもよい。また、導電層403Aと導電層401Aとが重なる面
積は、導電層403Bと導電層401Aとが重なる面積よりも小さい。これにより、導電
層403Aと導電層401Aとの寄生容量を小さくするとともに、導電層403Bと導電
層401Aとの寄生容量を大きくすることができる。よって、配線111の電位のトラン
ジスタ101のゲートへの影響を小さくするとともに、容量素子105の容量値を小さく
することが可能になることによるレイアウト面積の縮小を図ることができる。
なお、導電層403Cの領域403C2は導電層401B及び半導体層402Bと重なら
ないのに対し、導電層403Dの領域403D2は半導体層402Bを介さずに導電層4
01Bと重なる。ただし、導電層403Dの領域403D2は半導体層402Bを介して
導電層401Bと重なってもよい。また、導電層403Cと導電層401Bとが重なる面
積は、導電層403Dと導電層401Bとが重なる面積よりも小さい。これにより、導電
層403Cと導電層401Bとの寄生容量を小さくするとともに、導電層403Dと導電
層401Bとの寄生容量を大きくすることができる。よって、配線113の電位のトラン
ジスタ102のゲートへの影響を小さくするとともに、容量素子106の容量値を小さく
することが可能になることによるレイアウト面積の縮小を図ることができる。
なお、導電層401A乃至401D、半導体層402A乃至402D、導電層403A乃
至403I、及び絶縁層404が形成される基板の材質などに大きな制限はないが、少な
くとも、後の熱処理に耐えうる程度の耐熱性を有している必要がある。例えば、ガラス基
板、セラミック基板、石英基板、サファイア基板等を、基板として用いてもよい。また、
シリコンや炭化シリコンなどを材料とした単結晶半導体基板、多結晶半導体基板、シリコ
ンゲルマニウム等の化合物半導体基板、SOI基板等を適用することも可能であり、これ
らの基板上に半導体素子が設けられたものを、基板として用いてもよい。なお、基板とし
て、ガラス基板を用いる場合、第6世代(1500mm×1850mm)、第7世代(1
870mm×2200mm)、第8世代(2200mm×2400mm)、第9世代(2
400mm×2800mm)、第10世代(2950mm×3400mm)等の大面積基
板を用いることで、大型の表示装置を作製することができる。
また、基板として、可撓性基板を用い、可撓性基板上に直接、トランジスタを形成しても
よい。または、基板とトランジスタの間に剥離層を設けてもよい。剥離層は、その上に半
導体装置を一部あるいは全部完成させた後、基板より分離し、他の基板に転載するのに用
いることができる。その際、トランジスタは耐熱性の劣る基板や可撓性の基板にも転載で
きる。
例えば、本明細書等において、様々な基板を用いて、トランジスタを形成することが出
来る。基板の種類は、特定のものに限定されることはない。その基板の一例としては、半
導体基板(例えば単結晶基板又はシリコン基板)、SOI基板、ガラス基板、石英基板、
プラスチック基板、金属基板、ステンレス・スチル基板、ステンレス・スチル・ホイルを
有する基板、タングステン基板、タングステン・ホイルを有する基板、可撓性基板、貼り
合わせフィルム、繊維状の材料を含む紙、又は基材フィルムなどがある。ガラス基板の一
例としては、バリウムホウケイ酸ガラス、アルミノホウケイ酸ガラス、又はソーダライム
ガラスなどがある。可撓性基板、貼り合わせフィルム、基材フィルムなどの一例としては
、以下のものがあげられる。例えば、ポリエチレンテレフタレート(PET)、ポリエチ
レンナフタレート(PEN)、ポリエーテルサルフォン(PES)、ポリテトラフルオロ
エチレン(PTFE)に代表されるプラスチックがある。または、一例としては、アクリ
ル等の合成樹脂などがある。または、一例としては、ポリプロピレン、ポリエステル、ポ
リフッ化ビニル、又はポリ塩化ビニルなどがある。または、一例としては、ポリエステル
、ポリアミド、ポリイミド、アラミド、エポキシ、無機蒸着フィルム、又は紙類などがあ
る。特に、半導体基板、単結晶基板、又はSOI基板などを用いてトランジスタを製造す
ることによって、特性、サイズ、又は形状などのばらつきが少なく、電流能力が高く、サ
イズの小さいトランジスタを製造することができる。このようなトランジスタによって回
路を構成すると、回路の低消費電力化、又は回路の高集積化を図ることができる。
また、基板として、可撓性基板を用い、可撓性基板上に直接、トランジスタを形成して
もよい。または、基板とトランジスタの間に剥離層を設けてもよい。剥離層は、その上に
半導体装置を一部あるいは全部完成させた後、基板より分離し、他の基板に転載するため
に用いることができる。その際、トランジスタは耐熱性の劣る基板や可撓性の基板にも転
載できる。なお、上述の剥離層には、例えば、タングステン膜と酸化シリコン膜との無機
膜の積層構造の構成や、基板上にポリイミド等の有機樹脂膜が形成された構成等を用いる
ことができる。
つまり、ある基板を用いてトランジスタを形成し、その後、別の基板にトランジスタを転
置し、別の基板上にトランジスタを配置してもよい。トランジスタが転置される基板の一
例としては、上述したトランジスタを形成することが可能な基板に加え、紙基板、セロフ
ァン基板、アラミドフィルム基板、ポリイミドフィルム基板、石材基板、木材基板、布基
板(天然繊維(絹、綿、麻)、合成繊維(ナイロン、ポリウレタン、ポリエステル)若し
くは再生繊維(アセテート、キュプラ、レーヨン、再生ポリエステル)などを含む)、皮
革基板、又はゴム基板などがある。これらの基板を用いることにより、特性のよいトラン
ジスタの形成、消費電力の小さいトランジスタの形成、壊れにくい装置の製造、耐熱性の
付与、軽量化、又は薄型化を図ることができる。
なお、本実施の形態は他の実施の形態の記載と適宜組み合わせることができる。よって、
本実施の形態の中で述べる内容(一部の内容でもよい)は、その実施の形態で述べる別の
内容(一部の内容でもよい)、及び/又は、一つ若しくは複数の別の実施の形態で述べる
内容(一部の内容でもよい)に対して、適用、組み合わせ、又は置き換えなどを行うこと
ができる。なお、実施の形態の中で述べる内容とは、各々の実施の形態において、様々な
図を用いて述べる内容、又は明細書に記載される文章を用いて述べる内容のことである。
また、ある一つの実施の形態において述べる図(一部でもよい)は、その図の別の部分、
その実施の形態において述べる別の図(一部でもよい)、及び/又は、一つ若しくは複数
の別の実施の形態において述べる図(一部でもよい)に対して、組み合わせることにより
、さらに多くの図を構成させることができる。これは、以下の実施の形態においても同様
である。
(実施の形態5)
本実施の形態では、本発明の一態様の半導体装置を有する表示モジュール及び電子機器に
ついて、図24及び図25を用いて説明を行う。
図24に示す表示モジュール8000は、上部カバー8001と下部カバー8002との
間に、FPC8003に接続されたタッチパネル8004、FPC8005に接続された
表示パネル8006、バックライト8007、フレーム8009、プリント基板8010
、バッテリ8011を有する。
本発明の一態様の半導体装置又は表示装置は、例えば、表示パネル8006に用いること
ができる。
上部カバー8001及び下部カバー8002は、タッチパネル8004及び表示パネル8
006のサイズに合わせて、形状や寸法を適宜変更することができる。
タッチパネル8004は、抵抗膜方式または静電容量方式のタッチパネルを表示パネル8
006に重畳して用いることができる。また、表示パネル8006の対向基板(封止基板
)に、タッチパネル機能を持たせるようにすることも可能である。また、表示パネル80
06の各画素内に光センサを設け、光学式のタッチパネルとすることも可能である。
バックライト8007は、光源8008を有する。なお、図24において、バックライト
8007上に光源8008を配置する構成について例示したが、これに限定さない。例え
ば、バックライト8007の端部に光源8008を配置し、さらに光拡散板を用いる構成
としてもよい。なお、有機EL素子等の自発光型の発光素子を用いる場合、または反射型
パネル等の場合においては、バックライト8007を設けない構成としてもよい。
フレーム8009は、表示パネル8006の保護機能の他、プリント基板8010の動作
により発生する電磁波を遮断するための電磁シールドとしての機能を有する。またフレー
ム8009は、放熱板としての機能を有していてもよい。
プリント基板8010は、電源回路、ビデオ信号及びクロック信号を出力するための信号
処理回路を有する。電源回路に電力を供給する電源としては、外部の商用電源であっても
良いし、別途設けたバッテリ8011による電源であってもよい。バッテリ8011は、
商用電源を用いる場合には、省略可能である。
また、表示モジュール8000は、偏光板、位相差板、プリズムシートなどの部材を追加
して設けてもよい。
図25(A)乃至図25(G)は、電子機器を示す図である。これらの電子機器は、筐体
9000、表示部9001、スピーカ9003、操作キー9005(電源スイッチ、又は
操作スイッチを含む)、接続端子9006、センサ9007(力、変位、位置、速度、加
速度、角速度、回転数、距離、光、液、磁気、温度、化学物質、音声、時間、硬度、電場
、電流、電圧、電力、放射線、流量、湿度、傾度、振動、におい又は赤外線を測定する機
能を含むもの)、マイクロフォン9008、等を有することができる。
図25(A)乃至図25(G)に示す電子機器は、様々な機能を有することができる。例
えば、様々な情報(静止画、動画、テキスト画像など)を表示部に表示する機能、タッチ
パネル機能、カレンダー、日付または時刻などを表示する機能、様々なソフトウェア(プ
ログラム)によって処理を制御する機能、無線通信機能、無線通信機能を用いて様々なコ
ンピュータネットワークに接続する機能、無線通信機能を用いて様々なデータの送信また
は受信を行う機能、記録媒体に記録されているプログラムまたはデータを読み出して表示
部に表示する機能、等を有することができる。なお、図25(A)乃至図25(G)に示
す電子機器が有することのできる機能はこれらに限定されず、様々な機能を有することが
できる。また、図25(A)乃至図25(G)には図示していないが、電子機器には、複
数の表示部を有する構成としてもよい。また、該電子機器にカメラ等を設け、静止画を撮
影する機能、動画を撮影する機能、撮影した画像を記録媒体(外部またはカメラに内蔵)
に保存する機能、撮影した画像を表示部に表示する機能、等を有していてもよい。
図25(A)乃至図25(G)に示す電子機器の詳細について、以下説明を行う。
図25(A)は、携帯情報端末9100を示す斜視図である。携帯情報端末9100が有
する表示部9001は、可撓性を有する。そのため、湾曲した筐体9000の湾曲面に沿
って表示部9001を組み込むことが可能である。また、表示部9001はタッチセンサ
を備え、指やスタイラスなどで画面に触れることで操作することができる。例えば、表示
部9001に表示されたアイコンに触れることで、アプリケーションを起動することがで
きる。
図25(B)は、携帯情報端末9101を示す斜視図である。携帯情報端末9101は、
例えば電話機、手帳又は情報閲覧装置等から選ばれた一つ又は複数の機能を有する。具体
的には、スマートフォンとして用いることができる。なお、携帯情報端末9101は、ス
ピーカ9003、接続端子9006、センサ9007等を省略して図示しているが、図2
5(A)に示す携帯情報端末9100と同様の位置に設けることができる。また、携帯情
報端末9101は、文字や画像情報をその複数の面に表示することができる。例えば、3
つの操作ボタン9050(操作アイコンまたは単にアイコンともいう)を表示部9001
の一の面に表示することができる。また、破線の矩形で示す情報9051を表示部900
1の他の面に表示することができる。なお、情報9051の一例としては、電子メールや
SNS(ソーシャル・ネットワーキング・サービス)や電話などの着信を知らせる表示、
電子メールやSNSなどの題名、電子メールやSNSなどの送信者名、日時、時刻、バッ
テリの残量、アンテナ受信の強度などがある。または、情報9051が表示されている位
置に、情報9051の代わりに、操作ボタン9050などを表示してもよい。
図25(C)は、携帯情報端末9102を示す斜視図である。携帯情報端末9102は、
表示部9001の3面以上に情報を表示する機能を有する。ここでは、情報9052、情
報9053、情報9054がそれぞれ異なる面に表示されている例を示す。例えば、携帯
情報端末9102の使用者は、洋服の胸ポケットに携帯情報端末9102を収納した状態
で、その表示(ここでは情報9053)を確認することができる。具体的には、着信した
電話の発信者の電話番号又は氏名等を、携帯情報端末9102の上方から観察できる位置
に表示する。使用者は、携帯情報端末9102をポケットから取り出すことなく、表示を
確認し、電話を受けるか否かを判断できる。
図25(D)は、腕時計型の携帯情報端末9200を示す斜視図である。携帯情報端末9
200は、移動電話、電子メール、文章閲覧及び作成、音楽再生、インターネット通信、
コンピュータゲームなどの種々のアプリケーションを実行することができる。また、表示
部9001はその表示面が湾曲して設けられ、湾曲した表示面に沿って表示を行うことが
できる。また、携帯情報端末9200は、通信規格された近距離無線通信を実行すること
が可能である。例えば無線通信可能なヘッドセットと相互通信することによって、ハンズ
フリーで通話することもできる。また、携帯情報端末9200は、接続端子9006を有
し、他の情報端末とコネクターを介して直接データのやりとりを行うことができる。また
接続端子9006を介して充電を行うこともできる。なお、充電動作は接続端子9006
を介さずに無線給電により行ってもよい。
図25(E)(F)(G)は、折り畳み可能な携帯情報端末9201を示す斜視図である
。また、図25(E)が携帯情報端末9201を展開した状態の斜視図であり、図25(
F)が携帯情報端末9201を展開した状態または折り畳んだ状態の一方から他方に変化
する途中の状態の斜視図であり、図25(G)が携帯情報端末9201を折り畳んだ状態
の斜視図である。携帯情報端末9201は、折り畳んだ状態では可搬性に優れ、展開した
状態では、継ぎ目のない広い表示領域により表示の一覧性に優れる。携帯情報端末920
1が有する表示部9001は、ヒンジ9055によって連結された3つの筐体9000に
支持されている。ヒンジ9055を介して2つの筐体9000間を屈曲させることにより
、携帯情報端末9201を展開した状態から折りたたんだ状態に可逆的に変形させること
ができる。例えば、携帯情報端末9201は、曲率半径1mm以上150mm以下で曲げ
ることができる。
本実施の形態において述べた電子機器は、何らかの情報を表示するための表示部を有する
ことを特徴とする。ただし、本発明の一態様の半導体装置は、表示部を有さない電子機器
にも適用することができる。また、本実施の形態において述べた電子機器の表示部におい
ては、可撓性を有し、湾曲した表示面に沿って表示を行うことができる構成、または折り
畳み可能な表示部の構成について例示したが、これに限定されず、可撓性を有さず、平面
部に表示を行う構成としてもよい。
本実施の形態に示す構成は、他の実施の形態に示す構成と適宜組み合わせて用いることが
できる。
CK1 信号
CK2 信号
CK3 信号
ND1 ノード
ND2 ノード
ND3 ノード
OUT 信号
SP 信号
T0 期間
T1 期間
T2 期間
T3 期間
T4 期間
100 回路
101 トランジスタ
102 トランジスタ
103 トランジスタ
104 トランジスタ
105 容量素子
106 容量素子
107 トランジスタ
108 トランジスタ
109 トランジスタ
110 トランジスタ
101p トランジスタ
102p トランジスタ
103p トランジスタ
104p トランジスタ
111 配線
112 配線
113 配線
114 配線
115 配線
115B 配線
115C 配線
116 配線
117 配線
121 トランジスタ
122 トランジスタ
123 トランジスタ
124 トランジスタ
200 回路
201 回路
211 配線
212 配線
213 配線
214 配線
215 配線
216 配線
301 画素部
302 走査線駆動回路
303 信号線駆動回路
304 回路
310 画素
401A 導電層
401A1 開口部
401A2 開口部
401B 導電層
401B1 開口部
401C 導電層
401D 導電層
402A 半導体層
402B 半導体層
402C 半導体層
402D 半導体層
403A 導電層
403A1 領域
403A2 領域
403B 導電層
403B1 領域
403B2 領域
403B3 開口部
403B4 開口部
403C 導電層
403C1 領域
403C2 領域
403D 導電層
403D1 領域
403D2 領域
403D3 開口部
403E 導電層
403F 導電層
403G 導電層
403H 導電層
403I 導電層
404 絶縁層
404A1 開口部
8000 表示モジュール
8001 上部カバー
8002 下部カバー
8003 FPC
8004 タッチパネル
8005 FPC
8006 表示パネル
8007 バックライト
8008 光源
8009 フレーム
8010 プリント基板
8011 バッテリ
9000 筐体
9001 表示部
9003 スピーカ
9005 操作キー
9006 接続端子
9007 センサ
9008 マイクロフォン
9050 操作ボタン
9051 情報
9052 情報
9053 情報
9054 情報
9055 ヒンジ
9100 携帯情報端末
9101 携帯情報端末
9102 携帯情報端末
9200 携帯情報端末
9201 携帯情報端末

Claims (6)

  1. 第1乃至第10のトランジスタと、第1及び第2の容量素子と、を有し、
    前記第1乃至第10のトランジスタのそれぞれは、酸化物半導体層にチャネル形成領域を有し、
    前記第1のトランジスタのソース又はドレインの一方は、第1の配線と電気的に接続され、
    前記第1のトランジスタのソース又はドレインの他方は、第1の走査線と電気的に接続され、
    前記第2のトランジスタのソース又はドレインの一方は、第2の走査線と電気的に接続され、
    前記第2のトランジスタのソース又はドレインの他方は、前記第1のトランジスタのゲートと電気的に接続され、
    前記第3のトランジスタのソース又はドレインの一方は、前記第2のトランジスタのゲートと電気的に接続され、
    前記第4のトランジスタのソース又はドレインの一方は、前記第2のトランジスタのゲートと電気的に接続され、
    前記第4のトランジスタのソース又はドレインの他方は、前記第3のトランジスタのソース又はドレインの他方と電気的に接続され、
    前記第5のトランジスタのソース又はドレインの一方は、前記第1のトランジスタのゲートと電気的に接続され、
    前記第5のトランジスタのソース又はドレインの他方は、前記第1の走査線と電気的に接続され、
    前記第5のトランジスタのゲートは、前記第1の配線と電気的に接続され、
    前記第1の容量素子の第1の電極は、前記第1の走査線と電気的に接続され、
    前記第1の容量素子の第2の電極は、前記第1のトランジスタのゲートと電気的に接続され、
    前記第2のトランジスタのW(Wはチャネル幅)/L(Lはチャネル長)よりも、前記第1のトランジスタのW/Lは大きく、
    前記第3のトランジスタのW/Lよりも、前記第1のトランジスタのW/Lは大きく、
    前記第4のトランジスタのW/Lよりも、前記第1のトランジスタのW/Lは大きく、
    前記第4のトランジスタがオンである期間は、前記第3のトランジスタのソース又はドレインの他方の電位がロウレベルである期間を有し、
    前記第1の容量素子の第1の電極となる領域を有する第1の導電層は、第1の開口部を有し、
    前記第1の容量素子の第2の電極となる領域を有する第2の導電層は、第2の開口部を有し、
    前記第2の導電層の上方に、前記第1の導電層は設けられており、
    前記第2の開口部の面積よりも、前記第1の開口部の面積は大きく、
    前記第2の開口部の全ては、前記第1の開口部と重なっており、
    前記第6のトランジスタのソース又はドレインの一方は、第2の配線と電気的に接続され、
    前記第6のトランジスタのソース又はドレインの他方は、第3の走査線と電気的に接続され、
    前記第7のトランジスタのソース又はドレインの一方は、前記第1の走査線と電気的に接続され、
    前記第7のトランジスタのソース又はドレインの他方は、前記第6のトランジスタのゲートと電気的に接続され、
    前記第8のトランジスタのソース又はドレインの一方は、前記第7のトランジスタのゲートと電気的に接続され、
    前記第9のトランジスタのソース又はドレインの一方は、前記第7のトランジスタのゲートと電気的に接続され、
    前記第9のトランジスタのソース又はドレインの他方は、前記第8のトランジスタのソース又はドレインの他方と電気的に接続され、
    前記第10のトランジスタのソース又はドレインの一方は、前記第6のトランジスタのゲートと電気的に接続され、
    前記第10のトランジスタのソース又はドレインの他方は、前記第3の走査線と電気的に接続され、
    前記第10のトランジスタのゲートは、前記第2の配線と電気的に接続され、
    前記第2の容量素子の第1の電極は、前記第3の走査線と電気的に接続され、
    前記第2の容量素子の第2の電極は、前記第6のトランジスタのゲートと電気的に接続され、
    前記第7のトランジスタのW/Lよりも、前記第6のトランジスタのW/Lは大きく、
    前記第8のトランジスタのW/Lよりも、前記第6のトランジスタのW/Lは大きく、
    前記第9のトランジスタのW/Lよりも、前記第6のトランジスタのW/Lは大きく、
    前記第9のトランジスタがオンである期間は、前記第8のトランジスタのソース又はドレインの他方の電位がロウレベルである期間を有し、
    前記第2の容量素子の第1の電極となる領域を有する第3の導電層は、第3の開口部を有し、
    前記第2の容量素子の第2の電極となる領域を有する第4の導電層は、第4の開口部を有し、
    前記第4の導電層の上方に、前記第3の導電層は設けられており、
    前記第4の開口部の面積よりも、前記第3の開口部の面積は大きく、
    前記第4の開口部の全ては、前記第3の開口部と重なっていることを特徴とする半導体装置。
  2. 第1乃至第10のトランジスタと、第1及び第2の容量素子と、を有し、
    前記第1乃至第10のトランジスタのそれぞれは、酸化物半導体層にチャネル形成領域を有し、
    前記第1のトランジスタのソース又はドレインの一方は、第1の配線と電気的に接続され、
    前記第1のトランジスタのソース又はドレインの他方は、第1の走査線と電気的に接続され、
    前記第2のトランジスタのソース又はドレインの一方は、第2の走査線と電気的に接続され、
    前記第2のトランジスタのソース又はドレインの他方は、前記第1のトランジスタのゲートと電気的に接続され、
    前記第3のトランジスタのソース又はドレインの一方は、前記第2のトランジスタのゲートと電気的に接続され、
    前記第4のトランジスタのソース又はドレインの一方は、前記第2のトランジスタのゲートと電気的に接続され、
    前記第4のトランジスタのソース又はドレインの他方は、前記第3のトランジスタのソース又はドレインの他方と電気的に接続され、
    前記第4のトランジスタのゲートは、前記第1の配線と電気的に接続され、
    前記第5のトランジスタのソース又はドレインの一方は、前記第1のトランジスタのゲートと電気的に接続され、
    前記第5のトランジスタのソース又はドレインの他方は、前記第1の走査線と電気的に接続され、
    前記第5のトランジスタのゲートは、前記第1の配線と電気的に接続され、
    前記第1の容量素子の第1の電極は、前記第1の走査線と電気的に接続され、
    前記第1の容量素子の第2の電極は、前記第1のトランジスタのゲートと電気的に接続され、
    前記第2のトランジスタのW(Wはチャネル幅)/L(Lはチャネル長)よりも、前記第1のトランジスタのW/Lは大きく、
    前記第3のトランジスタのW/Lよりも、前記第1のトランジスタのW/Lは大きく、
    前記第4のトランジスタのW/Lよりも、前記第1のトランジスタのW/Lは大きく、
    前記第4のトランジスタがオンである期間は、前記第3のトランジスタのソース又はドレインの他方の電位がロウレベルである期間を有し、
    前記第4のトランジスタがオンである期間は、前記第1の配線の電位がハイレベルである期間を有し、
    前記第1の容量素子の第1の電極となる領域を有する第1の導電層は、第1の開口部を有し、
    前記第1の容量素子の第2の電極となる領域を有する第2の導電層は、第2の開口部を有し、
    前記第2の導電層の上方に、前記第1の導電層は設けられており、
    前記第2の開口部の面積よりも、前記第1の開口部の面積は大きく、
    前記第2の開口部の全ては、前記第1の開口部と重なっており、
    前記第6のトランジスタのソース又はドレインの一方は、第2の配線と電気的に接続され、
    前記第6のトランジスタのソース又はドレインの他方は、第3の走査線と電気的に接続され、
    前記第7のトランジスタのソース又はドレインの一方は、前記第1の走査線と電気的に接続され、
    前記第7のトランジスタのソース又はドレインの他方は、前記第6のトランジスタのゲートと電気的に接続され、
    前記第8のトランジスタのソース又はドレインの一方は、前記第7のトランジスタのゲートと電気的に接続され、
    前記第9のトランジスタのソース又はドレインの一方は、前記第7のトランジスタのゲートと電気的に接続され、
    前記第9のトランジスタのソース又はドレインの他方は、前記第8のトランジスタのソース又はドレインの他方と電気的に接続され、
    前記第9のトランジスタのゲートは、前記第2の配線と電気的に接続され、
    前記第10のトランジスタのソース又はドレインの一方は、前記第6のトランジスタのゲートと電気的に接続され、
    前記第10のトランジスタのソース又はドレインの他方は、前記第3の走査線と電気的に接続され、
    前記第10のトランジスタのゲートは、前記第2の配線と電気的に接続され、
    前記第2の容量素子の第1の電極は、前記第3の走査線と電気的に接続され、
    前記第2の容量素子の第2の電極は、前記第6のトランジスタのゲートと電気的に接続され、
    前記第7のトランジスタのW/Lよりも、前記第6のトランジスタのW/Lは大きく、
    前記第8のトランジスタのW/Lよりも、前記第6のトランジスタのW/Lは大きく、
    前記第9のトランジスタのW/Lよりも、前記第6のトランジスタのW/Lは大きく、
    前記第9のトランジスタがオンである期間は、前記第8のトランジスタのソース又はドレインの他方の電位がロウレベルである期間を有し、
    前記第9のトランジスタがオンである期間は、前記第2の配線の電位がハイレベルである期間を有し、
    前記第2の容量素子の第1の電極となる領域を有する第3の導電層は、第3の開口部を有し、
    前記第2の容量素子の第2の電極となる領域を有する第4の導電層は、第4の開口部を有し、
    前記第4の導電層の上方に、前記第3の導電層は設けられており、
    前記第4の開口部の面積よりも、前記第3の開口部の面積は大きく、
    前記第4の開口部の全ては、前記第3の開口部と重なっていることを特徴とする半導体装置。
  3. 第1乃至第10のトランジスタと、第1及び第2の容量素子と、を有し、
    前記第1乃至第10のトランジスタのそれぞれは、酸化物半導体層にチャネル形成領域を有し、
    前記第1のトランジスタのソース又はドレインの一方は、第1の配線と電気的に接続され、
    前記第1のトランジスタのソース又はドレインの他方は、第1の走査線と電気的に接続され、
    前記第2のトランジスタのソース又はドレインの一方は、第2の走査線と電気的に接続され、
    前記第2のトランジスタのソース又はドレインの他方は、前記第1のトランジスタのゲートと電気的に接続され、
    前記第3のトランジスタのソース又はドレインの一方は、前記第2のトランジスタのゲートと電気的に接続され、
    前記第4のトランジスタのソース又はドレインの一方は、前記第2のトランジスタのゲートと電気的に接続され、
    前記第4のトランジスタのソース又はドレインの他方は、前記第3のトランジスタのソース又はドレインの他方と電気的に接続され、
    前記第5のトランジスタのソース又はドレインの一方は、前記第1のトランジスタのゲートと電気的に接続され、
    前記第5のトランジスタのソース又はドレインの他方は、前記第1の走査線と電気的に接続され、
    前記第5のトランジスタのゲートは、前記第1の配線と電気的に接続され、
    前記第1の容量素子の第1の電極は、前記第1の走査線と電気的に接続され、
    前記第1の容量素子の第2の電極は、前記第1のトランジスタのゲートと電気的に接続され、
    前記第1の配線には、第1のクロック信号が入力され、
    前記第2のトランジスタのW(Wはチャネル幅)/L(Lはチャネル長)よりも、前記第1のトランジスタのW/Lは大きく、
    前記第3のトランジスタのW/Lよりも、前記第1のトランジスタのW/Lは大きく、
    前記第4のトランジスタのW/Lよりも、前記第1のトランジスタのW/Lは大きく、
    前記第4のトランジスタがオンである期間は、前記第3のトランジスタのソース又はドレインの他方の電位がロウレベルである期間を有し、
    前記第1の容量素子の第1の電極となる領域を有する第1の導電層は、第1の開口部を有し、
    前記第1の容量素子の第2の電極となる領域を有する第2の導電層は、第2の開口部を有し、
    前記第2の導電層の上方に、前記第1の導電層は設けられており、
    前記第2の開口部の面積よりも、前記第1の開口部の面積は大きく、
    前記第2の開口部の全ては、前記第1の開口部と重なっており、
    前記第6のトランジスタのソース又はドレインの一方は、第2の配線と電気的に接続され、
    前記第6のトランジスタのソース又はドレインの他方は、第3の走査線と電気的に接続され、
    前記第7のトランジスタのソース又はドレインの一方は、前記第1の走査線と電気的に接続され、
    前記第7のトランジスタのソース又はドレインの他方は、前記第6のトランジスタのゲートと電気的に接続され、
    前記第8のトランジスタのソース又はドレインの一方は、前記第7のトランジスタのゲートと電気的に接続され、
    前記第9のトランジスタのソース又はドレインの一方は、前記第7のトランジスタのゲートと電気的に接続され、
    前記第9のトランジスタのソース又はドレインの他方は、前記第8のトランジスタのソース又はドレインの他方と電気的に接続され、
    前記第10のトランジスタのソース又はドレインの一方は、前記第6のトランジスタのゲートと電気的に接続され、
    前記第10のトランジスタのソース又はドレインの他方は、前記第3の走査線と電気的に接続され、
    前記第10のトランジスタのゲートは、前記第2の配線と電気的に接続され、
    前記第2の容量素子の第1の電極は、前記第3の走査線と電気的に接続され、
    前記第2の容量素子の第2の電極は、前記第6のトランジスタのゲートと電気的に接続され、
    前記第2の配線には、第2のクロック信号が入力され、
    前記第7のトランジスタのW/Lよりも、前記第6のトランジスタのW/Lは大きく、
    前記第8のトランジスタのW/Lよりも、前記第6のトランジスタのW/Lは大きく、
    前記第9のトランジスタのW/Lよりも、前記第6のトランジスタのW/Lは大きく、
    前記第9のトランジスタがオンである期間は、前記第8のトランジスタのソース又はドレインの他方の電位がロウレベルである期間を有し、
    前記第2の容量素子の第1の電極となる領域を有する第3の導電層は、第3の開口部を有し、
    前記第2の容量素子の第2の電極となる領域を有する第4の導電層は、第4の開口部を有し、
    前記第4の導電層の上方に、前記第3の導電層は設けられており、
    前記第4の開口部の面積よりも、前記第3の開口部の面積は大きく、
    前記第4の開口部の全ては、前記第3の開口部と重なっていることを特徴とする半導体装置。
  4. 第1乃至第10のトランジスタと、第1及び第2の容量素子と、を有し、
    前記第1乃至第10のトランジスタのそれぞれは、酸化物半導体層にチャネル形成領域を有し、
    前記第1のトランジスタのソース又はドレインの一方は、第1の配線と電気的に接続され、
    前記第1のトランジスタのソース又はドレインの他方は、第1の走査線と電気的に接続され、
    前記第2のトランジスタのソース又はドレインの一方は、第2の走査線と電気的に接続され、
    前記第2のトランジスタのソース又はドレインの他方は、前記第1のトランジスタのゲートと電気的に接続され、
    前記第3のトランジスタのソース又はドレインの一方は、前記第2のトランジスタのゲートと電気的に接続され、
    前記第4のトランジスタのソース又はドレインの一方は、前記第2のトランジスタのゲートと電気的に接続され、
    前記第4のトランジスタのソース又はドレインの他方は、前記第3のトランジスタのソース又はドレインの他方と電気的に接続され、
    前記第4のトランジスタのゲートは、前記第1の配線と電気的に接続され、
    前記第5のトランジスタのソース又はドレインの一方は、前記第1のトランジスタのゲートと電気的に接続され、
    前記第5のトランジスタのソース又はドレインの他方は、前記第1の走査線と電気的に接続され、
    前記第5のトランジスタのゲートは、前記第1の配線と電気的に接続され、
    前記第1の容量素子の第1の電極は、前記第1の走査線と電気的に接続され、
    前記第1の容量素子の第2の電極は、前記第1のトランジスタのゲートと電気的に接続され、
    前記第1の配線には、第1のクロック信号が入力され、
    前記第2のトランジスタのW(Wはチャネル幅)/L(Lはチャネル長)よりも、前記第1のトランジスタのW/Lは大きく、
    前記第3のトランジスタのW/Lよりも、前記第1のトランジスタのW/Lは大きく、
    前記第4のトランジスタのW/Lよりも、前記第1のトランジスタのW/Lは大きく、
    前記第4のトランジスタがオンである期間は、前記第3のトランジスタのソース又はドレインの他方の電位がロウレベルである期間を有し、
    前記第4のトランジスタがオンである期間は、前記第1のクロック信号がハイレベルである期間を有し、
    前記第1の容量素子の第1の電極となる領域を有する第1の導電層は、第1の開口部を有し、
    前記第1の容量素子の第2の電極となる領域を有する第2の導電層は、第2の開口部を有し、
    前記第2の導電層の上方に、前記第1の導電層は設けられており、
    前記第2の開口部の面積よりも、前記第1の開口部の面積は大きく、
    前記第2の開口部の全ては、前記第1の開口部と重なっており、
    前記第6のトランジスタのソース又はドレインの一方は、第2の配線と電気的に接続され、
    前記第6のトランジスタのソース又はドレインの他方は、第3の走査線と電気的に接続され、
    前記第7のトランジスタのソース又はドレインの一方は、前記第1の走査線と電気的に接続され、
    前記第7のトランジスタのソース又はドレインの他方は、前記第6のトランジスタのゲートと電気的に接続され、
    前記第8のトランジスタのソース又はドレインの一方は、前記第7のトランジスタのゲートと電気的に接続され、
    前記第9のトランジスタのソース又はドレインの一方は、前記第7のトランジスタのゲートと電気的に接続され、
    前記第9のトランジスタのソース又はドレインの他方は、前記第8のトランジスタのソース又はドレインの他方と電気的に接続され、
    前記第9のトランジスタのゲートは、前記第2の配線と電気的に接続され、
    前記第10のトランジスタのソース又はドレインの一方は、前記第6のトランジスタのゲートと電気的に接続され、
    前記第10のトランジスタのソース又はドレインの他方は、前記第3の走査線と電気的に接続され、
    前記第10のトランジスタのゲートは、前記第2の配線と電気的に接続され、
    前記第2の容量素子の第1の電極は、前記第3の走査線と電気的に接続され、
    前記第2の容量素子の第2の電極は、前記第6のトランジスタのゲートと電気的に接続され、
    前記第2の配線には、第2のクロック信号が入力され、
    前記第7のトランジスタのW/Lよりも、前記第6のトランジスタのW/Lは大きく、
    前記第8のトランジスタのW/Lよりも、前記第6のトランジスタのW/Lは大きく、
    前記第9のトランジスタのW/Lよりも、前記第6のトランジスタのW/Lは大きく、
    前記第9のトランジスタがオンである期間は、前記第8のトランジスタのソース又はドレインの他方の電位がロウレベルである期間を有し、
    前記第9のトランジスタがオンである期間は、前記第2のクロック信号がハイレベルである期間を有し、
    前記第2の容量素子の第1の電極となる領域を有する第3の導電層は、第3の開口部を有し、
    前記第2の容量素子の第2の電極となる領域を有する第4の導電層は、第4の開口部を有し、
    前記第4の導電層の上方に、前記第3の導電層は設けられており、
    前記第4の開口部の面積よりも、前記第3の開口部の面積は大きく、
    前記第4の開口部の全ては、前記第3の開口部と重なっていることを特徴とする半導体装置。
  5. 第1乃至第10のトランジスタと、第1及び第2の容量素子と、を有し、
    前記第1乃至第10のトランジスタのそれぞれは、酸化物半導体層にチャネル形成領域を有し、
    前記第1のトランジスタのソース又はドレインの一方は、第1の配線と電気的に接続され、
    前記第1のトランジスタのソース又はドレインの他方は、第1の走査線と電気的に接続され、
    前記第2のトランジスタのソース又はドレインの一方は、第2の走査線と電気的に接続され、
    前記第2のトランジスタのソース又はドレインの他方は、前記第1のトランジスタのゲートと電気的に接続され、
    前記第3のトランジスタのソース又はドレインの一方は、前記第2のトランジスタのゲートと電気的に接続され、
    前記第4のトランジスタのソース又はドレインの一方は、前記第2のトランジスタのゲートと電気的に接続され、
    前記第4のトランジスタのソース又はドレインの他方は、前記第3のトランジスタのソース又はドレインの他方と電気的に接続され、
    前記第5のトランジスタのソース又はドレインの一方は、前記第1のトランジスタのゲートと電気的に接続され、
    前記第5のトランジスタのソース又はドレインの他方は、前記第1の走査線と電気的に接続され、
    前記第5のトランジスタのゲートは、前記第1の配線と電気的に接続され、
    前記第1の容量素子の第1の電極は、前記第1の走査線と電気的に接続され、
    前記第1の容量素子の第2の電極は、前記第1のトランジスタのゲートと電気的に接続され、
    前記第1の配線には、第1のクロック信号が入力され、
    前記第2のトランジスタのW(Wはチャネル幅)/L(Lはチャネル長)よりも、前記第1のトランジスタのW/Lは大きく、
    前記第3のトランジスタのW/Lよりも、前記第1のトランジスタのW/Lは大きく、
    前記第4のトランジスタのW/Lよりも、前記第1のトランジスタのW/Lは大きく、
    前記第4のトランジスタがオンである期間は、前記第3のトランジスタのソース又はドレインの他方の電位がロウレベルである期間を有し、
    前記第2のトランジスタがオンである期間は、前記第2の走査線のハイレベルの電位と前記第2のトランジスタの閾値電圧との和よりも前記第2のトランジスタのゲートの電位が高くなる期間を有し、
    前記第1の容量素子の第1の電極となる領域を有する第1の導電層は、第1の開口部を有し、
    前記第1の容量素子の第2の電極となる領域を有する第2の導電層は、第2の開口部を有し、
    前記第2の導電層の上方に、前記第1の導電層は設けられており、
    前記第2の開口部の面積よりも、前記第1の開口部の面積は大きく、
    前記第2の開口部の全ては、前記第1の開口部と重なっており、
    前記第6のトランジスタのソース又はドレインの一方は、第2の配線と電気的に接続され、
    前記第6のトランジスタのソース又はドレインの他方は、第3の走査線と電気的に接続され、
    前記第7のトランジスタのソース又はドレインの一方は、前記第1の走査線と電気的に接続され、
    前記第7のトランジスタのソース又はドレインの他方は、前記第6のトランジスタのゲートと電気的に接続され、
    前記第8のトランジスタのソース又はドレインの一方は、前記第7のトランジスタのゲートと電気的に接続され、
    前記第9のトランジスタのソース又はドレインの一方は、前記第7のトランジスタのゲートと電気的に接続され、
    前記第9のトランジスタのソース又はドレインの他方は、前記第8のトランジスタのソース又はドレインの他方と電気的に接続され、
    前記第10のトランジスタのソース又はドレインの一方は、前記第6のトランジスタのゲートと電気的に接続され、
    前記第10のトランジスタのソース又はドレインの他方は、前記第3の走査線と電気的に接続され、
    前記第10のトランジスタのゲートは、前記第2の配線と電気的に接続され、
    前記第2の容量素子の第1の電極は、前記第3の走査線と電気的に接続され、
    前記第2の容量素子の第2の電極は、前記第6のトランジスタのゲートと電気的に接続され、
    前記第2の配線には、第2のクロック信号が入力され、
    前記第7のトランジスタのW/Lよりも、前記第6のトランジスタのW/Lは大きく、
    前記第8のトランジスタのW/Lよりも、前記第6のトランジスタのW/Lは大きく、
    前記第9のトランジスタのW/Lよりも、前記第6のトランジスタのW/Lは大きく、
    前記第9のトランジスタがオンである期間は、前記第8のトランジスタのソース又はドレインの他方の電位がロウレベルである期間を有し、
    前記第7のトランジスタがオンである期間は、前記第1の走査線のハイレベルの電位と前記第7のトランジスタの閾値電圧との和よりも前記第7のトランジスタのゲートの電位が高くなる期間を有し、
    前記第2の容量素子の第1の電極となる領域を有する第3の導電層は、第3の開口部を有し、
    前記第2の容量素子の第2の電極となる領域を有する第4の導電層は、第4の開口部を有し、
    前記第4の導電層の上方に、前記第3の導電層は設けられており、
    前記第4の開口部の面積よりも、前記第3の開口部の面積は大きく、
    前記第4の開口部の全ては、前記第3の開口部と重なっていることを特徴とする半導体装置。
  6. 第1乃至第10のトランジスタと、第1及び第2の容量素子と、を有し、
    前記第1乃至第10のトランジスタのそれぞれは、酸化物半導体層にチャネル形成領域を有し、
    前記第1のトランジスタのソース又はドレインの一方は、第1の配線と電気的に接続され、
    前記第1のトランジスタのソース又はドレインの他方は、第1の走査線と電気的に接続され、
    前記第2のトランジスタのソース又はドレインの一方は、第2の走査線と電気的に接続され、
    前記第2のトランジスタのソース又はドレインの他方は、前記第1のトランジスタのゲートと電気的に接続され、
    前記第3のトランジスタのソース又はドレインの一方は、前記第2のトランジスタのゲートと電気的に接続され、
    前記第4のトランジスタのソース又はドレインの一方は、前記第2のトランジスタのゲートと電気的に接続され、
    前記第4のトランジスタのソース又はドレインの他方は、前記第3のトランジスタのソース又はドレインの他方と電気的に接続され、
    前記第4のトランジスタのゲートは、前記第1の配線と電気的に接続され、
    前記第5のトランジスタのソース又はドレインの一方は、前記第1のトランジスタのゲートと電気的に接続され、
    前記第5のトランジスタのソース又はドレインの他方は、前記第1の走査線と電気的に接続され、
    前記第5のトランジスタのゲートは、前記第1の配線と電気的に接続され、
    前記第1の容量素子の第1の電極は、前記第1の走査線と電気的に接続され、
    前記第1の容量素子の第2の電極は、前記第1のトランジスタのゲートと電気的に接続され、
    前記第1の配線には、第1のクロック信号が入力され、
    前記第2のトランジスタのW(Wはチャネル幅)/L(Lはチャネル長)よりも、前記第1のトランジスタのW/Lは大きく、
    前記第3のトランジスタのW/Lよりも、前記第1のトランジスタのW/Lは大きく、
    前記第4のトランジスタのW/Lよりも、前記第1のトランジスタのW/Lは大きく、
    前記第4のトランジスタがオンである期間は、前記第3のトランジスタのソース又はドレインの他方の電位がロウレベルである期間を有し、
    前記第4のトランジスタがオンである期間は、前記第1のクロック信号がハイレベルである期間を有し、
    前記第2のトランジスタがオンである期間は、前記第2の走査線のハイレベルの電位と前記第2のトランジスタの閾値電圧との和よりも前記第2のトランジスタのゲートの電位が高くなる期間を有し、
    前記第1の容量素子の第1の電極となる領域を有する第1の導電層は、第1の開口部を有し、
    前記第1の容量素子の第2の電極となる領域を有する第2の導電層は、第2の開口部を有し、
    前記第2の導電層の上方に、前記第1の導電層は設けられており、
    前記第2の開口部の面積よりも、前記第1の開口部の面積は大きく、
    前記第2の開口部の全ては、前記第1の開口部と重なっており、
    前記第6のトランジスタのソース又はドレインの一方は、第2の配線と電気的に接続され、
    前記第6のトランジスタのソース又はドレインの他方は、第3の走査線と電気的に接続され、
    前記第7のトランジスタのソース又はドレインの一方は、前記第1の走査線と電気的に接続され、
    前記第7のトランジスタのソース又はドレインの他方は、前記第6のトランジスタのゲートと電気的に接続され、
    前記第8のトランジスタのソース又はドレインの一方は、前記第7のトランジスタのゲートと電気的に接続され、
    前記第9のトランジスタのソース又はドレインの一方は、前記第7のトランジスタのゲートと電気的に接続され、
    前記第9のトランジスタのソース又はドレインの他方は、前記第8のトランジスタのソース又はドレインの他方と電気的に接続され、
    前記第9のトランジスタのゲートは、前記第2の配線と電気的に接続され、
    前記第10のトランジスタのソース又はドレインの一方は、前記第6のトランジスタのゲートと電気的に接続され、
    前記第10のトランジスタのソース又はドレインの他方は、前記第3の走査線と電気的に接続され、
    前記第10のトランジスタのゲートは、前記第2の配線と電気的に接続され、
    前記第2の容量素子の第1の電極は、前記第3の走査線と電気的に接続され、
    前記第2の容量素子の第2の電極は、前記第6のトランジスタのゲートと電気的に接続され、
    前記第2の配線には、第2のクロック信号が入力され、
    前記第7のトランジスタのW/Lよりも、前記第6のトランジスタのW/Lは大きく、
    前記第8のトランジスタのW/Lよりも、前記第6のトランジスタのW/Lは大きく、
    前記第9のトランジスタのW/Lよりも、前記第6のトランジスタのW/Lは大きく、
    前記第9のトランジスタがオンである期間は、前記第8のトランジスタのソース又はドレインの他方の電位がロウレベルである期間を有し、
    前記第9のトランジスタがオンである期間は、前記第2のクロック信号がハイレベルである期間を有し、
    前記第7のトランジスタがオンである期間は、前記第1の走査線のハイレベルの電位と前記第7のトランジスタの閾値電圧との和よりも前記第7のトランジスタのゲートの電位が高くなる期間を有し、
    前記第2の容量素子の第1の電極となる領域を有する第3の導電層は、第3の開口部を有し、
    前記第2の容量素子の第2の電極となる領域を有する第4の導電層は、第4の開口部を有し、
    前記第4の導電層の上方に、前記第3の導電層は設けられており、
    前記第4の開口部の面積よりも、前記第3の開口部の面積は大きく、
    前記第4の開口部の全ては、前記第3の開口部と重なっていることを特徴とする半導体装置。
JP2017082471A 2014-07-24 2017-04-19 半導体装置 Active JP6262903B2 (ja)

Applications Claiming Priority (2)

Application Number Priority Date Filing Date Title
JP2014150532 2014-07-24
JP2014150532 2014-07-24

Related Parent Applications (1)

Application Number Title Priority Date Filing Date
JP2015144674A Division JP6624828B2 (ja) 2014-07-24 2015-07-22 半導体装置、表示モジュール及び電子機器

Publications (2)

Publication Number Publication Date
JP2017192130A JP2017192130A (ja) 2017-10-19
JP6262903B2 true JP6262903B2 (ja) 2018-01-17

Family

ID=55167345

Family Applications (13)

Application Number Title Priority Date Filing Date
JP2015144674A Active JP6624828B2 (ja) 2014-07-24 2015-07-22 半導体装置、表示モジュール及び電子機器
JP2016098756A Active JP6122999B2 (ja) 2014-07-24 2016-05-17 半導体装置
JP2017082470A Active JP6262902B2 (ja) 2014-07-24 2017-04-19 半導体装置
JP2017082471A Active JP6262903B2 (ja) 2014-07-24 2017-04-19 半導体装置
JP2017092778A Active JP6295359B2 (ja) 2014-07-24 2017-05-09 半導体装置
JP2018026559A Active JP6561159B2 (ja) 2014-07-24 2018-02-19 半導体装置
JP2019134375A Active JP6884825B2 (ja) 2014-07-24 2019-07-22 半導体装置
JP2019212946A Active JP6884843B2 (ja) 2014-07-24 2019-11-26 半導体装置
JP2021080904A Active JP7101847B2 (ja) 2014-07-24 2021-05-12 半導体装置
JP2022108469A Active JP7499296B2 (ja) 2014-07-24 2022-07-05 半導体装置
JP2024013993A Withdrawn JP2024052745A (ja) 2014-07-24 2024-02-01 半導体装置
JP2024013977A Active JP7649889B2 (ja) 2014-07-24 2024-02-01 半導体装置
JP2025037416A Active JP7797724B2 (ja) 2014-07-24 2025-03-10 半導体装置及び表示装置

Family Applications Before (3)

Application Number Title Priority Date Filing Date
JP2015144674A Active JP6624828B2 (ja) 2014-07-24 2015-07-22 半導体装置、表示モジュール及び電子機器
JP2016098756A Active JP6122999B2 (ja) 2014-07-24 2016-05-17 半導体装置
JP2017082470A Active JP6262902B2 (ja) 2014-07-24 2017-04-19 半導体装置

Family Applications After (9)

Application Number Title Priority Date Filing Date
JP2017092778A Active JP6295359B2 (ja) 2014-07-24 2017-05-09 半導体装置
JP2018026559A Active JP6561159B2 (ja) 2014-07-24 2018-02-19 半導体装置
JP2019134375A Active JP6884825B2 (ja) 2014-07-24 2019-07-22 半導体装置
JP2019212946A Active JP6884843B2 (ja) 2014-07-24 2019-11-26 半導体装置
JP2021080904A Active JP7101847B2 (ja) 2014-07-24 2021-05-12 半導体装置
JP2022108469A Active JP7499296B2 (ja) 2014-07-24 2022-07-05 半導体装置
JP2024013993A Withdrawn JP2024052745A (ja) 2014-07-24 2024-02-01 半導体装置
JP2024013977A Active JP7649889B2 (ja) 2014-07-24 2024-02-01 半導体装置
JP2025037416A Active JP7797724B2 (ja) 2014-07-24 2025-03-10 半導体装置及び表示装置

Country Status (3)

Country Link
US (4) US20160027810A1 (ja)
JP (13) JP6624828B2 (ja)
KR (4) KR102397388B1 (ja)

Families Citing this family (8)

* Cited by examiner, † Cited by third party
Publication number Priority date Publication date Assignee Title
JP6521794B2 (ja) 2014-09-03 2019-05-29 株式会社半導体エネルギー研究所 半導体装置、及び電子機器
US10326509B2 (en) * 2015-05-28 2019-06-18 Qualcomm Incorporated Link budget enhancements for single receiver devices
JP6603831B1 (ja) * 2018-04-11 2019-11-06 堺ディスプレイプロダクト株式会社 有機el表示装置及び有機el表示装置の製造方法
CN208141792U (zh) 2018-05-28 2018-11-23 北京京东方技术开发有限公司 移位寄存器单元、电路结构、驱动电路及显示装置
JP7412360B2 (ja) 2019-02-05 2024-01-12 株式会社半導体エネルギー研究所 表示装置および電子機器
AU2019275624B2 (en) * 2019-08-21 2021-12-02 Boe Technology Group Co., Ltd. Display substrate and manufacturing method thereof, and display device
WO2023206210A1 (en) 2022-04-28 2023-11-02 Boe Technology Group Co., Ltd. Scan circuit and display apparatus
JP2025151363A (ja) * 2024-03-28 2025-10-09 アルプスアルパイン株式会社 磁気センサおよび磁気測定方法

Family Cites Families (54)

* Cited by examiner, † Cited by third party
Publication number Priority date Publication date Assignee Title
JPS617724A (ja) * 1984-06-22 1986-01-14 Nec Corp ブ−トストラツプ型インバ−タ−回路
JP2921510B2 (ja) * 1996-10-07 1999-07-19 日本電気株式会社 ブートストラップ回路
JP2002133890A (ja) * 2000-10-24 2002-05-10 Alps Electric Co Ltd シフトレジスタ
GB0029246D0 (en) * 2000-11-30 2001-01-17 Imperial College Bootstrapped shift register
JP2002175695A (ja) * 2000-12-06 2002-06-21 Alps Electric Co Ltd シフトレジスタおよびシフトレジスタ回路
JP2003101394A (ja) * 2001-05-29 2003-04-04 Semiconductor Energy Lab Co Ltd パルス出力回路、シフトレジスタ、および表示装置
TW582005B (en) 2001-05-29 2004-04-01 Semiconductor Energy Lab Pulse output circuit, shift register, and display device
JP4425547B2 (ja) * 2003-01-17 2010-03-03 株式会社半導体エネルギー研究所 パルス出力回路、シフトレジスタ、および電子機器
KR100490623B1 (ko) 2003-02-24 2005-05-17 삼성에스디아이 주식회사 버퍼 회로 및 이를 이용한 액티브 매트릭스 표시 장치
US7486269B2 (en) 2003-07-09 2009-02-03 Samsung Electronics Co., Ltd. Shift register, scan driving circuit and display apparatus having the same
KR20050051140A (ko) 2003-11-27 2005-06-01 삼성에스디아이 주식회사 커패시터 및 이를 구비한 평판표시장치
KR101012972B1 (ko) * 2003-12-30 2011-02-10 엘지디스플레이 주식회사 액티브 매트릭스 표시장치
JP2005251348A (ja) * 2004-03-08 2005-09-15 Casio Comput Co Ltd シフトレジスタ回路及びその駆動制御方法
JP2006293344A (ja) * 2005-03-18 2006-10-26 Semiconductor Energy Lab Co Ltd 半導体装置、表示装置及びその駆動方法並びに電子機器
TW200703224A (en) * 2005-03-22 2007-01-16 Koninkl Philips Electronics Nv A shift register circuit
JP5190722B2 (ja) * 2005-05-20 2013-04-24 Nltテクノロジー株式会社 ブートストラップ回路並びにこれを用いたシフトレジスタ、走査回路及び表示装置
US9153341B2 (en) * 2005-10-18 2015-10-06 Semiconductor Energy Laboratory Co., Ltd. Shift register, semiconductor device, display device, and electronic device
JP5164383B2 (ja) * 2006-01-07 2013-03-21 株式会社半導体エネルギー研究所 半導体装置、表示装置、液晶表示装置、表示モジュール及び電子機器
KR101424794B1 (ko) 2006-01-07 2014-08-01 가부시키가이샤 한도오따이 에네루기 켄큐쇼 반도체장치와, 이 반도체장치를 구비한 표시장치 및전자기기
JP4912121B2 (ja) 2006-02-23 2012-04-11 三菱電機株式会社 シフトレジスタ回路
JP2007317288A (ja) * 2006-05-25 2007-12-06 Mitsubishi Electric Corp シフトレジスタ回路およびそれを備える画像表示装置
US8330492B2 (en) 2006-06-02 2012-12-11 Semiconductor Energy Laboratory Co., Ltd. Liquid crystal display device and electronic device
JP5386069B2 (ja) 2006-06-02 2014-01-15 株式会社半導体エネルギー研究所 半導体装置、表示装置、液晶表示装置、表示モジュール及び電子機器
EP1895545B1 (en) 2006-08-31 2014-04-23 Semiconductor Energy Laboratory Co., Ltd. Liquid crystal display device
JP5079425B2 (ja) * 2006-08-31 2012-11-21 株式会社半導体エネルギー研究所 半導体装置、表示装置、液晶表示装置、表示モジュール及び電子機器
JP5116277B2 (ja) 2006-09-29 2013-01-09 株式会社半導体エネルギー研究所 半導体装置、表示装置、液晶表示装置、表示モジュール及び電子機器
JP5525685B2 (ja) * 2006-10-17 2014-06-18 株式会社半導体エネルギー研究所 半導体装置及び電子機器
TWI511116B (zh) * 2006-10-17 2015-12-01 Semiconductor Energy Lab 脈衝輸出電路、移位暫存器及顯示裝置
JP5090008B2 (ja) * 2007-02-07 2012-12-05 三菱電機株式会社 半導体装置およびシフトレジスタ回路
JP4912186B2 (ja) * 2007-03-05 2012-04-11 三菱電機株式会社 シフトレジスタ回路およびそれを備える画像表示装置
JP4968681B2 (ja) 2007-07-17 2012-07-04 Nltテクノロジー株式会社 半導体回路とそれを用いた表示装置並びにその駆動方法
EP2174316A1 (en) * 2007-07-24 2010-04-14 Koninklijke Philips Electronics N.V. A shift register circuit having threshold voltage compensation
FR2920907B1 (fr) * 2007-09-07 2010-04-09 Thales Sa Circuit de commande des lignes d'un ecran plat a matrice active.
US7831010B2 (en) * 2007-11-12 2010-11-09 Mitsubishi Electric Corporation Shift register circuit
JP5125569B2 (ja) * 2008-02-08 2013-01-23 ソニー株式会社 ブートストラップ回路
FR2934919B1 (fr) 2008-08-08 2012-08-17 Thales Sa Registre a decalage a transistors a effet de champ.
JP2010108567A (ja) * 2008-10-31 2010-05-13 Mitsubishi Electric Corp シフトレジスタ回路
TWI390499B (zh) * 2008-12-01 2013-03-21 Au Optronics Corp 移位暫存裝置
TWI664619B (zh) 2009-01-16 2019-07-01 日商半導體能源研究所股份有限公司 液晶顯示裝置及其電子裝置
CN101847445B (zh) * 2009-03-27 2012-11-21 北京京东方光电科技有限公司 移位寄存器及其栅线驱动装置
TWI642043B (zh) 2009-09-10 2018-11-21 日商半導體能源研究所股份有限公司 半導體裝置和顯示裝置
KR102689629B1 (ko) 2009-10-16 2024-07-31 가부시키가이샤 한도오따이 에네루기 켄큐쇼 반도체 장치
KR102318235B1 (ko) * 2010-02-23 2021-10-28 가부시키가이샤 한도오따이 에네루기 켄큐쇼 반도체 장치 및 그 제조 방법
KR101056233B1 (ko) * 2010-03-16 2011-08-11 삼성모바일디스플레이주식회사 화소 및 이를 구비한 유기전계발광 표시장치
KR101170241B1 (ko) * 2010-06-03 2012-07-31 하이디스 테크놀로지 주식회사 Epd 및 디스플레이 장치의 구동회로
JP2012075049A (ja) * 2010-09-29 2012-04-12 Dainippon Printing Co Ltd 論理否定型電子回路
TWI437822B (zh) * 2010-12-06 2014-05-11 Au Optronics Corp 移位暫存器電路
TWI637483B (zh) * 2011-08-29 2018-10-01 日商半導體能源研究所股份有限公司 半導體裝置
JP6099372B2 (ja) * 2011-12-05 2017-03-22 株式会社半導体エネルギー研究所 半導体装置及び電子機器
US9223161B2 (en) 2012-04-20 2015-12-29 Sharp Kabushiki Kaisha Display device
JP2015523876A (ja) * 2012-05-30 2015-08-20 スコット マクナルティ 生体測定情報の電磁検出及び分析のためのシステム、方法、及び装置
US9742378B2 (en) 2012-06-29 2017-08-22 Semiconductor Energy Laboratory Co., Ltd. Pulse output circuit and semiconductor device
TWI635501B (zh) * 2012-07-20 2018-09-11 半導體能源研究所股份有限公司 脈衝輸出電路、顯示裝置、及電子裝置
JPWO2014208123A1 (ja) 2013-06-28 2017-02-23 シャープ株式会社 単位シフトレジスタ回路、シフトレジスタ回路、単位シフトレジスタ回路の制御方法及び表示装置

Also Published As

Publication number Publication date
JP2021141593A (ja) 2021-09-16
JP6262902B2 (ja) 2018-01-17
KR20250020563A (ko) 2025-02-11
JP6884843B2 (ja) 2021-06-09
JP6561159B2 (ja) 2019-08-14
JP7101847B2 (ja) 2022-07-15
JP2025083457A (ja) 2025-05-30
US20170294458A1 (en) 2017-10-12
JP7649889B2 (ja) 2025-03-21
JP7797724B2 (ja) 2026-01-13
JP2017192130A (ja) 2017-10-19
KR102397388B1 (ko) 2022-05-13
KR20220066020A (ko) 2022-05-23
US20160027810A1 (en) 2016-01-28
JP2022153412A (ja) 2022-10-12
JP2016029797A (ja) 2016-03-03
JP6122999B2 (ja) 2017-04-26
US10608015B2 (en) 2020-03-31
KR102540162B1 (ko) 2023-06-08
JP6295359B2 (ja) 2018-03-14
US20200243569A1 (en) 2020-07-30
JP2024052744A (ja) 2024-04-12
JP6884825B2 (ja) 2021-06-09
JP2019198117A (ja) 2019-11-14
KR102762355B1 (ko) 2025-02-05
KR20160012926A (ko) 2016-02-03
JP2020058041A (ja) 2020-04-09
JP7499296B2 (ja) 2024-06-13
KR20230084436A (ko) 2023-06-13
US20240355839A1 (en) 2024-10-24
JP2024052745A (ja) 2024-04-12
US12027535B2 (en) 2024-07-02
JP2016174395A (ja) 2016-09-29
JP2018107821A (ja) 2018-07-05
JP2017192129A (ja) 2017-10-19
JP2017188912A (ja) 2017-10-12
JP6624828B2 (ja) 2019-12-25

Similar Documents

Publication Publication Date Title
JP7101847B2 (ja) 半導体装置
JP2020118979A (ja) 表示装置
JP6677472B2 (ja) 半導体装置
JP6652810B2 (ja) 半導体装置、表示モジュール及び電子機器

Legal Events

Date Code Title Description
A131 Notification of reasons for refusal

Free format text: JAPANESE INTERMEDIATE CODE: A131

Effective date: 20170718

A521 Request for written amendment filed

Free format text: JAPANESE INTERMEDIATE CODE: A523

Effective date: 20170911

TRDD Decision of grant or rejection written
A01 Written decision to grant a patent or to grant a registration (utility model)

Free format text: JAPANESE INTERMEDIATE CODE: A01

Effective date: 20171212

A61 First payment of annual fees (during grant procedure)

Free format text: JAPANESE INTERMEDIATE CODE: A61

Effective date: 20171214

R150 Certificate of patent or registration of utility model

Ref document number: 6262903

Country of ref document: JP

Free format text: JAPANESE INTERMEDIATE CODE: R150

R250 Receipt of annual fees

Free format text: JAPANESE INTERMEDIATE CODE: R250

R250 Receipt of annual fees

Free format text: JAPANESE INTERMEDIATE CODE: R250

R250 Receipt of annual fees

Free format text: JAPANESE INTERMEDIATE CODE: R250

R250 Receipt of annual fees

Free format text: JAPANESE INTERMEDIATE CODE: R250

R250 Receipt of annual fees

Free format text: JAPANESE INTERMEDIATE CODE: R250

R250 Receipt of annual fees

Free format text: JAPANESE INTERMEDIATE CODE: R250