JP6225477B2 - 電子機器 - Google Patents

電子機器 Download PDF

Info

Publication number
JP6225477B2
JP6225477B2 JP2013104277A JP2013104277A JP6225477B2 JP 6225477 B2 JP6225477 B2 JP 6225477B2 JP 2013104277 A JP2013104277 A JP 2013104277A JP 2013104277 A JP2013104277 A JP 2013104277A JP 6225477 B2 JP6225477 B2 JP 6225477B2
Authority
JP
Japan
Prior art keywords
ventilation path
housing
cooling air
disposed
electronic device
Prior art date
Legal status (The legal status is an assumption and is not a legal conclusion. Google has not performed a legal analysis and makes no representation as to the accuracy of the status listed.)
Active
Application number
JP2013104277A
Other languages
English (en)
Other versions
JP2014225573A (ja
Inventor
亮 栗田
亮 栗田
前田 秀樹
秀樹 前田
Current Assignee (The listed assignees may be inaccurate. Google has not performed a legal analysis and makes no representation or warranty as to the accuracy of the list.)
Fujitsu Ltd
Original Assignee
Fujitsu Ltd
Priority date (The priority date is an assumption and is not a legal conclusion. Google has not performed a legal analysis and makes no representation as to the accuracy of the date listed.)
Filing date
Publication date
Application filed by Fujitsu Ltd filed Critical Fujitsu Ltd
Priority to JP2013104277A priority Critical patent/JP6225477B2/ja
Priority to US14/261,529 priority patent/US20140340846A1/en
Publication of JP2014225573A publication Critical patent/JP2014225573A/ja
Application granted granted Critical
Publication of JP6225477B2 publication Critical patent/JP6225477B2/ja
Active legal-status Critical Current
Anticipated expiration legal-status Critical

Links

Images

Classifications

    • HELECTRICITY
    • H05ELECTRIC TECHNIQUES NOT OTHERWISE PROVIDED FOR
    • H05KPRINTED CIRCUITS; CASINGS OR CONSTRUCTIONAL DETAILS OF ELECTRIC APPARATUS; MANUFACTURE OF ASSEMBLAGES OF ELECTRICAL COMPONENTS
    • H05K7/00Constructional details common to different types of electric apparatus
    • H05K7/20Modifications to facilitate cooling, ventilating, or heating
    • H05K7/20009Modifications to facilitate cooling, ventilating, or heating using a gaseous coolant in electronic enclosures
    • H05K7/20136Forced ventilation, e.g. by fans
    • H05K7/20145Means for directing air flow, e.g. ducts, deflectors, plenum or guides
    • HELECTRICITY
    • H05ELECTRIC TECHNIQUES NOT OTHERWISE PROVIDED FOR
    • H05KPRINTED CIRCUITS; CASINGS OR CONSTRUCTIONAL DETAILS OF ELECTRIC APPARATUS; MANUFACTURE OF ASSEMBLAGES OF ELECTRICAL COMPONENTS
    • H05K7/00Constructional details common to different types of electric apparatus
    • H05K7/20Modifications to facilitate cooling, ventilating, or heating
    • H05K7/20709Modifications to facilitate cooling, ventilating, or heating for server racks or cabinets; for data centers, e.g. 19-inch computer racks
    • H05K7/20718Forced ventilation of a gaseous coolant
    • H05K7/20727Forced ventilation of a gaseous coolant within server blades for removing heat from heat source

Landscapes

  • Engineering & Computer Science (AREA)
  • Microelectronics & Electronic Packaging (AREA)
  • Physics & Mathematics (AREA)
  • Thermal Sciences (AREA)
  • Computer Hardware Design (AREA)
  • General Engineering & Computer Science (AREA)
  • Cooling Or The Like Of Electrical Apparatus (AREA)
  • Cooling Or The Like Of Semiconductors Or Solid State Devices (AREA)

Description

本願の開示する技術は、電子機器に関する。
従来、吸気口及び排気口を有する筐体と、筐体の内部に蛇行する通風路を形成する複数の電子部品と、吸気口から通風路を通じて排気口へ流れる冷却風の流れを形成する送風機とを備えた電子機器が知られている(例えば、特許文献1参照)。
特開平2−50496号公報
上述の従来の電子機器において、吸気口は、電子部品の基板と直交する方向に沿って開口している。従って、吸気口から吸い込まれた冷却風が電子部品の基板に垂直に当るので、冷却風の風速が低下し、ひいては、冷却対象物としての電子部品に対する冷却性能が低下する虞がある。
そこで、本願の開示する技術は、一つの側面として、通風路に配置された冷却対象物に対する冷却性能を向上させることができる電子機器を提供することを目的とする。
上記目的を達成するために、本願の開示する技術によれば、筐体と、複数の壁部と、送風機とを備えた電子機器が提供される。筐体は、吸気口及び排気口を有している。複数の壁部は、それぞれ吸気口の開口方向に沿って延びており、筐体の内部に蛇行する通風路を形成している。送風機は、吸気口から通風路を通じて排気口へ流れる冷却風の流れを形成する。筐体の内部には、プリント基板が収容され、筐体は、吸気口の開口方向に対向する一対の縦壁部を有する。複数の壁部のうち少なくとも一の壁部は、プリント基板に実装された電子部品の基板であり、電子部品の基板は、吸気口の開口方向に一対の縦壁部と離間している。
本願の開示する技術によれば、通風路に配置された冷却対象物に対する冷却性能を向上させることができる。
電子機器を搭載した情報処理装置の斜視図である。 第一実施形態に係る電子機器の平面断面図である。 第一実施形態に係る電子機器の第一変形例を示す平面断面図である。 第一実施形態に係る電子機器の第二変形例を示す平面断面図である。 第一実施形態に係る電子機器の第三変形例を示す平面断面図である。 演算素子の変形例を示す正面図である。 演算素子の変形例を示す側面図である。 第二実施形態に係る電子機器の平面断面図である。 図8のF9−F9線断面図である。 図6のF10−F10線断面図である。 第二実施形態に係る電子機器の第一変形例を示す縦断面図である。 第二実施形態に係る電子機器の第二変形例を示す縦断面図である。 第二実施形態に係る電子機器の第三変形例を示す縦断面図である。 第二実施形態に係る電子機器の第四変形例を示す縦断面図である。 第二実施形態に係る電子機器の第五変形例を示す縦断面図である。 第二実施形態に係る電子機器の第六変形例を示す縦断面図である。 第二実施形態に係る電子機器の第七変形例を示す縦断面図である。
[第一実施形態]
はじめに、本願の開示する技術の第一実施形態を説明する。
図1に示されるように、第一実施形態に係る電子機器10は、複数のサーバ12と共に情報処理装置14のラック16に搭載されている。この電子機器10は、一例として、複数のサーバ12の電源制御を行う電源制御装置とされている。
この電子機器10は、図2に示されるように、筐体18と、プリント基板20と、複数の壁部22,24と、送風機26とを備えている。
筐体18は、天壁部(不図示)、底壁部28、正面壁部30、背面壁部32、及び、左右一対の側壁部34,36を有する箱型に形成されている。正面壁部30及び背面壁部32は、筐体18の横幅方向(矢印C方向)に沿って延びており、筐体18の奥行き方向(矢印L方向)に対向している。左右一対の側壁部34,36は、筐体18の奥行き方向に沿って延びており、筐体18の横幅方向に対向している。
一対の縦壁部の一例である正面壁部30及び背面壁部32には、吸気口38及び排気口40がそれぞれ形成されている。この吸気口38及び排気口40は、筐体18の横幅方向にずれて形成されている。つまり、吸気口38は、正面壁部30における横幅方向の一端側に形成されており、排気口40は、背面壁部32における横幅方向の他端側に形成されている。この吸気口38及び排気口40は、筐体18の奥行き方向に開口している。
プリント基板20は、筐体18の内部に収容されている。このプリント基板20は、筐体18の横幅方向及び奥行き方向に延在すると共に、筐体18の高さ方向を板厚方向として配置されている。プリント基板20と正面壁部30との間には、筐体18の奥行き方向の間隔42が設けられている。
複数の壁部22,24は、それぞれ吸気口38の開口方向である筐体18の奥行き方向に沿って延びている。この複数の壁部22,24は、筐体18の横幅方向に配列されている。一方の壁部22は、正面壁部30と接続されると共に、背面壁部32と筐体18の奥行き方向に離間している。これに対し、他方の壁部24は、背面壁部32と接続されると共に、正面壁部30と筐体18の奥行き方向に離間している。そして、このように複数の壁部22,24が互い違いに配置されることにより、筐体18の内部には、蛇行する通風路44が形成されている。
すなわち、一方の壁部22と一方の側壁部34との間は、通風路44のうちの上流領域46とされており、一方の壁部22と他方の壁部24との間は、通風路44のうちの中流領域48とされている。また、他方の壁部24と他方の側壁部36との間は、通風路44のうちの下流領域50とされている。上流領域46は、吸気口38と接続されており、下流領域50は、排気口40と接続されている。また、一方の壁部22と背面壁部32との間の開口は、上流領域46と中流領域48とを連通しており、他方の壁部24と正面壁部30との間の開口は、中流領域48と下流領域50とを連通している。この上流領域46、中流領域48、及び、下流領域50は、いずれも筐体18の奥行き方向に沿って延びている。
送風機26は、筐体18の奥行き方向に吸気口38と対向して配置されている。この送風機26は、プリント基板20と正面壁部30との間の間隔42に配置されており、吸気口38に近接されている。この送風機26は、モータ52と、このモータ52により回転するファン54とを有している。モータ52が作動してファン54が回転すると、吸気口38から通風路44を通じて排気口40へ流れる冷却風Wの流れが形成される。この第一実施形態において、送風機26の設置個数は、一つとされている。
また、上述のプリント基板20には、冷却対象物の一例として、CPU(Central Processing Unit)やMPU(Micro Processing Unit)などの演算素子56が実装されている。この演算素子56は、通風路44のうちの上流領域46に配置されている。また、演算素子56は、一方の壁部22と冷却風Wの流れの方向(矢印L方向)にオーバーラップしている。つまり、演算素子56は、壁部22の長さ方向の範囲Aに収まるように配置されている。さらに、この演算素子56は、送風機26に設けられたファン54の中心軸の延長線L1上に配置されている。
次に、第一実施形態の作用及び効果について説明する。
以上詳述したように、第一実施形態に係る電子機器10によれば、筐体18の内部に蛇行する通風路44を形成する複数の壁部22,24は、それぞれ吸気口38の開口方向である筐体18の奥行き方向(矢印L方向)に沿って延びている。従って、通風路44の上流側においては、吸気口38から吸い込まれた冷却風Wが壁部22に沿って流れるので、冷却風Wの風速が低下することを抑制することができる。これにより、演算素子56に対する冷却性能を向上させることができる。
また、演算素子56は、壁部22と冷却風Wの流れの方向(矢印L方向)にオーバーラップしている。従って、壁部22に沿って流れる冷却風Wを演算素子56に供給することができるので、演算素子56に対する冷却性能をより向上させることができる。
さらに、送風機26は、吸気口38の開口方向に吸気口38と対向して配置されている。従って、送風機26と吸気口38との間の空気抵抗を低減することができる。しかも、演算素子56は、送風機26に設けられたファン54の中心軸の延長線L1上に配置されている。従って、演算素子56に冷却風Wを円滑に供給することができるので、このことによっても、演算素子56に対する冷却性能をより向上させることができる。
しかも、送風機26の設置個数は、一つである。従って、演算素子56に対する冷却性能を向上しつつ、騒音及び消費電力を抑えることができると共に、コストアップを抑制することができる。
次に、第一実施形態の変形例について説明する。
上述の第一実施形態において、プリント基板20は、図3に示されるように、複数のプリント基板20A,20Bに分割されていても良い。つまり、筐体18の内部には、複数のプリント基板20A,20Bが収容されていても良い。
また、図4に示されるように、プリント基板20における正面壁部30側且つ側壁部34側の角部には、切欠部58が形成され、送風機26は、この切欠部58に配置されていても良い。このように構成されていると、筐体18を奥行き方向(矢印L方向)に小型化することができる。
また、図5に示されるように、プリント基板20には、電子部品の一例として、DIMM(Dual Inline Memory Module)などのメモリモジュール60が実装されていても良い。そして、このメモリモジュール60の基板62が上流領域46の壁部を形成していても良い。また、この場合に、冷却風Wを案内する壁部の機能を有する基板62は、筐体18の奥行き方向(矢印L方向)に正面壁部30及び背面壁部32と離間していても良い。
なお、冷却風Wを案内する基板62が正面壁部30と離間していても、基板62は、吸気口38の開口方向である筐体18の奥行き方向に沿って延びているので、吸気口38から吸い込まれた冷却風Wを基板62に沿って流すことができる。これにより、基板62を正面壁部30と離間して配置することが可能になるので、メモリモジュール60の配置の自由度を高めることができる。
また、この図5に示される変形例において、冷却風Wの流れの方向の上流側から下流側に順に配置された演算素子56、メモリモジュール60、及び、プリント基板20Bは、この順に冷却の要求度が低くなるように設定されていても良い。
また、この図5に示される変形例において、プリント基板20には、メモリモジュール60の代わりに、電子部品の一例として、DC/DC(Direct Current/Direct Current)コンバータなどの電圧変換器が実装されていても良い。そして、この電圧変換器の基板が上流領域46の壁部を形成していても良い。また、下流領域50の壁部も、電子部品の基板によって形成されていても良い。
また、図6,図7に示されるように、演算素子56には、複数の冷却フィン64が設けられていても良い。このように構成されていると、冷却フィン64を介して演算素子56を冷却することができるので、演算素子56に対する冷却性能を向上させることができる。なお、複数の冷却フィン64は、冷却風Wの流れの方向に沿って延びていると好適である。このように構成されていると、複数の冷却フィン64によって冷却風Wの流れが妨げられることを抑制することができる。
また、上述の第一実施形態において、図2に示される送風機26は、排気口40に近接して配置されるか、又は、通風路44における中間部(中流領域48)に配置されても良い。
また、吸気口38は、例えば、筐体18の横幅方向(矢印C方向)に開口していても良い。また、吸気口38が筐体18の横幅方向に開口する場合に、複数の壁部22,24は、それぞれ筐体18の横幅方向に沿って延びると共に、筐体18の奥行方向(矢印L方向)に配列されていても良い。
また、上述の第一実施形態の変形例は、適宜組み合わされて実施されても良い。
[第二実施形態]
次に、本願の開示する技術の第二実施形態を説明する。
図8〜図10に示される第二実施形態に係る電子機器70は、上述の第一実施形態に係る電子機器10(図1〜図5参照)に対し、次のように構成が変更されている。なお、第二実施形態において、上述の第一実施形態と同様の構成については、第一実施形態と同一の符号を用い、その説明を省略する。
第二実施形態に係る電子機器70において、筐体18の内部には、図10に示されるように、上下二段に並べられた複数のプリント基板20,21が収容されている。下段のプリント基板21は、上段のプリント基板20と同様の形状とされており、複数のプリント基板21A,21Bに分割されている。
プリント基板20Aとプリント基板21Aとは、筐体18の高さ方向(矢印H方向)に対向して配置されており、プリント基板20Bとプリント基板21Bとは、筐体18の高さ方向に対向して配置されている。また、プリント基板20A,21Aと、プリント基板20B,21Bとは、筐体18の横幅方向(矢印C方向)に並んで配置されている。
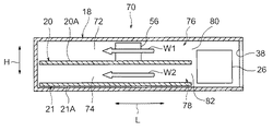
図10に示されるように、上段のプリント基板20は、筐体18の高さ方向の中央部に配置されている。そして、筐体18の内部は、仕切り壁の一例であるプリント基板20によって上下の空間72,74に仕切られている。各空間72,74には、複数の壁部22,24(図8参照)による通風路76,78がそれぞれ形成されている。図8に示されるように、通風路76は、上流領域80、中流領域84、及び、下流領域88を有している。同様に、通風路78も、上流領域82、中流領域86、及び、下流領域90(図9,図10を参照)を有している。
図8に示されるように、プリント基板20における正面壁部30側の縁部は、正面壁部30に近接されている。また、一方の壁部22は、プリント基板20Aにおける横幅方向の中央部に配置されており、他方の壁部24は、プリント基板20Aとプリント基板20Bとの間に配置されている。他方の壁部24と正面壁部30との間では、プリント基板20Aとプリント基板20Bとの間に隙間92が設けられている。図10に示されるように、上下の通風路76,78における上流側と下流側との間の中間部同士(上側の中流領域84及び下流領域88の接続部と、下側の中流領域86及び下流領域90の接続部)は、この連通口の一例である隙間92を通じて連通されている。
図8に示されるように、送風機26は、プリント基板20に形成された切欠部58に配置されている。送風機26のモータ52が作動してファン54が回転すると、吸気口38から各通風路76,78(図9,図10参照)を通じて排気口40へ流れる冷却風の流れがそれぞれ形成される。つまり、図9,図10に示されるように、上側の通風路76には、冷却風W1が流れ、下側の通風路78には、冷却風W2が流れる。また、図8に示されるように、この第二実施形態においても、送風機26の設置個数は、一つとされている。
演算素子56は、上段の通風路76のうちの上流領域80に配置されている。演算素子56は、第一実施形態の場合と同様に、壁部22と冷却風W1の流れの方向(矢印L方向)にオーバーラップしている。さらに、この演算素子56は、送風機26に設けられたファン54の中心軸の延長線L1上に配置されている。なお、図9に示されるように、下段の通風路78の上流領域82には、演算素子等の冷却対象物は配置されていない。
また、図10に示されるように、上段のプリント基板20A,20Bには、複数の発熱体の一例である高発熱部品94及び低発熱部品96がそれぞれ実装されている。高発熱部品94は、上段の通風路76における中流領域84に配置されており、低発熱部品96は、上段の通風路76における下流領域88に配置されている。高発熱部品94を第一の発熱体の一例とした場合、低発熱部品96は、第二の発熱体の一例である。高発熱部品94は、この高発熱部品94に対する通風路76の下流側に配置された低発熱部品96よりも高い発熱温度を生じるものである。
一方、下段のプリント基板21A,21Bには、複数の発熱体の一例である低発熱部品98及び高発熱部品100が実装されている。低発熱部品98は、下段の通風路78における中流領域86に配置されており、高発熱部品100は、下段の通風路78における下流領域90に配置されている。低発熱部品98を第一の発熱体の一例とした場合、高発熱部品100は、第二の発熱体の一例である。低発熱部品98は、この低発熱部品98に対する通風路78の下流側に配置された高発熱部品100よりも低い発熱温度を生じるものである。
次に、第二実施形態に特有の作用及び効果について説明する。
以上詳述したように、第二実施形態に係る電子機器70(図8〜図10参照)によれば、筐体18の内部は、プリント基板20によって上段の空間72と下段の空間74に仕切られている。そして、各空間72,74には、複数の壁部22,24による通風路76,78がそれぞれ形成されている。従って、上段の通風路76に配置された演算素子56、高発熱部品94、及び、低発熱部品96と、下段の通風路78に配置された低発熱部品98及び高発熱部品100とをそれぞれ冷却することができる。
また、図10に示されるように、上段の通風路76では、高発熱部品94が低発熱部品96よりも上流側に配置されている。従って、低発熱部品96よりも先に高発熱部品94に冷却風W1を供給することができるので、高発熱部品94を効率良く冷却することができる。また、高発熱部品94を流れることで温度が高くなった冷却風W1は、高発熱部品94よりも冷却を必要としない低発熱部品96に供給される。これにより、上流側の高発熱部品94と下流側の低発熱部品96に発熱状況に応じた温度の冷却風をそれぞれ提供することができ、その結果、高発熱部品94及び低発熱部品96の両方を冷却することができる。
また、下段の通風路78では、低発熱部品98が高発熱部品100よりも上流側に配置されている。従って、低発熱部品98を流れることで温度が低いままの冷却風W2を高発熱部品100に供給することができる。これにより、低発熱部品98及び高発熱部品100の両方を冷却することができる。
次に、第二実施形態の変形例について説明する。
上述の第二実施形態においては、送風機26から上段の通風路76に供給される冷却風の流量と、送風機26から下段の通風路78に供給される冷却風の流量とが異なっていても良い。
例えば、図11に示される変形例において、下段の通風路78の入口付近には、送風機26のコネクタ102が配置されている。そして、このコネクタ102によって下段の通風路78への冷却風W2の流れが妨げられることにより、上段の通風路76に供給される冷却風W1の流量は、下段の通風路78に供給される冷却風W2の流量よりも多くなっている。このように構成されていると、演算素子56が配置された上段の通風路76により多くの冷却風が供給されるので、演算素子56に対する冷却性能を向上させることができる。
また、上述の第二実施形態においては、図12に示されるように、上段の通風路76における下流領域88には、高発熱部品100が配置され、下段の通風路78における下流領域90には、低発熱部品96が配置されても良い。
また、この場合に、下段のプリント基板21Aに設けられた風向制御部材104により、上段の通風路76の下流側(下流領域88)には、下段の通風路78の上流側(中流領域86)から隙間92を通じて冷却風W2が流れても良い。この風向制御部の一例である風向制御部材104は、上段の通風路76における冷却風W1の流れには影響しないので、上段の通風路76では、上流側から下流側(中流領域84から下流領域88)に冷却風W1が流れる。
このように構成されていると、高発熱部品100が配置された上段の通風路76における下流領域88に冷却風W1,W2を集中させることができるので、高発熱部品100に対する冷却性能を向上させることができる。
なお、図13に示されるように、プリント基板20Bに実装された実装部品106により、上段の通風路76の下流側(下流領域88)には、下段の通風路78の上流側(中流領域84)から隙間92を通じて冷却風W2が流れても良い。この風向制御部の一例である実装部品106は、上段の通風路76における冷却風W1の流れには影響しないので、上段の通風路76では、上流側から下流側(中流領域84から下流領域88)に冷却風W1が流れる。
このように構成されていても、高発熱部品100が配置された上段の通風路76における下流領域88に冷却風W1,W2を集中させることができるので、高発熱部品100に対する冷却性能を向上させることができる。
また、上述の下段のプリント基板21は、図14に示される如く省かれても良い。また、上段の通風路76に配置された高発熱部品94,100は、プリント基板20における一方の実装面(表面)に実装され、下段の通風路78に配置された低発熱部品98,96は、プリント基板20における他方の実装面(裏面)に実装されても良い。
また、上述の図12に示される変形例においては、図15に示されるように、上段のプリント基板20Aに風向制御部の一例である風向制御部材108が設けられても良い。そして、この風向制御部材108により、下段の通風路78の下流側(下流領域90)には、上段の通風路76の上流側(中流領域84)から隙間92を通じて冷却風W1が流れても良い。なお、この場合に、上段の通風路76の上流側から下段の通風路78の下流側に流れる冷却風W1が通過する連通口と、下段の通風路78の上流側から上段の通風路76の下流側に流れる冷却風W2が通過する連通口とが別々にプリント基板20に形成されていても良い。なお、図12〜図15に示される変形例において、上段の通風路76は、一の通風路の一例であり、下段の通風路78は、他の通風路の一例である。
また、図16に示されるように、上段の通風路76における下流領域88には、拡張ユニット110が配置され、下段の通風路78における下流領域90には、複数の電源ユニット112が配置されても良い。この拡張ユニット110及び複数の電源ユニット112は、発熱体の一例である。また、複数の電源ユニット112は、拡張ユニット110よりも高い発熱温度を生じるものである。
この図16に示される変形例では、上段の通風路76における下流領域88の全体を占めるように拡張ユニット110が配置されている。従って、上段の通風路76における上流側から下流側への冷却風W1の流れは、拡張ユニット110により阻害される。これにより、下段の通風路78の下流側(下流領域90)には、上段の通風路76の上流側(中流領域84)から隙間92を通じて冷却風W1が流れる。また、この風向制御部の一例である拡張ユニット110は、下段の通風路78における冷却風W2の流れには影響しないので、下段の通風路78では、上流側から下流側(中流領域86から下流領域90)に冷却風W2が流れる。
このように構成されていると、複数の電源ユニット112が配置された下段の通風路78における下流領域90に冷却風W1,W2を集中させることができるので、複数の電源ユニット112に対する冷却性能を向上させることができる。
また、この図16に示される変形例においては、図17に示されるように、拡張ユニット110の代わりに、低発熱部品96が配置されても良く、また、電源ユニット112の代わりに、高発熱部品100が配置されても良い。また、プリント基板20Aに風向制御部材114が実装されることで、下段の通風路78における下流領域90に冷却風W1,W2が集中されても良い。さらに、高発熱部品94及び低発熱部品96は、プリント基板20における一方の実装面(表面)に実装され、低発熱部品98及び高発熱部品100は、プリント基板20における他方の実装面(裏面)に実装されても良い。なお、図16,図17に示される変形例において、下段の通風路78は、一の通風路の一例であり、上段の通風路76は、他の通風路の一例である。
また、上述の第二実施形態においては、プリント基板20の代わりに仕切り壁が設けられても良い。また、この仕切り壁には、上述の上下の通風路76,78における上流側と下流側との間の中間部同士を連通する連通口が形成されていても良い。
また、筐体18の内部には、筐体18の高さ方向に対向する複数の仕切り壁が設けられ、筐体18の内部が複数の空間(三つ以上の空間)に仕切られていても良い。また、筐体18の内部には、壁部が三つ以上設けられ、通風路76,78が四つ以上の領域に分割されても良い。
また、上述の第二実施形態の変形例は、適宜組み合わされて実施されても良い。また、上述の第二実施形態の変形例は、第一実施形態及びその変形例と適宜組み合わされて実施されても良い。
以上、本願の開示する技術の一態様について説明したが、本願の開示する技術は、上記に限定されるものでなく、上記以外にも、その主旨を逸脱しない範囲内において種々変形して実施可能であることは勿論である。
なお、上述の本願の開示する技術の一態様に関し、更に以下の付記を開示する。
(付記1)
吸気口及び排気口を有する筐体と、
それぞれ前記吸気口の開口方向に沿って延び、前記筐体の内部に蛇行する通風路を形成する複数の壁部と、
前記吸気口から前記通風路を通じて前記排気口へ流れる冷却風の流れを形成する送風機と、
を備えた電子機器。
(付記2)
前記通風路には、冷却対象物が配置され、
前記冷却対象物は、前記複数の壁部のうち一の壁部と前記冷却風の流れの方向にオーバーラップしている、
付記1に記載の電子機器。
(付記3)
前記送風機は、前記吸気口の開口方向に前記吸気口と対向して配置され、
前記冷却対象物は、前記送風機に設けられたファンの中心軸の延長線上に配置されている、
付記2に記載の電子機器。
(付記4)
前記筐体の内部には、プリント基板が収容され、
前記筐体は、前記吸気口の開口方向に対向する一対の縦壁部を有し、
前記複数の壁部のうち少なくとも一の壁部は、前記プリント基板に実装された電子部品の基板であり、
前記電子部品の前記基板は、前記吸気口の開口方向に前記一対の縦壁部と離間している、
付記1〜付記3のいずれか一項に記載の電子機器。
(付記5)
前記電子部品は、メモリモジュール又は電圧変換器である、
付記4に記載の電子機器。
(付記6)
前記送風機の設置個数は、一つである、
付記1〜付記5のいずれか一項に記載の電子機器。
(付記7)
前記筐体の内部には、プリント基板が収容され、
前記プリント基板には、切欠部が形成され、
前記送風機は、前記切欠部に配置されている、
付記1〜付記6のいずれか一項に記載の電子機器。
(付記8)
前記通風路には、冷却対象物が配置され、
前記冷却対象物には、前記冷却風の流れの方向に沿って延びる冷却フィンが設けられている、
付記1〜付記7のいずれか一項に記載の電子機器。
(付記9)
前記通風路には、複数の発熱体が配置され、
前記複数の発熱体のうち前記通風路の上流側に配置された第一の発熱体は、前記複数の発熱体のうち前記第一の発熱体に対する前記通風路の下流側に配置された第二の発熱体よりも高い発熱温度を生じるものである、
付記1〜付記8のいずれか一項に記載の電子機器。
(付記10)
前記通風路には、複数の発熱体が配置され、
前記複数の発熱体のうち前記通風路の上流側に配置された第一の発熱体は、前記複数の発熱体のうち前記第一の発熱体に対する前記通風路の下流側に配置された第二の発熱体よりも低い発熱温度を生じるものである、
付記1〜付記8のいずれか一項に記載の電子機器。
(付記11)
前記筐体の内部は、前記筐体の内部に収容された仕切り壁によって複数の空間に仕切られ、
前記複数の空間には、前記通風路がそれぞれ形成されている、
付記1〜付記8のいずれか一項に記載の電子機器。
(付記12)
前記仕切り壁には、複数の前記通風路における上流側と下流側との間の中間部同士を連通する連通口が形成され、
前記筐体の内部には、複数の前記通風路のうち一の通風路の下流側に他の通風路の上流側から前記連通口を通じて冷却風を流させる風向制御部が設けられている、
付記11に記載の電子機器。
(付記13)
複数の前記通風路には、複数の発熱体がそれぞれ配置され、
前記複数の発熱体のうち前記一の通風路の下流側に配置された一の発熱体は、前記複数の発熱体のうち前記他の通風路の下流側に配置された他の発熱体よりも高い発熱温度を生じるものである、
付記12に記載の電子機器。
(付記14)
前記複数の発熱体のうち前記一の通風路の上流側に配置された発熱体は、前記他の発熱体よりも高い発熱温度を生じるものであり、
前記風向制御部は、前記一の通風路の上流側から下流側に冷却風を流させる、
付記13に記載の電子機器。
(付記15)
前記複数の発熱体のうち前記一の通風路の上流側に配置された発熱体は、前記他の発熱体よりも高い発熱温度を生じるものであり、
前記風向制御部は、前記一の通風路の上流側から前記他の通風路の下流側に前記連通口を通じて冷却風を流させる、
付記13に記載の電子機器。
(付記16)
前記複数の発熱体のうち前記一の通風路の上流側に配置された発熱体は、前記一の発熱体よりも低い発熱温度を生じるものであり、
前記風向制御部は、前記一の通風路の上流側から下流側に冷却風を流させる、
付記13に記載の電子機器。
(付記17)
前記仕切り壁は、プリント基板であり、
前記プリント基板の両側の実装面には、前記一の通風路に配置された前記発熱体と、前記他の通風路に配置された前記発熱体とがそれぞれ実装されている、
付記11〜付記16のいずれか一項に記載の電子機器。
10,70 電子機器
18 筐体
20 プリント基板(仕切り壁の一例)
22,24 複数の壁部
26 送風機
30 正面壁部(縦壁部の一例)
32 背面壁部(縦壁部の一例)
38 吸気口
40 排気口
44 通風路
54 ファン
56 演算素子(冷却対象物の一例)
58 切欠部
60 メモリモジュール(電子部品の一例)
62 基板
64 冷却フィン
72,74 複数の空間
76,78 複数の通風路
92 隙間(連通口の一例)
94,100 高発熱部品(発熱体の一例)
96,98 低発熱部品(発熱体の一例)
104,108,114 風向制御部材(風向制御部の一例)
106 実装部品(風向制御部の一例)
110 拡張ユニット(発熱体及び風向制御部の一例)
112 電源ユニット(発熱体の一例)

Claims (8)

  1. 吸気口及び排気口を有する筐体と、
    それぞれ前記吸気口の開口方向に沿って延び、前記筐体の内部に蛇行する通風路を形成する複数の壁部と、
    前記吸気口から前記通風路を通じて前記排気口へ流れる冷却風の流れを形成する送風機と、
    を備え
    前記筐体の内部には、プリント基板が収容され、
    前記筐体は、前記吸気口の開口方向に対向する一対の縦壁部を有し、
    前記複数の壁部のうち少なくとも一の壁部は、前記プリント基板に実装された電子部品の基板であり、
    前記電子部品の前記基板は、前記吸気口の開口方向に前記一対の縦壁部と離間している、
    電子機器。
  2. 前記通風路には、冷却対象物が配置され、
    前記冷却対象物は、前記複数の壁部のうち一の壁部と前記冷却風の流れの方向にオーバーラップしている、
    請求項1に記載の電子機器。
  3. 前記送風機は、前記吸気口の開口方向に前記吸気口と対向して配置され、
    前記冷却対象物は、前記送風機に設けられたファンの中心軸の延長線上に配置されている、
    請求項2に記載の電子機器。
  4. 前記筐体の内部は、前記筐体の内部に収容された仕切り壁によって複数の空間に仕切られ、
    前記複数の空間には、前記通風路がそれぞれ形成され、
    前記仕切り壁には、複数の前記通風路における上流側と下流側との間の中間部同士を連通する連通口が形成され、
    前記筐体の内部には、複数の前記通風路のうち一の通風路の下流側に他の通風路の上流側から前記連通口を通じて冷却風を流させる風向制御部が設けられている、
    請求項1〜請求項3のいずれか一項に記載の電子機器。
  5. 複数の前記通風路には、複数の発熱体がそれぞれ配置され、
    前記複数の発熱体のうち前記一の通風路の下流側に配置された一の発熱体は、前記複数の発熱体のうち前記他の通風路の下流側に配置された他の発熱体よりも高い発熱温度を生じるものである、
    請求項4に記載の電子機器。
  6. 前記複数の発熱体のうち前記一の通風路の上流側に配置された発熱体は、前記他の発熱体よりも高い発熱温度を生じるものであり、
    前記風向制御部は、前記一の通風路の上流側から下流側に冷却風を流させる、
    請求項5に記載の電子機器。
  7. 前記複数の発熱体のうち前記一の通風路の上流側に配置された発熱体は、前記他の発熱体よりも高い発熱温度を生じるものであり、
    前記風向制御部は、前記一の通風路の上流側から前記他の通風路の下流側に前記連通口を通じて冷却風を流させる、
    請求項5に記載の電子機器。
  8. 前記複数の発熱体のうち前記一の通風路の上流側に配置された発熱体は、前記一の発熱体よりも低い発熱温度を生じるものであり、
    前記風向制御部は、前記一の通風路の上流側から下流側に冷却風を流させる、
    請求項5に記載の電子機器。
JP2013104277A 2013-05-16 2013-05-16 電子機器 Active JP6225477B2 (ja)

Priority Applications (2)

Application Number Priority Date Filing Date Title
JP2013104277A JP6225477B2 (ja) 2013-05-16 2013-05-16 電子機器
US14/261,529 US20140340846A1 (en) 2013-05-16 2014-04-25 Electronic apparatus

Applications Claiming Priority (1)

Application Number Priority Date Filing Date Title
JP2013104277A JP6225477B2 (ja) 2013-05-16 2013-05-16 電子機器

Publications (2)

Publication Number Publication Date
JP2014225573A JP2014225573A (ja) 2014-12-04
JP6225477B2 true JP6225477B2 (ja) 2017-11-08

Family

ID=51895617

Family Applications (1)

Application Number Title Priority Date Filing Date
JP2013104277A Active JP6225477B2 (ja) 2013-05-16 2013-05-16 電子機器

Country Status (2)

Country Link
US (1) US20140340846A1 (ja)
JP (1) JP6225477B2 (ja)

Families Citing this family (11)

* Cited by examiner, † Cited by third party
Publication number Priority date Publication date Assignee Title
CN102318459A (zh) * 2011-08-01 2012-01-11 华为技术有限公司 通风降噪装置和通风降噪系统
US9363927B2 (en) * 2014-09-12 2016-06-07 Lanner Electronic Inc. Electrical signal computing module capable of accommodating printed circuit board
JP6485193B2 (ja) 2015-04-30 2019-03-20 富士通株式会社 電子機器収納装置および中継装置
CN108027265B (zh) * 2015-09-30 2020-01-14 日立汽车系统株式会社 物理量检测装置
US10506742B2 (en) 2015-12-02 2019-12-10 Nec Network And Sensor Systems, Ltd. Electronic component housing apparatus and electronic device
JP2018036531A (ja) * 2016-08-31 2018-03-08 京セラドキュメントソリューションズ株式会社 画像形成装置
CN107574401B (zh) * 2017-09-19 2019-06-25 江阴恩特莱特镀膜科技有限公司 一种用于等离子喷涂靶材的风冷装置
US10927732B2 (en) * 2018-03-28 2021-02-23 Cummins Power Generation Ip, Inc. Low noise enclosure
TWI674058B (zh) * 2018-05-25 2019-10-01 廣達電腦股份有限公司 運算裝置中的管路配置
JP7253896B2 (ja) * 2018-11-02 2023-04-07 三菱重工サーマルシステムズ株式会社 電装品モジュール、及びチリングユニット
JP7662951B2 (ja) * 2022-11-30 2025-04-16 ダイキン工業株式会社 電装品箱および換気装置

Family Cites Families (21)

* Cited by examiner, † Cited by third party
Publication number Priority date Publication date Assignee Title
IT1039770B (it) * 1974-07-26 1979-12-10 Piller Kg Anton Convertitore di frequenza rotante
JPS5685997U (ja) * 1979-12-07 1981-07-10
US5121290A (en) * 1990-06-25 1992-06-09 At&T Bell Laboratories Circuit pack cooling using perforations
JP3663706B2 (ja) * 1995-01-27 2005-06-22 株式会社日立製作所 パーソナルコンピュータ
US6034870A (en) * 1999-01-27 2000-03-07 Sun Microsystems, Inc. Computer system having a highly efficient forced air cooling subsystem
US6144556A (en) * 1999-03-30 2000-11-07 Lanclos; Kenneth W. Heat dissipating housing for electronic components
JP2002118386A (ja) * 2000-10-05 2002-04-19 Hitachi Ltd 電子装置
JP3784674B2 (ja) * 2001-07-31 2006-06-14 三菱電機株式会社 電子機器装置
US6704196B1 (en) * 2002-07-25 2004-03-09 Allied Systems Design, Inc. Flow-through cooling in-the-round system
US7286348B2 (en) * 2004-11-16 2007-10-23 Hewlett-Packard Development Company, L.P. Housing assembly for a computer
US7218517B2 (en) * 2004-12-07 2007-05-15 International Business Machines Corporation Cooling apparatus for vertically stacked printed circuit boards
US7403385B2 (en) * 2006-03-06 2008-07-22 Cisco Technology, Inc. Efficient airflow management
JP5034316B2 (ja) * 2006-05-22 2012-09-26 トヨタ自動車株式会社 電源装置
JP5030631B2 (ja) * 2007-03-22 2012-09-19 富士通株式会社 情報機器の冷却システム
JP5011016B2 (ja) * 2007-07-30 2012-08-29 株式会社日立産機システム 電力変換装置
JP5062014B2 (ja) * 2008-04-17 2012-10-31 セイコーエプソン株式会社 電子回路モジュール、電力供給装置、プロジェクタ
US7843685B2 (en) * 2008-04-22 2010-11-30 International Business Machines Corporation Duct system for high power adapter cards
JP5471644B2 (ja) * 2010-03-15 2014-04-16 富士通株式会社 情報機器
US9185828B2 (en) * 2011-11-17 2015-11-10 Cray Inc. Rack mounted electronics having connectors with heat cooling fingers
US9167726B2 (en) * 2011-11-17 2015-10-20 Cray Inc. Transverse cooling system and method
KR102094887B1 (ko) * 2013-07-08 2020-03-30 엘지전자 주식회사 디지털 사이니지 및 그 구동방법

Also Published As

Publication number Publication date
JP2014225573A (ja) 2014-12-04
US20140340846A1 (en) 2014-11-20

Similar Documents

Publication Publication Date Title
JP6225477B2 (ja) 電子機器
US9861005B2 (en) Cooling system for a hand-held electronic device
EP2106206B1 (en) Cooling device for accomodated printed circuit board in a chassis
JP5927911B2 (ja) 冷却ユニット、冷却ユニットの筐体、及び電子装置
JP4994503B2 (ja) 演算処理装置
US9974207B2 (en) Electronic apparatus
JP5596389B2 (ja) 電源装置
JP5471644B2 (ja) 情報機器
TW201443345A (zh) 電子裝置及其導風罩
US20160360641A1 (en) Electronic device
CN103423816B (zh) 空调室外机的电器盒及具有该电器盒的空调室外机
JP6615630B2 (ja) 電気機器
JP2010134693A (ja) 冷却ジャケット、冷却ユニット、冷却システム及び電子機器
CN104602469B (zh) 机柜
TW201422135A (zh) 電子裝置
JP2019040968A (ja) 電気機器
CN114077292A (zh) 导风罩及散热装置
CN104049700B (zh) 散热系统
JP2007123641A5 (ja)
CN110754142A (zh) 壳体、电子设备和冷却方法
JP2019054055A (ja) ファンユニット及び電子機器
JP6621153B1 (ja) サーバ装置、冷却方法
JP4639846B2 (ja) 筐体の冷却構造
JP2012230944A (ja) 電子機器
JP2025023647A (ja) 電子機器およびヒートシンク

Legal Events

Date Code Title Description
A621 Written request for application examination

Free format text: JAPANESE INTERMEDIATE CODE: A621

Effective date: 20160226

A977 Report on retrieval

Free format text: JAPANESE INTERMEDIATE CODE: A971007

Effective date: 20161221

A131 Notification of reasons for refusal

Free format text: JAPANESE INTERMEDIATE CODE: A131

Effective date: 20170207

A521 Written amendment

Free format text: JAPANESE INTERMEDIATE CODE: A523

Effective date: 20170302

TRDD Decision of grant or rejection written
A01 Written decision to grant a patent or to grant a registration (utility model)

Free format text: JAPANESE INTERMEDIATE CODE: A01

Effective date: 20170912

A61 First payment of annual fees (during grant procedure)

Free format text: JAPANESE INTERMEDIATE CODE: A61

Effective date: 20170925

R150 Certificate of patent or registration of utility model

Ref document number: 6225477

Country of ref document: JP

Free format text: JAPANESE INTERMEDIATE CODE: R150