JP6217680B2 - 車両 - Google Patents

車両 Download PDF

Info

Publication number
JP6217680B2
JP6217680B2 JP2015063584A JP2015063584A JP6217680B2 JP 6217680 B2 JP6217680 B2 JP 6217680B2 JP 2015063584 A JP2015063584 A JP 2015063584A JP 2015063584 A JP2015063584 A JP 2015063584A JP 6217680 B2 JP6217680 B2 JP 6217680B2
Authority
JP
Japan
Prior art keywords
fuel
fuel pressure
engine
pressure sensor
failure diagnosis
Prior art date
Legal status (The legal status is an assumption and is not a legal conclusion. Google has not performed a legal analysis and makes no representation as to the accuracy of the status listed.)
Expired - Fee Related
Application number
JP2015063584A
Other languages
English (en)
Other versions
JP2016182862A (ja
Inventor
和哉 宮地
和哉 宮地
Current Assignee (The listed assignees may be inaccurate. Google has not performed a legal analysis and makes no representation or warranty as to the accuracy of the list.)
Toyota Motor Corp
Original Assignee
Toyota Motor Corp
Priority date (The priority date is an assumption and is not a legal conclusion. Google has not performed a legal analysis and makes no representation as to the accuracy of the date listed.)
Filing date
Publication date
Application filed by Toyota Motor Corp filed Critical Toyota Motor Corp
Priority to JP2015063584A priority Critical patent/JP6217680B2/ja
Priority to US15/080,854 priority patent/US10364770B2/en
Publication of JP2016182862A publication Critical patent/JP2016182862A/ja
Application granted granted Critical
Publication of JP6217680B2 publication Critical patent/JP6217680B2/ja
Expired - Fee Related legal-status Critical Current
Anticipated expiration legal-status Critical

Links

Images

Classifications

    • FMECHANICAL ENGINEERING; LIGHTING; HEATING; WEAPONS; BLASTING
    • F02COMBUSTION ENGINES; HOT-GAS OR COMBUSTION-PRODUCT ENGINE PLANTS
    • F02DCONTROLLING COMBUSTION ENGINES
    • F02D41/00Electrical control of supply of combustible mixture or its constituents
    • F02D41/22Safety or indicating devices for abnormal conditions
    • F02D41/222Safety or indicating devices for abnormal conditions relating to the failure of sensors or parameter detection devices
    • BPERFORMING OPERATIONS; TRANSPORTING
    • B60VEHICLES IN GENERAL
    • B60KARRANGEMENT OR MOUNTING OF PROPULSION UNITS OR OF TRANSMISSIONS IN VEHICLES; ARRANGEMENT OR MOUNTING OF PLURAL DIVERSE PRIME-MOVERS IN VEHICLES; AUXILIARY DRIVES FOR VEHICLES; INSTRUMENTATION OR DASHBOARDS FOR VEHICLES; ARRANGEMENTS IN CONNECTION WITH COOLING, AIR INTAKE, GAS EXHAUST OR FUEL SUPPLY OF PROPULSION UNITS IN VEHICLES
    • B60K6/00Arrangement or mounting of plural diverse prime-movers for mutual or common propulsion, e.g. hybrid propulsion systems comprising electric motors and internal combustion engines
    • B60K6/20Arrangement or mounting of plural diverse prime-movers for mutual or common propulsion, e.g. hybrid propulsion systems comprising electric motors and internal combustion engines the prime-movers consisting of electric motors and internal combustion engines, e.g. HEVs
    • B60K6/22Arrangement or mounting of plural diverse prime-movers for mutual or common propulsion, e.g. hybrid propulsion systems comprising electric motors and internal combustion engines the prime-movers consisting of electric motors and internal combustion engines, e.g. HEVs characterised by apparatus, components or means specially adapted for HEVs
    • BPERFORMING OPERATIONS; TRANSPORTING
    • B60VEHICLES IN GENERAL
    • B60KARRANGEMENT OR MOUNTING OF PROPULSION UNITS OR OF TRANSMISSIONS IN VEHICLES; ARRANGEMENT OR MOUNTING OF PLURAL DIVERSE PRIME-MOVERS IN VEHICLES; AUXILIARY DRIVES FOR VEHICLES; INSTRUMENTATION OR DASHBOARDS FOR VEHICLES; ARRANGEMENTS IN CONNECTION WITH COOLING, AIR INTAKE, GAS EXHAUST OR FUEL SUPPLY OF PROPULSION UNITS IN VEHICLES
    • B60K6/00Arrangement or mounting of plural diverse prime-movers for mutual or common propulsion, e.g. hybrid propulsion systems comprising electric motors and internal combustion engines
    • B60K6/20Arrangement or mounting of plural diverse prime-movers for mutual or common propulsion, e.g. hybrid propulsion systems comprising electric motors and internal combustion engines the prime-movers consisting of electric motors and internal combustion engines, e.g. HEVs
    • B60K6/42Arrangement or mounting of plural diverse prime-movers for mutual or common propulsion, e.g. hybrid propulsion systems comprising electric motors and internal combustion engines the prime-movers consisting of electric motors and internal combustion engines, e.g. HEVs characterised by the architecture of the hybrid electric vehicle
    • B60K6/44Series-parallel type
    • B60K6/445Differential gearing distribution type
    • BPERFORMING OPERATIONS; TRANSPORTING
    • B60VEHICLES IN GENERAL
    • B60WCONJOINT CONTROL OF VEHICLE SUB-UNITS OF DIFFERENT TYPE OR DIFFERENT FUNCTION; CONTROL SYSTEMS SPECIALLY ADAPTED FOR HYBRID VEHICLES; ROAD VEHICLE DRIVE CONTROL SYSTEMS FOR PURPOSES NOT RELATED TO THE CONTROL OF A PARTICULAR SUB-UNIT
    • B60W20/00Control systems specially adapted for hybrid vehicles
    • B60W20/50Control strategies for responding to system failures, e.g. for fault diagnosis, failsafe operation or limp mode
    • FMECHANICAL ENGINEERING; LIGHTING; HEATING; WEAPONS; BLASTING
    • F02COMBUSTION ENGINES; HOT-GAS OR COMBUSTION-PRODUCT ENGINE PLANTS
    • F02DCONTROLLING COMBUSTION ENGINES
    • F02D41/00Electrical control of supply of combustible mixture or its constituents
    • F02D41/02Circuit arrangements for generating control signals
    • F02D41/04Introducing corrections for particular operating conditions
    • F02D41/042Introducing corrections for particular operating conditions for stopping the engine
    • BPERFORMING OPERATIONS; TRANSPORTING
    • B60VEHICLES IN GENERAL
    • B60KARRANGEMENT OR MOUNTING OF PROPULSION UNITS OR OF TRANSMISSIONS IN VEHICLES; ARRANGEMENT OR MOUNTING OF PLURAL DIVERSE PRIME-MOVERS IN VEHICLES; AUXILIARY DRIVES FOR VEHICLES; INSTRUMENTATION OR DASHBOARDS FOR VEHICLES; ARRANGEMENTS IN CONNECTION WITH COOLING, AIR INTAKE, GAS EXHAUST OR FUEL SUPPLY OF PROPULSION UNITS IN VEHICLES
    • B60K6/00Arrangement or mounting of plural diverse prime-movers for mutual or common propulsion, e.g. hybrid propulsion systems comprising electric motors and internal combustion engines
    • B60K6/20Arrangement or mounting of plural diverse prime-movers for mutual or common propulsion, e.g. hybrid propulsion systems comprising electric motors and internal combustion engines the prime-movers consisting of electric motors and internal combustion engines, e.g. HEVs
    • B60K6/42Arrangement or mounting of plural diverse prime-movers for mutual or common propulsion, e.g. hybrid propulsion systems comprising electric motors and internal combustion engines the prime-movers consisting of electric motors and internal combustion engines, e.g. HEVs characterised by the architecture of the hybrid electric vehicle
    • B60K6/44Series-parallel type
    • B60K6/442Series-parallel switching type
    • BPERFORMING OPERATIONS; TRANSPORTING
    • B60VEHICLES IN GENERAL
    • B60YINDEXING SCHEME RELATING TO ASPECTS CROSS-CUTTING VEHICLE TECHNOLOGY
    • B60Y2200/00Type of vehicle
    • B60Y2200/90Vehicles comprising electric prime movers
    • B60Y2200/92Hybrid vehicles
    • BPERFORMING OPERATIONS; TRANSPORTING
    • B60VEHICLES IN GENERAL
    • B60YINDEXING SCHEME RELATING TO ASPECTS CROSS-CUTTING VEHICLE TECHNOLOGY
    • B60Y2300/00Purposes or special features of road vehicle drive control systems
    • B60Y2300/43Control of engines
    • B60Y2300/432Control of engine fuel injection
    • BPERFORMING OPERATIONS; TRANSPORTING
    • B60VEHICLES IN GENERAL
    • B60YINDEXING SCHEME RELATING TO ASPECTS CROSS-CUTTING VEHICLE TECHNOLOGY
    • B60Y2306/00Other features of vehicle sub-units
    • B60Y2306/15Failure diagnostics
    • FMECHANICAL ENGINEERING; LIGHTING; HEATING; WEAPONS; BLASTING
    • F02COMBUSTION ENGINES; HOT-GAS OR COMBUSTION-PRODUCT ENGINE PLANTS
    • F02DCONTROLLING COMBUSTION ENGINES
    • F02D41/00Electrical control of supply of combustible mixture or its constituents
    • F02D41/22Safety or indicating devices for abnormal conditions
    • F02D41/222Safety or indicating devices for abnormal conditions relating to the failure of sensors or parameter detection devices
    • F02D2041/223Diagnosis of fuel pressure sensors
    • FMECHANICAL ENGINEERING; LIGHTING; HEATING; WEAPONS; BLASTING
    • F02COMBUSTION ENGINES; HOT-GAS OR COMBUSTION-PRODUCT ENGINE PLANTS
    • F02DCONTROLLING COMBUSTION ENGINES
    • F02D2200/00Input parameters for engine control
    • F02D2200/02Input parameters for engine control the parameters being related to the engine
    • F02D2200/06Fuel or fuel supply system parameters
    • F02D2200/0602Fuel pressure
    • FMECHANICAL ENGINEERING; LIGHTING; HEATING; WEAPONS; BLASTING
    • F02COMBUSTION ENGINES; HOT-GAS OR COMBUSTION-PRODUCT ENGINE PLANTS
    • F02MSUPPLYING COMBUSTION ENGINES IN GENERAL WITH COMBUSTIBLE MIXTURES OR CONSTITUENTS THEREOF
    • F02M63/00Other fuel-injection apparatus having pertinent characteristics not provided for in groups F02M39/00 - F02M57/00 or F02M67/00; Details, component parts, or accessories of fuel-injection apparatus, not provided for in, or of interest apart from, the apparatus of groups F02M39/00 - F02M61/00 or F02M67/00; Combination of fuel pump with other devices, e.g. lubricating oil pump
    • F02M63/02Fuel-injection apparatus having several injectors fed by a common pumping element, or having several pumping elements feeding a common injector; Fuel-injection apparatus having provisions for cutting-out pumps, pumping elements, or injectors; Fuel-injection apparatus having provisions for variably interconnecting pumping elements and injectors alternatively
    • F02M63/0225Fuel-injection apparatus having a common rail feeding several injectors ; Means for varying pressure in common rails; Pumps feeding common rails
    • F02M63/0275Arrangement of common rails
    • F02M63/0285Arrangement of common rails having more than one common rail
    • FMECHANICAL ENGINEERING; LIGHTING; HEATING; WEAPONS; BLASTING
    • F02COMBUSTION ENGINES; HOT-GAS OR COMBUSTION-PRODUCT ENGINE PLANTS
    • F02MSUPPLYING COMBUSTION ENGINES IN GENERAL WITH COMBUSTIBLE MIXTURES OR CONSTITUENTS THEREOF
    • F02M69/00Low-pressure fuel-injection apparatus ; Apparatus with both continuous and intermittent injection; Apparatus injecting different types of fuel
    • F02M69/04Injectors peculiar thereto
    • F02M69/042Positioning of injectors with respect to engine, e.g. in the air intake conduit
    • F02M69/046Positioning of injectors with respect to engine, e.g. in the air intake conduit for injecting into both the combustion chamber and the intake conduit
    • YGENERAL TAGGING OF NEW TECHNOLOGICAL DEVELOPMENTS; GENERAL TAGGING OF CROSS-SECTIONAL TECHNOLOGIES SPANNING OVER SEVERAL SECTIONS OF THE IPC; TECHNICAL SUBJECTS COVERED BY FORMER USPC CROSS-REFERENCE ART COLLECTIONS [XRACs] AND DIGESTS
    • Y02TECHNOLOGIES OR APPLICATIONS FOR MITIGATION OR ADAPTATION AGAINST CLIMATE CHANGE
    • Y02TCLIMATE CHANGE MITIGATION TECHNOLOGIES RELATED TO TRANSPORTATION
    • Y02T10/00Road transport of goods or passengers
    • Y02T10/60Other road transportation technologies with climate change mitigation effect
    • Y02T10/62Hybrid vehicles
    • YGENERAL TAGGING OF NEW TECHNOLOGICAL DEVELOPMENTS; GENERAL TAGGING OF CROSS-SECTIONAL TECHNOLOGIES SPANNING OVER SEVERAL SECTIONS OF THE IPC; TECHNICAL SUBJECTS COVERED BY FORMER USPC CROSS-REFERENCE ART COLLECTIONS [XRACs] AND DIGESTS
    • Y02TECHNOLOGIES OR APPLICATIONS FOR MITIGATION OR ADAPTATION AGAINST CLIMATE CHANGE
    • Y02TCLIMATE CHANGE MITIGATION TECHNOLOGIES RELATED TO TRANSPORTATION
    • Y02T90/00Enabling technologies or technologies with a potential or indirect contribution to GHG emissions mitigation
    • Y02T90/40Application of hydrogen technology to transportation, e.g. using fuel cells
    • YGENERAL TAGGING OF NEW TECHNOLOGICAL DEVELOPMENTS; GENERAL TAGGING OF CROSS-SECTIONAL TECHNOLOGIES SPANNING OVER SEVERAL SECTIONS OF THE IPC; TECHNICAL SUBJECTS COVERED BY FORMER USPC CROSS-REFERENCE ART COLLECTIONS [XRACs] AND DIGESTS
    • Y10TECHNICAL SUBJECTS COVERED BY FORMER USPC
    • Y10STECHNICAL SUBJECTS COVERED BY FORMER USPC CROSS-REFERENCE ART COLLECTIONS [XRACs] AND DIGESTS
    • Y10S903/00Hybrid electric vehicles, HEVS
    • Y10S903/902Prime movers comprising electrical and internal combustion motors
    • Y10S903/903Prime movers comprising electrical and internal combustion motors having energy storing means, e.g. battery, capacitor
    • Y10S903/904Component specially adapted for hev

Landscapes

  • Engineering & Computer Science (AREA)
  • Mechanical Engineering (AREA)
  • Combustion & Propulsion (AREA)
  • Chemical & Material Sciences (AREA)
  • General Engineering & Computer Science (AREA)
  • Transportation (AREA)
  • Health & Medical Sciences (AREA)
  • Biomedical Technology (AREA)
  • General Health & Medical Sciences (AREA)
  • Automation & Control Theory (AREA)
  • Hybrid Electric Vehicles (AREA)
  • Control Of Vehicle Engines Or Engines For Specific Uses (AREA)
  • Electrical Control Of Air Or Fuel Supplied To Internal-Combustion Engine (AREA)
  • Combined Controls Of Internal Combustion Engines (AREA)

Description

本発明は、燃料ポンプによる燃料の供給圧を検出する燃圧センサを備えるハイブリッド車両に関する。
特開2013−68127号公報(特許文献1)には、燃料ポンプと、燃料ポンプから供給された燃料をエンジンに噴射する噴射弁と、燃料ポンプによる燃料の供給圧を検出する燃圧センサとを備える車両において、燃圧センサの故障診断を行なうことが開示されている。燃圧センサの故障診断においては、燃圧を通常使用時の燃圧よりも高い診断用燃圧に増加させ、診断用燃圧を増加させたことに応じて燃圧センサの出力が診断用燃圧を示す値に変化したか否かに基づいて燃圧センサの故障の有無を判定する。
特開2013−68127号公報 特開2010−168901号公報
上述の燃圧センサの故障診断中は燃圧が通常使用時よりも増加するため、エンジンの運転中に燃圧センサの故障診断を行なうと、燃料噴射量が必要以上に多くなりエンジンの燃焼が悪化することが懸念される。したがって、燃圧センサの故障診断をエンジンおよびモータを備えるハイブリッド車両に適用する場合には、エンジンの燃焼への影響を回避するために、エンジンを停止してモータの動力を用いて走行するモータ走行中に燃圧センサの故障診断を行なうことが想定される。
しかしながら、燃圧センサの故障診断中は、燃圧を増加させるために燃料ポンプの作動量(回転速度)を増加させる必要があるため、燃料ポンプの作動音も大きくなる。したがって、モータ走行中に燃圧センサの故障診断を行なうと、エンジン音がしない状態で燃料ポンプの作動音が大きくなるため、燃料ポンプの作動音がユーザに聞こえ易くなりドライバビリティが低下することが懸念される。
本発明は、上述の課題を解決するためになされたものであって、その目的は、燃料ポンプによる燃料の供給圧を検出する燃圧センサを備えるハイブリッド車両において、ドライバビリティを低下させることなく燃圧センサの故障診断を行なうことである。
この発明に係る車両は、エンジンおよびモータジェネレータの少なくとも一方の動力を用いて走行可能な車両であって、燃料ポンプと、燃料ポンプから供給された燃料をエンジンに噴射する噴射弁と、燃料ポンプによる燃料の供給圧を検出する燃圧センサと、燃料ポンプによる燃料の供給圧を第1燃圧よりも高い第2燃圧に増加させる燃圧増加処理を行ない、燃圧増加処理中の燃圧センサの検出値に基づいて燃圧センサの故障診断を行なう制御装置とを備える。制御装置は、エンジンの停止中であってかつ車速がしきい値を超える場合に、燃圧センサの故障診断を行なう。
このような構成によれば、燃圧センサの故障診断中は、エンジンが停止される。これにより、燃圧センサの故障診断のために燃圧増加処理が行なわれても、エンジンの燃焼への影響を回避できる。さらに、燃圧センサの故障診断中は、車速がしきい値を超えている。そのため、エンジン音がしないエンジン停止中に燃圧増加処理によって燃料ポンプの作動音が大きくなったとしても、車速がしきい値を超えており走行ノイズが大きいため、燃料ポンプの作動音は相対的にユーザに聞こえ難くなる。その結果、ドライバビリティを低下させることなく燃圧センサの故障診断を行なうことができる。
好ましくは、制御装置は、エンジンの停止中であってかつ車速がしきい値を超え、かつ燃圧センサの故障診断に要する時間よりも長くエンジンを停止状態に維持できると判定された場合に、燃圧センサの故障診断を行なう。
このような構成によれば、燃圧センサの故障診断に要する時間よりも長くエンジンを停止状態に維持できると判定された場合に、燃圧センサの故障診断が行なわれる。これにより、燃圧センサの故障診断中にエンジンが始動されることを回避することができるため、エンジン始動時の燃焼悪化を抑制することができる。
好ましくは、車両は、モータジェネレータに供給する電力を蓄える蓄電装置をさらに備える。制御装置は、蓄電装置の蓄電量が所定量を超える場合に、燃圧センサの故障診断に要する時間よりも長くエンジンを停止状態に維持できると判定する。
好ましくは、車両は、走行ルート情報を検索する装置をさらに備える。制御装置は、蓄電装置の蓄電量が所定量を超える場合であってかつ走行ルート情報が登坂路を示す情報でない場合に、燃圧センサの故障診断に要する時間よりも長くエンジンを停止状態に維持できると判定する。
これらのような構成によれば、蓄電装置の蓄電量および走行ルート情報に基づいて、燃圧センサの故障診断に要する時間よりも長くエンジンを停止状態に維持できるか否かを適切に判定することができる。
好ましくは、第1燃圧は、燃圧センサの故障診断が行なわれない場合に用いられる制御用燃圧である。第2燃圧は、燃圧センサの故障診断が行なわれる場合に用いられる診断用燃圧である。
このような構成によれば、燃圧を通常の制御では用いられない診断用燃圧に増加させた場合でも、ドライバビリティの低下を抑制することができる。
好ましくは、噴射弁は、エンジンの吸気通路に燃料の噴射を行なうポート噴射弁である。
このような構成によれば、ドライバビリティを低下させることなく、ポート噴射弁の燃圧を検出する燃圧センサの故障診断を行なうことができる。
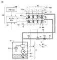
車両の構成を示すブロック図である。 エンジンおよび燃料供給装置の構成を示した図である。 燃圧Pと低圧燃圧センサの出力電圧Vとの対応関係を示す図である。 エンジンECUの処理手順を示すフローチャート(その1)である。 エンジンECUの処理手順を示すフローチャート(その2)である。 エンジンECUの処理手順を示すフローチャート(その3)である。
以下、本発明の実施の形態について、図面を参照しながら詳細に説明する。なお、図中同一または相当部分には同一符号を付してその説明は繰り返さない。
[車両の基本構成]
図1は、本発明が適用される車両1の構成を示すブロック図である。図1を参照して、車両1は、エンジン10と、燃料供給装置15と、モータジェネレータ20,30と、動力分割機構40と、リダクション機構58と、駆動輪62と、パワーコントロールユニット(PCU)60と、バッテリ70と、制御装置100とを含む。
この車両1は、シリーズ・パラレル型のハイブリッド車両であり、エンジン10およびモータジェネレータ30の少なくとも一方を駆動源として走行可能に構成される。より詳しくは、車両1は、エンジン10およびモータジェネレータ30の双方の動力を用いて走行したり、エンジン10を停止しモータジェネレータ30の双方の動力を用いて走行したりすることが可能である。以下、エンジン10およびモータジェネレータ30の双方の動力を用いる走行を「ハイブリッド走行(HV走行)」といい、エンジン10を停止しモータジェネレータ30の動力を用いる走行を「モータ走行(EV走行)」という。
エンジン10とモータジェネレータ20とモータジェネレータ30とは、動力分割機構40を介して相互に連結されている。動力分割機構40に連結されるモータジェネレータ30の回転軸16には、リダクション機構58が接続される。回転軸16は、リダクション機構58を介して、駆動輪62と連結されるとともに、動力分割機構40を介して、エンジン10のクランクシャフトに連結される。
動力分割機構40は、サンギヤ、ピニオンギヤ、キャリア、およびリングギヤを含む遊星歯車装置である。ピニオンギヤは、サンギヤおよびリングギヤと係合する。キャリアは、ピニオンギヤを自転可能に支持するとともに、エンジン10に連結される。サンギヤはモータジェネレータ20に連結される。リングギヤは回転軸16を介してモータジェネレータ30および駆動輪62に連結される。
動力分割機構40は、サンギヤの回転速度、キャリアの回転速度およびリングギヤの回転速度が共線図において直線で結ばれる関係(2つの値が決まれば残りのもう1つの値も決まる関係)になる特性を有する。したがって、サンギヤに連結されるモータジェネレータ20の回転速度を適宜調整することによって、動力分割機構40は、リングギヤに連結される駆動輪62の回転速度(すなわち車速)とキャリアに連結されるエンジン10の回転速度との比を無段階で切替可能な電気式の無段変速装置として機能する。
なお、本実施の形態においては、動力分割機構40(電気式の無段変速装置)を備えるハイブリッド車両に本発明を適用する場合について説明するが、本発明を適用可能な車両は、動力分割機構40を備えるハイブリッド車両に限定されるものではなく、モータ走行が可能なハイブリッド車両であればよい。
モータジェネレータ20および30は、いずれも発電機としても電動機としても作動しうる周知の同期発電電動機である。モータジェネレータ20および30は、PCU60に接続され、PCU60は、バッテリ70に接続される。
制御装置100は、パワーマネジメント用電子制御ユニット(Electronic Control Unit;以下、PM−ECUという)140と、エンジン用電子制御ユニット(以下、エンジンECUという)141と、モータ用電子制御ユニット(以下、モータECUという)142と、バッテリ用電子制御ユニット(以下、バッテリECUという)143とを含む。
PM−ECU140は、エンジンECU141と、モータECU142と、バッテリECU143とに、図示しない通信ポートを介して接続されている。PM−ECU140は、エンジンECU141と、モータECU142と、バッテリECU143と各種制御信号やデータのやり取りを行なう。
モータECU142は、PCU60に接続され、モータジェネレータ20および30の駆動を制御する。バッテリECU143は、バッテリ70の充放電電流の積算値に基づいて、バッテリ70の残容量(以下「バッテリSOC」(State of charge)という)を演算する。
エンジンECU141は、エンジン10および燃料供給装置15に接続されている。エンジンECU141は、エンジン10の運転状態を検出する各種センサ(アクセル開度センサ、スロットル開度センサ、エンジン回転速度センサ、エンジン水温センサ、空燃比センサなど)から信号を入力するとともに、入力した信号に応じて燃料噴射制御や点火制御、吸入空気量制御などの運転制御を行なう。
たとえば、エンジンECU141は、車速およびアクセル開度などに基づいてスロットル開度(吸入空気量)を制御する。また、エンジンECU141は、排気通路に設けられた空燃比センサ(図示せず)によって検出された空燃比が目標空燃比(たとえば理論空燃比)となるように燃料噴射量をフィードバック制御する。たとえば吸入空気量が増加して空燃比が目標空燃比よりもリーン側の値となった場合には、エンジンECU141は、空燃比を目標空燃比に近づけるために燃料噴射量を増加させる。
[燃料供給に関する構成]
図2は、燃料供給に関するエンジン10および燃料供給装置15の構成を示した図である。本実施の形態は、本発明が適用される車両を、内燃機関として筒内噴射とポート噴射とを併用するデュアル噴射タイプの内燃機関、例えば直列4シリンダのガソリンエンジンを採用するハイブリッド車両としている。
図2を参照して、エンジン10は、吸気マニホールド36と、スロットル弁37と、吸気ポート21と、シリンダブロックに設けられた4つのシリンダ11とを含む。
吸入空気AIRは、各シリンダ11の吸気工程において、吸気管から吸気マニホールド36および吸気ポート21を通って各シリンダ11に吸入される。
各シリンダ11に吸入される空気量(吸入空気量)は、スロットル弁37の開度(スロットル開度θ)によって調節される。スロットル開度θは、エンジンECU141からの制御信号によって制御される。以下の説明では、各シリンダ11に吸入可能な空気量(吸入可能空気量)に対する吸入空気量の比を「エンジン負荷率」と称する。
燃料供給装置15は、低圧燃料供給機構50と、高圧燃料供給機構80とを含む。低圧燃料供給機構50は、燃料圧送部51と、低圧燃料配管52と、低圧デリバリーパイプ53と、低圧燃圧センサ53aと、ポート噴射弁54とを含む。
高圧燃料供給機構80は、高圧ポンプ81と、チェック弁82aと、高圧燃料配管82と、高圧デリバリーパイプ83と、高圧燃圧センサ83aと、筒内噴射弁84とを含む。
筒内噴射弁84は、噴孔部84aを各シリンダ11の燃焼室内に露出する筒内噴射用インジェクタである。筒内噴射弁84が開弁動作するとき、高圧デリバリーパイプ83内の加圧された燃料が筒内噴射弁84の噴孔部84aから燃焼室16内に噴射される。
エンジンECU141は、CPU(Central Processing Unit)、ROM(Read Only Memory)、RAM(Random Access Memory)、入力インターフェース回路、出力インターフェース回路などを含んで構成される。エンジンECU141は、図1のPM−ECUからエンジン起動/停止指令を受けて、エンジン10および燃料供給装置15を制御する。
エンジンECU141は、アクセル開度、吸入空気量(スロットル開度θ)、エンジン回転速度、空燃比などに基づいて燃焼毎に必要な燃料噴射量を算出する。また、エンジンECU141は、算出した燃料噴射量に基づいて、ポート噴射弁54および筒内噴射弁84への噴射指令信号などを適時に出力する。
なお、本実施の形態においては、低圧燃料供給機構50と高圧燃料供給機構80とを備える場合について説明するが、本発明は高圧燃料供給機構80を備えず低圧燃料供給機構50を備える構成にも適用可能である。
以下、低圧燃料供給機構50についてより詳細に説明する。燃料圧送部51は、燃料タンク511と、フィードポンプ512と、サクションフィルタ513と、燃料フィルタ514と、リリーフ弁515とを含む。
燃料タンク511は、エンジン10で消費される燃料、例えばガソリンを貯留する。サクションフィルタ513は、異物の吸入を阻止する。燃料フィルタ514は、吐出燃料中の異物を除去する。
リリーフ弁515は、フィードポンプ512から吐出される燃料の圧力が上限圧力に達すると開弁し、燃料の圧力が上限圧力に満たない間は閉弁状態を維持する。
低圧燃料配管52は、燃料圧送部51から低圧デリバリーパイプ53までを連結する。ただし、低圧燃料配管52は、燃料パイプに限定されるものではなく、燃料通路が貫通形成される1つの部材や、互いの間に燃料通路が形成される複数の部材であってもよい。
低圧デリバリーパイプ53は、シリンダ11の直列配置方向の一端側で、低圧燃料配管52に接続される。低圧デリバリーパイプ53には、ポート噴射弁54が連結される。低圧デリバリーパイプ53には、内部の燃料圧力を検出する低圧燃圧センサ53aが装着されている。
ポート噴射弁54は、噴孔部54aを各シリンダ11に対応する吸気ポート21内に露出するポート噴射用インジェクタである。ポート噴射弁54は、エンジンECU141からの制御信号によって通電されると開弁するニードル弁である。ポート噴射弁54が開弁するとき、フィードポンプ512によって加圧された低圧デリバリーパイプ53内の燃料が噴孔部54aから吸気ポート21内に噴射される。
フィードポンプ512は、エンジンECU141から発信される指令信号に基づいて、駆動および停止される。
フィードポンプ512は、燃料タンク511内から燃料を汲み上げ、汲み上げた燃料を加圧して吐出することが可能である。さらに、フィードポンプ512は、エンジンECU141の制御により、単位時間当りの吐出量[m3/sec]や吐出圧[kPa:キロパスカル]を変化させることが可能である。
[低圧燃圧センサ53aの故障診断]
フィードポンプ512による燃料の供給圧(以下「燃圧P」ともいう)を可変制御するには、ポート噴射を行なう燃料を貯留する低圧デリバリーパイプ53に設けられた低圧燃圧センサ53aの検出値の信頼性を確保する必要がある。
このため、本実施の形態によるエンジンECU141は、低圧燃圧センサ53aの故障診断を定期的に行なう。低圧燃圧センサ53aの故障診断においては、エンジンECU141は、燃圧Pをリリーフ弁515の開弁圧に相当する診断圧P2にまで増加させ、燃圧Pを診断圧P2に増加させたことに応じて低圧燃圧センサ53aがリリーフ弁515の開弁圧(診断圧P2)を示す値に変化したか否かに基づいて低圧燃圧センサ53aの故障の有無を判定する。
図3は、低圧燃圧センサ53aが正常である場合における、燃圧P[単位:kPa]と低圧燃圧センサ53aの出力電圧V[単位:V(ボルト)]との対応関係を示す図である。図3に示すように、低圧燃圧センサ53aが正常である場合、燃圧Pが高いほど低圧燃圧センサ53aの出力電圧Vは大きくなる。
通常制御中(低圧燃圧センサ53aの故障診断を行なっていない場合)においては、エンジンECU141は、燃圧Pが通常制御圧P1(たとえば400kPa)となるようにフィードポンプ512を制御する。この際、低圧燃圧センサ53aが正常であれば、低圧燃圧センサ53aの出力電圧Vは通常制御圧P1に対応する電圧V1を示す値となる。
一方、低圧燃圧センサ53aの故障診断を行なう場合、エンジンECU141は、フィードポンプ512の出力を増加させることによって、燃圧Pを通常制御圧P1よりも高い診断圧P2(たとえば650kPa)に増加させる制御(以下「燃圧増加処理」ともいう)を行なう。具体的には、エンジンECU141は、燃圧Pが診断圧P2となるようにフィードポンプ512をフィードフォワード制御する。上述したように、診断圧P2は、リリーフ弁515の開弁圧に相当する燃圧である。
燃圧増加処理中において、低圧燃圧センサ53aが正常であれば、低圧燃圧センサ53aの出力電圧Vは、診断圧P2に対応する電圧V2を示す値となる。そのため、エンジンECU141は、燃圧増加処理を行なったことに応じて低圧燃圧センサ53aの検出値が通常制御圧P1に対応する電圧V1から診断圧P2に対応する電圧V2に変化したか否かに基づいて、低圧燃圧センサ53aの故障の有無を判定する。
[低圧燃圧センサ53aの故障診断の実行条件]
上述のように、低圧燃圧センサ53aの故障診断中は燃圧Pが増加される。そのため、エンジン10の運転中に低圧燃圧センサ53aの故障診断を行なうと、燃料噴射量が必要以上に多くなりエンジン10の燃焼が悪化することが懸念される。エンジン10の燃焼への影響を回避するためには、エンジン10の停止中(代表的にはモータ走行中)に低圧燃圧センサ53a故障診断を行なうことが想定される。
しかしながら、低圧燃圧センサ53aの故障診断中は、燃圧Pを診断圧P2に維持するためにフィードポンプ512の作動量(回転速度)を通常制御時よりも増加させ続ける必要があるため、フィードポンプ512の作動音(以下「ポンプ音」という)も大きくなる。したがって、エンジン10の停止中に低圧燃圧センサ53aの故障診断を行なうと、エンジン10の作動音(以下「エンジン音」という)がしない状態でポンプ音が大きくなるため、ポンプ音が相対的にユーザに聞こえ易くなりドライバビリティが低下することが懸念される。さらに、燃圧Pを診断圧P2に増加することによって発生するリリーフ弁515の開閉(チャタリング)音もユーザに聞こえ易くなることも懸念される。
上記のような問題に鑑み、本実施の形態によるエンジンECU141は、エンジン10の停止中であってかつ車速がしきい値V1を超える場合に、低圧燃圧センサ53aの故障診断を行なう。これにより、低圧燃圧センサ53aの故障診断中はエンジン10が停止されているため、燃圧増加処理によって燃圧Pが診断圧P2まで増加されたとしてもエンジン10の燃焼への影響を回避できる。さらに、低圧燃圧センサ53aの故障診断中は車速がしきい値V1を超えており走行ノイズが大きいため、エンジン音がしない状態でポンプ音が大きくなったりリリーフ弁515の開閉音が発生したりしたとしても、ポンプ音およびリリーフ弁の開閉音は相対的にユーザに聞こえ難くなる。その結果、ドライバビリティを低下させることなく低圧燃圧センサ53aの故障診断を行なうことができる。
図4は、エンジンECU141が低圧燃圧センサ53aの故障診断を行なう場合の処理手順を示すフローチャートである。このフローチャートは、エンジンECU141の作動中に所定周期で繰り返し実行される。
ステップ(以下、ステップを「S」と略す)10にて、エンジンECU141は、今回のトリップ中で既に低圧燃圧センサ53aの故障診断が行なわれているか否かを判定する。なお、トリップとは、1回の走行を表す単位であり、代表的にはユーザが車両システムを起動してから次に車両システムを停止させるまでの期間である。
今回のトリップ中で既に低圧燃圧センサ53aの故障診断が行なわれている場合(S10にてYES)、エンジンECU141は、以降のS11〜S14の処理を行なわずに、そのまま処理を終了させる。これにより、1回のトリップ中に低圧燃圧センサ53aの故障診断が複数回行なわれることが回避される。つまり、低圧燃圧センサ53aの故障診断は、1回のトリップ中に1回の頻度で行なわれる。
今回のトリップ中で未だ低圧燃圧センサ53aの故障診断が行なわれてない場合(S10にてNO)、エンジンECU141は、S11にて、エンジン10の停止中であるか否かを判定する。エンジン10の運転中である場合(S11にてNO)、エンジンECU114は、以降のS12〜S14の処理を行なわずに、そのまま処理を終了させる。
エンジン10の停止中である場合(S11にてYES)、エンジンECU114は、S12にて、車速がしきい値V1を超えるか否かを判定する。しきい値V1は、エンジン10の停止中に燃圧Pを診断圧P2に増加させたとしても、ポンプ音およびリリーフ弁の開閉音は相対的にユーザに聞こえ難くなる程度の走行ノイズが生じる車速である。しきい値V1は、予め実験等によって決められてエンジンECU114のメモリ等に記憶されている。車速がしきい値V1を超えない場合(S12にてNO)、エンジンECU114は、以降のS13、S14の処理を行なわずに、そのまま処理を終了させる。
車速がしきい値V1を超える場合(S12にてYES)、エンジンECU114は、S13にて、上述の燃圧増加処理を行なう。すなわち、エンジンECU141は、燃圧Pを通常制御圧P1から診断圧P2に増加させるようにフィードポンプ512をフィードフォワード制御する。
S14にて、エンジンECU141は、低圧燃圧センサ53aの故障診断処理を行なう。この故障診断処理において、エンジンECU141は、低圧燃圧センサ53aの出力が診断圧P2に対応する電圧V2を示す値である場合に低圧燃圧センサ53aが正常であると判定し、そうでない場合に低圧燃圧センサ53aが故障していると判定する。
以上のように、本実施の形態によるエンジンECU141は、エンジン10の停止中であってかつ車速がしきい値V1を超える場合(走行ノイズが大きい場合)に、低圧燃圧センサ53aの故障診断を行なう。これにより、エンジン音がしない状態でポンプ音が大きくなったとしても、走行ノイズが大きいため、ポンプ音は相対的にユーザに聞こえ難くなる。その結果、ドライバビリティを低下させることなく低圧燃圧センサ53aの故障診断を行なうことができる。
<変形例1>
上述の実施の形態においては、エンジン10の停止中であってかつ車速がしきい値V1を超える場合に、低圧燃圧センサ53aの故障診断を行なう場合について説明した。
しかしながら、低圧燃圧センサ53aの故障診断中にエンジン10を始動させる必要が生じた場合、燃圧増加処理によって燃圧Pを通常制御圧P1よりも高い診断圧P2に増圧している状態でエンジン10を始動させることになるため、エンジン始動時の燃焼状態が悪化することが懸念される。
そこで、本変形例によるエンジンECU114は、エンジン10の停止中であってかつ車速がしきい値V1を超える場合に、車速およびバッテリSOCに基づいて、低圧燃圧センサ53aの故障診断に要する時間よりも長くエンジン10を停止状態に維持できるか否かを判定(予測)する。そして、エンジンECU114は、低圧燃圧センサ53aの故障診断に要する時間よりも長くエンジン10を停止状態に維持できると判定された場合に、低圧燃圧センサ53aの故障診断を行なう。
図5は、本変形例によるエンジンECU114が低圧燃圧センサ53aの故障診断を行なう場合の処理手順を示すフローチャートである。なお、図5に示したステップのうち、前述の図4に示したステップと同じ番号を付しているステップについては、既に説明したため詳細な説明はここでは繰り返さない。
エンジン10の停止中であって(S11にてYES)かつ車速がしきい値V1を超える場合(S12にてYES)、エンジンECU114は、S20にて、車速がしきい値V2(V2>V1)未満であるか否かを判定する。この判定は、低圧燃圧センサ53aの故障診断が完了するまでにエンジン10を停止状態に維持可能な車速であることを確認するために行なわれる。
車速がしきい値V2を超える場合(S20にてNO)には、要求駆動力が大きくなることが想定され、低圧燃圧センサ53aの故障診断を開始したとしても故障診断が完了するまでにエンジン10を始動させる必要が生じる可能性が高いため、エンジンECU114は、低圧燃圧センサ53aの故障診断を行なわずに処理を終了させる。
車速がしきい値V2未満である場合(S20にてYES)、エンジンECU114は、S21にて、バッテリSOCがしきい値S1を超えるか否かを判定する。この判定は、低圧燃圧センサ53aの故障診断が完了するまでにモータジェネレータ30に供給可能な電力がバッテリ70に十分に蓄えられていることを確認するために行なわれる。
バッテリSOCがしきい値S1未満である場合(S21にてNO)には、十分な電力がバッテリ70に蓄えられておらず、低圧燃圧センサ53aの故障診断を開始したとしても故障診断が完了するまでにエンジン10を始動させる必要が生じる可能性が高いため、エンジンECU114は、故障診断を行なわずに処理を終了させる。
バッテリSOCがしきい値S1を超える場合(S21にてYES)、エンジンECU114は、低圧燃圧センサ53aの故障診断に要する時間よりも長くエンジン10を停止状態に維持できると判定し、低圧燃圧センサ53aの故障診断を行なう(S13、S14)。
このように、本変形例によるエンジンECU114は、エンジン10の停止中であってかつ車速がしきい値V1を超える場合であって、かつ車速およびバッテリSOCに基づいてエンジン10を停止状態に維持できると判定された場合に、低圧燃圧センサ53aの故障診断を行なう。そのため、燃圧増加処理によって燃圧Pを診断圧P2に増圧している状態でエンジン10を始動することを回避することができる。
<変形例2>
上述の変形例1では、車速およびバッテリSOCに基づいて、低圧燃圧センサ53aの故障診断に要する時間よりも長くエンジン10を停止状態に維持できるか否かを判定した。しかしながら、車両1が登坂路を走行するなど車両1の走行ルートによっては、要求駆動力が大きくなりエンジン10を始動させる必要が生じることが懸念される。
そこで、車両1が走行ルート情報を検索可能なナビゲーション装置を備える場合には、車速およびバッテリSOCに加えて走行ルート情報に基づいて低圧燃圧センサ53aの故障診断に要する時間よりも長くエンジン10を停止状態に維持できるか否かを判定するようにしてもよい。
図6は、本変形例によるエンジンECU114が低圧燃圧センサ53aの故障診断を行なう場合の処理手順を示すフローチャートである。なお、図6に示したステップのうち、前述の図5に示したステップと同じ番号を付しているステップについては、既に説明したため詳細な説明はここでは繰り返さない。
車速がしきい値V2未満であり(S20にてYES)かつバッテリSOCがしきい値S1を超える場合(S21にてYES)、エンジンECU114は、S30にて、ナビゲーション装置からの走行ルート情報に基づいて、低圧燃圧センサ53aの故障診断に要する時間が経過するまでに車両1が登坂路を走行するか否かを判定する。この判定は、低圧燃圧センサ53aの故障診断が完了するまでにエンジン10を停止状態に維持することが困難な道路環境となる可能性があるか否かを確認するために行なわれる。なお、低圧燃圧センサ53aの故障診断に要する時間は、実験等によって予め決めておくことができる。
低圧燃圧センサ53aの故障診断に要する時間が経過するまでに車両1が登坂路を走行する場合(S30にてYES)には、車両1が登坂路を走行する際に要求駆動力が大きくなりエンジン10を始動させる必要が生じる可能性が高いため、エンジンECU114は、低圧燃圧センサ53aの故障診断を行なわずに処理を終了させる。
低圧燃圧センサ53aの故障診断に要する時間が経過するまでに車両1が登坂路を走行しないと判定された場合(S30にてNO)、エンジンECU114は、故障診断に要する時間よりも長くエンジン10を停止状態に維持できると判定し、低圧燃圧センサ53aの故障診断を行なう(S13、S14)。
このように、本変形例によるエンジンECU114は、車速がしきい値V2未満でかつバッテリSOCがしきい値S1を超えており、かつナビゲーション装置からの走行ルート情報に基づいて車両1が登坂路を走行しないと判定された場合に、エンジン10を停止状態に維持できると判定して、低圧燃圧センサ53aの故障診断を行なう。そのため、燃圧増加処理によって燃圧Pを診断圧P2に増圧している状態でエンジン10を始動することをより適切に抑制することができる。
今回開示された実施の形態はすべての点で例示であって制限的なものではないと考えられるべきである。本発明の範囲は上記した説明ではなくて特許請求の範囲によって示され、特許請求の範囲と均等の意味および範囲内でのすべての変更が含まれることが意図される。
1 車両、10 エンジン、11 シリンダ、15 燃料供給装置、16 回転軸、20,30 モータジェネレータ、21 吸気ポート、36 吸気マニホールド、37 スロットル弁、40 動力分割機構、50 低圧燃料供給機構、51 燃料圧送部、52 低圧燃料配管、53 低圧デリバリーパイプ、53a 低圧燃圧センサ、54 ポート噴射弁、54a,84a 噴孔部、58 リダクション機構、62 駆動輪、70 バッテリ、80 高圧燃料供給機構、81 高圧ポンプ、82 高圧燃料配管、82a チェック弁、83 高圧デリバリーパイプ、83a 高圧燃圧センサ、84 筒内噴射弁、100 制御装置、140 PM−ECU140、141 エンジンECU、142 モータECU、143 バッテリECU、511 燃料タンク、512 フィードポンプ、513 サクションフィルタ、514 燃料フィルタ、515 リリーフ弁。

Claims (5)

  1. エンジンおよびモータジェネレータの少なくとも一方の動力を用いて走行可能な車両であって、
    燃料ポンプと、
    前記燃料ポンプから供給された燃料を前記エンジンに噴射する噴射弁と、
    前記燃料ポンプによる燃料の供給圧を検出する燃圧センサと、
    前記燃料ポンプによる燃料の供給圧を第1燃圧よりも高い第2燃圧に増加させる燃圧増加処理を行ない、前記燃圧増加処理中の前記燃圧センサの検出値に基づいて前記燃圧センサの故障診断を行なう制御装置とを備え、
    前記制御装置は、前記エンジンの停止中であってかつ車速がしきい値を超え、かつ前記燃圧センサの故障診断に要する時間よりも長く前記エンジンを停止状態に維持できると判定された場合に、前記燃圧センサの故障診断を行なう、車両。
  2. 前記車両は、前記モータジェネレータに供給する電力を蓄える蓄電装置をさらに備え、
    前記制御装置は、前記蓄電装置の蓄電量が所定量を超える場合に、前記燃圧センサの故障診断に要する時間よりも長く前記エンジンを停止状態に維持できると判定する、請求項に記載の車両。
  3. 前記車両は、走行ルート情報を検索する装置をさらに備え、
    前記制御装置は、前記蓄電装置の蓄電量が所定量を超える場合であってかつ前記走行ルート情報が登坂路を示す情報でない場合に、前記燃圧センサの故障診断に要する時間よりも長く前記エンジンを停止状態に維持できると判定する、請求項に記載の車両。
  4. 前記第1燃圧は、前記燃圧センサの故障診断が行なわれない場合に用いられる制御用燃圧であり、
    前記第2燃圧は、前記燃圧センサの故障診断が行なわれる場合に用いられる診断用燃圧である、請求項1〜のいずれかに記載の車両。
  5. 前記噴射弁は、前記エンジンの吸気通路に燃料の噴射を行なうポート噴射弁である、請求項1〜のいずれかに記載の車両。
JP2015063584A 2015-03-26 2015-03-26 車両 Expired - Fee Related JP6217680B2 (ja)

Priority Applications (2)

Application Number Priority Date Filing Date Title
JP2015063584A JP6217680B2 (ja) 2015-03-26 2015-03-26 車両
US15/080,854 US10364770B2 (en) 2015-03-26 2016-03-25 Fuel pressure sensor diagnostic during engine stopping

Applications Claiming Priority (1)

Application Number Priority Date Filing Date Title
JP2015063584A JP6217680B2 (ja) 2015-03-26 2015-03-26 車両

Publications (2)

Publication Number Publication Date
JP2016182862A JP2016182862A (ja) 2016-10-20
JP6217680B2 true JP6217680B2 (ja) 2017-10-25

Family

ID=56975000

Family Applications (1)

Application Number Title Priority Date Filing Date
JP2015063584A Expired - Fee Related JP6217680B2 (ja) 2015-03-26 2015-03-26 車両

Country Status (2)

Country Link
US (1) US10364770B2 (ja)
JP (1) JP6217680B2 (ja)

Families Citing this family (4)

* Cited by examiner, † Cited by third party
Publication number Priority date Publication date Assignee Title
JP6439739B2 (ja) * 2016-04-19 2018-12-19 トヨタ自動車株式会社 燃圧センサ診断装置
US11607947B2 (en) * 2019-07-25 2023-03-21 Zhejiang CFMOTO Power Co., Ltd. Hybrid power train structure in off-road vehicle
CN113448318B (zh) * 2021-07-07 2022-08-16 江铃汽车股份有限公司 一种车辆下线故障诊断控制方法
CN118295375B (zh) * 2024-06-03 2024-09-13 中国第一汽车股份有限公司 车辆通讯故障的诊断方法、装置及车辆

Family Cites Families (24)

* Cited by examiner, † Cited by third party
Publication number Priority date Publication date Assignee Title
JP2001107814A (ja) 1999-07-30 2001-04-17 Toyota Motor Corp 蒸発燃料パージシステムの故障診断装置
JP3956944B2 (ja) * 2004-02-13 2007-08-08 トヨタ自動車株式会社 動力出力装置およびこれを搭載する自動車並びにその制御方法
JP4192907B2 (ja) 2005-03-11 2008-12-10 トヨタ自動車株式会社 ハイブリッドシステムの補機故障診断装置
JP4508020B2 (ja) 2005-07-13 2010-07-21 トヨタ自動車株式会社 燃料供給装置における電磁リリーフ弁の診断装置
JP2010168901A (ja) * 2009-01-20 2010-08-05 Nissan Motor Co Ltd 高圧燃料ポンプ
JP2010208576A (ja) * 2009-03-12 2010-09-24 Toyota Motor Corp ハイブリッド車両の異常検出装置
JP4816767B2 (ja) * 2009-06-08 2011-11-16 トヨタ自動車株式会社 車両の制御装置
JPWO2011007772A1 (ja) 2009-07-15 2012-12-27 ボッシュ株式会社 圧力センサ故障診断方法及びコモンレール式燃料噴射制御装置
US8192324B2 (en) * 2009-11-13 2012-06-05 Ford Global Technologies, Llc Vehicle and method for controlling engine start in a vehicle
JP2011163220A (ja) 2010-02-10 2011-08-25 Denso Corp 燃料供給システムの制御装置
JP2011185158A (ja) 2010-03-09 2011-09-22 Denso Corp 内燃機関の高圧燃料供給システムの異常診断装置
US8543272B2 (en) * 2010-08-05 2013-09-24 Ford Global Technologies, Llc Distance oriented energy management strategy for a hybrid electric vehicle
US8613218B2 (en) 2010-10-19 2013-12-24 Toyota Jidosha Kabushiki Kaisha Diagnosis apparatus for leakage mechanism in internal combustion engine
JP5780897B2 (ja) * 2011-09-21 2015-09-16 日立オートモティブシステムズ株式会社 内燃機関の制御装置
JP5973710B2 (ja) * 2011-11-22 2016-08-23 日産自動車株式会社 ハイブリッド車両の制御装置
JP2013238202A (ja) 2012-05-17 2013-11-28 Toyota Motor Corp 圧力センサの異常判定装置
JP5991192B2 (ja) * 2012-12-21 2016-09-14 トヨタ自動車株式会社 ハイブリッド車両の制御装置
US9394845B2 (en) * 2013-12-10 2016-07-19 Fca Us Llc Fuel rail pressure sensor diagnostic techniques
US9327706B2 (en) * 2014-02-04 2016-05-03 Ford Global Technologies, Llc Systems and methods for improving engine starting
JP6331861B2 (ja) * 2014-08-08 2018-05-30 トヨタ自動車株式会社 内燃機関の制御装置
JP6149833B2 (ja) 2014-09-12 2017-06-21 トヨタ自動車株式会社 内燃機関の制御装置
JP6292143B2 (ja) * 2015-02-10 2018-03-14 トヨタ自動車株式会社 車両
KR101877299B1 (ko) * 2016-04-07 2018-07-11 (주)모토닉 고압연료펌프용 유량제어밸브의 제어장치 및 제어방법
JP6439739B2 (ja) * 2016-04-19 2018-12-19 トヨタ自動車株式会社 燃圧センサ診断装置

Also Published As

Publication number Publication date
US10364770B2 (en) 2019-07-30
US20160281628A1 (en) 2016-09-29
JP2016182862A (ja) 2016-10-20

Similar Documents

Publication Publication Date Title
JP5724963B2 (ja) 内燃機関の診断装置
JP5505509B2 (ja) パワートレーン、内燃機関の制御方法および制御装置
US20110276213A1 (en) Hybrid vehicle and method of controlling hybrid vehicle
JP6332656B2 (ja) 内燃機関搭載車両
JP6217680B2 (ja) 車両
CN103189620A (zh) 车辆的控制装置
JP5610158B2 (ja) ハイブリッド車両
JP2014092066A (ja) Egrバルブ故障検出装置
JP6197828B2 (ja) 車両の制御装置
CN108087107A (zh) 内燃机的控制装置
JP6156418B2 (ja) 車両の制御装置
JP6292143B2 (ja) 車両
JP2016003572A (ja) 車両用燃料制御装置及び車両用燃料制御方法
JP6511889B2 (ja) 内燃機関の制御装置
JP2011085050A (ja) 内燃機関の制御装置及び方法
JP6160600B2 (ja) 車両の制御装置
JP6308111B2 (ja) 車両の制御装置
US20190126909A1 (en) Method and device for controlling mild hybrid electric vehicle
JP5605713B2 (ja) 内燃機関の制御装置及び制御方法
US10589737B2 (en) Method and device for controlling mild hybrid vehicle
JP2010203346A (ja) 内燃機関の制御装置
JP6344295B2 (ja) ハイブリッド車両
US20180080393A1 (en) Control device applied to hybrid vehicle
JP2008111402A (ja) エンジンの制御装置
JP2013241914A (ja) 内燃機関の排気ガス浄化方法及び装置

Legal Events

Date Code Title Description
A621 Written request for application examination

Free format text: JAPANESE INTERMEDIATE CODE: A621

Effective date: 20160824

A977 Report on retrieval

Free format text: JAPANESE INTERMEDIATE CODE: A971007

Effective date: 20170518

A131 Notification of reasons for refusal

Free format text: JAPANESE INTERMEDIATE CODE: A131

Effective date: 20170530

A521 Request for written amendment filed

Free format text: JAPANESE INTERMEDIATE CODE: A523

Effective date: 20170714

TRDD Decision of grant or rejection written
A01 Written decision to grant a patent or to grant a registration (utility model)

Free format text: JAPANESE INTERMEDIATE CODE: A01

Effective date: 20170829

A61 First payment of annual fees (during grant procedure)

Free format text: JAPANESE INTERMEDIATE CODE: A61

Effective date: 20170911

R151 Written notification of patent or utility model registration

Ref document number: 6217680

Country of ref document: JP

Free format text: JAPANESE INTERMEDIATE CODE: R151

LAPS Cancellation because of no payment of annual fees