JP6177588B2 - 金属酸化物半導体基板の作製方法及び発光デバイスの作製方法 - Google Patents

金属酸化物半導体基板の作製方法及び発光デバイスの作製方法 Download PDF

Info

Publication number
JP6177588B2
JP6177588B2 JP2013113252A JP2013113252A JP6177588B2 JP 6177588 B2 JP6177588 B2 JP 6177588B2 JP 2013113252 A JP2013113252 A JP 2013113252A JP 2013113252 A JP2013113252 A JP 2013113252A JP 6177588 B2 JP6177588 B2 JP 6177588B2
Authority
JP
Japan
Prior art keywords
caac
substrate
oxide semiconductor
metal oxide
semiconductor substrate
Prior art date
Legal status (The legal status is an assumption and is not a legal conclusion. Google has not performed a legal analysis and makes no representation as to the accuracy of the status listed.)
Expired - Fee Related
Application number
JP2013113252A
Other languages
English (en)
Other versions
JP2014007395A5 (ja
JP2014007395A (ja
Inventor
山崎 舜平
舜平 山崎
Current Assignee (The listed assignees may be inaccurate. Google has not performed a legal analysis and makes no representation or warranty as to the accuracy of the list.)
Semiconductor Energy Laboratory Co Ltd
Original Assignee
Semiconductor Energy Laboratory Co Ltd
Priority date (The priority date is an assumption and is not a legal conclusion. Google has not performed a legal analysis and makes no representation as to the accuracy of the date listed.)
Filing date
Publication date
Application filed by Semiconductor Energy Laboratory Co Ltd filed Critical Semiconductor Energy Laboratory Co Ltd
Priority to JP2013113252A priority Critical patent/JP6177588B2/ja
Publication of JP2014007395A publication Critical patent/JP2014007395A/ja
Publication of JP2014007395A5 publication Critical patent/JP2014007395A5/ja
Application granted granted Critical
Publication of JP6177588B2 publication Critical patent/JP6177588B2/ja
Expired - Fee Related legal-status Critical Current
Anticipated expiration legal-status Critical

Links

Images

Classifications

    • HELECTRICITY
    • H10SEMICONDUCTOR DEVICES; ELECTRIC SOLID-STATE DEVICES NOT OTHERWISE PROVIDED FOR
    • H10HINORGANIC LIGHT-EMITTING SEMICONDUCTOR DEVICES HAVING POTENTIAL BARRIERS
    • H10H20/00Individual inorganic light-emitting semiconductor devices having potential barriers, e.g. light-emitting diodes [LED]
    • H10H20/80Constructional details
    • H10H20/81Bodies
    • H10H20/822Materials of the light-emitting regions
    • H10H20/824Materials of the light-emitting regions comprising only Group III-V materials, e.g. GaP
    • HELECTRICITY
    • H10SEMICONDUCTOR DEVICES; ELECTRIC SOLID-STATE DEVICES NOT OTHERWISE PROVIDED FOR
    • H10HINORGANIC LIGHT-EMITTING SEMICONDUCTOR DEVICES HAVING POTENTIAL BARRIERS
    • H10H20/00Individual inorganic light-emitting semiconductor devices having potential barriers, e.g. light-emitting diodes [LED]
    • H10H20/01Manufacture or treatment
    • H10H20/011Manufacture or treatment of bodies, e.g. forming semiconductor layers
    • H10H20/013Manufacture or treatment of bodies, e.g. forming semiconductor layers having light-emitting regions comprising only Group III-V materials
    • H10H20/0133Manufacture or treatment of bodies, e.g. forming semiconductor layers having light-emitting regions comprising only Group III-V materials with a substrate not being Group III-V materials
    • HELECTRICITY
    • H10SEMICONDUCTOR DEVICES; ELECTRIC SOLID-STATE DEVICES NOT OTHERWISE PROVIDED FOR
    • H10HINORGANIC LIGHT-EMITTING SEMICONDUCTOR DEVICES HAVING POTENTIAL BARRIERS
    • H10H20/00Individual inorganic light-emitting semiconductor devices having potential barriers, e.g. light-emitting diodes [LED]
    • H10H20/80Constructional details
    • H10H20/81Bodies
    • H10H20/817Bodies characterised by the crystal structures or orientations, e.g. polycrystalline, amorphous or porous
    • HELECTRICITY
    • H10SEMICONDUCTOR DEVICES; ELECTRIC SOLID-STATE DEVICES NOT OTHERWISE PROVIDED FOR
    • H10HINORGANIC LIGHT-EMITTING SEMICONDUCTOR DEVICES HAVING POTENTIAL BARRIERS
    • H10H20/00Individual inorganic light-emitting semiconductor devices having potential barriers, e.g. light-emitting diodes [LED]
    • H10H20/80Constructional details
    • H10H20/81Bodies
    • H10H20/822Materials of the light-emitting regions
    • H10H20/824Materials of the light-emitting regions comprising only Group III-V materials, e.g. GaP
    • H10H20/825Materials of the light-emitting regions comprising only Group III-V materials, e.g. GaP containing nitrogen, e.g. GaN

Landscapes

  • Thin Film Transistor (AREA)
  • Led Devices (AREA)

Description

発光デバイス、及び発光デバイスの作製方法に関する。
窒化ガリウムを用いた発光ダイオード(LED:Light Emitting Diode)の開発が進んでおり、照明デバイス等に広く実用化が進められている。
発光効率や耐久寿命などの発光デバイスの特性には、発光層の結晶品質が大きく影響する。発光デバイスを構成する基板として、安価なサファイア基板などが多く使用されているが、発光層の結晶品質は発光層の形成される基板によって左右されるため、該結晶品質の良好な発光層が得られるような発光デバイス用基板として窒化ガリウム単結晶基板が研究されている(例えば、特許文献1参照)。
また、単結晶酸化ガリウムからなる主面を有する酸化ガリウム基板を用いた窒化ガリウム系の発光ダイオードについても研究開発が進められている(例えば、特許文献2参照)。
特開2004−119423号公報 特開2010−183026号公報
発光デバイスを作製するための基板として用いられる窒化ガリウム基板や酸化ガリウム基板は、エピタキシャル成長させた結晶表面を形成するために、単結晶膜を成長させるプロセスが必要であった。
本発明はこのような状況に鑑みなされたものであり、生産性に優れた新規の発光デバイスを提供することを課題の一とする。
本発明の一形態は、発光デバイスの支持基板としてc軸配向した結晶領域を含む金属酸化物半導体(CAAC−OS(C Axis Aligned Crystalline Oxide Semiconductor))基板を用いる。c軸配向した結晶領域は、c軸が金属酸化物半導体の支持基板の表面に対して略垂直に配向したものである。本明細書においては、c軸が表面に概略垂直である結晶部を含む酸化物半導体基板をCAAC−OS基板という。なお、本明細書においては、CAAC−OS基板とは、CAAC−OS膜(層)も含む。
例えば、CAAC−OSとして、ガリウムを含むCAAC−OS、インジウム及びガリウムを含むCAAC−OS、又はインジウム、ガリウム、及び亜鉛を含むCAAC−OS等を用いることができる。
発光デバイスにおいて基板は、CAAC−OS基板単層でもよいし、サファイア基板、又はイットリア安定化ジルコニア(YSZ)基板などの基底基板上に薄膜のCAAC−OS基板が積層された構造でもよい。
CAAC−OS基板は作製時に、700℃〜1500℃程度の高温における加熱処理を行う。該加熱処理は、窒素雰囲気下、又は窒素及びアンモニア雰囲気下で行うことができる。また、窒素雰囲気下、及び酸素雰囲気下両方において加熱処理を行ってもよい。
従って、CAAC−OS基板は、比較的簡便な作製工程で形成することが可能であり、かつ良好な結晶品質を有する。
発光ダイオード(LED)層には13族−15族化合物半導体(III−V族化合物半導体)を用いることができる。LED層は、発光層を挟持する一対のクラッド層を含み、CAAC−OS基板との間にバッファ層を有することが好ましい。また、LED層は、第1の電極層及び第2の電極層によって間に挟持される。バッファ層は、CAAC−OS基板及び発光ダイオード層(クラッド層)において格子定数が異なる場合、格子不整合を緩和させる機能を有する膜である。バッファ層はLED層と同種の13族−15族化合物半導体を用いることができる。
本明細書で開示する発明の構成の一形態は、金属酸化物半導体基板上に発光ダイオード層が設けられ、金属酸化物半導体基板はc軸が金属酸化物半導体基板の表面に概略垂直である結晶部を含む発光デバイスである。
本明細書で開示する発明の構成の他の一形態は、上記構成において、金属酸化物半導体基板と発光ダイオード層との間にバッファ層を有する発光デバイスである。
本明細書で開示する発明の構成の他の一形態は、上記構成において、金属酸化物半導体基板は、基底基板上に設けられている発光デバイスである。
本明細書で開示する発明の構成の他の一形態は、上記構成において、発光ダイオード層は、順に積層する第1のクラッド層、発光層、及び第2のクラッド層を含み、第1のクラッド層、発光層、及び第2のクラッド層は13族−15族化合物半導体である発光デバイスである。
本明細書で開示する発明の構成の他の一形態は、上記構成において、発光ダイオード層は、金属酸化物半導体基板側から、順に積層する第1のクラッド層、発光層、及び第2のクラッド層を含み、第1のクラッド層は、n型13族−15族化合物半導体、発光層は13族−15族化合物半導体、第2のクラッド層はp型13族−15族化合物半導体である発光デバイスである。
本明細書で開示する発明の構成の他の一形態は、上記発光デバイスを用いる電子機器を提供するものである。
LED層が設けられるCAAC−OS基板は、比較的簡便な作製工程で形成することが可能であり、かつ良好な結晶品質を有する。
従って、生産性に優れた新規発光デバイスの提供することができる。
発光デバイスの一形態を説明する図。 発光デバイスの一形態を説明する図。 CAAC−OSの作製方法の一例を示すフロー図。 CAAC−OSの作製方法の一例を示す断面図。
実施の形態について、図面を用いて詳細に説明する。但し、以下の説明に限定されず、趣旨及びその範囲から逸脱することなくその形態及び詳細を様々に変更し得ることは当業者であれば容易に理解される。従って、以下に示す実施の形態の記載内容に限定して解釈されるものではない。なお、以下に説明する構成において、同一部分又は同様な機能を有する部分には同一の符号を異なる図面間で共通して用い、その繰り返しの説明は省略する。
なお、第1、第2、又は第3として付される序数詞は便宜上用いるものであり、工程順又は積層順を示すものではない。また、本明細書において発明を特定するための事項として固有の名称を示すものではない。
(実施の形態1)
本発明の一に係る発光デバイスについて、図1及び図2を用いて説明する。
図1は、発光デバイスの基板10であるCAAC−OS基板100上に、バッファ層102を介して、第1クラッド層104、発光層106、及び第2クラッド層108が順に積層されるLED層20が設けられた発光デバイスである。
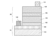
また、図2は、発光デバイスの基板10である基底基板110及びCAAC−OS基板100上に、バッファ層102を介して、第1クラッド層104、発光層106、及び第2クラッド層108が順に積層されるLED層20が設けられ、基底基板110上に第1の電極層120、第2クラッド層108上に第2の電極層121が設けられた発光デバイスである。
基板は、図1のようにCAAC−OS基板単層でもよいし、図2のように、サファイア基板、又はイットリア安定化ジルコニア(YSZ)基板などの基底基板110上にCAAC−OS基板100が積層された構造でもよい。
CAAC−OS基板100として、ガリウムを含むCAAC−OS、インジウム及びガリウムを含むCAAC−OS、又はインジウム、ガリウム、及び亜鉛を含むCAAC−OS等を用いることができる。
また、CAAC−OS基板100は、作製時に、700℃〜1500℃程度の高温における加熱処理を行う。該加熱処理により、インジウムや亜鉛などが基板外部へ蒸発(放出)してしまう場合があり、結果、形成されるCAAC−OS基板100は、ガリウムと比較して、インジウム、亜鉛の含有量が微量である場合がある。
LED層20に含まれる層には13族−15族化合物半導体を用いることができる。
バッファ層102は、CAAC−OS基板100及びLED層20(第1クラッド層104)において格子定数が異なる場合、格子不整合を緩和させる機能を有する膜である。バッファ層102はLED層20と同種の13族−15族化合物半導体を用いることができる。
13族−15族化合物半導体(III−V族化合物半導体)は13族元素と15族元素を組み合わせた半導体である。13族元素としてはアルミニウム、ガリウム、インジウムなど、15族元素としては窒素、リン、ヒ素、アンチモンなどを用いることができる。また、ボロン、タリウム、ビスマスもその13族−15族化合物半導体を構成する元素として用いることができる。また、窒素を用いた窒化ガリウム、窒化アルミニウム、窒化インジウム等は窒化物半導体ともいう。
本実施の形態では、13族−15族化合物半導体として窒化ガリウムを用いる。バッファ層102として窒化ガリウム膜、第1クラッド層104としてn型窒化ガリウム膜、発光層106として窒化ガリウム膜、第2クラッド層としてp型窒化ガリウム膜をそれぞれ用いる。
例えば、バッファ層102として窒化ガリウム膜、第1クラッド層104としてn型窒化ガリウム膜(シリコンを添加した窒化ガリウム膜)、発光層106とし窒化インジウムガリウム膜、第2クラッド層としてp型窒化ガリウム膜(マグネシウムを添加した窒化ガリウム膜)をそれぞれ用いることができる。また、第2クラッド層としてマグネシウムを添加した窒化アルミニウムガリウム膜を用いてもよい。
13族−15族化合物半導体膜は、有機金属化学的気相堆積(MOCVD)法、ハイドライド(hydride)気相成長(VPE)法や分子線エピタキシャル(MBE)法等の気相成長手段を用いて形成することができる。
また、図2においては、第1の電極層120は陰極、第2の電極層121は陽極として機能する。第1の電極層120、第2の電極層121としては、酸化物導電膜や金属膜を用いることができる。例えば、インジウム錫酸化物、酸化インジウムに酸化亜鉛を混合した導電材料、酸化インジウムに酸化シリコンを混合した導電材料、有機インジウム、有機スズ、酸化タングステンを含むインジウム酸化物、酸化タングステンを含むインジウム亜鉛酸化物、酸化チタンを含むインジウム酸化物、酸化チタンを含むインジウム錫酸化物、グラフェン、又はタングステン、モリブデン、ジルコニウム、ハフニウム、バナジウム、ニオブ、タンタル、クロム、コバルト、ニッケル、チタン、白金、アルミニウム、銅、銀等の金属、又はその合金、若しくはその金属窒化物から一つ、又は複数種を用いて形成することができる。
CAAC−OS基板100に用いることのできるCAAC−OSは、複数の結晶部を有し、その結晶粒界が不明確である。なお、CAAC−OS中の当該結晶部は、一辺が100nm未満の立方体内に収まる大きさであることが多い。また、透過型電子顕微鏡(TEM:Transmission Electron Microscope)による観察像では、CAAC−OSに含まれる結晶部と結晶部との境界は明確ではない。また、TEMによってCAAC−OSには粒界(グレインバウンダリーともいう。)は確認できない。そのため、CAAC−OSは、粒界に起因する電子移動度の低下が抑制される。
CAAC−OSは、例えば、複数の結晶部を有し、当該複数の結晶部においてc軸が被形成面の法線ベクトルまたは表面の法線ベクトルに平行な方向に揃っている場合がある。そのため、CAAC−OSは、例えば、X線回折(XRD:X−Ray Diffraction)装置を用い、out−of−plane法による分析を行うと、2θが31°近傍のピークが現れる場合がある。2θが31°近傍のピークは、InGaZnOの結晶であれば、(009)面に配向していることを示す。また、CAAC−OSは、例えば、2θが36°近傍のピークが現れる場合がある。2θが36°近傍のピークは、GaZnOの結晶であれば、(222)面に配向していることを示す。CAAC−OSは、好ましくは、2θが31°近傍にピークが現れ、2θが36°近傍にピークが現れない。
また、CAAC−OSは、例えば、異なる結晶部間で、それぞれa軸およびb軸の向きが揃っていない場合がある。例えば、InGaZnOの結晶を有するCAAC−OSであれば、XRD装置を用い、c軸に垂直な方向からX線を入射させるin−plane法による分析を行うと、2θが56°近傍のピークが現れる場合がある。2θが56°近傍のピークは、InGaZnOの結晶の(110)面からの回折ピークである。ここで、2θを56°近傍で固定し、表面の法線ベクトルを軸(φ軸)として試料を回転させて分析(φスキャン)を行うと、a軸およびb軸の向きが揃っている単結晶酸化物半導体の場合は6つの対称性のピークが現れるが、CAAC−OSの場合は明瞭なピークが現れない。
このように、CAAC−OSは、例えば、c軸配向し、a軸または/およびb軸はマクロに揃っていない場合がある。
CAAC−OS含まれる結晶部は、c軸がCAAC−OSの被形成面の法線ベクトルまたは表面の法線ベクトルに平行な方向に揃い、かつa−b面に垂直な方向から見て三角形状または六角形状の原子配列を有し、c軸に垂直な方向から見て金属原子が層状または金属原子と酸素原子とが層状に配列している。なお、異なる結晶部間で、それぞれa軸およびb軸の向きが異なっていてもよい。本明細書において、単に垂直と記載する場合、85°以上95°以下の範囲も含まれることとする。また、単に平行と記載する場合、−5°以上5°以下の範囲も含まれることとする。
CAAC−OSには複数の結晶部が含まれるが、CAAC−OSに含まれる結晶部のc軸は、それぞれCAAC−OSの被形成面の法線ベクトルまたは表面の法線ベクトルに平行な方向に揃うため、CAAC−OSの形状(被形成面の断面形状または表面の断面形状)によっては、結晶部のc軸は互いに異なる方向を向くことがある。なお、結晶部のc軸の方向は、CAAC−OSが形成されたときの被形成面の法線ベクトルまたは表面の法線ベクトルに平行な方向となる。結晶部は、成膜することにより、または成膜後に熱処理などの結晶化処理を行うことにより形成される。
なお、CAAC−OSにおいて、結晶部の分布が一様でなくてもよい。例えば、CAAC−OSの形成過程において、酸化物半導体膜の表面側から結晶成長させる場合、被形成面の近傍に対し表面の近傍では結晶部の占める割合が高くなることがある。
CAAC−OSに用いる酸化物半導体としては、酸化ガリウム、In−Ga系酸化物、In−Ga−Zn系酸化物(IGZOとも表記する)などを用いることができる。
なお、ここで、例えば、In−Ga−Zn系酸化物とは、InとGaとZnを主成分として有する酸化物という意味であり、InとGaとZnの比率は問わない。また、InとGaとZn以外の金属元素が入っていてもよい。
例えば、In:Ga:Zn=1:1:1(=1/3:1/3:1/3)、In:Ga:Zn=2:2:1(=2/5:2/5:1/5)、あるいはIn:Ga:Zn=3:1:2(=1/2:1/6:1/3)の原子数比のIn−Ga−Zn系酸化物やその組成の近傍の酸化物を用いることができる。
なお、例えば、In、Ga、Znの原子数比がIn:Ga:Zn=a:b:c(a+b+c=1)である酸化物の組成が、原子数比がIn:Ga:Zn=A:B:C(A+B+C=1)の酸化物の組成の近傍であるとは、a、b、cが、(a−A)+(b−B)+(c−C)≦rを満たすことをいい、rは、例えば、0.05とすればよい。他の酸化物でも同様である。
なお、酸化物半導体を構成する酸素の一部は窒素で置換されてもよい。
本明細書で開示する発明に係るCAAC−OS基板100は、スパッタリング法、MBE(Molecular Beam Epitaxy)法、CVD法、パルスレーザ堆積法、ALD(Atomic Layer Deposition)法等を用いて形成することができる。また、CAAC−OS基板100は、スパッタリングターゲット表面に対し、概略垂直に複数の基板表面がセットされた状態で成膜を行うスパッタ装置を用いて形成してもよい。また、作製方法として、成膜時に加熱しながら表面に概略垂直にc軸配向した結晶部を形成する方法や、成膜後に熱処理などの結晶化処理を行うことにより表面に概略垂直にc軸配向した結晶部を形成する方法、CAAC−OS膜上に成膜することにより表面に概略垂直にc軸配向した結晶部を有するCAAC−OS基板100を形成する方法などを用いることができる。
CAAC−OS基板100はCAAC−OS膜を成膜し、その後700℃〜1500℃程度の高温における加熱処理を行うことによって形成することもできる。該加熱処理は、窒素雰囲気下、又は窒素及びアンモニア雰囲気下で行うことができる。また、窒素雰囲気下、及び酸素雰囲気下両方において加熱処理を行ってもよい。
なお、加熱処理装置は電気炉、抵抗発熱体などの発熱体からの熱伝導または熱輻射によって、被処理物を加熱する装置を用いることができる。例えば、GRTA(Gas Rapid Thermal Anneal)装置、LRTA(Lamp Rapid Thermal Anneal)装置等のRTA(Rapid Thermal Anneal)装置を用いることができる。LRTA装置は、ハロゲンランプ、メタルハライドランプ、キセノンアークランプ、カーボンアークランプ、高圧ナトリウムランプ、高圧水銀ランプなどのランプから発する光(電磁波)の輻射により、被処理物を加熱する装置である。GRTA装置は、高温のガスを用いて加熱処理を行う装置である。高温のガスには、アルゴンなどの希ガス、または窒素のような、加熱処理によって被処理物と反応しない不活性気体が用いられる。
例えば、加熱処理として、高温に加熱した不活性ガス中に基板を入れ、数分間加熱した後、基板を不活性ガス中から出すGRTAを行ってもよい。
以上のように、CAAC−OS基板100は、比較的簡便な作製工程で形成することが可能であり、かつ良好な結晶品質を有する。
従って、生産性に優れた新規発光デバイスの提供することができる。
(実施の形態2)
本実施の形態では、実施の形態1に示すCAAC−OS基板100の作製方法の例について説明する。
以下に、CAAC−OS基板の作製方法について図3および図4を用いて説明する。
まずは、粉末を秤量する(図3、工程S101)。
ここでは、CAAC−OS基板の原料として、InO粉末、GaO粉末およびZnO粉末を用意する。なお、X、YおよびZは任意の正数であり、例えばXは1.5、Yは1.5、Zは1とすればよい。もちろん、上記の原料は一例であり、所望の化合物を得るために原料を適宜選択すればよい。本実施の形態では三種の原料を用いた例を示すが、これに限定されない。例えば、本実施の形態を四種以上の原料を用いた場合に適用しても構わないし、一種または二種の原料を用いた場合に適用しても構わない。
次に、InO粉末、GaO粉末およびZnO粉末を所定のmol数比で混合する。
所定のmol数比としては、例えば、InO粉末、GaO粉末およびZnO粉末が、2:2:1、8:4:3、3:1:1、1:1:1、4:2:3、1:1:2、3:1:4または3:1:2のmol数比とする。このようなmol数比を有する混合材料を用いることで、CAAC−OSを得やすくなる。なお、GaO粉末に代えて、MO粉末(MはAl、Ti、Y、Zr、La、Ce、NdまたはHf)を用いた場合も、InO粉末、MO粉末およびZnO粉末は、2:2:1、8:4:3、3:1:1、1:1:1、4:2:3、1:1:2、3:1:4または3:1:2のmol数比とすればよい。ただし、ZnO粉末は焼成時に揮発しやすいため、あらかじめ所定のmol数比よりも多い割合で混合しても構わない。
所定のmol数比で混合したInO粉末、GaO粉末およびZnO粉末に対し第1の焼成を行うことでIn−Ga−Zn−O化合物を得る(図3、工程S102)。
次に、前述の化合物を粉砕することでIn−Ga−Zn−O化合物粉末を得る(図3、工程S103)。
In−Ga−Zn−O化合物粉末は、c軸に垂直な方向から見て層状の結晶構造を多く含む。そのため、In−Ga−Zn−O化合物粉末は、a−b面に平行な表面を有する平板状の結晶粒を多く含む。
第1の焼成は、不活性雰囲気、酸化性雰囲気または減圧雰囲気で行い、温度は400℃以上1700℃以下、好ましくは900℃以上1500℃以下とする。第1の焼成の時間は、例えば3分以上24時間以下、好ましくは30分以上17時間以下、さらに好ましくは30分以上5時間以下で行えばよい。第1の焼成を前述の条件で行うことで、主たる反応以外の余分な反応を抑制でき、化合物粉末51a中に含まれる不純物濃度が少なくなり、後にCAAC−OSを得やすくなる。
また、第1の焼成は、温度または/および雰囲気を変えて、複数回行ってもよい。例えば、第1の雰囲気にて第1の温度で混合材料を保持した後、第2の雰囲気にて第2の温度で保持しても構わない。
該焼成は、窒素雰囲気下、又は窒素及びアンモニア雰囲気下で行うことができる。また、窒素雰囲気下、及び酸素雰囲気下両方において焼成を行ってもよい。
次に、図4(A)に示すように、上述したIn−Ga−Zn−O化合物粉末である化合物粉末51aを型50に入れて成形する(図3、工程S104)。なお、成形とは、型に均一に敷き詰めることをいう。例えば、型に化合物粉末を入れ、外部から振動を与えることで成形すればよい。または、型に化合物粉末を入れ、ローラーなどを用いて均一な厚さに成形すればよい。
平板状の結晶粒を多く含む化合物粉末51aを型50に敷き詰めて成形することで、結晶粒のa−b面と平行な表面が上または下を向いて並べられる。したがって、得られた化合物粉末を敷き詰めて成形することで、さらにc軸に垂直な方向から見て層状の結晶構造の割合を増加させることができる。
型50は、金属製または酸化物製の部材を用いればよく、矩形または円形の上面形状を有する。
次に、化合物粉末51aに対し第2の焼成を行う(図3、工程S105)。その後、第2の焼成が行われた化合物粉末51aに対し第1の加圧処理を行い(図3、工程S106)、CAAC−OS基板100aを得る(図4(B)参照。)。第2の焼成は第1の焼成と同様の条件および方法で行えばよい。第2の焼成を行うことで、化合物粉末51aの結晶性を高めることができる。
なお、第1の加圧処理は、化合物粉末51aを押し固めることができればよく、例えば、型50と同種の材料で設けられたおもりなどを用いて行えばよい。または、圧縮空気などを用いて高圧で押し固めてもよい。そのほか、公知の技術を用いて第1の加圧処理を行うことができる。なお、第1の加圧処理は、第2の焼成と同時に行っても構わない。
第1の加圧処理の後に平坦化処理を行ってもよい。平坦化処理は、化学機械研磨(CMP:Chemical Mechanical Polishing)処理などを用いればよい。
こうして得られたCAAC−OS基板100aは、高い割合でc軸が上面の法線ベクトルに平行である結晶領域を有する。
次に、得られたCAAC−OS基板100aの厚さを確認する(図3、工程S107)。CAAC−OS基板100aが所望の厚さである場合、工程を終了し、CAAC−OS基板100が得られる。
CAAC−OS基板100aが所望の厚さより薄い場合は、図4(C)に示すように、上述したIn−Ga−Zn−O化合物粉末である化合物粉末51bをCAAC−OS基板100aの上に入れて成形する(図3、工程S104)。以下は、CAAC−OS基板100aが所望の厚さより薄い場合について説明する。
まずは、化合物粉末51bおよびCAAC−OS基板100aに対し第3の焼成を行う(図3、工程S105)。その後、第3の焼成が行われた化合物粉末51bおよびCAAC−OS基板100aに対し第2の加圧処理を行い(図3、工程S106)、CAAC−OS基板100aよりも厚いCAAC−OS基板100bを得る(図4(D)参照。)。CAAC−OS基板100bは、CAAC−OS基板100aを種結晶として結晶成長させて得られるため、高い割合でc軸が上面の法線ベクトルに平行である結晶領域を有する。
第3の焼成を行うことで、化合物粉末51bおよびCAAC−OS基板100aの結晶性を高めることができる。第3の焼成は第1の焼成と同様の条件および方法で行えばよい。
第2の加圧処理は第1の加圧処理と同様の条件および方法で行えばよい。第2の加圧処理を行うことで、CAAC−OS基板100bは、CAAC−OS基板100aと比べて結晶の配向性が高まっていく。即ち、さらに高い割合でc軸が上面の法線ベクトルに平行である結晶領域を有するようになる。これは、加圧処理によって平板状の結晶粒のa−b面と平行な表面が上または下を向いて並べられるためである。なお、第2の加圧処理は、第3の焼成と同時に行っても構わない。
次に、CAAC−OS基板100bの厚さを確認する(図3、工程S107)。
以上に示したように、結晶の配向性を高めつつ徐々にCAAC−OSを厚くすることができる。
この化合物膜を厚くする工程をn回(nは自然数)繰り返すことで、所望の厚さ(t)、例えば0.1mm以上2mm以下、好ましくは0.3mm以上1.1mm以下のCAAC−OS基板100を得ることができる(図4(E)参照。)。
得られたCAAC−OS基板100に対し、第4の焼成を行ってもよい。第4の焼成を行うことで、CAAC−OS基板100の結晶性を高めることができる。第4の焼成は第1の焼成と同様の条件および方法で行えばよい。
また、得られたCAAC−OS基板100に対し、平坦化処理を行ってもよい。
上記CAAC−OS基板100を用いて実施の形態1において図1に示す発光デバイスを作製することができる。
本実施の形態は、他の実施の形態に記載した構成と適宜組み合わせて実施することが可能である。
10 基板
20 LED層
50 型
51a 化合物粉末
51b 化合物粉末
100 CAAC−OS基板
100a CAAC−OS基板
100b CAAC−OS基板
102 バッファ層
104 クラッド層
106 発光層
108 クラッド層
110 基底基板
120 電極層
121 電極層

Claims (8)

  1. 原料粉末に第1の焼成を行うことで化合物を形成し、
    前記化合物を粉砕することで化合物粉末を形成し、
    前記化合物粉末を型に敷き詰め第2の焼成及び加圧処理を行うことで金属酸化物半導体基板を形成する金属酸化物半導体基板の作製方法であって、
    前記金属酸化物半導体基板は複数の結晶部を有し、
    前記結晶部は、c軸が前記金属酸化物半導体基板の表面に概略垂直であることを特徴とする金属酸化物半導体基板の作製方法
  2. 請求項1において、
    前記金属酸化物半導体基板はガリウムを含む金属酸化物半導体基板の作製方法。
  3. 請求項1において、
    前記金属酸化物半導体基板はインジウム及びガリウムを含む金属酸化物半導体基板の作製方法。
  4. 請求項1において、
    前記金属酸化物半導体基板はインジウム、ガリウム、及び亜鉛を含む金属酸化物半導体基板の作製方法。
  5. 原料粉末に第1の焼成を行うことで化合物を形成し、
    前記化合物を粉砕することで化合物粉末を形成し、
    前記化合物粉末を型に敷き詰め第2の焼成及び加圧処理を行うことで金属酸化物半導体基板を形成し、
    前記金属酸化物半導体基板上に発光ダイオード層を形成する発光デバイスの作製方法であって、
    前記金属酸化物半導体基板は複数の結晶を有し、
    前記結晶は、c軸が前記金属酸化物半導体基板の表面に概略垂直であることを特徴とする発光デバイスの作製方法
  6. 請求項において、
    前記金属酸化物半導体基板はガリウムを含む発光デバイスの作製方法
  7. 請求項において、
    前記金属酸化物半導体基板はインジウム及びガリウムを含む発光デバイスの作製方法
  8. 請求項において、
    前記金属酸化物半導体基板はインジウム、ガリウム、及び亜鉛を含む発光デバイスの作製方法
JP2013113252A 2012-06-01 2013-05-29 金属酸化物半導体基板の作製方法及び発光デバイスの作製方法 Expired - Fee Related JP6177588B2 (ja)

Priority Applications (1)

Application Number Priority Date Filing Date Title
JP2013113252A JP6177588B2 (ja) 2012-06-01 2013-05-29 金属酸化物半導体基板の作製方法及び発光デバイスの作製方法

Applications Claiming Priority (3)

Application Number Priority Date Filing Date Title
JP2012126592 2012-06-01
JP2012126592 2012-06-01
JP2013113252A JP6177588B2 (ja) 2012-06-01 2013-05-29 金属酸化物半導体基板の作製方法及び発光デバイスの作製方法

Publications (3)

Publication Number Publication Date
JP2014007395A JP2014007395A (ja) 2014-01-16
JP2014007395A5 JP2014007395A5 (ja) 2016-06-09
JP6177588B2 true JP6177588B2 (ja) 2017-08-09

Family

ID=49669119

Family Applications (1)

Application Number Title Priority Date Filing Date
JP2013113252A Expired - Fee Related JP6177588B2 (ja) 2012-06-01 2013-05-29 金属酸化物半導体基板の作製方法及び発光デバイスの作製方法

Country Status (2)

Country Link
US (1) US8872174B2 (ja)
JP (1) JP6177588B2 (ja)

Families Citing this family (2)

* Cited by examiner, † Cited by third party
Publication number Priority date Publication date Assignee Title
US9856578B2 (en) 2013-09-18 2018-01-02 Solar-Tectic, Llc Methods of producing large grain or single crystal films
JP6736561B2 (ja) * 2015-08-21 2020-08-05 株式会社半導体エネルギー研究所 半導体装置、表示装置、及び電子機器

Family Cites Families (112)

* Cited by examiner, † Cited by third party
Publication number Priority date Publication date Assignee Title
US4243697A (en) * 1979-03-14 1981-01-06 The United States Of America As Represented By The Secretary Of The Air Force Self biased ferrite resonators
JPS60198861A (ja) 1984-03-23 1985-10-08 Fujitsu Ltd 薄膜トランジスタ
JPH0244256B2 (ja) 1987-01-28 1990-10-03 Kagaku Gijutsucho Mukizaishitsu Kenkyushocho Ingazn2o5deshimesarerurotsuhoshokeinosojokozoojusurukagobutsuoyobisonoseizoho
JPH0244260B2 (ja) 1987-02-24 1990-10-03 Kagaku Gijutsucho Mukizaishitsu Kenkyushocho Ingazn5o8deshimesarerurotsuhoshokeinosojokozoojusurukagobutsuoyobisonoseizoho
JPS63210023A (ja) 1987-02-24 1988-08-31 Natl Inst For Res In Inorg Mater InGaZn↓4O↓7で示される六方晶系の層状構造を有する化合物およびその製造法
JPH0244258B2 (ja) 1987-02-24 1990-10-03 Kagaku Gijutsucho Mukizaishitsu Kenkyushocho Ingazn3o6deshimesarerurotsuhoshokeinosojokozoojusurukagobutsuoyobisonoseizoho
JPH0244262B2 (ja) 1987-02-27 1990-10-03 Kagaku Gijutsucho Mukizaishitsu Kenkyushocho Ingazn6o9deshimesarerurotsuhoshokeinosojokozoojusurukagobutsuoyobisonoseizoho
JPH0244263B2 (ja) 1987-04-22 1990-10-03 Kagaku Gijutsucho Mukizaishitsu Kenkyushocho Ingazn7o10deshimesarerurotsuhoshokeinosojokozoojusurukagobutsuoyobisonoseizoho
JPH0563325A (ja) * 1991-09-05 1993-03-12 Hitachi Ltd 粒子分散セラミツク基板の製造方法
JPH05251705A (ja) 1992-03-04 1993-09-28 Fuji Xerox Co Ltd 薄膜トランジスタ
US5679152A (en) 1994-01-27 1997-10-21 Advanced Technology Materials, Inc. Method of making a single crystals Ga*N article
JP3479375B2 (ja) 1995-03-27 2003-12-15 科学技術振興事業団 亜酸化銅等の金属酸化物半導体による薄膜トランジスタとpn接合を形成した金属酸化物半導体装置およびそれらの製造方法
JP2795226B2 (ja) * 1995-07-27 1998-09-10 日本電気株式会社 半導体発光素子及びその製造方法
KR100394896B1 (ko) 1995-08-03 2003-11-28 코닌클리케 필립스 일렉트로닉스 엔.브이. 투명스위칭소자를포함하는반도체장치
JP3625598B2 (ja) 1995-12-30 2005-03-02 三星電子株式会社 液晶表示装置の製造方法
JP4170454B2 (ja) 1998-07-24 2008-10-22 Hoya株式会社 透明導電性酸化物薄膜を有する物品及びその製造方法
JP2000150861A (ja) 1998-11-16 2000-05-30 Tdk Corp 酸化物薄膜
JP3276930B2 (ja) 1998-11-17 2002-04-22 科学技術振興事業団 トランジスタ及び半導体装置
TW460731B (en) 1999-09-03 2001-10-21 Ind Tech Res Inst Electrode structure and production method of wide viewing angle LCD
JP4089858B2 (ja) 2000-09-01 2008-05-28 国立大学法人東北大学 半導体デバイス
KR20020038482A (ko) 2000-11-15 2002-05-23 모리시타 요이찌 박막 트랜지스터 어레이, 그 제조방법 및 그것을 이용한표시패널
JP3997731B2 (ja) 2001-03-19 2007-10-24 富士ゼロックス株式会社 基材上に結晶性半導体薄膜を形成する方法
JP2002289859A (ja) 2001-03-23 2002-10-04 Minolta Co Ltd 薄膜トランジスタ
JP3925839B2 (ja) 2001-09-10 2007-06-06 シャープ株式会社 半導体記憶装置およびその試験方法
JP4090716B2 (ja) 2001-09-10 2008-05-28 雅司 川崎 薄膜トランジスタおよびマトリクス表示装置
WO2003040441A1 (fr) 2001-11-05 2003-05-15 Japan Science And Technology Agency Film mince monocristallin homologue a super-reseau naturel, procede de preparation et dispositif dans lequel est utilise ledit film mince monocristallin
JP4164562B2 (ja) 2002-09-11 2008-10-15 独立行政法人科学技術振興機構 ホモロガス薄膜を活性層として用いる透明薄膜電界効果型トランジスタ
JP4083486B2 (ja) 2002-02-21 2008-04-30 独立行政法人科学技術振興機構 LnCuO(S,Se,Te)単結晶薄膜の製造方法
US7049190B2 (en) 2002-03-15 2006-05-23 Sanyo Electric Co., Ltd. Method for forming ZnO film, method for forming ZnO semiconductor layer, method for fabricating semiconductor device, and semiconductor device
JP3933591B2 (ja) 2002-03-26 2007-06-20 淳二 城戸 有機エレクトロルミネッセント素子
US7339187B2 (en) 2002-05-21 2008-03-04 State Of Oregon Acting By And Through The Oregon State Board Of Higher Education On Behalf Of Oregon State University Transistor structures
JP2004022625A (ja) 2002-06-13 2004-01-22 Murata Mfg Co Ltd 半導体デバイス及び該半導体デバイスの製造方法
US7105868B2 (en) 2002-06-24 2006-09-12 Cermet, Inc. High-electron mobility transistor with zinc oxide
JP3772816B2 (ja) 2002-09-24 2006-05-10 昭和電工株式会社 窒化ガリウム結晶基板、その製造方法、窒化ガリウム系半導体素子および発光ダイオード
US7067843B2 (en) 2002-10-11 2006-06-27 E. I. Du Pont De Nemours And Company Transparent oxide semiconductor thin film transistors
JP4036073B2 (ja) * 2002-10-21 2008-01-23 住友金属工業株式会社 薄膜付き石英基板
JP4166105B2 (ja) 2003-03-06 2008-10-15 シャープ株式会社 半導体装置およびその製造方法
JP2004273732A (ja) 2003-03-07 2004-09-30 Sharp Corp アクティブマトリクス基板およびその製造方法
JP4108633B2 (ja) 2003-06-20 2008-06-25 シャープ株式会社 薄膜トランジスタおよびその製造方法ならびに電子デバイス
US7262463B2 (en) 2003-07-25 2007-08-28 Hewlett-Packard Development Company, L.P. Transistor including a deposited channel region having a doped portion
US7282782B2 (en) 2004-03-12 2007-10-16 Hewlett-Packard Development Company, L.P. Combined binary oxide semiconductor device
US7297977B2 (en) 2004-03-12 2007-11-20 Hewlett-Packard Development Company, L.P. Semiconductor device
CN1998087B (zh) 2004-03-12 2014-12-31 独立行政法人科学技术振兴机构 非晶形氧化物和薄膜晶体管
US7145174B2 (en) 2004-03-12 2006-12-05 Hewlett-Packard Development Company, Lp. Semiconductor device
US7211825B2 (en) 2004-06-14 2007-05-01 Yi-Chi Shih Indium oxide-based thin film transistors and circuits
JP2006100760A (ja) 2004-09-02 2006-04-13 Casio Comput Co Ltd 薄膜トランジスタおよびその製造方法
US7285501B2 (en) 2004-09-17 2007-10-23 Hewlett-Packard Development Company, L.P. Method of forming a solution processed device
US7298084B2 (en) 2004-11-02 2007-11-20 3M Innovative Properties Company Methods and displays utilizing integrated zinc oxide row and column drivers in conjunction with organic light emitting diodes
RU2402106C2 (ru) 2004-11-10 2010-10-20 Кэнон Кабусики Кайся Аморфный оксид и полевой транзистор с его использованием
US7791072B2 (en) 2004-11-10 2010-09-07 Canon Kabushiki Kaisha Display
JP5118812B2 (ja) 2004-11-10 2013-01-16 キヤノン株式会社 電界効果型トランジスタ
US7829444B2 (en) 2004-11-10 2010-11-09 Canon Kabushiki Kaisha Field effect transistor manufacturing method
KR100953596B1 (ko) 2004-11-10 2010-04-21 캐논 가부시끼가이샤 발광장치
US7863611B2 (en) 2004-11-10 2011-01-04 Canon Kabushiki Kaisha Integrated circuits utilizing amorphous oxides
US7453065B2 (en) 2004-11-10 2008-11-18 Canon Kabushiki Kaisha Sensor and image pickup device
US7579224B2 (en) 2005-01-21 2009-08-25 Semiconductor Energy Laboratory Co., Ltd. Method for manufacturing a thin film semiconductor device
TWI472037B (zh) 2005-01-28 2015-02-01 半導體能源研究所股份有限公司 半導體裝置,電子裝置,和半導體裝置的製造方法
US7608531B2 (en) 2005-01-28 2009-10-27 Semiconductor Energy Laboratory Co., Ltd. Semiconductor device, electronic device, and method of manufacturing semiconductor device
US7858451B2 (en) 2005-02-03 2010-12-28 Semiconductor Energy Laboratory Co., Ltd. Electronic device, semiconductor device and manufacturing method thereof
US7948171B2 (en) 2005-02-18 2011-05-24 Semiconductor Energy Laboratory Co., Ltd. Light emitting device
US20060197092A1 (en) 2005-03-03 2006-09-07 Randy Hoffman System and method for forming conductive material on a substrate
US8681077B2 (en) 2005-03-18 2014-03-25 Semiconductor Energy Laboratory Co., Ltd. Semiconductor device, and display device, driving method and electronic apparatus thereof
US7544967B2 (en) 2005-03-28 2009-06-09 Massachusetts Institute Of Technology Low voltage flexible organic/transparent transistor for selective gas sensing, photodetecting and CMOS device applications
US7645478B2 (en) 2005-03-31 2010-01-12 3M Innovative Properties Company Methods of making displays
US8300031B2 (en) 2005-04-20 2012-10-30 Semiconductor Energy Laboratory Co., Ltd. Semiconductor device comprising transistor having gate and drain connected through a current-voltage conversion element
JP2006344849A (ja) 2005-06-10 2006-12-21 Casio Comput Co Ltd 薄膜トランジスタ
US7402506B2 (en) 2005-06-16 2008-07-22 Eastman Kodak Company Methods of making thin film transistors comprising zinc-oxide-based semiconductor materials and transistors made thereby
US7691666B2 (en) 2005-06-16 2010-04-06 Eastman Kodak Company Methods of making thin film transistors comprising zinc-oxide-based semiconductor materials and transistors made thereby
US7507618B2 (en) 2005-06-27 2009-03-24 3M Innovative Properties Company Method for making electronic devices using metal oxide nanoparticles
KR100711890B1 (ko) 2005-07-28 2007-04-25 삼성에스디아이 주식회사 유기 발광표시장치 및 그의 제조방법
JP2007059128A (ja) 2005-08-23 2007-03-08 Canon Inc 有機el表示装置およびその製造方法
JP2007073705A (ja) 2005-09-06 2007-03-22 Canon Inc 酸化物半導体チャネル薄膜トランジスタおよびその製造方法
JP4280736B2 (ja) 2005-09-06 2009-06-17 キヤノン株式会社 半導体素子
JP4850457B2 (ja) 2005-09-06 2012-01-11 キヤノン株式会社 薄膜トランジスタ及び薄膜ダイオード
JP5116225B2 (ja) 2005-09-06 2013-01-09 キヤノン株式会社 酸化物半導体デバイスの製造方法
EP1770788A3 (en) 2005-09-29 2011-09-21 Semiconductor Energy Laboratory Co., Ltd. Semiconductor device having oxide semiconductor layer and manufacturing method thereof
JP5037808B2 (ja) 2005-10-20 2012-10-03 キヤノン株式会社 アモルファス酸化物を用いた電界効果型トランジスタ、及び該トランジスタを用いた表示装置
KR101112652B1 (ko) 2005-11-15 2012-02-16 가부시키가이샤 한도오따이 에네루기 켄큐쇼 액티브 매트릭스 디스플레이 장치 및 텔레비전 수신기
US20070134833A1 (en) * 2005-12-14 2007-06-14 Toyoda Gosei Co., Ltd. Semiconductor element and method of making same
TWI292281B (en) 2005-12-29 2008-01-01 Ind Tech Res Inst Pixel structure of active organic light emitting diode and method of fabricating the same
US7867636B2 (en) 2006-01-11 2011-01-11 Murata Manufacturing Co., Ltd. Transparent conductive film and method for manufacturing the same
JP4977478B2 (ja) 2006-01-21 2012-07-18 三星電子株式会社 ZnOフィルム及びこれを用いたTFTの製造方法
US7576394B2 (en) 2006-02-02 2009-08-18 Kochi Industrial Promotion Center Thin film transistor including low resistance conductive thin films and manufacturing method thereof
US7977169B2 (en) 2006-02-15 2011-07-12 Kochi Industrial Promotion Center Semiconductor device including active layer made of zinc oxide with controlled orientations and manufacturing method thereof
KR20070101595A (ko) 2006-04-11 2007-10-17 삼성전자주식회사 ZnO TFT
JP2007305975A (ja) * 2006-04-13 2007-11-22 National Institute Of Advanced Industrial & Technology Iii族酸化物半導体を含む半導体素子
US20070252928A1 (en) 2006-04-28 2007-11-01 Toppan Printing Co., Ltd. Structure, transmission type liquid crystal display, reflection type display and manufacturing method thereof
JP5028033B2 (ja) 2006-06-13 2012-09-19 キヤノン株式会社 酸化物半導体膜のドライエッチング方法
JP4999400B2 (ja) 2006-08-09 2012-08-15 キヤノン株式会社 酸化物半導体膜のドライエッチング方法
JP4609797B2 (ja) 2006-08-09 2011-01-12 Nec液晶テクノロジー株式会社 薄膜デバイス及びその製造方法
JP4332545B2 (ja) 2006-09-15 2009-09-16 キヤノン株式会社 電界効果型トランジスタ及びその製造方法
JP4274219B2 (ja) 2006-09-27 2009-06-03 セイコーエプソン株式会社 電子デバイス、有機エレクトロルミネッセンス装置、有機薄膜半導体装置
JP5164357B2 (ja) 2006-09-27 2013-03-21 キヤノン株式会社 半導体装置及び半導体装置の製造方法
US7622371B2 (en) 2006-10-10 2009-11-24 Hewlett-Packard Development Company, L.P. Fused nanocrystal thin film semiconductor and method
US7772021B2 (en) 2006-11-29 2010-08-10 Samsung Electronics Co., Ltd. Flat panel displays comprising a thin-film transistor having a semiconductive oxide in its channel and methods of fabricating the same for use in flat panel displays
JP2008140684A (ja) 2006-12-04 2008-06-19 Toppan Printing Co Ltd カラーelディスプレイおよびその製造方法
KR101303578B1 (ko) 2007-01-05 2013-09-09 삼성전자주식회사 박막 식각 방법
US8207063B2 (en) 2007-01-26 2012-06-26 Eastman Kodak Company Process for atomic layer deposition
KR100851215B1 (ko) 2007-03-14 2008-08-07 삼성에스디아이 주식회사 박막 트랜지스터 및 이를 이용한 유기 전계 발광표시장치
US7795613B2 (en) 2007-04-17 2010-09-14 Toppan Printing Co., Ltd. Structure with transistor
KR101325053B1 (ko) 2007-04-18 2013-11-05 삼성디스플레이 주식회사 박막 트랜지스터 기판 및 이의 제조 방법
KR20080094300A (ko) 2007-04-19 2008-10-23 삼성전자주식회사 박막 트랜지스터 및 그 제조 방법과 박막 트랜지스터를포함하는 평판 디스플레이
KR101334181B1 (ko) 2007-04-20 2013-11-28 삼성전자주식회사 선택적으로 결정화된 채널층을 갖는 박막 트랜지스터 및 그제조 방법
US8274078B2 (en) 2007-04-25 2012-09-25 Canon Kabushiki Kaisha Metal oxynitride semiconductor containing zinc
KR101345376B1 (ko) 2007-05-29 2013-12-24 삼성전자주식회사 ZnO 계 박막 트랜지스터 및 그 제조방법
JP5215158B2 (ja) 2007-12-17 2013-06-19 富士フイルム株式会社 無機結晶性配向膜及びその製造方法、半導体デバイス
JP4623179B2 (ja) 2008-09-18 2011-02-02 ソニー株式会社 薄膜トランジスタおよびその製造方法
JP5451280B2 (ja) 2008-10-09 2014-03-26 キヤノン株式会社 ウルツ鉱型結晶成長用基板およびその製造方法ならびに半導体装置
JP5529420B2 (ja) * 2009-02-09 2014-06-25 住友電気工業株式会社 エピタキシャルウエハ、窒化ガリウム系半導体デバイスを作製する方法、窒化ガリウム系半導体デバイス、及び酸化ガリウムウエハ
EP2416387A4 (en) * 2009-04-02 2012-12-12 Panasonic Corp NITRID SEMICONDUCTOR ELEMENT AND MANUFACTURING METHOD THEREFOR
KR101883802B1 (ko) * 2009-12-28 2018-07-31 가부시키가이샤 한도오따이 에네루기 켄큐쇼 반도체 장치의 제작 방법
WO2012035975A1 (en) * 2010-09-15 2012-03-22 Semiconductor Energy Laboratory Co., Ltd. Liquid crystal display device and manufacturing method thereof

Also Published As

Publication number Publication date
US20130320331A1 (en) 2013-12-05
US8872174B2 (en) 2014-10-28
JP2014007395A (ja) 2014-01-16

Similar Documents

Publication Publication Date Title
JP5770905B1 (ja) 窒化ガリウム自立基板、発光素子及びそれらの製造方法
TWI505498B (zh) A film forming method, a vacuum processing apparatus, a manufacturing method of a semiconductor light emitting element, a semiconductor light emitting element, a lighting device
CN105830237A (zh) 发光元件用复合基板及其制造方法
JPWO2011067893A1 (ja) 基板およびその製造方法
TW201133557A (en) Method for manufacturing aluminum-containing nitride intermediate layer, method for manufacturing nitride layer, and method for manufacturing nitride semiconductor element
CN107208312A (zh) 自立基板、功能元件及其制造方法
US20220209062A1 (en) Composite Substrate, Light Emitting Element, and Methods for Manufacturing Composite Substrate and Light Emitting Element
JPWO2014192911A1 (ja) 窒化ガリウム自立基板、発光素子及びそれらの製造方法
JPWO2014091968A1 (ja) 単結晶製造方法、及び当該方法によって製造される単結晶
JP6502193B2 (ja) シリコン微結晶複合体膜、熱電材料及びそれらの製造方法
JP6177588B2 (ja) 金属酸化物半導体基板の作製方法及び発光デバイスの作製方法
TWI531083B (zh) 發光裝置及其製造方法
WO2017145802A1 (ja) 多結晶窒化ガリウム自立基板及びそれを用いた発光素子
CN108779578A (zh) 包含多晶第13族元素氮化物的自立基板和使用该自立基板的发光元件
JP6017243B2 (ja) ZnO系半導体素子、及び、ZnO系半導体素子の製造方法
TWI270220B (en) Group III nitride semiconductor light emitting device
WO2016051890A1 (ja) 窒化ガリウム自立基板、発光素子及びそれらの製造方法
CN111052414B (zh) 13族元素氮化物层、自立基板以及功能元件
CN111052415B (zh) 13族元素氮化物层、自立基板以及功能元件
CN1823400A (zh) 氮化物半导体器件及其制备方法
JP6686183B2 (ja) エピタキシャル成長用基板、エピタキシャル成長用基板の製造方法、エピタキシャル基板及び半導体素子
JP6339069B2 (ja) 窒化ガリウム結晶の育成方法、複合基板、発光素子の製造方法および結晶育成装置
JP6155118B2 (ja) p型ZnO系半導体層の製造方法、ZnO系半導体素子の製造方法、及び、n型ZnO系半導体積層構造
CN111733456B (zh) 用于AlN单晶生长的复合籽晶及其制备方法
WO2009128434A1 (ja) AlN結晶の成長方法およびAlN積層体

Legal Events

Date Code Title Description
A521 Request for written amendment filed

Free format text: JAPANESE INTERMEDIATE CODE: A523

Effective date: 20160419

A621 Written request for application examination

Free format text: JAPANESE INTERMEDIATE CODE: A621

Effective date: 20160419

A977 Report on retrieval

Free format text: JAPANESE INTERMEDIATE CODE: A971007

Effective date: 20170123

A131 Notification of reasons for refusal

Free format text: JAPANESE INTERMEDIATE CODE: A131

Effective date: 20170228

A521 Request for written amendment filed

Free format text: JAPANESE INTERMEDIATE CODE: A523

Effective date: 20170412

TRDD Decision of grant or rejection written
A01 Written decision to grant a patent or to grant a registration (utility model)

Free format text: JAPANESE INTERMEDIATE CODE: A01

Effective date: 20170704

A61 First payment of annual fees (during grant procedure)

Free format text: JAPANESE INTERMEDIATE CODE: A61

Effective date: 20170712

R150 Certificate of patent or registration of utility model

Ref document number: 6177588

Country of ref document: JP

Free format text: JAPANESE INTERMEDIATE CODE: R150

R250 Receipt of annual fees

Free format text: JAPANESE INTERMEDIATE CODE: R250

R250 Receipt of annual fees

Free format text: JAPANESE INTERMEDIATE CODE: R250

R250 Receipt of annual fees

Free format text: JAPANESE INTERMEDIATE CODE: R250

LAPS Cancellation because of no payment of annual fees