JP6016945B2 - 音響発生器、音響発生装置および電子機器 - Google Patents

音響発生器、音響発生装置および電子機器 Download PDF

Info

Publication number
JP6016945B2
JP6016945B2 JP2014551908A JP2014551908A JP6016945B2 JP 6016945 B2 JP6016945 B2 JP 6016945B2 JP 2014551908 A JP2014551908 A JP 2014551908A JP 2014551908 A JP2014551908 A JP 2014551908A JP 6016945 B2 JP6016945 B2 JP 6016945B2
Authority
JP
Japan
Prior art keywords
exciter
sound generator
sound
resin layer
wiring member
Prior art date
Legal status (The legal status is an assumption and is not a legal conclusion. Google has not performed a legal analysis and makes no representation as to the accuracy of the status listed.)
Expired - Fee Related
Application number
JP2014551908A
Other languages
English (en)
Other versions
JPWO2014091785A1 (ja
Inventor
中村 成信
成信 中村
Current Assignee (The listed assignees may be inaccurate. Google has not performed a legal analysis and makes no representation or warranty as to the accuracy of the list.)
Kyocera Corp
Original Assignee
Kyocera Corp
Priority date (The priority date is an assumption and is not a legal conclusion. Google has not performed a legal analysis and makes no representation as to the accuracy of the date listed.)
Filing date
Publication date
Application filed by Kyocera Corp filed Critical Kyocera Corp
Application granted granted Critical
Publication of JP6016945B2 publication Critical patent/JP6016945B2/ja
Publication of JPWO2014091785A1 publication Critical patent/JPWO2014091785A1/ja
Expired - Fee Related legal-status Critical Current
Anticipated expiration legal-status Critical

Links

Images

Classifications

    • HELECTRICITY
    • H04ELECTRIC COMMUNICATION TECHNIQUE
    • H04BTRANSMISSION
    • H04B1/00Details of transmission systems, not covered by a single one of groups H04B3/00 - H04B13/00; Details of transmission systems not characterised by the medium used for transmission
    • H04B1/38Transceivers, i.e. devices in which transmitter and receiver form a structural unit and in which at least one part is used for functions of transmitting and receiving
    • HELECTRICITY
    • H04ELECTRIC COMMUNICATION TECHNIQUE
    • H04RLOUDSPEAKERS, MICROPHONES, GRAMOPHONE PICK-UPS OR LIKE ACOUSTIC ELECTROMECHANICAL TRANSDUCERS; ELECTRIC HEARING AIDS; PUBLIC ADDRESS SYSTEMS
    • H04R17/00Piezoelectric transducers; Electrostrictive transducers
    • HELECTRICITY
    • H04ELECTRIC COMMUNICATION TECHNIQUE
    • H04RLOUDSPEAKERS, MICROPHONES, GRAMOPHONE PICK-UPS OR LIKE ACOUSTIC ELECTROMECHANICAL TRANSDUCERS; ELECTRIC HEARING AIDS; PUBLIC ADDRESS SYSTEMS
    • H04R1/00Details of transducers, loudspeakers or microphones
    • H04R1/06Arranging circuit leads; Relieving strain on circuit leads

Landscapes

  • Engineering & Computer Science (AREA)
  • Signal Processing (AREA)
  • Physics & Mathematics (AREA)
  • Acoustics & Sound (AREA)
  • Computer Networks & Wireless Communication (AREA)
  • Piezo-Electric Transducers For Audible Bands (AREA)
  • Diaphragms For Electromechanical Transducers (AREA)

Description

開示の実施形態は、音響発生器、音響発生装置および電子機器に関する。
従来、アクチュエータを用いた音響発生器が知られている。たとえば、特許文献1には、振動板に取り付けた圧電素子に電圧を印加して振動させることによって、振動板を振動させて音響を出力する音響発生器が記載されている。
特許文献1に記載の技術では、圧電素子にリード線がハンダ付けされており、このリード線を介して圧電素子に電圧を印加することとしている。
特開2004−23436号公報
しかしながら、特許文献1に記載の技術には、振動板の振動によってリード線が振動し、このリード線の振動により、音圧の周波数特性においてピーク(周囲よりも音圧が高い部分)およびディップ(周囲よりも音圧が低い部分)が生じ易くなり、良質な音質を得難くなるという問題があった。
実施形態の一態様は、上記に鑑みてなされたものであって、良好な音圧の周波数特性を得ることができる音響発生器、音響発生装置および電子機器を提供することを目的とする。
実施形態の一態様に係る音響発生器は、励振器と、振動体と、枠体と、樹脂層と、配線部材とを少なくとも有する。励振器は、電気信号により振動する。扁平な振動体は、励振器が取り付けられており、励振器の振動によって励振器とともに振動する。枠体は、振動体の外周部に設けられた励振器の高さよりも高い高さの枠体である。樹脂層は、励振器および励振器が取り付けられた振動体の表面に被せるように配置されて、振動体および励振器と一体化される。配線部材は、励振器に接続されるとともに前記枠体に固定され、励振器に電気信号を入力する。また、配線部材は、励振器への接続部および接続部から延びる少なくとも一部が樹脂層の内部に位置する。さらに配線部材は、枠体への固定部と同じ高さまたは枠体への固定部よりも低い高さの位置であって、樹脂層の内部および外部のそれぞれの位置に屈曲部または湾曲部を有している
実施形態の一態様によれば、良好な音圧の周波数特性を得ることができる。
図1Aは、実施形態に係る音響発生器の構成を示す模式的な平面図である。 図1Bは、図1AのA−A’線断面図である。 図2は、図1BのB−B’線断面図である。 図3Aは、リード線の変形例を示す模式的な断面図(その1)である。 図3Bは、リード線の変形例を示す模式的な断面図(その2)である。 図3Cは、リード線の変形例を示す模式的な断面図(その3)である。 図4は、リード線の変形例を示す模式的な平面図(その1)である。 図5は、リード線の変形例を示す模式的な平面図(その2)である。 図6は、リード線の変形例を示す模式的な平面図(その3)である。 図7Aは、枠体およびリード線の変形例を示す模式的な平面図である。 図7Bは、図7AのC−C’線断面図である。 図8Aは、実施形態に係る音響発生装置の構成を示す図である。 図8Bは、実施形態に係る電子機器の構成を示す図である。 図9Aは、配線部材としてフレキシブル配線を用いた場合の変形例を示す模式的な平面図である。 図9Bは、図9AのD−D’線断面図である。
以下、添付図面を参照して、本願の開示する音響発生器、音響発生装置および電子機器の実施形態を詳細に説明する。なお、以下に示す実施形態によりこの発明が限定されるものではない。
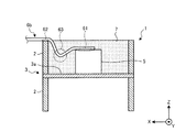
まず、実施形態に係る音響発生器1の構成について、図1Aおよび図1Bを用いて説明する。図1Aは、実施形態に係る音響発生器1の構成を示す模式的な平面図であり、図1Bは、図1AのA−A’線断面図である。
なお、説明を分かりやすくするために、図1Aおよび図1Bには、鉛直上向きを正方向とし、鉛直下向きを負方向とするZ軸を含む3次元の直交座標系を図示している。かかる直交座標系は、後述の説明に用いる他の図面でも示す場合がある。また、図1Aにおいては、樹脂層7の図示を省略している。
また、同じく説明を分かりやすくするために、図1Bは、音響発生器1を厚み方向(Z軸方向)に大きく誇張して示している。
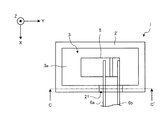
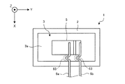
図1Aに示すように、音響発生器1は、枠体2と、振動板3と、圧電素子5と、リード線6a、6bとを備える。なお、図1Aに示すように、以下の説明では、圧電素子5が1個である場合を例示するが、圧電素子5の個数を限定するものではない。
枠体2は、矩形の枠状の同じ形状を有する2枚の枠部材によって構成されており、振動板3の周縁部を挟み込んで振動板3を支持する。振動板3は、板状やフィルム状などの扁平な形状を有しており、その周縁部が枠体2に挟まれて固定されている。すなわち、振動板3は、枠体2の枠内に張った状態で枠体2に支持されている。
なお、振動板3のうち枠体2よりも内側に位置する部分、すなわち、振動板3のうち枠体2に挟まれておらず自由に振動することができる部分を振動体3aとする。したがって、振動体3aは、枠体2の枠内において略矩形状をなす部分である。
また、振動板3は、樹脂や金属等の種々の材料を用いて形成することができる。例えば、厚さ10〜200μmのポリエチレン、ポリイミド等の樹脂フィルムで振動板3を構成することができる。
枠体2の厚みや材質などは、特に限定されるものではない。金属や樹脂など種々の材料を用いて枠体2を形成することができる。例えば、機械的強度および耐食性に優れるという理由から、厚さ100〜1000μmのステンレス製のものなどを枠体2として好適に用いることができる。
なお、図1Aには、その内側の領域の形状が略矩形状である枠体2を示しているが、平行四辺形、台形および正n角形といった多角形であってもよい。本実施形態では、図1Aに示すように、略矩形状である例を示している。
圧電素子5は、振動体3aの表面に貼り付けられるなどして設けられ、電圧の印加を受けて振動することによって振動体3aを励振する励振器である。
かかる圧電素子5は、図1Bに示すように、たとえば、4層のセラミックスからなる圧電体層5a、5b、5c、5dと、3層の内部電極層5eが交互に積層された積層体と、かかる積層体の上面および下面に形成された表面電極層5f、5gと、内部電極層5eが露出した側面に形成された外部電極5h、5jとを備える。
なお、圧電素子5は板状であり、上面側および下面側の主面が長方形状または正方形状といった多角形をなしている。また、圧電体層5a、5b、5c、5dは、図1Bに矢印で示すように分極されている。すなわち、ある瞬間に加えられる電界の向きに対する分極の向きが厚み方向(図のZ軸方向)における一方側と他方側とで逆転するように分極されている。
リード線6a、6bは、配線部材の一例であり、外部電極5h、5jにそれぞれ接続される。かかるリード線6a、6bを介して圧電素子5に電圧が印加されると、たとえば、ある瞬間において、振動体3aに接着された側の圧電体層5c、5dは縮み、圧電素子5の上面側の圧電体層5a、5bは延びるように変形する。よって、圧電素子5に交流信号を与えることにより、圧電素子5が屈曲振動し、振動体3aに屈曲振動を与えることができる。
また、圧電素子5は、その主面が、振動体3aの主面と、エポキシ系樹脂等の接着剤により接合されている。
なお、圧電体層5a、5b、5c、5dを構成する材料としては、PZT(lead zirconate titanate)、Bi層状化合物、タングステンブロンズ構造化合物等の非鉛系圧電体材料等、従来から用いられている圧電セラミックスを用いることができる。
また、内部電極層5eの材料としては、種々の金属材料を用いることができる。例えば、銀とパラジウムとからなる金属成分と、圧電体層5a、5b、5c、5dを構成するセラミック成分とを含有した場合、圧電体層5a、5b、5c、5dと内部電極層5eとの熱膨張差による応力を低減することができるので、積層不良のない圧電素子5を得ることができる。
また、図1Bに示すように、音響発生器1は、枠体2の枠内において圧電素子5および振動板3の表面に被せるように配置されて、振動板3および圧電素子5と一体化された樹脂層7をさらに備える。
樹脂層7は、たとえば、アクリル系樹脂を用いてヤング率が1MPa〜1GPaの範囲程度となるように形成されることが好ましい。かかる樹脂層7によって圧電素子5を埋設することで、適度なダンピング効果を誘発させることができるので、共振現象を抑制して、音圧の周波数特性におけるピークやディップを小さく抑えることができる。
なお、図1Bには、樹脂層7が、枠体2と同じ高さとなるように形成された状態を示しているが、圧電素子5が埋設されていればよく、たとえば、樹脂層7が枠体2の高さよりも高くなるように形成されてもよい。
また、図1Bでは、圧電素子5として、バイモルフ型の積層型圧電素子を例に挙げたが、これに限られるものではない。例えば、伸縮する圧電素子を振動体3aに貼り付けたユニモルフ型であっても構わない。
ところで、従来の音響発生器においては、振動板の振動によってリード線が振動し、このリード線の振動により、音圧の周波数特性においてピーク(周囲よりも音圧が高い部分)およびディップ(周囲よりも音圧が低い部分)が生じ易くなり、良質な音質を得難くなるという問題があった。
そこで、本実施形態では、リード線6a、6bの少なくとも一部を樹脂層7に埋設することにより、リード線6a、6bの振動を抑制することとした。これにより、リード線6a、6bの振動に起因する、音圧の周波数特性におけるピークやディップのレベルを小さくすることができる。
たとえば、リード線6a、6bの圧電素子5との接続部を樹脂層7で覆うことにより、リード線6a、6bの振動が圧電素子5に伝わりにくくなるため、音圧の周波数特性におけるピークやディップのレベルをさらに小さくすることができる。
リード線6a、6bとしては、複数の導線を撚り合わせた撚り線を用いることができる。撚り線は、単線と比較して柔軟性が高いため、リード線6a、6bとして撚り線を用いることで、単線を用いた場合と比較して振動による断線を生じにくくすることができる。なお、リード線6a、6bは、必ずしも撚り線であることを要しない。
さらに、本実施形態では、リード線6a、6bにあそびを設けることとした。これにより、リード線6a、6bの振動があそびの部分で吸収されるため、リード線6a、6bの振動をさらに抑制することができる。ここで、リード線6a、6bにあそびを設けるには、リード線6a、6bに湾曲部や屈曲部を設ければよい。
なお、枠体2に凹部を設け、この凹部を介してリード線6a、6bが外部に取り出されるようにしてもよい。また、圧電素子5へ電気信号を入力する配線部材は、リード線6a、6bに限ったものではなく、たとえば、銅またはアルミニウムなどの金属箔を樹脂フィルムで挟んだフレキシブル配線を配線部材として用いてもよい。
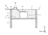
以下では、これらの点について図2を参照して具体的に説明する。図2は、図1BのB−B’線断面図である。なお、ここでは、リード線6bについて説明するが、リード線6aもリード線6bと同様であるものとする。
図2に示すように、リード線6bは、少なくとも一部が樹脂層7の内部にある。このように、リード線6bの少なくとも一部を樹脂層7の内部に設けることにより、リード線6bが樹脂層7の内部にない場合と比較して、振動体3aの振動に伴うリード線6bの振動を抑制することができる。このため、リード線6bの振動に起因する、音圧の周波数特性におけるピークやディップを抑えることができる。
しかも、リード線6bは、圧電素子5との接続部61が、樹脂層7で覆われている。このように、リード線6bの圧電素子5との接続部61を樹脂層7で覆うことで、接続部61以外の部分を樹脂層7に埋設した場合と比較して、リード線6bの振動が圧電素子5に伝わりにくくなるため、音圧の周波数特性におけるピークやディップのレベルをより小さくすることができる。
また、接続部61が樹脂層7で覆われていることで、リード線6bが圧電素子5から外れにくくなるため、振動体3aの振動によってリード線6bが圧電素子5から外れて音響が出力されなくなってしまうことを防止することができる。
また、図2に示すように、リード線6bは、枠体2の上部に固定されており、この枠体2との固定部62と、圧電素子5との接続部61との間に、湾曲部63を有する。
このように、枠体2との固定部62と、圧電素子5との接続部61との間において、リード線6bに湾曲部63を設けることにより、リード線6bの振動が湾曲部63(つまり、あそびの部分)で吸収されるため、湾曲部63を有していない(つまり、直線的に設けられた)リード線と比較して、リード線6bの振動をさらに抑制することができる。
また、リード線6bに湾曲部63を設けることにより、リード線6bの長さに余裕が生じるため、振動体3aの振動によってリード線6bが引っ張られたとしても、リード線6bには負荷がかかりにくい。したがって、リード線6bの破損を防止することができる。
また、図2に示すように、湾曲部63は、振動体3aを振動体3aの主面と平行な方向(つまり、図のY軸方向)から側面視した場合に湾曲している。すなわち、湾曲部63は、振動体3aの振動方向(つまり、図のZ軸方向)に沿って湾曲しているため、振動体3aの振動に伴うリード線6bの振動を効果的に吸収することができる。
また、図2に示すように、湾曲部63は、樹脂層7の外部に設けられている。これにより、樹脂層7内部のリード線6bについては樹脂層7によって振動を抑制しつつ、樹脂層7外部のリード線6bについては湾曲部63によって振動を吸収することができる。このため、音圧の周波数特性におけるピークやディップのレベルをさらに小さくすることができる。
このように、音響発生器1が有するリード線6a、6bは、湾曲部63を有しており、さらに、少なくとも一部が樹脂層7に埋められている。したがって、リード線6a、6bの振動を抑えることができ、リード線6a、6bの振動に起因する、音圧の周波数特性におけるピークやディップのレベルを小さくすることができる。よって、音響発生器1によれば、良好な音圧の周波数特性を得ることができる。
次に、リード線6bの配置や湾曲部63の位置等に関する変形例について図3A〜図6を参照して説明する。図3A、図3Bおよび図3Cは、リード線6a、6bの変形例を示す模式的な断面図であり、図4〜図6は、リード線6bの変形例を示す模式的な平面図である。なお、図3A、図3Bおよび図3Cは、図1BのB−B’線と同じ位置で音響発生器1を切断した場合の断面図を示している。
図2に示した例では、リード線6bの湾曲部63が、樹脂層7の外部に設けられることとしたが、湾曲部63の位置はこれに限定されない。
たとえば、図3Aに示すように、リード線6bが有する湾曲部63は、樹脂層7の内部に設けられてもよい。このように、湾曲部63を樹脂層7の内部に設けることにより、樹脂層7によって抑制し切れなかった振動を湾曲部63によって吸収することができる。
また、図3Bに示すように、リード線6bが有する湾曲部63は、樹脂層7の内部および外部にそれぞれ設けられてもよい。これにより、樹脂層7の内部および外部の両方においてリード線6bの振動を吸収することができる。
さらに、図3Cに示すように、図3Bに示す湾曲部63のたるみを最小限とするようにして、湾曲部63が樹脂層7の内部および外部にそれぞれ設けられた形状であってもよい。なお、図3Cに示すものは、リード線6bが枠体2の外部から内側に向かって水平に延びている部分の高さと、リード線6bと圧電素子5との接続部61の高さとの間の領域に、湾曲部63が位置している構成である。
また、図2に示した例では、湾曲部63が、振動体3aを振動体3aの主面と平行な方向(つまり、図のY軸方向)から側面視した場合に湾曲することとしたが、湾曲部63の湾曲方向は、これに限定されない。
たとえば、図4に示すように、湾曲部63は、振動体3aを振動体3aの主面と垂直な方向(つまり、図のZ軸方向)から平面視した場合に湾曲していてもよい。これにより、リード線6a、6bの配置領域が振動体3aの振動方向に薄くなるため、音響発生器1の低背化を図ることができる。
また、湾曲部63は、振動体3aの振動面のうち、振幅が相対的に大きい領域に配置してもよい。
たとえば、図5に示すように、振動体3aの振動面に、振幅が小さい第1の領域31と、この第1の領域31よりも振幅が大きい第2の領域32とが存在すると仮定する。
かかる場合において、リード線6a、6bの湾曲部63を第2の領域32に配置することにより、つまり、リード線6a、6bが大きく振動する箇所に湾曲部63を設けることによって、リード線6a、6bの振動を効果的に吸収することができる。これにより、リード線6a、6bの破損を適切に防止することができる。
また、図5では、振幅が相対的に大きい領域に湾曲部63を設けることでリード線6a、6bの振動を抑えることとしたが、リード線6a、6b自体を、振動体3aの振動面のうち振幅が相対的に小さい領域に配置してもよい。
たとえば、図6に示すように、振動体3aの振動面に、振幅が小さい第1の領域33と、この第1の領域33よりも振幅が大きい第2の領域34とが存在すると仮定する。かかる場合において、リード線6a、6bを第1の領域33に配置することにより、リード線6a、6bの振動そのものを小さくすることができる。
なお、図5には、第1の領域31と第2の領域32とを区画する仮想線L1、L2を、図6には、第1の領域33と第2の領域34とを区画する仮想線L3、L4をそれぞれ示しているが、仮想線L1〜L4の位置、形状、本数等はあくまで一例であり、図5および図6に示したものに限定されない。
また、図6では、リード線6a、6bを、振幅が相対的に小さい第1の領域33に配置することとしたが、これとは逆に、振幅が相対的に大きい第2の領域34に配置してもよい。これにより、振幅が相対的に大きい領域における振動体3aの振動が、リード線6a、6bの重さによって妨げられるため、音圧の周波数特性におけるピークやディップのレベルを小さく抑えることができる。
また、平面視において圧電素子5が長手方向と短手方向とを有する場合において、リード線6a、6bを圧電素子5の短手方向に向けて設けたほうが少ない距離で効果を発生できる。
ところで、上述してきた各例では、リード線6a、6bを枠体2の上部に固定する場合の例を示したが、枠体2に凹部を設け、この凹部を介してリード線6a、6bを外部に取り出すこととしてもよい。かかる点について図7Aおよび図7Bを参照して説明する。図7Aは、枠体2およびリード線6a、6bの変形例を示す模式的な平面図である。また、図7Bは、図7AのC−C’線断面図である。
図7Aおよび図7Bに示すように、枠体2’は、凹部21を有しており、リード線6a、6bは、かかる凹部21を介して外部に取り出される。これにより、リード線6a、6bが枠体2’よりも上方へ突出することがないため、音響発生器1の低背化を図ることができる。また、音響発生器1を音響発生装置や電子機器等の装置に組み込んだ際に音響発生器1の上方に何らかの部材が設けられたとしても、リード線6a、6bがこの部材と接触することがないため、リード線6a、6bが破損しにくい。
次に、これまで説明してきた実施形態に係る音響発生器1を搭載した音響発生装置および電子機器について、図8Aおよび図8Bを用いて説明する。図8Aは、実施形態に係る音響発生装置20の構成を示す図であり、図8Bは、実施形態に係る電子機器50の構成を示す図である。なお、両図には、説明に必要となる構成要素のみを示しており、一般的な構成要素についての記載を省略している。
音響発生装置20は、いわゆるスピーカのような発音装置であり、図8Aに示すように、たとえば、音響発生器1と、音響発生器1を収容する筐体30を備える。筐体30は、音響発生器1の発する音響を内部で共鳴させるとともに、筐体30に形成された図示せぬ開口から音響を外部へ放射する。このような筐体30を有することにより、例えば低周波数帯域における音圧を高めることができる。
また、音響発生器1は、種々の電子機器50に搭載することができる。たとえば、次に示す図8Bでは、電子機器50が、携帯電話やタブレット端末のような携帯端末装置であるものとする。
図8Bに示すように、電子機器50は、電子回路60を備える。電子回路60は、たとえば、コントローラ50aと、送受信部50bと、キー入力部50cと、マイク入力部50dとから構成される。電子回路60は、音響発生器1に接続されており、音響発生器1へ音声信号を出力する機能を有している。音響発生器1は電子回路60から入力された音声信号に基づいて音響を発生させる。
また、電子機器50は、表示部50eと、アンテナ50fと、音響発生器1とを備える。また、電子機器50は、これら各デバイスを収容する筐体40を備える。
なお、図8Bでは、1つの筐体40にコントローラ50aをはじめとする各デバイスがすべて収容されている状態をあらわしているが、各デバイスの収容形態を限定するものではない。本実施形態では、少なくとも電子回路60と音響発生器1とが、1つの筐体40に収容されていればよい。
コントローラ50aは、電子機器50の制御部である。送受信部50bは、コントローラ50aの制御に基づき、アンテナ50fを介してデータの送受信などを行う。
キー入力部50cは、電子機器50の入力デバイスであり、操作者によるキー入力操作を受け付ける。マイク入力部50dは、同じく電子機器50の入力デバイスであり、操作者による音声入力操作などを受け付ける。
表示部50eは、電子機器50の表示出力デバイスであり、コントローラ50aの制御に基づき、表示情報の出力を行う。
そして、音響発生器1は、電子機器50における音響出力デバイスとして動作する。なお、音響発生器1は、電子回路60のコントローラ50aに接続されており、コントローラ50aによって制御された電圧の印加を受けて音響を発することとなる。
ところで、図8Bでは、電子機器50が携帯用端末装置であるものとして説明を行ったが、電子機器50の種別を問うものではなく、音響を発する機能を有する様々な民生機器に適用されてよい。たとえば、薄型テレビやカーオーディオ機器は無論のこと、「話す」といった音響を発する機能や音楽を流す機能を有する製品、例を挙げれば、掃除機や洗濯機、冷蔵庫、電子レンジなどといった種々の製品に用いられてよい。
なお、上述した実施形態では、振動体3aの一方の主面に圧電素子5を設けた場合を主に例示して説明を行ったが、これに限られるものではなく、振動体3aの両面に圧電素子5が設けられてもよい。
また、上述した実施形態では、枠体2、2’の内側の領域の形状が略矩形状である場合を例に挙げ、多角形であればよいこととしたが、これに限られるものではなく、円形や楕円形であってもよい。
また、上述した実施形態では、枠体2、2’が2枚の枠部材によって構成される場合の例を示したが、枠体2、2’は、単一の部材で構成されてもよい。
また、上述した実施形態では、リード線6a、6bが、枠体2、2’の内側から外部へ取り出される場合の例を示したが、たとえば、枠体2、2’に端子盤(接続点)を設け、かかる端子盤と圧電素子5との間をリード線6a、6bで接続することとしてもよい。かかる場合、枠体2、2’に設けた端子盤に外部端子を接続することで、外部端子、端子盤およびリード線6a、6bを介して圧電素子5に電圧を印加することができる。
このような構成によって、端子盤の周囲で枠体2、2’を伝播する振動波を乱すことができる。とりわけ、電気信号が入力された場合、端子盤の周囲は部分的に温度上昇するため、熱膨張を起こして振動波は乱れやすい。これにより、枠体2、2’から振動板3へ返る反射波を乱すことができる。その結果、共振周波数を部分的に揃わなくさせることができるので、共振点の音圧のピークをばらつかせ、音圧の周波数特性を平坦化させることができる。すなわち、さらに良好な音圧の周波数特性を得ることができる。
また、上述した実施形態では、リード線6a、6bが圧電素子5の上面に接続される場合の例を示したが、リード線6a、6bを圧電素子5の側面に接続してもよい。これにより、音響発生器1のさらなる低背化を図ることができる。
また、上述した実施形態では、配線部材としてリード線6a、6bを用いる場合の例を示したが、配線部材は、リード線6a、6bに限定されない。たとえば、配線部材としてフレキシブル配線を用いてもよい。
ここで、配線部材としてフレキシブル配線を用いる場合の例について図9Aおよび図9Bを参照して説明する。図9Aは、配線部材としてフレキシブル配線を用いた場合の変形例を示す模式的な平面図である。また、図9Bは、図9AのD−D’線断面図である。
図9Aに示すように、音響発生器1は、リード線6a、6bに代えて、フレキシブル配線6cを備えていてもよい。フレキシブル配線6cは、銅またはアルミニウムなどの金属箔を樹脂フィルム等の絶縁体で覆うことにより構成される。
フレキシブル配線の金属箔は、振動体3aの振動方向に薄いため、圧電素子5や振動体3aの振動を吸収し易い。また、音響発生器1の低背化を図ることもできる。さらに、フレキシブル配線の金属箔は、絶縁体で覆われているため、枠体2との間でショートを起こすおそれもない。
かかるフレキシブル配線6cも、リード線6a、6bと同様、一部(ここでは、圧電素子5との接続部61)が絶縁体(樹脂層7)に埋設されている(図9B参照)。また、フレキシブル配線6cは、リード線6a、6bと同様、枠体2の上部に固定されており、この枠体2との固定部62と、圧電素子5との接続部61との間に、湾曲部63を有する。
このように、配線部材としてフレキシブル配線6cを用いる場合においても、かかるフレキシブル配線6cの一部を樹脂層7に埋設し、さらに、湾曲部63を設けることにより、フレキシブル配線6cの振動を抑えることができ、フレキシブル配線6cの振動に起因する、音圧の周波数特性におけるピークやディップのレベルを小さくすることができる。したがって、良好な音圧の周波数特性を得ることができる。
なお、ここでは、湾曲部63が樹脂層7の外部に設けられる場合の例を示したが、フレキシブル配線6cの湾曲部63は、リード線6a、6bの湾曲部63と同様、樹脂層7に埋設されてもよいし、樹脂層7の内部および外部の両方に設けられてもよい。
また、ここでは、金属箔を絶縁体で覆ったフレキシブル配線を配線部材として用いた場合の例を示したが、絶縁体で覆われていない金属箔を配線部材として用いても構わない。
また、上述した実施形態では、励振器が圧電素子5である場合を例に挙げて説明したが、励振器としては、圧電素子に限定されるものではなく、電気信号が入力されて振動する機能を有しているものであれば良い。例えば、スピーカを振動させる励振器としてよく知られた、動電型の励振器や、静電型の励振器や、電磁型の励振器であっても構わない。なお、動電型の励振器は、永久磁石の磁極の間に配置されたコイルに電流を流してコイルを振動させるようなものであり、静電型の励振器は、向き合わせた2つの金属板にバイアスと電気信号とを流して金属板を振動させるようなものであり、電磁型の励振器は、電気信号をコイルに流して薄い鉄板を振動させるようなものである。
さらなる効果や変形例は、当業者によって容易に導き出すことができる。このため、本発明のより広範な態様は、以上のように表しかつ記述した特定の詳細および代表的な実施形態に限定されるものではない。したがって、添付の特許請求の範囲およびその均等物によって定義される総括的な発明の概念の精神または範囲から逸脱することなく、様々な変更が可能である。
1 音響発生器
2、2’ 枠体
3 振動板
3a 振動体
5 圧電素子
5a、5b、5c、5d 圧電体層
5e 内部電極層
5f、5g 表面電極層
5h、5j 外部電極
6a、6b リード線
61 接続部
62 固定部
63 湾曲部
7 樹脂層
20 音響発生装置
30、40 筐体
50 電子機器
50a コントローラ
50b 送受信部
50c キー入力部
50d マイク入力部
50e 表示部
50f アンテナ
60 電子回路

Claims (7)

  1. 電気信号により振動する励振器と、
    前記励振器が取り付けられており、該励振器の振動によって該励振器とともに振動する扁平な振動体と、
    該振動体の外周部に設けられた前記励振器の高さよりも高い高さの枠体と、
    前記励振器および該励振器が取り付けられた前記振動体の表面に被せるように配置されて、前記振動体および前記励振器と一体化された樹脂層と、
    前記励振器に接続されるとともに前記枠体に固定されて、該励振器に電気信号を入力する配線部材とを少なくとも有しており、
    前記配線部材は、前記励振器への接続部および当該接続部から延びる少なくとも一部が前記樹脂層の内部に位置しており、
    さらに前記配線部材は、前記枠体への固定部と同じ高さまたは前記枠体への固定部よりも低い高さの位置であって、前記樹脂層の内部および外部のそれぞれの位置に屈曲部または湾曲部を有していることを特徴とする音響発生器。
  2. 前記配線部材は、複数の導線を撚り合わせた撚り線を含むことを特徴とする請求項1に記載の音響発生器。
  3. 前記配線部材は、前記振動体の振動方向に薄い金属箔を含むことを特徴とする請求項1に記載の音響発生器。
  4. 前記配線部材は、前記金属箔の一部が絶縁体で覆われていることを特徴とする請求項に記載の音響発生器。
  5. 記枠体は凹部を有しており、該凹部を介して前記配線部材が外部に取り出されることを特徴とする請求項1〜のいずれか一つに記載の音響発生器。
  6. 請求項1〜のいずれか一つに記載の音響発生器と、
    該音響発生器を収容する筐体とを備えることを特徴とする音響発生装置。
  7. 請求項1〜のいずれか一つに記載の音響発生器と、
    該音響発生器に接続された電子回路と、
    該電子回路および前記音響発生器を収容する筐体とを備え、
    前記音響発生器から音響を発生させる機能を有することを特徴とする電子機器。
JP2014551908A 2012-12-12 2013-06-28 音響発生器、音響発生装置および電子機器 Expired - Fee Related JP6016945B2 (ja)

Applications Claiming Priority (3)

Application Number Priority Date Filing Date Title
JP2012271546 2012-12-12
JP2012271546 2012-12-12
PCT/JP2013/067902 WO2014091785A1 (ja) 2012-12-12 2013-06-28 音響発生器、音響発生装置および電子機器

Publications (2)

Publication Number Publication Date
JP6016945B2 true JP6016945B2 (ja) 2016-10-26
JPWO2014091785A1 JPWO2014091785A1 (ja) 2017-01-05

Family

ID=50934088

Family Applications (1)

Application Number Title Priority Date Filing Date
JP2014551908A Expired - Fee Related JP6016945B2 (ja) 2012-12-12 2013-06-28 音響発生器、音響発生装置および電子機器

Country Status (5)

Country Link
JP (1) JP6016945B2 (ja)
KR (1) KR101518987B1 (ja)
CN (1) CN103988524B (ja)
TW (1) TWI533713B (ja)
WO (1) WO2014091785A1 (ja)

Families Citing this family (12)

* Cited by examiner, † Cited by third party
Publication number Priority date Publication date Assignee Title
WO2014097668A1 (ja) * 2012-12-17 2014-06-26 京セラ株式会社 音響発生器、音響発生装置および電子機器
JP6363545B2 (ja) * 2015-03-25 2018-07-25 京セラ株式会社 圧電アクチュエータ、音響発生器、音響発生装置および電子機器
JP6411958B2 (ja) * 2015-06-29 2018-10-24 京セラ株式会社 音響発生器およびこれを備えた音響発生装置、電子機器
JP6825404B2 (ja) * 2017-02-13 2021-02-03 Tdk株式会社 振動デバイス
JP6933054B2 (ja) * 2017-02-13 2021-09-08 Tdk株式会社 振動デバイス
JP7006017B2 (ja) * 2017-03-10 2022-01-24 Tdk株式会社 振動デバイス
JP6822380B2 (ja) * 2017-11-02 2021-01-27 Tdk株式会社 振動デバイス
JP6733641B2 (ja) * 2017-11-02 2020-08-05 Tdk株式会社 振動デバイス
WO2019172076A1 (ja) * 2018-03-06 2019-09-12 Agc株式会社 スピーカー装置
JP7259278B2 (ja) * 2018-11-16 2023-04-18 Tdk株式会社 振動デバイス及び電子機器
JP7087942B2 (ja) * 2018-11-16 2022-06-21 Tdk株式会社 振動デバイス、電子機器、及び、振動デバイスの駆動方法
JP7234594B2 (ja) * 2018-11-16 2023-03-08 Tdk株式会社 振動デバイス及び電子機器

Citations (5)

* Cited by examiner, † Cited by third party
Publication number Priority date Publication date Assignee Title
JP2000069589A (ja) * 1998-08-19 2000-03-03 Meisei Sangyo:Kk スピーカー
JP3043347B2 (ja) * 1989-11-22 2000-05-22 日本電気株式会社 データ自動出力暗号処理回路
JP2011135233A (ja) * 2009-12-22 2011-07-07 J&K Car Electronics Corp スピーカ装置およびその配線構造
JP2012110018A (ja) * 2010-06-25 2012-06-07 Kyocera Corp 音響発生器
JP2012175336A (ja) * 2011-02-21 2012-09-10 Omron Corp マイクロフォン

Family Cites Families (3)

* Cited by examiner, † Cited by third party
Publication number Priority date Publication date Assignee Title
JPH0711802Y2 (ja) * 1989-07-26 1995-03-22 岩田塗装機工業株式会社 内外部混合併用スプレーガン
JP3043347U (ja) * 1997-05-12 1997-11-18 太陽誘電株式会社 圧電音響装置
JP3489509B2 (ja) * 1999-02-22 2004-01-19 株式会社村田製作所 電気音響変換器

Patent Citations (5)

* Cited by examiner, † Cited by third party
Publication number Priority date Publication date Assignee Title
JP3043347B2 (ja) * 1989-11-22 2000-05-22 日本電気株式会社 データ自動出力暗号処理回路
JP2000069589A (ja) * 1998-08-19 2000-03-03 Meisei Sangyo:Kk スピーカー
JP2011135233A (ja) * 2009-12-22 2011-07-07 J&K Car Electronics Corp スピーカ装置およびその配線構造
JP2012110018A (ja) * 2010-06-25 2012-06-07 Kyocera Corp 音響発生器
JP2012175336A (ja) * 2011-02-21 2012-09-10 Omron Corp マイクロフォン

Also Published As

Publication number Publication date
KR101518987B1 (ko) 2015-05-11
CN103988524A (zh) 2014-08-13
WO2014091785A1 (ja) 2014-06-19
TW201424409A (zh) 2014-06-16
TWI533713B (zh) 2016-05-11
KR20140101282A (ko) 2014-08-19
CN103988524B (zh) 2017-08-08
JPWO2014091785A1 (ja) 2017-01-05

Similar Documents

Publication Publication Date Title
JP6016945B2 (ja) 音響発生器、音響発生装置および電子機器
JP5908994B2 (ja) 音響発生器、音響発生装置および電子機器
JP5677639B2 (ja) 音響発生器、音響発生装置および電子機器
JP6053794B2 (ja) 音響発生器、音響発生装置および電子機器
JP5627824B1 (ja) 音響発生器、音響発生装置および電子機器
JP5602978B2 (ja) 音響発生器、音響発生装置および電子機器
JP5960828B2 (ja) 音響発生器、音響発生装置および電子機器
WO2014097862A1 (ja) 音響発生器、音響発生装置および電子機器
JP5934386B2 (ja) 音響発生器、音響発生装置および電子機器
JP2014127767A (ja) 音響発生器、音響発生装置および電子機器
JP6166038B2 (ja) 音響発生器、音響発生装置および電子機器
JP6034182B2 (ja) 音響発生器、音響発生装置および電子機器
JP2014123812A (ja) 音響発生器、音響発生装置および電子機器
JP6017950B2 (ja) 音響発生器、音響発生装置および電子機器
JP6092618B2 (ja) 音響発生器、音響発生装置および電子機器
WO2014104018A1 (ja) 音響発生器、音響発生装置および電子機器
JP5952426B2 (ja) 音響発生器、音響発生装置および電子機器
WO2014091813A1 (ja) 音響発生器、音響発生装置および電子機器
JP2014131119A (ja) 音響発生器、音響発生装置および電子機器
JP2014116795A (ja) 音響発生器、音響発生装置および電子機器

Legal Events

Date Code Title Description
TRDD Decision of grant or rejection written
A01 Written decision to grant a patent or to grant a registration (utility model)

Free format text: JAPANESE INTERMEDIATE CODE: A01

Effective date: 20160830

A61 First payment of annual fees (during grant procedure)

Free format text: JAPANESE INTERMEDIATE CODE: A61

Effective date: 20160927

R150 Certificate of patent or registration of utility model

Ref document number: 6016945

Country of ref document: JP

Free format text: JAPANESE INTERMEDIATE CODE: R150

LAPS Cancellation because of no payment of annual fees