JP5908994B2 - 音響発生器、音響発生装置および電子機器 - Google Patents

音響発生器、音響発生装置および電子機器 Download PDF

Info

Publication number
JP5908994B2
JP5908994B2 JP2014552953A JP2014552953A JP5908994B2 JP 5908994 B2 JP5908994 B2 JP 5908994B2 JP 2014552953 A JP2014552953 A JP 2014552953A JP 2014552953 A JP2014552953 A JP 2014552953A JP 5908994 B2 JP5908994 B2 JP 5908994B2
Authority
JP
Japan
Prior art keywords
exciter
frame
terminal
sound generator
vibrating body
Prior art date
Legal status (The legal status is an assumption and is not a legal conclusion. Google has not performed a legal analysis and makes no representation as to the accuracy of the status listed.)
Expired - Fee Related
Application number
JP2014552953A
Other languages
English (en)
Other versions
JPWO2014097668A1 (ja
Inventor
健 岡村
健 岡村
寺園 正喜
正喜 寺園
神谷 哲
哲 神谷
Current Assignee (The listed assignees may be inaccurate. Google has not performed a legal analysis and makes no representation or warranty as to the accuracy of the list.)
Kyocera Corp
Original Assignee
Kyocera Corp
Priority date (The priority date is an assumption and is not a legal conclusion. Google has not performed a legal analysis and makes no representation as to the accuracy of the date listed.)
Filing date
Publication date
Application filed by Kyocera Corp filed Critical Kyocera Corp
Application granted granted Critical
Publication of JP5908994B2 publication Critical patent/JP5908994B2/ja
Publication of JPWO2014097668A1 publication Critical patent/JPWO2014097668A1/ja
Expired - Fee Related legal-status Critical Current
Anticipated expiration legal-status Critical

Links

Images

Classifications

    • HELECTRICITY
    • H04ELECTRIC COMMUNICATION TECHNIQUE
    • H04RLOUDSPEAKERS, MICROPHONES, GRAMOPHONE PICK-UPS OR LIKE ACOUSTIC ELECTROMECHANICAL TRANSDUCERS; ELECTRIC HEARING AIDS; PUBLIC ADDRESS SYSTEMS
    • H04R1/00Details of transducers, loudspeakers or microphones
    • H04R1/02Casings; Cabinets ; Supports therefor; Mountings therein
    • HELECTRICITY
    • H04ELECTRIC COMMUNICATION TECHNIQUE
    • H04BTRANSMISSION
    • H04B1/00Details of transmission systems, not covered by a single one of groups H04B3/00 - H04B13/00; Details of transmission systems not characterised by the medium used for transmission
    • H04B1/38Transceivers, i.e. devices in which transmitter and receiver form a structural unit and in which at least one part is used for functions of transmitting and receiving
    • HELECTRICITY
    • H04ELECTRIC COMMUNICATION TECHNIQUE
    • H04RLOUDSPEAKERS, MICROPHONES, GRAMOPHONE PICK-UPS OR LIKE ACOUSTIC ELECTROMECHANICAL TRANSDUCERS; ELECTRIC HEARING AIDS; PUBLIC ADDRESS SYSTEMS
    • H04R17/00Piezoelectric transducers; Electrostrictive transducers
    • HELECTRICITY
    • H04ELECTRIC COMMUNICATION TECHNIQUE
    • H04RLOUDSPEAKERS, MICROPHONES, GRAMOPHONE PICK-UPS OR LIKE ACOUSTIC ELECTROMECHANICAL TRANSDUCERS; ELECTRIC HEARING AIDS; PUBLIC ADDRESS SYSTEMS
    • H04R3/00Circuits for transducers
    • HELECTRICITY
    • H04ELECTRIC COMMUNICATION TECHNIQUE
    • H04RLOUDSPEAKERS, MICROPHONES, GRAMOPHONE PICK-UPS OR LIKE ACOUSTIC ELECTROMECHANICAL TRANSDUCERS; ELECTRIC HEARING AIDS; PUBLIC ADDRESS SYSTEMS
    • H04R1/00Details of transducers, loudspeakers or microphones
    • H04R1/06Arranging circuit leads; Relieving strain on circuit leads
    • HELECTRICITY
    • H04ELECTRIC COMMUNICATION TECHNIQUE
    • H04RLOUDSPEAKERS, MICROPHONES, GRAMOPHONE PICK-UPS OR LIKE ACOUSTIC ELECTROMECHANICAL TRANSDUCERS; ELECTRIC HEARING AIDS; PUBLIC ADDRESS SYSTEMS
    • H04R7/00Diaphragms for electromechanical transducers; Cones
    • H04R7/02Diaphragms for electromechanical transducers; Cones characterised by the construction
    • H04R7/04Plane diaphragms
    • H04R7/045Plane diaphragms using the distributed mode principle, i.e. whereby the acoustic radiation is emanated from uniformly distributed free bending wave vibration induced in a stiff panel and not from pistonic motion

Landscapes

  • Engineering & Computer Science (AREA)
  • Signal Processing (AREA)
  • Physics & Mathematics (AREA)
  • Acoustics & Sound (AREA)
  • Computer Networks & Wireless Communication (AREA)
  • Piezo-Electric Transducers For Audible Bands (AREA)
  • Diaphragms For Electromechanical Transducers (AREA)
  • Details Of Audible-Bandwidth Transducers (AREA)
  • Telephone Function (AREA)

Description

開示の実施形態は、音響発生器、音響発生装置および電子機器に関する。
従来、圧電素子を用いた音響発生器が知られている(たとえば、特許文献1参照)。かかる音響発生器は、振動板に取り付けた圧電素子に電圧を印加して振動させることによって振動板を振動させ、かかる振動の共振を積極的に利用することで音響を出力するものである。
また、かかる音響発生器は、振動板に樹脂フィルムなどの薄膜を用いることができるため、一般的な電磁式スピーカなどに比べて薄型かつ軽量に構成することが可能である。
なお、振動板に薄膜を用いる場合、薄膜は、優れた音響変換効率を得られるように、たとえば一対の枠部材によって厚み方向から挟持されることによって均一に張力をかけられた状態で支持されることが求められる。
特開2004−023436号公報
しかしながら、上記した従来の音響発生器は、均一に張力がかけられた振動板の共振を積極的に利用するが故に、音圧の周波数特性においてピーク(周囲よりも音圧が高い部分)およびディップ(周囲よりも音圧が低い部分)が生じやすく、良質な音質を得にくいという問題があった。
実施形態の一態様は、上記に鑑みてなされたものであって、良好な音圧の周波数特性を得ることができる音響発生器、音響発生装置および電子機器を提供することを目的とする。
実施形態の一態様に係る音響発生器は、励振器と、振動体と、枠体と、導線とを備える。前記励振器は、電気信号が入力されて振動する。前記振動体は、前記励振器が取り付けられており、該励振器の振動によって該励振器とともに振動する。前記枠体は、前記振動体の外周部に設けられ、該振動体を扁平に支持する。前記導線は、前記励振器に接続され、該励振器へ電気信号を入力する。また、前記枠体は前記導線への接続点となる複数個の端子を有しており、該複数個の端子は、当該複数個の端子の少なくとも2つを結ぶ線が平面視で前記枠体の辺と非平行となるように設けられている。
実施形態の一態様によれば、良好な音圧の周波数特性を得ることができる。
図1Aは、基本的な音響発生器の概略構成を示す模式的な平面図である。 図1Bは、図1AのA−A’線断面図(その1)である。 図1Cは、図1AのA−A’線断面図(その2)である。 図2は、音圧の周波数特性の一例を示す図である。 図3Aは、実施形態に係る音響発生器の構成の一例を示す模式的な平面図(その1)である。 図3Bは、実施形態に係る音響発生器の構成の一例を示す模式的な平面図(その2)である。 図3Cは、図3BのB−B’線断面図である。 図3Dは、図3Aの変形例を示すC−C’線断面図である。 図3Eは、図3Dに示すH部の拡大図である。 図4Aは、枠体の各部位を説明するための模式的な斜視図である。 図4Bは、枠体の各部位を説明するための模式的な平面図である。 図5Aは、端子板または端子の変形例を示す模式的な平面図(その1)である。 図5Bは、端子板または端子の変形例を示す模式的な平面図(その2)である。 図5Cは、端子板または端子の変形例を示す模式的な平面図(その3)である。 図5Dは、端子板または端子の変形例を示す模式的な平面図(その4)である。 図5Eは、端子板の変形例の一つを示す模式的な斜視図である。 図5Fは、端子の変形例の一つを示す模式的な断面図である。 図5Gは、図3Bの変形例を示すB−B’線断面図である。 図5Hは、端子板または端子の変形例を示す模式的な平面図(その5)である。 図5Iは、端子板または端子の変形例を示す模式的な平面図(その6)である。 図5Jは、端子板または端子の変形例を示す模式的な平面図(その7)である。 図6Aは、実施形態に係る音響発生装置の構成を示す図である。 図6Bは、実施形態に係る電子機器の構成を示す図である。
以下、添付図面を参照して、本願の開示する音響発生器、音響発生装置および電子機器の実施形態を詳細に説明する。なお、以下に示す実施形態によりこの発明が限定されるものではない。
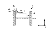
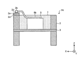
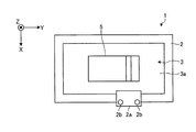
まず、実施形態に係る音響発生器1の説明に先立って、基本的な音響発生器1’の概略構成について、図1A〜図1Cを用いて説明する。図1Aは、音響発生器1’の概略構成を示す模式的な平面図であり、図1Bは、図1AのA−A’線断面図(その1)であり、図1Cは、図1AのA−A’線断面図(その2)である。
なお、説明を分かりやすくするために、図1A〜図1Cには、鉛直上向きを正方向とし、鉛直下向きを負方向とするZ軸を含む3次元の直交座標系を図示している。かかる直交座標系は、後述の説明に用いる他の図面でも示す場合がある。
また、図1Aにおいては、樹脂層7(後述)の図示を省略している。また、説明を分かりやすくするために、図1Bおよび図1Cは、音響発生器1’を厚み方向(Z軸方向)に大きく誇張して示している。
図1Aに示すように、音響発生器1’は、枠体2と、振動板3と、圧電素子5と、リード線6a、6bとを備える。なお、図1Aに示すように、以下の説明では、圧電素子5が1個である場合を例示するが、圧電素子5の個数を限定するものではない。
また、図1Bに一例として示すように、枠体2は、振動板3の周縁部で振動板3を支持する支持体として機能する。振動板3は、板状やフィルム状の形状を有しており、その周縁部が枠体2に固定され、枠体2の枠内において均一に張力をかけられた状態で略扁平に支持される。
また、図1Cに示す一例では、枠体2は、矩形の枠状で同一形状を有する2枚の枠部材によって構成されており、振動板3の周縁部を挟み込んで振動板3を支持する支持体として機能する。振動板3は、板状やフィルム状の形状を有しており、その周縁部が枠体2に挟み込まれて固定され、枠体2の枠内において均一に張力をかけられた状態で略扁平に支持される。
この場合、2枚の枠部材で振動板3を挟むことで、振動板3の張りを安定させることができるので、音響発生器1’の周波数特性を長期間変動しない耐久性のあるものとすることができるからさらに良い。
なお、振動板3のうち枠体2の内周よりも内側の部分、すなわち、振動板3のうち枠体2に挟み込まれておらず自由に振動することができる部分を振動体3aとする。すなわち、振動体3aは、枠体2の枠内において略矩形状をなす部分である。
また、振動板3は、樹脂や金属等の種々の材料を用いて形成することができる。たとえば、厚さ10〜200μmのポリエチレン、ポリイミド、ポリプロピレン等の樹脂フィルムで振動板3を構成することができる。樹脂フィルムは金属板などに比べて弾性率および機械的なQ値の低い材料であるため、振動板3を樹脂フィルムにより構成することで、振動板3を大きな振幅で屈曲振動させ、音圧の周波数特性における共振ピークの幅を広く、高さを低くして共振ピークとディップとの差を低減することができる。なお、金属と樹脂との複合体を振動板3として用いてもよい。
また、枠体2の厚みや材質などについても、特に限定されるものではなく、金属や樹脂など種々の材料を用いて形成することができる。たとえば、機械的強度および耐食性に優れるという理由から、厚さ100〜1000μmのステンレス製のものなどを枠体2として好適に用いることができる。
なお、図1Aには、その内側の領域の形状が略矩形状である枠体2を示しているが、平行四辺形、台形および正n角形といった多角形であってもよい。本実施形態では、図1Aに示すように、略矩形状であるものとする。
圧電素子5は、振動体3aの表面に貼り付けられるなどして設けられ、電圧の印加を受けて振動することによって振動体3aを励振する励振器である。
かかる圧電素子5は、図1Bまたは図1Cに示すように、たとえば、4層のセラミックスからなる圧電体層5a、5b、5c、5dと、3層の内部電極層5eが交互に積層された積層体と、かかる積層体の上面および下面に形成された表面電極層5f、5gと、内部電極層5eが露出した側面に形成された外部電極5h、5jとを備える。また、外部電極5h、5jには、リード線6a、6bが接続される。リード線6a、6bは、外部から電気信号を入力する導線である。
なお、圧電素子5は板状であり、上面側および下面側の主面が長方形状または正方形状といった多角形をなしている。また、圧電体層5a、5b、5c、5dは、図1Bまたは図1Cに矢印で示すように分極されている。すなわち、ある瞬間に加えられる電界の向きに対する分極の向きが厚み方向(図のZ軸方向)における一方側と他方側とで逆転するように分極されている。
そして、リード線6a、6bを介して圧電素子5に電圧が印加されると、たとえば、ある瞬間において、振動体3aに接着された側の圧電体層5c、5dは縮み、圧電素子5の上面側の圧電体層5a、5bは延びるように変形する。よって、圧電素子5に交流信号を与えることにより、圧電素子5が屈曲振動し、振動体3aに屈曲振動を与えることができる。
このように、圧電素子5の上面側の圧電体層5a、5bと下面側の圧電体層5c、5dとが、相反する伸縮挙動を示し、その結果、圧電素子5がバイモルフ型の屈曲振動をすることにより、振動体3aに一定の振動を与えて音を発生させることができる。圧電素子5がバイモルフ型の積層型圧電振動素子であり、圧電素子5自体が単独で屈曲振動することから、振動体3aの材質によらず、例えば柔らかい振動体3aであっても強い振動を発生させることができ、少数の圧電素子5により充分な音圧を得ることができる。
また、圧電素子5は、その主面が、振動体3aの主面と、エポキシ系樹脂等の接着剤により接合されている。
なお、圧電体層5a、5b、5cおよび5dを構成する材料には、チタン酸ジルコン酸鉛(lead zirconate titanate)、Bi層状化合物、タングステンブロンズ構造化合物等の非鉛系圧電体材料等、従来から用いられている圧電セラミックスを用いることができる。
また、内部電極層5eの材料としては、種々の金属材料を用いることができる。たとえば、銀とパラジウムとからなる金属成分と、圧電体層5a、5b、5c、5dを構成するセラミック成分とを含有した場合、圧電体層5a、5b、5c、5dと内部電極層5eとの熱膨張差による応力を低減することができるので、積層不良のない圧電素子5を得ることができる。
また、表面電極層5f、5gと外部電極5h、5jは、金属、例えば銀などを主成分とする。また、ガラス成分を含有しても良い。ガラス成分を含有させることによって、圧電体層5a、5b、5c、5dや内部電極層5eと、表面電極層5f、5gまたは外部電極5h、5jとの間に強固な密着力を得ることができる。ガラス成分の含有量は、たとえば20体積%以下とすればよい。
また、リード線6a、6bは、導線の一例であり、一端部が圧電素子5に接続され、圧電素子5へ電気信号を入力する。かかるリード線6a、6bは、種々の金属材料を用いて形成することができる。たとえば、銅またはアルミニウムなどの金属箔を樹脂フィルムで挟んだフレキシブル配線を用いてリード線6a、6bを構成すると、圧電素子5の低背化を図ることができる。
また、図1Bまたは図1Cに示すように、音響発生器1’は、枠体2の枠内において圧電素子5および振動体3aの表面に被せるように配置されて、振動体3aおよび圧電素子5と一体化された樹脂層7をさらに備える。
樹脂層7は、たとえば、アクリル系樹脂を用いてヤング率が1MPa〜1GPaの範囲程度となるように形成されることが好ましい。なお、かかる樹脂層7に圧電素子5を埋設することで適度なダンパー効果を誘発させることができるので、共振現象を抑制して、音圧の周波数特性におけるピークやディップを小さく抑えることができる。
また、図1Bまたは図1Cには、樹脂層7が、枠体2と同じ高さとなるように形成された状態を示しているが、樹脂層7が枠体2の高さよりも高くなるように形成されてもよい。逆に、樹脂層7は、必ずしも圧電素子5および振動体3aの表面に被せるように配置されていなくてもよく、圧電素子5と、この圧電素子5が配置されている側の振動体3aの表面の少なくとも一部とが樹脂層7により被覆されていればよい。
このように、振動体3a、圧電素子5および樹脂層7は一体化されており、一体的に振動するいわば複合振動体を構成している。
なお、図1Bまたは図1Cでは、圧電素子5として、バイモルフ型の積層型圧電素子を例に挙げたが、これに限られるものではなく、たとえば、伸縮する圧電素子5を振動体3aに貼り付けたユニモルフ型であっても構わない。
ところで、図1A〜図1Cに示したように、振動体3aは、枠体2の枠内において均一に張力をかけられた状態で略扁平に支持されている。このような場合、圧電素子5の振動に誘導された共振に起因するピークディップや歪みが生じるために、特定の周波数において音圧が急激に変化し、音圧の周波数特性が平坦化しづらい。
かかる点を、図2に図示する。図2は、音圧の周波数特性の一例を示す図である。図1Aの説明で既に述べたように、振動体3aは、枠体2の枠内において均一に張力をかけられた状態で略扁平に支持されている。
しかしながら、このような場合、振動体3aの共振によって特定の周波数にピークが集中して縮退するため、図2に示すように、周波数領域全体にわたって急峻なピークやディップが散在して生じやすい。
一例として、図2において破線の閉曲線PDで囲んで示した部分に着目する。このようなピークが生じる場合、周波数によって音圧にばらつきが生じることとなるため、良好な音質を得にくくなる。
こうした場合、図2に示すように、ピークPの高さを下げ(図中の矢印201参照)、かつ、ピーク幅を広げ(図中の矢印202参照)、ピークPやディップ(図示略)を小さくするような方策をとることが有効である。
ここで、枠体2に着目する。枠体2は、上述のように、振動体3aへ均一に張力をかけつつ支持する支持体であるが、振動体3aが振動する際には、その振動体3aの共振に誘導されてやはり枠体2自体も振動している。また、枠体2は、振動体3aに対して反射波を返している。したがって、枠体2は、上述の、一体的に振動する複合振動体の構成要素の一つとみなすことができる。
そこで、本実施形態では、まず枠体2の主面に対し、外部からリード線6a、6bへの接続点となる「端子」を設けることによってかかる「端子」の周囲で振動波を乱すことで、枠体2から振動体3aへ返る反射波を乱すこととした。そして、これにより、共振周波数を部分的に揃わなくさせることで共振モードの縮退を解いて分散させ、ピークPの高さを下げるとともに、ピーク幅を広げることとした。
さらに、本実施形態では、かかる「端子」を枠体2の辺の中央を避けた部位に設けることによって、上述の複合振動体全体の形状に非対称性をもたせ、反射波の対称性を低下させることとした。そして、これにより、やはり共振周波数を部分的に揃わなくさせることでピークPの高さを下げるとともに、ピーク幅を広げることとした。
また、枠体2の対称性を崩すことにより、枠体2の縮退した振動モードを複数の振動モードに分散させることができ、枠体2の共振周波数における音圧のピーク形状をなだらかにできる。結果として、複合振動体全体の音圧の周波数特性における共振ピークとディップの差を低減して音圧の周波数変動を可及的に抑制でき、音質の向上を図ることができる。特に、「端子」へ電気信号が入力された場合には、「端子」の近傍において枠体2の温度が変化して膨張収縮が起こり枠体2に歪みが生じるため、縮退した振動モードをさらに分散することができる。
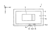
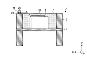
以下、実施形態に係る音響発生器1について、具体的に図3A〜図5Jを用いて順次説明する。まず、図3Aは、実施形態に係る音響発生器1の構成の一例を示す模式的な平面図(その1)である。また、図3Bは、実施形態に係る音響発生器1の構成の一例を示す模式的な平面図(その2)である。また、図3Cは、図3BのB−B’線断面図である。
なお、図3Aおよび図3Bの模式的な平面図を含め、以下に示す各図面では、説明の便宜上、図1Aと同様に樹脂層7の図示を省略する場合がある。
図3Aに示すように、音響発生器1は、図1A〜図1Cに示した音響発生器1’に加えて、端子2bを備える。端子2bは、外部からの接続点となるいわゆる電極ターミナルであり、枠体2に少なくとも1つ以上設けられる。なお、図3Aには、枠体2に複数個(ここでは2個)の端子2bが設けられている場合を例示している。これにより、縮退した振動モードをさらに分散させることができ、より共振周波数における音圧のピーク形状をなだらかにできる。
また、同じく複数個の端子2bが設けられる場合、少なくとも1つの端子2bの極性がその他の端子2bの極性と異なることがより効果的である。すなわち、端子2bの極性が異なれば、端子2bそれぞれに異なった信号成分があるので、端子2bそれぞれの周囲の温度上昇が異なることとなる。したがって、伝播する振動波をさらに乱すことができるので、共振周波数を部分的に揃わなくさせることができる。
また、端子2bは、リード線6a、6bによって、圧電素子5と接続されるので、リード線6a、6bを介して圧電素子5の周囲の振動を拾うことができる。これにより、さらに端子2bの周囲で振動波を効果的に乱すことができる。
ここで、端子2bは、たとえば、中間層2dを介して枠体2に設けられているのが好ましい。また、枠体2が金属材料を用いて形成されている場合には、端子2bは、たとえば、接続点となる部分が金属材料で、枠体2と接する部分が絶縁体でそれぞれ構成されて、中間層2dを介して枠体2に設けられる。
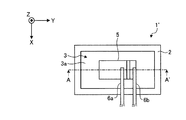
かかる点について図3Dおよび図3Eを参照して説明する。図3Dは、図3AのC−C’線断面図であり、図3Eは、図3Dに示すH部の拡大図である。
図3Dに示すように、端子2bは、枠体2の主面に対して中間層2dを介して固定されている。かかる端子2bには、リード線6a、6bの他端部が接続される。
中間層2dは、たとえば接着剤であり、枠体2よりもヤング率(E)が低い部材である。このように、第1の実施形態では、端子2bが、枠体2よりもヤング率(E)が低い中間層2dを介して枠体2に固定される。ヤング率(E)が低い材料は通常、機械的Q値が小さい、すなわち機械的損失が大きいため、このような中間層2dを設けることにより、枠体2の振動が中間層2dによって吸収され、端子2bが設けられた部分において枠体2の振動をより大きく乱すことができるため、音圧をより平坦化することができ、音質の更なる向上を図ることができる。また、枠体2の振動が端子2bに伝わる際に減衰されるので、端子2bの振動による劣化が低減し、耐久性が向上するという効果も得られる。
ここで、枠体2および端子2bがともに金属で構成される場合、中間層2dは、絶縁性を有することが望ましい。このように、絶縁性を有する中間層2dを介して端子2bを枠体2へ固定することで、枠体2と端子2bとの絶縁性を確保しつつ、枠体2の振動をより大きく乱すことができる。
なお、中間層2dは、たとえば、接着剤、絶縁層、接着剤の3層構造であってもよい。また、端子2bの枠体2と接する部分または枠体2が樹脂等の絶縁体で構成される場合、中間層2dは、必ずしも絶縁性を有することを要しない。
また、図3Eに示すように、中間層2dは、内部に気孔2da、いわゆるボイドを含んでいることが好ましい。
このように、中間層2dに気孔2daを設けることで、中間層2d内にヤング率の異なる領域が点在するようになることから、その領域において共振のエネルギーが吸収され、共振周波数における音圧のピーク形状がなだらかになる。この結果、音圧の周波数特性における共振ピークとディップとの差が低減され周波数特性を平坦化することができる。なお、気孔2daは、中間層2d内のあらゆる方向からの応力や共振のエネルギーを吸収しやすくするために球状であることが好ましい。
また、端子2bは、枠体2の外側面や、振動体3aに対して圧電素子5が設けられる側およびそれと反対側の枠体2の主面のいずれに固定されてもよいが、特に、圧電素子5が設けられる側の枠体2の主面に固定されることが好ましい。これにより、圧電素子5から発生して空中を伝わる振動に起因して生じる枠体2の共振を抑制でき、音質が向上する。
また、振動体3aの振動面に対して、端子2bを圧電素子5や樹脂層7などの他の構成要素と同じ側に配置することで、振動体3aの振動面に対する複合振動体全体の対称性が低下して複合振動体全体の共振周波数が分散されるという効果も得られる。
なお、図3Dに示すように、リード線6a、6bは、弛みをもたせて端子2bおよび圧電素子5の間に接続されることが好ましい。これにより、端子2bから圧電素子5へ伝わる振動を減衰することができるので、振動源である圧電素子5に伝わるノイズを低減し、クリアな音質の高い音響を発生させることができる。また、端子2bおよび圧電素子5への応力を抑えられるので、耐久性を向上させ、製品寿命を延ばすことができる。
また、ノイズの発生を抑えるという点から、端子2bは、枠体2の素材よりも軟らかい、すなわち弾性率の小さい素材からなることが好ましい。これにより、枠体2で生じる振動を減衰することができるので、やはり圧電素子5に伝わるノイズを低減することができる。
また、端子2bには、たとえば貫通孔などの孔部が設けられていてもよい。このように端子2bに孔部を設けた場合、枠体2の縮退した振動モードを分散させるとともに、孔部において枠体2の振動をさらに乱すことができ、振動体3aへの反射波を乱すことができるので、複合振動体全体の共振周波数における音圧のピーク形状をなだらかにできる。
また、図3Bに示すように、端子2bは、端子板2aを介して枠体2に設けられてもよい。端子板2aは、枠体2に設けられる基板であり、ガラスエポキシ基板などを好適に用いることができる。
端子2bは、かかる端子板2a上に少なくとも1つ以上設けられる。なお、図3には、端子板2a上に2個の端子2bが設けられている場合を例示しているが、端子板2aの1個あたりの端子2bの個数を限定するものではない。
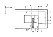
ここで、以下の説明を分かりやすくする観点から、本実施形態における枠体2の各部位の名称について、図4Aおよび図4Bを用いて述べておく。図4Aは、枠体2の各部位を説明するための模式的な斜視図であり、図4Bは、枠体2の各部位を説明するための模式的な平面図である。なお、図4Aでは、枠体2を構成する2枚の枠部材のうち、1枚分のみを示している。
図4Aに示すように、本実施形態では、枠体2が有する端面のうち、XY平面に平行な端面を「主面」と表現する。また、同じく枠体2が有する端面のうち、XZ平面あるいはYZ平面に平行な端面を「側面」と表現する。
また、図4Bに示すように、本実施形態では、長手方向あるいは短手方向の骨を「辺」と表現する。また、かかる「辺」と「辺」が重なる部分を「角部」と表現する(図中の斜線で塗りつぶした斜線領域参照)。
また、枠体2の中心線CL1と「辺」が交差する部分を「中央」と表現する。なお、図4Bには長手方向の中心線CL1と交差する「中央」のみ図示しているが、短手方向についてもかかる表現は同様にあてはまるものとする。
また、図4Bは、枠体2が直線状の「辺」のみからなる略矩形状である場合の例示であるが、両端を有する骨であれば、「辺」は曲線状であってもよい。
また、図4Bに示すように、本実施形態では、枠体2の内側の領域を「枠内」と、また外側の領域を「枠外」と、それぞれ表現する。
図3Aおよび図3Bの説明に戻り、実施形態に係る音響発生器1について詳細に説明する。そして、本実施形態では、図3Aおよび図3Bに示すように、上述の端子2bを、枠体2の主面に、枠体2の中央を避けて設けることとした。また、これに関連して、端子板2aについては、枠体2の辺の中央から枠体2の角部寄りにずらして設けることとした。
かかる構成により得られる効果について、まず端子2bから説明する。振動体3aの共振に誘導されて枠体2自体も振動する点については既に述べたが、かかる枠体2に端子2bが設けられることによって、端子2bの周囲で枠体2を伝播する振動波を乱すことができる。
とりわけ、端子2bへ電気信号が入力された場合、端子2bの周囲は部分的に温度上昇するため、熱膨張を起こして振動波は乱れやすい。これにより、枠体2から振動体3aへ返る反射波を乱すことができる。
そして、その結果、共振周波数を部分的に揃わなくさせることができるので、共振点の音圧のピークPをばらつかせ、音圧の周波数特性を平坦化させることができる。すなわち、良好な音圧の周波数特性を得ることができる。
また、端子2bは、音響発生器1の発生させる音声が伝播する側である枠体2の主面側に設けられることで、音声信号に誘導された振動波が端子2bを振動させやすくなる。
したがって、端子2bの周囲では、伝播される振動波が乱されやすくなり、これにともなって共振周波数を部分的に揃わなくさせることができる。すなわち、共振点の音圧のピークPをばらつかせ、良好な音圧の周波数特性を得ることができる。
また、端子2bは、枠体2の中央を避けて設けられることで、上述の複合振動体全体の形状に非対称性をもたせることができるので、枠体2から振動体3aへの反射波を乱し、反射波の対称性を低下させることができる。
これにより、やはり共振周波数を部分的に揃わなくさせることができるので、共振点の音圧のピークPをばらつかせ、良好な音圧の周波数特性を得ることができる。
つづいて、端子板2aによる効果について説明する。端子板2aは、まず枠体2に設けられることで、枠体2の表面を伝播する振動波をかかる端子板2aの存在する部位で反射させることができる。
すなわち、共振周波数を部分的に揃わなくさせることができるので、共振点の音圧のピークPをばらつかせ、良好な音圧の周波数特性を得ることができる。
とりわけ、端子板2aに、上述のようにガラスエポキシ基板を用いた場合、ヤング率の異なる素材が分散した構造であることから、端子板2aの周囲の振動波を激しく乱すことができる。したがって、共振周波数を部分的に揃わなくさせるうえで、より効果的である。
また、端子板2aは、枠体2の辺の中央から枠体2の角部寄りにずらして設けられることで、上述の複合振動体全体の形状に非対称性をもたせることができる。これにより、枠体2から振動体3aへの反射波を乱し、反射波の対称性を低下させることができるので、共振周波数を部分的に揃わなくさせることができる。すなわち、やはり共振点の音圧のピークPをばらつかせ、良好な音圧の周波数特性を得ることができる。
なお、図3Bに示すように、端子板2aは、枠体2の角部と枠体2の辺の中央との間に設けられることが好ましい。この場合、2つの辺が交差することで剛性の高い(すなわち、振動しにくい)角部を避けつつ、複合振動体全体の形状に非対称性をもたせることができるので、より効果的に枠体2から振動体3aへの反射波を乱すことができる。
また、これを踏まえつつ、端子板2aは、枠体2の長手方向の辺に設けられることが好ましい。これにより、短手方向の辺に設けられる場合よりも反射波の対称性を低下させることができるので、より効果的に共振周波数を部分的に揃わなくさせることができる。
そして、このような端子板2a上に端子2bを設けることによって、端子板2aおよび端子2bによる効果を相乗的に得ることができる。すなわち、より効果的に共振点の音圧のピークPをばらつかせ、良好な音圧の周波数特性を得ることができる。
また、図3Aに示すように複数個(ここでは、2個)の端子2bが設けられる場合、端子2bそれぞれが異なる共振ピークをもつことができるので、端子2bの周囲の振動波をさらに乱すことができる。したがって、これによっても共振周波数を部分的に揃わなくさせることができる。
また、同じく複数個の端子2bが設けられる場合、少なくとも1つの端子2bの極性がその他の端子2bの極性と異なることがより効果的である。すなわち、端子2bの極性が異なれば、端子2bそれぞれに異なった信号成分があるので、端子2bそれぞれの周囲の温度上昇が異なることとなる。したがって、端子板2aを伝播する振動波をさらに乱すことができるので、共振周波数を部分的に揃わなくさせることができる。
また、端子2bは、リード線6a、6bによって、圧電素子5と接続されるので、リード線6a、6bを介して圧電素子5の周囲の振動を拾うことができる。これにより、さらに端子2bの周囲で振動波を効果的に乱すことができる。
なお、図3Cに示すように、リード線6a、6bは(6aは図示略)、弛みをもたせて端子2bおよび圧電素子5の間に接続されることが好ましい。これにより、端子2bから圧電素子5への振動を減衰することができるのでノイズの発生を抑え、クリアな音質の高い音響を発生させることができる。また、端子2bおよび圧電素子5への応力を抑えられるので、耐久性を向上させ、製品寿命を延ばすことができる。
また、ノイズの発生を抑える点については、端子2bは、枠体2の素材よりも軟らかい素材からなることが好ましい。これにより、枠体2で生じる振動を減衰することができるので、やはりノイズの発生を抑えることができる。
また、図3Aおよび図3Bに示すように、端子2bは、枠体2の枠外または枠内にはみ出さないように設けられることで、端子2b自体の振動の自由度を規制される。これにより、端子2bからの音鳴りを抑えることができ、やはりノイズの発生を抑えることができる。
なお、逆に、端子2bは、枠体2の枠外または枠内にはみ出すように設けられてもよい。かかる点については、図5Bを用いて後述する。また、図3Cの、二点鎖線で囲まれたM1部は、図5Fを用いた説明において拡大図としてあらためて示す。
次に、図5A〜図5Jを用いて、端子板2aまたは端子2bの変形例について順次説明する。図5A〜図5D、および、図5H〜図5Jは順に、端子板2aまたは端子2bの変形例を示す模式的な平面図(その1)〜(その7)である。また、図5Eは、端子板2aの変形例の一つを示す模式的な斜視図である。また、図5Fは、端子2bの変形例の一つを示す模式的な断面図、図5Gは、図3Bの変形例を示すB−B’線断面図である。
まず、図5Aに示すように、端子板2aは、枠体2の枠外または枠内にはみ出すように設けられてもよい。かかる場合、振動体3aの振動に誘発されて枠体2が振動しても、端子板2aのはみ出した部分は共振周波数がずれるため、端子2bの周囲を伝播する枠体2の振動波をさらに乱すことができる。その結果、枠体2から振動体3aへの反射波もさらに乱すことができる。
すなわち、共振周波数を部分的に揃わなくさせ、共振点の音圧のピークPをばらつかせて、良好な音圧の周波数特性を得ることができる。
また、図5Aでは、端子2bが、枠体2の主面内に位置するように端子板2a上に設けられる場合の例を示したが、図5Bに示すように、端子2bを枠体2の枠外または枠内にはみ出すような位置に設けてもよい。この場合もやはり図5Aの場合と同様の理由により、共振周波数を部分的に揃わなくさせ、共振点の音圧のピークPをばらつかせて、良好な音圧の周波数特性を得ることができる。
また、図5Cに示すように、端子板2aは、枠体2の辺と平面視で非平行となるように設けられてもよい。具体的には、枠体2の辺の中心線CL2と、端子板2aの中心線CL3とが、平面視で非平行となるような場合である。
かかる場合、振動体3aの振動に誘発されて枠体2が振動しても、端子板2aが枠体2と非平行であることから端子板2aの領域でさらに共振周波数がずれることとなる。したがって、端子2bの周囲を伝播する枠体2の振動波をさらに乱すことができるので、枠体2から振動体3aへの反射波もまたさらに乱すことができる。
すなわち、共振周波数を部分的に揃わなくさせ、共振点の音圧のピークPをばらつかせて、良好な音圧の周波数特性を得ることができる。
また、このように非平行であることで、複合振動体としての形状に非対称性をもたせることができる。すなわち、反射波の対称性を低下させ、共振周波数を部分的に揃わなくさせることができる。
これに関連して、図5Dに示すように、端子2bが、枠体2の辺と平面視で非平行となるように設けられてもよい。具体的には、2つの端子2bを結ぶ線CL4と、枠体2の辺の中心線CL2とが、平面視で非平行となるような場合である。
この場合もまた図5Cの場合と同様の理由により、共振周波数を部分的に揃わなくさせ、共振点の音圧のピークPをばらつかせて、良好な音圧の周波数特性を得ることができる。
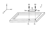
また、図5Eに示すように、端子板2aには、孔部2aaを設けてもよい。たとえば、図5Eは、ネジSCのネジ孔として孔部2aaを端子板2aに設け、枠体2にやはり設けたネジ孔2cへネジ締結することで、端子板2aを枠体2へ取り付ける場合を示している。ここで、たとえば、ネジSCは、端子2bを兼ねてもよい。
また、図5Eに示す例に関連して、図5Fに示すように、端子2bに対して孔部2baを設けることとしてもよい。このように、端子板2aまたは端子2bに対して、孔部2aaや孔部2baのような孔を設けた場合、振動に応じて孔の内部で振動波を形成することができるので、枠体2から振動体3aへの反射波をさらに乱すことができる。
このとき、孔と他部材(たとえば、枠体2)との間に継ぎ目があれば、かかる継ぎ目で振動波およびその反射波をさらに乱すことができる。また、音圧が高い場合には孔の周囲を変形させることができるので、波を乱し、共振周波数を部分的に揃わなくさせるうえではより効果的である。
また、図5Fに示すように、端子2bは、中間層2d(接着剤のような接合材)を用いて端子板2aへ接合されることが好ましい。かかる場合、端子2bと中間層2dとがそれぞれ枠体2の振動波を乱れさせるので、相乗的に激しく端子2bの周囲の振動波を乱れさせることができる。すなわち、この場合も、共振周波数を部分的に揃わなくさせるうえでより効果的である。
なお、端子板2aが絶縁性を有する場合、中間層2dは、必ずしも絶縁性を有することを要しない。すなわち、導電性を有する中間層2dを用いても構わない。また、中間層2dが絶縁性を有する場合、端子板2aは、必ずしも絶縁性を有することを要しない。たとえば、金属製の端子板2aを用いても構わない。つまり、中間層2dおよび端子板2aのうち、少なくとも一方が絶縁性を有していればよい。したがって、中間層2dとしては、接着剤だけでなく、座金などの部材であってもよい。また、図5Gに示すように、端子2bだけでなく、端子板2aが中間層2dを用いて枠体2へ接合されてもよい。
ところで、図3Bを用いた説明では、端子板2aは、枠体2の角部と枠体2の辺の中央との間に設けられることが好ましいこととしたが、かかる場合に限定されるものではない。
たとえば、図5Hに示すように、端子板2aは、中心線CL1に係る枠体2の中央に重なっていてもよい。具体的には、枠体2の中央に重なっていても、端子板2aの中心線CL5が、角部C1寄りあるいは角部C2寄りに、枠体2の中央からずれていればよい。
このような場合でも、少なくとも複合振動体全体の形状に非対称性をもたせることができるので、枠体2から振動体3aへの反射波の対称性を低下させ、乱すことができる。なお、ここで図5Hに示すように、少なくとも端子2bもまた枠体2の中央から避けて設けられていれば、より効果的である。
また、図5Iに示すように、端子板2aは、枠体2の角部(ここでは、角部C1)に重なるように設けられてもよい。この場合も、図5Hの場合と同様に、少なくとも複合振動体全体の形状に非対称性をもたせることができるので、枠体2から振動体3aへの反射波の対称性を低下させ、乱すことができる。
また、図5Jに示すように、端子2bだけではなく、端子板2aもまた複数個設けられてもよい。この場合、端子板2aの2個目以降は、電気信号の導通を行わないダミーとして設けられてよい。
このダミーとして設けられる場合であっても、枠体2に端子板2aおよび端子2bが複数個存在するだけで、枠体2から振動体3aへの反射波を乱すことは可能である。
次に、これまで説明してきた実施形態に係る音響発生器1を搭載した音響発生装置および電子機器について、図6Aおよび図6Bを用いて説明する。図6Aは、実施形態に係る音響発生装置20の構成を示す図であり、図6Bは、実施形態に係る電子機器50の構成を示す図である。なお、両図には、説明に必要となる構成要素のみを示しており、一般的な構成要素についての記載を省略している。
音響発生装置20は、いわゆるスピーカのような発音装置であり、図6Aに示すように、たとえば、音響発生器1と、音響発生器1を収容する筐体30を備える。筐体30は、音響発生器1の発する音響を内部で共鳴させるとともに、筐体30に形成された図示せぬ開口から音響を外部へ放射する。このような筐体30を有することにより、たとえば低周波数帯域における音圧を高めることができる。
また、音響発生器1は、種々の電子機器50に搭載することができる。たとえば、次に示す図6Bでは、電子機器50が、携帯電話やタブレット端末のような携帯端末装置であるものとする。
図6Bに示すように、電子機器50は、電子回路60を備える。電子回路60は、たとえば、コントローラ50aと、送受信部50bと、キー入力部50cと、マイク入力部50dとから構成される。電子回路60は、音響発生器1に接続されており、音響発生器1へ音声信号を出力する機能を有している。音響発生器1は電子回路60から入力された音声信号に基づいて音響を発生させる。
また、電子機器50は、表示部50eと、アンテナ50fと、音響発生器1とを備える。また、電子機器50は、これら各デバイスを収容する筐体40を備える。
なお、図6Bでは、1つの筐体40にコントローラ50aをはじめとする各デバイスがすべて収容されている状態をあらわしているが、各デバイスの収容形態を限定するものではない。本実施形態では、少なくとも電子回路60と音響発生器1とが、1つの筐体40に収容されていればよい。
コントローラ50aは、電子機器50の制御部である。送受信部50bは、コントローラ50aの制御に基づき、アンテナ50fを介してデータの送受信などを行う。
キー入力部50cは、電子機器50の入力デバイスであり、操作者によるキー入力操作を受け付ける。マイク入力部50dは、同じく電子機器50の入力デバイスであり、操作者による音声入力操作などを受け付ける。
表示部50eは、電子機器50の表示出力デバイスであり、コントローラ50aの制御に基づき、表示情報の出力を行う。
そして、音響発生器1は、電子機器50における音響出力デバイスとして動作する。なお、音響発生器1は、電子回路60のコントローラ50aに接続されており、コントローラ50aによって制御された電圧の印加を受けて音響を発することとなる。
ところで、図6Bでは、電子機器50が携帯用端末装置であるものとして説明を行ったが、電子機器50の種別を問うものではなく、音響を発する機能を有する様々な民生機器に適用されてよい。たとえば、薄型テレビやカーオーディオ機器は無論のこと、「話す」といった音響を発する機能を有する製品、例を挙げれば、掃除機や洗濯機、冷蔵庫、電子レンジなどといった種々の製品に用いられてよい。
上述してきたように、実施形態に係る音響発生器は、励振器(圧電素子)と、振動体と、枠体と、導線(リード線)とを備える。上記励振器は、電気信号が入力されて振動する。上記振動体は、上記励振器が取り付けられており、かかる励振器の振動によってこの励振器とともに振動する。上記枠体は、上記振動体の外周部に設けられ、かかる振動体を略扁平に支持する。上記導線は、上記励振器に接続され、かかる励振器へ電気信号を入力する。また、上記枠体は、上記導線への接続点となる端子を有している。
したがって、実施形態に係る音響発生器によれば、良好な音圧の周波数特性を得ることができる。
なお、上述した実施形態では、枠体の枠内において圧電素子および振動体を覆ってしまうように樹脂層を形成する場合を例に挙げたが、かかる樹脂層を必ずしも形成しなくともよい。
また、上述した実施形態では、樹脂フィルムなどの薄膜で振動板を構成する場合を例に挙げたが、これに限られるものではなく、たとえば、板状の部材で構成することとしてもよい。
また、上述した実施形態では、励振器が圧電素子である場合を例に挙げて説明したが、励振器としては、圧電素子に限定されるものではなく、電気信号が入力されて振動する機能を有しているものであればよい。
たとえば、スピーカを振動させる励振器としてよく知られた、動電型の励振器や、静電型の励振器や、電磁型の励振器であっても構わない。
なお、動電型の励振器は、永久磁石の磁極の間に配置されたコイルに電流を流してコイルを振動させるようなものであり、静電型の励振器は、向き合わせた2つの金属板にバイアスと電気信号とを流して金属板を振動させるようなものであり、電磁型の励振器は、電気信号をコイルに流して薄い鉄板を振動させるようなものである。
さらなる効果や変形例は、当業者によって容易に導き出すことができる。このため、本発明のより広範な態様は、以上のように表しかつ記述した特定の詳細および代表的な実施形態に限定されるものではない。したがって、添付の特許請求の範囲およびその均等物によって定義される総括的な発明の概念の精神または範囲から逸脱することなく、様々な変更が可能である。
1、1’ 音響発生器
2 枠体
2a 端子板
2aa 孔部
2b 端子
2ba 孔部
2c ネジ孔
2d 中間層
3 振動板
3a 振動体
5 圧電素子
5a、5b、5c、5d 圧電体層
5e 内部電極層
5f、5g 表面電極層
5h、5j 外部電極
6a、6b リード線
7 樹脂層
20 音響発生装置
30、40 筐体
50 電子機器
50a コントローラ
50b 送受信部
50c キー入力部
50d マイク入力部
50e 表示部
50f アンテナ
60 電子回路
C1、C2 角部
P ピーク
SC ネジ

Claims (10)

  1. 電気信号が入力されて振動する励振器と、
    前記励振器が取り付けられており、該励振器の振動によって該励振器とともに振動する振動体と、
    前記振動体の外周部に設けられ、該振動体を扁平に支持する枠体と、
    前記励振器に接続され、該励振器へ電気信号を入力する導線とを備え、
    前記枠体は前記導線への接続点となる複数個の端子を有しており、該複数個の端子は、当該複数個の端子の少なくとも2つを結ぶ線が平面視で前記枠体の辺と非平行となるように設けられていることを特徴とする音響発生器。
  2. 電気信号が入力されて振動する励振器と、
    前記励振器が取り付けられており、該励振器の振動によって該励振器とともに振動する振動体と、
    前記振動体の外周部に設けられ、該振動体を扁平に支持する枠体と、
    前記励振器に接続され、該励振器へ電気信号を入力する導線と、
    前記枠体に設けられた基板とを備え、
    前記導線への接続点となる端子前記基板上に設けられているとともに、前記基板が前記枠体の辺の中央から前記枠体の角部寄りにずらして設けられていることを特徴とする音響発生器。
  3. 電気信号が入力されて振動する励振器と、
    前記励振器が取り付けられており、該励振器の振動によって該励振器とともに振動する振動体と、
    前記振動体の外周部に設けられ、該振動体を扁平に支持する枠体と、
    前記励振器に接続され、該励振器へ電気信号を入力する導線と、
    前記枠体に設けられた基板とを備え、
    前記導線への接続点となる端子が前記基板上に設けられているとともに、前記基板前記枠体の辺と平面視で非平行となるように設けられていることを特徴とする音響発生器。
  4. 電気信号が入力されて振動する励振器と、
    前記励振器が取り付けられており、該励振器の振動によって該励振器とともに振動する振動体と、
    前記振動体の外周部に設けられ、該振動体を扁平に支持する枠体と、
    前記励振器に接続され、該励振器へ電気信号を入力する導線と、
    前記枠体に設けられた基板とを備え、
    前記導線への接続点となる端子が前記基板上に設けられているとともに、前記基板前記枠体の枠外または枠内へはみ出すように設けられていることを特徴とする音響発生器。
  5. 電気信号が入力されて振動する励振器と、
    前記励振器が取り付けられており、該励振器の振動によって該励振器とともに振動する振動体と、
    前記振動体の外周部に設けられ、該振動体を扁平に支持する枠体と、
    前記励振器に接続され、該励振器へ電気信号を入力する導線とを備え、
    前記枠体は前記導線への接続点となる端子を有しており、該端子は気孔を有する中間層を介して設けられていることを特徴とする音響発生器。
  6. 前記端子は、前記枠体の素材よりも軟らかい素材からなることを特徴とする請求項1〜5のいずれか一つに記載の音響発生器。
  7. 前記振動体は、樹脂フィルムからなることを特徴とする請求項1〜のいずれか一つに記載の音響発生器。
  8. 前記励振器は、バイモルフ型の積層型圧電素子であることを特徴とする請求項1〜のいずれか一つに記載の音響発生器。
  9. 請求項1〜のいずれか一つに記載の音響発生器と、
    該音響発生器を収容する筐体とを備えることを特徴とする音響発生装置。
  10. 請求項1〜のいずれか一つに記載の音響発生器と、
    該音響発生器に接続された電子回路と、
    該電子回路および前記音響発生器を収容する筐体とを備え、
    前記音響発生器から音響を発生させる機能を有することを特徴とする電子機器。
JP2014552953A 2012-12-17 2013-06-28 音響発生器、音響発生装置および電子機器 Expired - Fee Related JP5908994B2 (ja)

Applications Claiming Priority (5)

Application Number Priority Date Filing Date Title
JP2012275132 2012-12-17
JP2012275132 2012-12-17
JP2012280204 2012-12-21
JP2012280204 2012-12-21
PCT/JP2013/067921 WO2014097668A1 (ja) 2012-12-17 2013-06-28 音響発生器、音響発生装置および電子機器

Publications (2)

Publication Number Publication Date
JP5908994B2 true JP5908994B2 (ja) 2016-04-26
JPWO2014097668A1 JPWO2014097668A1 (ja) 2017-01-12

Family

ID=50978022

Family Applications (1)

Application Number Title Priority Date Filing Date
JP2014552953A Expired - Fee Related JP5908994B2 (ja) 2012-12-17 2013-06-28 音響発生器、音響発生装置および電子機器

Country Status (7)

Country Link
US (1) US9380365B2 (ja)
EP (1) EP2947897B1 (ja)
JP (1) JP5908994B2 (ja)
KR (1) KR101507747B1 (ja)
CN (1) CN103999482B (ja)
TW (1) TWI545967B (ja)
WO (1) WO2014097668A1 (ja)

Families Citing this family (8)

* Cited by examiner, † Cited by third party
Publication number Priority date Publication date Assignee Title
US9826315B2 (en) * 2014-09-26 2017-11-21 Kyocera Corporation Acoustic generator, acoustic generation device, and electronic apparatus
CN105812989A (zh) * 2014-12-31 2016-07-27 鸿富锦精密工业(深圳)有限公司 扬声器
JP6434373B2 (ja) * 2015-06-11 2018-12-05 京セラ株式会社 圧電アクチュエータおよびこれを備えた圧電振動装置、音響発生器、音響発生装置、電子機器
JP6411958B2 (ja) * 2015-06-29 2018-10-24 京セラ株式会社 音響発生器およびこれを備えた音響発生装置、電子機器
JP7006017B2 (ja) * 2017-03-10 2022-01-24 Tdk株式会社 振動デバイス
JP7087942B2 (ja) * 2018-11-16 2022-06-21 Tdk株式会社 振動デバイス、電子機器、及び、振動デバイスの駆動方法
EP4282709B1 (en) * 2021-01-25 2026-03-18 Agc Inc. Sound shielding device
KR20230099099A (ko) * 2021-12-27 2023-07-04 엘지디스플레이 주식회사 장치

Citations (3)

* Cited by examiner, † Cited by third party
Publication number Priority date Publication date Assignee Title
JPS62109600U (ja) * 1985-12-26 1987-07-13
JP2001275190A (ja) * 2000-03-28 2001-10-05 Matsushita Electric Ind Co Ltd 圧電スピーカ
JP2012110018A (ja) * 2010-06-25 2012-06-07 Kyocera Corp 音響発生器

Family Cites Families (15)

* Cited by examiner, † Cited by third party
Publication number Priority date Publication date Assignee Title
US1919632A (en) * 1930-04-04 1933-07-25 Rca Corp Sound radiator
GB1219918A (en) * 1968-08-08 1971-01-20 Standard Telephones Cables Ltd Improvements in and relating to moving coil transducers
US3697790A (en) * 1970-12-02 1972-10-10 William T Flint Transducers having piezoelectric struts
JPS5379525A (en) * 1976-12-23 1978-07-14 Sony Corp Compound diaphtagm for speakers
JPS59129290U (ja) * 1983-02-18 1984-08-30 三洋電機株式会社 スピ−カ
JPH0732837B2 (ja) * 1985-11-07 1995-04-12 松下電器産業株式会社 自動洗濯機
JP3160070B2 (ja) * 1992-04-30 2001-04-23 呉羽化学工業株式会社 振動−電気エネルギー変換素子
CN1038179C (zh) * 1992-09-30 1998-04-22 星精密株式会社 电音响变换器
JP2004023436A (ja) * 2002-06-17 2004-01-22 Nihon Ceratec Co Ltd 圧電スピーカ
JP2004266424A (ja) * 2003-02-28 2004-09-24 Citizen Electronics Co Ltd マイクロスピーカ
JP2005311415A (ja) * 2004-04-16 2005-11-04 Nec Tokin Corp 音響振動発生素子
CN101119597B (zh) * 2006-08-02 2011-06-08 金大仁 平板式扬声器
KR101159734B1 (ko) * 2008-12-22 2012-06-28 한국전자통신연구원 압전형 스피커 및 이의 제작방법
KR101166727B1 (ko) * 2010-06-17 2012-07-19 주식회사 이엠텍 음향변환장치
WO2014091785A1 (ja) * 2012-12-12 2014-06-19 京セラ株式会社 音響発生器、音響発生装置および電子機器

Patent Citations (3)

* Cited by examiner, † Cited by third party
Publication number Priority date Publication date Assignee Title
JPS62109600U (ja) * 1985-12-26 1987-07-13
JP2001275190A (ja) * 2000-03-28 2001-10-05 Matsushita Electric Ind Co Ltd 圧電スピーカ
JP2012110018A (ja) * 2010-06-25 2012-06-07 Kyocera Corp 音響発生器

Also Published As

Publication number Publication date
EP2947897A1 (en) 2015-11-25
TWI545967B (zh) 2016-08-11
KR101507747B1 (ko) 2015-04-07
TW201427438A (zh) 2014-07-01
US9380365B2 (en) 2016-06-28
WO2014097668A1 (ja) 2014-06-26
EP2947897A4 (en) 2016-11-09
CN103999482B (zh) 2017-02-22
CN103999482A (zh) 2014-08-20
US20150312661A1 (en) 2015-10-29
KR20140103031A (ko) 2014-08-25
EP2947897B1 (en) 2019-05-01
JPWO2014097668A1 (ja) 2017-01-12

Similar Documents

Publication Publication Date Title
JP5908994B2 (ja) 音響発生器、音響発生装置および電子機器
JP6016945B2 (ja) 音響発生器、音響発生装置および電子機器
JP5677639B2 (ja) 音響発生器、音響発生装置および電子機器
JP5627824B1 (ja) 音響発生器、音響発生装置および電子機器
JP6053794B2 (ja) 音響発生器、音響発生装置および電子機器
JP5602978B2 (ja) 音響発生器、音響発生装置および電子機器
WO2014097862A1 (ja) 音響発生器、音響発生装置および電子機器
JP2014127767A (ja) 音響発生器、音響発生装置および電子機器
JP2014127843A (ja) 音響発生器、音響発生装置および電子機器
JP5909169B2 (ja) 音響発生器、音響発生装置および電子機器
JP5934386B2 (ja) 音響発生器、音響発生装置および電子機器
JP6166038B2 (ja) 音響発生器、音響発生装置および電子機器
JP2014123812A (ja) 音響発生器、音響発生装置および電子機器
JP6034182B2 (ja) 音響発生器、音響発生装置および電子機器
JP6027827B2 (ja) 音響発生器、音響発生装置および電子機器
JP6092618B2 (ja) 音響発生器、音響発生装置および電子機器
WO2014104018A1 (ja) 音響発生器、音響発生装置および電子機器
JP5952426B2 (ja) 音響発生器、音響発生装置および電子機器
WO2014091813A1 (ja) 音響発生器、音響発生装置および電子機器
JP2014116795A (ja) 音響発生器、音響発生装置および電子機器

Legal Events

Date Code Title Description
A521 Request for written amendment filed

Free format text: JAPANESE INTERMEDIATE CODE: A523

Effective date: 20160201

TRDD Decision of grant or rejection written
A01 Written decision to grant a patent or to grant a registration (utility model)

Free format text: JAPANESE INTERMEDIATE CODE: A01

Effective date: 20160301

A61 First payment of annual fees (during grant procedure)

Free format text: JAPANESE INTERMEDIATE CODE: A61

Effective date: 20160324

R150 Certificate of patent or registration of utility model

Ref document number: 5908994

Country of ref document: JP

Free format text: JAPANESE INTERMEDIATE CODE: R150

LAPS Cancellation because of no payment of annual fees