JP5933552B2 - 排気ターボ過給機 - Google Patents

排気ターボ過給機 Download PDF

Info

Publication number
JP5933552B2
JP5933552B2 JP2013526000A JP2013526000A JP5933552B2 JP 5933552 B2 JP5933552 B2 JP 5933552B2 JP 2013526000 A JP2013526000 A JP 2013526000A JP 2013526000 A JP2013526000 A JP 2013526000A JP 5933552 B2 JP5933552 B2 JP 5933552B2
Authority
JP
Japan
Prior art keywords
oil
exhaust turbocharger
bearing housing
chamber
turbine
Prior art date
Legal status (The legal status is an assumption and is not a legal conclusion. Google has not performed a legal analysis and makes no representation as to the accuracy of the status listed.)
Expired - Fee Related
Application number
JP2013526000A
Other languages
English (en)
Other versions
JP2013536369A (ja
Inventor
ヨハネス・ホルンバッハ
マーティン・ベッカー
トーマス・コナー
Original Assignee
ボーグワーナー インコーポレーテッド
ボーグワーナー インコーポレーテッド
Priority date (The priority date is an assumption and is not a legal conclusion. Google has not performed a legal analysis and makes no representation as to the accuracy of the date listed.)
Filing date
Publication date
Application filed by ボーグワーナー インコーポレーテッド, ボーグワーナー インコーポレーテッド filed Critical ボーグワーナー インコーポレーテッド
Publication of JP2013536369A publication Critical patent/JP2013536369A/ja
Application granted granted Critical
Publication of JP5933552B2 publication Critical patent/JP5933552B2/ja
Expired - Fee Related legal-status Critical Current
Anticipated expiration legal-status Critical

Links

Images

Classifications

    • FMECHANICAL ENGINEERING; LIGHTING; HEATING; WEAPONS; BLASTING
    • F01MACHINES OR ENGINES IN GENERAL; ENGINE PLANTS IN GENERAL; STEAM ENGINES
    • F01DNON-POSITIVE DISPLACEMENT MACHINES OR ENGINES, e.g. STEAM TURBINES
    • F01D25/00Component parts, details, or accessories, not provided for in, or of interest apart from, other groups
    • F01D25/18Lubricating arrangements
    • FMECHANICAL ENGINEERING; LIGHTING; HEATING; WEAPONS; BLASTING
    • F16ENGINEERING ELEMENTS AND UNITS; GENERAL MEASURES FOR PRODUCING AND MAINTAINING EFFECTIVE FUNCTIONING OF MACHINES OR INSTALLATIONS; THERMAL INSULATION IN GENERAL
    • F16CSHAFTS; FLEXIBLE SHAFTS; ELEMENTS OR CRANKSHAFT MECHANISMS; ROTARY BODIES OTHER THAN GEARING ELEMENTS; BEARINGS
    • F16C35/00Rigid support of bearing units; Housings, e.g. caps, covers
    • F16C35/02Rigid support of bearing units; Housings, e.g. caps, covers in the case of sliding-contact bearings
    • FMECHANICAL ENGINEERING; LIGHTING; HEATING; WEAPONS; BLASTING
    • F01MACHINES OR ENGINES IN GENERAL; ENGINE PLANTS IN GENERAL; STEAM ENGINES
    • F01DNON-POSITIVE DISPLACEMENT MACHINES OR ENGINES, e.g. STEAM TURBINES
    • F01D25/00Component parts, details, or accessories, not provided for in, or of interest apart from, other groups
    • F01D25/16Arrangement of bearings; Supporting or mounting bearings in casings
    • FMECHANICAL ENGINEERING; LIGHTING; HEATING; WEAPONS; BLASTING
    • F01MACHINES OR ENGINES IN GENERAL; ENGINE PLANTS IN GENERAL; STEAM ENGINES
    • F01DNON-POSITIVE DISPLACEMENT MACHINES OR ENGINES, e.g. STEAM TURBINES
    • F01D25/00Component parts, details, or accessories, not provided for in, or of interest apart from, other groups
    • F01D25/18Lubricating arrangements
    • F01D25/183Sealing means
    • FMECHANICAL ENGINEERING; LIGHTING; HEATING; WEAPONS; BLASTING
    • F01MACHINES OR ENGINES IN GENERAL; ENGINE PLANTS IN GENERAL; STEAM ENGINES
    • F01DNON-POSITIVE DISPLACEMENT MACHINES OR ENGINES, e.g. STEAM TURBINES
    • F01D25/00Component parts, details, or accessories, not provided for in, or of interest apart from, other groups
    • F01D25/24Casings; Casing parts, e.g. diaphragms, casing fastenings
    • FMECHANICAL ENGINEERING; LIGHTING; HEATING; WEAPONS; BLASTING
    • F02COMBUSTION ENGINES; HOT-GAS OR COMBUSTION-PRODUCT ENGINE PLANTS
    • F02BINTERNAL-COMBUSTION PISTON ENGINES; COMBUSTION ENGINES IN GENERAL
    • F02B39/00Component parts, details, or accessories relating to, driven charging or scavenging pumps, not provided for in groups F02B33/00 - F02B37/00
    • FMECHANICAL ENGINEERING; LIGHTING; HEATING; WEAPONS; BLASTING
    • F02COMBUSTION ENGINES; HOT-GAS OR COMBUSTION-PRODUCT ENGINE PLANTS
    • F02BINTERNAL-COMBUSTION PISTON ENGINES; COMBUSTION ENGINES IN GENERAL
    • F02B39/00Component parts, details, or accessories relating to, driven charging or scavenging pumps, not provided for in groups F02B33/00 - F02B37/00
    • F02B39/14Lubrication of pumps; Safety measures therefor
    • FMECHANICAL ENGINEERING; LIGHTING; HEATING; WEAPONS; BLASTING
    • F16ENGINEERING ELEMENTS AND UNITS; GENERAL MEASURES FOR PRODUCING AND MAINTAINING EFFECTIVE FUNCTIONING OF MACHINES OR INSTALLATIONS; THERMAL INSULATION IN GENERAL
    • F16CSHAFTS; FLEXIBLE SHAFTS; ELEMENTS OR CRANKSHAFT MECHANISMS; ROTARY BODIES OTHER THAN GEARING ELEMENTS; BEARINGS
    • F16C17/00Sliding-contact bearings for exclusively rotary movement
    • F16C17/12Sliding-contact bearings for exclusively rotary movement characterised by features not related to the direction of the load
    • F16C17/18Sliding-contact bearings for exclusively rotary movement characterised by features not related to the direction of the load with floating brasses or brushing, rotatable at a reduced speed
    • FMECHANICAL ENGINEERING; LIGHTING; HEATING; WEAPONS; BLASTING
    • F01MACHINES OR ENGINES IN GENERAL; ENGINE PLANTS IN GENERAL; STEAM ENGINES
    • F01DNON-POSITIVE DISPLACEMENT MACHINES OR ENGINES, e.g. STEAM TURBINES
    • F01D25/00Component parts, details, or accessories, not provided for in, or of interest apart from, other groups
    • F01D25/16Arrangement of bearings; Supporting or mounting bearings in casings
    • F01D25/166Sliding contact bearing
    • FMECHANICAL ENGINEERING; LIGHTING; HEATING; WEAPONS; BLASTING
    • F01MACHINES OR ENGINES IN GENERAL; ENGINE PLANTS IN GENERAL; STEAM ENGINES
    • F01DNON-POSITIVE DISPLACEMENT MACHINES OR ENGINES, e.g. STEAM TURBINES
    • F01D25/00Component parts, details, or accessories, not provided for in, or of interest apart from, other groups
    • F01D25/18Lubricating arrangements
    • F01D25/183Sealing means
    • F01D25/186Sealing means for sliding contact bearing
    • FMECHANICAL ENGINEERING; LIGHTING; HEATING; WEAPONS; BLASTING
    • F05INDEXING SCHEMES RELATING TO ENGINES OR PUMPS IN VARIOUS SUBCLASSES OF CLASSES F01-F04
    • F05DINDEXING SCHEME FOR ASPECTS RELATING TO NON-POSITIVE-DISPLACEMENT MACHINES OR ENGINES, GAS-TURBINES OR JET-PROPULSION PLANTS
    • F05D2220/00Application
    • F05D2220/40Application in turbochargers
    • FMECHANICAL ENGINEERING; LIGHTING; HEATING; WEAPONS; BLASTING
    • F05INDEXING SCHEMES RELATING TO ENGINES OR PUMPS IN VARIOUS SUBCLASSES OF CLASSES F01-F04
    • F05DINDEXING SCHEME FOR ASPECTS RELATING TO NON-POSITIVE-DISPLACEMENT MACHINES OR ENGINES, GAS-TURBINES OR JET-PROPULSION PLANTS
    • F05D2240/00Components
    • F05D2240/70Slinger plates or washers
    • FMECHANICAL ENGINEERING; LIGHTING; HEATING; WEAPONS; BLASTING
    • F16ENGINEERING ELEMENTS AND UNITS; GENERAL MEASURES FOR PRODUCING AND MAINTAINING EFFECTIVE FUNCTIONING OF MACHINES OR INSTALLATIONS; THERMAL INSULATION IN GENERAL
    • F16CSHAFTS; FLEXIBLE SHAFTS; ELEMENTS OR CRANKSHAFT MECHANISMS; ROTARY BODIES OTHER THAN GEARING ELEMENTS; BEARINGS
    • F16C17/00Sliding-contact bearings for exclusively rotary movement
    • F16C17/26Systems consisting of a plurality of sliding-contact bearings
    • FMECHANICAL ENGINEERING; LIGHTING; HEATING; WEAPONS; BLASTING
    • F16ENGINEERING ELEMENTS AND UNITS; GENERAL MEASURES FOR PRODUCING AND MAINTAINING EFFECTIVE FUNCTIONING OF MACHINES OR INSTALLATIONS; THERMAL INSULATION IN GENERAL
    • F16CSHAFTS; FLEXIBLE SHAFTS; ELEMENTS OR CRANKSHAFT MECHANISMS; ROTARY BODIES OTHER THAN GEARING ELEMENTS; BEARINGS
    • F16C2360/00Engines or pumps
    • F16C2360/23Gas turbine engines
    • F16C2360/24Turbochargers
    • FMECHANICAL ENGINEERING; LIGHTING; HEATING; WEAPONS; BLASTING
    • F16ENGINEERING ELEMENTS AND UNITS; GENERAL MEASURES FOR PRODUCING AND MAINTAINING EFFECTIVE FUNCTIONING OF MACHINES OR INSTALLATIONS; THERMAL INSULATION IN GENERAL
    • F16CSHAFTS; FLEXIBLE SHAFTS; ELEMENTS OR CRANKSHAFT MECHANISMS; ROTARY BODIES OTHER THAN GEARING ELEMENTS; BEARINGS
    • F16C3/00Shafts; Axles; Cranks; Eccentrics
    • F16C3/02Shafts; Axles
    • FMECHANICAL ENGINEERING; LIGHTING; HEATING; WEAPONS; BLASTING
    • F16ENGINEERING ELEMENTS AND UNITS; GENERAL MEASURES FOR PRODUCING AND MAINTAINING EFFECTIVE FUNCTIONING OF MACHINES OR INSTALLATIONS; THERMAL INSULATION IN GENERAL
    • F16CSHAFTS; FLEXIBLE SHAFTS; ELEMENTS OR CRANKSHAFT MECHANISMS; ROTARY BODIES OTHER THAN GEARING ELEMENTS; BEARINGS
    • F16C33/00Parts of bearings; Special methods for making bearings or parts thereof
    • F16C33/02Parts of sliding-contact bearings
    • F16C33/04Brasses; Bushes; Linings
    • F16C33/06Sliding surface mainly made of metal
    • F16C33/10Construction relative to lubrication
    • F16C33/1025Construction relative to lubrication with liquid, e.g. oil, as lubricant

Landscapes

  • Engineering & Computer Science (AREA)
  • General Engineering & Computer Science (AREA)
  • Mechanical Engineering (AREA)
  • Chemical & Material Sciences (AREA)
  • Combustion & Propulsion (AREA)
  • Supercharger (AREA)

Description

本発明は、特許請求項1のプリアンブルによる排気ターボ過給機に関する。
前記タイプの排気ターボ過給機は、独国特許出願公開第102007027869A1号明細書から既知である。タービン内への油の損失を最小限にする手段が前記ターボ過給機に実装されてもなお、本発明の状況内で実行された試験は、前記手段は不十分であることを示してきた。
したがって、本発明の目的は、特許請求項1のプリアンブルに特定されたタイプの、実質的にタービン内への油の損失を回避することを可能にする、排気ターボ過給機を提供することである。
前記目的は、請求項1の特徴の手段によって達成される。
本発明は、流れを制御された油の排出をともなうタービン側の動的密封の概念を提案し、タービン側ラジアル軸受ブッシングのタービン側における油は、狭いギャップを介して導かれ、内側を機械加工され、および/または平滑化された油収集チャンバ内へ、好適には外側へ向けることによって、半径方向に導入される。油の前記油収集チャンバ内への導入の後、シャフトの高い回転速度、およびシャフト肩部と油収集チャンバのラジアル軸受側の区切り壁との間の狭いギャップの手段により、油は遠心力により、タービン側の方向により小さくなる油収集チャンバの外径へと進むように導かれ、好適には流れ案内要素を備える油チャンバまたは油中子内へと導入される。
従属請求項は、本発明の有利な改良に関する。
流れ案内要素(「ガセット」とも呼ばれる)が提供される場合、油収集チャンバ内のこの画定された油案内は、乱れの形成ならびに油の泡および/または油のミストの形成を少なくすることができる効果を有する。
さらに、前記手段により、目標とされるやり方で油が排出され、油収集チャンバとピストンリング密封との間にあるピストンリング密封ギャップから離れて保持される。
油収集チャンバの切り抜き部分、外を向けられた部分を取り囲むことにより、および外を向いた部分の下側への鋳造中子、または油収集チャンバ中子の接続により、ピストンリング密封ギャップは、長くすることができる。これによって、結果的に砂中子の最少壁厚さを除去し、鋳造の許容誤差を改善する。
軸受筐体およびシャフトの肩部とロータジャーナルとの間の狭いギャップにより、ラジアル軸受からタービン側への油の処理能力は減少する。軸受点間の改善された油排出により、油中子の改造により、既知の設計に対してタービン側軸受ブロックを短くすることも可能になる。
本発明のさらなる詳細、有利点、および特徴は、図面に基づく以下の例示的な実施形態の記述から明らかになる。
本発明による、排気ターボ過給機の概略的に若干単純化した図を示す。 タービン側ラジアル軸受ブッシングの領域内の排気ターボ過給機の軸受筐体の部分の拡大図を示す。 図2に関連して、図2に示した領域のさらに拡大した図を示す。 油収集チャンバの油チャンバへ出口の領域の、軸受筐体の概略的に高度に単純化した図を示す。 排気ターボ過給機の軸受筐体の油チャンバを形成するための砂中子の図を示す。 排気ターボ過給機の軸受筐体の油チャンバを形成するための砂中子の図を示す。 収集チャンバを生産するためのさらなる中子に関連して図5および図6による砂中子の部分図を示す。 収集チャンバを生産するためのさらなる中子に関連して図5および図6による砂中子の部分図を示す。
図1は、本発明による、シャフト2と、圧縮機ホイール3と、シャフトの反対側の端部に取り付けられたタービンホイール4とを備える、排気ターボ過給機1を図示する。圧縮機ホイール3とタービンホイール4との間に、タービン側軸受配列またはラジアル軸受ブッシング6、および圧縮機側軸受配列またはラジアル軸受ブッシング30も有する、軸受筐体5が図示される。
排気ターボ過給機1、または軸受筐体5も、軸受筐体端部領域8内に油収集チャンバ7およびピストンリング密封14を有する。
排気ターボ過給機1は、圧縮機筐体およびタービン筐体、ならびに過給機のタイプに応じて提供される他の構成要素も自明的に有するが、これらは本発明の原理を説明するためには必要とされないので、前記構成要素は図1には図示されない。
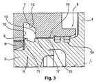
図2および図3の並置から、排気ターボ過給機1のシャフト2が、半径方向Rで外向きに油収集チャンバ7内へ延在する肩部9を有することが明らかになる。半径方向Rは、過給機軸Lと垂直な方向矢印として、図1および図3の両方に図示される。肩部9は、ロータジャーナルとも呼ばれる場合があり、その半径方向外向きに向けられた広がりの理由で、好適にはごく狭い設計であるギャップ11を、油収集チャンバ7のラジアル軸受側の第1の区切り壁10とともに区切る。
油収集チャンバ7は、油収集チャンバ7の第1の区切り壁10、上部壁12、および第2の区切り壁13などの外を向いたチャンバとして形成され、滑らかな表面を有するように機械加工される。これは、ギャップ11の前記狭い設計を達成するために好ましい。
特に図3から見ることができるように、上部壁12は第1の区切り壁10から第2の区切り壁13へと傾斜して下がり、すなわち、ピストンリング密封の側において、大きい直径領域から小さい直径領域へ、第1の区切り壁10から第2の区切り壁13へと続く。
図3は、長い設計が好ましく、シャフト2の外側周囲表面16と軸受筐体内側周囲表面17との間に形成されるピストンリング密封ギャップ15の提供も示す。前記ピストンリング密封ギャップ15は、油収集チャンバ7と軸受筐体端部領域8内に配設されるピストンリング密封14との間に配設される。
図4は、軸受筐体5、シャフト2、および油収集チャンバ7の概略的に高度に単純化された端面図を示し、滑らかな遷移Ueを介して、油Oeを、油収集チャンバ7内で上向きに、および前記油が漏斗形状出口19を介して流れて出るのを可能にするように引っ張る空気の流れLUが説明されるはずであり、ここで、軸受筐体5の油チャンバ18内に流れ案内要素20が配設される。流案内要素20は、図4の図式的な図から見ることができるように、ガセットまたは切頭円錐の様式で形成される。これは、シャフト2の高い回転速度と協働して、目標とする油の流れOeSを生み出す。
軸受筐体5内に油チャンバ18を形成することを可能にするために、図5および図6に図示される砂中子22が提供されてもよい。既知の設計と比較して短くなったタービン側軸受ブロック21(図2を参照のこと)を製造することを可能にするために、砂中子22は、表面23およびそれから軸方向に離間された表面24を有し、これらの表面は、完全に鋳造された状態で、図2に示される表面S1およびS2に対応する。
砂中子22は、切り欠き27を区切る突起25および26も有し、これは、完全に鋳造された状態で、図4に図示された流れ案内要素20を生み出す。
図7および図8は、その突起25および26の領域内の砂中子22、および、特に、油収集チャンバ7の形成29も可能にする機械加工28のモデルも示す。ここで、突起25および26は、外を向いた部分の下側、または油収集チャンバ7への中子の接続を形成する。
上記の開示を補足するために、図1〜図8において本発明の図式的な図示の参照が明示的に行われる。
1 排気ターボ過給機
2 シャフト
3 圧縮機ホイール
4 タービンホイール
5 軸受筐体
6 タービン側ラジアル軸受ブッシング
7 油収集チャンバ
8 軸受筐体端部領域
9 肩部/シャフト肩部/ロータジャーナル
10 第1の区切り壁
11 ギャップ
12 上部壁
13 第2の区切り壁
14 ピストンリング密封
15 ピストンリング密封ギャップ
16 シャフト2の外側周囲表面
17 軸受筐体内側周囲表面
18 軸受筐体5の油チャンバ
19 漏斗形状出口
20 流れ案内要素/ガセット
21 タービン側軸受ブロック
22 砂中子
23 表面
24 表面
25 突起
26 突起
27 凹部
28 機械加工のモデル
29 油収集チャンバの外を向いた部分
30 圧縮機側ラジアル軸受ブッシング
L 過給機軸
R 半径方向
LU 空気の流れ
Ue 滑らかな接線方向の遷移
Oe 油
OeS 油の流れ
S1 表面
S2 表面

Claims (5)

  1. 排気ターボ過給機(1)であって、
    圧縮機ホイール(3)およびタービンホイール(4)がその上に配設されるシャフト(2)を有し、
    タービン側ラジアル軸受ブッシング(6)を有し、かつ前記タービン側ラジアル軸受ブッシング(6)とタービン側軸受筐体端部領域(8)との間に配設された油収集チャンバ(7)を有する軸受筐体(5)を有し、
    前記シャフト(2)は、半径方向(R)で外向きに前記油収集チャンバ(7)の中へ延在し、前記油収集チャンバ(7)のラジアル軸受側の第1の区切り壁(10)とともにギャップ(11)を区切る肩部(9)を有し、
    前記油収集チャンバの前記第1の区切り壁(10)、上部壁(12)、および第2の区切り壁(13)が、機械加工されてなり、
    前記油収集チャンバ(7)と前記軸受筐体端部領域(8)内に配設されたピストンリング密封(14)との間で、前記シャフト(2)の外側周囲表面(16)と軸受筐体内側周囲表面(17)との間にピストンリング密封ギャップ(15)が配設される、
    排気ターボ過給機(1)。
  2. 前記上部壁(12)が前記第2の区切り壁(13)へと傾斜して下がる、請求項1に記載の排気ターボ過給機。
  3. 前記油収集チャンバ(7)が、前記軸受筐体(5)の油チャンバ(18)に接続される、請求項1または2に記載の排気ターボ過給機。
  4. 前記油収集チャンバ(7)が、前記油チャンバ(18)内への漏斗形状出口(19)を有する、請求項3に記載の排気ターボ過給機。
  5. ガセットのような流れ案内要素(20)が、前記漏斗形状出口(19)内に配設される、請求項4に記載の排気ターボ過給機。
JP2013526000A 2010-08-24 2011-08-18 排気ターボ過給機 Expired - Fee Related JP5933552B2 (ja)

Applications Claiming Priority (3)

Application Number Priority Date Filing Date Title
DE102010035282.9 2010-08-24
DE102010035282 2010-08-24
PCT/US2011/048219 WO2012027184A2 (en) 2010-08-24 2011-08-18 Exhaust-gas turbocharger

Publications (2)

Publication Number Publication Date
JP2013536369A JP2013536369A (ja) 2013-09-19
JP5933552B2 true JP5933552B2 (ja) 2016-06-15

Family

ID=45723989

Family Applications (1)

Application Number Title Priority Date Filing Date
JP2013526000A Expired - Fee Related JP5933552B2 (ja) 2010-08-24 2011-08-18 排気ターボ過給機

Country Status (6)

Country Link
US (1) US9222366B2 (ja)
JP (1) JP5933552B2 (ja)
KR (1) KR101779895B1 (ja)
CN (1) CN103026026B (ja)
DE (1) DE112011102807B4 (ja)
WO (1) WO2012027184A2 (ja)

Cited By (1)

* Cited by examiner, † Cited by third party
Publication number Priority date Publication date Assignee Title
JPH0723276B2 (ja) 1987-11-02 1995-03-15 三菱マテリアル株式会社 結晶育成装置

Families Citing this family (18)

* Cited by examiner, † Cited by third party
Publication number Priority date Publication date Assignee Title
US9163641B2 (en) * 2012-06-21 2015-10-20 Electro-Motive Diesel, Inc. Turbocharger support housing having improved drainage
WO2014074437A1 (en) * 2012-11-12 2014-05-15 Borgwarner Inc. Method for joining bearing housing segments of a turbocharger incorporating an electric motor
EP2946131B1 (en) 2013-01-15 2020-03-04 United Technologies Corporation Turbine engine
EP3859191B1 (en) 2013-01-15 2024-05-01 RTX Corporation Fluid collection gutter for a geared turbine engine
JP6309651B2 (ja) 2014-11-17 2018-04-11 三菱重工業株式会社 ターボ機械
US11066945B2 (en) 2015-07-15 2021-07-20 Raytheon Technologies Corporation Fluid collection gutter for a geared turbine engine
CN107849972B (zh) 2015-07-22 2020-03-06 株式会社Ihi 油封构造及增压器
US9850857B2 (en) * 2015-08-17 2017-12-26 Electro-Motive Diesel, Inc. Turbocharger blisk/shaft joint with heat isolation
US10641330B2 (en) * 2016-03-01 2020-05-05 Mitsubishi Heavy Industries Engine & Turbocharger, Ltd. Bearing device and exhaust turbine supercharger
US10329954B2 (en) 2016-04-14 2019-06-25 Borgwarner Inc. Flow strakes for turbocharger bearing housing oil core
AT519288B1 (de) * 2016-10-21 2018-07-15 Miba Gleitlager Austria Gmbh Lagerelement
WO2018085213A1 (en) * 2016-11-02 2018-05-11 Borgwarner Inc. Turbine having a multipart turbine housing
FR3062679B1 (fr) * 2017-02-07 2019-04-19 Safran Aircraft Engines Virole de reduction de la surpression au voisinage du joint amont d'une enceinte de palier de turboreacteur
DE102017102420A1 (de) * 2017-02-08 2018-08-09 Abb Turbo Systems Ag Gleitlagerung mit hydrodynamischer axialsicherung
KR101965062B1 (ko) 2017-06-30 2019-08-13 현대위아 주식회사 터보차저 장치
US10900380B2 (en) 2017-12-13 2021-01-26 Borgwarner Inc. Recirculation stall in compressor insert or backplate
CN110848019A (zh) * 2019-10-14 2020-02-28 中国北方发动机研究所(天津) 一种变海拔自适应涡轮增压器
WO2025252828A1 (en) * 2024-06-05 2025-12-11 Accelleron Switzerland Ltd. Sealing arrangement, turbomachine, and method of operating a turbomachine

Family Cites Families (18)

* Cited by examiner, † Cited by third party
Publication number Priority date Publication date Assignee Title
DE2843202A1 (de) * 1978-10-04 1980-04-17 Barmag Barmer Maschf Abgasturbolader fuer brennkraftmaschinen
US4240678A (en) * 1979-02-22 1980-12-23 Wallace Murray Corporation Non-rotating fluid damped combination thrust and journal bearing
US4268229A (en) 1979-04-19 1981-05-19 The Garrett Corporation Turbocharger shaft seal arrangement
US4314705A (en) * 1979-05-23 1982-02-09 Ishikawajima-Harima Jukogyo Kabushiki Kaisha Oil seal device
JPS59154829U (ja) * 1983-03-31 1984-10-17 日産自動車株式会社 タ−ボチヤ−ジヤのオイル洩れ防止装置
JPS6192724U (ja) * 1984-11-22 1986-06-16
JPS61192522U (ja) * 1985-05-24 1986-11-29
JPH036028U (ja) * 1989-06-07 1991-01-22
JPH0565829A (ja) * 1991-09-05 1993-03-19 Hitachi Ltd 過給機
US5308169A (en) * 1992-11-20 1994-05-03 Cummins Engine Company, Inc. Bearing system for turbocharger
JPH1162600A (ja) * 1997-08-07 1999-03-05 Tochigi Fuji Ind Co Ltd 遠心式流体機械
AU2000237426A1 (en) 2000-03-13 2001-09-24 Allied-Signal Inc. Ball bearing assembly for a turbocharger rotor
US6449950B1 (en) * 2000-09-12 2002-09-17 Honeywell International Inc. Rotor and bearing system for electrically assisted turbocharger
JP4238610B2 (ja) * 2003-03-20 2009-03-18 トヨタ自動車株式会社 過給機のシール構造
US20070092387A1 (en) 2005-10-21 2007-04-26 Borgwarner Inc. Oil discharge assembly for a turbocharger
JP2008208732A (ja) * 2007-02-23 2008-09-11 Ihi Corp ターボチャージャの軸受ハウジング構造
JP4816562B2 (ja) * 2007-05-17 2011-11-16 トヨタ自動車株式会社 オイルシール構造
DE102007027869B4 (de) * 2007-06-18 2010-04-29 Continental Automotive Gmbh Turbolader mit einem Turboladergehäuse

Cited By (1)

* Cited by examiner, † Cited by third party
Publication number Priority date Publication date Assignee Title
JPH0723276B2 (ja) 1987-11-02 1995-03-15 三菱マテリアル株式会社 結晶育成装置

Also Published As

Publication number Publication date
KR101779895B1 (ko) 2017-09-19
US9222366B2 (en) 2015-12-29
WO2012027184A3 (en) 2012-04-26
DE112011102807B4 (de) 2023-02-16
WO2012027184A2 (en) 2012-03-01
JP2013536369A (ja) 2013-09-19
CN103026026A (zh) 2013-04-03
US20130142679A1 (en) 2013-06-06
KR20130143011A (ko) 2013-12-30
CN103026026B (zh) 2016-05-11
DE112011102807T5 (de) 2013-05-29

Similar Documents

Publication Publication Date Title
JP5933552B2 (ja) 排気ターボ過給機
JP6368864B2 (ja) ターボチャージャ
EP2236754A2 (en) Steam turbine rotor blade and corresponding steam turbine
CN104747274B (zh) 涡轮增压器
CN204553354U (zh) 减涡管以及航空发动机的压气机
JP5897009B2 (ja) 排気過給機の軸受筐体
CN104271918A (zh) 抛油环油封以及与之相结合的涡轮增压器
CN103032347A (zh) 具有隔离结构的离心压缩机
JP6504254B2 (ja) 軸受構造、および、過給機
JP6640326B2 (ja) 回転機械、回転機械のケーシングの製造方法
CN107816456A (zh) 增压装置
JP5818894B2 (ja) 排気ターボ過給機の軸受筐体
KR101532439B1 (ko) 배기 가스 터보 과급기용 스러스트 베어링 시일
WO2017026292A1 (ja) 軸受構造、および、過給機
JP5797724B2 (ja) 排気ガスターボチャージャ
CN105604615A (zh) 排气涡轮增压器
JP2019094899A (ja) タービンおよびターボチャージャ
CN104747240A (zh) 小型涡轮增压器的转子系统
CN205895595U (zh) 电动涡旋压缩机
JP2019519717A (ja) 排気ガスターボチャージャの軸受装置、及び排気ガスターボチャージャ
CN113123857A (zh) 一种涡轮箱废气旁通装置
JP2007154667A (ja) フランシス形水力機械
CN102905816A (zh) 定子及其制造方法
CN112491180A (zh) 冷却装置、电动机和工具机
JP2010223343A (ja) トルクコンバータのステータ

Legal Events

Date Code Title Description
A621 Written request for application examination

Free format text: JAPANESE INTERMEDIATE CODE: A621

Effective date: 20140226

A977 Report on retrieval

Free format text: JAPANESE INTERMEDIATE CODE: A971007

Effective date: 20141120

A131 Notification of reasons for refusal

Free format text: JAPANESE INTERMEDIATE CODE: A131

Effective date: 20141125

A521 Request for written amendment filed

Free format text: JAPANESE INTERMEDIATE CODE: A523

Effective date: 20150220

A131 Notification of reasons for refusal

Free format text: JAPANESE INTERMEDIATE CODE: A131

Effective date: 20150901

A521 Request for written amendment filed

Free format text: JAPANESE INTERMEDIATE CODE: A523

Effective date: 20151201

TRDD Decision of grant or rejection written
A01 Written decision to grant a patent or to grant a registration (utility model)

Free format text: JAPANESE INTERMEDIATE CODE: A01

Effective date: 20160405

A61 First payment of annual fees (during grant procedure)

Free format text: JAPANESE INTERMEDIATE CODE: A61

Effective date: 20160502

R150 Certificate of patent or registration of utility model

Ref document number: 5933552

Country of ref document: JP

Free format text: JAPANESE INTERMEDIATE CODE: R150

R250 Receipt of annual fees

Free format text: JAPANESE INTERMEDIATE CODE: R250

R250 Receipt of annual fees

Free format text: JAPANESE INTERMEDIATE CODE: R250

R250 Receipt of annual fees

Free format text: JAPANESE INTERMEDIATE CODE: R250

LAPS Cancellation because of no payment of annual fees