JP5868614B2 - 半田付け装置 - Google Patents

半田付け装置 Download PDF

Info

Publication number
JP5868614B2
JP5868614B2 JP2011120220A JP2011120220A JP5868614B2 JP 5868614 B2 JP5868614 B2 JP 5868614B2 JP 2011120220 A JP2011120220 A JP 2011120220A JP 2011120220 A JP2011120220 A JP 2011120220A JP 5868614 B2 JP5868614 B2 JP 5868614B2
Authority
JP
Japan
Prior art keywords
processing chamber
soldering
blower
inert gas
chamber
Prior art date
Legal status (The legal status is an assumption and is not a legal conclusion. Google has not performed a legal analysis and makes no representation as to the accuracy of the status listed.)
Active
Application number
JP2011120220A
Other languages
English (en)
Other versions
JP2012245553A (ja
Inventor
八治 横田
八治 横田
Current Assignee (The listed assignees may be inaccurate. Google has not performed a legal analysis and makes no representation or warranty as to the accuracy of the list.)
Yokota Technica Co Ltd
Original Assignee
Yokota Technica Co Ltd
Priority date (The priority date is an assumption and is not a legal conclusion. Google has not performed a legal analysis and makes no representation as to the accuracy of the date listed.)
Filing date
Publication date
Application filed by Yokota Technica Co Ltd filed Critical Yokota Technica Co Ltd
Priority to JP2011120220A priority Critical patent/JP5868614B2/ja
Priority to PCT/JP2011/079152 priority patent/WO2012164776A1/ja
Publication of JP2012245553A publication Critical patent/JP2012245553A/ja
Application granted granted Critical
Publication of JP5868614B2 publication Critical patent/JP5868614B2/ja
Active legal-status Critical Current
Anticipated expiration legal-status Critical

Links

Images

Classifications

    • BPERFORMING OPERATIONS; TRANSPORTING
    • B23MACHINE TOOLS; METAL-WORKING NOT OTHERWISE PROVIDED FOR
    • B23KSOLDERING OR UNSOLDERING; WELDING; CLADDING OR PLATING BY SOLDERING OR WELDING; CUTTING BY APPLYING HEAT LOCALLY, e.g. FLAME CUTTING; WORKING BY LASER BEAM
    • B23K1/00Soldering, e.g. brazing, or unsoldering
    • B23K1/0008Soldering, e.g. brazing, or unsoldering specially adapted for particular articles or work
    • B23K1/0016Brazing of electronic components
    • BPERFORMING OPERATIONS; TRANSPORTING
    • B23MACHINE TOOLS; METAL-WORKING NOT OTHERWISE PROVIDED FOR
    • B23KSOLDERING OR UNSOLDERING; WELDING; CLADDING OR PLATING BY SOLDERING OR WELDING; CUTTING BY APPLYING HEAT LOCALLY, e.g. FLAME CUTTING; WORKING BY LASER BEAM
    • B23K1/00Soldering, e.g. brazing, or unsoldering
    • B23K1/008Soldering within a furnace
    • BPERFORMING OPERATIONS; TRANSPORTING
    • B23MACHINE TOOLS; METAL-WORKING NOT OTHERWISE PROVIDED FOR
    • B23KSOLDERING OR UNSOLDERING; WELDING; CLADDING OR PLATING BY SOLDERING OR WELDING; CUTTING BY APPLYING HEAT LOCALLY, e.g. FLAME CUTTING; WORKING BY LASER BEAM
    • B23K2101/00Articles made by soldering, welding or cutting
    • B23K2101/36Electric or electronic devices
    • B23K2101/42Printed circuits

Landscapes

  • Engineering & Computer Science (AREA)
  • Mechanical Engineering (AREA)
  • Electric Connection Of Electric Components To Printed Circuits (AREA)

Description

本発明は、半田付け装置に関し、特に半田付け時に減圧雰囲気で半田付け部の脱泡を行なう半田付け装置に関する。
2つの部材の半田付けにおいて、半田接合部にボイドが形成されるのを抑制するために例えば特許文献1の技術が知られている。特許文献1では、チャンバが2つの部材を載置するための載置台を有し、この載置台の内部にヒータと水冷装置を内蔵している。チャンバの内部は真空ポンプによって真空引きされて所定の減圧雰囲気に保持できるとともに、チャンバと外部とをつなぐ排気管に取り付けられているバルブを開放してチャンバ内部の真空状態を開放できるように構成されている。
したがって、ヒータが作動されると、チャンバ内の雰囲気ガスが所定の半田付け温度まで加熱され、所定時間保持される。これにより、2つの部材の半田付け部は加熱溶融される。この後、真空ポンプの作動により、チャンバの内部が所定の減圧雰囲気にされ、所定時間維持される。これにより、半田付け部の溶融半田に含まれている気泡が脱泡される。その後、ヒータの作動は停止され、水冷装置が作動して半田付け部を冷却する。真空ポンプは所定のタイミングで作動を停止され、チャンバ内は大気圧とされる。
以上のようにして、ボイドのない良好な半田接合部を形成する。
特開平10−193166号公報
上記半田付け装置は半田付け部の加熱後、冷却を同じチャンバ内で行っているため、冷却効率がよくない問題がある。また、載置台に内蔵されているヒータで加熱した雰囲気ガスで半田付け部の加熱を行うが、加熱雰囲気ガスを循環することは記載されていない。
本発明の目的は、半田付け時に、半田付け部に気泡が残る半田付け不良を低減でき、冷却効率もよい半田付け装置を提供することである。
本発明は、
2つの部材の間の半田付け部を加熱溶融した後、減圧雰囲気で脱泡処理し、その後冷却する半田付け装置において、
半田付け部を加熱溶融する手段が設けられ、前記手段で半田付け部を加熱溶融後、減圧雰囲気で脱泡処理を行う処理室と、
前記処理室から搬出された部材の半田付け部を冷却する手段とを有し、
前記処理室と冷却手段が不活性ガスで満たされている不活性ガス室の内部に設置され、
前記冷却手段は、前記不活性ガス室内の非加熱の雰囲気気体を循環させる冷却風循環装置を有し、該冷却風循環装置は雰囲気気体を循環させる上下一対の送風機と、該送風機の上側の吐出口に接続されている導風ダクトと、該導風ダクトに接続されている下側の冷却風噴出ケーシング部材と、該送風機の下側の吐出口に接続されている導風ダクトと、該導風ダクトに接続されている上側の冷却風噴出ケーシング部材とを有しており、雰囲気気体が前記送風機により前記上側の冷却風噴出ケーシング部材および前記下側の冷却風噴出ケーシング部材を介して半田付け部の上面および下面に吹出して半田付け部を冷却することを特徴とする。
前記加熱溶融手段がヒータと送風機を有し、前記ヒータで加熱された雰囲気気体が前記送風機により処理室内を循環して半田付け部を加熱溶融することが好ましい。
前記処理室が前記送風機の吐出口に接続されている導風ダクトと、この導風ダクトに接続されて加熱雰囲気気体を半田付け部に吹き出す熱風噴出手段とを有していることが好ましい。
前記冷却手段が送風機を有し、雰囲気気体が前記送風機により循環して半田付け部を冷却することが好ましい。
前記不活性ガス室の外部から不活性ガス室内の処理室の手前位置まで配設されている搬送コンベヤと、この搬送コンベヤで搬送された前記部材を前記処理室に搬出入する手段とを有していることが好ましい。
本発明によれば、半田付け部が処理室内で脱泡処理されるため、半田付け部に気泡が残る半田付け不良を低減できる。また、加熱溶融及び脱泡を行う処理室とは別個に冷却手段を配置したので、加熱溶融後の半田付け部を効率よく冷却できる。また、前記処理室と冷却手段が不活性ガス雰囲気で満たされた不活性ガス室に設けられているので、処理室から搬出された部材が冷却手段へ移る際に半田付け部の酸化を防止できる。更に、加熱溶融手段がヒータと送風機を有し、前記ヒータで加熱された雰囲気気体が前記送風機により処理室内を循環して半田付け部を加熱溶融するようにすれば、半田付け部を均一に効率よく加熱溶融できる。
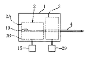
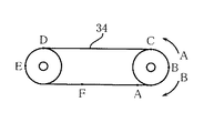
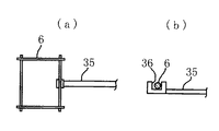
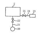
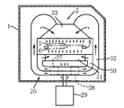
本発明の一実施形態である半田付け装置の概要を示す平面図である。 同正面図である。 半田付け装置の処理室部分を示す縦断面図である。 半田付け装置の冷却手段部分を示す縦断面図である。 処理室と窒素ガス供給源及び真空ポンプとの接続構成を示す図である。 基板支持フレームのフレーム部分に移載ロッドの先端部の凹溝が挿入した状態を示し、(a)は平面図、(b)は挿入部分を示す一部断面正面図である。 チェーンコンベヤを示す正面図である。
以下、本発明の一実施形態を図面を参照しながら説明する。
半田付け装置は、図1及び図2に示されているように、不活性ガス供給源(図示せず)から供給される不活性ガスで満たされている不活性ガス室1を有し、不活性ガス室1の内部に処理室2と冷却手段3が設置されている。不活性ガスとして本実施形態では窒素ガスが供給されている。
不活性ガス室1の外部から不活性ガス室1の内部にわたって基板搬送コンベヤ4が水平に配設されている。不活性ガス室1内において、基板搬送コンベヤ4は冷却手段3が配置されている冷却ゾーンを通って処理室2の手前位置まで配置されている。基板搬送コンベヤ4はチェーンコンベヤからなっており、左右に間隔をおいて一対設けられている。不活性ガス室1の入口側の壁部には、電子部品を搭載したプリント基板5(以下、単に基板5ともいう。)を載置した基板支持フレーム6(図6参照)を載せた基板搬送コンベヤ4が通る開口が形成されている。基板搬送コンベヤ4はコンベヤチェーンの連結ピンが内側に突出しており、左右の基板搬送コンベヤ4の内側に突出している連結ピンで基板支持フレーム6の下面の左右端部を支持しながら、基板5を不活性ガス室1内の処理室2の手前位置まで搬送する。また、前記基板5を処理室2の手前位置から不活性ガス室1の外部へ搬送する。電子部品を搭載したプリント基板5は、半田付け箇所にペースト状のクリーム半田が塗られている。
基板搬送コンベヤ4で処理室2の手前位置まで搬送された基板5は、搬出入手段7によって処理室2へ送り込まれ、処理室2内で半田付け部の加熱溶融と脱泡処理が施される。その後、基板5は搬出入手段7によって処理室2から搬出され、基板搬送コンベヤ4に移載される。基板5はその後、冷却手段3によって半田付け部が冷却された後、基板搬送コンベヤ4によって不活性ガス室1から外部に搬出される。
図3に示されているように、処理室2は上下に分割されて上側筐体2Aと下側筐体2Bとから構成されている。下側筐体2Bは不活性ガス室1内に固定配置されている。これに対して、上側筐体2Aは上下に移動可能に構成されている。
上側筐体2Aは上面に連結された吊りロッド8で吊持されている。吊りロッド8は上方に延びて不活性ガス室1の上壁を上下動可能に貫通して立設されている。吊りロッド8はリンク部材9の一端部に回動可能に連結されており、リンク部材9の他端部が不活性ガス室1の外部に配置されているシリンダ装置10の進退ロッド10aの上端に回動可能に連結されている。リンク部材9は中間部が支軸11で垂直面内を回動可能に支持されている。
したがって、シリンダ装置10によって進退ロッド10aが上下動することにより、処理室2の上側筐体2Aが上下に移動し、上側筐体2Aが下側筐体2Bに密接する密閉状態(図3参照)と、上側筐体2Aが下側筐体2Bに対して間隔を置いて上方に配置される開放状態の2つの状態を採る。
処理室2は加熱された雰囲気気体を循環させる熱風循環装置12を有している。熱風循環装置12は雰囲気気体を加熱するヒータ13、加熱された雰囲気気体を循環させる送風機14、送風機14を駆動するモータ15、送風機14の吐出口に接続されている導風ダクト16、熱風噴出ケーシング部材17、及び熱風噴出ケーシング部材17に接続されている導風ダクト18を有している。
送風機14は垂直な回転軸を有し、下側筐体2B内の底部に配置し、回転軸が不活性ガス室1の下側に配置されているモータ15の回転軸に接続されている。送風機14は上面に開口する吸入口が処理室2内に臨み、外周に開口する吐出口が導風ダクト16に接続している。導風ダクト16は送風機14の半径方向に延び、更に上方に垂直に下側筐体2Bの上端部まで延びて先端が開口している。ヒータ13は下側筐体2B内の送風機14の上方位置に配置している。
熱風噴出ケーシング部材17は上側筐体2A内の上部位置に配置固定されており、加熱された雰囲気気体を電子部品を搭載したプリント基板5に吹き出すための熱風噴出口を下面に複数有している。熱風噴出ケーシング部材17には導風ダクト18が接続している。導風ダクト18は熱風噴出ケーシング部材17から水平に延び、更に下方に垂直に上側筐体2Aの下端部まで延びて先端が開口している。
上側筐体2A内の導風ダクト18は、処理室2が密閉状態のとき、下側筐体2B内の導風ダクト16に連結される。したがって、処理室2が密閉状態のとき、ヒータ13により加熱された雰囲気気体は、送風機14により、送風機14の吸入口から吸入され、吐出口から吐出されて導風ダクト16,18内を流れ、熱風噴出ケーシング部材17内に流入し、複数の熱風噴出口から、基板支持レール19に支持された基板支持フレーム6上の電子部品を搭載したプリント基板5の上面に吹き付けられる。基板支持レール19は上側筐体2A内に左右一対、水平に設けられている。
電子部品を搭載したプリント基板5の上面に吹き付けられた熱風は、電子部品を搭載したプリント基板5を加熱した後、処理室2内の空間部を下方へ流れ、ヒータ13を通過して加熱され、送風機14に吸入され、吐出される。このようにして、加熱された雰囲気気体が処理室2内を循環し、電子部品を搭載したプリント基板5を加熱する。
処理室2は半田付け部の脱泡が行なわれる所定の減圧雰囲気まで真空ポンプ20(図5参照)によって減圧できるように構成されている。すなわち、処理室2には真空ポンプ20が接続され、処理室2と真空ポンプ20とを接続するライン21にはラインの開閉を行う開閉バルブ22が設けられている。また、処理室2には窒素ガス供給源23が接続されており、処理室2と窒素ガス供給源23との間の接続ライン24に開閉バルブ25が設けられている。
したがって、電子部品を搭載したプリント基板5は、真空ポンプ20によって所定の真空雰囲気まで減圧された処理室2内で溶融半田部が脱泡される。
冷却手段3は図4に示されているように、不活性ガス室1内の非加熱の雰囲気気体を循環させる冷却風循環装置26を有している。冷却風循環装置26は雰囲気気体を循環させる上下一対の送風機27,28、一対の送風機27,28を駆動するモータ29、上側の送風機27の吐出口に接続されている導風ダクト30、この導風ダクト30に接続されている下側の冷却風噴出ケーシング部材31、下側の送風機28の吐出口に接続されている導風ダクト32、この導風ダクト32に接続されている上側の冷却風噴出ケーシング部材33を有している。
上下一対の送風機27,28は垂直な共通の回転軸を有し、不活性ガス室1内の底部付近に配置し、回転軸が不活性ガス室1の下側に配置されているモータ29の回転軸に接続されている。
上側の送風機27は上面に開口する吸入口が不活性ガス室1内に臨み、外周に開口する吐出口が導風ダクト30に接続し、導風ダクト30が基板搬送コンベヤ4より下方位置に配置されている下側の冷却風噴出ケーシング部材31に接続されている。冷却風噴出ケーシング部材31は不活性ガス室1内の非加熱の雰囲気気体を電子部品を搭載したプリント基板5の下面に吹き出すための冷却風噴出口を上面に複数有している。
下側の送風機28は下面に開口する吸入口が不活性ガス室1内に臨み、外周に開口する吐出口が導風ダクト32に接続し、導風ダクト32が基板搬送コンベヤ4より上方位置に配置されている上側の冷却風噴出ケーシング部材33に接続されている。冷却風噴出ケーシング部材33は不活性ガス室1内の非加熱の雰囲気気体を電子部品を搭載したプリント基板5の上面に吹き出すための冷却風噴出口を下面に複数有している。
したがって、不活性ガス室1内の非加熱の雰囲気気体は、上側の送風機27により、送風機27の吸入口から吸入され、吐出口から吐出されて導風ダクト30内を流れ、下側の冷却風噴出ケーシング部材31内に流入し、複数の冷却風噴出口から基板搬送コンベヤ4上の電子部品を搭載したプリント基板5の下面に吹き付けられる。また、下側の送風機28により、送風機28の吸入口から吸入され、吐出口から吐出されて導風ダクト32内を流れ、上側の冷却風噴出ケーシング部材33内に流入し、複数の冷却風噴出口から基板搬送コンベヤ4上の電子部品を搭載したプリント基板5の上面に吹き付けられる。
電子部品を搭載したプリント基板5の上下面に吹き付けられた雰囲気気体は、電子部品を搭載したプリント基板5の半田付け部を冷却した後、不活性ガス室1内の空間部を下方へ流れ、送風機27,28に吸入され、吐出される。このようにして、非加熱の雰囲気気体が不活性ガス室1内の冷却ゾーンで循環し、基板搬送コンベヤ4上の電子部品を搭載したプリント基板5の半田付け部を冷却する。
次に、基板搬送コンベヤ4上の基板支持フレーム6に載置された電子部品を搭載したプリント基板5を処理室2に搬出入する搬出入手段7を図1、図2、図6及び図7により説明する。
図1及び図2に示されているように、不活性ガス室1の外部にチェーンコンベヤ34が配設されている。チェーンコンベヤ34は左右一対の基板搬送コンベヤ4の間の一側寄りに平行に水平に配置されている。このチェーンコンベヤ34の一側に移載ロッド35の後端部が固定されている。移載ロッド35は一対の基板搬送コンベヤ4の間の中央位置に基板搬送コンベヤ4と平行に水平に直線的に延びており、その先端部の上面に基板支持フレーム6のフレーム部分が挿入可能な凹溝36(図6参照)を有している。
上記搬出入手段7の作動を説明する。
基板支持フレーム6に支持された電子部品を搭載したプリント基板5は基板搬送コンベヤ4によって不活性ガス室1内の処理室2の手前位置まで搬送される。この状態から、前記基板5が処理室2内に搬入される動作は次のようにして行われる。
搬出入手段7のチェーンコンベヤ34が図7の矢印A方向に回転すると、チェーンコンベヤ34に固定された移載ロッド35が次のように動作して、基板5を載せた基板支持フレーム6を処理室2内に搬入する。
すなわち、移載ロッド35の後端部がチェーンコンベヤ34の回転によって、図7に示すチェーンコンベヤ34のA点(搬入待機位置)からB点に移動すると、移載ロッド35は後退しながら上昇する。更に、移載ロッド35の後端部がチェーンコンベヤ34のB点からC点に移動すると、移載ロッド35は前進しながら上昇し、C点で移載ロッド35の先端部の上面の凹溝36が基板支持フレーム6の後部フレーム部分に挿入する。更に、移載ロッド35の後端部がチェーンコンベヤ34のC点からD点に進むと、移載ロッド35が基板支持フレーム6を前進させて、電子部品を搭載したプリント基板5を載せた基板支持フレーム6が処理室2内の基板支持レール19に受け渡される。
次に、移載ロッド35の後端部がチェーンコンベヤ34のD点からE点に移動すると、移載ロッド35は下降しながら前進し、移載ロッド35の先端部の上面の凹溝36が基板支持フレーム6のフレーム部分から外れ、更にチェーンコンベヤ34の回転によってF点(搬出待機位置)に移動して待機する。
前記基板5が処理室2内から搬出される動作は次のようにして行われる。
搬出入手段7のチェーンコンベヤ34が図7の矢印B方向に回転すると、チェーンコンベヤ34に固定された移載ロッド35が次のように動作して、基板5を載せた基板支持フレーム6を処理室2内から搬出する。
すなわち、移載ロッド35の後端部がチェーンコンベヤ34の回転によって、図7に示すチェーンコンベヤ34のF点(搬出待機位置)からE点に移動すると、移載ロッド35は前進して少し上昇する。更に、移載ロッド35の後端部がチェーンコンベヤ34のE点からD点に移動すると、移載ロッド35は後退しながら上昇し、D点で移載ロッド35の先端部の上面の凹溝36が基板支持フレーム6の後部フレーム部分に挿入する。更に、移載ロッド35の後端部がチェーンコンベヤ34のD点からC点に進むと、移載ロッド35が基板支持フレーム6を後退させて、電子部品を搭載したプリント基板5を載せた基板支持フレーム6が処理室2内の基板支持レール19から基板搬送コンベヤ4に受け渡される。
次に、移載ロッド35の後端部がチェーンコンベヤ34のC点からB点に移動すると、移載ロッド35は下降しながら後退し、移載ロッド35の先端部の上面の凹溝36が基板支持フレーム6のフレーム部分から外れ、更にチェーンコンベヤ34の回転によってA点(搬入待機位置)に戻り、待機する。
以下、上記半田付け装置の動作を説明する。
不活性ガス室1及び処理室2内は窒素ガスが供給されて窒素ガス雰囲気で満たされている。
電子部品を搭載したプリント基板5を載せた基板支持フレーム6は、基板搬送コンベヤ4に載せられ、基板搬送コンベヤ4によって不活性ガス室1内を処理室2の手前位置まで搬送され、搬出入手段7で処理室2内の基板支持レール19に移載される。このとき、処理室2の上側筐体2Aはシリンダ装置10によって下側筐体2Bに対して間隔をおいて上方に配置されている。
前記基板5を載せた基板支持フレーム6が処理室2内の基板支持レール19に移載されると、上側筐体2Aはシリンダ装置10によって下方に移動して下側筐体2Bに密接し、処理室2は密閉状態(図3参照)とされる。
処理室2内ではヒータ13で加熱された雰囲気気体が送風機14に吸入され、吹き出されて室内を循環しており、電子部品を搭載したプリント基板5は、熱風噴出ケーシング部材17の熱風噴出口から吹き出される加熱雰囲気気体によって加熱される。
電子部品を搭載したプリント基板5は処理室2内で所定時間加熱されて半田付け部が溶融される。
この後、開閉バルブ25が閉じられるとともに、真空ポンプ20の接続ライン21の開閉バルブ22が開放され、真空ポンプ20が作動する。これにより、処理室2内の窒素ガスは真空ポンプ20によって所定の真空雰囲気になるまで排気される。
処理室2は半田付け部の脱泡を行なえる所定の真空雰囲気で所定時間保持され、前記基板5の半田付け部が処理室2内で所定時間、脱泡処理される。
その後、開閉バルブ22が閉じられ、開閉バルブ25が開放され、窒素ガス供給源23から窒素ガスが処理室2内に供給される。次に、上側筐体2Aがシリンダ装置10によって上方に移動し、下側筐体2Bに対して間隔をおいて上方に配置された後、前記基板5を載せた基板支持フレーム6は搬出入手段7によって処理室2から基板搬送コンベヤ4に移載される。不活性ガス室1内の冷却手段3が設けられている冷却ゾーンでは、不活性ガス室1内の非加熱の雰囲気気体が送風機27,28に吸入され、吹き出されて循環しており、基板搬送コンベヤ4上の前記基板5は冷却ゾーンで、半田付け部が上下の冷却風噴出ケーシング部材31,33の冷却風噴出口から吹き出される雰囲気気体によって所定時間冷却される。冷却後、基板搬送コンベヤ4上の電子部品を搭載したプリント基板5は不活性ガス室1から外部に搬出される。
以上に述べた通り、電子部品を搭載したプリント基板5は半田付け部が処理室2内を循環する加熱雰囲気気体で加熱溶融され、その後、減圧された処理室2内で脱泡処理される。前記基板5は、その後、処理室2から搬出され、不活性ガス室1内の冷却手段3が設けられている冷却ゾーンで循環する非加熱の雰囲気気体で半田付け部が冷却固化され、電子部品が基板上に半田付けされる。
1・・不活性ガス室、2・・処理室、2A・・上側筐体、2B・・下側筐体、3・・冷却手段、4・・基板搬送コンベヤ、5・・電子部品を搭載したプリント基板、6・・基板支持フレーム、7・・搬出入手段、8・・吊りロッド、9・・リンク部材、10・・シリンダ装置、10a・・進退ロッド、11・・支軸、12・・熱風循環装置、13・・ヒータ、14・・送風機、15・・モータ、16・・導風ダクト、17・・熱風噴出ケーシング部材、18・・導風ダクト、19・・基板支持レール、20・・真空ポンプ、21・・接続ライン、22・・開閉バルブ、23・・窒素ガス供給源、24・・接続ライン、25・・開閉バルブ、26・・冷却風循環装置、27,28・・送風機、29・・モータ、30・・導風ダクト、31・・下側の冷却風噴出ケーシング部材、32・・導風ダクト、33・・上側の冷却風噴出ケーシング部材、34・・チェーンコンベヤ、35・・移載ロッド、36・・凹溝。

Claims (4)

  1. 2つの部材の間の半田付け部を加熱溶融した後、減圧雰囲気で脱泡処理し、その後冷却する半田付け装置において、
    半田付け部を加熱溶融する手段が設けられ、前記手段で半田付け部を加熱溶融後、減圧雰囲気で脱泡処理を行う処理室と、
    前記処理室から搬出された部材の半田付け部を冷却する手段とを有し、
    前記処理室と冷却手段が不活性ガスで満たされている不活性ガス室の内部に設置され、
    前記冷却手段は、前記不活性ガス室内の非加熱の雰囲気気体を循環させる冷却風循環装置を有し、該冷却風循環装置は雰囲気気体を循環させる上下一対の送風機と、該送風機の上側の吐出口に接続されている導風ダクトと、該導風ダクトに接続されている下側の冷却風噴出ケーシング部材と、該送風機の下側の吐出口に接続されている導風ダクトと、該導風ダクトに接続されている上側の冷却風噴出ケーシング部材とを有しており、雰囲気気体が前記送風機により前記上側の冷却風噴出ケーシング部材および前記下側の冷却風噴出ケーシング部材から半田付け部の上面および下面に吹出して半田付け部を冷却することを特徴とする半田付け装置。
  2. 前記加熱溶融手段がヒータと送風機を有し、前記ヒータで加熱された雰囲気気体が前記送風機により処理室内を循環して半田付け部を加熱溶融することを特徴とする請求項1記載の半田付け装置。
  3. 前記処理室が前記送風機の吐出口に接続されている導風ダクトと、この導風ダクトに接続されて加熱雰囲気気体を半田付け部に吹き出す熱風噴出手段とを有していることを特徴とする請求項2記載の半田付け装置。
  4. 前記不活性ガス室の外部から不活性ガス室内の処理室の手前位置まで配設されている搬送コンベヤと、この搬送コンベヤで搬送された前記部材を前記処理室に搬出入する手段とを有していることを特徴とする請求項1〜のいずれかに記載の半田付け装置。
JP2011120220A 2011-05-30 2011-05-30 半田付け装置 Active JP5868614B2 (ja)

Priority Applications (2)

Application Number Priority Date Filing Date Title
JP2011120220A JP5868614B2 (ja) 2011-05-30 2011-05-30 半田付け装置
PCT/JP2011/079152 WO2012164776A1 (ja) 2011-05-30 2011-12-16 半田付け装置

Applications Claiming Priority (1)

Application Number Priority Date Filing Date Title
JP2011120220A JP5868614B2 (ja) 2011-05-30 2011-05-30 半田付け装置

Publications (2)

Publication Number Publication Date
JP2012245553A JP2012245553A (ja) 2012-12-13
JP5868614B2 true JP5868614B2 (ja) 2016-02-24

Family

ID=47258656

Family Applications (1)

Application Number Title Priority Date Filing Date
JP2011120220A Active JP5868614B2 (ja) 2011-05-30 2011-05-30 半田付け装置

Country Status (2)

Country Link
JP (1) JP5868614B2 (ja)
WO (1) WO2012164776A1 (ja)

Families Citing this family (4)

* Cited by examiner, † Cited by third party
Publication number Priority date Publication date Assignee Title
JP2014157858A (ja) * 2013-02-14 2014-08-28 Fuji Electric Co Ltd 半導体装置の製造方法
KR101839717B1 (ko) 2013-12-25 2018-03-16 센주긴조쿠고교 가부시키가이샤 진공 땜납 처리 장치 및 그 제어 방법
CN109068492B (zh) * 2018-10-31 2020-11-24 江苏盛凡信息服务有限公司 一种集成电路板加工机器
US11862482B2 (en) * 2021-03-11 2024-01-02 Taiwan Semiconductor Manufacturing Company, Ltd. Semiconductor substrate bonding tool and methods of operation

Family Cites Families (6)

* Cited by examiner, † Cited by third party
Publication number Priority date Publication date Assignee Title
JPH06226484A (ja) * 1993-02-04 1994-08-16 Koyo Rindobaagu Kk 熱処理装置
JP3617188B2 (ja) * 1996-05-23 2005-02-02 富士電機機器制御株式会社 はんだ付方法
JP2004181483A (ja) * 2002-12-03 2004-07-02 Senju Metal Ind Co Ltd リフロー炉
JP4200000B2 (ja) * 2002-12-26 2008-12-24 パナソニック株式会社 リフローはんだ付け方法およびはんだ付け装置
JP2007000915A (ja) * 2005-06-27 2007-01-11 Shinko Seiki Co Ltd 半田付け方法及び半田付け装置
JP5343566B2 (ja) * 2009-01-08 2013-11-13 富士通株式会社 接合方法及びリフロー装置

Also Published As

Publication number Publication date
WO2012164776A1 (ja) 2012-12-06
JP2012245553A (ja) 2012-12-13

Similar Documents

Publication Publication Date Title
JP5801047B2 (ja) リフロー半田付け装置及び方法
CN103262670B (zh) 回流钎焊装置及方法
JP2011171714A5 (ja)
JP5868614B2 (ja) 半田付け装置
JP4082462B1 (ja) リフロー炉
JP5075806B2 (ja) リフロー半田付け装置
JP5236334B2 (ja) スクリーン印刷方法及び基板温度調節機能付きスクリーン印刷装置
CN116100113B (zh) 具有盖罩和可切换抽吸通道的焊接设备、特别是回流焊接设备
JP2011245527A (ja) 処理装置
JP2012245552A (ja) 半田付け方法
JP2003324272A (ja) リフロー炉
JP2003332726A (ja) リフロー炉、この炉に接続されるフラックス回収装置、およびこの装置の稼働方法
JP5975165B1 (ja) 蓋開閉機構及びはんだ付け装置
JP4092258B2 (ja) リフロー炉およびリフロー炉の温度制御方法
KR102817984B1 (ko) 리플로우 솔더링 머신
JP3592033B2 (ja) リフローはんだ付け方法およびその装置
JP3582989B2 (ja) リフローはんだ付け装置
JP5216222B2 (ja) 加熱装置
JP6687495B2 (ja) 部品実装ライン
JPH1168303A (ja) リフローはんだ付け装置
JP6274448B2 (ja) 焼成炉及びコーティング方法
JP2008170072A (ja) 加熱装置
JP2010032142A (ja) 加熱装置
JP2002263832A (ja) 水蒸気雰囲気による溶融はんだの酸化防止方法およびプリント配線板のはんだ付け方法
KR100685656B1 (ko) 리플로우 납땜기의 타공노즐장치

Legal Events

Date Code Title Description
A621 Written request for application examination

Free format text: JAPANESE INTERMEDIATE CODE: A621

Effective date: 20140319

RD03 Notification of appointment of power of attorney

Free format text: JAPANESE INTERMEDIATE CODE: A7423

Effective date: 20141208

RD04 Notification of resignation of power of attorney

Free format text: JAPANESE INTERMEDIATE CODE: A7424

Effective date: 20141222

A521 Request for written amendment filed

Free format text: JAPANESE INTERMEDIATE CODE: A523

Effective date: 20150120

A131 Notification of reasons for refusal

Free format text: JAPANESE INTERMEDIATE CODE: A131

Effective date: 20150630

A521 Request for written amendment filed

Free format text: JAPANESE INTERMEDIATE CODE: A523

Effective date: 20150831

TRDD Decision of grant or rejection written
A01 Written decision to grant a patent or to grant a registration (utility model)

Free format text: JAPANESE INTERMEDIATE CODE: A01

Effective date: 20151211

A61 First payment of annual fees (during grant procedure)

Free format text: JAPANESE INTERMEDIATE CODE: A61

Effective date: 20160106

R150 Certificate of patent or registration of utility model

Ref document number: 5868614

Country of ref document: JP

Free format text: JAPANESE INTERMEDIATE CODE: R150

R250 Receipt of annual fees

Free format text: JAPANESE INTERMEDIATE CODE: R250

R250 Receipt of annual fees

Free format text: JAPANESE INTERMEDIATE CODE: R250

R250 Receipt of annual fees

Free format text: JAPANESE INTERMEDIATE CODE: R250

R250 Receipt of annual fees

Free format text: JAPANESE INTERMEDIATE CODE: R250

R250 Receipt of annual fees

Free format text: JAPANESE INTERMEDIATE CODE: R250

R250 Receipt of annual fees

Free format text: JAPANESE INTERMEDIATE CODE: R250

R250 Receipt of annual fees

Free format text: JAPANESE INTERMEDIATE CODE: R250