JP5823552B2 - 橋梁床版の架設方法及びその装置 - Google Patents

橋梁床版の架設方法及びその装置 Download PDF

Info

Publication number
JP5823552B2
JP5823552B2 JP2014045871A JP2014045871A JP5823552B2 JP 5823552 B2 JP5823552 B2 JP 5823552B2 JP 2014045871 A JP2014045871 A JP 2014045871A JP 2014045871 A JP2014045871 A JP 2014045871A JP 5823552 B2 JP5823552 B2 JP 5823552B2
Authority
JP
Japan
Prior art keywords
rail
floor slab
carriage
slide beam
bridge girder
Prior art date
Legal status (The legal status is an assumption and is not a legal conclusion. Google has not performed a legal analysis and makes no representation as to the accuracy of the status listed.)
Expired - Fee Related
Application number
JP2014045871A
Other languages
English (en)
Other versions
JP2015169029A (ja
Inventor
藤原 誠
誠 藤原
英孝 上野臺
英孝 上野臺
Original Assignee
株式会社巴コーポレーション
Priority date (The priority date is an assumption and is not a legal conclusion. Google has not performed a legal analysis and makes no representation as to the accuracy of the date listed.)
Filing date
Publication date
Application filed by 株式会社巴コーポレーション filed Critical 株式会社巴コーポレーション
Priority to JP2014045871A priority Critical patent/JP5823552B2/ja
Publication of JP2015169029A publication Critical patent/JP2015169029A/ja
Application granted granted Critical
Publication of JP5823552B2 publication Critical patent/JP5823552B2/ja
Expired - Fee Related legal-status Critical Current
Anticipated expiration legal-status Critical

Links

Images

Landscapes

  • Bridges Or Land Bridges (AREA)

Description

本発明は、鋼製橋梁用の合成床版等を橋桁の上に設置するための架設方法及び運搬装置に関するものである。
従来、鋼製橋梁建設工事において、架設済みの橋桁の上に合成床版やプレキャスト床版を設置するために、それら床版を設置場所まで運搬する搬送装置及び施工方法が種々開発され、実用化されてきた。
これらの工法は、それら床版を橋桁上に荷揚げするクレーンの設置場所の確保が困難であったり、交通規制しなければならないなどの制約がある場合に採用される有効な工法である。
従来の工法としては、架設済みの橋桁の一端に荷揚げした床版を吊り込んだ運搬装置を、設置済み床版上に仮設したレール上に載せて前進させ、その吊り込んだ床版を、設置済み床版に隣接する所定の位置まで運搬し、荷卸しして設置した後、レール上を運搬装置が後進移動にて、荷揚げされた次の床版を取りに戻る方式と、逆に、運搬装置に吊り込んだ床版を橋桁の最も遠い終端に近い側に荷卸しして設置し、その後、運搬装置が後進移動にて、荷揚げされた次の床版を取りに戻る方式とがある。
前者の方式は、床版を運搬装置の前に設置しながら前進するため、設置済み床版の上を前進して床版を設置した後、次の床版を吊り込むために後退するため、再び設置済み床版の上を移動することになるので、移動距離が短くなる利点がある。
しかし、設置済み床版の上を運搬装置が移動するので、床版を傷つける懸念があり、また、床版の上に設置した運搬装置用のレールは、全床版の設置が完了するまで設置しておく必要があるため、全床版設置完了後にレールを撤去する工程が必要となる。
一方、後者の方式は、運搬装置が前進して床版を設置場所まで運搬し、設置した後、次の床版が荷揚げされた位置まで運搬装置が後退するため、運搬装置の移動距離は長くなる。しかし、前者の方式のように、設置済み床版の上に運搬装置が乗らないので、床版を傷つける懸念がなく、また、床版設置済み区間のレールは、床版設置時にその都度撤去するので効率的である。
本発明は、上記の後者方式を対象としており、運搬装置により、橋桁の最も遠い終端側から床版を設置していく方式における架設方法及び運搬装置に関する。
床版の架設方法や運搬装置に関する先行技術としては、例えば特許文献1〜5がある。
特許文献1及び特許文献2記載の発明は、重量があり長尺の床版を運搬装置のフレーム内に吊り込み、設置すべき所定の場所に荷卸しする前に、吊った状態で床版を90度回転させるものである。
特許文献3記載の発明は、床版よりも幅の広い柱間隔の運搬装置により、吊り込んだ床版を回転させることなく所定の位置に設置するものである。
特許文献1乃至特許文献3記載の発明は、橋軸直交方向には長いが橋軸方向の寸法は短い床版に適用するものであるが、特許文献4の発明は、橋軸直交方向だけでなく橋軸方向にも寸法が大きな大型の床版を運搬する場合のものである。
特許文献5記載の発明は、橋軸直交方向には長いが橋軸方向の寸法は短い床版を回転させる点では特許文献1乃至特許文献3記載の発明と同様であるが、その回転動作は床版を吊った状態ではなく、所定の設置位置手前の橋桁上に別箇に設置した回転台上に一旦仮り置きして、90度回転させた後、再度吊り上げて所定の設置位置に荷卸しするものである。回転工程を運搬装置と切り離すことで、運搬装置を小型・軽量化し、運送時に組立・解体を不要としている。
特許2006−028881号公報 特開2005−307684号公報 特開2001−064915号公報 特開2003−074018号公報 特開2004−300688号公報
従来の工法では、複数列の架設済み橋桁の上に運搬装置用のレールを敷き、そのレール上に車輪付のフレームを組むため、橋桁間隔よりも広幅の床版を運搬装置に吊り込む場合、床版を90度回転させなければ、フレームの中に取り込めないという制約があり、かつ床版を設置すべき位置に荷卸しする直前に、再び90度回転させる工程が必要なため、作業効率が悪く、かつ回転作業に伴う危険性を伴うものであった。
床版を回転させない工法もあるが、その場合、運搬装置のフレーム幅を取り込む床版の長さより広くする必要があるため、大変大掛かりな装置となった。
特許文献1及び特許文献2記載の装置は大掛かりで、しかも宙吊りの不安定な状態で回転させるので、十分な安全対策が必要であった。
特許文献3記載の発明は、回転工程がないので安全性は高いが、運搬装置のフレームが橋桁間隔よりも広く大掛かりである。
特許文献4記載の発明は、床版の回転はしないので安全性は高いが、床版設置後に運搬装置を引き戻す時、後側の車輪が設置済み床版の上に乗り上げるための機構が必要のため、装置が複雑である。
特許文献5記載の発明は、別箇に回転台を必要とするだけでなく、床版の回転が運搬装置から卸した後になるため、段取り替えも必要なので、作業効率の点で課題があった。
これら特許文献1乃至特許文献5記載の発明では、運搬装置が大掛かり或いは複雑であったり、回転工程における安全性確保が必要など、課題が残されている。
本発明は、上述のような従来の床版架設方法における課題を解決し、床版の設置効率と安全性の向上に寄与できる、鋼製橋梁用の床版を橋桁の上に設置するための架設方法及び運搬装置を提供するものである。
本発明の橋梁床版の架設方法は、
(a)橋桁上に仮設したレール上を走行する車輪付き運搬台車の直前に床版を仮置きする工程、
(b)前記運搬台車に設けたスライド梁を運搬台車の進行方向に前記床版を跨ぐ長さまで伸ばし、前記スライド梁の先端部に取り付けた車輪付き可動脚を下向きにレールまで伸ばして前記スライド梁を支える脚とする工程、
(c)その後、前記スライド梁の中間に設けられた吊り込み装置を用いて前記床版を前記スライド梁に吊り下げる工程、
(d)その状態で前記床版が設置されるべき橋桁上の所定位置まで、前記運搬台車を前記レールに沿って前進移動させた後、前記スライド梁から前記床版を荷卸しして設置する工程、
(e)その後、前記車輪付き可動脚を引き上げて、前記スライド梁を前記運搬台車側に引き込む工程、
(f)その状態で前記運搬台車が前記レール上を後退移動にて床版吊り込み位置まで戻る工程、
を備え、以上の工程を必要回数繰り返すことを特徴とするものである。
なお、橋桁上の所定位置に設置された床版と重なる部分のレールについては、床版荷卸し後、車輪付き可動脚を上向きに引き上げた後に撤去することができる。
本発明の橋梁床版の運搬装置は、上記架設方法に使用される運搬装置であって、橋桁上に仮設したレールと、当該レール上を走行する車輪付き運搬台車と、前記運搬台車上に設けられ運搬台車の進行方向にスライドするスライド梁と、前記スライド梁の先端部に取り付けられ上下に動く車輪付き可動脚と、前記スライド梁の中間に設けられ床版を吊り下げるための吊り込み装置とを備え、前記橋桁の上フランジに突設されたスタッドの両側に、リブプレートが溶接固定されたレール受けプレートを設置し、当該レール受けプレートは前記リブプレートをボルトにてボルト締結することにより前記レールに仮固定され、かつ前記レールは前記スタッドを利用してボルトにて前記リブプレート同士をボルト締結することにより前記橋桁の上フランジに仮固定されていることを特徴とするものである。
また、橋桁上に仮設したレールと、当該レール上を走行する車輪付き運搬台車と、前記運搬台車上に設けられ運搬台車の進行方向にスライドするスライド梁と、前記スライド梁の先端部に取り付けられ上下に動く車輪付き可動脚と、前記スライド梁の中間に設けられ床版を吊り下げるための吊り込み装置とを備え、前記橋桁の上フランジにスタッドをねじ込み式によって突設するための雌ねじを溶接固定し、前記レールにレール受けプレートを溶接固定し、かつ当該レール受けプレートを前記雌ねじにボルトにてボルト締結することにより、前記レールが前記橋桁の上フランジに仮固定されていることを特徴とするものである。
本発明は、以上のような構成からなり、次のような効果が得られる。
(1)床版は橋桁に設置される本来の向きのまま、運搬装置に吊り込まれるので、危険性を伴う回転工程が不要であり、床版架設の安全性が向上する。
(2)床版の回転が不要のため、架設効率が向上し、工期短縮に寄与する。
(3)床版の回転に必要な装置が不要のため、装置が単純かつ安価に製作できる。
(4)運搬装置はコンパクトであり、組立て、解体も簡単なので運搬が容易である。
(5)運搬装置は設置済み床版の上を通過しないので、床版を傷つける懸念がない。
(6)床版設置済み区間の仮設レールは、床版設置後にその都度撤去するので効率的である。
(7)床版は橋桁の定位置に荷揚げするので、小型のクレーンで作業でき、コストダウンになる。
(8)橋桁全長もしくは必要範囲に渡り、先行して設置する吊り足場の内側で、床版の架設作業が出来るので、交通規制をする必要がない。
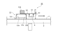
本発明に係る橋梁床版の運搬装置の一実施形態を概略的に示したものであり、橋桁のレール上に置かれた運搬台車の直前に床版が仮置きされた状態を示す側面図である。 図1の実施形態において、スライド梁を、床版を越えてスライドさせ、可動脚を下向きにレールまで伸ばした状態を示す側面図である。 図1の実施形態において、可動脚がスライド梁を支持した状態で床版を吊り下げ、運搬装置がレール上を前進移動する様子を示す側面図である。 図1の実施形態において、運搬装置が床版の設置位置に到着して、床版を荷卸しした直後の状態を示す側面図である。 図1の実施形態において、運搬装置が所定の位置に床版を設置後、吊り込み装置と可動脚を引き上げた状態を示す側面図である。 図1の実施形態において、運搬装置が、次の床版を吊り込む位置に向かってレール上を後退移動する直前の様子を示す側面図である。 本発明において、設置済み床版と設置直後の床版の状態を示した図であり、(a)は図6のイ断面視、(b)は図7(a)のロ断面視、(c)は図7(a)のロ断面視の別床版の形態である。 本発明に係る橋梁床版運搬装置の一実施形態を示した拡大側面図であり、(a)は図9(a)におけるホ断面視、(b)は図8(a)のハ断面視である。 図8の実施形態における平面図であり、(a)は図8(a)のニ断面視、(b)は図9(a)においてスライド梁をスライドして伸ばした状態を示す平面視である。 本発明に係る橋梁床版運搬装置の車輪部分及びレールの取付け方の一実施形態を示したものであり、(a)は断面図、(b)は(a)のヘ断面視、(c)は図10(a)とは別の一実施形態を示した断面図である。
以下、本発明を添付した図面に基づいて説明する。なお、本発明は以下に示される実施形態に限定されるものではない。
本発明の一実施形態を図1〜図10にて説明する。先ず、図1に示すように、車輪12bもしくは駆動装置12c付きの固定脚12a、12aを有する運搬台車12とスライド梁11とを備えた運搬装置10を、レール1を仮設した架設済みの橋桁2上の一端に乗せ、運搬台車12の前に、クレーン3により床版4を仮置きする。
次に、図2に示すように、床版4を吊り下げるためのスライド梁11を、運搬装置10の運搬台車12から、前記床版4を跨ぐ長さまで伸ばし、スライド梁11の先端に取り付けた車輪付き可動脚13を、下向きにレール1まで伸ばして、スライド梁11を支える脚とする。
車輪付き可動脚13の伸縮にはジャッキを用いてもよく、車輪付き可動脚13と反対側にはカウンターウェイト11aを設けてスライド梁11を伸ばす時のバランスとしている。なお、運搬装置を自走式にする場合、駆動装置12c用の発電機をカウンターウェイトと兼用してもよい。
そして、図3のように、床版4をスライド梁11に取付けられた吊り込み装置14、14により吊り込み、その状態で床版4が設置されるべき所定の位置(図4)まで、運搬装置10をレール1に沿って前進(矢印方向へ)移動させ、図5のように、床版4を荷卸しして吊り込み装置14、14から外し、その後、スライド梁11先端付近に取り付けた車輪付き可動脚13を上向きに引き上げる。
それから、図6のように、スライド梁11を運搬台車12側に引き込んだ状態にて、次の床版4を吊り込む位置まで運搬装置10を後退(矢印方向へ)移動させる。
なお、図7は、設置済み床版4aと設置直後の床版4の状態を示した図6のイ断面視であり、床版4を荷卸しした直後の車輪付き可動脚13は、設置済み床版4aの底板30の隙間5に置くことができるので、設置済み床版4aと設置直後の床版4とは密着させることができる。
図8、図9は運搬装置10の具体形態の1例であり、図8(b)と図9(a)は、それぞれ図8(a)のハ断面視及びニ断面視である。スライド梁11は、ガイド11b、11bにより運搬台車12の上を前後にスライドし、また、可動脚13は、ジャッキ13aにより上下に移動させる。
なお、レール1上の運搬装置10を移動させる方法は、駆動装置12cによる方法だけでなく、ワイヤーをウインチで巻き取って前後に移動させる方法(図示せず)なども可能である。
図10(a)〜(c)は、橋桁2上に設置されたレール1を仮固定する方法例を示す。図10(a)〜(b)は、リブプレート1b、1bが溶接固定されたレール受けプレート1a、1aを、スタッド20、20の両側に置き、スタッド20、20を利用してボルト1c、1cにてレール1を橋桁2の上フランジに仮固定する方法である。
図10(c)は、スタッド20、20をねじ込み方式とし、雌ねじ20a、20aを橋桁2の上フランジに溶接し、その雌ねじ20a、20aを利用して、レール受けプレート1aをボルト20b、20bにて止め付ける方法である。
また、設置完了した床版4と重なる部分のレール1は不要なので撤去する。設置後の床版4の状態は、例えば図7(b)のように、底板30(材料は鋼板等)と底板30に取付けられた鉄筋トラス31、もしくは図7(c)に図示のようなCT形鋼等31aから成り、橋桁2と重なる部分の底板30の一部は開口になっている。
従って、図7(b)もしくは図7(c)に示したように、鉄筋トラス31もしくはCT形鋼等31aと橋桁2の上フランジとで形成される空間40があるので、レール1の床版4と重なる部分は、橋桁2の軸方向に抜き取ることが可能で、レール1を仮固定しているボルト1c、1c或いは20b、20bを外せば、この部分のレール1の撤去は容易である。
図7(a)は、床版4及び設置済み床版4aが橋桁2と重なる部分のレール1を撤去した状態の平面視を示す。
以上の工程を必要回数繰り返して、床版4を敷き詰めるものである。
1…レール
1a…レール受けプレート
1b…リブプレート
1c…ボルト
2…橋桁
3…クレーン
4…床版
4a…設置済み床版
5…隙間
10…運搬装置
11…スライド梁
11a…カウンターウェイト
11b…スライド梁のガイド
12…運搬台車
12a…固定脚
12b…車輪
12c…駆動装置
13…車輪付き可動脚
13a…ジャッキ
14…吊り込み装置
20…スタッド
20a…雌ねじ
20b…ボルト
30…底板
31…鉄筋トラス
31a…CT形鋼等
40…空間

Claims (3)

  1. 橋桁上に仮設したレール上を走行する車輪付き運搬台車の直前に床版を仮置きし、前記運搬台車に設けたスライド梁を運搬台車の進行方向に前記床版を跨ぐ長さまで伸ばし、前記スライド梁の先端部に取り付けた車輪付き可動脚を下向きにレールまで伸ばして前記スライド梁を支える脚とし、その後、前記スライド梁の中間に設けられた吊り込み装置を用いて前記床版を前記スライド梁に吊り下げ、その状態で前記床版が設置されるべき橋桁上の所定位置まで、前記運搬台車を前記レールに沿って前進移動させた後、前記スライド梁から前記床版を荷卸しして設置し、その後、前記車輪付き可動脚を引き上げて、前記スライド梁を前記運搬台車側に引き込み、その状態で前記運搬台車が前記レール上を後退移動にて床版吊り込み位置まで戻る、以上の工程を必要回数繰り返すことを特徴とする橋梁床版の架設方法。
  2. 橋桁上に仮設したレールと、当該レール上を走行する車輪付き運搬台車と、前記運搬台車上に設けられ運搬台車の進行方向にスライドするスライド梁と、前記スライド梁の先端部に取り付けられ上下に動く車輪付き可動脚と、前記スライド梁の中間に設けられ床版を吊り下げるための吊り込み装置とを備え、前記橋桁の上フランジに突設されたスタッドの両側に、リブプレートが溶接固定されたレール受けプレートを設置し、当該レール受けプレートは前記リブプレートをボルトにてボルト締結することにより前記レールに仮固定され、かつ前記レールは前記スタッドを利用してボルトにて前記リブプレート同士をボルト締結することにより前記橋桁の上フランジに仮固定されていることを特徴とする橋梁床版の運搬装置。
  3. 橋桁上に仮設したレールと、当該レール上を走行する車輪付き運搬台車と、前記運搬台車上に設けられ運搬台車の進行方向にスライドするスライド梁と、前記スライド梁の先端部に取り付けられ上下に動く車輪付き可動脚と、前記スライド梁の中間に設けられ床版を吊り下げるための吊り込み装置とを備え、前記橋桁の上フランジにスタッドをねじ込み式によって突設するための雌ねじを溶接固定し、前記レールにレール受けプレートを溶接固定し、かつ当該レール受けプレートを前記雌ねじにボルトにてボルト締結することにより、前記レールが前記橋桁の上フランジに仮固定されていることを特徴とする橋梁床版の運搬装置。
JP2014045871A 2014-03-10 2014-03-10 橋梁床版の架設方法及びその装置 Expired - Fee Related JP5823552B2 (ja)

Priority Applications (1)

Application Number Priority Date Filing Date Title
JP2014045871A JP5823552B2 (ja) 2014-03-10 2014-03-10 橋梁床版の架設方法及びその装置

Applications Claiming Priority (1)

Application Number Priority Date Filing Date Title
JP2014045871A JP5823552B2 (ja) 2014-03-10 2014-03-10 橋梁床版の架設方法及びその装置

Publications (2)

Publication Number Publication Date
JP2015169029A JP2015169029A (ja) 2015-09-28
JP5823552B2 true JP5823552B2 (ja) 2015-11-25

Family

ID=54202024

Family Applications (1)

Application Number Title Priority Date Filing Date
JP2014045871A Expired - Fee Related JP5823552B2 (ja) 2014-03-10 2014-03-10 橋梁床版の架設方法及びその装置

Country Status (1)

Country Link
JP (1) JP5823552B2 (ja)

Cited By (2)

* Cited by examiner, † Cited by third party
Publication number Priority date Publication date Assignee Title
KR102093414B1 (ko) * 2018-10-12 2020-03-26 (주)바로건설기술 서랍식 수평부재 거치장치
CN112356759A (zh) * 2020-11-20 2021-02-12 中铁十一局集团汉江重工有限公司 一种低位运梁车

Families Citing this family (12)

* Cited by examiner, † Cited by third party
Publication number Priority date Publication date Assignee Title
JP6735159B2 (ja) * 2016-06-17 2020-08-05 鹿島建設株式会社 床版移動機及び床版移動方法
JP2018193671A (ja) * 2017-05-12 2018-12-06 株式会社テクト あと施工アンカー打込み装置及びアンカー施工方法
JP6776188B2 (ja) * 2017-06-20 2020-10-28 鹿島建設株式会社 架設機、及び、架設機の移動方法
JP7042696B2 (ja) * 2018-06-07 2022-03-28 鹿島建設株式会社 床版架設方法
JP7042706B2 (ja) * 2018-06-26 2022-03-28 鹿島建設株式会社 床版架設方法
KR101996819B1 (ko) * 2018-07-18 2019-07-05 에스오씨기술지주 주식회사 카운트웨이트 및 중간횡레일을 이용한 숏 거더 런칭 시스템 및 이를 이용한 거더 시공방법
KR102120757B1 (ko) * 2019-05-13 2020-06-10 에스오씨기술지주 주식회사 카운트웨이트 및 중간횡레일을 이용한 숏 거더 런칭 시스템 및 이를 이용한 거더 시공방법
CN111749141B (zh) * 2020-07-27 2025-07-01 中交二公局华东建设有限公司 一种桥面板旋转系统及安装方法
KR102538086B1 (ko) * 2021-08-04 2023-05-31 한국건설기술연구원 거더 교량의 프리캐스트 바닥판 시공을 위한 대차 및 이를 이용한 거더 교량의 프리캐스트 바닥판 시공방법
CN113756199A (zh) * 2021-09-15 2021-12-07 上海市基础工程集团有限公司 用于钢混叠合梁全宽预制桥面板架设的施工方法
CN113898536A (zh) * 2021-09-29 2022-01-07 广东中远海运重工有限公司 一种风电导管架整体滚装上驳装置及方法
CN116497711B (zh) * 2023-05-15 2026-02-24 广西路建工程集团有限公司 一种净空受限的高架桥预制梁架设方法

Family Cites Families (4)

* Cited by examiner, † Cited by third party
Publication number Priority date Publication date Assignee Title
JP4551037B2 (ja) * 2001-08-31 2010-09-22 株式会社ピーエス三菱 大規模pc床版の架設方法及び装置
JP3968579B2 (ja) * 2003-03-28 2007-08-29 ピーシー橋梁株式会社 自走式プレキャスト床版架設機
JP4872940B2 (ja) * 2008-02-12 2012-02-08 Jfeエンジニアリング株式会社 橋梁の架設装置ならびに床版の架設方法および橋梁の架設方法
JP4956634B2 (ja) * 2010-02-23 2012-06-20 株式会社北都鉄工 橋桁上への床版の敷設方法

Cited By (2)

* Cited by examiner, † Cited by third party
Publication number Priority date Publication date Assignee Title
KR102093414B1 (ko) * 2018-10-12 2020-03-26 (주)바로건설기술 서랍식 수평부재 거치장치
CN112356759A (zh) * 2020-11-20 2021-02-12 中铁十一局集团汉江重工有限公司 一种低位运梁车

Also Published As

Publication number Publication date
JP2015169029A (ja) 2015-09-28

Similar Documents

Publication Publication Date Title
JP5823552B2 (ja) 橋梁床版の架設方法及びその装置
JP5051591B2 (ja) 床版用プレキャストpc板架設装置及びその架設方法
JP5671373B2 (ja) 橋梁の撤去工法と新設工法
JP7570481B2 (ja) 重量物移動装置を用いた重量物の移動方法及び重量物移動装置
JP6081117B2 (ja) 既設橋梁の撤去方法および既設橋梁の更新方法
JP5485076B2 (ja) トンネルの施工装置及び施工方法
JP2014015808A (ja) 橋梁の架け替え工事用足場の施工方法及び工事用足場の施工装置
JP6793542B2 (ja) 床版架設方法及び床版架設装置
JP4403579B2 (ja) 跨道橋の既設橋脚撤去方法
JP2016166453A (ja) 床版架設装置
JP5890060B1 (ja) 架設桁を用いた橋梁の解体工法
JP5484983B2 (ja) 橋梁移動作業装置の組立て方法及び解体方法
JP6974233B2 (ja) 床版取替方法及び床版取替装置
JP5793062B2 (ja) トンネル施工装置、及び、トンネルの施工方法
KR20150070578A (ko) 불규칙 경간을 갖는 구간의 거더 연속 시공방법
JP2007315077A (ja) ガーダーワーゲンを用いた波形鋼板ウェブ橋の構築方法
JP2010242308A (ja) コンクリートスラブ構造高層建物の解体工法及びコンクリートスラブ解体装置
JP2008179435A (ja) エスカレータ骨組据付用仮設材、及びエスカレータ骨組据付用仮設材による架設方法
JP2005307684A (ja) プレキャストコンクリート床板の敷設装置
JP2010047901A (ja) 吊り込み装置一体式吊り足場
JP6172636B2 (ja) 足場システム
JP2008050811A (ja) 移動式吊り足場装置
JP4694859B2 (ja) 傾斜型乗客コンベア設備及びその設置方法並びにその搬出方法
JP6718392B2 (ja) コンクリート版の吊降し撤去方法
JP2007182728A (ja) 橋梁の施工方法および橋梁の側床版取付装置

Legal Events

Date Code Title Description
TRDD Decision of grant or rejection written
A01 Written decision to grant a patent or to grant a registration (utility model)

Free format text: JAPANESE INTERMEDIATE CODE: A01

Effective date: 20151006

A61 First payment of annual fees (during grant procedure)

Free format text: JAPANESE INTERMEDIATE CODE: A61

Effective date: 20151007

R150 Certificate of patent or registration of utility model

Ref document number: 5823552

Country of ref document: JP

Free format text: JAPANESE INTERMEDIATE CODE: R150

S531 Written request for registration of change of domicile

Free format text: JAPANESE INTERMEDIATE CODE: R313531

R350 Written notification of registration of transfer

Free format text: JAPANESE INTERMEDIATE CODE: R350

R250 Receipt of annual fees

Free format text: JAPANESE INTERMEDIATE CODE: R250

R250 Receipt of annual fees

Free format text: JAPANESE INTERMEDIATE CODE: R250

R250 Receipt of annual fees

Free format text: JAPANESE INTERMEDIATE CODE: R250

R250 Receipt of annual fees

Free format text: JAPANESE INTERMEDIATE CODE: R250

R250 Receipt of annual fees

Free format text: JAPANESE INTERMEDIATE CODE: R250

LAPS Cancellation because of no payment of annual fees