JP5617606B2 - 自動二輪車のカバー部材取付構造 - Google Patents

自動二輪車のカバー部材取付構造 Download PDF

Info

Publication number
JP5617606B2
JP5617606B2 JP2010286351A JP2010286351A JP5617606B2 JP 5617606 B2 JP5617606 B2 JP 5617606B2 JP 2010286351 A JP2010286351 A JP 2010286351A JP 2010286351 A JP2010286351 A JP 2010286351A JP 5617606 B2 JP5617606 B2 JP 5617606B2
Authority
JP
Japan
Prior art keywords
grommet
cover member
cover
frame
mounting structure
Prior art date
Legal status (The legal status is an assumption and is not a legal conclusion. Google has not performed a legal analysis and makes no representation as to the accuracy of the status listed.)
Active
Application number
JP2010286351A
Other languages
English (en)
Other versions
JP2012131419A (ja
Inventor
晋司 中島
晋司 中島
Current Assignee (The listed assignees may be inaccurate. Google has not performed a legal analysis and makes no representation or warranty as to the accuracy of the list.)
Suzuki Motor Corp
Original Assignee
Suzuki Motor Corp
Priority date (The priority date is an assumption and is not a legal conclusion. Google has not performed a legal analysis and makes no representation as to the accuracy of the date listed.)
Filing date
Publication date
Application filed by Suzuki Motor Corp filed Critical Suzuki Motor Corp
Priority to JP2010286351A priority Critical patent/JP5617606B2/ja
Publication of JP2012131419A publication Critical patent/JP2012131419A/ja
Application granted granted Critical
Publication of JP5617606B2 publication Critical patent/JP5617606B2/ja
Active legal-status Critical Current
Anticipated expiration legal-status Critical

Links

Images

Classifications

    • BPERFORMING OPERATIONS; TRANSPORTING
    • B62LAND VEHICLES FOR TRAVELLING OTHERWISE THAN ON RAILS
    • B62JCYCLE SADDLES OR SEATS; AUXILIARY DEVICES OR ACCESSORIES SPECIALLY ADAPTED TO CYCLES AND NOT OTHERWISE PROVIDED FOR, e.g. ARTICLE CARRIERS OR CYCLE PROTECTORS
    • B62J23/00Other protectors specially adapted for cycles

Landscapes

  • Automatic Cycles, And Cycles In General (AREA)
  • Engineering & Computer Science (AREA)
  • Mechanical Engineering (AREA)

Description

本発明は、自動二輪車の車体フレームなどの被カバー体を覆うカバー部材を車体に取り付ける自動二輪車のカバー部材取付構造に関する。
一般に、自動二輪車の車体側面は、特許文献1にも記載のように、合成樹脂にて成形されたサイドカバーやフレームカバーなどのカバー部材によって覆われ、このカバー部材によって、電装部品などの内部部品が保護されると共に、自動二輪車の外観が整えられている。
実公昭62−36711号公報
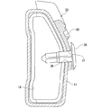
しかしながら、上記特許文献1に記載のような自動二輪車では、例えば図10に示すように、フレームカバー101の端縁部101Aがフレーム100に近接する構造になっているため、これらのメインフレーム100とフレームカバー101の端縁部101Aとの間に生ずる隙間102の存在によって、以下のような課題が生ずる。
まず第1に、自動二輪車における外観の一体感が損なわれる。特に、隙間102が一様でない場合には車体の外観が大きく害されるが、この隙間102を一定に保ことは困難である。
第2に、雨水や泥水、砂塵などの異物が隙間102を通って侵入し堆積して、メインフレーム100などのフレームの表面が損傷し、またはフレーム表面の塗装が剥離して錆が発生する恐れがある。
第3に、フレームカバー101はエンジンに近い位置にあるため、メインフレーム100とフレームカバー101との隙間102から熱気が漏れ、乗員に当たって快適性を損なう恐れがある。
第4に、フレームカバー101にテールランプなどの発光体が近い場合には、フレームカバー101の端縁部101Aとメインフレーム100との隙間102から発光体の光が漏れて、自動二輪車の外観を損なう恐れがある。
第5に、車両走行中に乗員のニーグリップによってフレームカバー101が撓み、このフレームカバー101の端縁部101Aとメインフレーム100とが接触して、両者が摩耗する恐れがある。
上述の課題に対し、従来では、フレームカバー101の端縁部101Aとメインフレーム100との隙間102を極力詰めるように設計して対処している。しかし、この場合、フレームカバー101の端縁部101Aとメインフレーム100との間で微細な位置合せや形状合せが必要になるので、作業工数が増加してしまう。また、フレームカバー101の端縁部101Aとメインフレーム100との隙間102を詰めることで、振動による接触音が発生したり、フレームカバー101とメインフレーム100との摩耗によって摩耗粉が発生する恐れがある。
本発明の目的は、上述の事情を考慮してなされたものであり、自動二輪車の車体を覆うカバー部材とこのカバー部材により覆われる被カバー体との隙間を塞いで、外観の向上及び異物の侵入防止等を実現できる自動二輪車のカバー部材取付構造を提供することにある。
本発明は、自動二輪車の車体を覆うカバー部材を前記車体に取り付ける自動二輪車のカバー部材取付構造において、前記カバー部材により覆われる被カバー体と前記カバー部材の端縁部との隙間、または前記カバー部材どうしの隙間に、弾性体で形成されたグロメットが配置され、前記グロメットは、支持部材を用いて回転自在に支持されたことを特徴とするものである。
本発明によれば、カバー部材の端縁部と、このカバー部材により覆われる被カバー体との隙間、またはカバー部材どうしの隙間がグロメットにより塞がれることで、車体の外観が向上すると共に、隙間からの異物の侵入を防止できる。更に、カバー部材の端縁部と被カバー体との直接の接触、またはカバー部材どうしの直接の接触がグロメットの介在により回避されるので、カバー部材と被カバー体との接触、またはカバー部材どうしの接触による摩耗を防止できる。
本発明に係る自動二輪車のカバー部材取付構造における一実施形態が適用された自動二輪車を示す左側面図。 図1の車体フレーム及びフレームカバーなどを、乗員と共に示す左側面図。 図1のフレームカバー周囲を拡大して示す部分側面図。 図3のグロメットを車体フレームなどと共に示す部分側面図。 (A)は図3のグロメットを車体フレームなどと共に示す部分側面図、(B)は、図5(A)のオフセットを説明するための説明図。 図4のVI−VI線に沿う断面図。 図5のVII−VII線に沿う断面図。 図5のVIII−VIII線に沿う断面図。 図5のIX−IX線に沿う断面図。 従来の車体フレームとフレームカバーとを示す断面斜視図。
以下、本発明を実施するための実施形態を図面に基づき説明する。但し、本発明は、これらの実施の形態に限定されるものではない。図1は、本発明に係る自動二輪車のカバー部材取付構造における一実施形態が適用された自動二輪車を示す左側面図である。
この図1に示す自動二輪車10は、メインフレーム11とシートレール12を備えてなる車体フレーム13の前端部に、前輪14を支持するフロントフォーク15が、ハンドルバー16やフロントフェンダ17などと共に左右方向に回転自在に軸支されている。また、メインフレーム11の後下部にセンターフレーム18が接合され、このセンターフレーム18に架設されたピボット軸19に、後輪20を支持するスイングアーム21が上下方向に揺動自在に軸支されている。
メインフレーム11に懸架されるようにしてエンジン22が搭載される。このエンジン22の動力が、トランスミッション及びドライブチェーン(共に図示せず)を介して後輪20へ伝達される。また、エンジン22の上方に燃料タンク23がメインフレーム11に支持されて配置される。更に、シートレール12上にライダーシート24とピリオンシート25が、それぞれ前後に載置されている。
この自動二輪車10には、車体を覆う合成樹脂製のカバー部材が車体に取り付けられて、車体の内部部品を保護すると共に、自動二輪車10の外観を整えている。つまり、このカバー部材は、フロントカバー27、サイドカバー28、フレームカバー29及びリアカバー30などである。フロントカバー27は自動二輪車10の前方部を覆い、ヘッドランプ31を備える。また、サイドカバー28は燃料タンク23の下部に配置されて、この燃料タンク23の下部を両側方から覆う。また、フレームカバー29はライダーシート24の下方の左右両側に配置されて、メインフレーム11とセンターフレーム18とシートレール12との接合部分などを覆う。更に、リアカバー30はピリオンシート25の下方に配置されてシートレール12などを覆う。
このうち、図2及び図3に示すように、フレームカバー29により覆われる被カバー体としてのメインフレーム11と、フレームカバー29の端縁部29Aとの隙間32(図9参照)にグロメット33が配置されている。このグロメット33は、ゴムや樹脂などの弾性体にて形成されて、緩衝機能を備える。また、グロメット33は、ライダーシート24に着座した乗員(運転者)1の膝2及び脚部3によるニーグリップ位置近傍に配置される。尚、図2及び図3中の符号34は、フレームカバー29をメインフレーム11に、符号35はフレームカバー29をシートレール12に、それぞれ取付ボルト(不図示)などを用いて取り付け固定するための取付孔である。
前記グロメット33は、図4及び図5に示すように、支持部材としての1本のクリップ36を用いてメインフレーム11に回転自在に支持される。クリップ36は、樹脂製が好ましいが金属製であってもよく、また、支持部材としてクリップ36に代えてボルトなどでもよい。グロメット33、メインフレーム11には、クリップ36を挿通し係合させるための係合穴37、38が、図8に示すようにそれぞれ形成されている。
グロメット33は、メインフレーム11の軸O方向に対し傾斜して長尺形状に延び、その上端部33Aと下端部33Bが、図6及び図7に示すように、横断面においてメインフレーム11の外周部と略一致したC字形状に形成されている。これにより、グロメット33のメインフレーム11への密着性が向上する。
また、図3及び図4に示すように、グロメット33は車体側面視において、一部がフレームカバー29の端縁部29Aよりも外側に露出するようにメインフレーム11に取り付けられている。これは、フレームカバー29の製造または組付け時の公差を考慮して、フレームカバー29の端縁部29Aとメインフレーム11との間にグロメット33を確実に介在させるためにグロメット33の寸法に余裕を持たせたものである。
図9に示すように、フレームカバー29の端縁部29Aには、少なくとも一部に、内側に折れ曲がる屈曲部39が形成されている。そして、グロメット33には、図4、図8及び図9に示すように、フレームカバー29の端縁部29Aにおける屈曲部39と対向する面に、つまり、グロメット33の表面に溝40が、グロメット33の長手方向に沿って形成されている。この溝40に、フレームカバー29の端縁部29Aにおける屈曲部39の少なくとも一部が嵌合して、フレームカバー29の端縁部29Aとメインフレーム11との隙間32が確実に解消される。
また、図4及び図5に示すように、グロメット33は、メインフレーム11の軸O方向に対し傾斜して長尺形状に構成され、その略中央位置に、クリップ36が係合する係合穴37が形成されるが、この係合穴37は、メインフレーム11の軸O方向にオフセットし、且つメインフレーム11の軸Oに直交する方向にオフセットした位置に設けられている。
つまり、図5に示すように、グロメット33がメインフレーム11に接続する接触面41の各端点をA、B、C、Dとしたとき、この接触面41は略平行四辺形になる。係合穴37は、まず、上記接触面41の2本の対角線ACと対角線BDとの交点Pに対し、メインフレーム11の軸O方向にオフセット量e1だけオフセットした位置に設けられる。これにより、係合穴37は、車体側面視において、フレームカバー29の端縁部29Aよりも内側で、フレームカバー29により隠される位置に設けられる。
ここで、グロメット33の係合穴37が、図5(B)に示すように、上記交点P、またはこの交点Pからメインフレーム11の軸O方向に沿ってオフセット量e1だけオフセットした点Mに設定されたと仮定する。
係合穴37が交点Pに設けられた場合には、上記接触面41の例えば端点Aと交点Pとを結ぶ直線APが、交点Pからメインフレーム11の側縁42に垂直に下ろした垂線PXとなす角は角度θになる。また、係合穴37が点Mに設けられた場合には、上記接触面41の例えば端点Aと点Mとを結ぶ直線AMが、点Mからメインフレーム11の側縁42に垂直に下ろした垂線MYとなす角は角度αとなる。ここでは、点Mが交点Pよりもメインフレーム11の軸O方向において端点Aに近いため、α<θになる。
従って、係合穴37が交点Pに設けられた場合には、グロメット33が交点Pを中心にしてメインフレーム11に対し回転したときのグロメット33における端点Aの回転許容角は2θになる。これに対し、係合穴37が点Mに設けられた場合には、グロメット33が点Mを中心にしてメインフレーム11に対し回転したときのグロメット33における端点Aの回転許容角は2α(<2θ)になる。このため、グロメット33の係合穴37が点Mに形成されることで、この係合穴37に係合されたクリップ36を中心にグロメット33が回転可能に支持される場合に、グロメット33の回転による位置ずれが抑制される。
実際の係合穴37は、上記点Mよりもメインフレーム11の軸Oに対して直交する方向にオフセットした位置にある。即ち、図5(A)及び図7に示すように、メインフレーム11の車両外側部分の断面は、略L字形状に屈曲または円弧形状に湾曲して構成されている。従って、メインフレーム11の外面には、上記断面形状の頂点43を、メインフレーム11の軸O方向に連続することで形成された稜線44が設けられている。通常、この稜線44は、メインフレーム11の側面視において、メインフレーム11の軸Oと一致する。実際のグロメット33の係合穴37は、上記稜線44に対し、メインフレーム11の軸Oに直交する方向にオフセット量e2だけオフセットした位置に設けられる。
これにより、係合穴37に係合されたクリップ36を中心にグロメット33が回転しようとするとき、メインフレーム11の軸Oに直交する方向において、メインフレーム11に形成された係合穴38から上記稜線44までの面に、グロメット33の一部が引っ掛かってグロメット33の回転が阻止され、この結果、グロメット33の位置ずれが抑制される。
以上のように構成されたことから、本実施形態によれば、次の効果(1)〜(9)を奏する。
(1)図3に示すように、フレームカバー29の端縁部29Aと、このフレームカバー29により覆われるメインフレーム11との隙間32にグロメット33が配置されて、この隙間32がグロメット33により塞がれることで、自動二輪車10の外観が向上する。と同時に、隙間32からの異物(雨水や泥水など)の侵入を防止できるので、自動二輪車10の内部に配置された内部部品(エアクリーナや電装部品など)の汚染を防止できる。
(2)フレームカバー29の端縁部29Aとメインフレーム11との隙間32に、弾性体からなるグロメットが配置されることで、フレームカバー29の端縁部29Aとメインフレーム11との直接の接触がグロメット33の介在により回避され、この結果、フレームカバー29とメインフレーム11との接触による摩耗を防止できる。
特に、図2に示すように、グロメット33が乗員1のニーグリップ位置近傍に配置されたので、乗員1の膝2及び脚部3により外力がフレームカバー29に作用して、このフレームカバーが変位した場合にも、グロメット33の介在によってフレームカバー29の端縁部29Aとメインフレーム11との接触を防止できる。この結果、乗員1のニーグリップによる外力がフレームカバー29に作用した場合にも、フレームカバー29とメインフレーム11との摩耗を確実に防止できる。
(3)図8に示すように、メインフレーム11に係合穴38や係合ボスを形成して、グロメット33をこのメインフレーム11に支持させるので、フレームカバー29にグロメット33を支持するための係合ボスを形成する必要がない。このため、フレームカバー29は板形状であれば足り、簡素な形状になるので生産性が向上する。
また、図2に示すように、フレームカバー29の配置箇所は、乗員1の膝2及び脚部3に近接する位置であるが、この場合、フレームカバー29の形状が簡素になったので、フレームカバー29が車幅方向に拡大せずコンパクトになり、乗員1による操作性が向上する。
(4)図3に示すように、グロメット33は、車体側面視において、一部がフレームカバー29の端縁部29Aよりも外側に露出するよう配置されている。このようにグロメット33の寸法に余裕を持たせることで、フレームカバー29の製造または組付け時の公差に対しても、グロメット33をフレームカバー29の端縁部29Aとメインフレーム11との間に確実に介在させることができる。
また、グロメット33の一部をフレームカバー29の端縁部29Aよりも露出させることで、フレームカバー29とグロメット33とメインフレーム11との段差を段階的に変化させることができ、このため、自動二輪車10の外観に一体感を与えることができる。
(5)図9に示すように、フレームカバー29の端縁部29Aに形成された屈曲部39が、グロメット33の溝40に嵌合することで、フレームカバー29の端縁部29Aとメインフレーム11との隙間32を確実に解消することができる。従って、この点からも、自動二輪車10の外観に一体感を与えることができる。
また、フレームカバー29の端縁部29Aの屈曲部39をグロメット33の溝40に嵌合させて、フレームカバー29の端縁部29Aをグロメット33に組み付けるので、フレームカバー29とグロメット33との間に位置や形状の相違が多少あっても、その相違を溝40によって吸収できる。この結果、フレームカバー29とグロメット33との間で微細な位置合せや形状合せをする必要がなくなり、組付け工数を削減できる。
(6)グロメット33は、支持部材としてのクリップ36を用いて回転自在にメインフレーム11に支持されている。従来のごとく、接着剤やシールを用いてグロメット33をメインフレーム11に貼着した場合には、位置決めに手間取り工数が嵩んでしまう。また、グロメット33をメインフレーム11とフレームカバー29のいずれか一方に貼着した後には、他方に対して位置合わせが困難になるので、グロメット33の貼着には高い精度が要求される。また、一旦貼着した後には微調整が困難になるので、フレームカバー29及びグロメット33の組付け性が低下してしまう。
これに対し、グロメット33がクリップ36やボルトなどを用いて回転自在にメインフレーム11に支持されたので、このグロメット33は、メインフレーム11及びフレームカバー29に対して追従性を有する。この結果、フレームカバー29とグロメット33との組付けが容易になると共に、フレームカバー29の端縁部29Aとメインフレーム11とグロメット33とを良好に組み付けることができ、自動二輪車10の外観も向上する。
(7)図6及び図7に示すように、グロメット33の上端部33Aと下端部33Bとが、横断面においてメインフレーム11の外周部と略一致したC字形状に形成されている。このため、グロメット33をメインフレーム11に密着させることができるので、グロメット33とメインフレーム11との間から水や塵などの異物の侵入を防止できる。
更に、グロメット33がクリップ36により回転自在に支持されて位置決めが不安定になる場合でも、グロメット33の上端部33A及び下端部33Bがメインフレーム11に密着することで、フレームカバー29の端縁部29Aをグロメット33に組み付ける際の位置決めを容易に実施できる。
(8)図5に示すように、クリップ36が係合するグロメット33の係合穴37が、グロメット33とメインフレーム11との接触面41における2本の対角線の交点Pに対し、メインフレーム11の軸O方向にオフセット量e1だけオフセットした位置に設けられたので、グロメット33のメインフレーム11に対する回転許容角を抑制できる。このため、グロメット33がクリップ36により回転自在に支持されて位置決めが不安定になる場合でも、グロメット33の回転による位置ずれを抑制でき、フレームカバー29の端縁部29Aをグロメット33に組み付ける組付けを容易化できる。
また、係合穴37が、メインフレーム11の軸O方向にオフセットして、フレームカバー29により隠される位置に設けられたので、この係合穴37に係合するクリップ36が外方から見えず、自動二輪車10の外観も向上する。
(9)クリップ36が係合するグロメット33の係合穴37は、メインフレーム11の頂点43(図7)により形成されるメインフレーム11の稜線44に対し、メインフレーム11の軸Oに直交する方向にオフセット量e2だけオフセットした位置に設けられている。このため、グロメット33が回転しようとする際に、グロメット33の一部がメインフレーム11の係合穴38から稜線44までの面に引っ掛かることで、その回転が阻止される。この結果、グロメット33がクリップ36により回転自在に支持されてその位置決めが不安定になる場合でも、グロメット33の回転による位置ずれを抑制でき、フレームカバー29の端縁部29Aをグロメット33に組み付ける組付けを容易化できる。
以上、本発明を上記実施の形態に基づいて説明したが、本発明はこれに限定されるものではなく、本発明の主旨を逸脱しない範囲で種々変形することができる。
例えば、本実施形態では、カバー部材としてのフレームカバー29により覆われる被カバー体がメインフレーム11の場合を述べたが、被カバー体が燃料タンク23で、カバー部材がサイドカバー28またはフレームカバー29の場合、また、被カバー体がシートレール12で、カバー部材がリアカバー30またはフレームカバー29の場合であっても、これらの被カバー体とカバー部材との隙間にグロメット33を介在させることで、本発明を適用できる。更に、フレームカバー29、サイドカバー28、リアカバー30等のカバー部材どうしの隙間にグロメット33を介在させることで、本発明を適用することもできる。
1 乗員
2 膝
3 脚部
10 自動二輪車
11 メインフレーム(被カバー体)
29 フレームカバー(カバー部材)
29A 端縁部
32 隙間
33 グロメット
33A 上端部
33B 下端部
36 クリップ(支持部材)
37、38 係合穴
39 屈曲部
40 溝
41 接触面
43 頂点
44 稜線
e1、e2 オフセット量
P 交点

Claims (8)

  1. 自動二輪車の車体を覆うカバー部材を前記車体に取り付ける自動二輪車のカバー部材取付構造において、
    前記カバー部材により覆われる被カバー体と前記カバー部材の端縁部との隙間、または前記カバー部材どうしの隙間に、弾性体で形成されたグロメットが配置され
    前記グロメットは、支持部材を用いて回転自在に支持されたことを特徴とする自動二輪車のカバー部材取付構造。
  2. 前記グロメットは、横断面において被カバー体の外周部と略一致した形状に形成されたことを特徴とする請求項1に記載の自動二輪車のカバー部材取付構造。
  3. 前記グロメットは、車体側面視において、一部がカバー部材の端縁部よりも外側に露出するように配置されたことを特徴とする請求項1または2に記載の自動二輪車のカバー部材取付構造。
  4. 前記カバー部材は、その端縁部の少なくとも一部が内側に折れ曲る屈曲部を備え、グロメットは、前記屈曲部と対向する面に、この屈曲部の少なくとも一部が嵌合する溝を有して構成されたことを特徴とする請求項1乃至3のいずれか1項に記載の自動二輪車のカバー部材取付構造。
  5. 前記グロメットには、支持部材が係合する係合穴が形成され、この係合穴は、被カバー体が長尺形状である場合、前記グロメットと前記被カバー体との接触面である略平行四辺形領域における2本の対角線の交点に対し、前記被カバー体の軸方向にオフセットし、且つ車体側面視において、前記カバー部材により隠される位置に設けられたことを特徴とする請求項1乃至4のいずれか1項に記載の自動二輪車のカバー部材取付構造。
  6. 前記グロメットには、支持部材が係合する係合穴が形成され、この係合穴は、被カバー体の外側の断面が屈曲または湾曲して構成された場合、この断面形状の頂点により形成される稜線に対しオフセットして設けられたことを特徴とする請求項1乃至5のいずれか1項に記載の自動二輪車のカバー部材取付構造。
  7. 前記グロメットは、車体側面視において、乗員のニーグリップ位置近傍に配置されたことを特徴とする請求項1乃至6のいずれか1項に記載の自動二輪車のカバー部材取付構造。
  8. 前記カバー部材は、被カバー体としてのフレームを覆うフレームカバーであることを特徴とする請求項1乃至7のいずれか1項に記載の自動二輪車のカバー部材取付構造。
JP2010286351A 2010-12-22 2010-12-22 自動二輪車のカバー部材取付構造 Active JP5617606B2 (ja)

Priority Applications (1)

Application Number Priority Date Filing Date Title
JP2010286351A JP5617606B2 (ja) 2010-12-22 2010-12-22 自動二輪車のカバー部材取付構造

Applications Claiming Priority (1)

Application Number Priority Date Filing Date Title
JP2010286351A JP5617606B2 (ja) 2010-12-22 2010-12-22 自動二輪車のカバー部材取付構造

Publications (2)

Publication Number Publication Date
JP2012131419A JP2012131419A (ja) 2012-07-12
JP5617606B2 true JP5617606B2 (ja) 2014-11-05

Family

ID=46647538

Family Applications (1)

Application Number Title Priority Date Filing Date
JP2010286351A Active JP5617606B2 (ja) 2010-12-22 2010-12-22 自動二輪車のカバー部材取付構造

Country Status (1)

Country Link
JP (1) JP5617606B2 (ja)

Family Cites Families (5)

* Cited by examiner, † Cited by third party
Publication number Priority date Publication date Assignee Title
JPH06308Y2 (ja) * 1985-06-28 1994-01-05 スズキ株式会社 オ−トバイのフレ−ム
JPH0625432Y2 (ja) * 1988-02-12 1994-07-06 スズキ株式会社 自動二輪車のフレームカバー取付構造
JP2771213B2 (ja) * 1989-01-27 1998-07-02 ヤマハ発動機株式会社 自動二輪車の遮熱装置
JP3206147B2 (ja) * 1992-10-27 2001-09-04 スズキ株式会社 自動2輪車のフレームカバー
JP3511869B2 (ja) * 1997-11-12 2004-03-29 スズキ株式会社 自動二輪車のエアクリーナ遮熱装置

Also Published As

Publication number Publication date
JP2012131419A (ja) 2012-07-12

Similar Documents

Publication Publication Date Title
CN102791569B (zh) 机动二轮车
CN101513910B (zh) 车辆的燃料泵罩结构
JP2011245897A (ja) 自動二輪車
WO2009122644A1 (ja) 車両用ブレーキ制御装置
EP2599699B1 (en) Two-wheeled motor vehicle
US10871267B2 (en) Lamp body structure for saddle riding vehicle
JP2007062495A (ja) 鞍乗型車両
JP2007186128A (ja) 自動二輪車
JP5617606B2 (ja) 自動二輪車のカバー部材取付構造
JP6006581B2 (ja) 自動二輪車のサイドカウル構造
CN101327759B (zh) 前灯装置
JP6238951B2 (ja) 鞍乗り型車両のヘッドライト装置
US7584814B2 (en) Motorcycle
JPWO2020066138A1 (ja) 鞍乗型車両のライセンスライト
CN104234883B (zh) 摩托车的空气净化器结构
JP4613114B2 (ja) フューエルホース取付構造
JP6564129B2 (ja) 灯火器装置及び鞍乗型車両
JP7065993B2 (ja) 排気構造
JP2007062703A (ja) 車両用エアクリーナの取付構造
JP2020044989A (ja) 鞍乗型車両の後部構造
CN114212173B (zh) 鞍乘型车辆
JP3570598B2 (ja) 自動二輪車のカウリング取付構造
WO2018047127A1 (en) Support structure for rear panel of step-through scooter type motorcycle
JP5916120B2 (ja) 鞍乗り型車両における前部構造
JP2006240460A (ja) 自動二輪車の樹脂部材係合構造

Legal Events

Date Code Title Description
A621 Written request for application examination

Free format text: JAPANESE INTERMEDIATE CODE: A621

Effective date: 20130827

RD02 Notification of acceptance of power of attorney

Free format text: JAPANESE INTERMEDIATE CODE: A7422

Effective date: 20130827

A977 Report on retrieval

Free format text: JAPANESE INTERMEDIATE CODE: A971007

Effective date: 20140523

A131 Notification of reasons for refusal

Free format text: JAPANESE INTERMEDIATE CODE: A131

Effective date: 20140527

A521 Written amendment

Free format text: JAPANESE INTERMEDIATE CODE: A523

Effective date: 20140728

TRDD Decision of grant or rejection written
A01 Written decision to grant a patent or to grant a registration (utility model)

Free format text: JAPANESE INTERMEDIATE CODE: A01

Effective date: 20140819

A61 First payment of annual fees (during grant procedure)

Free format text: JAPANESE INTERMEDIATE CODE: A61

Effective date: 20140901

R151 Written notification of patent or utility model registration

Ref document number: 5617606

Country of ref document: JP

Free format text: JAPANESE INTERMEDIATE CODE: R151