JP5558397B2 - 軸受装置 - Google Patents

軸受装置 Download PDF

Info

Publication number
JP5558397B2
JP5558397B2 JP2011071977A JP2011071977A JP5558397B2 JP 5558397 B2 JP5558397 B2 JP 5558397B2 JP 2011071977 A JP2011071977 A JP 2011071977A JP 2011071977 A JP2011071977 A JP 2011071977A JP 5558397 B2 JP5558397 B2 JP 5558397B2
Authority
JP
Japan
Prior art keywords
seal
bush
connecting pin
annular
boss member
Prior art date
Legal status (The legal status is an assumption and is not a legal conclusion. Google has not performed a legal analysis and makes no representation as to the accuracy of the status listed.)
Expired - Fee Related
Application number
JP2011071977A
Other languages
English (en)
Other versions
JP2012207689A (ja
Inventor
秀樹 秋田
茂行 櫻井
修 五木田
暁子 佐藤
Current Assignee (The listed assignees may be inaccurate. Google has not performed a legal analysis and makes no representation or warranty as to the accuracy of the list.)
Hitachi Construction Machinery Co Ltd
Original Assignee
Hitachi Construction Machinery Co Ltd
Priority date (The priority date is an assumption and is not a legal conclusion. Google has not performed a legal analysis and makes no representation as to the accuracy of the date listed.)
Filing date
Publication date
Application filed by Hitachi Construction Machinery Co Ltd filed Critical Hitachi Construction Machinery Co Ltd
Priority to JP2011071977A priority Critical patent/JP5558397B2/ja
Publication of JP2012207689A publication Critical patent/JP2012207689A/ja
Application granted granted Critical
Publication of JP5558397B2 publication Critical patent/JP5558397B2/ja
Expired - Fee Related legal-status Critical Current
Anticipated expiration legal-status Critical

Links

Images

Landscapes

  • Component Parts Of Construction Machinery (AREA)
  • Sliding-Contact Bearings (AREA)
  • Mechanical Sealing (AREA)

Description

本発明は、例えば油圧ショベル等の建設機械において作業装置のピン結合部等に好適に用いられる軸受装置に関する。
一般に、油圧ショベル等の建設機械にあっては、作業用のフロント部を構成するブーム、アームおよびバケット等を互いに回動可能に連結するために軸受装置を設ける構成としている。また、これらのブーム、アームおよびバケットを駆動するブームシリンダ、アームシリンダおよびバケットシリンダについても、それぞれ軸受装置を用いて回動可能に連結する構成としている。
この種の従来技術による軸受装置は、前記ブーム、アーム、バケットおよび各シリンダ等のうち、一方の部材に設けられ内周側にブッシュが嵌着されたボス部材と、このボス部材の左,右両側に配置された相手方部材となる一対のブラケット部材と、これら各ブラケット部材間に前記ボス部材を回動可能に連結する連結ピンと、前記ブッシュの軸方向両端側に位置して前記ボス部材と連結ピンとの間に設けられたシール手段とにより構成されている(例えば、特許文献1参照)。
特開2004−28203号公報
ところで、上述した従来技術の軸受装置は、前記シール手段をダストシールにより構成し、該ダストシールのリップ部は、外部からの異物が前記連結ピンの軸方向外側から内側に向けて侵入するのを防ぐため斜めに傾いた形状に形成されている。このため、ダストシールからなるシール手段は、異物侵入を抑える上では有効であるが、内部の潤滑油が外部に漏洩するのを抑えるオイルシールとしての機能がなく、前記ブッシュと連結ピンとの間を長期にわたって潤滑状態に保つのが難しいという問題がある。
即ち、従来技術の軸受装置では、前記ボス部材とブラケット部材とを連結ピンを介して円滑に回動させるため、油圧ショベルの稼動時間が一定時間を経過する毎に、ブッシュと連結ピンとの間に外部から潤滑油を供給し、両者の間を常に潤滑状態に保持するようにしている。しかし、ブッシュと連結ピンとの間に供給された潤滑油は、ブッシュ内で連結ピンが摺動するときの摩擦熱等により粘度が低下するため、前記ダストシールのリップ部から外部に漏洩し易くなり、前記潤滑油の給脂間隔が短くなるという問題がある。
本発明は上述した従来技術の問題に鑑みてなされたもので、本発明の目的は、外部からの異物がブッシュと連結ピンとの間に侵入するのを防ぐと共に、両者の間に供給される潤滑油が外部に漏洩するのを防止でき、潤滑油の給脂間隔を長くすることができるようにした軸受装置を提供することにある。
上述した課題を解決するために本発明は、内周側にブッシュ嵌合穴を有し該ブッシュ嵌合穴にブッシュが嵌着して設けられたボス部材と、前記ブッシュの内周側に挿通され前記ボス部材を相手方部材に回動可能に連結する連結ピンと、前記ブッシュの軸方向両端側に位置して前記ボス部材と連結ピンとの間に設けられたシール手段とを備えてなる軸受装置に適用される。
そして、請求項1の発明が採用する構成の特徴は、前記ボス部材の内周側には、前記ブッシュ嵌合穴の軸方向両側に位置して該ブッシュ嵌合穴よりも大径となった拡径穴部として形成され断面L字状の切欠き溝からなるシール収容溝をそれぞれ設け、前記シール手段は、軸方向で互いに対向する前記ボス部材の前記各シール収容溝と前記相手方部材の端面との間を浮動状態でシールするフローティングシールにより構成し、該フローティングシールは、前記連結ピンの外周側に挿通され前記相手方部材の端面に摺接して前記相手方部材との間をシールする環状シール体と、該環状シール体と前記ボス部材との間をシールするため該環状シール体と前記ボス部材の前記シール収容溝との間に弾性変形状態で配置され該環状シール体を前記相手方部材の端面に向けて弾性的に付勢するOリングとを備え、前記環状シール体は、前記各シール収容溝内に配置された状態で前記ブッシュの軸方向端面に対向する対向面部と、前記相手方部材の端面に摺接し前記相手方部材との間をシールする環状の摺接面部と、該環状の摺接面部とは軸方向の反対側で前記対向面部の径方向外側に位置して形成され前記ボス部材の前記シール収容溝との間で前記Oリングを弾性変形状態に保持する環状の凹面部とを有する構成としたことにある。
また、請求項2の発明によると、前記連結ピンの外周面と前記相手方部材との間には、両者の間をシールするシール部材を設ける構成としている。
上述の如く、請求項1の発明によれば、Oリングと環状シール体とからなるフローティングシールを、軸受装置のシール手段に採用しているので、ボス部材と相手方部材とが連結ピンを介して相対的に回動するときに、シール手段(フローティングシール)に生じる摺動抵抗を小さく抑え、エネルギ損失を低減することができる。しかも、環状シール体により相手方部材の端面との間をシールでき、環状シール体とボス部材のシール収容溝との間はOリングによりシールできるので、外部からの異物がブッシュと連結ピンとの間に侵入するのを防止できると共に、ブッシュと連結ピンとの間に供給(給脂)した潤滑油が外部に漏洩するのを防止でき、潤滑油の給脂間隔を長くすることができる。
さらに、環状シール体は、ブッシュの軸方向端面に対向する対向面部と、前記相手方部材の端面に摺接する環状の摺接面部と、ボス部材のシール収容溝との間でOリングを弾性変形状態に保持する環状の凹面部とを有しているので、環状の摺接面部を相手方部材の端面に摺接させることにより相手方部材との間をシールすることができ、環状の凹面部によりOリングをボス部材との間で弾性変形状態に保持することができる。このため、弾性変形状態のOリングは、環状シール体の摺接面部を相手方部材の端面に向けて付勢することができ、両者の摺接面を安定してシールすることができる。また、環状シール体の凹面部とボス部材のシール収容溝との間には、例えば斜めに傾いて弾性変形状態にあるOリングが接触し続けるので、ボス部材とOリングとの間も締代をもって安定してシールすることができる。
また、請求項2の発明によると、前記連結ピンの外周面と前記相手方部材との間をシール部材によりシールすることができる。
本発明の実施の形態による軸受装置が適用された油圧ショベルを示す正面図である。 軸受装置を図1中の矢示II−II方向からみた拡大断面図である。 図2中のOリングと環状シール体とを分解した状態で示す拡大断面図である。 図3中の環状シール体を右側からみた右側面図である。
以下、本発明の実施の形態による軸受装置を、油圧ショベルのアームとアームシリンダとのピン結合部に適用した場合を例に挙げ、添付図面の図1ないし図4に従って詳細に説明する。なお、実施の形態では、連結ピンを用いてボス部材を回動可能に連結する相手方部材の代表例として、アームに設けられるブラケット部材を例に挙げて説明する。
図中、1は建設機械としての油圧ショベルで、該油圧ショベル1は、下部走行体2と、該下部走行体2上に旋回可能に搭載された上部旋回体3とにより構成されている。この上部旋回体3は、旋回フレーム4を有し、該旋回フレーム4上には、キャブ5およびカウンタウエイト6等が設けられている。
7は上部旋回体3の前部側に俯仰動可能に設けられた作業装置で、この作業装置7は、上部旋回体3の旋回フレーム4前部側にピン結合されたブーム8と、ブーム8の先端側にピン結合されたアーム9と、アーム9の先端側にピン結合された作業具としてのバケット10とを含んで構成されている。作業装置7は、ブーム8がブームシリンダ11によって上,下に俯仰動され、アーム9はアームシリンダ12によりブーム8に対して俯仰動される。また、バケット10はバケットシリンダ13によりリンク14,15を介して回動されるものである。
ここで、作業装置7のうち、アーム9の基端側とアームシリンダ12のロッド先端側との間には、例えば図2に示すように、ピン結合部を構成する軸受装置21が装備されている。そして、この軸受装置21は、後述のボス部材22、ブッシュ23、ブラケット部材24,25、連結ピン26およびフローティングシール31を含んで構成されている。
22はアームシリンダ12のロッド先端側に設けられた筒状のボス部材で、該ボス部材22には、その内周側に後述のブッシュ23が嵌合されるブッシュ嵌合穴22Aと、該ブッシュ嵌合穴22の軸方向両側に位置し断面L字状の切欠き溝からなる左,右一対のシール収容溝22Bとが設けられている。該各シール収容溝22Bは、ボス部材22の軸方向両端側に開口し、外径寸法がブッシュ嵌合穴22Aよりも大径となった拡径穴部として形成されている。
また、ボス部材22の外周側には、軸方向の両側に位置して斜めに傾斜した左,右一対の面取り部22Cが形成されている。これらの各面取り部22Cには、後述するブラケット部材24,25の端面24B,25Bとの間に外側シール35,35が締代をもって配置されている。
23はボス部材22のブッシュ嵌合穴22A内に設けられた筒状のブッシュを示し、該ブッシュ23は、ボス部材22のブッシュ嵌合穴22A内に圧入等の手段を用いて嵌着されている。ブッシュ23は、例えば多孔質構造をなす多数の空孔をもった焼結金属材料を用いて形成され、その空孔には潤滑油が含浸されている。また、ブッシュ23の内周側は円形のピン穴23Aとなり、該ピン穴23A内には後述の連結ピン26が摺動可能に挿嵌されている。
24,25はボス部材22を左,右両側から挟んで配置される一対の相手方部材として左,右のブラケット部材である。本実施の形態では、ボス部材22に対する相手方部材の代表例として、アーム9の基端側に設けられたブラケット部材24,25を例示している。ここで、該ブラケット部材24,25は、図2に示すようにボス部材22を左,右両側から挟むように配設され、後述の連結ピン26によりボス部材22に対して相対的に回動可能に連結されている。そして、ブラケット部材24,25には、ブッシュ23のピン穴23Aと対応する位置に円形のピン穴24A,25Aが穿設されている。
ブラケット部材24,25の内側面は、ボス部材22と軸方向で対向する端面24B,25Bとなり、この端面24B,25Bのうち後述の環状シール体32が摺接する部位は、表面粗さが小さい平滑面として形成されている。また、図2中で右側に位置する他側のブラケット部材25には、軸方向の外側に向けて突出した段付凸部25Cが設けられ、ピン穴25Aは段付凸部25C内を軸方向に貫通して形成されている。さらに、ブラケット部材25の段付凸部25Cには、後述の固定ボルト27が挿通される挿通孔25Dが径方向に穿設されている。
26はボス部材22をブラケット部材24,25間に連結した連結ピンで、この連結ピン26は、長さ方向中間部がブッシュ23のピン穴23A内に摺動可能に挿嵌され、連結ピン26の両端側は、ブラケット部材24,25のピン穴24A,25A内に挿通されている。連結ピン26の軸方向一側(図2中で左側)の端面には、円形の凹部26Aが形成され、該凹部26Aの奥所側に位置する底部には、後述の給脂ニップル29が着脱可能に螺着されている。
また、連結ピン26には、ブッシュ23のピン穴23Aと連結ピン26の外周面との間に潤滑油を供給するための給脂通路26Bが形成され、該給脂通路26Bは、凹部26Aの底部側で後述の給脂ニップル29により閉塞されている。一方、連結ピン26の軸方向他側(図2中で右側)には、後述の固定ボルト27が挿通される挿通孔26Cが径方向に穿設されている。この挿通孔26Cは、ブラケット部材25の挿通孔25Dと連結ピン26の周方向で同軸に位置合せされるものである。
27は連結ピン26の抜止めを行う固定部材として固定ボルトで、この固定ボルト27は、図2に示す如くブラケット部材25の挿通孔25Dと連結ピン26の挿通孔26Cとに挿通されている。この状態で固定ボルト27の先端側にはナット28が螺着される。これにより、固定ボルト27は、連結ピン26をブラケット部材24,25に対して抜止め状態に保持すると共に、連結ピン26がブラケット部材24,25に対して相対回転するのを規制し廻止め状態にも保持するものである。
29は連結ピン26の凹部26A内に設けられた給脂ニップルで、該給脂ニップル29は、凹部26Aの奥所(底部)側に着脱可能に螺着されている。例えばグリースガン等の給脂具(図示せず)を用いてグリース等の潤滑油を給脂する場合には、この給脂具を給脂ニップル29の位置にセットし、この状態で連結ピン26の給脂通路26B内に向けてグリース等の潤滑油を給脂する。このとき給脂油は、給脂通路26B内に加圧状態で押し出され、ブッシュ23のピン穴23Aと連結ピン26の外周面との間の摺動面に供給される。
30,30はブラケット部材24,25と連結ピン26との間をシールする左,右一対のシール部材で、該各シール部材30のうち一方のシール部材30は、ブラケット部材24のピン穴24Aと連結ピン26の外周面との間に配置され、両者の間に外部からの異物が侵入するのを防ぐと共に、前記潤滑油(給脂油)が両者の間から軸方向外側に向けて漏出するのを防ぐ。また、他方のシール部材30は、ブラケット部材25のピン穴25Aと連結ピン26の外周面との間に配置され、両者の間に外部からの異物が侵入するのを防ぐと共に、前記潤滑油(給脂油)が両者の間から軸方向外側に向けて漏出するのを防ぐものである。
31,31はブッシュ23の軸方向両端側に位置してボス部材22と連結ピン26との間に設けられた左,右一対のシール手段を構成するフローティングシールである。これらのフローティングシール31は、軸方向で互いに対向するボス部材22の端面側(シール収容溝22B)とブラケット部材24,25の端面24B,25Bとの間を浮動状態でシールするものである。即ち、各フローティングシール31は、連結ピン26の外周側に隙間をもって挿通される環状シール体32と、該環状シール体32とボス部材22のシール収容溝22Bとの間に弾性変形状態で配置されるOリング33とにより構成されている。
左,右のブラケット部材24,25間でボス部材22が連結ピン26の周囲を回動するとき、フローティング31の環状シール体32は、Oリング33により締代が与えられるためボス部材22と一緒に回動し、後述の摺接面部32Dがブラケット部材24,25の端面24B,25Bに対して相対回転するように摺接する。即ち、フローティングシール31は、ボス部材22のシール収容溝22Bと連結ピン26の外周面との間に、環状シール体32をOリング33により浮動状態(フローティング状態)に保持しつつ、後述の如くシール機能を発揮するものである。
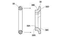
ここで、環状シール体32は、例えば鋳鉄、鋼鉄等の金属材料、セラミックスまたは硬質樹脂等の剛性材料を用いて、図2、図3に示すように断面形状が略J字状または略L字状をなすリングとして形成され、その内周側は、連結ピン26の外径よりも大径に形成されたピン挿通穴32Aとなっている。環状シール体32は、ピン挿通穴32Aの軸方向両側に対向面部32Bとテーパ面部32Cとを有し、対向面部32Bは、ブッシュ23の軸方向端面に隙間を介して対向配置される。テーパ面部32Cは、後述の摺接面部32Dとピン挿通穴32Aとの間に斜めに傾斜して形成され、後述の油溜り34がテーパ面部32Cの内側に画成される。
また、環状シール体32には、テーパ面部32Cの径方向外側に位置する環状の摺接面部32Dと、該環状の摺接面部32Dとは軸方向の反対側で対向面部32Bの径方向外側部位を円弧状に切欠くように形成された環状の凹面部32Eとが設けられている。環状の摺接面部32Dは、弾性変形したOリング33によりブラケット部材24,25の端面24B,25Bに付勢されて該端面24B,25Bに摺接しブラケット部材24,25との間をシールするシール面を構成している。
環状シール体32の凹面部32Eは、図3に示すように斜めに傾いた円弧状の凹湾曲面として形成され、ボス部材22のシール収容溝22Bとの間でOリング33を斜め方向から挟み込んで弾性変形状態に保持する構成となっている。このとき、弾性変形したOリング33は、環状シール体32の凹面部32Eに広く面接触することにより斜めに傾いた状態となり、ボス部材22のシール収容溝22Bに対しても締代をもって接触した状態に保持される。
これによって、ボス部材22のシール収容溝22Bと環状シール体32との間は、締代をもったOリング33により安定したシール状態に保たれる。また、ブラケット部材24,25の端面24B,25Bと環状シール体32との間は、環状の摺接面部32Dが端面24B,25Bに摺接することにより両者の間をシール状態に保つ。この結果、ボス部材22の軸方向両側とブラケット部材24,25の端面24B,25Bとの間は、環状シール体32とOリング33からなるフローティングシール31により浮動状態でシールされ、内部の潤滑油が外部に漏洩するのを防ぐと共に、異物の侵入に対しても後述の外側シール35と一緒にシール機能が発揮されるものである。
34,34は連結ピン26の外周側に位置してブラケット部材24,25の端面24B,25Bと各環状シール体32との間に画成された油溜りである。この油溜り34は、環状シール体32のテーパ面部32Cによりブラケット部材24,25の端面24B,25Bと連結ピン26との間に略三角形状をなす空隙として形成され、その内部には前記給脂油の一部等が溜められるものである。
35,35はボス部材22の各面取り部22Cとブラケット部材24,25の端面24B,25Bとの間に外側から装着された外側シールである。これらの外側シール35は、例えばOリングを用いて形成され、フローティングシール31の径方向外側に位置してボス部材22とブラケット部材24,25との間の隙間内に外部のダスト等が侵入するのを防ぐものである。
本実施の形態による油圧ショベル1に適用された軸受装置21は、上述の如き構成を有するもので、油圧ショベル1の作業装置7により土砂等の掘削作業を行うときには、アームシリンダ12のロッド先端側に軸受装置21を介してピン結合されたアーム9の基端側が、アームシリンダ12の伸縮動作に応じて連結ピン26を中心として回動動作を行う。即ち、左,右のブラケット部材24,25間でボス部材22がブッシュ23と一緒に連結ピン26の周囲を回動するように相対変位する。
そして、アーム9の回動時にはブッシュ23と連結ピン26との間の摩擦熱等によりブッシュ23に含浸した潤滑油の粘度が下がるために、ブッシュ23の内部からブッシュ23と連結ピン26との摺動面にしみ出すようになり、この潤滑油によってブッシュ23と連結ピン26との摺動面に油膜を形成することができる。また、油圧ショベル1のメンテナンス時には、例えばグリースガン等の給脂具を用いて連結ピン26の給脂通路26B内に潤滑油を供給でき、これによってもブッシュ23と連結ピン26との摺動面を潤滑状態に保つことができる。
ここで、本実施の形態では、連結ピン26の外周側でボス部材22の各シール収容溝22Bとブラケット部材24,25の端面24B,25Bとの間には、環状シール体32とOリング33とからなるフローティングシール31を設ける構成としている。前記環状シール体32は、ブラケット部材24,25の端面24B,25Bに摺接しブラケット部材24,25との間をシールする環状の摺接面部32Dと、該環状の摺接面部32とは軸方向の反対側に形成されボス部材22のシール収容溝22Bとの間でOリング33を弾性変形状態に保持する環状の凹面部32Eとを有している。
これにより、フローティングシール31は、ボス部材22のシール収容溝22Bと連結ピン26の外周面との間に、環状シール体32をOリング33により浮動状態(フローティング状態)に保持しつつ、弾性変形したOリング33の付勢力により環状の摺接面部32Dをブラケット部材24(25)の端面24B(25B)に摺接させることができ、この摺接面をシール状態に保つことができる。
このため、ボス部材22とブラケット部材24,25とが連結ピン26を介して相対的に回動するときに、フローティングシール31の環状シール体32に働く摺動抵抗を小さく抑え、エネルギ損失を低減することができる。しかも、環状シール体32の摺接面部32Dによりブラケット部材24(25)の端面24B(25B)との間をシールでき、Oリング33によりボス部材22のシール収容溝22Bとの間をシールすることができる。
従って、本実施の形態によれば、フローティングシール31を採用することにより、外部からの異物がブッシュ23と連結ピン26との間に侵入するのを防止できると共に、ブッシュ23と連結ピン26との間に供給(給脂)した潤滑油が外部に漏洩するのを防止することができ、潤滑油の給脂間隔を長くすることができる。
また、本実施の形態によると、ブッシュ23の軸方向両端側に位置してボス部材22の内周側には一対のシール収容溝22Bを設け、環状シール体32の凹面部32Eは、図3に示すように斜めに傾いた円弧状の凹湾曲面として形成され、ボス部材22のシール収容溝22Bとの間でOリング33を斜め方向から挟み込んで弾性変形状態に保持する構成としている。
これにより、弾性的に撓み変形したOリング33は、環状シール体32の凹面部32Eに広く面接触することにより斜めに傾いた状態となり、ボス部材22のシール収容溝22Bに対しても締代をもって接触した状態に保持される。この結果、ボス部材22のシール収容溝22Bと環状シール体32との間は、締代をもったOリング33により安定したシール状態に保つことができ、ブラケット部材24,25の端面24B,25Bと環状シール体32との間は、環状の摺接面部32Dが端面24B,25Bに摺接することにより両者の間をシール状態に保つことができる。
このため、ボス部材22の軸方向両側端面とブラケット部材24,25の端面24B,25Bとの間は、環状シール体32とOリング33からなるフローティングシール31により安定してシールすることができ、内部の潤滑油が外部に漏洩するのを防ぐことができる。また、外部からの異物侵入に対しては、外側シール35とフローティングシール31とにより二重のシール機能を発揮することができる。
さらに、ブラケット部材24,25のピン穴24A,25Aと連結ピン26との間には、例えばOリング等により構成される左,右のシール部材30を設けているので、これらのシール部材30により両者の間に外部からの異物が侵入するのを防ぐことができると共に、例えば油溜り34内の潤滑油(給脂油)が両者の間から軸方向外側に向けて漏出するのを防ぐことができる。
なお、前記実施の形態では、作業装置7に用いる複数の軸受装置のうち、アーム9の基端側とアームシリンダ12のロッド先端側との間に設ける軸受装置21を例に挙げて説明した。しかし、本発明はこれに限るものではなく、例えばアームシリンダ12のボトム側とブーム8側の間に用いる軸受装置、ブームシリンダ11またはバケットシリンダ13に用いる軸受装置に適用してもよい。また、作業装置7のアーム9とバケット10との間に用いる軸受装置、ブーム8の先端とアーム9との間に用いる軸受装置、ブーム8のフート部と旋回フレーム4との間に用いる軸受装置に適用してもよい。
この場合、連結ピンを用いてボス部材に連結される相手方部材は、前記実施の形態で述べたように左,右のブラケット部材24,25に限るものではなく、例えば図1に示すアームシリンダ12のボトム側の取付アイ(ボス部材)に対する相手方部材は、ブーム8に設けた左,右一対のブラケットとなる。また、図1に示すバケットシリンダ13のボトム側の取付アイ(ボス部材)に対する相手方部材は、アーム9に設けた左,右一対のブラケットとなる。さらに、例えば図14に示すリンク14,15の端部(連結ピンが取付けられる端部)も相手方部材となるものである。
さらに、前記実施の形態では、軸受装置を油圧ショベルに適用した場合を例に挙げて説明した。しかし、本発明はこれに限らず、例えば油圧クレーン、ホイールローダ、ブルドーザ等の他の建設機械で用いる軸受装置にも広く適用できるものである。
1 油圧ショベル
7 作業装置
8 ブーム
9 アーム
10 バケット(作業具)
11 ブームシリンダ
12 アームシリンダ
13 バケットシリンダ(作業具シリンダ)
21 軸受装置
22 ボス部材
22A ブッシュ嵌合穴
22B シール収容溝
23 ブッシュ
23A,24A,25A ピン穴
24,25 ブラケット部材(相手方部材)
24B,25B 端面
26 連結ピン
31 フローティングシール(シール手段)
32 環状シール体
32A ピン挿通穴
32B 対向面部
32C テーパ面部
32D 摺接面部
32E 凹面部
33 Oリング
34 油溜り
35 外側シール

Claims (2)

  1. 内周側にブッシュ嵌合穴を有し該ブッシュ嵌合穴にブッシュが嵌着して設けられたボス部材と、前記ブッシュの内周側に挿通され前記ボス部材を相手方部材に回動可能に連結する連結ピンと、前記ブッシュの軸方向両端側に位置して前記ボス部材と連結ピンとの間に設けられたシール手段とを備えてなる軸受装置において、
    前記ボス部材の内周側には、前記ブッシュ嵌合穴の軸方向両側に位置して該ブッシュ嵌合穴よりも大径となった拡径穴部として形成され断面L字状の切欠き溝からなるシール収容溝をそれぞれ設け、
    前記シール手段は、軸方向で互いに対向する前記ボス部材の前記各シール収容溝と前記相手方部材の端面との間を浮動状態でシールするフローティングシールにより構成し、
    該フローティングシールは、前記連結ピンの外周側に挿通され前記相手方部材の端面に摺接して前記相手方部材との間をシールする環状シール体と、該環状シール体と前記ボス部材との間をシールするため該環状シール体と前記ボス部材の前記シール収容溝との間に弾性変形状態で配置され該環状シール体を前記相手方部材の端面に向けて弾性的に付勢するOリングとを備え
    前記環状シール体は、前記各シール収容溝内に配置された状態で前記ブッシュの軸方向端面に対向する対向面部と、前記相手方部材の端面に摺接し前記相手方部材との間をシールする環状の摺接面部と、該環状の摺接面部とは軸方向の反対側で前記対向面部の径方向外側に位置して形成され前記ボス部材の前記シール収容溝との間で前記Oリングを弾性変形状態に保持する環状の凹面部とを有する構成としたことを特徴とする軸受装置。
  2. 前記連結ピンの外周面と前記相手方部材との間には、両者の間をシールするシール部材を設ける構成としてなる請求項1に記載の軸受装置。
JP2011071977A 2011-03-29 2011-03-29 軸受装置 Expired - Fee Related JP5558397B2 (ja)

Priority Applications (1)

Application Number Priority Date Filing Date Title
JP2011071977A JP5558397B2 (ja) 2011-03-29 2011-03-29 軸受装置

Applications Claiming Priority (1)

Application Number Priority Date Filing Date Title
JP2011071977A JP5558397B2 (ja) 2011-03-29 2011-03-29 軸受装置

Publications (2)

Publication Number Publication Date
JP2012207689A JP2012207689A (ja) 2012-10-25
JP5558397B2 true JP5558397B2 (ja) 2014-07-23

Family

ID=47187610

Family Applications (1)

Application Number Title Priority Date Filing Date
JP2011071977A Expired - Fee Related JP5558397B2 (ja) 2011-03-29 2011-03-29 軸受装置

Country Status (1)

Country Link
JP (1) JP5558397B2 (ja)

Families Citing this family (1)

* Cited by examiner, † Cited by third party
Publication number Priority date Publication date Assignee Title
CN109208683B (zh) * 2018-10-30 2023-08-22 三一重机有限公司 回转支承黄油池密封结构及挖掘机

Family Cites Families (2)

* Cited by examiner, † Cited by third party
Publication number Priority date Publication date Assignee Title
JPS541753A (en) * 1977-06-03 1979-01-08 Teijin Seiki Co Ltd Seal mechanism
JPH051015U (ja) * 1991-06-26 1993-01-08 油谷重工株式会社 ピン結合装置

Also Published As

Publication number Publication date
JP2012207689A (ja) 2012-10-25

Similar Documents

Publication Publication Date Title
US8596870B2 (en) Bearing device
JP3766384B2 (ja) シール装置
CN101091067B (zh) 轴承装置
US6042295A (en) Rotating bushing for a pin assembly
US9623920B2 (en) Track joint assemblies
CN104053840A (zh) 工程机械的轴承装置
US9604681B2 (en) Track joint assemblies
US9505453B2 (en) Track joint assemblies
US20150061373A1 (en) Joint bushings for track joint assemblies
US9656707B2 (en) High speed metal face seal
JP5558397B2 (ja) 軸受装置
JP4988642B2 (ja) 軸受装置
JP2003176815A (ja) 軸受装置
CN112543829B (zh) 轴承装置和施工机器
JP2008075382A (ja) 軸受装置
JPH0932844A (ja) 軸受装置
JP2005214266A (ja) 軸受装置
JPH10311335A (ja) 軸受装置
JP3251859B2 (ja) 軸受装置
JPH11148560A (ja) 建設機械のフロントの軸受シール装置
JPH10311334A (ja) 建設機械用軸受
JP3360976B2 (ja) 軸受装置
JPH09111804A (ja) 軸受装置
JP3512941B2 (ja) 軸受装置
JPH09229066A (ja) 軸受装置

Legal Events

Date Code Title Description
A621 Written request for application examination

Free format text: JAPANESE INTERMEDIATE CODE: A621

Effective date: 20130215

A977 Report on retrieval

Free format text: JAPANESE INTERMEDIATE CODE: A971007

Effective date: 20131108

A131 Notification of reasons for refusal

Free format text: JAPANESE INTERMEDIATE CODE: A131

Effective date: 20131119

A521 Request for written amendment filed

Free format text: JAPANESE INTERMEDIATE CODE: A523

Effective date: 20131226

TRDD Decision of grant or rejection written
A01 Written decision to grant a patent or to grant a registration (utility model)

Free format text: JAPANESE INTERMEDIATE CODE: A01

Effective date: 20140603

A61 First payment of annual fees (during grant procedure)

Free format text: JAPANESE INTERMEDIATE CODE: A61

Effective date: 20140604

R150 Certificate of patent or registration of utility model

Ref document number: 5558397

Country of ref document: JP

Free format text: JAPANESE INTERMEDIATE CODE: R150

LAPS Cancellation because of no payment of annual fees