JP5378010B2 - 遠心式ポンプ装置 - Google Patents

遠心式ポンプ装置 Download PDF

Info

Publication number
JP5378010B2
JP5378010B2 JP2009052176A JP2009052176A JP5378010B2 JP 5378010 B2 JP5378010 B2 JP 5378010B2 JP 2009052176 A JP2009052176 A JP 2009052176A JP 2009052176 A JP2009052176 A JP 2009052176A JP 5378010 B2 JP5378010 B2 JP 5378010B2
Authority
JP
Japan
Prior art keywords
dynamic pressure
impeller
pressure grooves
grooves
pump device
Prior art date
Legal status (The legal status is an assumption and is not a legal conclusion. Google has not performed a legal analysis and makes no representation as to the accuracy of the status listed.)
Expired - Fee Related
Application number
JP2009052176A
Other languages
English (en)
Other versions
JP2010203398A (ja
Inventor
孝美 尾崎
裕之 山田
健一 鈴木
顕 杉浦
Current Assignee (The listed assignees may be inaccurate. Google has not performed a legal analysis and makes no representation or warranty as to the accuracy of the list.)
Thoratec LLC
Original Assignee
Thoratec LLC
Priority date (The priority date is an assumption and is not a legal conclusion. Google has not performed a legal analysis and makes no representation as to the accuracy of the date listed.)
Filing date
Publication date
Application filed by Thoratec LLC filed Critical Thoratec LLC
Priority to JP2009052176A priority Critical patent/JP5378010B2/ja
Priority to PCT/JP2010/053069 priority patent/WO2010101082A1/ja
Priority to US13/254,597 priority patent/US9381285B2/en
Priority to EP10748677.1A priority patent/EP2405141B1/en
Publication of JP2010203398A publication Critical patent/JP2010203398A/ja
Application granted granted Critical
Publication of JP5378010B2 publication Critical patent/JP5378010B2/ja
Expired - Fee Related legal-status Critical Current
Anticipated expiration legal-status Critical

Links

Images

Classifications

    • AHUMAN NECESSITIES
    • A61MEDICAL OR VETERINARY SCIENCE; HYGIENE
    • A61MDEVICES FOR INTRODUCING MEDIA INTO, OR ONTO, THE BODY; DEVICES FOR TRANSDUCING BODY MEDIA OR FOR TAKING MEDIA FROM THE BODY; DEVICES FOR PRODUCING OR ENDING SLEEP OR STUPOR
    • A61M60/00Blood pumps; Devices for mechanical circulatory actuation; Balloon pumps for circulatory assistance
    • A61M60/20Type thereof
    • A61M60/205Non-positive displacement blood pumps
    • A61M60/216Non-positive displacement blood pumps including a rotating member acting on the blood, e.g. impeller
    • A61M60/226Non-positive displacement blood pumps including a rotating member acting on the blood, e.g. impeller the blood flow through the rotating member having mainly radial components
    • A61M60/232Centrifugal pumps
    • AHUMAN NECESSITIES
    • A61MEDICAL OR VETERINARY SCIENCE; HYGIENE
    • A61MDEVICES FOR INTRODUCING MEDIA INTO, OR ONTO, THE BODY; DEVICES FOR TRANSDUCING BODY MEDIA OR FOR TAKING MEDIA FROM THE BODY; DEVICES FOR PRODUCING OR ENDING SLEEP OR STUPOR
    • A61M60/00Blood pumps; Devices for mechanical circulatory actuation; Balloon pumps for circulatory assistance
    • A61M60/40Details relating to driving
    • A61M60/403Details relating to driving for non-positive displacement blood pumps
    • A61M60/422Details relating to driving for non-positive displacement blood pumps the force acting on the blood contacting member being electromagnetic, e.g. using canned motor pumps
    • AHUMAN NECESSITIES
    • A61MEDICAL OR VETERINARY SCIENCE; HYGIENE
    • A61MDEVICES FOR INTRODUCING MEDIA INTO, OR ONTO, THE BODY; DEVICES FOR TRANSDUCING BODY MEDIA OR FOR TAKING MEDIA FROM THE BODY; DEVICES FOR PRODUCING OR ENDING SLEEP OR STUPOR
    • A61M60/00Blood pumps; Devices for mechanical circulatory actuation; Balloon pumps for circulatory assistance
    • A61M60/50Details relating to control
    • A61M60/508Electronic control means, e.g. for feedback regulation
    • AHUMAN NECESSITIES
    • A61MEDICAL OR VETERINARY SCIENCE; HYGIENE
    • A61MDEVICES FOR INTRODUCING MEDIA INTO, OR ONTO, THE BODY; DEVICES FOR TRANSDUCING BODY MEDIA OR FOR TAKING MEDIA FROM THE BODY; DEVICES FOR PRODUCING OR ENDING SLEEP OR STUPOR
    • A61M60/00Blood pumps; Devices for mechanical circulatory actuation; Balloon pumps for circulatory assistance
    • A61M60/80Constructional details other than related to driving
    • A61M60/802Constructional details other than related to driving of non-positive displacement blood pumps
    • A61M60/818Bearings
    • A61M60/824Hydrodynamic or fluid film bearings
    • FMECHANICAL ENGINEERING; LIGHTING; HEATING; WEAPONS; BLASTING
    • F04POSITIVE - DISPLACEMENT MACHINES FOR LIQUIDS; PUMPS FOR LIQUIDS OR ELASTIC FLUIDS
    • F04DNON-POSITIVE-DISPLACEMENT PUMPS
    • F04D13/00Pumping installations or systems
    • F04D13/02Units comprising pumps and their driving means
    • F04D13/06Units comprising pumps and their driving means the pump being electrically driven
    • F04D13/0666Units comprising pumps and their driving means the pump being electrically driven the motor being of the plane gap type
    • FMECHANICAL ENGINEERING; LIGHTING; HEATING; WEAPONS; BLASTING
    • F04POSITIVE - DISPLACEMENT MACHINES FOR LIQUIDS; PUMPS FOR LIQUIDS OR ELASTIC FLUIDS
    • F04DNON-POSITIVE-DISPLACEMENT PUMPS
    • F04D29/00Details, component parts, or accessories
    • F04D29/04Shafts or bearings, or assemblies thereof
    • F04D29/046Bearings
    • F04D29/047Bearings hydrostatic; hydrodynamic
    • F04D29/0473Bearings hydrostatic; hydrodynamic for radial pumps
    • FMECHANICAL ENGINEERING; LIGHTING; HEATING; WEAPONS; BLASTING
    • F04POSITIVE - DISPLACEMENT MACHINES FOR LIQUIDS; PUMPS FOR LIQUIDS OR ELASTIC FLUIDS
    • F04DNON-POSITIVE-DISPLACEMENT PUMPS
    • F04D29/00Details, component parts, or accessories
    • F04D29/04Shafts or bearings, or assemblies thereof
    • F04D29/046Bearings
    • F04D29/048Bearings magnetic; electromagnetic
    • FMECHANICAL ENGINEERING; LIGHTING; HEATING; WEAPONS; BLASTING
    • F04POSITIVE - DISPLACEMENT MACHINES FOR LIQUIDS; PUMPS FOR LIQUIDS OR ELASTIC FLUIDS
    • F04DNON-POSITIVE-DISPLACEMENT PUMPS
    • F04D29/00Details, component parts, or accessories
    • F04D29/18Rotors
    • F04D29/22Rotors specially for centrifugal pumps
    • F04D29/2261Rotors specially for centrifugal pumps with special measures
    • FMECHANICAL ENGINEERING; LIGHTING; HEATING; WEAPONS; BLASTING
    • F04POSITIVE - DISPLACEMENT MACHINES FOR LIQUIDS; PUMPS FOR LIQUIDS OR ELASTIC FLUIDS
    • F04DNON-POSITIVE-DISPLACEMENT PUMPS
    • F04D29/00Details, component parts, or accessories
    • F04D29/40Casings; Connections of working fluid
    • F04D29/42Casings; Connections of working fluid for radial or helico-centrifugal pumps
    • F04D29/426Casings; Connections of working fluid for radial or helico-centrifugal pumps especially adapted for liquid pumps
    • FMECHANICAL ENGINEERING; LIGHTING; HEATING; WEAPONS; BLASTING
    • F16ENGINEERING ELEMENTS AND UNITS; GENERAL MEASURES FOR PRODUCING AND MAINTAINING EFFECTIVE FUNCTIONING OF MACHINES OR INSTALLATIONS; THERMAL INSULATION IN GENERAL
    • F16CSHAFTS; FLEXIBLE SHAFTS; ELEMENTS OR CRANKSHAFT MECHANISMS; ROTARY BODIES OTHER THAN GEARING ELEMENTS; BEARINGS
    • F16C17/00Sliding-contact bearings for exclusively rotary movement
    • F16C17/04Sliding-contact bearings for exclusively rotary movement for axial load only
    • F16C17/045Sliding-contact bearings for exclusively rotary movement for axial load only with grooves in the bearing surface to generate hydrodynamic pressure, e.g. spiral groove thrust bearings
    • FMECHANICAL ENGINEERING; LIGHTING; HEATING; WEAPONS; BLASTING
    • F16ENGINEERING ELEMENTS AND UNITS; GENERAL MEASURES FOR PRODUCING AND MAINTAINING EFFECTIVE FUNCTIONING OF MACHINES OR INSTALLATIONS; THERMAL INSULATION IN GENERAL
    • F16CSHAFTS; FLEXIBLE SHAFTS; ELEMENTS OR CRANKSHAFT MECHANISMS; ROTARY BODIES OTHER THAN GEARING ELEMENTS; BEARINGS
    • F16C32/00Bearings not otherwise provided for
    • F16C32/06Bearings not otherwise provided for with moving member supported by a fluid cushion formed, at least to a large extent, otherwise than by movement of the shaft, e.g. hydrostatic air-cushion bearings
    • F16C32/0681Construction or mounting aspects of hydrostatic bearings, for exclusively rotary movement, related to the direction of load
    • F16C32/0692Construction or mounting aspects of hydrostatic bearings, for exclusively rotary movement, related to the direction of load for axial load only
    • AHUMAN NECESSITIES
    • A61MEDICAL OR VETERINARY SCIENCE; HYGIENE
    • A61MDEVICES FOR INTRODUCING MEDIA INTO, OR ONTO, THE BODY; DEVICES FOR TRANSDUCING BODY MEDIA OR FOR TAKING MEDIA FROM THE BODY; DEVICES FOR PRODUCING OR ENDING SLEEP OR STUPOR
    • A61M60/00Blood pumps; Devices for mechanical circulatory actuation; Balloon pumps for circulatory assistance
    • A61M60/10Location thereof with respect to the patient's body
    • A61M60/122Implantable pumps or pumping devices, i.e. the blood being pumped inside the patient's body
    • A61M60/126Implantable pumps or pumping devices, i.e. the blood being pumped inside the patient's body implantable via, into, inside, in line, branching on, or around a blood vessel
    • A61M60/148Implantable pumps or pumping devices, i.e. the blood being pumped inside the patient's body implantable via, into, inside, in line, branching on, or around a blood vessel in line with a blood vessel using resection or like techniques, e.g. permanent endovascular heart assist devices
    • AHUMAN NECESSITIES
    • A61MEDICAL OR VETERINARY SCIENCE; HYGIENE
    • A61MDEVICES FOR INTRODUCING MEDIA INTO, OR ONTO, THE BODY; DEVICES FOR TRANSDUCING BODY MEDIA OR FOR TAKING MEDIA FROM THE BODY; DEVICES FOR PRODUCING OR ENDING SLEEP OR STUPOR
    • A61M60/00Blood pumps; Devices for mechanical circulatory actuation; Balloon pumps for circulatory assistance
    • A61M60/40Details relating to driving
    • A61M60/403Details relating to driving for non-positive displacement blood pumps
    • A61M60/419Details relating to driving for non-positive displacement blood pumps the force acting on the blood contacting member being permanent magnetic, e.g. from a rotating magnetic coupling between driving and driven magnets

Landscapes

  • Engineering & Computer Science (AREA)
  • Health & Medical Sciences (AREA)
  • Mechanical Engineering (AREA)
  • Heart & Thoracic Surgery (AREA)
  • General Engineering & Computer Science (AREA)
  • Life Sciences & Earth Sciences (AREA)
  • Public Health (AREA)
  • Cardiology (AREA)
  • Veterinary Medicine (AREA)
  • Anesthesiology (AREA)
  • Biomedical Technology (AREA)
  • Hematology (AREA)
  • General Health & Medical Sciences (AREA)
  • Animal Behavior & Ethology (AREA)
  • Physics & Mathematics (AREA)
  • Fluid Mechanics (AREA)
  • Electromagnetism (AREA)
  • Structures Of Non-Positive Displacement Pumps (AREA)
  • External Artificial Organs (AREA)

Description

この発明は遠心式ポンプ装置に関し、特に、回転時の遠心力によって液体を送るインペラを備えた遠心式ポンプ装置に関する。
近年、人工心肺装置の血液循環装置として、外部モータの駆動トルクを磁気結合を用いて血液室内のインペラに伝達する遠心式血液ポンプ装置を使用する例が増加している。この遠心式血液ポンプ装置によれば、外部と血液室との物理的な連通を排除することができ、細菌などの血液への侵入を防止することができる。
特許文献1の遠心式血液ポンプは、第1および第2の隔壁によって仕切られた第1〜第3の室を含むハウジングと、第2の室(血液室)内に回転可能に設けられたインペラと、インペラの一方面に設けられた磁性体と、インペラの一方面に対向して第1の室内に設けられた電磁石と、インペラの他方面に設けられた永久磁石と、第3の室内に設けられたロータおよびモータと、インペラの他方面に対向してロータに設けられた永久磁石とを備える。インペラの他方面に対向する第2の隔壁の表面には、動圧溝が形成されている。電磁石からインペラの一方面に作用する吸引力と、ロータの永久磁石からインペラの他方面に作用する吸引力と、動圧溝の動圧軸受効果により、インペラは第2の室の内壁から離れ、非接触状態で回転する。
また、特許文献2の遠心式血液ポンプは、第1および第2の隔壁によって仕切られた第1〜第3の室を含むハウジングと、第2の室(血液室)内に回転可能に設けられたインペラと、インペラの一方面に設けられた磁性体と、インペラの一方面に対向して第1の室内に設けられた第1の永久磁石と、インペラの他方面に設けられた第2の永久磁石と、第3の室内に設けられたロータおよびモータと、インペラの他方面に対向してロータに設けられた第3の永久磁石とを備える。インペラの一方面に対向する第1の隔壁の表面には第1の動圧軸が形成され、インペラの他方面に対向する第2の隔壁の表面には第2の動圧溝が形成されている。第1の永久磁石からインペラの一方面に作用する吸引力と、ロータの第3の永久磁石からインペラの他方面に作用する吸引力と、第1および第2の動圧溝の動圧軸受効果により、インペラは第2の室の内壁から離れ、非接触状態で回転する。
また、特許文献3の図8および図9のターボ形ポンプは、ハウジングと、ハウジング内に回転可能に設けられたインペラと、インペラの一方面に設けられた第1の永久磁石と、ハウジングの外部に設けられたロータと、インペラの一方面に対向してロータに設けられた第2の永久磁石と、インペラの他方面に設けられた第3の永久磁石と、インペラの他方面に対向してハウジングに設けられた磁性体とを備えている。また、インペラの一方面には第1の動圧溝が形成され、インペラの他方面には第2の動圧溝が形成されている。ロータの第2の永久磁石からインペラの一方面に作用する吸引力と、ハウジングの磁性体からインペラの他方面に作用する吸引力と、第1および第2の動圧溝の動圧軸受効果により、インペラはハウジングの内壁から離れ、非接触状態で回転する。
さらに、特許文献4のクリーンポンプは、ケーシングと、ケーシング内に回転可能に設けられたインペラと、インペラの一方面に設けられた第1の永久磁石と、ケーシングの外部に設けられたロータと、インペラの一方面に対向してロータに設けられた第2の永久磁石と、インペラの他方面に設けられた磁性体と、インペラの他方面に対向してハウジング外に設けられた電磁石とを備えている。また、インペラの一方面には動圧溝が形成されている。
インペラの回転数が所定の回転数よりも低い場合は電磁石を作動させ、インペラの回転数が所定の回転数を超えた場合は電磁石への通電を停止する。ロータの第2の永久磁石からインペラの一方面に作用する吸引力と、動圧溝の動圧軸受効果により、インペラはハウジングの内壁から離れ、非接触状態で回転する。
特開平2004−209240号公報 特開平2006−167173号公報 特開平4−91396号公報 実開平6−53790号公報
上記特許文献1〜4のポンプは、インペラとハウジングの対向部に形成された動圧溝によってインペラのアキシアル方向の支持を行ない、インペラに設けられた永久磁石とハウジング外に設けられた永久磁石との吸引力によってインペラのラジアル方向の支持を行なっている点で共通する。
動圧軸受は磁気浮上型軸受のようにインペラの位置を能動的に制御するものではないので、インペラの位置はインペラの回転数や液体の粘度によって変化する。たとえば、インペラの回転が停止している場合は、動圧軸受効果が発生しないので、インペラに設けられた永久磁石と、それに対向して設けられた永久磁石などとの間の吸引力によってインペラがハウジングの内壁に接触している。このため、インペラの回転起動時にインペラとハウジングの内壁との間の摩擦抵抗が大きくなってインペラとハウジングの内壁が損傷し、血栓形成を誘発したり、溶血が発生すると言う問題があった。
これに対処するため、特許文献2では、インペラを所定の方向に付勢させるための電磁石や、永久磁石の磁力を変化させるための磁力調整用コイルを設け、それらをインペラの回転起動時に作動させてインペラの起動をスムーズにする方法も提案がされている。しかし、このような対処法では、電磁石やコイルといった新たに専用の部材を必要とすることからポンプサイズが大きくなり、構成部品が増えることから信頼性が低下すると言う問題があった。これらの問題は、人工心臓などで使用する血液ポンプにとっては重要な問題である。
それゆえに、この発明の主たる目的は、部品点数を増やすことなく、インペラをスムーズに回転起動させることが可能な遠心式ポンプ装置を提供することである。
この発明に係る遠心式ポンプ装置は、隔壁で仕切られた第1および第2の室を含むハウジングと、第1の室内において隔壁に沿って回転可能に設けられ、回転時の遠心力によって液体を送るインペラと、第2の室内に設けられ、隔壁を介してインペラを回転駆動させる駆動手段とを備えた遠心式ポンプ装置において、インペラの一方面に設けられた第1の磁性体と、インペラの一方面に対向する第1の室の内壁に設けられ、第1の磁性体を吸引する第2の磁性体と、インペラの他方面に設けられ、駆動手段によって吸引される第3の磁性体とを備えたものである。インペラの回転中において、第1および第2の磁性体間の第1の吸引力と第3の磁性体および駆動手段間の第2の吸引力とは、第1の室内におけるインペラの可動範囲の略中央で釣り合う。インペラの一方面またはそれに対向する第1の室の内壁に複数の第1の動圧溝および複数の第2の動圧溝が形成され、インペラの他方面またはそれに対向する隔壁に複数の第3の動圧溝および複数の第4の動圧溝が形成されている。第2の動圧溝の形状および深さのうちの少なくとも一方は第1の動圧溝と異なり、第4の動圧溝の形状および深さのうちの少なくとも一方は第3の動圧溝と異なる。したがって、インペラが隔壁と第1の室の内壁との中間に位置している場合に第1および第3の動圧溝に大きな動圧力を発生させ、インペラが隔壁または第1の室の内壁に近接している場合に第2および第4の動圧溝に大きな動圧力を発生させることにより、部品点数を増やすことなく、インペラをスムーズに回転起動させることができる。
好ましくは、複数の第1の動圧溝はインペラの定常回転時に複数の第2の動圧溝よりも大きな動圧力を発生し、複数の第2の動圧溝はインペラの回転起動時に複数の第2の動圧溝よりも大きな動圧力を発生する。複数の第3の動圧溝はインペラの定常回転時に複数の第4の動圧溝よりも大きな動圧力を発生し、複数の第4の動圧溝はインペラの回転起動時に複数の第3の動圧溝よりも大きな動圧力を発生する。
また好ましくは、第2の動圧溝は第1の動圧溝よりも浅く、第4の動圧溝は第3の動圧溝よりも浅い。
また好ましくは、第2の動圧溝の深さは第1の動圧溝の深さの5分の1以下であり、第4の動圧溝の深さは第3の動圧溝の深さの5分の1以下である。
また好ましくは、各第2の動圧溝は2つの第1の動圧溝の間に配置され、各第4の動圧溝は2つの第3の動圧溝の間に配置されている。各第2の動圧溝の幅は2つの第1の動圧溝の間隔の3分の2以下であり、各第4の動圧溝の幅は2つの第3の動圧溝の間隔の3分の2以下である。
また好ましくは、第2の動圧溝の数は第1の動圧溝の数以下であり、第4の動圧溝の数は第3の動圧溝の数以下である。
また好ましくは、複数の第2の動圧溝はインペラの回転方向に等角度間隔で配置され、複数の第4の動圧溝はインペラの回転方向に等角度間隔で配置されている。
また好ましくは、第3の磁性体は複数設けられ、複数の第3の磁性体は、隣接する磁極が互いに異なるように同一の円に沿って配置される。駆動手段は、複数の第3の磁性体に対向して設けられ、回転磁界を生成するための複数のコイルを含む。
また好ましくは、第3の磁性体は複数設けられ、複数の第3の磁性体は、隣接する磁極が互いに異なるように同一の円に沿って配置される。駆動手段は、複数の第3の磁性体に対向して配置された複数の第4の磁性体と、それぞれ複数の第4の磁性体に対応して設けられて各々が対応の第4の磁性体に巻回され、回転磁界を生成するための複数のコイルとを含む。
また好ましくは、駆動手段は、第2の室内において隔壁に沿って回転可能に設けられたロータと、第3の磁性体に対向してロータに設けられ、第3の磁性体を吸引する第4の磁性体と、ロータを回転させるモータとを含む。
また好ましくは、液体は血液であり、遠心式ポンプ装置は、血液を循環させるために使用される。この場合は、インペラがスムーズに回転起動し、インペラとハウジング間の距離が確保されるので、溶血の発生を防止することができる。
以上のように、この発明によれば、部品点数を増やすことなく、インペラをスムーズに回転起動させることができる。また、血液を循環させる場合には、溶血を避けることができる。
この発明の実施の形態1による遠心式血液ポンプ装置のポンプ部の外観を示す正面図である。 図1に示したポンプ部の側面図である。 図2のIII−III線断面図である。 図3のIV−IV線断面図である。 図3のIV−IV線断面図からインペラを取り外した状態を示す断面図である。 図3のVI−VI線断面図からインペラを取り外した状態を示す断面図である。 図3のVII−VII線断面図である。 図7で示した複数のコイルに印加する電圧を例示するタイムチャートである。 図5に示した動圧溝21,22の深さを示す断面図である。 インペラの浮上位置と図9に示した動圧溝21によって発生する動圧力との関係を示す図である。 インペラの浮上位置と図9に示した動圧溝22によって発生する動圧力との関係を示す図である。 図10と図11を合成した図である。 動圧溝22,21(または動圧溝24,23)の深さの比と動圧力との関係を示す図である。 動圧溝22の幅と動圧溝21の間隔(または動圧溝24の幅と動圧溝23の間隔)との比と動圧力との関係を示す図である。 インペラの浮上位置とインペラへの作用力との関係を示す図である。 インペラの浮上位置とインペラへの作用力との関係を示す他の図である。 図1〜図7で示したポンプ部を制御するコントローラの構成を示すブロック図である。 図17に示したコントローラの動作を示すタイムチャートである。 実施の形態の変更例を示すブロック図である。 実施の形態の他の変更例を示すタイムチャートである。 実施の形態のさらに他の変更例を示す断面図である。 実施の形態のさらに他の変更例を示す断面図である。 実施の形態のさらに他の変更例を示す断面図である。 実施の形態のさらに他の変更例を示す断面図である。 実施の形態のさらに他の変更例を示す断面図である。 この発明の実施の形態2による遠心式血液ポンプ装置のポンプ部の構成を示す断面図である。
[実施の形態1]
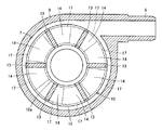
図1および図2に示すように、実施の形態1による遠心式血液ポンプ装置のポンプ部1は、非磁性材料で形成されたハウジング2を備える。ハウジング2は、円柱状の本体部3と、本体部3の一方の端面の中央に立設された円筒状の血液流入ポート4と、本体部3の外周面に設けられた円筒状の血液流出ポート5とを含む。血液流出ポート5は、本体部3の外周面の接線方向に延在している。
ハウジング2内には、図3に示すように、隔壁6によって仕切られた血液室7およびモータ室8が設けられている。血液室7内には、図3および図4に示すように、中央に貫通孔10aを有する円板状のインペラ10が回転可能に設けられている。インペラ10は、ドーナツ板状の2枚のシュラウド11,12と、2枚のシュラウド11,12間に形成された複数(たとえば6つ)のベーン13とを含む。シュラウド11は血液流入ポート4側に配置され、シュラウド12は隔壁6側に配置される。シュラウド11,12およびベーン13は、非磁性材料で形成されている。
2枚のシュラウド11,12の間には、複数のベーン13で仕切られた複数(この場合は6つ)の血液通路14が形成されている。血液通路14は、図4に示すように、インペラ10の中央の貫通孔10aと連通しており、インペラ10の貫通孔10aを始端とし、外周縁まで徐々に幅が広がるように延びている。換言すれば、隣接する2つの血液通路14間にベーン13が形成されている。なお、この実施の形態1では、複数のベーン13は等角度間隔で設けられ、かつ同じ形状に形成されている。したがって、複数の血液通路14は等角度間隔で設けられ、かつ同じ形状に形成されている。
インペラ10が回転駆動されると、血液流入ポート4から流入した血液は、遠心力によって貫通孔10aから血液通路14を介してインペラ10の外周部に送られ、血液流出ポート5から流出する。
また、シュラウド11には永久磁石15が埋設されており、シュラウド11に対向する血液室7の内壁には、永久磁石15を吸引する永久磁石16が埋設されている。永久磁石15,16は、インペラ10をモータ室8と反対側、換言すれば血液流入ポート4側に吸引(換言すれば、付勢)するために設けられている。
なお、シュラウド11および血液室7の内壁にそれぞれ永久磁石15,16を設ける代わりに、シュラウド11および血液室7の内壁の一方に永久磁石を設け、他方に磁性体を設けてもよい。また、シュラウド11自体を永久磁石15または磁性体で形成してもよい。また、磁性体としては軟質磁性体と硬質磁性体のいずれを使用してもよい。
また、永久磁石16は、1つでもよいし、複数でもよい。永久磁石16が1つの場合は、永久磁石16はリング状に形成される。また、永久磁石16が複数の場合は、複数の永久磁石16は等角度間隔で同一の円に沿って配置される。永久磁石15も、永久磁石16と同様であり、1つでもよいし、複数でもよい。
また、図3および図4に示すように、シュラウド12には複数(たとえば8個)の永久磁石17が埋設されている。複数の永久磁石17は、隣接する磁極が互いに異なるようにして、等角度間隔で同一の円に沿って配置される。換言すれば、モータ室8側にN極を向けた永久磁石17と、モータ室8側にS極を向けた永久磁石17とが等角度間隔で同一の円に沿って交互に配置されている。
また、図3および図7に示すように、モータ室8内には、複数(たとえば9個)の磁性体18が設けられている。複数の磁性体18は、インペラ10の複数の永久磁石17に対向して、等角度間隔で同一の円に沿って配置される。複数の磁性体18の基端は、円板状の1つの継鉄19に接合されている。各磁性体18には、コイル20が巻回されている。
ここで、複数の磁性体18は、同じ寸法の3角柱状に形成されている。また、複数の磁性体18の周囲にはコイル20を巻回するためのスペースが均等に確保され、各隣接する2つの磁性体18の互いに対向する面は略平行に設けられている。このため、コイル20用の大きなスペースを確保することができ、コイル20の巻数を大きくすることができる。したがって、インペラ10を回転駆動させるための大きなトルクを発生することができる。また、コイル20で発生する銅損を軽減することができ、インペラ10の回転駆動におけるエネルギ効率を高めることができる。
なお、複数の磁性体18を囲む外形面(図7では、複数の磁性体18の外周を囲む円)は、複数の永久磁石17を囲む外形面(図4では、複数の磁性体18の外周を囲む円)に一致していてもよいし、複数の磁性体18を囲む外形面が複数の永久磁石17を囲む外形面よりも大きくてもよい。また、磁性体18は、ポンプ1の最大定格(インペラ10の回転駆動トルクが最大の条件)において、磁気的な飽和がないように設計することが好ましい。
9個のコイル20には、たとえば120度通電方式で電圧が印加される。すなわち、9個のコイル20は、3個ずつグループ化される。各グループの第1〜第3のコイル20には、図8に示すような電圧VU,VV,VWが印加される。第1のコイル20には、0〜120度の期間に正電圧が印加され、120〜180度の期間に0Vが印加され、180〜300度の期間に負電圧が印加され、300〜360度の期間に0Vが印加される。したがって、第1のコイル20が巻回された磁性体18の先端面(インペラ10側の端面)は、0〜120度の期間にN極になり、180〜300度の期間にS極になる。電圧VVの位相は電圧VUよりも120度遅れており、電圧VWの位相は電圧VVよりも120度遅れている。したがって、第1〜第3のコイル20にそれぞれ電圧VU,VV,VWを印加することにより、回転磁界を形成することができ、複数の磁性体18とインペラ10の複数の永久磁石17との吸引力および反発力により、インペラ10を回転させることができる。
ここで、インペラ10が定格回転数で回転している場合は、永久磁石15,16間の吸引力と複数の永久磁石17および複数の磁性体18間の吸引力とは、血液室7内におけるインペラ10の可動範囲の略中央付近で釣り合うようにされている。このため、インペラ10のいかなる可動範囲においてもインペラ10への吸引力による作用力は非常に小さい。その結果、インペラ10の回転起動時に発生するインペラ10とハウジング2との相対すべり時の摩擦抵抗を小さくすることができる。また、相対すべり時におけるインペラ10とハウジング2の内壁の表面の損傷(表面の凹凸)はなく、さらに低速回転時の動圧力が小さい場合にもインペラ10はハウジング2から浮上し易くなり、非接触の状態となる。したがって、インペラ10とハウジング2との相対すべりによって溶血が発生したり、相対すべり時に発生したわずかな表面損傷(凹凸)によって血栓が発生することもない。
また、インペラ10のシュラウド12に対向する隔壁6の表面には複数の動圧溝21および複数の動圧溝22が形成され、シュラウド11に対向する血液室7の内壁には複数の動圧溝23および複数の動圧溝24が形成されている。インペラ10の回転数が所定の回転数を超えると、動圧溝21〜24の各々とインペラ10との間に動圧軸受効果が発生する。これにより、動圧溝21〜24の各々からインペラ10に対して抗力が発生し、インペラ10は血液室7内で非接触状態で回転する。
詳しく説明すると、複数の動圧溝21および複数の動圧溝22は、図5に示すように、インペラ10のシュラウド12に対応する大きさに形成されている。複数の動圧溝21および複数の動圧溝22は、インペラ10の回転方向に1つずつ交互に配置されている。動圧溝21,22の各々は、隔壁6の中心から若干離間した円形部分の周縁(円周)上に一端を有し、渦状に(換言すれば、湾曲して)隔壁6の外縁付近まで、幅が徐々に広がるように延びている。複数の動圧溝21は略同じ形状であり、かつインペラ10の回転方向に等角度間隔に配置されている。動圧溝21は凹部であり、動圧溝21の深さは0.005〜0.4mm程度であることが好ましい。動圧溝21の数は、6〜36個程度であることが好ましい。複数の動圧溝22は略同じ形状であり、かつインペラ10の回転方向に等角度間隔に配置されている。動圧溝22は凹部であり、動圧溝22の深さは0.005〜0.3mm程度であることが好ましい。
動圧溝22は、図9に示すように、動圧溝21よりも浅い。動圧溝22の深さは動圧溝22の深さの5分の1以下であることが好ましい。また、動圧溝22の幅は2つの動圧溝21の間隔の3分の2以下であることが好ましい。また、動圧溝22の数は動圧溝21の数以下であることが好ましい。
図5では、10個の動圧溝21と10個の動圧溝22がインペラ10の中心軸に対して等角度間隔で配置されている。動圧溝21,22の各々は、いわゆる内向スパイラル溝形状となっているので、インペラ10が時計方向に回転すると、動圧溝21,22の外径部から内径部に向けて液体の圧力が高くなる。このため、インペラ10と隔壁6の間に反発力が発生し、これが動圧力となる。
図10は、インペラ10を所定の回転数で回転させた場合において、隔壁6の表面から見たインペラ10の浮上位置と、インペラ10が動圧溝21から受ける動圧力との関係を示す図である。図11は、インペラ10を所定の回転数で回転させた場合において、インペラ10および隔壁6間の距離と、動圧溝22からインペラ10が受ける動圧力との関係を示す図である。図12は、図10と図11を合成した図である。
図10〜図12から分かるように、動圧溝21は、インペラ10と隔壁6との間の距離が長い場合に動圧溝22よりも大きな動圧力を発生する。また、動圧溝22は、インペラ10と隔壁6との間の距離が短い場合に動圧溝21よりも大きな動圧力を発生する。したがって、本願発明では、動圧溝21,22の両方を設けたので、回転起動時と定常回転時の両方で大きな動圧力を得ることができる。
このように、インペラ10と動圧溝21,22の間に形成される動圧軸受効果により、インペラ10は隔壁6から離れ、非接触状態で回転する。このため、インペラ10はスムーズに回転起動し、インペラ10と隔壁6の間に血液流路が確保され、両者間での血液滞留およびそれに起因する血栓の発生が防止される。さらに、通常状態において、動圧溝21,22が、インペラ10と隔壁6の間において撹拌作用を発揮するので、両者間における部分的な血液滞留の発生を防止することができる。
なお、動圧溝21,22を隔壁6に設ける代わりに、動圧溝21,22をインペラ10のシュラウド12の表面に設けてもよい。
また、動圧溝21,22の各々の角の部分は、少なくとも0.05mm以上のRを持つように丸められていることが好ましい。これにより、溶血の発生をより少なくすることができる。
また、図13は、インペラ21が定常回転浮上位置にある場合において、動圧溝22の深さD22と動圧溝21の深さD21との比D22/D21と、インペラ21に作用する動圧力との関係を示す図である。図12で示したように、インペラ21が隔壁6に近接した位置にある場合は、動圧溝22の追加によって大きな動圧力が発生するが、図13に示すように、インペラ21が定常回転浮上位置にある場合は、動圧溝22の追加によって動圧力が低下する。したがって、動圧溝22の追加による動圧力や剛性の低下がポンプ性能に悪影響を与えないように、動圧溝22の深さおよび幅を決定する必要がある。図13に示すように、比D22/D21が小さいほど定常回転浮上位置における動圧力の低下を抑制できる。よって好ましくは、比D22/D21は1/5以下に設定される。
また、図14は、インペラ21が定常浮上位置にある場合において、動圧溝22の幅W22と動圧溝21の間隔(動圧溝21間のランド部の幅)WL21との比W22/WL21と、インペラ21に作用する動圧力との関係を示す図である。図14に示すように、比W22/WL21が小さいほど定常回転浮上位置における動圧力の低下を抑制できる。よって好ましくは、比W22/WL21は2/3以下に設定される。
また、複数の動圧溝23および複数の動圧溝24は、図6に示すように、複数の動圧溝21および複数の動圧溝22と同様、インペラ10のシュラウド11に対応する大きさに形成されている。動圧溝23,24の各々は、血液室7の内壁の中心から若干離間した円形部分の周縁(円周)上に一端を有し、渦状に(換言すれば、湾曲して)血液室7の内壁の外縁付近まで、幅が徐々に広がるように延びている。また、複数の動圧溝23は、略同じ形状であり、かつ略同じ間隔で配置されている。動圧溝23は凹部であり、動圧溝23の深さは0.005〜0.4mm程度があることが好ましい。動圧溝23の数は、6〜36個程度であることが好ましい。図6では、10個の動圧溝23がインペラ10の中心軸に対して等角度に配置されている。
また、複数の動圧溝24は略同じ形状であり、かつインペラ10の回転方向に等角度間隔に配置されている。動圧溝24は凹部であり、動圧溝24の深さは0.005〜0.3mm程度であることが好ましい。動圧溝24の数は、6〜36個程度であることが好ましい。
動圧溝24は、動圧溝21,22について図9で説明したように、動圧溝23よりも浅い。動圧溝24の深さは動圧溝23の深さの5分の1以下であることが好ましい。また、動圧溝24の幅は2つの動圧溝23の間隔の3分の2以下であることが好ましい。また、動圧溝24の数は動圧溝23の数以下であることが好ましい。
図6では、10個の動圧溝23と10個の動圧溝24がインペラ10の中心軸に対して等角度間隔で配置されている。動圧溝23,24の各々は、いわゆる内向スパイラル溝形状となっているので、インペラ10が時計方向に回転すると、動圧溝23,24の外径部から内径部に向けて液体の圧力が高くなる。このため、インペラ10と血液室7の内壁との間に反発力が発生し、これが動圧力となる。
図10〜図12において動圧溝21,22について説明したように、動圧溝23は、インペラ10と血液室7の内壁の間の距離が長い場合に動圧溝24よりも大きな動圧力を発生する。また、動圧溝24は、インペラ10と血液室7の内壁との間の距離が短い場合に動圧溝23よりも大きな動圧力を発生する。したがって、本願発明では、動圧溝23,24の両方を設けたので、回転起動時と定常回転時の両方で大きな動圧力を得ることができる。
このように、インペラ10と動圧溝23,24の間に形成される動圧軸受効果により、インペラ10は血液室7の内壁から離れ、非接触状態で回転する。このため、インペラ10はスムーズに回転起動し、インペラ10と血液室7の内壁の間に血液流路が確保され、両者間での血液滞留およびそれに起因する血栓の発生が防止される。さらに、通常状態において、動圧溝23,24が、インペラ10と血液室7の内壁の間において撹拌作用を発揮するので、両者間における部分的な血液滞留の発生を防止することができる。また、ポンプ部1が外的衝撃を受けたときや、動圧溝21,22による動圧力が過剰となったときに、インペラ10の血液室7の内壁への密着を防止することができる。動圧溝21,22によって発生する動圧力と動圧溝23,24によって発生する動圧力は異なるものとなっていてもよい。
なお、動圧溝23,24を血液室7の内壁に設ける代わりに、動圧溝23,24をインペラ10のシュラウド11の表面に設けてもよい。
また、動圧溝23,24の各々の角の部分は、少なくとも0.05mm以上のRを持つように丸められていることが好ましい。これにより、溶血の発生をより少なくすることができる。
また、動圧溝21,22について図13および図14で説明したように、動圧溝24の深さD24と動圧溝23の深さD23との比D24/D23は1/5以下に設定される。また、動圧溝24の幅W24と動圧溝23の間隔(動圧溝23間のランド部の幅)WL23との比W24/WL23は2/3以下に設定される。
また、インペラ10のシュラウド12と隔壁6との隙間と、インペラ10のシュラウド11と血液室7の内壁との隙間とが略同じ状態でインペラ10が回転することが好ましい。インペラ10に作用する流体力などの外乱が大きく、一方の隙間が狭くなる場合には、その狭くなる側の動圧溝による動圧力を他方の動圧溝による動圧力よりも大きくし、両隙間を略同じにするため、動圧溝21,22と23,24の形状を異ならせることが好ましい。
また、図5および図6では、動圧溝21〜24の各々を内向スパイラル溝形状としたが、他の形状の動圧溝21〜24を使用することも可能である。ただし、血液を循環させる場合は、血液をスムーズに流すことが可能な内向スパイラル溝形状の動圧溝21〜24を採用することが好ましい。
図15は、永久磁石15,16間の吸引力F1と永久磁石17および磁性体18間の吸引力F2との合力の大きさが、インペラ10の血液室7内の可動範囲の中央位置以外の位置P1でゼロとなるように調整した場合にインペラ10に作用する力を示す図である。ただし、インペラ10の回転数は定格値に保たれている。
すなわち、永久磁石15,16間の吸引力F1が永久磁石17および磁性体18間の吸引力F2よりも小さく設定され、それらの合力がゼロとなるインペラ10の浮上位置はインペラ可動範囲の中間よりも隔壁6側にあるものとする。動圧溝21,22と動圧溝23,24の形状は同じである。
図15の横軸はインペラ10の位置(図中の左側が隔壁6側)を示し、縦軸はインペラ10に対する作用力を示している。インペラ10への作用力が隔壁6側に働くとき、その作用力をマイナスとしている。インペラ10に対する作用力としては、永久磁石15,16間の吸引力F1と、永久磁石17および磁性体18間の吸引力F2と、動圧溝21,22の動圧力F3と、動圧溝23,24の動圧力F4と、それらの合力である「インペラに作用する正味の力F5」を示した。
図15から分かるように、インペラ10に作用する正味の力F5がゼロとなる位置で、インペラ10の浮上位置はインペラ10の可動範囲の中央位置から大きくずれている。その結果、回転中のインペラ10と隔壁6の間の距離は狭まり、インペラ10に対して小さな外乱力が作用してもインペラ10は隔壁6に接触してしまう。
これに対して図16は、永久磁石15,16間の吸引力F1と永久磁石17および磁性体18間の吸引力F2との合力の大きさが、インペラ10の血液室7内の可動範囲の中央位置P0でゼロとなるように調整した場合にインペラ10に作用する力を示す図である。この場合も、インペラ10の回転数は定格値に保たれている。
すなわち、永久磁石15,16間の吸引力F1と永久磁石17および磁性体18間の吸引力F2とは略同じに設定されている。また、動圧溝21,22と動圧溝23,24の形状は同じにされている。この場合は、図15の場合と比較して、インペラ10の浮上位置に対する支持剛性が高くなる。また、インペラ10に作用する正味の力F5は可動範囲の中央でゼロとなっているので、インペラ10に対し外乱力が作用しない場合にはインペラ10は中央位置で浮上する。
このように、インペラ10の浮上位置は、永久磁石15,16間の吸引力F1と、永久磁石17および磁性体18間の吸引力F2と、インペラ10の回転時に動圧溝21,22で発生する動圧力F3と、インペラ10の回転時に動圧溝23,24で発生する動圧力F4との釣り合いで決まる。F1とF2を略同じにし、動圧溝21,22と動圧溝23,24の形状を同じにすることにより、インペラ10の回転時にインペラ10を血液室7の略中央部で浮上させることが可能となる。図3および図4に示すように、インペラ10は2つのディスク間に羽根を形成した形状を有するので、ハウジング2の内壁に対向する2つの面を同一形状および同一寸法にすることができる。したがって、略同一の動圧性能を有する動圧溝21,22および動圧溝23,24をインペラ10の両側に設けることは可能である。
この場合、インペラ10は血液室7の中央位置で浮上するので、インペラ10はハウジング2の内壁から最も離れた位置に保持される。その結果、インペラ10の浮上時にインペラ10に外乱力が印加されて、インペラ10の浮上位置が変化しても、インペラ10とハウジング2の内壁とが接触する可能性が小さくなり、それらの接触によって血栓や溶血が発生する可能性も低くなる。
なお、図15および図16の例では、動圧溝21,22の形状と動圧溝23,24の形状は同じであるとしたが、動圧溝21,22の形状と動圧溝23,24の形状を異なるものとし、動圧溝21,22の動圧性能と動圧溝23,24の動圧性能を異なるものとしてもよい。たとえば、ポンピングの際に流体力などによってインペラ10に対して常に一方方向の外乱が作用する場合には、その外乱の方向にある動圧溝の性能を他方の動圧溝の性能より高めておくことにより、インペラ10をハウジング2の中央位置で浮上回転させることが可能となる。この結果、インペラ10とハウジング2との接触確率を低く抑えることができ、インペラ10の安定した浮上性能を得ることができる。
また、永久磁石15,16間の吸引力F1と、永久磁石17および磁性体18間の吸引力F2とによって構成されるインペラ10のアキシアル方向への負の支持剛性値の絶対値をKaとし、ラジアル方向の正の剛性値の絶対値をKrとし、インペラ10が回転する常用回転数領域において動圧溝21〜24で得られる正の剛性値の絶対値をKgとすると、Kg>Ka+Krの関係を満たすことが好ましい。
具体的には、アキシアル方向の負の剛性値の絶対値Kaを20000N/mとし、ラジアル方向の正の剛性値の絶対値Krを10000N/mとした場合、インペラ10が通常回転する回転数領域で動圧溝21〜24によって得られる正の剛性値の絶対値Kgは30000N/mを超える値に設定される。
インペラ10のアキシアル支持剛性は動圧溝21〜24で発生する動圧力に起因する剛性から磁性体間の吸引力などによる負の剛性を引いた値であるから、Kg>Ka+Krの関係を持つことで、インペラ10のラジアル方向の支持剛性よりもアキシアル方向の支持剛性を高めることができる。このように設定することにより、インペラ10に対して外乱力が作用した場合に、インペラ10のラジアル方向への動きよりもアキシアル方向への動きを抑制することができ、動圧溝21〜24の形成部でのインペラ10とハウジング2との機械的な接触を避けることができる。
特に、動圧溝21〜24は、図3、図5および図6で示したように平面に凹設されているので、インペラ10の回転中にこの部分でハウジング2とインペラ10との機械的接触があると、インペラ10およびハウジング2の内壁のいずれか一方または両方の表面に傷(表面の凹凸)が生じてしまい、この部位を血液が通過すると、血栓発生および溶血の原因となる可能性もあった。この動圧溝21〜24での機械的接触を防ぎ、血栓および溶血を抑制するために、ラジアル方向の剛性よりもアキシアル方向の剛性を高める効果は高い。
また、インペラ10にアンバランスがあると回転時にインペラ10に振れ回りが生ずるが、この振れ回りはインペラ10の質量とインペラ10の支持剛性値で決定される固有振動数とインペラ10の回転数が一致した場合に最大となる。
このポンプ部1では、インペラ10のアキシアル方向の支持剛性よりもラジアル方向の支持剛性を小さくしているので、インペラ10の最高回転数をラジアル方向の固有振動数以下に設定することが好ましい。そこで、インペラ10とハウジング2との機械的接触を防ぐため、永久磁石15,16間の吸引力F1と永久磁石17および磁性体18間の吸引力F2によって構成されるインペラ10のラジアル剛性値をKr(N/m)とし、インペラ10の質量をm(kg)とし、インペラの回転数をω(rad/s)とした場合、ω<(Kr/m)0.5の関係を満たすことが好ましい。
具体的には、インペラ10の質量が0.03kgであり、ラジアル剛性値が2000N/mである場合、インペラ10の最高回転数は258rad/s(2465rpm)以下に設定される。逆に、インペラ10の最高回転数を366rad/s(3500rpm)と設定した場合には、ラジアル剛性は4018N/m以上に設定される。
さらに、このωの80%以下にインペラ10の最高回転数を設定することが好ましい。具体的には、インペラ10の質量が0.03kgであり、ラジアル剛性値が2000N/mである場合には、その最高回転数は206.4rad/s(1971rpm)以下に設定される。逆に、インペラ10の最高回転数を366rad/s(3500rpm)としたい場合には、ラジアル剛性値が6279N/m以上に設定される。このようにインペラ10の最高回転数を設定することで、インペラ10の回転中におけるインペラ10とハウジング2の接触を抑えることができる。
また、永久磁石15,16間の吸引力F1と、永久磁石17および磁性体18間の吸引力F2とによって構成されるインペラ10のアキシアル方向の負の剛性値よりも動圧溝21〜24の動圧力による剛性が大きくなった場合にインペラ10とハウジング2は非接触の状態となる。したがって、この負の剛性値を極力小さくすることが好ましい。そこで、この負の剛性値を小さく抑えるため、永久磁石15,16の対向面のサイズを異ならせることが好ましい。たとえば、永久磁石16のサイズを永久磁石15よりも小さくすることにより、両者間の距離によって変化する吸引力の変化割合、すなわち負の剛性を小さく抑えることができ、インペラ支持剛性の低下を防ぐことができる。
また、インペラ10の回転起動前に、インペラ10が隔壁6に接触していることを確認してから、インペラ10を回転起動させることが好ましい。
すなわち、インペラ10の非回転時では、動圧溝21〜24による非接触支持はされず、さらに、永久磁石15,16間の吸引力F1と、永久磁石17および磁性体18間の吸引力F2によってインペラ10とハウジング2とは高い面圧で接触している。また、このポンプ部1のように、インペラ10をモータ室8内のコイル20および磁性体18とインペラ10の永久磁石17との磁気的相互作用で回転させる場合は、特許文献2の図3に示すようなインペラを永久磁石間の磁気カップリングで回転駆動させる場合に比べて、起動トルクが小さい。したがって、インペラ10をスムーズに回転起動させることは難しい。
しかし、インペラ10のシュラウド12が隔壁6と接触している場合は、インペラ10のシュラウド11が血液室7の内壁に接触している場合に比べ、インペラ10の永久磁石17とモータ室8内の磁性体18とが近接しているので、インペラ10の起動時の回転トルクを高めることができ、インペラ10をスムーズに回転起動させることができる。
ところが、上述の通り、インペラ10の回転時には、永久磁石15,16間の吸引力F1と、永久磁石17および磁性体18間の吸引力F2とは、インペラ10の位置がインペラ10の可動範囲の中央付近にて釣り合うように設定されているので、インペラ10の停止時にインペラ10が必ずしも隔壁6に接触しているとは限らない。
そこで、この遠心式血液ポンプ装置では、インペラ10を回転起動させる前にインペラ10を隔壁6側に移動させる手段が設けられる。具体的には、永久磁石17および磁性体18間の吸引力F2が大きくなるように複数のコイル20に電流を流し、インペラ10を隔壁6側に移動させる。
図17は、ポンプ部1を制御するコントローラ25の構成を示すブロック図である。図17において、コントローラ25は、モータ制御回路26およびパワーアンプ27を含む。モータ制御回路26は、たとえば120度通電方式の3相の制御信号を出力する。パワーアンプ27は、モータ制御回路26からの3相の制御信号を増幅して、図8で示した3相電圧VU,VV,VWを生成する。3相電圧VU,VV,VWは、図7および図8で説明した第1〜第3のコイル20にそれぞれ印加される。通常の運転時は、これにより、インペラ10が可動範囲の中央位置で所定の回転数で回転する。
図18(a)〜(c)は、インペラ10の回転起動時におけるコイル電流I、インペラ10の位置、およびインペラ10の回転数の時間変化を示すタイムチャートである。図18(a)〜(c)において、初期状態では、永久磁石15,16の吸引力によってインペラ10のシュラウド11が血液室7の内壁に接触しており、インペラ10は位置PAにあるものとする。この状態では、インペラ10が回転し難いので、インペラ10のシュラウド12が隔壁6に接触した位置PBにインペラ10を移動させる。
時刻t0において、図8で示される6パターン(0〜60度,60〜120度,…,300〜360度)の電圧VU,VV,VWのうちのいずれかのパターンの電圧を第1〜第3のコイル20に印加し、予め定められた電流I0をコイル20に流す。コイル20に電流I0を流すと、永久磁石17および磁性体18間の吸引力F2が永久磁石15,16間の吸引力F1よりも大きくなり、インペラ10はほとんど回転することなく隔壁6側の位置PBに移動し、インペラ10のシュラウド12は隔壁6に接触する。インペラ10が位置PBに移動したら、電流I0を遮断する(時刻t1)。
なお、インペラ10を回転させずに移動させるのは、インペラ10を回転させながら隔壁6側の位置PBに移動させようとしても、動圧溝21,22の動圧軸受効果によってインペラ10の移動が妨げられるからである。また、インペラ10の血液室7内の位置を検出するセンサを設け、インペラ10が隔壁6に接触したことを確認した後に、電流I0を遮断することが好ましい。
次に、図8で説明した第1〜第3のコイル20に3相電圧VU,VV,VWを印加し、コイル電流Iを予め定められた定格値まで徐々に上昇させる。このとき、インペラ10は隔壁6に接触しているので、インペラ10はスムーズに回転する。コイル電流Iの上昇に伴って、インペラ10は隔壁6側の位置PBから可動範囲の中央位置に移動する。
なお、起動時に6パターン(0〜60度,60〜120度,…,300〜360度)の電圧VU,VV,VWを第1〜第3のコイル20に印加した場合、永久磁石17と磁性体18の吸引力が最大になるパターンは永久磁石17と磁性体18の位置関係によって異なる。したがって、起動時に一定パターンの電圧VU,VV,VWのみを第1〜第3のコイル20に印加する代わりに、6パターンの電圧VU,VV,VWを第1〜第3のコイル20に一定時間ずつ順次印加してもよい。この場合、インペラ10は僅かに回転して(厳密には1/4回転以下、すなわち電気角で360度以下回転して)、隔壁6側の位置PBに移動する。
また、6パターンの電圧VU,VV,VWを印加すると、第1〜第3のコイル20のうちのいずれかのコイル20には電流は流れず、9個の磁性体18のうちの6個の磁性体がN極またはS極になり、残りの3個の磁性体18には磁極は発生しない。したがって、第1〜第3のコイル20の全てに電流が流れ、9個の磁性体18の各々がN極またはS極になるような電圧を第1〜第3のコイル20に印加して、永久磁石17と磁性体18の吸引力を強めてもよい。
また、図19は、この実施の形態1の変更例を示すブロック図である。この変更例では、インペラ10の回転起動時とそれ以降で電源が切り換えられる。すなわち図19において、この変更例では、図17のパワーアンプ27がパワーアンプ30,31および切換スイッチ32で置換される。図18の時刻t0〜t1では、モータ制御回路26の出力信号がパワーアンプ30に与えられ、パワーアンプ30の出力電圧が切換スイッチ32を介してコイル20に印加され、コイル20に電流I0が流される。時刻t2以降は、モータ制御回路26の出力信号がパワーアンプ31に与えられ、パワーアンプ31の出力電圧が切換スイッチ32を介してコイル20に印加され、コイル20に電流が流される。
また、図20(a)〜(c)は、この実施の形態1の他の変更例を示すタイムチャートである。図20(a)〜(c)において、初期状態では、インペラ10のシュラウド11が血液室7の内壁に接触しており、インペラ10は位置PAにあるものとする。時刻t0において、予め定められた電流I1がコイル20に流される。すなわち、モータ制御回路26により、たとえば120度通電方式の3相の制御信号を生成する。パワーアンプ27は、モータ制御回路26からの3相の制御信号を増幅して、図8で示した3相電圧VU,VV,VWを生成する。3相電圧VU,VV,VWは、図7および図8で説明した第1〜第3のコイル20にそれぞれ印加される。
したがって、この電流I1によってインペラ10に回転磁界が印加される。この電流I1は、図18の電流I0よりも大きい電流であり、インペラ10のシュラウド11が血液室7の内壁に接触している場合でもインペラ10を回転起動させることが可能な電流である。回転起動が確認された後、コイル電流Iを低下させ、予め定められた定格値まで徐々に上昇させる。このようにインペラ10が位置PA側にあった場合でも、インペラ10の回転起動時のみにコイル20に過大電流を流すように構成してもよい。
また、血液室7の内壁の表面および隔壁6の表面と、インペラ10の表面との少なくとも一方にダイヤモンドライクカーボン(DLC)膜を形成してもよい。これにより、インペラ10と血液室7の内壁および隔壁6との摩擦力を軽減し、インペラをスムーズに回転起動することが可能になる。なお、ダイヤモンドライクカーボン膜の代わりに、フッ素系樹脂膜、パラキシリレン系樹脂膜などを形成してもよい。
また、図21は、この実施の形態1のさらに他の変更例を示す断面図であって、図3と対比される図である。図21において、この変更例では、対向する永久磁石15,16の対向面のサイズが異なる。図3では、永久磁石15,16の対向面のサイズが同じである場合が示されているが、永久磁石15,16の対向面のサイズを異ならせることにより、両者間の距離によって変化する吸引力の変化量、すなわち負の剛性を小さく抑えることができ、インペラ10の支持剛性の低下を防ぐことができる。
また、図22は、この実施の形態1のさらに他の変更例を示す断面図であって、図21と対比される図である。図22において、この変更例では、各磁性体18の永久磁石17に対向する先端面に磁性体35が設けられる。この磁性体35の永久磁石17に対向する表面の面積は磁性体18の先端面の面積よりも大きい。この変更例では、永久磁石17に対する磁性体18,35の吸引力を大きくすることができ、インペラ10の回転駆動におけるエネルギ効率を高めることができる。
また、図23は、この実施の形態1のさらに他の変更例を示す断面図であって、図21と対比される図である。図23において、この変更例では、継鉄19が継鉄36で置換され、磁性体18が磁性体37で置換される。継鉄36および磁性体37の各々は、インペラ10の回転軸の長さ方向に積層された複数の鋼板を含む。この変更例では、継鉄36および磁性体37で発生する渦電流損失を軽減することができ、インペラ10の回転駆動におけるエネルギ効率を高めることができる。
また、図24に示すように、インペラ10の回転方向に積層された複数の鋼板を含む磁性体38で磁性体37を置換してもよい。また、図25に示すように、インペラ10の径方向に積層された複数の鋼板を含む磁性体39で磁性体37を置換してもよい。これらの場合でも、図23の変更例と同じ効果が得られる。
また、図3の継鉄19および磁性体18の各々を、純鉄、軟鉄、または珪素鉄の粉末によって形成してもよい。この場合は、継鉄19および磁性体18の鉄損を軽減することができ、インペラ10の回転駆動におけるエネルギ効率を高めることができる。
[実施の形態2]
図26は、この発明の実施の形態2による遠心式血液ポンプ装置のポンプ部の構成を示す断面図であって、図3と対比される図である。図26において、このポンプ部では、インペラ10のシュラウド11に永久磁石40,41が埋設されている。永久磁石40は永久磁石41よりもインペラ10の回転軸側に設けられている。また、シュラウド11に対向する血液室7の内壁には、それぞれ永久磁石40,41を吸引する永久磁石42,43が埋設されている。永久磁石40〜43は、インペラ10をモータ室8と反対側、換言すれば血液流入ポート4側に吸引(換言すれば、付勢)するために設けられている。
なお、シュラウド11および血液室7の内壁に永久磁石40〜43を設ける代わりに、シュラウド11および血液室7の内壁の一方に永久磁石を設け、他方に磁性体を設けてもよい。また、シュラウド11自体を永久磁石または磁性体で形成してもよい。また、磁性体としては軟質磁性体と硬質磁性体のいずれを使用してもよい。
また、永久磁石40は、1つでもよいし、複数でもよい。永久磁石40が1つの場合は、永久磁石40はリング状に形成される。また、永久磁石40が複数の場合は、複数の永久磁石40は等角度間隔で同一の円に沿って配置される。永久磁石41〜43の各々も、永久磁石40と同様であり、1つでもよいし、複数でもよい。
また、シュラウド12には複数(たとえば8個)の永久磁石44が埋設されている。複数の永久磁石44は、等角度間隔で同一の円に沿って配置される。モータ室8内には、複数の永久磁石44を吸引するための複数(たとえば8個)の永久磁石45が設けられている。複数の永久磁石45は、インペラ10の複数の永久磁石44に対向して、等角度間隔で同一の円に沿って配置される。複数の永久磁石44は、椀状のロータ46の表面に設けられている。ロータ46の縁の内側には、複数(たとえば8個)の永久磁石47が等角度間隔で設けられている。複数の永久磁石47は、隣接する磁極が互いに異なるようにして、等角度間隔で同一の円に沿って配置される。換言すれば、ロータ46の内側にN極を向けた永久磁石47と、ロータ46の内側にS極を向けた永久磁石47とが等角度間隔で同一の円に沿って交互に配置されている。
ロータ46の中央部はベアリング48を介して中心軸49に回転可能に支持されており、ロータ46は隔壁6に沿って回転可能に設けられている。中心軸49は、円板状の継鉄50の中央に立設されている。継鉄50の表面において中心軸49の周りには、複数(たとえば9個)の磁性体51が等角度間隔で設けられている。複数の磁性体51の先端は、ロータ46の複数の永久磁石47に対向して、同一の円に沿って配置される。各磁性体51には、コイル52が巻回されている。複数の永久磁石47、複数の磁性体51、および複数のコイル52は、ロータ46を回転させるためのモータを構成する。
9個のコイル52には、たとえば120度通電方式で電圧が印加される。すなわち、9個のコイル52は、3個ずつグループ化される。各グループの第1〜第3のコイル52には、図8で示した電圧VU,VV,VWが印加される。したがって、第1〜第3のコイル52にそれぞれ電圧VU,VV,VWを印加することにより、回転磁界を形成することができ、複数の磁性体51とロータ46の複数の永久磁石47との吸引力および反発力により、ロータ46を回転させることができる。ロータ46が回転すると、ロータ46の複数の永久磁石45とインペラ10の複数の永久磁石44との吸引力により、インペラ10が回転する。
ここで、インペラ10が定格回転数で回転している場合は、永久磁石40,41および永久磁石42,43間の吸引力と複数の永久磁石44および複数の永久磁石45間の吸引力とは、血液室7内におけるインペラ10の可動範囲の略中央付近で釣り合うようにされている。このため、インペラ10のいかなる可動範囲においてもインペラ10への吸引力による作用力は非常に小さい。その結果、インペラ10の回転起動時に発生するインペラ10とハウジング2との相対すべり時の摩擦抵抗を小さくすることができる。また、相対すべり時におけるインペラ10とハウジング2の内壁の表面の損傷(表面の凹凸)はなく、さらに低速回転時の動圧力が小さい場合にもインペラ10はハウジング2から浮上し易くなり、非接触の状態となる。したがって、インペラ10とハウジング2との相対すべりによって溶血・血栓が発生したり、相対すべり時に発生したわずかな表面損傷(凹凸)によって血栓が発生することもない。
また、実施の形態1と同様、インペラ10のシュラウド12に対向する隔壁6の表面には複数の動圧溝21および複数の動圧溝22が形成され、シュラウド11に対向する血液室7の内壁には複数の動圧溝23および複数の動圧溝24が形成されている。インペラ10の回転数が所定の回転数を超えると、動圧溝21〜24の各々とインペラ10との間に動圧軸受効果が発生する。これにより、動圧溝21〜24の各々からインペラ10に対して抗力が発生し、インペラ10は血液室7内で非接触状態で回転する。
また、インペラ10と血液室7の内壁との間の距離が長い場合に大きな動圧力を発生する動圧溝23と、インペラ10と血液室7の内壁との間の距離が短い場合に大きな動圧力を発生する動圧溝24との両方を設けたので、回転起動時と定常回転時の両方で大きな動圧力を得ることができる。したがって、部品点数を増やすことなく、インペラ10をスムーズに回転起動させることができる。
今回開示された実施の形態はすべての点で例示であって制限的なものではないと考えられるべきである。本発明の範囲は上記した説明ではなくて特許請求の範囲によって示され、特許請求の範囲と均等の意味および範囲内でのすべての変更が含まれることが意図される。
1 ポンプ部、2 ハウジング、3 本体部、4 血液流入ポート、5 血液流出ポート、6 隔壁、7 血液室、8 モータ室、10 インペラ、10a 貫通孔、11,12 シュラウド、13 ベーン、14 血液通路、15〜17,40〜45,47 永久磁石、18,35,37〜39,51 磁性体、19,36,50 継鉄、20,52 コイル、21〜24 動圧溝、25 コントローラ、26 モータ制御回路、27,30,31 パワーアンプ、32 切換スイッチ、46 ロータ、48 ベアリング、49 中心軸。

Claims (11)

  1. 隔壁で仕切られた第1および第2の室を含むハウジングと、前記第1の室内において前記隔壁に沿って回転可能に設けられ、回転時の遠心力によって液体を送るインペラと、前記第2の室内に設けられ、前記隔壁を介して前記インペラを回転駆動させる駆動手段とを備えた遠心式ポンプ装置において、
    前記インペラの一方面に設けられた第1の磁性体と、
    前記インペラの一方面に対向する前記第1の室の内壁に設けられ、前記第1の磁性体を吸引する第2の磁性体と、
    前記インペラの他方面に設けられ、前記駆動手段によって吸引される第3の磁性体とを備え、
    前記インペラの回転中において、前記第1および第2の磁性体間の第1の吸引力と前記第3の磁性体および前記駆動手段間の第2の吸引力とは、前記第1の室内における前記インペラの可動範囲の略中央で釣り合い、
    前記インペラの一方面またはそれに対向する前記第1の室の内壁に複数の第1の動圧溝および複数の第2の動圧溝が形成され、前記インペラの他方面またはそれに対向する前記隔壁に複数の第3の動圧溝および複数の第4の動圧溝が形成され、
    前記第2の動圧溝の形状および深さのうちの少なくとも一方は前記第1の動圧溝と異なり、前記第4の動圧溝の形状および深さのうちの少なくとも一方は前記第3の動圧溝と異なることを特徴とする、遠心式ポンプ装置。
  2. 前記複数の第1の動圧溝は前記インペラの定常回転時に前記複数の第2の動圧溝よりも大きな動圧力を発生し、
    前記複数の第2の動圧溝は前記インペラの回転起動時に前記複数の第2の動圧溝よりも大きな動圧力を発生し、
    前記複数の第3の動圧溝は前記インペラの定常回転時に前記複数の第4の動圧溝よりも大きな動圧力を発生し、
    前記複数の第4の動圧溝は前記インペラの回転起動時に前記複数の第3の動圧溝よりも大きな動圧力を発生することを特徴とする、請求項1に記載の遠心式ポンプ装置。
  3. 前記第2の動圧溝は前記第1の動圧溝よりも浅く、前記第4の動圧溝は前記第3の動圧溝よりも浅いことを特徴とする、請求項1または請求項2に記載の遠心式ポンプ装置。
  4. 前記第2の動圧溝の深さは前記第1の動圧溝の深さの5分の1以下であり、前記第4の動圧溝の深さは前記第3の動圧溝の深さの5分の1以下であることを特徴とする、請求項3に記載の遠心式ポンプ装置。
  5. 各第2の動圧溝は2つの第1の動圧溝の間に配置され、各第4の動圧溝は2つの第3の動圧溝の間に配置され、
    各第2の動圧溝の幅は前記2つの第1の動圧溝の間隔の3分の2以下であり、各第4の動圧溝の幅は前記2つの第3の動圧溝の間隔の3分の2以下であることを特徴とする、請求項1から請求項4までのいずれかに記載の遠心式ポンプ装置。
  6. 前記第2の動圧溝の数は前記第1の動圧溝の数以下であり、前記第4の動圧溝の数は前記第2の動圧溝の数以下であることを特徴とする、請求項1から請求項5までのいずれかに記載の遠心式ポンプ装置。
  7. 前記複数の第2の動圧溝は前記インペラの回転方向に等角度間隔で配置され、前記複数の第4の動圧溝は前記インペラの回転方向に等角度間隔で配置されていることを特徴とする、請求項6に記載の遠心式ポンプ装置。
  8. 前記第3の磁性体は複数設けられ、
    複数の前記第3の磁性体は、隣接する磁極が互いに異なるように同一の円に沿って配置され、
    前記駆動手段は、前記複数の第3の磁性体に対向して設けられ、回転磁界を生成するための複数のコイルを含むことを特徴とする、請求項1から請求項7までのいずれかに記載の遠心式ポンプ装置。
  9. 前記第3の磁性体は複数設けられ、
    複数の前記第3の磁性体は、隣接する磁極が互いに異なるように同一の円に沿って配置され、
    前記駆動手段は、
    前記複数の第3の磁性体に対向して配置された複数の第4の磁性体と、
    それぞれ前記複数の第4の磁性体に対応して設けられて各々が対応の第4の磁性体に巻回され、回転磁界を生成するための複数のコイルとを含むことを特徴とする、請求項1から請求項7までのいずれかに記載の遠心式ポンプ装置。
  10. 前記駆動手段は、
    前記第2の室内において前記隔壁に沿って回転可能に設けられたロータと、
    前記第3の磁性体に対向して前記ロータに設けられ、前記第3の磁性体を吸引する第4の磁性体と、
    前記ロータを回転させるモータとを含むことを特徴とする、請求項1から請求項7までのいずれかに記載の遠心式ポンプ装置。
  11. 前記液体は血液であり、
    前記遠心式ポンプ装置は、前記血液を循環させるために使用されることを特徴とする、請求項1から請求項10までのいずれかに記載の遠心式ポンプ装置。
JP2009052176A 2009-03-05 2009-03-05 遠心式ポンプ装置 Expired - Fee Related JP5378010B2 (ja)

Priority Applications (4)

Application Number Priority Date Filing Date Title
JP2009052176A JP5378010B2 (ja) 2009-03-05 2009-03-05 遠心式ポンプ装置
PCT/JP2010/053069 WO2010101082A1 (ja) 2009-03-05 2010-02-26 遠心式ポンプ装置
US13/254,597 US9381285B2 (en) 2009-03-05 2010-02-26 Centrifugal pump apparatus
EP10748677.1A EP2405141B1 (en) 2009-03-05 2010-02-26 Centrifugal pump device

Applications Claiming Priority (1)

Application Number Priority Date Filing Date Title
JP2009052176A JP5378010B2 (ja) 2009-03-05 2009-03-05 遠心式ポンプ装置

Publications (2)

Publication Number Publication Date
JP2010203398A JP2010203398A (ja) 2010-09-16
JP5378010B2 true JP5378010B2 (ja) 2013-12-25

Family

ID=42709641

Family Applications (1)

Application Number Title Priority Date Filing Date
JP2009052176A Expired - Fee Related JP5378010B2 (ja) 2009-03-05 2009-03-05 遠心式ポンプ装置

Country Status (4)

Country Link
US (1) US9381285B2 (ja)
EP (1) EP2405141B1 (ja)
JP (1) JP5378010B2 (ja)
WO (1) WO2010101082A1 (ja)

Families Citing this family (51)

* Cited by examiner, † Cited by third party
Publication number Priority date Publication date Assignee Title
JP5171953B2 (ja) 2008-06-23 2013-03-27 テルモ株式会社 血液ポンプ装置
US9067005B2 (en) 2008-12-08 2015-06-30 Thoratec Corporation Centrifugal pump apparatus
JP5378010B2 (ja) 2009-03-05 2013-12-25 ソラテック コーポレーション 遠心式ポンプ装置
US8770945B2 (en) 2009-03-06 2014-07-08 Thoratec Corporation Centrifugal pump apparatus
JP5443197B2 (ja) 2010-02-16 2014-03-19 ソラテック コーポレーション 遠心式ポンプ装置
WO2011118325A1 (ja) 2010-03-26 2011-09-29 テルモ株式会社 遠心式血液ポンプ装置
JP5681403B2 (ja) 2010-07-12 2015-03-11 ソーラテック コーポレイション 遠心式ポンプ装置
JP5542014B2 (ja) 2010-09-10 2014-07-09 富士重工業株式会社 車両挙動制御装置
JP5577506B2 (ja) * 2010-09-14 2014-08-27 ソーラテック コーポレイション 遠心式ポンプ装置
US9801702B2 (en) * 2010-12-16 2017-10-31 Boston Scientific Scimed, Inc. Artificial sphincter system and method
EP2693609B1 (en) 2011-03-28 2017-05-03 Thoratec Corporation Rotation and drive device and centrifugal pump device using same
EP3269406B1 (en) 2011-12-03 2020-11-18 Indiana University Research and Technology Corporation Cavopulmonary viscous impeller assist device and method
JP6083929B2 (ja) 2012-01-18 2017-02-22 ソーラテック コーポレイション 遠心式ポンプ装置
EP2890419B1 (en) 2012-08-31 2019-07-31 Tc1 Llc Start-up algorithm for an implantable blood pump
US9371826B2 (en) 2013-01-24 2016-06-21 Thoratec Corporation Impeller position compensation using field oriented control
US9556873B2 (en) 2013-02-27 2017-01-31 Tc1 Llc Startup sequence for centrifugal pump with levitated impeller
US9713663B2 (en) 2013-04-30 2017-07-25 Tc1 Llc Cardiac pump with speed adapted for ventricle unloading
US10052420B2 (en) 2013-04-30 2018-08-21 Tc1 Llc Heart beat identification and pump speed synchronization
JP6117658B2 (ja) * 2013-09-06 2017-04-19 本田技研工業株式会社 遠心ポンプ
US9623161B2 (en) 2014-08-26 2017-04-18 Tc1 Llc Blood pump and method of suction detection
EP4643926A3 (en) 2015-02-11 2025-12-24 Tc1 Llc Heart beat identification and pump speed synchronization
US10166318B2 (en) 2015-02-12 2019-01-01 Tc1 Llc System and method for controlling the position of a levitated rotor
US10371152B2 (en) 2015-02-12 2019-08-06 Tc1 Llc Alternating pump gaps
WO2016130989A1 (en) 2015-02-13 2016-08-18 Thoratec Corporation Impeller suspension mechanism for heart pump
CN106300722A (zh) * 2015-05-18 2017-01-04 德昌电机(深圳)有限公司 电机与电动泵
US10117983B2 (en) 2015-11-16 2018-11-06 Tc1 Llc Pressure/flow characteristic modification of a centrifugal pump in a ventricular assist device
EP3173109A1 (en) 2015-11-30 2017-05-31 Fundacja Rozwoju Kardiochirurgii Im. Prof. Zbigniewa Religi Method for controlling a centrifugal heart assist pomp impeller position
EP3173110A1 (en) 2015-11-30 2017-05-31 Fundacja Rozwoju Kardiochirurgii Im. Prof. Zbigniewa Religi Rotary pump suspension system arrangement, especially of implantable centrifugal heart assist pump
US10952855B2 (en) 2016-03-24 2021-03-23 Boston Scientific Scimed, Inc. Inflatable penile prosthesis with reversible flow pump assembly
JP7414529B2 (ja) 2017-06-07 2024-01-16 シファメド・ホールディングス・エルエルシー 血管内流体移動デバイス、システム、および使用方法
JP6970574B2 (ja) * 2017-09-27 2021-11-24 テルモ株式会社 ポンプ装置
CN111556763B (zh) 2017-11-13 2023-09-01 施菲姆德控股有限责任公司 血管内流体运动装置、系统
EP3746149B1 (en) 2018-02-01 2025-08-06 Shifamed Holdings, LLC Intravascular blood pumps
WO2020028537A1 (en) 2018-07-31 2020-02-06 Shifamed Holdings, Llc Intravascaular blood pumps and methods of use
WO2020073047A1 (en) 2018-10-05 2020-04-09 Shifamed Holdings, Llc Intravascular blood pumps and methods of use
WO2021011473A1 (en) 2019-07-12 2021-01-21 Shifamed Holdings, Llc Intravascular blood pumps and methods of manufacture and use
WO2021016372A1 (en) 2019-07-22 2021-01-28 Shifamed Holdings, Llc Intravascular blood pumps with struts and methods of use and manufacture
US12465748B2 (en) 2019-08-07 2025-11-11 Supira Medical, Inc. Catheter blood pumps and collapsible pump housings
WO2021062265A1 (en) 2019-09-25 2021-04-01 Shifamed Holdings, Llc Intravascular blood pump systems and methods of use and control thereof
EP4501393A3 (en) 2019-09-25 2025-04-09 Shifamed Holdings, LLC Catheter blood pumps and collapsible pump housings
US12121713B2 (en) 2019-09-25 2024-10-22 Shifamed Holdings, Llc Catheter blood pumps and collapsible blood conduits
EP4058094A1 (en) 2019-11-12 2022-09-21 Fresenius Medical Care Deutschland GmbH Blood treatment systems
CN114728159B (zh) 2019-11-12 2025-10-17 费森尤斯医疗护理德国有限责任公司 血液治疗系统
CA3160871A1 (en) 2019-11-12 2021-05-20 Fresenius Medical Care Deutschland Gmbh Blood treatment systems
CA3160952A1 (en) 2019-11-12 2021-05-20 Fresenius Medical Care Deutschland Gmbh Blood treatment systems
WO2021096706A1 (en) 2019-11-12 2021-05-20 Fresenius Medical Care Deutschland Gmbh Blood treatment systems
EP4058095B1 (en) 2019-11-12 2025-12-24 Fresenius Medical Care Deutschland GmbH Centrifugal blood pump comprising a portion of a blood dialyzer
EP4072650A4 (en) 2019-12-11 2024-01-10 Shifamed Holdings, LLC Descending aorta and vena cava blood pumps
US12558468B2 (en) 2019-12-12 2026-02-24 Fresenius Medical Care Holdings, Inc. Blood treatment systems
CN116592955B (zh) * 2023-07-17 2023-09-22 四川新川航空仪器有限责任公司 一种流量传感器
CN119113375B (zh) * 2024-09-09 2025-05-13 南京汉科明德医疗科技有限公司 一种对称中空薄壁构型的磁悬浮泵及其控制方法

Family Cites Families (277)

* Cited by examiner, † Cited by third party
Publication number Priority date Publication date Assignee Title
US1093868A (en) 1912-03-11 1914-04-21 Henry W Jacobs Means for forming couplings or joints.
US3960468A (en) 1946-07-16 1976-06-01 The United States Of America As Represented By The United States Energy Research And Development Administration Fluid lubricated bearing assembly
US2684035A (en) 1947-10-02 1954-07-20 Philip G Kemp Fluid pump
US3510229A (en) 1968-07-23 1970-05-05 Maytag Co One-way pump
NL7213192A (ja) * 1972-09-29 1974-04-02
US3932069A (en) 1974-12-19 1976-01-13 Ford Motor Company Variable reluctance motor pump
LU77252A1 (ja) 1976-05-06 1977-08-22
FR2451480A1 (fr) 1979-03-16 1980-10-10 Belenger Jacques Pompe centrifuge medicale
JPS589535Y2 (ja) 1979-11-06 1983-02-21 ビツグウエイ株式会社 カ−トリツジ式化粧品
JPH0247496Y2 (ja) 1980-05-21 1990-12-13
US4382199A (en) 1980-11-06 1983-05-03 Nu-Tech Industries, Inc. Hydrodynamic bearing system for a brushless DC motor
US4688998A (en) 1981-03-18 1987-08-25 Olsen Don B Magnetically suspended and rotated impellor pump apparatus and method
US5078741A (en) 1986-10-12 1992-01-07 Life Extenders Corporation Magnetically suspended and rotated rotor
DE3214397C2 (de) 1982-04-20 1984-07-26 Karl Dr. 6301 Pohlheim Aigner Perfusions-Doppellumenkatheter
US4549860A (en) 1983-04-04 1985-10-29 Yakich Sam S Blood pump improvements
US4806080A (en) 1983-07-06 1989-02-21 Ebara Corporation Pump with shaftless impeller
JPS61293146A (ja) 1984-11-02 1986-12-23 Hitachi Ltd アキシヤルギヤツプ形電動機
US4686982A (en) 1985-06-19 1987-08-18 John Nash Spiral wire bearing for rotating wire drive catheter
US4769006A (en) 1985-05-13 1988-09-06 Kos Medical Technologies, Ltd. Hydrodynamically propelled pacing catheter
JPH0653790B2 (ja) 1986-02-10 1994-07-20 三菱レイヨン株式会社 熱硬化性樹脂組成物
US4790843A (en) 1986-06-16 1988-12-13 Baxter Travenol Laboratories, Inc. Prosthetic heart valve assembly
US4753221A (en) 1986-10-22 1988-06-28 Intravascular Surgical Instruments, Inc. Blood pumping catheter and method of use
US4902272A (en) 1987-06-17 1990-02-20 Abiomed Cardiovascular, Inc. Intra-arterial cardiac support system
US4930997A (en) 1987-08-19 1990-06-05 Bennett Alan N Portable medical suction device
US4817586A (en) 1987-11-24 1989-04-04 Nimbus Medical, Inc. Percutaneous bloom pump with mixed-flow output
US4846152A (en) 1987-11-24 1989-07-11 Nimbus Medical, Inc. Single-stage axial flow blood pump
US4895557A (en) 1987-12-07 1990-01-23 Nimbus Medical, Inc. Drive mechanism for powering intravascular blood pumps
US5092879A (en) 1988-02-17 1992-03-03 Jarvik Robert K Intraventricular artificial hearts and methods of their surgical implantation and use
US4906229A (en) 1988-05-03 1990-03-06 Nimbus Medical, Inc. High-frequency transvalvular axisymmetric blood pump
FR2632686B1 (ja) 1988-06-14 1993-07-16 Thomson Brandt Armements
US4908012A (en) 1988-08-08 1990-03-13 Nimbus Medical, Inc. Chronic ventricular assist system
US4964864A (en) 1988-09-27 1990-10-23 American Biomed, Inc. Heart assist pump
US4919647A (en) 1988-10-13 1990-04-24 Kensey Nash Corporation Aortically located blood pumping catheter and method of use
US4957504A (en) 1988-12-02 1990-09-18 Chardack William M Implantable blood pump
US4969865A (en) 1989-01-09 1990-11-13 American Biomed, Inc. Helifoil pump
US4944722A (en) 1989-02-23 1990-07-31 Nimbus Medical, Inc. Percutaneous axial flow blood pump
US4995857A (en) 1989-04-07 1991-02-26 Arnold John R Left ventricular assist device and method for temporary and permanent procedures
US5324177A (en) 1989-05-08 1994-06-28 The Cleveland Clinic Foundation Sealless rotodynamic pump with radially offset rotor
US4985014A (en) 1989-07-11 1991-01-15 Orejola Wilmo C Ventricular venting loop
US5147186A (en) 1989-08-04 1992-09-15 Bio Medicus, Inc. Blood pump drive system
JPH03111697A (ja) 1989-09-22 1991-05-13 Jidosha Denki Kogyo Co Ltd 小型遠心ポンプ
US5112202A (en) 1990-01-31 1992-05-12 Ntn Corporation Turbo pump with magnetically supported impeller
JP3025295B2 (ja) 1990-10-11 2000-03-27 エヌティエヌ株式会社 ターボ形ポンプ
US5145333A (en) 1990-03-01 1992-09-08 The Cleveland Clinic Foundation Fluid motor driven blood pump
FR2659396B1 (fr) 1990-03-07 1992-05-15 Cit Alcatel Pompe a vide pour vide moleculaire propre.
JPH0636821B2 (ja) 1990-03-08 1994-05-18 健二 山崎 体内埋設形の補助人工心臓
US5092844A (en) 1990-04-10 1992-03-03 Mayo Foundation For Medical Education And Research Intracatheter perfusion pump apparatus and method
US5211546A (en) 1990-05-29 1993-05-18 Nu-Tech Industries, Inc. Axial flow blood pump with hydrodynamically suspended rotor
DE4020120A1 (de) 1990-06-25 1991-01-31 Klaus Prof Dr Ing Affeld Medizinische vorrichtung zur erzeugung eines alternierenden volumenstroms fuer den antrieb von implantierbaren blutpumpen
CA2022019C (en) 1990-07-26 1992-12-29 Michael Black Catheter
JP2989233B2 (ja) 1990-07-31 1999-12-13 エヌティエヌ株式会社 ターボ形ポンプ
US5195877A (en) 1990-10-05 1993-03-23 Kletschka Harold D Fluid pump with magnetically levitated impeller
US5190528A (en) 1990-10-19 1993-03-02 Boston University Percutaneous transseptal left atrial cannulation system
JPH0491396U (ja) 1990-12-26 1992-08-10
DE4111713A1 (de) 1991-04-10 1993-01-14 Magnet Motor Gmbh Fluidpumpe
US5106372A (en) 1991-05-03 1992-04-21 Sherwood Medical Company Single use syringe
JPH0521197U (ja) 1991-05-17 1993-03-19 株式会社荏原製作所 キヤンドモータポンプ
US5584803A (en) 1991-07-16 1996-12-17 Heartport, Inc. System for cardiac procedures
US5290236A (en) 1991-09-25 1994-03-01 Baxter International Inc. Low priming volume centrifugal blood pump
US5449342A (en) 1991-09-30 1995-09-12 Nippon Zeon Co., Ltd. Apparatus for assisting blood circulation
US5360445A (en) 1991-11-06 1994-11-01 International Business Machines Corporation Blood pump actuator
US5350283A (en) 1991-12-04 1994-09-27 Ntn Corporation Clean pump
US5201679A (en) 1991-12-13 1993-04-13 Attwood Corporation Marine propeller with breakaway hub
US5306295A (en) 1992-04-30 1994-04-26 University Of Utah Research Foundation Electrohydraulic heart with septum mounted pump
US5300112A (en) 1992-07-14 1994-04-05 Aai Corporation Articulated heart pump
US5354331A (en) 1992-07-15 1994-10-11 Schachar Ronald A Treatment of presbyopia and other eye disorders
JP2564843Y2 (ja) 1992-07-29 1998-03-11 日本ビクター株式会社 すべりスラスト軸受け構造
US5290227A (en) 1992-08-06 1994-03-01 Pasque Michael K Method of implanting blood pump in ascending aorta or main pulmonary artery
US5312341A (en) 1992-08-14 1994-05-17 Wayne State University Retaining apparatus and procedure for transseptal catheterization
SE501215C2 (sv) 1992-09-02 1994-12-12 Oeyvind Reitan Kateterpump
US5376114A (en) 1992-10-30 1994-12-27 Jarvik; Robert Cannula pumps for temporary cardiac support and methods of their application and use
FR2698560B1 (fr) 1992-11-30 1995-02-03 Virbac Laboratoires Principes actifs pulvérulents stabilisés, compositions les contenant, leur procédé d'obtention et leurs applications.
JP2583924Y2 (ja) 1992-12-25 1998-10-27 エヌティエヌ株式会社 クリーンポンプ
US5332374A (en) 1992-12-30 1994-07-26 Ralph Kricker Axially coupled flat magnetic pump
US5643226A (en) 1993-02-24 1997-07-01 Minnesota Mining And Manufacturing Low velocity aortic cannula
DE4321260C1 (de) 1993-06-25 1995-03-09 Westphal Dieter Dipl Ing Dipl Blutpumpe als Zentrifugalpumpe
DE69432148T2 (de) 1993-07-01 2003-10-16 Boston Scientific Ltd., St. Michael Katheter zur bilddarstellung, zur anzeige elektrischer signale und zur ablation
JPH0714220U (ja) 1993-08-18 1995-03-10 アスモ株式会社 液中軸受
US5527159A (en) 1993-11-10 1996-06-18 The United States Of America As Represented By The Administrator Of The National Aeronautics And Space Administration Rotary blood pump
JPH0742869U (ja) 1993-12-28 1995-08-11 象印マホービン株式会社 遠心ポンプ
WO1995020982A1 (en) 1994-02-01 1995-08-10 Howmedica Inc. Coated femoral stem prosthesis
US5597377A (en) 1994-05-06 1997-01-28 Trustees Of Boston University Coronary sinus reperfusion catheter
US5607407A (en) 1994-05-09 1997-03-04 Tolkoff; Marc J. Catheter assembly
US5507629A (en) 1994-06-17 1996-04-16 Jarvik; Robert Artificial hearts with permanent magnet bearings
US5504978A (en) 1994-07-15 1996-04-09 Meyer, Iii; Harold A. Locking clamp assembly
US5569111A (en) 1994-10-11 1996-10-29 The United States Of America As Represented By The Secretary Of The Navy Permanent magnet torque/force transfer apparatus
US5613935A (en) 1994-12-16 1997-03-25 Jarvik; Robert High reliability cardiac assist system
US5725357A (en) 1995-04-03 1998-03-10 Ntn Corporation Magnetically suspended type pump
JP4076581B2 (ja) 1995-04-03 2008-04-16 レビトロニクス エルエルシー 電磁式回転駆動装置を有する回転機器
US5707218A (en) 1995-04-19 1998-01-13 Nimbus, Inc. Implantable electric axial-flow blood pump with blood cooled bearing
US5924848A (en) 1995-06-01 1999-07-20 Advanced Bionics, Inc. Blood pump having radial vanes with enclosed magnetic drive components
US5938412A (en) 1995-06-01 1999-08-17 Advanced Bionics, Inc. Blood pump having rotor with internal bore for fluid flow
US6206659B1 (en) 1995-06-01 2001-03-27 Advanced Bionics, Inc. Magnetically driven rotor for blood pump
US5793974A (en) 1995-06-30 1998-08-11 Sun Microsystems, Inc. Network navigation and viewing system for network management system
US6007479A (en) 1996-07-08 1999-12-28 H.D.S. Systems Ltd. Heart assist system and method
US5575630A (en) 1995-08-08 1996-11-19 Kyocera Corporation Blood pump having magnetic attraction
US5924975A (en) 1995-08-30 1999-07-20 International Business Machines Corporation Linear pump
DE19535781C2 (de) 1995-09-26 1999-11-11 Fraunhofer Ges Forschung Vorrichtung zur aktiven Strömungsunterstützung von Körperflüssigkeiten
JPH09122228A (ja) 1995-10-27 1997-05-13 Terumo Corp 遠心ポンプ駆動制御装置および体外循環血液回路用送血装置
US5947703A (en) 1996-01-31 1999-09-07 Ntn Corporation Centrifugal blood pump assembly
US5840070A (en) 1996-02-20 1998-11-24 Kriton Medical, Inc. Sealless rotary blood pump
US5695471A (en) 1996-02-20 1997-12-09 Kriton Medical, Inc. Sealless rotary blood pump with passive magnetic radial bearings and blood immersed axial bearings
DE19613564C1 (de) 1996-04-04 1998-01-08 Guenter Prof Dr Rau Intravasale Blutpumpe
US5868703A (en) 1996-04-10 1999-02-09 Endoscopic Technologies, Inc. Multichannel catheter
US5738649A (en) 1996-04-16 1998-04-14 Cardeon Corporation Peripheral entry biventricular catheter system for providing access to the heart for cardiopulmonary surgery or for prolonged circulatory support of the heart
US5611679A (en) 1996-04-22 1997-03-18 Eastman Kodak Company Corrosion-resistant pump
US5814011A (en) 1996-04-25 1998-09-29 Medtronic, Inc. Active intravascular lung
US5746709A (en) 1996-04-25 1998-05-05 Medtronic, Inc. Intravascular pump and bypass assembly and method for using the same
US6074180A (en) * 1996-05-03 2000-06-13 Medquest Products, Inc. Hybrid magnetically suspended and rotated centrifugal pumping apparatus and method
US6254359B1 (en) 1996-05-10 2001-07-03 The United States Of America As Represented By The Administrator Of The National Aeronautics And Space Administration Method for providing a jewel bearing for supporting a pump rotor shaft
JPH09313600A (ja) 1996-05-28 1997-12-09 Terumo Corp 遠心式液体ポンプ装置
US6244835B1 (en) 1996-06-26 2001-06-12 James F. Antaki Blood pump having a magnetically suspended rotor
DE19629614A1 (de) 1996-07-23 1998-01-29 Cardiotools Herzchirurgietechn Linksherzassistpumpe
US5755783A (en) 1996-07-29 1998-05-26 Stobie; Robert Suture rings for rotatable artificial heart valves
EP0860046B1 (de) 1996-09-10 2003-02-26 Levitronix LLC Rotationspumpe
WO1998010719A1 (en) 1996-09-13 1998-03-19 Medtronic, Inc. Prosthetic heart valve with suturing member having non-uniform radial width
US5851174A (en) 1996-09-17 1998-12-22 Robert Jarvik Cardiac support device
ES2323866T3 (es) 1996-10-04 2009-07-27 United States Surgical Corporation Sistema de apoyo circulatorio.
US5795074A (en) * 1996-10-08 1998-08-18 Seagate Technology, Inc. Grooved hydrodynamic thrust bearing
US6071093A (en) 1996-10-18 2000-06-06 Abiomed, Inc. Bearingless blood pump and electronic drive system
US5888242A (en) 1996-11-01 1999-03-30 Nimbus, Inc. Speed control system for implanted blood pumps
US5776111A (en) 1996-11-07 1998-07-07 Medical Components, Inc. Multiple catheter assembly
US5807311A (en) 1996-11-29 1998-09-15 Palestrant; Aubrey M. Dialysis catheter having rigid and collapsible lumens and related method
JP4258026B2 (ja) 1997-02-28 2009-04-30 住友電気工業株式会社 動圧気体軸受構造およびその製造方法
US5890883A (en) 1997-03-19 1999-04-06 The Cleveland Clinic Foundation Rotodynamic pump with non-circular hydrodynamic bearing journal
US5964694A (en) 1997-04-02 1999-10-12 Guidant Corporation Method and apparatus for cardiac blood flow assistance
AUPO902797A0 (en) 1997-09-05 1997-10-02 Cortronix Pty Ltd A rotary blood pump with hydrodynamically suspended impeller
JPH10331641A (ja) 1997-06-02 1998-12-15 Nissan Motor Co Ltd 筒内直接噴射式火花点火機関
US6123725A (en) 1997-07-11 2000-09-26 A-Med Systems, Inc. Single port cardiac support apparatus
US6709418B1 (en) 1997-07-11 2004-03-23 A-Med Systems, Inc. Apparatus and methods for entering cavities of the body
US6532964B2 (en) 1997-07-11 2003-03-18 A-Med Systems, Inc. Pulmonary and circulatory blood flow support devices and methods for heart surgery procedures
EP0928613A4 (en) 1997-07-25 2001-01-17 Sun Medical Technology Res Cor PORTABLE DRIVE SYSTEM FOR AN ARTIFICIAL HEART
DE59712591D1 (de) 1997-08-25 2006-05-04 Levitronix Llc Magnetgelagerte Rotationsanordnung
EP0900572B1 (de) 1997-09-04 2005-01-12 Levitronix LLC Zentrifugalpumpe
JP3919896B2 (ja) 1997-09-05 2007-05-30 テルモ株式会社 遠心式液体ポンプ装置
UA56262C2 (uk) 1997-10-09 2003-05-15 Орквіс Медікел Корпорейшн Імплантовувана система підтримки серця
US6610004B2 (en) 1997-10-09 2003-08-26 Orqis Medical Corporation Implantable heart assist system and method of applying same
US6293901B1 (en) 1997-11-26 2001-09-25 Vascor, Inc. Magnetically suspended fluid pump and control system
US6422990B1 (en) 1997-11-26 2002-07-23 Vascor, Inc. Blood pump flow rate control method and apparatus utilizing multiple sensors
US5928131A (en) 1997-11-26 1999-07-27 Vascor, Inc. Magnetically suspended fluid pump and control system
JPH11244377A (ja) 1998-03-03 1999-09-14 Terumo Corp 遠心式血液ポンプ装置
DE29804046U1 (de) 1998-03-07 1998-04-30 Günther, Rolf W., Prof. Dr.med., 52074 Aachen Perkutan implantierbare selbstentfaltbare Axialpumpe zur temporären Herzunterstützung
US6176822B1 (en) 1998-03-31 2001-01-23 Impella Cardiotechnik Gmbh Intracardiac blood pump
US6086527A (en) 1998-04-02 2000-07-11 Scimed Life Systems, Inc. System for treating congestive heart failure
US6508777B1 (en) 1998-05-08 2003-01-21 Cardeon Corporation Circulatory support system and method of use for isolated segmental perfusion
DE19821307C1 (de) 1998-05-13 1999-10-21 Impella Cardiotech Gmbh Intrakardiale Blutpumpe
US6042347A (en) 1998-07-27 2000-03-28 Scholl; Frank G. Pedia-cadio pump
US6135943A (en) 1998-08-07 2000-10-24 Cardiac Assist Technologies, Inc. Non-invasive flow indicator for a rotary blood pump
US6641558B1 (en) 1998-09-30 2003-11-04 A-Med Systems, Inc. Method and apparatus for preventing air embolisms
US6149683A (en) 1998-10-05 2000-11-21 Kriton Medical, Inc. Power system for an implantable heart pump
US6264635B1 (en) 1998-12-03 2001-07-24 Kriton Medical, Inc. Active magnetic bearing system for blood pump
WO2000037139A1 (en) 1998-12-23 2000-06-29 A-Med Systems, Inc. Left and right side heart support
US6158984A (en) 1998-12-28 2000-12-12 Kriton Medical, Inc. Rotary blood pump with ceramic members
JP2000199520A (ja) * 1999-01-06 2000-07-18 Konica Corp 回転装置
US6749598B1 (en) 1999-01-11 2004-06-15 Flowmedica, Inc. Apparatus and methods for treating congestive heart disease
US7329236B2 (en) 1999-01-11 2008-02-12 Flowmedica, Inc. Intra-aortic renal drug delivery catheter
US6123659A (en) 1999-01-26 2000-09-26 Nimbus Inc. Blood pump with profiled outflow region
US6245007B1 (en) 1999-01-28 2001-06-12 Terumo Cardiovascular Systems Corporation Blood pump
US6319231B1 (en) 1999-02-12 2001-11-20 Abiomed, Inc. Medical connector
EP1034808A1 (en) 1999-03-09 2000-09-13 Paul Frederik Gründeman A device for transventricular mechanical circulatory support
US6295877B1 (en) 1999-03-30 2001-10-02 A-Med Systems, Inc. Pressure sensing cannula
AUPP995999A0 (en) 1999-04-23 1999-05-20 University Of Technology, Sydney Non-contact estimation and control system
US6234772B1 (en) 1999-04-28 2001-05-22 Kriton Medical, Inc. Rotary blood pump
JP4043644B2 (ja) 1999-05-06 2008-02-06 日本電産株式会社 動圧軸受装置の製造方法
US6146325A (en) 1999-06-03 2000-11-14 Arrow International, Inc. Ventricular assist device
EP1063753B1 (de) 1999-06-22 2009-07-22 Levitronix LLC Elektrischer Drehantrieb mit einem magnetisch gelagerten Rotor
US6190304B1 (en) 1999-07-13 2001-02-20 University Of North Texas Health Science Center At Fort Worth Enhanced intra-aortic balloon assist device
US6247892B1 (en) 1999-07-26 2001-06-19 Impsa International Inc. Continuous flow rotary pump
JP2001039628A (ja) 1999-07-27 2001-02-13 Toray Ind Inc 糸条の巻き形態異常の検知方法および検知装置
US7022100B1 (en) 1999-09-03 2006-04-04 A-Med Systems, Inc. Guidable intravascular blood pump and related methods
US6227820B1 (en) 1999-10-05 2001-05-08 Robert Jarvik Axial force null position magnetic bearing and rotary blood pumps which use them
DE29921352U1 (de) 1999-12-04 2001-04-12 Impella Cardiotechnik AG, 52074 Aachen Intravasale Blutpumpe
DE19963662C2 (de) 1999-12-29 2003-10-16 Guido Brohlburg Direkt beschiefertes Aufsparren Dämmsystem für Hausdächer
US6439845B1 (en) 2000-03-23 2002-08-27 Kidney Replacement Services, P.C. Blood pump
WO2001072352A2 (en) 2000-03-27 2001-10-04 The Cleveland Clinic Foundation Chronic performance control system for rotodynamic blood pumps
US6547530B2 (en) 2000-05-19 2003-04-15 Ntn Corporation Fluid pump apparatus
US6458163B1 (en) 2000-07-11 2002-10-01 Prosthetic Design, Inc. Coupling-socket adapter assembly for a prosthetic limb
US7175659B2 (en) 2000-11-16 2007-02-13 Hill J Donald Automatic suture fixation apparatus and method for minimally invasive cardiac surgery
DE10058669B4 (de) 2000-11-25 2004-05-06 Impella Cardiotechnik Ag Mikromotor
DE10059714C1 (de) 2000-12-01 2002-05-08 Impella Cardiotech Ag Intravasale Pumpe
DE10060275A1 (de) 2000-12-05 2002-06-13 Impella Cardiotech Ag Verfahren zum Kalibrieren eines Drucksensors oder eines Flussensors an einer Rotationspumpe
US20020095210A1 (en) 2001-01-16 2002-07-18 Finnegan Michael T. Heart pump graft connector and system
DE10108810A1 (de) 2001-02-16 2002-08-29 Berlin Heart Ag Vorrichtung zur axialen Förderung von Flüssigkeiten
US6547519B2 (en) 2001-04-13 2003-04-15 Hewlett Packard Development Company, L.P. Blower impeller apparatus with pivotable blades
US6517315B2 (en) 2001-05-29 2003-02-11 Hewlett-Packard Company Enhanced performance fan with the use of winglets
US20020188167A1 (en) 2001-06-06 2002-12-12 Anthony Viole Multilumen catheter for minimizing limb ischemia
US20030023302A1 (en) 2001-07-26 2003-01-30 Riyad Moe Sewing cuff assembly for heart valves
AU2002331563A1 (en) 2001-08-16 2003-03-03 Apex Medical, Inc. Physiological heart pump control
TW561226B (en) 2001-09-25 2003-11-11 Matsushita Electric Industrial Co Ltd Ultra-thin pump and cooling system including the pump
US6942672B2 (en) 2001-10-23 2005-09-13 Vascor, Inc. Method and apparatus for attaching a conduit to the heart or a blood vessel
US6692318B2 (en) 2001-10-26 2004-02-17 The Penn State Research Foundation Mixed flow pump
JP4060570B2 (ja) 2001-11-02 2008-03-12 テルモ株式会社 遠心式血液ポンプ
AU2003202250A1 (en) 2002-01-08 2003-07-24 Micromed Technology, Inc. Method and system for detecting ventricular collapse
US6991595B2 (en) 2002-04-19 2006-01-31 Thoratec Corporation Adaptive speed control for blood pump
US20040024285A1 (en) 2002-06-21 2004-02-05 Helmut Muckter Blood pump with impeller
US6732501B2 (en) 2002-06-26 2004-05-11 Heartware, Inc. Ventricular connector
US7241257B1 (en) 2002-06-28 2007-07-10 Abbott Cardiovascular Systems, Inc. Devices and methods to perform minimally invasive surgeries
US6949188B2 (en) 2002-07-15 2005-09-27 Geyer's Manufacturing & Design, Inc. Filter assembly having improved sealing features
US7959674B2 (en) 2002-07-16 2011-06-14 Medtronic, Inc. Suture locking assembly and method of use
US7578843B2 (en) 2002-07-16 2009-08-25 Medtronic, Inc. Heart valve prosthesis
US6949066B2 (en) 2002-08-21 2005-09-27 World Heart Corporation Rotary blood pump diagnostics and cardiac output controller
US6817836B2 (en) 2002-09-10 2004-11-16 Miwatec Incorporated Methods and apparatus for controlling a continuous flow rotary blood pump
JP4186593B2 (ja) 2002-11-13 2008-11-26 松下電工株式会社 Dcブラシレスモータ及びそれを備えたdcポンプ
US6860713B2 (en) 2002-11-27 2005-03-01 Nidec Corporation Fan with collapsible blades, redundant fan system, and related method
US7470246B2 (en) 2002-12-17 2008-12-30 Terumo Kabushiki Kaisha Centrifugal blood pump apparatus
JP4456857B2 (ja) 2002-12-17 2010-04-28 テルモ株式会社 遠心式血液ポンプ装置
US7090401B2 (en) * 2003-01-21 2006-08-15 Seagate Technology Llc Grooving pattern for grooved fluid bearing
US7048681B2 (en) 2003-03-28 2006-05-23 Terumo Corporation Method and apparatus for adjusting a length of the inflow conduit on a ventricular assist device
JP2004332566A (ja) 2003-04-30 2004-11-25 Yamada Seisakusho Co Ltd マグネットポンプ
JP2004346925A (ja) 2003-05-20 2004-12-09 Yoshio Yano 非接触ポンプの回転部分の非接触を確実にする装置
US7128538B2 (en) 2003-07-07 2006-10-31 Terumo Corporation Centrifugal fluid pump apparatus
JP2005094955A (ja) 2003-09-18 2005-04-07 Toyota Central Res & Dev Lab Inc アキシャル型永久磁石モータ
WO2005028872A2 (en) 2003-09-18 2005-03-31 Myrakelle, Llc Rotary blood pump
JP2007518464A (ja) 2003-10-03 2007-07-12 フォスター−ミラー・インコーポレイテッド 電磁石lcrベアリング付きロータリーポンプ
JP4767488B2 (ja) 2003-10-23 2011-09-07 Ntn株式会社 磁気浮上型ポンプ
JP2005245138A (ja) 2004-02-27 2005-09-08 Japan Servo Co Ltd モータ
DE102004019721A1 (de) 2004-03-18 2005-10-06 Medos Medizintechnik Ag Pumpe
JP4340178B2 (ja) 2004-03-24 2009-10-07 テルモ株式会社 遠心式血液ポンプ装置
DE602005019219D1 (de) 2004-03-24 2010-03-25 Terumo Corp Zentrifugalblutpumpe mit hydrodynamischer Lagerung
US7160243B2 (en) 2004-03-25 2007-01-09 Terumo Corporation Method and system for controlling blood pump flow
JP4233475B2 (ja) 2004-03-25 2009-03-04 テルモ株式会社 遠心式血液ポンプ装置
JP4340183B2 (ja) 2004-03-31 2009-10-07 テルモ株式会社 遠心式血液ポンプ装置
US7172551B2 (en) 2004-04-12 2007-02-06 Scimed Life Systems, Inc. Cyclical pressure coronary assist pump
JP2006002937A (ja) 2004-05-20 2006-01-05 Minebea Co Ltd 流体動圧軸受装置およびその製造方法、スピンドルモータ、および記録ディスク駆動装置
JP2006070476A (ja) 2004-08-31 2006-03-16 Asahi Glass Matex Co Ltd 駅舎屋根用部材
KR100600758B1 (ko) 2004-09-15 2006-07-19 엘지전자 주식회사 모터의 스테이터 및 그 제조방법
US7393181B2 (en) 2004-09-17 2008-07-01 The Penn State Research Foundation Expandable impeller pump
CN1914429A (zh) * 2004-11-02 2007-02-14 松下电器产业株式会社 推力动压轴承和使用其的主轴电机与使用该主轴电机的信息记录再现装置
US7699586B2 (en) 2004-12-03 2010-04-20 Heartware, Inc. Wide blade, axial flow pump
US8419609B2 (en) 2005-10-05 2013-04-16 Heartware Inc. Impeller for a rotary ventricular assist device
JP4759261B2 (ja) * 2004-12-16 2011-08-31 テルモ株式会社 遠心式血液ポンプ装置
JP2006245455A (ja) 2005-03-07 2006-09-14 Ricoh Co Ltd 可変インダクタ
JP2006254619A (ja) 2005-03-11 2006-09-21 Daikin Ind Ltd コアと、電機子、モータ及び圧縮機並びにそれらの製造方法
DE102005017546A1 (de) 2005-04-16 2006-10-19 Impella Cardiosystems Gmbh Verfahren zur Steuerung einer Blutpumpe
JP2007002885A (ja) 2005-06-22 2007-01-11 Aisin Takaoka Ltd 差動装置
JP4758166B2 (ja) 2005-08-03 2011-08-24 アスモ株式会社 モータ及びウォータポンプ
JP4472612B2 (ja) * 2005-09-30 2010-06-02 テルモ株式会社 遠心式血液ポンプ装置
JP4472610B2 (ja) * 2005-09-30 2010-06-02 テルモ株式会社 遠心式血液ポンプ装置
US9744279B2 (en) 2005-12-08 2017-08-29 Heartware, Inc. Implant connector
EP1977110B8 (en) 2006-01-13 2018-12-26 HeartWare, Inc. Rotary blood pump
US8672611B2 (en) 2006-01-13 2014-03-18 Heartware, Inc. Stabilizing drive for contactless rotary blood pump impeller
JP5068951B2 (ja) 2006-02-08 2012-11-07 本田技研工業株式会社 モータ用ロータの製造方法および製造装置
US20070213690A1 (en) 2006-03-08 2007-09-13 Nickolas Phillips Blood conduit connector
JP2007247489A (ja) 2006-03-15 2007-09-27 Asmo Co Ltd 電動ポンプ
CN101448535B (zh) 2006-03-23 2011-10-19 宾州研究基金会 带有可膨胀叶轮泵的心脏辅助装置
JP2009532131A (ja) 2006-03-31 2009-09-10 オーキス メディカル コーポレイション 回転血液ポンプ
US7850594B2 (en) 2006-05-09 2010-12-14 Thoratec Corporation Pulsatile control system for a rotary blood pump
JP4898319B2 (ja) * 2006-06-23 2012-03-14 テルモ株式会社 血液ポンプ装置
JP2008011611A (ja) 2006-06-28 2008-01-17 Victor Co Of Japan Ltd モータ
JP5217145B2 (ja) 2006-10-12 2013-06-19 ダイキン工業株式会社 界磁子及び電機子用磁心並びに電機子及びモータ
JP2008104278A (ja) 2006-10-18 2008-05-01 Honda Motor Co Ltd モータ
JP4787726B2 (ja) 2006-11-28 2011-10-05 テルモ株式会社 センサレス磁気軸受型血液ポンプ装置
JP4962033B2 (ja) 2007-02-06 2012-06-27 ダイキン工業株式会社 アキシャルギャップ型モータ
DE102007008860B4 (de) * 2007-02-23 2013-10-31 Minebea Co., Ltd. Fluiddynamisches Lager mit Druck erzeugenden Oberflächenstrukturen
JP2008301634A (ja) 2007-05-31 2008-12-11 Nidec Sankyo Corp モータ
JP4959424B2 (ja) 2007-05-31 2012-06-20 勇 青谷 ポンプ装置
JP4707696B2 (ja) 2007-06-26 2011-06-22 本田技研工業株式会社 アキシャルギャップ型モータ
DE102007043575A1 (de) 2007-09-13 2009-03-26 Minebea Co., Ltd. Fluiddynamische Lagerstruktur und fluiddynamisches Lager
WO2009057667A1 (en) 2007-10-29 2009-05-07 Semiconductor Energy Laboratory Co., Ltd. Formation method of single crystal semiconductor layer, formation method of crystalline semiconductor layer, formation method of polycrystalline layer, and method for manufacturing semiconductor device
EP2231223B1 (en) 2007-12-27 2018-10-03 Heartware, Inc. Vad connector plug
US8157447B2 (en) * 2008-04-13 2012-04-17 Seagate Technology Llc Groove configuration for a fluid dynamic bearing
JP5171953B2 (ja) 2008-06-23 2013-03-27 テルモ株式会社 血液ポンプ装置
JP5347171B2 (ja) 2008-12-11 2013-11-20 ソラテック コーポレーション 遠心式ポンプ装置
US9067005B2 (en) 2008-12-08 2015-06-30 Thoratec Corporation Centrifugal pump apparatus
JP5378010B2 (ja) 2009-03-05 2013-12-25 ソラテック コーポレーション 遠心式ポンプ装置
US8770945B2 (en) 2009-03-06 2014-07-08 Thoratec Corporation Centrifugal pump apparatus
EP3490122B1 (en) 2009-07-29 2021-01-27 Thoratec Corporation Rotation drive device and centrifugal pump device
US9682180B2 (en) 2009-11-15 2017-06-20 Thoratec Corporation Attachment system, device and method
US20110118829A1 (en) 2009-11-15 2011-05-19 Thoratec Corporation Attachment device and method
JP5443197B2 (ja) 2010-02-16 2014-03-19 ソラテック コーポレーション 遠心式ポンプ装置
WO2011118325A1 (ja) 2010-03-26 2011-09-29 テルモ株式会社 遠心式血液ポンプ装置
JP5681403B2 (ja) 2010-07-12 2015-03-11 ソーラテック コーポレイション 遠心式ポンプ装置
JP5577506B2 (ja) 2010-09-14 2014-08-27 ソーラテック コーポレイション 遠心式ポンプ装置
JP5818897B2 (ja) 2010-09-24 2015-11-18 ソーラテック コーポレイション 人為的拍動の発生
JP2012200285A (ja) 2011-03-23 2012-10-22 Toshiba Corp 画像処理装置、x線ct装置、及び画像処理方法
EP2693609B1 (en) 2011-03-28 2017-05-03 Thoratec Corporation Rotation and drive device and centrifugal pump device using same
US8579790B2 (en) 2012-01-05 2013-11-12 Thoratec Corporation Apical ring for ventricular assist device

Also Published As

Publication number Publication date
EP2405141A1 (en) 2012-01-11
EP2405141B1 (en) 2014-04-09
JP2010203398A (ja) 2010-09-16
US20120003108A1 (en) 2012-01-05
WO2010101082A1 (ja) 2010-09-10
EP2405141A4 (en) 2012-12-19
US9381285B2 (en) 2016-07-05

Similar Documents

Publication Publication Date Title
JP5378010B2 (ja) 遠心式ポンプ装置
JP6083929B2 (ja) 遠心式ポンプ装置
JP5656835B2 (ja) 回転駆動装置およびそれを用いた遠心式ポンプ装置
JP5443197B2 (ja) 遠心式ポンプ装置
JP5577506B2 (ja) 遠心式ポンプ装置
JP5577503B2 (ja) 遠心式ポンプ装置
JP5681403B2 (ja) 遠心式ポンプ装置
JP5347171B2 (ja) 遠心式ポンプ装置
CN102239334B (zh) 离心式泵装置
JP5969979B2 (ja) 回転駆動装置およびそれを用いた遠心式ポンプ装置
JP5378012B2 (ja) 遠心式ポンプ装置
JP5693812B2 (ja) 遠心式ポンプ装置
JP5378060B2 (ja) 遠心式ポンプ装置
JP2012013043A (ja) 回転駆動装置およびそれを用いた遠心式ポンプ装置
JP2010131303A (ja) 遠心式ポンプ装置
JP2012205349A (ja) 回転駆動装置およびそれを用いた遠心式ポンプ装置
JP2016188591A (ja) 遠心式ポンプ装置
WO2016158172A1 (ja) 遠心式ポンプ装置

Legal Events

Date Code Title Description
A621 Written request for application examination

Free format text: JAPANESE INTERMEDIATE CODE: A621

Effective date: 20120227

A711 Notification of change in applicant

Free format text: JAPANESE INTERMEDIATE CODE: A711

Effective date: 20130705

A711 Notification of change in applicant

Free format text: JAPANESE INTERMEDIATE CODE: A711

Effective date: 20130725

TRDD Decision of grant or rejection written
A01 Written decision to grant a patent or to grant a registration (utility model)

Free format text: JAPANESE INTERMEDIATE CODE: A01

Effective date: 20130827

A61 First payment of annual fees (during grant procedure)

Free format text: JAPANESE INTERMEDIATE CODE: A61

Effective date: 20130925

R150 Certificate of patent or registration of utility model

Ref document number: 5378010

Country of ref document: JP

Free format text: JAPANESE INTERMEDIATE CODE: R150

Free format text: JAPANESE INTERMEDIATE CODE: R150

R250 Receipt of annual fees

Free format text: JAPANESE INTERMEDIATE CODE: R250

R250 Receipt of annual fees

Free format text: JAPANESE INTERMEDIATE CODE: R250

R250 Receipt of annual fees

Free format text: JAPANESE INTERMEDIATE CODE: R250

R250 Receipt of annual fees

Free format text: JAPANESE INTERMEDIATE CODE: R250

R250 Receipt of annual fees

Free format text: JAPANESE INTERMEDIATE CODE: R250

LAPS Cancellation because of no payment of annual fees