JP5259336B2 - 半導体装置及び半導体装置の製造方法 - Google Patents

半導体装置及び半導体装置の製造方法 Download PDF

Info

Publication number
JP5259336B2
JP5259336B2 JP2008273141A JP2008273141A JP5259336B2 JP 5259336 B2 JP5259336 B2 JP 5259336B2 JP 2008273141 A JP2008273141 A JP 2008273141A JP 2008273141 A JP2008273141 A JP 2008273141A JP 5259336 B2 JP5259336 B2 JP 5259336B2
Authority
JP
Japan
Prior art keywords
semiconductor device
heat sink
manufacturing
cutting
wiring board
Prior art date
Legal status (The legal status is an assumption and is not a legal conclusion. Google has not performed a legal analysis and makes no representation as to the accuracy of the status listed.)
Expired - Fee Related
Application number
JP2008273141A
Other languages
English (en)
Other versions
JP2010103297A (ja
JP2010103297A5 (ja
Inventor
祐子 佐藤
武彦 前田
史義 川城
Current Assignee (The listed assignees may be inaccurate. Google has not performed a legal analysis and makes no representation or warranty as to the accuracy of the list.)
Renesas Electronics Corp
Original Assignee
Renesas Electronics Corp
Priority date (The priority date is an assumption and is not a legal conclusion. Google has not performed a legal analysis and makes no representation as to the accuracy of the date listed.)
Filing date
Publication date
Application filed by Renesas Electronics Corp filed Critical Renesas Electronics Corp
Priority to JP2008273141A priority Critical patent/JP5259336B2/ja
Priority to US12/588,542 priority patent/US20100105170A1/en
Publication of JP2010103297A publication Critical patent/JP2010103297A/ja
Priority to US12/929,291 priority patent/US20110104872A1/en
Publication of JP2010103297A5 publication Critical patent/JP2010103297A5/ja
Priority to US13/610,460 priority patent/US20130005090A1/en
Application granted granted Critical
Publication of JP5259336B2 publication Critical patent/JP5259336B2/ja
Expired - Fee Related legal-status Critical Current
Anticipated expiration legal-status Critical

Links

Images

Classifications

    • HELECTRICITY
    • H01ELECTRIC ELEMENTS
    • H01LSEMICONDUCTOR DEVICES NOT COVERED BY CLASS H10
    • H01L21/00Processes or apparatus adapted for the manufacture or treatment of semiconductor or solid state devices or of parts thereof
    • H01L21/02Manufacture or treatment of semiconductor devices or of parts thereof
    • H01L21/04Manufacture or treatment of semiconductor devices or of parts thereof the devices having potential barriers, e.g. a PN junction, depletion layer or carrier concentration layer
    • H01L21/50Assembly of semiconductor devices using processes or apparatus not provided for in a single one of the groups H01L21/18 - H01L21/326 or H10D48/04 - H10D48/07 e.g. sealing of a cap to a base of a container
    • H01L21/56Encapsulations, e.g. encapsulation layers, coatings
    • H01L21/561Batch processing
    • HELECTRICITY
    • H01ELECTRIC ELEMENTS
    • H01LSEMICONDUCTOR DEVICES NOT COVERED BY CLASS H10
    • H01L23/00Details of semiconductor or other solid state devices
    • H01L23/34Arrangements for cooling, heating, ventilating or temperature compensation ; Temperature sensing arrangements
    • H01L23/42Fillings or auxiliary members in containers or encapsulations selected or arranged to facilitate heating or cooling
    • H01L23/433Auxiliary members in containers characterised by their shape, e.g. pistons
    • H01L23/4334Auxiliary members in encapsulations
    • HELECTRICITY
    • H01ELECTRIC ELEMENTS
    • H01LSEMICONDUCTOR DEVICES NOT COVERED BY CLASS H10
    • H01L24/00Arrangements for connecting or disconnecting semiconductor or solid-state bodies; Methods or apparatus related thereto
    • H01L24/93Batch processes
    • H01L24/95Batch processes at chip-level, i.e. with connecting carried out on a plurality of singulated devices, i.e. on diced chips
    • H01L24/97Batch processes at chip-level, i.e. with connecting carried out on a plurality of singulated devices, i.e. on diced chips the devices being connected to a common substrate, e.g. interposer, said common substrate being separable into individual assemblies after connecting
    • HELECTRICITY
    • H01ELECTRIC ELEMENTS
    • H01LSEMICONDUCTOR DEVICES NOT COVERED BY CLASS H10
    • H01L2224/00Indexing scheme for arrangements for connecting or disconnecting semiconductor or solid-state bodies and methods related thereto as covered by H01L24/00
    • H01L2224/01Means for bonding being attached to, or being formed on, the surface to be connected, e.g. chip-to-package, die-attach, "first-level" interconnects; Manufacturing methods related thereto
    • H01L2224/10Bump connectors; Manufacturing methods related thereto
    • H01L2224/15Structure, shape, material or disposition of the bump connectors after the connecting process
    • H01L2224/16Structure, shape, material or disposition of the bump connectors after the connecting process of an individual bump connector
    • HELECTRICITY
    • H01ELECTRIC ELEMENTS
    • H01LSEMICONDUCTOR DEVICES NOT COVERED BY CLASS H10
    • H01L2224/00Indexing scheme for arrangements for connecting or disconnecting semiconductor or solid-state bodies and methods related thereto as covered by H01L24/00
    • H01L2224/01Means for bonding being attached to, or being formed on, the surface to be connected, e.g. chip-to-package, die-attach, "first-level" interconnects; Manufacturing methods related thereto
    • H01L2224/10Bump connectors; Manufacturing methods related thereto
    • H01L2224/15Structure, shape, material or disposition of the bump connectors after the connecting process
    • H01L2224/16Structure, shape, material or disposition of the bump connectors after the connecting process of an individual bump connector
    • H01L2224/161Disposition
    • H01L2224/16135Disposition the bump connector connecting between different semiconductor or solid-state bodies, i.e. chip-to-chip
    • H01L2224/16145Disposition the bump connector connecting between different semiconductor or solid-state bodies, i.e. chip-to-chip the bodies being stacked
    • HELECTRICITY
    • H01ELECTRIC ELEMENTS
    • H01LSEMICONDUCTOR DEVICES NOT COVERED BY CLASS H10
    • H01L2224/00Indexing scheme for arrangements for connecting or disconnecting semiconductor or solid-state bodies and methods related thereto as covered by H01L24/00
    • H01L2224/01Means for bonding being attached to, or being formed on, the surface to be connected, e.g. chip-to-package, die-attach, "first-level" interconnects; Manufacturing methods related thereto
    • H01L2224/42Wire connectors; Manufacturing methods related thereto
    • H01L2224/47Structure, shape, material or disposition of the wire connectors after the connecting process
    • H01L2224/48Structure, shape, material or disposition of the wire connectors after the connecting process of an individual wire connector
    • H01L2224/4805Shape
    • H01L2224/4809Loop shape
    • H01L2224/48091Arched
    • HELECTRICITY
    • H01ELECTRIC ELEMENTS
    • H01LSEMICONDUCTOR DEVICES NOT COVERED BY CLASS H10
    • H01L2224/00Indexing scheme for arrangements for connecting or disconnecting semiconductor or solid-state bodies and methods related thereto as covered by H01L24/00
    • H01L2224/01Means for bonding being attached to, or being formed on, the surface to be connected, e.g. chip-to-package, die-attach, "first-level" interconnects; Manufacturing methods related thereto
    • H01L2224/42Wire connectors; Manufacturing methods related thereto
    • H01L2224/47Structure, shape, material or disposition of the wire connectors after the connecting process
    • H01L2224/48Structure, shape, material or disposition of the wire connectors after the connecting process of an individual wire connector
    • H01L2224/481Disposition
    • H01L2224/48151Connecting between a semiconductor or solid-state body and an item not being a semiconductor or solid-state body, e.g. chip-to-substrate, chip-to-passive
    • H01L2224/48221Connecting between a semiconductor or solid-state body and an item not being a semiconductor or solid-state body, e.g. chip-to-substrate, chip-to-passive the body and the item being stacked
    • H01L2224/48225Connecting between a semiconductor or solid-state body and an item not being a semiconductor or solid-state body, e.g. chip-to-substrate, chip-to-passive the body and the item being stacked the item being non-metallic, e.g. insulating substrate with or without metallisation
    • H01L2224/48227Connecting between a semiconductor or solid-state body and an item not being a semiconductor or solid-state body, e.g. chip-to-substrate, chip-to-passive the body and the item being stacked the item being non-metallic, e.g. insulating substrate with or without metallisation connecting the wire to a bond pad of the item
    • HELECTRICITY
    • H01ELECTRIC ELEMENTS
    • H01LSEMICONDUCTOR DEVICES NOT COVERED BY CLASS H10
    • H01L2224/00Indexing scheme for arrangements for connecting or disconnecting semiconductor or solid-state bodies and methods related thereto as covered by H01L24/00
    • H01L2224/93Batch processes
    • H01L2224/95Batch processes at chip-level, i.e. with connecting carried out on a plurality of singulated devices, i.e. on diced chips
    • H01L2224/97Batch processes at chip-level, i.e. with connecting carried out on a plurality of singulated devices, i.e. on diced chips the devices being connected to a common substrate, e.g. interposer, said common substrate being separable into individual assemblies after connecting
    • HELECTRICITY
    • H01ELECTRIC ELEMENTS
    • H01LSEMICONDUCTOR DEVICES NOT COVERED BY CLASS H10
    • H01L23/00Details of semiconductor or other solid state devices
    • H01L23/28Encapsulations, e.g. encapsulating layers, coatings, e.g. for protection
    • H01L23/31Encapsulations, e.g. encapsulating layers, coatings, e.g. for protection characterised by the arrangement or shape
    • H01L23/3107Encapsulations, e.g. encapsulating layers, coatings, e.g. for protection characterised by the arrangement or shape the device being completely enclosed
    • H01L23/3121Encapsulations, e.g. encapsulating layers, coatings, e.g. for protection characterised by the arrangement or shape the device being completely enclosed a substrate forming part of the encapsulation
    • H01L23/3128Encapsulations, e.g. encapsulating layers, coatings, e.g. for protection characterised by the arrangement or shape the device being completely enclosed a substrate forming part of the encapsulation the substrate having spherical bumps for external connection
    • HELECTRICITY
    • H01ELECTRIC ELEMENTS
    • H01LSEMICONDUCTOR DEVICES NOT COVERED BY CLASS H10
    • H01L24/00Arrangements for connecting or disconnecting semiconductor or solid-state bodies; Methods or apparatus related thereto
    • H01L24/01Means for bonding being attached to, or being formed on, the surface to be connected, e.g. chip-to-package, die-attach, "first-level" interconnects; Manufacturing methods related thereto
    • H01L24/42Wire connectors; Manufacturing methods related thereto
    • H01L24/47Structure, shape, material or disposition of the wire connectors after the connecting process
    • H01L24/48Structure, shape, material or disposition of the wire connectors after the connecting process of an individual wire connector
    • HELECTRICITY
    • H01ELECTRIC ELEMENTS
    • H01LSEMICONDUCTOR DEVICES NOT COVERED BY CLASS H10
    • H01L2924/00Indexing scheme for arrangements or methods for connecting or disconnecting semiconductor or solid-state bodies as covered by H01L24/00
    • H01L2924/0001Technical content checked by a classifier
    • H01L2924/00011Not relevant to the scope of the group, the symbol of which is combined with the symbol of this group
    • HELECTRICITY
    • H01ELECTRIC ELEMENTS
    • H01LSEMICONDUCTOR DEVICES NOT COVERED BY CLASS H10
    • H01L2924/00Indexing scheme for arrangements or methods for connecting or disconnecting semiconductor or solid-state bodies as covered by H01L24/00
    • H01L2924/0001Technical content checked by a classifier
    • H01L2924/00014Technical content checked by a classifier the subject-matter covered by the group, the symbol of which is combined with the symbol of this group, being disclosed without further technical details
    • HELECTRICITY
    • H01ELECTRIC ELEMENTS
    • H01LSEMICONDUCTOR DEVICES NOT COVERED BY CLASS H10
    • H01L2924/00Indexing scheme for arrangements or methods for connecting or disconnecting semiconductor or solid-state bodies as covered by H01L24/00
    • H01L2924/01Chemical elements
    • H01L2924/01005Boron [B]
    • HELECTRICITY
    • H01ELECTRIC ELEMENTS
    • H01LSEMICONDUCTOR DEVICES NOT COVERED BY CLASS H10
    • H01L2924/00Indexing scheme for arrangements or methods for connecting or disconnecting semiconductor or solid-state bodies as covered by H01L24/00
    • H01L2924/01Chemical elements
    • H01L2924/01006Carbon [C]
    • HELECTRICITY
    • H01ELECTRIC ELEMENTS
    • H01LSEMICONDUCTOR DEVICES NOT COVERED BY CLASS H10
    • H01L2924/00Indexing scheme for arrangements or methods for connecting or disconnecting semiconductor or solid-state bodies as covered by H01L24/00
    • H01L2924/01Chemical elements
    • H01L2924/01011Sodium [Na]
    • HELECTRICITY
    • H01ELECTRIC ELEMENTS
    • H01LSEMICONDUCTOR DEVICES NOT COVERED BY CLASS H10
    • H01L2924/00Indexing scheme for arrangements or methods for connecting or disconnecting semiconductor or solid-state bodies as covered by H01L24/00
    • H01L2924/01Chemical elements
    • H01L2924/01013Aluminum [Al]
    • HELECTRICITY
    • H01ELECTRIC ELEMENTS
    • H01LSEMICONDUCTOR DEVICES NOT COVERED BY CLASS H10
    • H01L2924/00Indexing scheme for arrangements or methods for connecting or disconnecting semiconductor or solid-state bodies as covered by H01L24/00
    • H01L2924/01Chemical elements
    • H01L2924/01023Vanadium [V]
    • HELECTRICITY
    • H01ELECTRIC ELEMENTS
    • H01LSEMICONDUCTOR DEVICES NOT COVERED BY CLASS H10
    • H01L2924/00Indexing scheme for arrangements or methods for connecting or disconnecting semiconductor or solid-state bodies as covered by H01L24/00
    • H01L2924/01Chemical elements
    • H01L2924/01029Copper [Cu]
    • HELECTRICITY
    • H01ELECTRIC ELEMENTS
    • H01LSEMICONDUCTOR DEVICES NOT COVERED BY CLASS H10
    • H01L2924/00Indexing scheme for arrangements or methods for connecting or disconnecting semiconductor or solid-state bodies as covered by H01L24/00
    • H01L2924/01Chemical elements
    • H01L2924/01033Arsenic [As]
    • HELECTRICITY
    • H01ELECTRIC ELEMENTS
    • H01LSEMICONDUCTOR DEVICES NOT COVERED BY CLASS H10
    • H01L2924/00Indexing scheme for arrangements or methods for connecting or disconnecting semiconductor or solid-state bodies as covered by H01L24/00
    • H01L2924/15Details of package parts other than the semiconductor or other solid state devices to be connected
    • H01L2924/151Die mounting substrate
    • H01L2924/153Connection portion
    • H01L2924/1531Connection portion the connection portion being formed only on the surface of the substrate opposite to the die mounting surface
    • H01L2924/15311Connection portion the connection portion being formed only on the surface of the substrate opposite to the die mounting surface being a ball array, e.g. BGA
    • HELECTRICITY
    • H01ELECTRIC ELEMENTS
    • H01LSEMICONDUCTOR DEVICES NOT COVERED BY CLASS H10
    • H01L2924/00Indexing scheme for arrangements or methods for connecting or disconnecting semiconductor or solid-state bodies as covered by H01L24/00
    • H01L2924/15Details of package parts other than the semiconductor or other solid state devices to be connected
    • H01L2924/181Encapsulation
    • HELECTRICITY
    • H01ELECTRIC ELEMENTS
    • H01LSEMICONDUCTOR DEVICES NOT COVERED BY CLASS H10
    • H01L2924/00Indexing scheme for arrangements or methods for connecting or disconnecting semiconductor or solid-state bodies as covered by H01L24/00
    • H01L2924/15Details of package parts other than the semiconductor or other solid state devices to be connected
    • H01L2924/181Encapsulation
    • H01L2924/1815Shape

Landscapes

  • Engineering & Computer Science (AREA)
  • Computer Hardware Design (AREA)
  • Microelectronics & Electronic Packaging (AREA)
  • Power Engineering (AREA)
  • Physics & Mathematics (AREA)
  • Condensed Matter Physics & Semiconductors (AREA)
  • General Physics & Mathematics (AREA)
  • Manufacturing & Machinery (AREA)
  • Encapsulation Of And Coatings For Semiconductor Or Solid State Devices (AREA)
  • Cooling Or The Like Of Semiconductors Or Solid State Devices (AREA)

Description

本発明は、半導体装置及び半導体装置の製造方法に関する。
半導体装置の一形態として、BGA(Ball Grid Array)タイプがある。図1には、半導体パッケージの一例として、BGAタイプの半導体装置が記載されている。この半導体装置は、配線基板1と、半導体チップ2と、放熱板5(ヒートスプレッダ)と、ボール状電極群8とを備えている。半導体チップは、配線基板1の主面上に配置されており、ワイヤ3を介して配線基板1と電気的に接続されている。また、半導体チップ2は、封止樹脂4によって封止されている。放熱板5は、封止樹脂4上に配置されており、材質は例えば熱伝導率の高い銅などが用いられる。ボール状電極群8は、配線基板の裏面に形成されている。
半導体パッケージの製造方法として、MAP(Mold Array Package)方式が知られている。図2乃至図5を参照して、MAP方式の一例について説明する。まず、図2に示されるように、配線基板1を用意する。配線基板1の主面上には、製品エリア20が設定される。製品エリア20には、複数の単位製品エリア21が設定される。複数の単位製品エリア21の各々は、最終的に一つの半導体パッケージとなるエリアである。図3に示されるように、各単位製品エリア21に、半導体チップ2を搭載する。その後、図4に示されるように、ワイヤボンディングにより、半導体チップ2と配線基板1とを電気的に接続する。その後、図5に示されるように、製品エリア20の上方に放熱板5を配置し、放熱板5と配線基板1との間に封止樹脂4を供給する。封止樹脂4により、製品エリア20において、半導体チップ2が一括して封止される。
その後、得られた樹脂封止体は、各単位製品エリア21に対応して切断される。これにより、複数の半導体装置が得られる。
MAP方式に関連する技術として、特許文献1(特開平11−214596号公報)が挙げられる。また、特許文献2(特開2006−294832号公報)には、ヒートスプレッダの形成方法に関する技術が記載されている。
ところで、図5で示したような構造体を切断するにあたっては、円盤状のブレードが用いられる。関連して、特許文献3(特開2003−249512号公報)の段落[0055]には、封止部及び基板を集合体(放熱体)ごと切断することが記載されている。
また、特許文献4(特開2000−183218号公報)、特許文献5(特開2003−37236号公報)、及び特許文献6(特開平4−307961号公報)にも、切断に関する技術が記載されている。
特開平11−214596号公報 特開2006−294832号公報 特開2003−249512号公報 特開2000−183218号公報 特開2003−37236号公報 特開平4−307961号公報
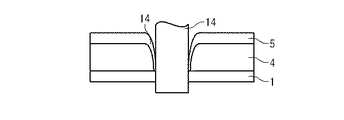
しかしながら、特許文献3(特開2003−249512号公報)に記載の切断方法では以下の問題があることを発明者らは見いだした。配線基板、封止樹脂層、及び放熱板の積層体をブレードによって配線基板側から一度に切断した場合、放熱板(例えば、銅)は軟らかく展性があるため、切断面(端部)にはバリが発生してしまうことがある(図6)。このバリは導電性のため、バリまたは剥がれたバリの破片が半導体装置に付着したまま実装ボードに実装すると電極間や実装ボードの配線間でショートする可能性がある。
以下に、[発明を実施するための最良の形態]で使用する括弧付き符号を用いて、課題を解決するための手段を説明する。これらの符号は、[特許請求の範囲]の記載と[発明を実施するための最良の形態]の記載との対応関係を明らかにするために付加されたものであるが、[特許請求の範囲]に記載されている発明の技術的範囲の解釈に用いてはならない。
本発明に係る半導体装置の製造方法は、配線基板(1)の主面上に複数の半導体チップを実装する工程(S10)と、複数の半導体チップの上方に放熱板(5)を配置する工程(S20)と、放熱板(5)と配線基板(1)との間に封止樹脂(4)を供給して複数の半導体チップを封止し、樹脂封止体(10)を作製する工程(S30)と、樹脂封止体(10)を切断する工程(S50)とを具備する。切断する工程(S50)は、樹脂封止体(10)を放熱板(5)側から削る工程(S51)と、樹脂封止体(10)を配線基板(1)側から削る工程(S52)とを備える。
樹脂封止体(10)を配線基板(1)側から一度に切断した場合には、放熱板(5)に対して、支えのない方向である、封止樹脂(4)と反対側に力が加わる。そのため、放熱板(5)の端面にバリが発生し易くなる。
これに対して、上述の発明によれば、放熱板(5)側から削る工程(S51)により、放熱板(5)の少なくとも一部が削られる。この工程において、放熱板(5)が引っ張られる方向には、封止樹脂(4)が設けられている。封止樹脂(4)により、放熱板(5)が押さえられるので、放熱板(5)の変形は抑えられる。また、配線基板(1)側から削る工程(S52)では、放熱板(5)は、全く削られる必要がないか、一部が削られるだけでよい。放熱板(5)において、支えの無い方向に向かって削られる量を少なくすることができる。その結果、バリの発生を抑えることができる。
また、逆に、樹脂封止体(10)を放熱板(5)側から一度に切断した場合について考える。この場合、ブレードは、先端部分で放熱板(1)に接触してから、少なくとも配線基板の裏側(封止樹脂とは反対側)に達するまで、樹脂封止体(10)に押し込まれる。この間、放熱板(5)は、ブレードとの摩擦力により引っ張られることになる。その結果、放熱板(5)の展性により、放熱板(5)が配線基板方向に一部変形してしまうことがある。
これに対して、上述の発明によれば、配線基板(1)側から削る工程(S52)により、樹脂封止体(10)の板厚方向における少なくとも一部が、配線基板(1)側から削られる。従って、放熱板(5)側からは、板厚方向における一部を削るだけでよい。放熱板(5)が切断時に引っ張られることもなく、放熱板(5)の変形が抑制される。
本発明によれば、放熱板にバリが発生することを抑制することのできる、半導体装置及び半導体装置の製造方法が提供される。
(第1の実施形態)
以下、図面を参照しつつ、第1の実施形態について説明する。
本実施形態によって製造される半導体装置は、図1で示した半導体装置と同様の構造である。すなわち、本実施形態に係る半導体装置は、配線基板1と、配線基板1の主面上に実装された半導体チップ2と、半導体チップ2を封止する封止樹脂4と、封止樹脂4上に載置された放熱板5とを備えている。また、配線基板1の裏面には、ボール状電極群8が形成されている。
配線基板1としては、例えば、ガラス繊維に樹脂を含浸させた絶縁層と銅配線層とが積層されたガラスエポキシ基板、などが用いられる。配線基板1の板厚は、例えば、0.3mm〜0.6mmである。
封止樹脂4は、半導体チップ2を保護し、放熱板5を接着する役割を果たしている。封止樹脂4の厚みは、例えば、0.3〜1.2mmである。
放熱板5は、半導体チップ2により発生した熱を放熱する為に設けられている。放熱板5としては、熱伝導性の観点から、金属製の板が好ましく用いられる。より具体的には、放熱板5として、銅、アルミニウム、鉄などが用いられる。放熱板5の厚みは、例えば、0.1〜0.5mmである。また、放熱板表面は被膜を施したものでも良い。例えば、塗膜を施したり、アルマイト処理等の表面処理を行ったものでも良い。
続いて、半導体装置の製造方法について説明する。図7は、本実施形態に係る半導体装置の製造方法を示すフローチャートである。また、図8A乃至図8Gは、この半導体装置の製造方法を示す工程断面図である。
ステップS10;半導体チップの実装
まず、図8Aに示されるように、配線基板1を用意し、配線基板1の主面上に複数の半導体チップ2を搭載する。
ステップS15;ワイヤボンディング
続いて、図8Bに示されるように、ワイヤボンディングを行い、複数の半導体チップ2の各々を、ワイヤ3を介して配線基板1に電気的に接続する。
ステップS20;放熱板の配置
続いて、図8Cに示されるように、放熱板5を半導体チップの上方に、配線基板1の主面と対向するように配置する。
ステップS30;封止
そして、配線基板1と放熱板5との間に、封止樹脂4を供給し、硬化する。これにより、複数の半導体チップ2が封止樹脂4により一括して封止される。
ステップS40;ボールマウント
続いて、図8Dに示されるように、配線基板1の裏面に、ボール状電極群8を形成する。これにより、樹脂封止体10が得られる。
ステップS50;切断
続いて、円盤状のブレードを回転させて樹脂封止体10に当接させ、樹脂封止体10を切断する。
具体的には、まず、図8Eに示されるように、ブレード6を用いて、樹脂封止体10を、放熱板5側から削る(S51)。このとき、樹脂封止体10は、例えば、放熱板5側が上側となるようにステージ(図示せず)上に配置された状態で、削られる。削る深さは、放熱板の少なくとも一部が削られていればよい。ボール状電極群8により、樹脂封止体10が位置的に不安定になることがある。そこで、樹脂封止体10を安定させる為、ステージと樹脂封止体10との間に、ボール状電極群8よりも低弾性シート12を配置することが好ましい。弾性シート12を配置すれば、ブレード6により加えられる力により、ボール状電極群8がつぶれてしまうことも防止できる。
放熱板5側から削る工程(S51)の後に、図8Fに示されるように、樹脂封止体10を、裏面(ボール状電極群8が形成された面)が上向きになるように、配置する。円盤状のブレード9を用いて、樹脂封止体10を、配線基板1側から削る(S52)。本ステップにより、図8Gに示されるように、樹脂封止体10から複数の半導体装置11が切り分けられる。この際、放熱板5の表面に傷が付かないように、ステップS51と同様に、ステージと放熱板5との間に弾性シートを配置することが望ましい。
以上のステップS10〜S50までの工程により、本実施形態に係る半導体装置が得られる。本実施形態によれば、樹脂封止体10を切断する工程(S50)において、放熱板5側から削る工程(S51)と、配線板側から削る工程(S52)との双方が実施されるので、バリが抑制される。この理由について、以下に詳述する。
樹脂封止体を配線基板側から一度に切断した場合について考える。図9Aは、樹脂封止体を配線基板側から一度に切断した場合の様子を示す説明図である。樹脂封止体において、放熱板はブレード15との摩擦力により、放熱板を封止樹脂とは反対側に向かう応力が働く。放熱板の封止樹脂と反対側には放熱板の変形を遮るものがないため、放熱板にバリが形成され易くなる。
これに対して、本実施形態によれば、放熱板5側から削る工程(S51)により、放熱板5の少なくとも一部が削られる。この工程において、放熱板5が引っ張られる方向には、封止樹脂4が設けられている。封止樹脂4により、放熱板5が押さえられるので、放熱板5の変形は少ない。また、放熱板5側から削る工程(S51)において放熱板5の一部が削られるので、配線基板1側から削る工程(S52)では、放熱板5は、全く削られる必要がないか、一部が削られるだけでよい。従って、放熱板5において、遮るものが無い方向(配線基板1から放熱板1に向かう方向)に向かって削られる量を少なくすることができる。その結果、バリの発生を抑えることができる。
逆に、樹脂封止体を放熱板側から一度に切断した場合について考える。図9B及び図9Cは、樹脂封止体を放熱板側から一度に切断した場合の様子を示す説明図である。この場合、ブレード15は、先端部分で放熱板に接触してから(図9B)、配線基板の封止樹脂とは反対側の面に達するまで(図9C)、押し込まれる。この間、放熱板には、ブレード15との摩擦力により引っ張られる応力が働く。ブレード15は深く押し込まれるので、放熱板に加わる力の量も大きくなる。そのため、放熱板が引っ張られる方向には封止樹脂が設けられているにも関わらず、放熱板が変形し、バリが発生してしまうことがある。
これに対して、本実施形態によれば、配線基板側から削る工程(S52)により、樹脂封止体10の板厚方向における少なくとも一部が、配線基板1側から削られる。従って、放熱板5側から削る工程(S51)では、板厚方向における一部を削るだけでよい。放熱板5に加わる力(引っ張り力)の量を小さくすることができ、バリを抑制することができる。通常バリが発生すると、製品安全性の観点からバリを除去する必要があるが、本発明ではバリの発生が抑制されるため、バリの除去工程が不要となる。そのため、ブレードでの切断工程が2工程となるが、バリ除去工程が不要のため工程数増加とはならない。
続いて、切断する工程(S50)で用いられる円盤状のブレードについて説明する。
放熱板側から削る工程(S51)で用いられるブレード6(以下、放熱板用ブレード6)に対しては、展性のある放熱板5を削ることが求められる。展性があるため、ブレード6の目詰まりを防ぐために、刃先に、粗い(サイズが大きい)砥粒(例えば、ダイアモンド粒)が配置されたブレードが用いられる。また、砥粒が熱硬化性樹脂により刃先に結着したタイプのブレードが用いられる。
これに対して、配線板側から削る工程(S52)で用いられるブレード9(以下、配線板用ブレード9)に対しては、配線基板1及び封止樹脂4を削ることが求められる。配線板ブレード9として放熱板用ブレード6と同じタイプのブレードを用いると、砥粒が粗いため封止樹脂4の切断面が粗くなってしまう。そのため、配線板用ブレード9としては、放熱板用ブレード6よりも細かい(サイズが小さい)砥粒(例えば、ダイアモンド粒)が配置されたブレードが、好ましく用いられる。
また、放熱板用ブレード6と配線板用ブレード9とは、ブレードの厚みが異なっていることが好ましい。具体的には、後の工程で用いられるブレードの方が、先の工程で用いられるブレードよりも、刃厚が薄いことが好ましい。すなわち、本実施形態の場合、放熱板用ブレード6の厚みの方が、配線板用ブレード9よりも厚いことが好ましい。図10Aに示されるように、放熱板用ブレード6の厚みがaであるとする。このとき、放熱板5側から削る工程(S51)により、溝幅がほぼaの溝が形成される(図10B参照)。また、図10Bに示されるように、配線板用ブレード9の厚みがbであるとする。厚みbが厚みaよりも小さい場合、配線板側から削る工程(S52)において配線板用ブレード9の位置が多少ずれていたとしても、バリを発生させずに樹脂封止体10を切断することができる。この場合の出来上がり構造を図13Dに示す。放熱板の切断面は、配線基板の切断面よりも内側にある。そのため、放熱板と配線基板の切断面がそろっている場合よりも、放熱板が剥がれにくいという効果が得られる。
また、図10Aに示すように、放熱板用ブレード6の刃先の形状は、丸くなっていてもよい。この場合、切断後の形状は図10Cのようになる。さらに、ブレードの先端が先鋭形状であってもよい。例えば、図11Aに示されるように、先端がV字形状に先鋭となっている事が好ましい。先端形状が先鋭であるブレード6を用いれば、図11Bに示されるように、V字状の溝7が形成される。刃先の先端が先鋭であるブレード6を用いれば、図11Cに示されるように、放熱板5の切断面と放熱板の上面とのなす部分の角度は緩やかになっており、自動的に放熱板端部で面取り加工したのと同じ効果が得られる。
続いて、放熱板5側から削る工程(S51)において樹脂封止体10が削られる深さ(以下、第1深さt)について説明する。
図12A及び図12Bを参照して、好ましい第1深さtについて説明する。第1深さtは、放熱板5が完全に分断されるような深さであることが好ましい。すなわち、第1深さtは、放熱板5の板厚以上であることが好ましい。第1深さtが放熱板の板厚よりも浅い場合、図12Aに示されるように、放熱板5の一部が残存することになる。従って、配線基板1側から削る工程(S52)において、放熱板5の一部を削らなければならない。放熱板5の全てを配線基板1側から削る場合と比較すればバリの発生は抑制されるものの、押さえるものが無い方向に放熱板5が引っ張られることになるので、多少のバリの発生は懸念される。これに対して、第1深さtが放熱板5が完全に分断されるような深さであれば、配線基板1側から削る工程(S52)において、放熱板5を削る必要がない。従って、放熱板5が押さえるものが無い方向に引っ張られることがなく、より確実にバリの発生を抑えることができる。
また、第1深さtは、配線基板1に到達しないような深さであることが好ましい。放熱板5側から削る工程(S51)において、樹脂封止体10を配線基板1に達するまで削った場合、図12Bに示されるように、ブレード6に引っ張られた放熱板5が配線基板1に接触してしまうことが懸念される。放熱板5が配線基板1に接触した場合、配線基板1上に形成された配線パターンがショートすることも懸念される。第1深さtが配線基板1に到達しないような深さであれば、このような懸念は解消される。
より好ましくは、第1深さtは、「放熱板5の板厚+0.2mm」以下の深さである。既述のように、放熱板用ブレード6としては、砥粒が密に配置されたブレードが用いることが好ましい。そのようなブレード6を用いて、封止樹脂4を大量に削ると、ブレード6が目詰まりしてしまうことがある。第1深さtが、「放熱板5の板厚+0.2mm」以下であれば、放熱板用ブレード6により封止樹脂4が削られる量を十分に少なくすることができ、ブレード6の目詰まりを防止できる。
尚、本実施形態では、放熱板5側から削る工程(S51)を先に実施し、配線基板1側から削る工程(S52)を後に実施した。但し、放熱板5側から削る工程(S51)と配線基板1側から削る工程(S52)との順番は、限定されるものではない。例えば、先に配線基板1側から削る工程(S52)が実施され、その後、放熱板5側から削る工程(S51)が実施されてもよい。
また、本実施形態では、半導体装置として、図1で例示した半導体チップ2と配線基板1とをワイヤで接続したBGAタイプの半導体装置を例に挙げて説明した。しかし、半導体装置の構造は、図1に示した例に限定されるものではない。例えば、図13Aに示される、複数の半導体チップ2を配線基板1に積層したスタックドMCP(Multi Chip Package)であってもよいし、複数の半導体チップ2を配線基板1に平置きした平面MCPであってもよい。スタックド/平面MCPでは、一つの半導体装置内に複数の半導体チップ2が設けられる。複数の半導体チップ2の各々は、ワイヤ3を介して配線基板1に接続される。また、本実施形態における半導体装置は、図13Bに例示される、FCBGA(Flipchip Ball Grid Array)であってもよい。FCBGAでは、半導体チップ2は、電極形成面が配線基板1と対向するように配置される。また、本実施形態における半導体装置は、図13Cに例示される、COC(Chip on Chip)/ワイヤ混載タイプの半導体装置であってもよい。COC/ワイヤ混載タイプの半導体装置内には、複数の半導体チップ2が設けられる。複数の半導体チップ2は、ワイヤ3を介して配線基板1と接続された第1の半導体チップと、第1の半導体チップ上に形成された第2の半導体チップとを備えている。第2の半導体チップは、電極形成面が第1の半導体チップと対向するように配置される。FCBGAやCOC/ワイヤ搭載タイプの半導体装置の場合、放熱板5は半導体チップ2の裏面と接していても、また接していなくてもよいが、接していた方が放熱性の観点から好ましい。
(第2の実施形態)
続いて、本発明の第2の実施形態について説明する。図14は、本実施形態に係る半導体装置の製造方法を示すフローチャートである。本実施形態では、第1の実施形態に対して、ボールマウント工程(S40)の順番が異なっている。それ以外の点については、第1の実施形態と同様とすることができるので、詳細な説明は省略する。
図15A乃至図15Dは、本実施形態に係る半導体装置の製造方法を示す工程断面図である。
第1の実施形態と同様に、ステップS10〜ステップS30までの処理を行う。ステップS30の終了後に、放熱板側から削る工程(S51)が実施される(図15A参照)。その後に、ボールマウント工程(S40)が実施される(図15B参照)。その後、配線基板1側から削る工程(S52)が実施される(図15C参照)。配線基板1側から削る工程(S52)の終了後に、半導体装置の個片が得られる(図15D参照)。
本実施形態によれば、ボールマウント工程が、放熱板側から削る工程(S51)の後に行われる。従って、放熱板側から削る工程(S51)においては、ボール状電極群8が形成されていない。よって、第1の実施形態のように弾性シート12などを用いなくても、樹脂封止体10を安定させることができる。
(第3の実施形態)
続いて、本発明の第3の実施形態について説明する。本実施形態では、既述の実施形態に対して、放熱板5側から削る工程(S51)における動作が工夫されている。その他の点については、既述の実施形態と同様とすることができるので、詳細な説明は省略する。
図16A乃至図16Bは、放熱板5側から削る工程(S51)の動作を示す工程断面図である。
まず、図16Aに示されるように、樹脂封止体10の放熱板5上に、レジスト13を塗布する。そして、レジスト13に、切断予定部分に沿って開口を形成する。
続いて、図16Bに示されるように、レジスト13をマスクとして、エッチング液により、放熱板5をケミカルエッチングする。その後、レジスト13を除去する(図示せず)。
その後は、既述の実施形態と同様に、配線基板1側から削る工程(S52)等を経て、複数の半導体装置11が得られる。
本実施形態によれば、放熱板5は、ブレードで機械的に削るのではなく、エッチング液により削られる。ケミカルエッチングを用いれば、放熱板5がブレードにより引っ張られることは無い。従って、放熱板5にバリが形成されることを、より確実に防止することができる。
BGAタイプの半導体装置を示す概略図である。 半導体装置の製造方法を示す説明図である。 半導体装置の製造方法を示す説明図である。 半導体装置の製造方法を示す説明図である。 半導体装置の製造方法を示す説明図である。 放熱板のバリを説明するための説明図である。 第1の実施形態に係る半導体装置の製造方法を示すフローチャートである。 第1の実施形態に係る半導体装置の製造方法を示す工程断面図である。 第1の実施形態に係る半導体装置の製造方法を示す工程断面図である。 第1の実施形態に係る半導体装置の製造方法を示す工程断面図である。 第1の実施形態に係る半導体装置の製造方法を示す工程断面図である。 第1の実施形態に係る半導体装置の製造方法を示す工程断面図である。 第1の実施形態に係る半導体装置の製造方法を示す工程断面図である。 第1の実施形態に係る半導体装置の製造方法を示す工程断面図である。 放熱板にバリが形成される様子を示す説明図である。 放熱板にバリが形成される様子を示す説明図である。 放熱板にバリが形成される様子を示す説明図である。 ブレードの厚みの違いを説明する為の説明図である。 ブレードの厚みの違いを説明する為の説明図である。 ブレードの厚みの違いを説明する為の説明図である。 先端が先鋭な形状であるブレードを説明する為の説明図である。 先端が先鋭な形状であるブレードを説明する為の説明図である。 先端が先鋭な形状であるブレードを説明する為の説明図である。 第1深さtを説明する為の説明図である。 第1深さtを説明する為の説明図である。 半導体装置の構造を示す概略図である。 半導体装置の構造を示す概略図である。 半導体装置の構造を示す概略図である。 半導体装置の構造を示す概略図である。 第2の実施形態に係る半導体装置の製造方法を示すフローチャートである。 第2の実施形態に係る半導体装置の製造方法を示す工程断面図である。 第2の実施形態に係る半導体装置の製造方法を示す工程断面図である。 第2の実施形態に係る半導体装置の製造方法を示す工程断面図である。 第2の実施形態に係る半導体装置の製造方法を示す工程断面図である。 第3の実施形態に係る半導体装置の製造方法を示す工程断面図である。 第3の実施形態に係る半導体装置の製造方法を示す工程断面図である。
符号の説明
1 配線基板
2 半導体チップ
3 ワイヤ
4 封止樹脂
5 放熱板
6 第1のブレード
7 溝
8 ボール電極
9 第2のブレード
10 樹脂封止体
11 半導体装置
12 弾性シート
13 レジストマスク
14 バリ
15 ブレード
20 製品エリア
21 単位製品エリア

Claims (11)

  1. 配線基板の主面上に複数の半導体チップを搭載する工程と、
    前記複数の半導体チップの上方に放熱板を配置する工程と、
    前記放熱板と前記配線基板との間に封止樹脂を供給して前記複数の半導体チップを封止し、樹脂封止体を作製する工程と、
    前記樹脂封止体を切断する工程と、
    を具備し、
    前記切断する工程は、
    前記樹脂封止体を放熱板側から削る工程と、
    前記樹脂封止体を前記配線基板側から削る工程とを備え、
    前記配線基板側から削る工程は、前記放熱板側から削る工程よりも後に実施され、
    前記配線基板側から削る工程により、前記樹脂封止体が切断され、
    更に、
    前記配線基板側から削る工程及び前記放熱板側から削る工程よりも前に、前記配線基板の裏面にボール状の電極群を実装する工程
    を具備する
    半導体装置の製造方法。
  2. 請求項1に記載された半導体装置の製造方法であって、
    前記樹脂封止体が前記放熱板側から削る工程により削られる部分の溝幅は、前記配線基板側から削る工程により削られる部分の溝幅よりも、広い
    半導体装置の製造方法。
  3. 請求項1に記載された半導体装置の製造方法であって、
    前記放熱板側から削る工程は、第1のブレードにより前記樹脂封止体を削る工程を含む半導体装置の製造方法。
  4. 請求項3に記載された半導体装置の製造方法であって、
    前記第1のブレードは、刃先の形状が先鋭である
    半導体装置の製造方法。
  5. 前記第1のブレードは、刃先の形状が丸くなっていることを特徴とする、請求項3に記載の半導体装置の製造方法。
  6. 請求項1乃至5のいずれかに記載された半導体装置の製造方法であって、
    前記放熱板側から削る工程では、前記放熱板が完全に分断される
    半導体装置の製造方法。
  7. 請求項3に記載された半導体装置の製造方法であって、
    前記配線基板側から削る工程は、第2のブレードにより前記樹脂封止体を削る工程を含む
    半導体装置の製造方法。
  8. 請求項7に記載された半導体装置の製造方法であって、
    前記第1のブレードは、前記第2のブレードよりも粗い砥粒が配置されていることを特徴とする半導体装置の製造方法。
  9. 請求項1乃至8のいずれかに記載された半導体装置の製造方法であって、
    前記放熱板は、金属製である
    半導体装置の製造方法。
  10. 請求項9に記載された半導体装置の製造方法であって、
    前記放熱板は、被膜が表面に施されている
    半導体装置の製造方法。
  11. 配線基板上に搭載された複数の半導体チップと、前記複数の半導体チップの上方に配置された放熱板と、前記配線基板と前記放熱板との間隙に充填された封止樹脂とで、少なくとも構成された樹脂封止体を複数の個片に切断する半導体装置の製造方法であって、
    前記樹脂封止体を前記放熱板側から削る工程と、
    前記樹脂封止体を前記配線基板側から削る工程と、
    を具備する
    半導体装置の製造方法。
JP2008273141A 2008-10-23 2008-10-23 半導体装置及び半導体装置の製造方法 Expired - Fee Related JP5259336B2 (ja)

Priority Applications (4)

Application Number Priority Date Filing Date Title
JP2008273141A JP5259336B2 (ja) 2008-10-23 2008-10-23 半導体装置及び半導体装置の製造方法
US12/588,542 US20100105170A1 (en) 2008-10-23 2009-10-19 Method for manufacturing a semiconductor device having a heat spreader
US12/929,291 US20110104872A1 (en) 2008-10-23 2011-01-12 Method of manufacturing a semiconductor device having a heat spreader
US13/610,460 US20130005090A1 (en) 2008-10-23 2012-09-11 Method for manufacturing a semiconductor device having a heat spreader

Applications Claiming Priority (1)

Application Number Priority Date Filing Date Title
JP2008273141A JP5259336B2 (ja) 2008-10-23 2008-10-23 半導体装置及び半導体装置の製造方法

Publications (3)

Publication Number Publication Date
JP2010103297A JP2010103297A (ja) 2010-05-06
JP2010103297A5 JP2010103297A5 (ja) 2011-11-17
JP5259336B2 true JP5259336B2 (ja) 2013-08-07

Family

ID=42117912

Family Applications (1)

Application Number Title Priority Date Filing Date
JP2008273141A Expired - Fee Related JP5259336B2 (ja) 2008-10-23 2008-10-23 半導体装置及び半導体装置の製造方法

Country Status (2)

Country Link
US (3) US20100105170A1 (ja)
JP (1) JP5259336B2 (ja)

Families Citing this family (2)

* Cited by examiner, † Cited by third party
Publication number Priority date Publication date Assignee Title
JP6716403B2 (ja) * 2016-09-09 2020-07-01 株式会社ディスコ 積層ウェーハの加工方法
TWI772160B (zh) 2021-08-25 2022-07-21 慧榮科技股份有限公司 半導體封裝元件的形成方法

Family Cites Families (11)

* Cited by examiner, † Cited by third party
Publication number Priority date Publication date Assignee Title
US4904610A (en) * 1988-01-27 1990-02-27 General Instrument Corporation Wafer level process for fabricating passivated semiconductor devices
JP3514101B2 (ja) * 1998-01-28 2004-03-31 セイコーエプソン株式会社 半導体装置及びその製造方法並びに電子機器
JP3425378B2 (ja) * 1998-10-21 2003-07-14 沖電気工業株式会社 半導体装置の製造方法
TWI228780B (en) * 2000-05-11 2005-03-01 Disco Corp Semiconductor wafer dividing method
JP4672201B2 (ja) * 2001-07-26 2011-04-20 ローム株式会社 半導体装置の製造方法
JP3888439B2 (ja) * 2002-02-25 2007-03-07 セイコーエプソン株式会社 半導体装置の製造方法
US6908784B1 (en) * 2002-03-06 2005-06-21 Micron Technology, Inc. Method for fabricating encapsulated semiconductor components
JP2006114636A (ja) * 2004-10-13 2006-04-27 Fujitsu Ltd 半導体装置の製造方法及び半導体装置
JP2008047573A (ja) * 2006-08-11 2008-02-28 Matsushita Electric Ind Co Ltd 樹脂封止型半導体装置の製造装置、樹脂封止型半導体装置の製造方法、および樹脂封止型半導体装置
JP2008288285A (ja) * 2007-05-15 2008-11-27 Sharp Corp 積層基板の切断方法、半導体装置の製造方法、半導体装置、発光装置及びバックライト装置
US7824962B2 (en) * 2008-01-29 2010-11-02 Infineon Technologies Ag Method of integrated circuit fabrication

Also Published As

Publication number Publication date
JP2010103297A (ja) 2010-05-06
US20130005090A1 (en) 2013-01-03
US20100105170A1 (en) 2010-04-29
US20110104872A1 (en) 2011-05-05

Similar Documents

Publication Publication Date Title
US8174117B2 (en) Semiconductor device and method of manufacturing the same
JP3143888U (ja) 部品内蔵モジュール
JP5057221B2 (ja) 放熱部付き金属ベースプリント基板及びその製造方法
US20070226996A1 (en) Hybrid integrated circuit device and method of manufacturing the same
JP2011187659A (ja) 半導体装置及び半導体装置の製造方法
JP6887326B2 (ja) 半導体パッケージの形成方法
JP2005191149A (ja) 混成集積回路装置の製造方法
CN110767553A (zh) 芯片封装的方法、芯片和芯片封装组件
JP5435428B2 (ja) 箔状放熱フィンを備えた放熱器及びその形成方法
CN1310316C (zh) 混合集成电路装置
JP5259336B2 (ja) 半導体装置及び半導体装置の製造方法
JP2010097963A (ja) 回路基板及びその製造方法、電子部品モジュール
JP2009064806A (ja) 回路基板及びその製造方法並びに半導体モジュール
US20050161781A1 (en) Hybrid integrated circuit device and manufacturing method thereof
CN100521167C (zh) 混合集成电路装置的制造方法
CN1677667A (zh) 混合集成电路装置及其制造方法
JP4606447B2 (ja) 中板の金属基板の製造方法。
JP6899980B1 (ja) 半導体装置モジュールおよびその製造方法
JP2006100750A (ja) 回路装置およびその製造方法
TWI776768B (zh) 散熱貼片及薄膜覆晶封裝結構
JP7771606B2 (ja) 回路基板およびその製造方法
JP2003318334A (ja) 混成集積回路装置
JP6779088B2 (ja) 配線基板の製造方法
JP4498966B2 (ja) 金属−セラミックス接合基板
JP2004311691A (ja) 回路用金属板およびセラミックス回路基板

Legal Events

Date Code Title Description
A521 Request for written amendment filed

Free format text: JAPANESE INTERMEDIATE CODE: A523

Effective date: 20110929

A621 Written request for application examination

Free format text: JAPANESE INTERMEDIATE CODE: A621

Effective date: 20110929

A977 Report on retrieval

Free format text: JAPANESE INTERMEDIATE CODE: A971007

Effective date: 20130118

A131 Notification of reasons for refusal

Free format text: JAPANESE INTERMEDIATE CODE: A131

Effective date: 20130201

A521 Request for written amendment filed

Free format text: JAPANESE INTERMEDIATE CODE: A523

Effective date: 20130321

TRDD Decision of grant or rejection written
A01 Written decision to grant a patent or to grant a registration (utility model)

Free format text: JAPANESE INTERMEDIATE CODE: A01

Effective date: 20130419

A61 First payment of annual fees (during grant procedure)

Free format text: JAPANESE INTERMEDIATE CODE: A61

Effective date: 20130424

FPAY Renewal fee payment (event date is renewal date of database)

Free format text: PAYMENT UNTIL: 20160502

Year of fee payment: 3

R150 Certificate of patent or registration of utility model

Free format text: JAPANESE INTERMEDIATE CODE: R150

S531 Written request for registration of change of domicile

Free format text: JAPANESE INTERMEDIATE CODE: R313531

R350 Written notification of registration of transfer

Free format text: JAPANESE INTERMEDIATE CODE: R350

LAPS Cancellation because of no payment of annual fees