JP5259166B2 - 半導体レーザ装置 - Google Patents

半導体レーザ装置 Download PDF

Info

Publication number
JP5259166B2
JP5259166B2 JP2007315443A JP2007315443A JP5259166B2 JP 5259166 B2 JP5259166 B2 JP 5259166B2 JP 2007315443 A JP2007315443 A JP 2007315443A JP 2007315443 A JP2007315443 A JP 2007315443A JP 5259166 B2 JP5259166 B2 JP 5259166B2
Authority
JP
Japan
Prior art keywords
light emitting
semiconductor laser
width direction
center position
laser device
Prior art date
Legal status (The legal status is an assumption and is not a legal conclusion. Google has not performed a legal analysis and makes no representation as to the accuracy of the status listed.)
Expired - Fee Related
Application number
JP2007315443A
Other languages
English (en)
Other versions
JP2009141094A (ja
Inventor
良彦 伊賀
浩志 守谷
Original Assignee
日本オクラロ株式会社
Priority date (The priority date is an assumption and is not a legal conclusion. Google has not performed a legal analysis and makes no representation as to the accuracy of the date listed.)
Filing date
Publication date
Application filed by 日本オクラロ株式会社 filed Critical 日本オクラロ株式会社
Priority to JP2007315443A priority Critical patent/JP5259166B2/ja
Priority to US12/328,186 priority patent/US7792173B2/en
Publication of JP2009141094A publication Critical patent/JP2009141094A/ja
Application granted granted Critical
Publication of JP5259166B2 publication Critical patent/JP5259166B2/ja
Expired - Fee Related legal-status Critical Current
Anticipated expiration legal-status Critical

Links

Images

Landscapes

  • Semiconductor Lasers (AREA)

Description

本発明は、半導体レーザ装置に関し、特に、マルチビーム半導体レーザ装置に適用して有効な技術に関するものである。
PPC、レーザプリンタの印字高速化の要求に伴い、マルチビーム半導体レーザ装置の需要が急速に高まっている。マルチビーム半導体レーザ装置は、一次元または二次元に配列された発光部を有していることから、走査ビーム数を増やすことができ、高速印字が可能となるという利点がある。
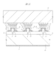
マルチビーム半導体レーザ装置の一般的な構造を図1を用いて説明する。図1は、マルチビーム半導体レーザ装置の一例として、4ビーム構造の半導体レーザ装置を示したものである。図1に示すように、半導体基板(以下、単に基板という)11と、アレイ状の発光部7を有する半導体層2と、n型電極1と、ストライプ状に分離されたp型電極3とからなる半導体レーザ素子アレイ(レーザチップ)8は、サブマウント6上に形成されたストライプ状のサブマウント電極5の上に半田4によって接合されている。p型電極3の表面には、Auメッキなどからなる放熱用の金属層10が形成されている。
サブマウント6は、半田などを介してCuからなるヒートシンク(図示せず)に接合されている。サブマウント6は、ヒートシンクと半導体レーザ素子アレイ8との線膨張係数差による熱応力を緩和し、かつ放熱性を向上させる役割がある。そのため、サブマウント6の材料としては、熱伝導性がよく、熱膨張係数が基板11のそれに近い材料、例えばSiC、Si、CuW、AlNなどが用いられる。
基板11の発光部7をサブマウント6側に向けて実装する上記の方式は、ジャンクションダウン方式と呼ばれ、発光部7で発生した熱を効率よくサブマウント6に逃がすことができる利点がある。しかし、このジャンクションダウン方式は、基板11とサブマウント6との接合部に応力が加わり易いので、実装時の熱応力によって発光部7に歪みが加わり、光特性にばらつきが生じることが知られている。特に、マルチビーム半導体レーザ装置の場合は、波長、偏光角、発光効率、光出力といったビームごとの特性相対差を抑え、均一な光特性を持ったレーザ素子を実現ことが要求されるため、実装時の熱応力を低減し、発光部に加わる歪みの相対差を低減することが重要な課題となる。
ところが、例えば一次元的に配列されたマルチビーム半導体レーザ装置を作製すると、各ビームの偏光方向にばらつきが生じ、偏光角(半導体層内の活性層に平行な方向に対するレーザ光の偏光方向のずれ)の相対差が生じるという問題がある。そして、半導体層に剪断歪みが加わると、この剪断歪みに比例してビームの偏光方向が回転することが知られており(M.A.Fritz, IEEE Trans.Comp.Package.Technol., 27(2004) p147)、上記の偏光角の相対差は、各発光部での剪断歪みの相対差が原因になっていると考えられる。
以下、上記した剪断歪みの相対差について、図1〜図3を参照しながら説明する。なお、ここでは、基板11の線膨張係数がサブマウント6のそれよりも大きい場合について考察する。
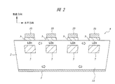
半導体レーザ素子アレイ(レーザチップ)8は、200℃〜300℃の温度下でAu−Snなどの半田4によってサブマウント6に接合される。半田接合後(実装後)に温度が室温まで下がると、サブマウント6が基板11よりも収縮し難い(線膨張係数が小さい)ため、サブマウント6に近いp型電極3側では半導体層2が水平方向の外向きに引っ張られるが、n型電極1側では半導体層2が水平方向の内向きに圧縮される(図2参照)。ここで、水平方向とは、半導体層2と基板11との接合面に平行な方向であり、垂直方向とは、半導体層2と基板11との接合面に垂直な方向、すなわち半導体レーザ素子アレイ8の共振器方向に垂直な方向と定義する。
図2の斜線で示した平行四辺形は、各発光部7での剪断変形の様子を表しており、この各発光部7での剪断歪みをプロットすると図3のようになる。なお、図2および図3では、左端の発光部7から順にLD、LD…と番号を付けた。図3から分かるように、実装後の垂直・水平剪断歪みは、発光部7ごとに大きさが異なり、剪断歪みの相対差が生じることが分かる。なお、基板11の線膨張係数がサブマウント6のそれより小さい場合には、図3の発光部7における剪断歪みの符号が逆になる。このように、実装後には各発光部7に対して異なる剪断歪みが加わることから、マルチビーム半導体レーザ装置では、ビーム毎の偏光角が異なり、偏光角位相差が生じる。
上記した偏光角の回転を抑える方法および、実装後の発光部に加わる歪みを低減する方法として、例えば特開2002−246696号公報(特許文献1)には、レーザチップの活性層に平行な方向に対するレーザ光の偏光方向のずれを改善する手段が提案されている。この提案は、光射出点をチップの幅方向の中央位置から意図的に変位させた位置に配置することによって、偏光方向のずれを改善するものである。
また、特開平07−202323号公報(特許文献2)には、複数の半導体レーザ素子が形成された領域の外側に、使用時に発光しない疑似レーザ素子を形成し、この疑似レーザ素子に熱応力を吸収させることによって、均一な光特性を有するマルチビーム半導体レーザ装置を得る手段が提案されている。
特開2002−246696号公報 特開平07−202323号公報
本発明者の検討によれば、特許文献1に記載された提案は、一つの半導体基板上に等間隔に配置される複数の発光点を有し、かつビーム毎の偏光角が異なるマルチビーム半導体レーザには適用することができない。また、特許文献2に記載されたような疑似レーザ素子を形成する方法は、本発明者らの研究によると、直歪みの相対差を低減することはできるが、図2および図3で示したような剪断歪みの相対差に関しては、十分な低減効果が得られないことが見出された。
本発明の目的は、実装後の発光部に加わる剪断歪みの相対差を抑制し、偏光角相対差の小さいマルチビーム半導体レーザを提供することにある。
本発明の前記ならびにその他の目的と新規な特徴は、本明細書の記述および添付図面から明らかになるであろう。
本願において開示される発明のうち、代表的なものの概要を簡単に説明すれば、次のとおりである。
本発明は、半導体基板と、前記半導体基板の第1の面に形成された第1導電型のカソード電極と、前記半導体基板の第2の面上に形成され、かつ、その内部に複数の発光部を有する半導体層と、前記複数の発光部のそれぞれの上方に形成された第2導電型のアノード電極と、前記アノード電極のそれぞれの表面に形成された金属層とからなるマルチビーム構造の半導体レーザ素子アレイを備え、前記金属層のそれぞれが接合材を介してサブマウントの第1の面に接合されることによって、前記半導体レーザ素子アレイが前記サブマウントに実装された半導体レーザ装置であって、前記半導体基板の線膨張係数は、前記サブマウントの線膨張係数よりも大きく、前記金属層のそれぞれの幅方向の中心位置は、その下方の前記発光部の幅方向の中心位置に対して、前記幅方向で見た場合の前記半導体基板の中心位置に近づく方向にずれているものである。
本願において開示される発明のうち、代表的なものによって得られる効果を簡単に説明すれば以下のとおりである。
本発明のマルチビーム半導体レーザ装置は、金属層のそれぞれの幅方向の中心位置が発光部のそれぞれの幅方向の中心位置に対して意図的に変位されているので、実装前の半導体レーザ素子アレイの段階で、発光部に実装後とは逆方向の剪断歪みを与えておくことができ、実装後の剪断歪みを低減することができる。具体的には、基板11の線膨張係数がサブマウント6の線膨張係数より大きい場合には、実装によって発光部には図2および図3に示したような剪断歪みが加わるため、図4に示すように、発光部の中心23に対して金属層10の中心24が内側に位置するように金属層10を配置する。金属層10は、半導体層2よりも線膨張係数が大きいため、高温でメッキ形成を行った後、室温まで冷却すると、金属層10が半導体層2よりも大きく収縮する。この金属層10の収縮により、各発光部には図4の斜線で示した平行四辺形のような剪断変形が生じる。これにより、実装によって生じる剪断歪み(図2参照)とは逆方向の剪断歪みを、実装前の半導体レーザ素子アレイ8の段階で加えておくことができ、実装後の剪断歪みを抑えることができる。これにより、剪断歪みの相対差による偏光角相対差を低減することができる。
なお、レーザ光の出力方向をz方向、半導体基板と半導体層の界面に垂直であり、かつ半導体層から半導体基板に向かう方向をプラスとする方向をy方向、上記y方向およびz方向と垂直であり、かつ右手系の座標系をなす方向をx方向と定義したとき、前記剪断歪みとはxy方向の剪断歪みを指すものである。
以下、本発明の実施の形態を図面に基づいて詳細に説明する。なお、実施の形態を説明するための全図において、同一の部材には原則として同一の符号を付し、その繰り返しの説明は省略する。
(実施の形態1)
本実施の形態では、複数の凸状のリッジ部を有するマルチビーム半導体レーザ装置に本発明を適用した例について説明する。図5〜図11は、本実施の形態のマルチビーム半導体レーザ装置に係わる図であり、図5および図8〜図11は、マルチビーム半導体レーザ装置の概略を示す部分断面図、図6および図7は、マルチビーム半導体レーザ装置の部分拡大断面図である。
本実施の形態の半導体レーザ装置は、基板11の線膨張係数がサブマウント6の線膨張係数よりも大きい半導体レーザ装置であり、例えば基板11にはGaAs(線膨張係数=6.4×10−6/K)が選択され、サブマウント6にはSiC(線膨張係数=4.0×10−6/K)、またはAlN(線膨張係数=4.8×10−6/K)が選択されている。
図5に示すように、半導体レーザ素子アレイ(レーザチップ)8は、共通電極であるn型電極(カソード電極)1が形成された基板11上に、2個の凸状のリッジ部13を有する半導体層2が積層された構造を有し、半導体層2内の発光部7は、一次元的に等間隔に配列されている。2個のリッジ部13は、基板11の中心位置に対して左右対称となるように配置されている。これらのリッジ部13は、半導体レーザ素子アレイ8の共振器方向に延在し、電流が狭窄されて供給される給電部となっている。
リッジ部13の両側面とその近傍の半導体層2上には絶縁層12が形成されており、絶縁層12の上部には、独立電極であるp型電極(アノード電極)3がリッジ部13の上面と接するように形成されている。また、p型電極3の表面には、放熱用のAuメッキ層(金属層)14が形成されている。
サブマウント6の下面には、p型電極3と対向するように2個のサブマウント電極5が形成されており、サブマウント電極5とAuメッキ層14とは、Au−Snなどの半田4によって互いに接合されている。図示は省略するが、サブマウント6の上面には、Cuからなるヒートシンクが半田接合されている。
図に示すように、各リッジ部13において、Auメッキ層14は、リッジ部13の中心位置に対して非対称に形成されている。すなわち、Auメッキ層14の中心位置は、その下方の発光部7の中心位置に対して意図的に変位されている。従って、半導体レーザ素子アレイ8をサブマウント6に実装する前の段階において、基板11の中心位置に対して左側に位置する発光部7にはプラスの剪断歪みが加わり、右側に位置する発光部7にはマイナスの剪断歪みが加わるようになっている。
Auメッキ層14の放熱性を考慮すると、Auメッキ層14の幅は、少なくとも発光部7の幅(Wb)の4倍(=4Wb)以上必要である。従って、Auメッキ層14の実際の幅をWaとした場合、Auメッキ層14の中心位置と発光部7の中心位置との変位量の上限は、(Wa−4Wb)/2となる。具体的には、例えばビームピッチ(隣り合う発光部7のピッチ)=100μm、Auメッキ層14の幅(Wa)=50μm、発光部7の幅(Wb)=2μmとした場合、Auメッキ層14の中心位置と発光部7の中心位置との変位量の上限は、(50μm−8μm)/2=21μmとなる。一方、上記変位量の下限は、Auメッキ層14の位置精度(A)を±2μm程度とした場合、1.5A=3μm程度とする。
次に、図6を用いて、半導体層2の詳細を説明する。図6は、半導体レーザ素子アレイ8の素子一個分の領域を示す拡大断面図である。
半導体レーザ素子21は、第1の面およびこの面の反対側の面となる第2の面を有する第1導電型(例えばn型)のGaAsからなる基板(n−GaAs基板)11を有しており、第1の面には、半導体層2が形成されている。半導体層2は、第1の面に垂直な方向に沿って順次積層されたn型クラッド層15、多重量子井戸構造(multi-quantum well)を備えた活性層16、p型第1クラッド層17、p型エッチングストップ層18、p型第2クラッド層19およびp型コンタクト層20によって構成されている。
ここで、上記半導体層2の材料および厚さの一例を示す。n型クラッド層15は、厚さ2.0μmのAlGaInPで形成されている。活性層16は、障壁層の厚さが5nmのAlGaInP層からなり、井戸層は、厚さ6nmのGaInP層からなり、3層となる多重量子井戸構造となっている。p型第1クラッド層17、p型エッチングストップ層18およびp型第2クラッド層19は、いずれもAlGaInPで形成されている。p型第1クラッド層17は、厚さ0.3μm、p型エッチングストップ層18は、厚さ20nm、p型第2クラッド層19は、厚さ1.2μmである。また、p型コンタクト層20は、厚さ0.4μmのGaAsで形成されている。
さらに、半導体層2の一部の名称を、その導電型と材料とが分かるように、以下のようにも呼称する。すなわち、n型クラッド層15をn−AlGaInPクラッド層と称し、p型第1クラッド層17をp−AlGaInP第1クラッド層と称し、p型第2クラッド層19をp−AlGaInP第1クラッド層と称し、p型コンタクト層20をp−GaAsコンタクト層と称する。
n−GaAs基板11の第1の面側には、リッジ部13の表面(上面)を除いて絶縁層12が形成されている。絶縁層12は、例えば酸化シリコン膜と、この酸化シリコン膜上に形成されたPSG膜とで構成されている。また、図6に示すように、絶縁層12は、リッジ部13の各側面(両側面)を含み、かつn−GaAs基板11の上面の一部を覆う構造になっているが、リッジ部13の表面(上面)を除き、n−GaAs基板11の上面全体を覆っていてもよい。
リッジ部13の上部および絶縁層12の上部には、p型電極3が形成されている。p型電極3の一部は、リッジ部13のp−GaAsコンタクト層20に接続されている。また、図6に示すように、p型電極3の端部は、n−GaAs基板11の両側縁にまで至らないように、絶縁層12の上で終端している。すなわち、p型電極3は、絶縁層12の上で分離された独立電極となっており、各半導体レーザ素子21のリッジ部13に個別に電圧を印加することができるようになっている。p型電極3は、例えばTi、PtおよびAuを順次積層した金属多層膜からなり、全体の厚さは、0.5μmとなっている。
p型電極3の上部には、n−GaAs基板11よりも熱伝導率が高いAuメッキ層14が形成されている。Auメッキ層14は、3μm〜7μmと厚く形成されており、その表面(上面)は平坦化されている。一方、n−GaAs基板11の第2の面には、n型電極1が形成されている。n型電極1は、例えばTi、PtおよびAuを順次積層した金属多層膜からなり、全体の厚さは、0.5μmとなっている。
図5および図6に示した半導体レーザ素子21においては、リッジ部13から外れた領域のp型エッチングストップ層18上にp−AlGaInP第1クラッド層19およびp−GaAsコンタクト層20が存在しないが、図7に示すように、リッジ部13から外れた領域のp型エッチングストップ層18上にp−AlGaInP第1クラッド層19およびp−GaAsコンタクト層20が存在しても特に支障はない。
また、図7に示す半導体レーザ素子21に本発明を適用した場合、半導体レーザ素子アレイ8の構造は、図8のようになる。なお、図7に示した半導体レーザ素子21の場合は、リッジ部13の両側に設けた凹部の幅をそれぞれa、bとした時に、図9に示すように、基板11の中心位置に対して左側の半導体レーザ素子21ではa<bとなり、右側の半導体レーザ素子21ではa>bとなるように、凹部の幅を非対称にしてもよい。図9に示した構造においても、図5および図8に示した構造と同じように、実装によって加わる剪断歪みとは逆方向の剪断歪みを発光部7に加えることができる。
また、図10に示すように、半導体レーザ素子21に隣接した領域に、使用時には発光しない疑似レーザ素子22を設けてもよい。このような疑似レーザ素子22を設けた構造では、実装によって加わる剪断歪みだけでなく、直歪みの相対差も低減できるので、半導体レーザ素子21間の特性相対差をより小さくすることが可能になる。なお、疑似レーザ素子22のAuメッキ層14は、疑似レーザ素子22の中心に対して非対称にする必要はない。
また、図11に示すように、ビーム数が奇数(例えば3個)の場合、基板11の中心に位置する半導体レーザ素子21のAuメッキ層14は、その下方の発光部7の中心に対して左右対称となるように形成する。さらに、4ビーム以上のマルチビーム半導体レーザ装置の場合には、図12に示すように、基板11の中心から遠い半導体レーザ素子21ほど、Auメッキ層14の中心位置を、発光部7の中心位置に対して大きく変位させる。すなわち、図12のような構造にすることによって、実装に先立ち、外側の半導体レーザ素子21に内側の半導体レーザ素子21よりも大きな剪断歪みを加える。
前述したように、基板11の線膨張係数がサブマウント6のそれよりも大きい場合は、図3に示したように、実装によって、基板11の中心位置に対して左側の発光部7にはマイナスの剪断歪みが加わり、右側の発光部7にはプラスの剪断歪みが加わる。しかし、本実施の形態の構造では、実装前の半導体レーザ素子21に、あらかじめ逆方向の剪断歪みが加えられているので、実装後に加わる剪断歪みが相殺される結果、実装後の剪断歪みは従来構造に比べて小さくなる。これにより、剪断歪みの相対差から生じる偏光角の相対差を低減することができる。
図13および図14は、本実施の形態の効果を表す特性図(グラフ)である。このグラフは、4ビームのマルチビーム半導体レーザ装置に対し、有限要素法を用いた応力解析から求めたものである。図13および図14では、三角印が実装前の各発光部7における剪断歪みを表し、丸印が実装後の各発光部7における剪断歪みを表している。図13は、従来構造における剪断歪み分布を表しており、この図から、従来構造では実装前には剪断歪みの相対差がなく、実装後には剪断歪みの相対差が生じることが分かる。図14は、本実施の形態の構造における剪断歪みの分布を表している。図14では、図13の結果から、特に剪断歪みが大きくなる外側の半導体レーザ素子(図2および図13におけるLDとLDに相当)に対して本実施の形態の構造を適用したものである。本実施の形態の構造では、実装前の段階でLDとLDのそれぞれの発光部7に剪断歪みが加えられているので、実装後の剪断歪みの相対差が従来構造よりも小さくなっていることが分かる。
(実施の形態2)
本実施の形態は、基板11の線膨張係数がサブマウント6のそれよりも小さい半導体レーザ装置に適用した例であり、これを図15によって説明する。図15では、マルチビーム半導体レーザ装置の構造について説明し、その他の構造は、前記実施の形態1の構造と同一である。また、Auメッキ層14の中心位置と発光部7の中心位置との変位量の上限および下限も前記実施の形態1と同一である。
本実施の形態のマルチビーム半導体レーザ装置においては、基板11の材料として、例えばGaAs(線膨張係数=6.4×10−6/K)が選択され、サブマウント6にはCuW(線膨張係数=6.5×10−6/K〜8.3×10−6/K)が選択されている。この場合、実装後には基板11の中心位置に対して左側の半導体レーザ素子21の発光部にはプラスの剪断歪みが加わり、右側の半導体レーザ素子21の発光部にはマイナスの剪断歪みが加わる。
そこで、図15に示すように、Auメッキ層14の中心がその下方の発光部7の中心に対して外側に位置するようにAuメッキ層14を形成することによって、実装前には基板11の中心位置に対して左側の半導体レーザ素子21の発光部7にマイナスの剪断歪みを加えておき、右側の半導体レーザ素子21の発光部7にはプラスの剪断歪みを加えておく。
以上、本発明者によってなされた発明を実施の形態に基づき具体的に説明したが、本発明は前記実施の形態に限定されるものではなく、その要旨を逸脱しない範囲で種々変更可能であることはいうまでもない。
本発明は、マルチビーム半導体レーザ装置に適用して有効なものである。
マルチビーム半導体レーザ装置の一般的な構造を示す要部断面図である。 実装後のレーザチップにおける発光部の剪断変形を示す模式図である。 図2に示した発光部の剪断歪みをプロットしたグラフである。 実装前のレーザチップにおける発光部の剪断変形を示す模式図である。 本発明の一実施の形態であるマルチビーム半導体レーザ装置を示す部分断面図である。 本発明の一実施の形態であるマルチビーム半導体レーザ装置のチップ構造を示す部分拡大断面図である。 本発明のマルチビーム半導体レーザ装置のチップ構造の別例を示す部分拡大断面図である。 図7に示したチップ構造を有するマルチビーム半導体レーザ装置を示す部分断面図である。 本発明のマルチビーム半導体レーザ装置のチップ構造の別例を示す部分断面図である。 本発明の他の実施の形態であるマルチビーム半導体レーザ装置を示す部分断面図である。 本発明の他の実施の形態であるマルチビーム半導体レーザ装置を示す部分断面図である。 本発明の他の実施の形態であるマルチビーム半導体レーザ装置を示す要部断面図である。 図1に示したマルチビーム半導体レーザ装置における剪断歪み分布を示すグラフである。 図12に示した本発明のマルチビーム半導体レーザ装置における剪断歪み分布を示すグラフである。 本発明の他の実施の形態であるマルチビーム半導体レーザ装置を示す要部断面図である。
符号の説明
1 n型電極(カソード電極)
2 半導体層
3 p型電極(アノード電極)
4 半田
5 サブマウント電極
6 サブマウント
7 発光部
8 半導体レーザ素子アレイ(レーザチップ)
10 金属層
11 半導体基板(n−GaAs基板)
12 絶縁層
13 リッジ部
14 Auメッキ層(金属層)
15 n型クラッド層(n−AlGaInPクラッド層)
16 活性層
17 p型第1クラッド層(p−AlGaInP第1クラッド層)
18 p型エッチングストップ層
19 p型第2クラッド層(p−AlGaInP第1クラッド層)
20 p型コンタクト層(p−GaAsコンタクト層)
21 半導体レーザ素子
22 疑似レーザ素子
23 発光部の中心
24 金属層の中心

Claims (12)

  1. 半導体基板と、前記半導体基板の第1の面に形成された第1導電型のカソード電極と、前記半導体基板の第2の面上に形成され、かつ、その内部に複数の発光部を有する半導体層と、前記複数の発光部のそれぞれの上方に形成された第2導電型のアノード電極と、前記アノード電極のそれぞれの表面に形成された金属層とからなるマルチビーム構造の半導体レーザ素子アレイを備え、
    前記金属層のそれぞれが接合材を介してサブマウントの第1の面に接合されることによって、前記半導体レーザ素子アレイが前記サブマウントに実装された半導体レーザ装置であって、
    前記半導体基板の線膨張係数は、前記サブマウントの線膨張係数よりも大きく、
    前記金属層のそれぞれの幅方向の中心位置は、その下方の前記発光部の幅方向の中心位置に対して、前記幅方向で見た場合の前記半導体基板の中心位置に近づく方向にずれていることを特徴とする半導体レーザ装置。
  2. 前記半導体レーザ素子アレイを前記サブマウントに実装する前の段階において、前記半導体基板の幅方向の中心位置に対して左側に位置する前記発光部にはプラスの剪断歪みが加わり、右側に位置する前記発光部にはマイナスの剪断歪みが加わるように、
    前記左側に位置する前記発光部の上部の前記金属層の幅方向の中心位置は、前記左側に位置する前記発光部の幅方向の中心位置に対して右側にずれており、
    前記右側に位置する前記発光部の上部の前記金属層の幅方向の中心位置は、前記右側に位置する前記発光部の幅方向の中心位置に対して左側にずれていることを特徴とする請求項1記載の半導体レーザ装置。
  3. 前記半導体基板はGaAsからなり、前記サブマウントはSiCまたはAlNからなることを特徴とする請求項2記載の半導体レーザ装置。
  4. 半導体基板と、前記半導体基板の第1の面に形成された第1導電型のカソード電極と、前記半導体基板の第2の面上に形成され、かつ、その内部に複数の発光部を有する半導体層と、前記複数の発光部のそれぞれの上方に形成された第2導電型のアノード電極と、前記アノード電極のそれぞれの表面に形成された金属層とからなるマルチビーム構造の半導体レーザ素子アレイを備え、
    前記金属層のそれぞれが接合材を介してサブマウントの第1の面に接合されることによって、前記半導体レーザ素子アレイが前記サブマウントに実装された半導体レーザ装置であって、
    前記半導体基板の線膨張係数は、前記サブマウントの線膨張係数よりも小さく
    前記金属層のそれぞれの幅方向の中心位置は、その下方の前記発光部の幅方向の中心位置に対して、前記幅方向で見た場合の前記半導体基板の中心位置より遠ざかる方向にずれていることを特徴とする半導体レーザ装置。
  5. 前記半導体レーザ素子アレイを前記サブマウントに実装する前の段階において、前記半導体基板の幅方向の中心位置に対して左側に位置する前記発光部にはマイナスの剪断歪みが加わり、右側に位置する前記発光部にはプラスの剪断歪みが加わるように、
    前記左側に位置する前記発光部の上部の前記金属層の幅方向の中心位置は、前記左側に位置する前記発光部の幅方向の中心位置に対して左側にずれており、
    前記右側に位置する前記発光部の上部の前記金属層の幅方向の中心位置は、前記右側に位置する前記発光部の幅方向の中心位置に対して右側にずれていることを特徴とする請求項1記載の半導体レーザ装置。
  6. 前記半導体基板はGaAsからなり、前記サブマウントはCuWからなることを特徴とする請求項5記載の半導体レーザ装置。
  7. 前記金属層の幅をWaとし、前記発光部の幅をWbとした場合、前記金属層の幅方向の中心位置とその下方の前記発光部の幅方向の中心位置のずれ量の上限は、(Wa−4Wb)/2であることを特徴とする請求項1または4記載の半導体レーザ装置。
  8. ビーム数が4以上の場合は、前記半導体基板の幅方向の中心から遠い位置にある前記金属層ほど、その幅方向の中心位置を、その下方の前記発光部の幅方向の中心位置に対して大きくずらすことを特徴とする請求項1または4記載の半導体レーザ装置。
  9. ビーム数が奇数の場合は、前記半導体基板の幅方向の中心に位置する前記金属層の幅方向の中心位置とその下方の前記発光部の幅方向の中心位置とのずれ量が0であることを特徴とする請求項1または4記載の半導体レーザ装置。
  10. 前記複数の発光部および前記複数の金属層が形成された領域の外側に、発光部を有しない疑似レーザ素子を設けたことを特徴とする請求項1または4記載の半導体レーザ装置。
  11. 前記サブマウントの第2の面には、ヒートシンクが接合されていることを特徴とする請求項1または4記載の半導体レーザ装置。
  12. 前記金属層は、Auメッキ層であることを特徴とする請求項1または4記載の半導体レーザ装置。
JP2007315443A 2007-12-06 2007-12-06 半導体レーザ装置 Expired - Fee Related JP5259166B2 (ja)

Priority Applications (2)

Application Number Priority Date Filing Date Title
JP2007315443A JP5259166B2 (ja) 2007-12-06 2007-12-06 半導体レーザ装置
US12/328,186 US7792173B2 (en) 2007-12-06 2008-12-04 Semiconductor laser device

Applications Claiming Priority (1)

Application Number Priority Date Filing Date Title
JP2007315443A JP5259166B2 (ja) 2007-12-06 2007-12-06 半導体レーザ装置

Publications (2)

Publication Number Publication Date
JP2009141094A JP2009141094A (ja) 2009-06-25
JP5259166B2 true JP5259166B2 (ja) 2013-08-07

Family

ID=40871439

Family Applications (1)

Application Number Title Priority Date Filing Date
JP2007315443A Expired - Fee Related JP5259166B2 (ja) 2007-12-06 2007-12-06 半導体レーザ装置

Country Status (1)

Country Link
JP (1) JP5259166B2 (ja)

Families Citing this family (9)

* Cited by examiner, † Cited by third party
Publication number Priority date Publication date Assignee Title
JP5380135B2 (ja) * 2009-04-03 2014-01-08 日本オクラロ株式会社 マルチビーム半導体レーザ装置
JP5465514B2 (ja) * 2009-11-19 2014-04-09 日本オクラロ株式会社 光半導体装置
JP6125166B2 (ja) * 2012-07-17 2017-05-10 ウシオオプトセミコンダクター株式会社 マルチビーム半導体レーザ装置
JP5959484B2 (ja) 2013-08-23 2016-08-02 ウシオオプトセミコンダクター株式会社 半導体レーザ素子、及び半導体レーザ装置
JP2015213109A (ja) * 2014-05-01 2015-11-26 三菱電機株式会社 レーザ光源モジュール
WO2017072849A1 (ja) 2015-10-27 2017-05-04 三菱電機株式会社 レーザ光源モジュール
JP6334772B2 (ja) * 2017-04-05 2018-05-30 ウシオオプトセミコンダクター株式会社 マルチビーム半導体レーザ装置
JP6818946B1 (ja) * 2019-12-04 2021-01-27 三菱電機株式会社 半導体レーザ素子およびその製造方法、半導体レーザ装置
JP7800187B2 (ja) * 2022-02-16 2026-01-16 ウシオ電機株式会社 レーザ装置

Family Cites Families (9)

* Cited by examiner, † Cited by third party
Publication number Priority date Publication date Assignee Title
JP2000196197A (ja) * 1998-12-30 2000-07-14 Xerox Corp 成長基板が除去された窒化物レ―ザダイオ―ドの構造及び窒化物レ―ザダイオ―ドアレイ構造の製造方法
JP4749582B2 (ja) * 2000-03-27 2011-08-17 忠 高野 半導体レーザ装置およびそれを用いた通信システム
JP4538920B2 (ja) * 2000-08-10 2010-09-08 ソニー株式会社 半導体レーザおよび半導体装置
JP2003031905A (ja) * 2001-07-12 2003-01-31 Hitachi Ltd 多ビーム半導体レーザ素子及び半導体レーザ装置
JP2004014943A (ja) * 2002-06-10 2004-01-15 Sony Corp マルチビーム型半導体レーザ、半導体発光素子および半導体装置
JP2005191209A (ja) * 2003-12-25 2005-07-14 Matsushita Electric Ind Co Ltd 半導体レーザ装置およびその製造方法
JP4671728B2 (ja) * 2005-03-25 2011-04-20 三洋電機株式会社 半導体レーザ装置および光ピックアップ装置
JP4855179B2 (ja) * 2005-11-28 2012-01-18 三菱電機株式会社 アレイ型半導体レーザ装置
JP2007184556A (ja) * 2005-12-09 2007-07-19 Mitsubishi Electric Corp 半導体レーザ、半導体レーザの製造方法および評価装置

Also Published As

Publication number Publication date
JP2009141094A (ja) 2009-06-25

Similar Documents

Publication Publication Date Title
US7792173B2 (en) Semiconductor laser device
JP5259166B2 (ja) 半導体レーザ装置
JP6176298B2 (ja) 面発光型半導体レーザアレイ及び面発光型半導体レーザアレイの製造方法
JP5465514B2 (ja) 光半導体装置
JP7220751B2 (ja) 端面発光型のレーザバー
JP4966283B2 (ja) 半導体レーザ装置およびその製造方法
JP5280119B2 (ja) 半導体レーザ装置
JP7332623B2 (ja) 半導体レーザ装置
JP4697488B2 (ja) マルチビーム半導体レーザ
KR101517277B1 (ko) 멀티빔 반도체 레이저 장치
JP5380135B2 (ja) マルチビーム半導体レーザ装置
JP5103008B2 (ja) 半導体レーザ素子及び半導体レーザ装置
JP2008311556A (ja) 半導体レーザ装置および表示装置
JPH0878778A (ja) 半導体レーザ装置,及びその製造方法
JP2013179210A (ja) アレイ型半導体レーザ装置およびその製造方法
JP7245061B2 (ja) 半導体発光装置及び半導体発光装置の製造方法
JP5437109B2 (ja) 半導体レーザ装置
JP2010040933A (ja) 半導体レーザ素子
JP2019207966A (ja) 半導体発光素子
JPWO2018158934A1 (ja) 半導体レーザ及びその製造方法
JP6334772B2 (ja) マルチビーム半導体レーザ装置
JP2007158008A (ja) 半導体発光素子
JP2008141039A (ja) 端面発光型半導体レーザ
JP2008130664A (ja) 半導体発光素子および発光装置
JP2008130665A (ja) 半導体発光素子およびその製造方法、並びに発光装置

Legal Events

Date Code Title Description
A621 Written request for application examination

Free format text: JAPANESE INTERMEDIATE CODE: A621

Effective date: 20101111

A977 Report on retrieval

Free format text: JAPANESE INTERMEDIATE CODE: A971007

Effective date: 20120215

A131 Notification of reasons for refusal

Free format text: JAPANESE INTERMEDIATE CODE: A131

Effective date: 20120321

A521 Request for written amendment filed

Free format text: JAPANESE INTERMEDIATE CODE: A523

Effective date: 20120521

A131 Notification of reasons for refusal

Free format text: JAPANESE INTERMEDIATE CODE: A131

Effective date: 20121002

A521 Request for written amendment filed

Free format text: JAPANESE INTERMEDIATE CODE: A523

Effective date: 20121130

RD02 Notification of acceptance of power of attorney

Free format text: JAPANESE INTERMEDIATE CODE: A7422

Effective date: 20121214

RD04 Notification of resignation of power of attorney

Free format text: JAPANESE INTERMEDIATE CODE: A7424

Effective date: 20121220

TRDD Decision of grant or rejection written
A01 Written decision to grant a patent or to grant a registration (utility model)

Free format text: JAPANESE INTERMEDIATE CODE: A01

Effective date: 20130402

A61 First payment of annual fees (during grant procedure)

Free format text: JAPANESE INTERMEDIATE CODE: A61

Effective date: 20130424

FPAY Renewal fee payment (event date is renewal date of database)

Free format text: PAYMENT UNTIL: 20160502

Year of fee payment: 3

R150 Certificate of patent or registration of utility model

Ref document number: 5259166

Country of ref document: JP

Free format text: JAPANESE INTERMEDIATE CODE: R150

Free format text: JAPANESE INTERMEDIATE CODE: R150

S111 Request for change of ownership or part of ownership

Free format text: JAPANESE INTERMEDIATE CODE: R313113

R350 Written notification of registration of transfer

Free format text: JAPANESE INTERMEDIATE CODE: R350

R250 Receipt of annual fees

Free format text: JAPANESE INTERMEDIATE CODE: R250

S531 Written request for registration of change of domicile

Free format text: JAPANESE INTERMEDIATE CODE: R313531

R360 Written notification for declining of transfer of rights

Free format text: JAPANESE INTERMEDIATE CODE: R360

R350 Written notification of registration of transfer

Free format text: JAPANESE INTERMEDIATE CODE: R350

R250 Receipt of annual fees

Free format text: JAPANESE INTERMEDIATE CODE: R250

R250 Receipt of annual fees

Free format text: JAPANESE INTERMEDIATE CODE: R250

R250 Receipt of annual fees

Free format text: JAPANESE INTERMEDIATE CODE: R250

R250 Receipt of annual fees

Free format text: JAPANESE INTERMEDIATE CODE: R250

R250 Receipt of annual fees

Free format text: JAPANESE INTERMEDIATE CODE: R250

R250 Receipt of annual fees

Free format text: JAPANESE INTERMEDIATE CODE: R250

R250 Receipt of annual fees

Free format text: JAPANESE INTERMEDIATE CODE: R250

R250 Receipt of annual fees

Free format text: JAPANESE INTERMEDIATE CODE: R250

LAPS Cancellation because of no payment of annual fees