JP5154972B2 - 二輪車用空気入りタイヤ - Google Patents
二輪車用空気入りタイヤ Download PDFInfo
- Publication number
- JP5154972B2 JP5154972B2 JP2008037616A JP2008037616A JP5154972B2 JP 5154972 B2 JP5154972 B2 JP 5154972B2 JP 2008037616 A JP2008037616 A JP 2008037616A JP 2008037616 A JP2008037616 A JP 2008037616A JP 5154972 B2 JP5154972 B2 JP 5154972B2
- Authority
- JP
- Japan
- Prior art keywords
- block
- tread
- block row
- constituting
- blocks
- Prior art date
- Legal status (The legal status is an assumption and is not a legal conclusion. Google has not performed a legal analysis and makes no representation as to the accuracy of the status listed.)
- Expired - Fee Related
Links
- 230000000694 effects Effects 0.000 description 19
- 230000007423 decrease Effects 0.000 description 7
- 239000004677 Nylon Substances 0.000 description 5
- 229920001778 nylon Polymers 0.000 description 5
- 238000011156 evaluation Methods 0.000 description 4
- 230000002093 peripheral effect Effects 0.000 description 2
- 229920000271 Kevlar® Polymers 0.000 description 1
- 241000135309 Processus Species 0.000 description 1
- 239000004760 aramid Substances 0.000 description 1
- 229920003235 aromatic polyamide Polymers 0.000 description 1
- 239000004761 kevlar Substances 0.000 description 1
- 230000003014 reinforcing effect Effects 0.000 description 1
Images
Classifications
-
- B—PERFORMING OPERATIONS; TRANSPORTING
- B60—VEHICLES IN GENERAL
- B60C—VEHICLE TYRES; TYRE INFLATION; TYRE CHANGING; CONNECTING VALVES TO INFLATABLE ELASTIC BODIES IN GENERAL; DEVICES OR ARRANGEMENTS RELATED TO TYRES
- B60C11/00—Tyre tread bands; Tread patterns; Anti-skid inserts
- B60C11/03—Tread patterns
- B60C11/11—Tread patterns in which the raised area of the pattern consists only of isolated elements, e.g. blocks
-
- B—PERFORMING OPERATIONS; TRANSPORTING
- B60—VEHICLES IN GENERAL
- B60C—VEHICLE TYRES; TYRE INFLATION; TYRE CHANGING; CONNECTING VALVES TO INFLATABLE ELASTIC BODIES IN GENERAL; DEVICES OR ARRANGEMENTS RELATED TO TYRES
- B60C11/00—Tyre tread bands; Tread patterns; Anti-skid inserts
- B60C11/03—Tread patterns
- B60C11/032—Patterns comprising isolated recesses
-
- B—PERFORMING OPERATIONS; TRANSPORTING
- B60—VEHICLES IN GENERAL
- B60C—VEHICLE TYRES; TYRE INFLATION; TYRE CHANGING; CONNECTING VALVES TO INFLATABLE ELASTIC BODIES IN GENERAL; DEVICES OR ARRANGEMENTS RELATED TO TYRES
- B60C11/00—Tyre tread bands; Tread patterns; Anti-skid inserts
- B60C11/03—Tread patterns
- B60C11/13—Tread patterns characterised by the groove cross-section, e.g. for buttressing or preventing stone-trapping
-
- B—PERFORMING OPERATIONS; TRANSPORTING
- B60—VEHICLES IN GENERAL
- B60C—VEHICLE TYRES; TYRE INFLATION; TYRE CHANGING; CONNECTING VALVES TO INFLATABLE ELASTIC BODIES IN GENERAL; DEVICES OR ARRANGEMENTS RELATED TO TYRES
- B60C11/00—Tyre tread bands; Tread patterns; Anti-skid inserts
- B60C11/03—Tread patterns
- B60C11/13—Tread patterns characterised by the groove cross-section, e.g. for buttressing or preventing stone-trapping
- B60C11/1376—Three dimensional block surfaces departing from the enveloping tread contour
-
- B—PERFORMING OPERATIONS; TRANSPORTING
- B60—VEHICLES IN GENERAL
- B60C—VEHICLE TYRES; TYRE INFLATION; TYRE CHANGING; CONNECTING VALVES TO INFLATABLE ELASTIC BODIES IN GENERAL; DEVICES OR ARRANGEMENTS RELATED TO TYRES
- B60C11/00—Tyre tread bands; Tread patterns; Anti-skid inserts
- B60C11/03—Tread patterns
- B60C11/13—Tread patterns characterised by the groove cross-section, e.g. for buttressing or preventing stone-trapping
- B60C11/1376—Three dimensional block surfaces departing from the enveloping tread contour
- B60C11/1392—Three dimensional block surfaces departing from the enveloping tread contour with chamfered block edges
-
- B—PERFORMING OPERATIONS; TRANSPORTING
- B60—VEHICLES IN GENERAL
- B60C—VEHICLE TYRES; TYRE INFLATION; TYRE CHANGING; CONNECTING VALVES TO INFLATABLE ELASTIC BODIES IN GENERAL; DEVICES OR ARRANGEMENTS RELATED TO TYRES
- B60C2200/00—Tyres specially adapted for particular applications
- B60C2200/10—Tyres specially adapted for particular applications for motorcycles, scooters or the like
-
- B—PERFORMING OPERATIONS; TRANSPORTING
- B60—VEHICLES IN GENERAL
- B60C—VEHICLE TYRES; TYRE INFLATION; TYRE CHANGING; CONNECTING VALVES TO INFLATABLE ELASTIC BODIES IN GENERAL; DEVICES OR ARRANGEMENTS RELATED TO TYRES
- B60C2200/00—Tyres specially adapted for particular applications
- B60C2200/14—Tyres specially adapted for particular applications for off-road use
-
- Y—GENERAL TAGGING OF NEW TECHNOLOGICAL DEVELOPMENTS; GENERAL TAGGING OF CROSS-SECTIONAL TECHNOLOGIES SPANNING OVER SEVERAL SECTIONS OF THE IPC; TECHNICAL SUBJECTS COVERED BY FORMER USPC CROSS-REFERENCE ART COLLECTIONS [XRACs] AND DIGESTS
- Y10—TECHNICAL SUBJECTS COVERED BY FORMER USPC
- Y10S—TECHNICAL SUBJECTS COVERED BY FORMER USPC CROSS-REFERENCE ART COLLECTIONS [XRACs] AND DIGESTS
- Y10S152/00—Resilient tires and wheels
- Y10S152/03—Slits in threads
-
- Y—GENERAL TAGGING OF NEW TECHNOLOGICAL DEVELOPMENTS; GENERAL TAGGING OF CROSS-SECTIONAL TECHNOLOGIES SPANNING OVER SEVERAL SECTIONS OF THE IPC; TECHNICAL SUBJECTS COVERED BY FORMER USPC CROSS-REFERENCE ART COLLECTIONS [XRACs] AND DIGESTS
- Y10—TECHNICAL SUBJECTS COVERED BY FORMER USPC
- Y10S—TECHNICAL SUBJECTS COVERED BY FORMER USPC CROSS-REFERENCE ART COLLECTIONS [XRACs] AND DIGESTS
- Y10S152/00—Resilient tires and wheels
- Y10S152/902—Non-directional tread pattern having no circumferential rib and having blocks defined by circumferential grooves and transverse grooves
Landscapes
- Engineering & Computer Science (AREA)
- Mechanical Engineering (AREA)
- Tires In General (AREA)
Description
不整地用ブロックパターンタイヤにおいては、トラクションを上げるために、路面を掘る効果を得る目的にブロック剛性を上げる事が必要となる。
従来では、ブロック自体を大きくしてブロック剛性を上げるか、使用するゴムの硬度を上げてブロック剛性を上げていた。
また、ブロック自体を大きくした場合、タイヤのネガティブ率が減少するために、ブロック接地圧も減少し、泥濘地や軟質路面においては十分な初期の突刺し効果が得られない問題がある。
トレッドのブロックに、踏面側に開口する凹部を形成することで、凹部の開口部分のエッジにより、凹部が無いブロックよりもエッジ効果が高まる。
さらに、凹部の内部に突起を形成することで、該突起のエッジにより、突起が無いブロックよりもエッジ効果が高まる。
即ち、ブロックに凹部を形成し、さらに凹部の内部に突起を形成することで、凹部及び突起の無い通常のブロック対比で、大幅なエッジ効果の向上が実現できる。
また、突起の高さをコントロールする事で硬質路面から泥濘地を含む軟質路面までの広い範囲での操縦安定性向上を実現することができる。
請求項2に記載の二輪車用空気入りタイヤの様に、接地圧の高いトレッドの幅方向中央側に凹部を多く設け、さらにその凹部に突起を配置することで、トラクション性能を上げて操縦安定性を向上させることが出来る。
トレッドに複数のブロックを備えた二輪車用空気入りタイヤ、即ち、ブロックパターンを有する二輪車用空気入りタイヤにおいては、ブロックパターンの基本設計(ブロックパターンの性能の確保)があるため、トレッドの部位毎に適正な大きさのブロックが配置されている。
また、中央部ブロック列を構成するブロックよりも小さく形成されている中間部ブロック列を構成するブロックにおいては、突起を備えた凹部の数が2個以上になると、突起が小さくなり過ぎて十分なエッジ効果が得られなくなる。
中間部ブロック列を構成するブロックは、二輪車を傾けて走行するときに使用頻度多くなる。中間部ブロック列を構成するブロックが中央部ブロック列を構成するブロックのように大きい場合、中間部ブロック列を構成するブロックが硬い路面に対して馴染み難い状態となり、十分な操縦安定性を確保することが難しくなる懸念がある。このため、中間部ブロック列を構成するブロックを中央部ブロック列を構成するブロックよりも大きさを小さくすることが好ましい。
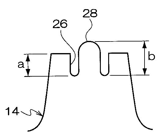
a−bの値が+2mmよりも+側に大きくなると(突起がブロック踏面よりも低くなる)、突起のエッジが路面に接触するようになるまで、ブロック自体(突起を除いた部分)の摩耗が大きくなり、十分な操縦安定性を確保することが出来なくなる。
請求項5に記載の発明は、請求項1〜請求項4の何れか1項に記載の二輪車用空気入りタイヤにおいて、前記突起は、ブロック踏面よりも突出している、ことを特徴としている。
図1は、本実施形態の二輪車用空気入りタイヤ10のトレッド12を平面状に展開して見た平面図である。
第1のセンターブロック14は、タイヤ幅方向に長い長方形状を呈しており、幅方向中央部には、タイヤ周方向に延びる比較的幅の広い浅溝24が形成されている。なお、浅溝24の深さ寸法は、第1のセンターブロック14の高さ寸法よりも小さい。
第1のセンターブロック14には、浅溝24の両側に、トレッド平面視で正方形の凹部26が形成されており、凹部26の底部には、トレッド平面視で正方形の突起28が形成されている。
なお、凹部26の側壁と突起28の側壁との間には細溝状の隙間が形成されており、この隙間は、第1のセンターブロック14が路面に接地した際にも消滅しない、即ち、凹部26の側壁と突起28の側壁とが接触しない寸法に設定されている。
なお、本実施形態の突起28の頂部(踏面)は、第1のセンターブロック14の踏面と平行に形成されている。
なお、第4のセンターブロック20は第3のセンターブロック18と同様の形状であるが、ブロックの向きが逆向きに形成されている。
中央部ブロック列22のタイヤ幅方向両側側には、複数の中間部ブロック40がタイヤ周方向に間隔をあけて配置されて中間部ブロック列42を形成している。
中間部ブロック40は、中央部ブロック列22の各ブロックよりも小さく形成されていると共に、トレッド平面視で正方形状を呈しており、中央部にはトレッド平面視で正方形の凹部44が形成され、凹部44の底部にはトレッド平面視で正方形の突起46が1個形成されている。
中間部ブロック列42のタイヤ幅方向外側には、複数のトレッド端側ブロック48がタイヤ周方向に間隔をあけて配置されてトレッド端側ブロック列50を形成している。
トレッド端側ブロック48は、トレッド平面視で5角形を呈しており、中央にはトレッド平面視で5角形の凹部52が1個形成されている。
本実施形態の様に、中間部ブロック列42を構成するブロック、及びトレッド端側ブロック列50を構成するブロックは、凹部の数を中央部ブロック列22を構成するブロックよりも少なく設定することが好ましい。
また、本実施形態の様に、中央部ブロック列22を構成するブロック、及び中間部ブロック列42を構成するブロックには、突起の形成された凹部を設けることが好ましい。
本実施形態の二輪車用空気入りタイヤ10においは、中央部ブロック列22を構成する第1のセンターブロック14、第2のセンターブロック16、第3のセンターブロック18、及び第4のセンターブロック20、及び中間部ブロック列42を構成する中間部ブロック40に、踏面側に開口する凹部を形成し、さらにその凹部の底部に突起を形成しているので、凹部(突起の無い)を設けたのみのブロック対比で、突起の分のエッジ成分が増加するため、トラクションを向上させることができる。
なお、本実施形態の二輪車用空気入りタイヤ10では、ブロック踏面でのグリップを向上させる事を目的にゴムの硬度を下げる必要がないので、エッジの摩耗が早くなる問題は生じない。
上記実施形態では、トレッド端側ブロック48を構成するトレッド端側ブロック48の凹部52には突起が形成されていないが、突起を形成しても良い。
突起を設けた凹部の形成されたブロックは、上記実施形態の配置に限定されるものではなく、本発明の主旨を逸脱しない限り種々の配置変更が可能である。
中央部ブロック列22の各ブロックは、上記実施形態では凹部が2個形成されていたが、凹部の数は1個でも良い。
本発明の効果を確かめるために、従来例のタイヤ4種、及び本発明の適用された実施例のタイヤ4種を用意し、供試タイヤを実車に装着してプロライダーにより不整地走行による実車評価を行なった。
・従来例のタイヤ:凹部のみを有するブロックを備えたタイヤ。
・実施例のタイヤ:凹部内に突起を有するブロックを備えたタイヤ。
なお、従来例のタイヤ、及び実施例のタイヤ共にパターンは同一である。
・トレッドのネガティブ比:80%
・ブロック高さ:フロント=12.5mm、リア=15.5mm
・ブロック断面形状:図2参照。なお、a=1.5mm、b=2.5mmである。
・タイヤサイズの断面呼び:フロント=80/100、リア=120/80
・タイヤインチ径:フロント=21インチ、リア=19インチ
・実車試験用リム:フロント=1.60×21、リア=2.15×19
・実車試験使用内圧:80kPa
下記の表1の様に8種類のタイヤを試作した。
・ラジアル構造:ナイロンコードを含むカーカスプライを1枚使用。カーカスの外周側にア芳香族ポリアミドコード(いわゆるケブラー(商品名)コード)のモノスパイラルベルトが設けられている。
以下の表2に、各タイヤの評価を記載した。評価はプロライダーによるフィーリング評価(10点満点)であり、数値が大きいほど性能に優れていることを表している。
12 トレッド
14 第1のセンターブロック
16 第2のセンターブロック
18 第3のセンターブロック
20 第4のセンターブロック
26 凹部
28 突起
30 突起
32 凹部
36 突起
38 凹部
40 中間部ブロック
44 凹部
46 突起
48 トレッド端側ブロック
52 凹部
Claims (5)
- 踏面側に開口する凹部が形成された複数のブロックが形成されたトレッドを備え、
前記凹部の形成された複数の前記ブロックのうちの少なくとも幾つかは、前記凹部の底部に突起が形成されており、
前記凹部の側壁と前記突起の側壁との間には細溝状の隙間が形成されている、ことを特徴とする二輪車用空気入りタイヤ。 - 前記トレッドは、前記トレッドの幅方向中央に周方向に沿って配置される複数のブロックからなる中央部ブロック列と、前記中央部ブロック列のタイヤ幅方向外側に配置され、前記トレッドのトレッド端側に配置され、周方向に沿って配置される複数のブロックからなるトレッド端側ブロック列と、前記中央部ブロック列と前記トレッド端側ブロック列との間に配置され、周方向に沿って配置される複数のブロックからなる中間部ブロック列とを備え、
前記中央部ブロック列を構成する前記ブロックは、1ブロック当たり1個以上の前記凹部を備え、
前記中間部ブロック列を構成する前記ブロック、及び前記トレッド端側ブロック列を構成する前記ブロックは、前記凹部の数が前記中央部ブロック列を構成する前記ブロックよりも少なく設定され、
前記中央部ブロック列を構成する前記ブロック、及び前記中間部ブロック列を構成する前記ブロックには、前記突起の形成された前記凹部を備えている、
ことを特徴とする請求項1に記載の二輪車用空気入りタイヤ。 - 前記中央部ブロック列を構成する前記ブロックは、前記突起を備えた前記凹部が1または2個形成され、
前記中間部ブロック列を構成する前記ブロックは、前記中央部ブロック列を構成する前記ブロックよりも大きさが小さく、かつ前記突起を備えた前記凹部が1個のみ形成されている、ことを特徴とする請求項1または請求項2に記載の二輪車用空気入りタイヤ。 - トレッド踏面から計測する前記凹部の深さをa、前記凹部の底部から計測する前記突起の高さをbとしたときに、a−b=−2〜+2mmを満足する、ことを特徴とする請求項1〜請求項3の何れか1項に記載の二輪車用空気入りタイヤ。
- 前記突起は、ブロック踏面よりも突出している、ことを特徴とする請求項1〜請求項4の何れか1項に記載の二輪車用空気入りタイヤ。
Priority Applications (4)
| Application Number | Priority Date | Filing Date | Title |
|---|---|---|---|
| JP2008037616A JP5154972B2 (ja) | 2008-02-19 | 2008-02-19 | 二輪車用空気入りタイヤ |
| PCT/JP2009/052871 WO2009104672A1 (ja) | 2008-02-19 | 2009-02-19 | 二輪車用空気入りタイヤ |
| EP09713493.6A EP2251213B1 (en) | 2008-02-19 | 2009-02-19 | Pneumatic tire for motorcycle |
| US12/918,242 US8875755B2 (en) | 2008-02-19 | 2009-02-19 | Pneumatic tire for motorcycle |
Applications Claiming Priority (1)
| Application Number | Priority Date | Filing Date | Title |
|---|---|---|---|
| JP2008037616A JP5154972B2 (ja) | 2008-02-19 | 2008-02-19 | 二輪車用空気入りタイヤ |
Publications (2)
| Publication Number | Publication Date |
|---|---|
| JP2009196425A JP2009196425A (ja) | 2009-09-03 |
| JP5154972B2 true JP5154972B2 (ja) | 2013-02-27 |
Family
ID=40985550
Family Applications (1)
| Application Number | Title | Priority Date | Filing Date |
|---|---|---|---|
| JP2008037616A Expired - Fee Related JP5154972B2 (ja) | 2008-02-19 | 2008-02-19 | 二輪車用空気入りタイヤ |
Country Status (4)
| Country | Link |
|---|---|
| US (1) | US8875755B2 (ja) |
| EP (1) | EP2251213B1 (ja) |
| JP (1) | JP5154972B2 (ja) |
| WO (1) | WO2009104672A1 (ja) |
Families Citing this family (19)
| Publication number | Priority date | Publication date | Assignee | Title |
|---|---|---|---|---|
| JP5161933B2 (ja) * | 2010-07-28 | 2013-03-13 | 住友ゴム工業株式会社 | 不整地走行用の自動二輪車用タイヤ |
| BR112013015590A2 (pt) * | 2010-12-20 | 2016-10-11 | Michelin & Cie | bloco estriado com recursos para desgaste térmico reduzido |
| JP5174142B2 (ja) * | 2010-12-27 | 2013-04-03 | 住友ゴム工業株式会社 | 不整地走行用の自動二輪車用タイヤ |
| JP5450515B2 (ja) * | 2011-06-10 | 2014-03-26 | 住友ゴム工業株式会社 | 不整地用モーターサイクルタイヤ |
| JP5647642B2 (ja) * | 2012-04-09 | 2015-01-07 | 住友ゴム工業株式会社 | 不整地走行用空気入りタイヤ |
| JP5616924B2 (ja) * | 2012-04-27 | 2014-10-29 | 住友ゴム工業株式会社 | 不整地走行用の空気入りタイヤ |
| US10850567B2 (en) | 2013-04-24 | 2020-12-01 | Bridgestone Corporation | Tire |
| JP6093637B2 (ja) * | 2013-04-24 | 2017-03-08 | 株式会社ブリヂストン | タイヤ |
| JP6193731B2 (ja) * | 2013-11-07 | 2017-09-06 | 住友ゴム工業株式会社 | 不整地走行用空気入りタイヤ |
| JP5986601B2 (ja) * | 2014-06-17 | 2016-09-06 | 住友ゴム工業株式会社 | 不整地走行用の自動二輪車用タイヤ |
| JP6420674B2 (ja) * | 2015-01-26 | 2018-11-07 | 住友ゴム工業株式会社 | 不整地走行用の自動二輪車用タイヤ |
| JP6470582B2 (ja) * | 2015-02-17 | 2019-02-13 | 住友ゴム工業株式会社 | 空気入りタイヤ及び自動二輪車用空気入りタイヤ対 |
| JP6834464B2 (ja) * | 2016-12-22 | 2021-02-24 | 住友ゴム工業株式会社 | タイヤ |
| JP6958327B2 (ja) * | 2017-12-19 | 2021-11-02 | 住友ゴム工業株式会社 | 不整地走行用の自動二輪車用タイヤ |
| JP7070071B2 (ja) * | 2018-05-15 | 2022-05-18 | 住友ゴム工業株式会社 | 不整地走行用の自動二輪車用タイヤ |
| JP7008572B2 (ja) * | 2018-05-15 | 2022-01-25 | 株式会社ブリヂストン | 二輪車用タイヤ |
| JP7110784B2 (ja) * | 2018-07-19 | 2022-08-02 | 住友ゴム工業株式会社 | タイヤ |
| JP7124531B2 (ja) * | 2018-08-01 | 2022-08-24 | 住友ゴム工業株式会社 | 不整地走行用のタイヤ |
| EP3747673A1 (en) * | 2019-06-05 | 2020-12-09 | Nokian Raskaat Renkaat Oy | Pneumatic vehicle tyre comprising a wear indicator |
Family Cites Families (13)
| Publication number | Priority date | Publication date | Assignee | Title |
|---|---|---|---|---|
| US952039A (en) * | 1908-05-25 | 1910-03-15 | Lemon Greenwald | Non-skid tire. |
| NL137253C (ja) * | 1968-12-13 | |||
| JPS573846Y2 (ja) * | 1977-09-11 | 1982-01-25 | ||
| JPS60110110U (ja) * | 1983-12-29 | 1985-07-26 | 住友ゴム工業株式会社 | グリツプ性を改良したタイヤ |
| JPS6367304U (ja) * | 1986-10-22 | 1988-05-06 | ||
| JPH01273706A (ja) * | 1988-04-25 | 1989-11-01 | Yokohama Rubber Co Ltd:The | トレッドパターン |
| JPH03239606A (ja) * | 1990-02-16 | 1991-10-25 | Hishifusa Miura | タイヤ類のスリップ防止機構 |
| JP3021694B2 (ja) * | 1991-01-30 | 2000-03-15 | 株式会社ブリヂストン | 空気入りラジアルタイヤ |
| JPH0589009U (ja) * | 1991-09-17 | 1993-12-03 | 光也 柴 | タイヤ |
| JPH066005U (ja) * | 1992-07-02 | 1994-01-25 | 株式会社ブリヂストン | モーターサイクル用タイヤ |
| JPH06320916A (ja) | 1993-05-11 | 1994-11-22 | Yokohama Rubber Co Ltd:The | 二輪自動車用空気入りタイヤ |
| FI96934C (fi) * | 1994-11-10 | 1996-09-25 | Erkki Antero Myllyharju | Kulkuvälineen rengas |
| JP4344392B2 (ja) * | 2007-05-14 | 2009-10-14 | 住友ゴム工業株式会社 | 不整地走行用の自動二輪車用タイヤ |
-
2008
- 2008-02-19 JP JP2008037616A patent/JP5154972B2/ja not_active Expired - Fee Related
-
2009
- 2009-02-19 US US12/918,242 patent/US8875755B2/en active Active
- 2009-02-19 WO PCT/JP2009/052871 patent/WO2009104672A1/ja not_active Ceased
- 2009-02-19 EP EP09713493.6A patent/EP2251213B1/en not_active Not-in-force
Also Published As
| Publication number | Publication date |
|---|---|
| US8875755B2 (en) | 2014-11-04 |
| EP2251213B1 (en) | 2018-12-19 |
| JP2009196425A (ja) | 2009-09-03 |
| US20110024009A1 (en) | 2011-02-03 |
| EP2251213A1 (en) | 2010-11-17 |
| EP2251213A4 (en) | 2012-04-04 |
| WO2009104672A1 (ja) | 2009-08-27 |
Similar Documents
| Publication | Publication Date | Title |
|---|---|---|
| JP5154972B2 (ja) | 二輪車用空気入りタイヤ | |
| JP4272244B2 (ja) | 不整地走行用空気入りタイヤ | |
| EP1992504B1 (en) | Motorcycle tire for off-road traveling | |
| US10293641B2 (en) | Motorcycle tire for uneven ground travel | |
| JP5320491B2 (ja) | 不整地走行用の自動二輪車用タイヤ | |
| JP4312226B2 (ja) | 不整地走行用の空気入りタイヤ | |
| JP2010076561A (ja) | 空気入りタイヤ | |
| JP7491009B2 (ja) | 不整地走行用の二輪車用タイヤ | |
| JP2014141163A (ja) | 不整地走行用の自動二輪車用タイヤ | |
| JP2010023585A (ja) | 二輪車用空気入りタイヤ | |
| JP5827575B2 (ja) | 不整地走行用の自動二輪車用タイヤ | |
| CN109968911B (zh) | 不平整地面行驶用的摩托车用轮胎 | |
| JP7070071B2 (ja) | 不整地走行用の自動二輪車用タイヤ | |
| JP2003306011A (ja) | モーターサイクル用タイヤ | |
| JP5529998B1 (ja) | タイヤ | |
| JP7298276B2 (ja) | 不整地走行用の自動二輪車用タイヤ | |
| US11427034B2 (en) | Tire | |
| JP2020189555A (ja) | 不整地走行用の自動二輪車用タイヤ | |
| JP4326520B2 (ja) | 不整地走行用空気入りタイヤ | |
| JP7491010B2 (ja) | 不整地走行用の二輪車用タイヤ | |
| JP7290056B2 (ja) | タイヤ | |
| JP4891614B2 (ja) | 不整地走行用空気入りタイヤ | |
| JP2020200000A (ja) | 不整地走行用の自動二輪車用タイヤ | |
| WO2019151505A1 (ja) | 自動二輪車用タイヤ | |
| US20240034097A1 (en) | Motorcycle tire for running on rough terrain |
Legal Events
| Date | Code | Title | Description |
|---|---|---|---|
| A621 | Written request for application examination |
Free format text: JAPANESE INTERMEDIATE CODE: A621 Effective date: 20101221 |
|
| A131 | Notification of reasons for refusal |
Free format text: JAPANESE INTERMEDIATE CODE: A131 Effective date: 20120424 |
|
| A521 | Request for written amendment filed |
Free format text: JAPANESE INTERMEDIATE CODE: A523 Effective date: 20120625 |
|
| TRDD | Decision of grant or rejection written | ||
| A01 | Written decision to grant a patent or to grant a registration (utility model) |
Free format text: JAPANESE INTERMEDIATE CODE: A01 Effective date: 20121204 |
|
| A61 | First payment of annual fees (during grant procedure) |
Free format text: JAPANESE INTERMEDIATE CODE: A61 Effective date: 20121206 |
|
| FPAY | Renewal fee payment (event date is renewal date of database) |
Free format text: PAYMENT UNTIL: 20151214 Year of fee payment: 3 |
|
| R150 | Certificate of patent or registration of utility model |
Ref document number: 5154972 Country of ref document: JP Free format text: JAPANESE INTERMEDIATE CODE: R150 Free format text: JAPANESE INTERMEDIATE CODE: R150 |
|
| R250 | Receipt of annual fees |
Free format text: JAPANESE INTERMEDIATE CODE: R250 |
|
| R250 | Receipt of annual fees |
Free format text: JAPANESE INTERMEDIATE CODE: R250 |
|
| R250 | Receipt of annual fees |
Free format text: JAPANESE INTERMEDIATE CODE: R250 |
|
| R250 | Receipt of annual fees |
Free format text: JAPANESE INTERMEDIATE CODE: R250 |
|
| R250 | Receipt of annual fees |
Free format text: JAPANESE INTERMEDIATE CODE: R250 |
|
| R250 | Receipt of annual fees |
Free format text: JAPANESE INTERMEDIATE CODE: R250 |
|
| LAPS | Cancellation because of no payment of annual fees |
