JP5154917B2 - プロービング装置で焦点を合わせて多平面画像を取得する装置と方法 - Google Patents

プロービング装置で焦点を合わせて多平面画像を取得する装置と方法 Download PDF

Info

Publication number
JP5154917B2
JP5154917B2 JP2007337424A JP2007337424A JP5154917B2 JP 5154917 B2 JP5154917 B2 JP 5154917B2 JP 2007337424 A JP2007337424 A JP 2007337424A JP 2007337424 A JP2007337424 A JP 2007337424A JP 5154917 B2 JP5154917 B2 JP 5154917B2
Authority
JP
Japan
Prior art keywords
objective lens
microscope
image
focusing
probe
Prior art date
Legal status (The legal status is an assumption and is not a legal conclusion. Google has not performed a legal analysis and makes no representation as to the accuracy of the status listed.)
Expired - Fee Related
Application number
JP2007337424A
Other languages
English (en)
Other versions
JP2008166806A (ja
Inventor
ミヒャエル・タイヒ
ウルフ・ハッキウス
ユリアネ・ブッシュ
イェルク・キーゼヴェッター
アクセル・ベッカー
Original Assignee
カスケード・マイクロテク・ドレスデン・ゲゼルシャフト・ミト・ベシュレンクテル・ハフツング
Priority date (The priority date is an assumption and is not a legal conclusion. Google has not performed a legal analysis and makes no representation as to the accuracy of the date listed.)
Filing date
Publication date
Application filed by カスケード・マイクロテク・ドレスデン・ゲゼルシャフト・ミト・ベシュレンクテル・ハフツング filed Critical カスケード・マイクロテク・ドレスデン・ゲゼルシャフト・ミト・ベシュレンクテル・ハフツング
Publication of JP2008166806A publication Critical patent/JP2008166806A/ja
Application granted granted Critical
Publication of JP5154917B2 publication Critical patent/JP5154917B2/ja
Expired - Fee Related legal-status Critical Current
Anticipated expiration legal-status Critical

Links

Images

Classifications

    • GPHYSICS
    • G02OPTICS
    • G02BOPTICAL ELEMENTS, SYSTEMS OR APPARATUS
    • G02B21/00Microscopes
    • G02B21/36Microscopes arranged for photographic purposes or projection purposes or digital imaging or video purposes including associated control and data processing arrangements
    • G02B21/365Control or image processing arrangements for digital or video microscopes
    • GPHYSICS
    • G02OPTICS
    • G02BOPTICAL ELEMENTS, SYSTEMS OR APPARATUS
    • G02B21/00Microscopes
    • G02B21/24Base structure
    • G02B21/241Devices for focusing
    • G02B21/244Devices for focusing using image analysis techniques
    • GPHYSICS
    • G02OPTICS
    • G02BOPTICAL ELEMENTS, SYSTEMS OR APPARATUS
    • G02B21/00Microscopes
    • G02B21/24Base structure
    • G02B21/26Stages; Adjusting means therefor
    • GPHYSICS
    • G02OPTICS
    • G02BOPTICAL ELEMENTS, SYSTEMS OR APPARATUS
    • G02B21/00Microscopes
    • G02B21/32Micromanipulators structurally combined with microscopes
    • GPHYSICS
    • G02OPTICS
    • G02BOPTICAL ELEMENTS, SYSTEMS OR APPARATUS
    • G02B21/00Microscopes
    • G02B21/06Means for illuminating specimens

Landscapes

  • Physics & Mathematics (AREA)
  • Chemical & Material Sciences (AREA)
  • Analytical Chemistry (AREA)
  • General Physics & Mathematics (AREA)
  • Optics & Photonics (AREA)
  • Engineering & Computer Science (AREA)
  • Computer Vision & Pattern Recognition (AREA)
  • Multimedia (AREA)
  • Testing Or Measuring Of Semiconductors Or The Like (AREA)
  • Microscoopes, Condenser (AREA)
  • Tests Of Electronic Circuits (AREA)

Description

本発明は、移動装置と、この移動装置上に配置された検査対象物用固定装置と、検査対象物に接触可能な探針と、探針用保持装置と、固定装置の上方に配置された、保持装置を固定可能な固定プレートとを具備し、この固定プレートが検査対象物の表面を見ることができるように開放した観察開口を有し、さらに観察開口の上方に配置された画像取得装置を具備し、この画像取得装置が対物レンズと対物レンズ保持部を有する顕微鏡を含み、画像取得装置が検査対象物の表面に向いた光ビームを発生可能な照明装置を備えている、プロービング装置で焦点を合わせて多平面画像を取得するための装置に関する。
本発明はさらに、検査対象物の表面から離隔された複数の探針の複数の尖端までこの検査対象物を側面に沿って位置決めするため、顕微鏡が、最初の時点検査対象物の表面焦点合わせされ、次の時点に当該両探針の平面焦点合わせされる、プロービング装置で焦点を合わせて多平面画像を取得するための方法に関する。
細胞、花粉粒等のような顕微鏡でしか見えぬほど小さな物体の三次元画像を生成するために、いわゆる共焦点顕微鏡が知られている。共焦点顕微鏡は、物体の仮想光学断面を生成可能な光学顕微鏡の変形である。この断面画像は続いて、適当なソフトウェアによって三次元表示のために合成される。
この共焦点顕微鏡の場合、光は絞り板を通ってビームスプリットミラーと対物レンズを経てプレパラートに達する。放出された光は対物レンズによって捕らえられ、絞り板の開口に焦点を合わせられる。この開口の背後に検出器が設けられている。絞り板は、対物レンズに調節された焦点面よりも高い位置または低い位置にある層によってビームを表示しないで隠す働きをする。それによって、焦点面内でプレパラートを通る断面に一致する画像が得られる。共焦点顕微鏡によって三次元結像を得るために、この焦点面の画像が記憶され、続いて対物レンズの焦点が第1焦点面に対して間隔を有する他の焦点面内にセットされる。その後で再び、この他の焦点面内でプレパラートを通る断面に一致する画像が生成されて記憶される。この過程を複数回繰り返した後で、適当なソフトウェアを用いて、異なる焦点面の個々の画像から、プレパラートの三次元結像が生成される。
共焦点顕微鏡の対物レンズの焦点を調節するために、顕微鏡対物レンズ焦点合わせシステムを高速作動のコンパクトな調節ユニットとして使用することが知られている。この調節ユニットはほとんどの顕微鏡に組込み可能である。そのために、調節ユニットはリボルバと対物レンズの間にねじ止めされる。このような顕微鏡対物レンズ焦点合わせシステムはリボルバ側にねじ付き軸を備え、このねじ付き軸は顕微鏡リボルバの対物レンズねじに螺合可能である。対物レンズ自体は顕微鏡対物レンズ焦点合わせシステムの雌ねじにねじ込まれる。
ねじ付き軸と雌ねじは、変位増幅式圧電式リニアアクチュエータによって相対的に軸方向に移動可能である。それによって、圧電式リニアアクチュエータに異なる電圧を掛けると、対物レンズとリボルバヘッドの間隔、ひいては焦点を電気的に変更することができる。従って、共焦点顕微鏡による走査時の適当な焦点面の選択は顕微鏡対物レンズ焦点合わせシステムの電圧を変更することによって行うことができる。
この共焦点顕微鏡の場合、検査すべき物体の照明はレーザビームによって行われる。その際、レーザビームは物体全体を照明するように拡げられる。物体を完全に照明する他の方法では、レーザビームが拡げられないで、一種のスキャナモードで時間と共に動かされ、物体が走査されるレーザビームによって照明される。
さらに、小さな強度で多色結像を可能にする白色光共焦点顕微鏡が知られている。
構成部品、特に半導体構成部品の技術的機能および物理パラメータの影響を検査するために、いわゆるプロービング装置が知られている。プロービング装置は一般的に、位置補正のために小さな回転運動を行うことができる移動装置、例えばX−Y移動ステージを備えている。この移動装置上には、固定装置、いわゆるチャックが配置されている。固定装置の上方には、侵入兼観察開口を有する固定プレートが設けられている。この固定プレート上には、探針のための保持装置を例えば吸着ホルダによって固定することができる。それによって、探針は侵入兼観察開口を通過し、検査すべき物体の適当な個所に電気的に接触することができ、従って検査すべき物体の電気的な特性を正確に測定することができる。
いわゆるプローブカードを備えた解決策も知られている。この解決策の場合、探針がプローブカード針としてプローブカードに動かぬように固定され、そしてプローブカードが固定プレートに固定されている。
検査対象物は基本的には、探針の尖端と相対的に位置決めすべきである。そのために通常は、移動装置を垂直方向に移動させて、検査対象物を探針から分離する。探針尖端と検査対象物の間の間隔は通常200〜250μmである。そして、移動装置は固定装置ひいては検査対象物を移動させ、他の検査対象物または検査対象物の他の部分が探針尖端の下方に位置するようにする。その後で、さらに垂直移動させることにより、検査対象物と探針尖端が再び接触する。この位置決め過程は通常、画像取得装置によってチェックされる。この画像取得装置は顕微鏡を含み、通常はさらにビデオカメラを備えている。画像取得装置、すなわち顕微鏡の対物レンズは観察開口の上方に配置されている。画像取得装置によって検査対象物の表面が撮影され、画像評価装置に供給される。画像評価ユニットでは、適当な分析プログラムによって移動装置を正確に次のように制御することができる。すなわち、探針尖端を検査対象物上の接触部のすぐ上に配置し、測定過程を開始できるように制御することができる。
手動式プロービング装置の場合には、ビデオカメラによって生成される画像を拡大して示すディスプレイを介してあるいは顕微鏡の接眼レンズで直接的に、観察が操作人によって行われる。そして、操作人は表示された位置に相応して位置決めおよび接触を制御する。
顕微鏡で取得される画像を鮮明にするために、この顕微鏡は垂直方向調節駆動装置を備えている。この垂直方向調節駆動装置を用いて顕微鏡全体を調節することにより、対物レンズと結像平面の間隔を変更することができる。
探針尖端が検査対象物上の接触部に接触する前に、尖端と接触表面は対物レンズに関して異なる結像平面上にある。そのため、尖端と接触表面は決して同時に鮮明に結像されない。
手動式プロービング装置の場合、操作人は検査対象物のボンディングパッドを先ず最初に、極めて不鮮明な影として見える探針の下方に案内し、そして探針と検査対象物の間隔を縮める。それによって、顕微鏡の焦点を検査対象物に合わせると、探針が鮮明に見える。そしてさらに幾分再調整が可能である。実際に接触接続されるときに初めて、探針尖端が実際に検査対象物のボンディングパッド上に正確に位置しているかどうかを確かめることができる。操作人は必要とあらば、もう一度接触を解除し、再位置決めし、そして新たに接触させなければならない。
顕微鏡の結像が画像評価装置を介して行われるプロービング装置の場合には、先ず最初にウェーハ表面の画像を撮影し、そして顕微鏡を機械的に調節した後で探針尖端の鮮明な画像を撮影し、両画像を重ね合わせて鮮明な全体画像にすることにより、両対象物の鮮明な結像を行うことができる。それによって、探針と検査対象物の両方の鮮明な結像が行われるがもちろん、静止画像であり、リアルタイムモードではない。
本発明の根底をなす課題は、焦点を合わせた多平面画像取得をリアルタイムで、すなわち検査対象物の移動中にも可能にすることである。
本発明による課題の装置の解決策は、対物レンズが、顕微鏡の垂直調節駆動装置に左右されずに、検査対象物の表面上の第1焦点面と探針尖端の高さ位置にある第2焦点面に対物レンズの焦点を合わせることができる顕微鏡対物レンズ焦点合わせシステムを備えていることにある。この解決策により、顕微鏡全体を移動させずに焦点合わせを行うことできる。従って、移動させるべき質量が従来技術と比べて大幅に減少する。これは、非常に短い時間間隔で焦点合わせを行うために利用可能である。従って、検査対象物と探針の相対運動中に、焦点合わせを何度も変更することができる。それによってさらに、適当な画像再生により、探針尖端と検査対象物表面の両方を鮮明に結像することができる。これは、目視観察を行う手動プロービング装置から、画像認識と位置決めを自動的に行う全自動プロービング装置まで、有利に利用可能である。
顕微鏡対物レンズ焦点合わせシステムにより、対物レンズと接眼レンズまたは画像撮影面との間の間隔が変更される。これは基本的には純機械的な解決策によって可能である。しかし、顕微鏡対物レンズ焦点合わせシステムが電気的に調節可能に形成され、顕微鏡対物レンズ焦点合わせシステムの移動を制御する制御装置に接続されていることにより、調節が大幅に簡単化される。この制御装置は2つのスイッチ位置によって両焦点合わせを開始する簡単なスイッチでもよい。このような解決策は例えば、位置決め時に操作人がどのように行動するかに応じて、操作人自体が両焦点合わせ調節の間で往復切換えを行う手動式プロービング装置で実施可能である。
顕微鏡対物レンズ焦点合わせシステムの極めて高速の調節は、この顕微鏡対物レンズ焦点合わせシステムが圧電式駆動装置を備えていることによって達成される。
基本的には、焦点調節部を顕微鏡の対物レンズまたはビーム経路内の他の個所に統合することができる。しかし、顕微鏡対物レンズ焦点合わせシステムが対物レンズ保持部と対物レンズの間に配置されていると極めて合目的である。それによって、市販の対物レンズと市販の顕微鏡対物レンズ焦点合わせシステムが他の使用目的のため、すなわち三次元結像を提供するための共焦点顕微鏡で使用するために設けられているとしても、使用可能である。
顕微鏡対物レンズ焦点合わせシステムが対物レンズ保持部の対物レンズねじにねじ込み可能な顕微鏡側のねじ付き軸と、対物レンズを保持するための雌ねじを備え、ねじ付き軸と雌ねじが変位増幅式圧電式リニアアクチュエータによって相対的に軸方向に移動可能であると、顕微鏡対物レンズ焦点合わせシステムは大きく変更することなくプロービング装置に既に設けられた顕微鏡に組込み可能である。
必ずしも必要ではないが、顕微鏡を共焦点顕微鏡として形成することができる。
本発明の他の実施形態では、画像取得装置が画像評価ユニットに接続されている。それによって一方では、検査対象物の表面の撮影画像と、表面画像上に投影された探針画像の鮮明な結像によって、探針の尖端と相対的に検査対象物を自動的に位置決めすることができる。他方では、顕微鏡対物レンズ焦点合わせシステムを制御するための信号を、発生した画像に相応して生成することができる。それによって、例えば焦点調節の制御が可能である。
特にこの機能のために、画像評価ユニットが制御装置を含んでいることにより、画像評価ユニット自体が顕微鏡対物レンズ焦点合わせシステムの制御を行うことが非常に合目的である。
位置決め過程の自動化と手動位置決めの目視観察の両方のために、画像取得装置がビデオカメラを備えていると合目的である。
課題の方法の解決策では、対物レンズが、顕微鏡の高さ調節に関係なく、異なる時点で両焦点面に焦点を合わせられ、対物レンズの焦点合わせ調節が位置決め中に複数回変更される。れによって、例えば焦点合わせ時に顕微鏡の全体で発生するような大き慣性質量に対抗する必要なしに、対物レンズの焦点を極めて迅速に変更することができる。それによって、両焦点面の結像が観察者に同時に見えるように示される。
特に、観察を目視で行う手動式プロービング装置の場合には、焦点合わせ調節を残像周波数よりも高い周波数で変更して、目の慣性を利用することにより、両焦点面の同時に見える結像を達成することができる。
簡単な方法では、特に単色または白色光で照明が行われるときには、焦点合わせ調節の変更を同じ時間的間隔をおいて行うことができる。
顕微鏡結像の表示を改善するためには、顕微鏡で撮影された画像がビデオカメラで記録され、そしてディスプレイで表示されると合目的である。
ビデオカメラの使用によってさらに、ビデオカメラで記録された画像を画像評価ユニットに供給し、異なる焦点合わせ調節で撮影された少なくとも2つの連続する画像を記憶し、表示装置で重ねて投影して表示することができる。これにより、人の目の残像周波数よりも低い結像周波数を選定することができる。なぜなら、この結像周波数が記憶された形で存在するからである。さらに、画像評価ユニットの使用により、極めて良好な着色結像を実現することできる。これについては後で詳しく述べる。
異なるカラーチャンネルで順々に画像を撮影して検査対象物の少なくとも表面の画像を合成することにより、極めて鮮明で高分解能の画像表示を行うことができる。その際、検査対象物の複数の画像が、それぞれ異なる色で照明して撮影され、続いて探針の尖端の画像が撮影され、探針の尖端の画像を投影する画像が、検査対象物の画像から合成されるように、焦点合わせ調節の変更が行われる。
たいていの対物レンズが2つの波長(アクロマート)または3つの波長(アポクロマート)でのみ補正するので、他の照明色で行われる検査対象物の画像撮影の際にその都度、照明色のために鮮明さを最適化した焦点合わせ調節を行うことによって、本発明による方法を改良すると合目的である。それによって、色に起因するすべての焦点合わせエラーが回避される。
次に、実施形態に基づいて本発明を詳しく説明する。
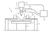
図1に示すように、プロービング装置1は移動装置としてX−Y移動ステージ2を備えている。このX−Y移動ステージ2はハウジング3内に配置されている。X−Y移動ステージ上には固定装置4が配置されている。この場合、固定装置4は角度θだけ回転可能である。固定装置4は検査対象物5を収容保持する働きをする。この検査対象物5は例えばウェーハである。このウェーハ上には多数の半導体チップが配置されている。この半導体チップ自体は個々のボンディングパッドを備えている。検査対象物5を検査するために、検査対象物は探針6によって接触させられる。その際例えば、検査対象物としてのウェーハのボンディングパッドは図示していない外側の検査配線に接触させられ、それによって電気信号が供給され、その反応が検出される。
探針6は一端が探針ホルダ7に固定されている。この探針ホルダは一方では探針を収容保持し、他方では検査対象物と相対的に探針を高精度で位置決めする働きをする。探針ホルダ7を固定するために、固定板、いわゆる探針ホルダプレート8が設けられている。この探針ホルダプレート8上で、探針ホルダ7は負圧によって吸着して固定可能である。
探針ホルダプレート8は開口9を有する。この開口9は一方では、観察のために検査対象物5の表面10の上方を開放する。他方では、探針6が探針ホルダプレート8の上側からこの開口9を通って検査対象物5に達することができる。
探針ホルダプレート8の観察開口9の上方には、画像取得装置11が配置されている。この画像取得装置11は照明装置13と対物レンズ14を有する顕微鏡12と、ビデオカメラ15とからなっている。ビデオカメラ15は画像評価ユニット16に接続されている。この画像評価ユニット16自体は適当な評価ソフトウェアを有するコンピュータからなっている。
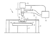
図2には、図1に関連して説明したものに類似する構造が示してある。両実施形態の違いは、別個の探針ホルダ7を有する個々の探針6の代わりに図2ではプローブカード17が使用される点にある。このプローブカード17は固有のプローブカード探針18を備え、プローブカードアダプタ19によって開口9内で保持されている。
図1、2に示すような画像取得ユニットが、図3に拡大して断面図で示してある。
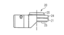
焦点合わせのために、対物レンズ14は顕微鏡対物レンズ焦点合わせシステム20を備えている。図4〜7は本発明に従って使用される顕微鏡対物レンズ焦点合わせシステム20を詳細に示している。顕微鏡対物レンズ焦点合わせシステム20は、図示していない圧電式駆動装置を収容保持する下側部分21を備えている。電圧をかけると幾何学的に変化する材料からなるこの圧電式駆動装置は、接続線22を介して、圧電式駆動装置用の図示していない制御装置を含む画像評価ユニット16に接続された電気的駆動装置である。下側部分は対物レンズ14を螺合することができる雌ねじ23を有する。上側部分24は下側部分21と相対的に軸方向に、そして顕微鏡12で使用する場合には垂直方向に移動可能であり、圧電式駆動装置によって駆動される。上側部分はねじ付き軸25を備えている。それによって、顕微鏡対物レンズ焦点合わせシステム20は、プロービング装置1において既に存在する顕微鏡12に、大きい変更なしに組み込むことができる。顕微鏡側のねじ付き軸25を対物レンズホルダ26の対物レンズねじにねじ込み可能である。雌ねじ23は対物レンズ14を収容保持する働きをする。電圧をかけると圧電式駆動装置が幾何学的に変化する結果として、対物レンズ14の焦点が調節される。
この顕微鏡対物レンズ焦点合わせシステム20が接続線22を介して画像評価ユニット16に接続されているので、画像評価ユニット16にインストールされたソフトウェアによって、顕微鏡対物レンズ焦点合わせシステム20は撮影すべき画像に対応して対物レンズの焦点を極めて迅速に調節することができる。
図8に示すように、検査対象物5のボンディングパッド27は、探針6がボンディングパッドに接触しておらず、従って探針6と相対的に検査対象物を動かすことができる状態にあり、ボンディングパッドは第1焦点面28内にあり、探針6の尖端29は第2焦点面30内にある。顕微鏡対物レンズ焦点合わせシステム20により、対物レンズ14は、焦点32が第1焦点面28内にある第1位置31から、対物レンズ14の焦点32が第2焦点面内にある第2位置33へもたらされる。この両位置31、33の間で対物レンズ14が往復操作され、両位置がそれぞれの画像で重ねて投影されるので、両平面は鮮明に結像される。
探針を備えた本発明によるプロービング装置の実施形態を示す図である。 プローブカードを備えた本発明によるプロービング装置の実施形態を示す図である。 本発明による画像取得装置の断面図である。 本発明に従って使用される顕微鏡対物レンズ焦点合わせシステムの正面図である。 本発明に従って使用される顕微鏡対物レンズ焦点合わせシステムの平面図である。 本発明に従って使用される顕微鏡対物レンズ焦点合わせシステムの側面図である。 本発明に従って使用される顕微鏡対物レンズ焦点合わせシステムの斜視図である。 検査対象物の表面に関連して探針を拡大して示す図である。
1 プロービング装置
2 X−Y移動ステージ
3 ハウジング
4 固定装置
5 検査対象物
6 探針
7 探針ホルダ
8 探針ホルダプレート
9 開口
10 検査対象物の表面
11 画像取得装置
12 顕微鏡
13 照明装置
14 対物レンズ
15 ビデオカメラ
16 画像評価ユニット
17 プローブカード
18 プローブカード探針
19 プローブカードアダプタ
20 顕微鏡対物レンズ焦点合わせシステム
21 下側部分
22 接続線
23 雌ねじ
24 上側部分
25 ねじ付き軸
26 対物レンズホルダ
27 ボンディングパッド
28 第1焦点面
29 探針の尖端
30 第2焦点面
31 第1位置
32 焦点
33 第2位置

Claims (15)

  1. プロービング装置(1)で焦点を合わせて多平面画像を取得するための装置であって、
    このプロービング装置(1)が、移動装置(2)と、この移動装置(2)上に配置された検査対象物(5)用固定装置(4)と、この検査対象物(5)に接触可能な探針(6;18)と、前記探針(6;18)用保持装置(7;17)と、前記固定装置(4)の上方に配置された固定プレート(8)とを有し、前記保持装置(7;17)が、この固定プレート(8)上に固定可能であり、この固定プレート(8)、前記検査対象物(5)の表面を見ることができるように開放している観察開口(9)を有し、
    前記プロービング装置(1)が、前記観察開口(9)の上方に配置された画像取得装置(11)を有し、この画像取得装置(11)対物レンズ(14)と対物レンズ保持部(26)を有する顕微鏡(12)を備え且つ、この画像取得装置(11)、前記検査対象物(5)の表面(10)に向けられた光ビームを発生可能な照明装置(13)を備える、当該装置において、
    前記対物レンズ(14)が、前記顕微鏡(12)の垂直調節駆動装置に左右されずに、前記検査対象物(5)の前記表面(10)上の第1焦点面(30)と探針尖端(29)の高さにある第2焦点面(30)内と、前記対物レンズ(14)を焦点合わせ可能な顕微鏡対物レンズ焦点合わせシステム(20)を有すること、及び
    前記顕微鏡対物レンズ焦点合わせシステム(20)が、前記対物レンズ保持部(26)と前記対物レンズ(14)との間に配置されている、ことを特徴とする装置。
  2. 前記顕微鏡対物レンズ焦点合わせシステム(20)は、電気的に調節可能に構成されていて且つこの顕微鏡対物レンズ焦点合わせシステム(20)の移動を制御する制御装置に接続されていることを特徴とする請求項1に記載の装置。
  3. 前記顕微鏡対物レンズ焦点合わせシステム(20)は、圧電式駆動装置を有する、ことを特徴とする請求項2に記載の装置。
  4. 前記顕微鏡対物レンズ焦点合わせシステム(20)は、対物レンズねじにねじ込み可能である顕微鏡側のねじ付き軸(25)と、前記対物レンズ(14)を保持するための雌ねじ(23)を有すること及び、前記ねじ付き軸(25)と前記雌ねじ(23)とが変位増幅式圧電式リニアアクチュエータによって軸方向に相対移動可能であることを特徴とする請求項1〜3のいずれか1項に記載の装置。
  5. 前記顕微鏡(12)は、共焦点顕微鏡として構成されていることを特徴とする請求項1〜のいずれか1項に記載の装置。
  6. 前記画像取得装置(11)は、画像評価ユニット(16)に接続されていることを特徴とする請求項1〜のいずれか1項に記載の装置。
  7. 前記画像評価ユニット(16)は、制御装置を有する、ことを特徴とする請求項に記載の装置。
  8. 前記画像取得装置(11)は、ビデオカメラ(15)を有する、ことを特徴とする請求項1〜のいずれか1項に記載の装置。
  9. プロービング装置(1)で焦点を合わせて多平面画像を取得するための方法であって、
    検査対象物(5)の表面(10)から離隔された複数の探針(6;18)の複数の尖端(29)に対してこの検査対象物(5)を側面に沿って位置決めするため、顕微鏡(12)が、最初の時点検査対象物(5)の表面(10)焦点合わせされ、次の第2の時点に当該両探針(6;18)の平面(30)焦点合わせされる、当該方法において
    顕微鏡対物レンズ焦点合わせシステム(20)が、対物レンズ保持部(26)と対物レンズ(14)との間に配置されていることによって、この対物レンズ(14)が、前記顕微鏡(12)の高さ調節に関係なく、異なる時点両焦点面(28;30)上焦点合わせされ、前記対物レンズ(14)の適当な焦点合わせ調節が位置決め中に複数回変更されることを特徴とする方法。
  10. 複数の前記焦点合わせ調節は、残像周波数よりも高い周波数で変更されることを特徴とする請求項に記載の方法。
  11. 複数の前記焦点合わせ調節の変更は、同じ時間間隔で実施される、ことを特徴とする請求項または10に記載の方法。
  12. 前記顕微鏡(12)撮影され画像がビデオカメラ(15)によって記録されディスプレイ上に表示されることを特徴とする請求項9又は10に記載の方法。
  13. 前記ビデオカメラ(15)によって記録された画像は、画像評価ユニット(16)に供給され、異なる焦点合わせ調節撮影された連続する少なくとも2つの画像が記憶され、表示装置重ねて投影されて表示されることを特徴とする請求項12に記載の方法。
  14. 前記検査対象物(5)の複数の画像がそれぞれ、色彩の異なる照明光で撮影され、引き続き前記探針(6;18)の尖端(29)の1つの画像が撮影され、1つの画像が、前記検査対象物(5)の当該複数の画像から合成され、前記探針(6;18)の前記尖端(29)の前記1つの画像が、前記1つの画像中に投影されるように、前記焦点合わせ調節の変更が実施される、ことを特徴とする請求項13のいずれか1項に記載の方法。
  15. の照明色で実施される画像撮影ごとに当該照明色のために鮮明さを最適化した焦点合わせ調節が、前記対物レンズ(14)に対して実施される、ことを特徴とする請求項14に記載の方法。
JP2007337424A 2006-12-27 2007-12-27 プロービング装置で焦点を合わせて多平面画像を取得する装置と方法 Expired - Fee Related JP5154917B2 (ja)

Applications Claiming Priority (4)

Application Number Priority Date Filing Date Title
DE102006062297 2006-12-27
DE102006062297.9 2006-12-27
DE102007002097.1 2007-01-09
DE102007002097 2007-01-09

Publications (2)

Publication Number Publication Date
JP2008166806A JP2008166806A (ja) 2008-07-17
JP5154917B2 true JP5154917B2 (ja) 2013-02-27

Family

ID=39695740

Family Applications (1)

Application Number Title Priority Date Filing Date
JP2007337424A Expired - Fee Related JP5154917B2 (ja) 2006-12-27 2007-12-27 プロービング装置で焦点を合わせて多平面画像を取得する装置と方法

Country Status (2)

Country Link
US (2) US20080212078A1 (ja)
JP (1) JP5154917B2 (ja)

Families Citing this family (13)

* Cited by examiner, † Cited by third party
Publication number Priority date Publication date Assignee Title
US20080158664A1 (en) * 2006-12-27 2008-07-03 Suss Microtec Test Systems Gmbh Arrangement and method for image acquisition on a prober
US8284246B2 (en) * 2008-01-18 2012-10-09 Olympus Corporation Microscope system, control method used for microscope system, and recording medium for reproducing a microscope state based on microscope operation history and a microscope operation item
AT505671B1 (de) * 2008-05-13 2009-03-15 Evk Di Kerschhaggl Gmbh Verfahren zum optischen detektieren von bewegten objekten
US8253784B2 (en) * 2008-11-13 2012-08-28 Honeywell International Inc. Image capturing device assembly for use with test probe
JP4724756B2 (ja) * 2009-01-07 2011-07-13 日置電機株式会社 基板検査用カメラのための照明装置を備える基板検査装置
DE102009059274B4 (de) * 2009-12-22 2012-07-19 Max-Joseph Kraus Verfahren zur Messung der Dynamik der Änderungen von Blutplättchen
WO2011127962A1 (de) 2010-04-13 2011-10-20 Cascade Microtech Dresden Gmbh Verfahren und vorrichtung zur kontaktierung einer reihe von kontaktflächen mit sondenspitzen
EP2955947B1 (en) * 2014-06-12 2019-07-31 Uros Technology S.à r.l. Processing of preferred roaming lists
US10785625B2 (en) * 2016-02-17 2020-09-22 Wistron Aidge Corporation Internet of Things (IOT) companion device
JP6781120B2 (ja) * 2017-08-18 2020-11-04 株式会社日本マイクロニクス 検査装置
US10698025B2 (en) * 2018-07-20 2020-06-30 Formfactor Beaverton, Inc. Probe systems and methods that utilize a flow-regulating structure for improved collection of an optical image of a device under test
DE102018121911A1 (de) * 2018-09-07 2020-03-12 Formfactor Gmbh Verfahren zur Positionierung von Testsubstrat, Sonden und Inspektionseinheit relativ zueinander und Prober zu dessen Ausführung
US12203959B2 (en) 2022-11-18 2025-01-21 Formfactor, Inc. Methods of establishing contact between a probe tip of a probe system and a device under test, probe systems that perform the methods, and storage media that directs probe systems to perform the methods

Family Cites Families (14)

* Cited by examiner, † Cited by third party
Publication number Priority date Publication date Assignee Title
JPS5917260A (ja) * 1982-07-20 1984-01-28 Mitsubishi Electric Corp 半導体ウエハの試験方法
JPS63204153A (ja) * 1987-02-19 1988-08-23 Tokyo Electron Ltd プロ−ブ装置
EP0606736A3 (en) * 1992-12-11 1995-03-15 Nippon Kogaku Kk A multi-LED color scanning device and associated color image scanning method.
US5394100A (en) * 1993-05-06 1995-02-28 Karl Suss America, Incorporated Probe system with automatic control of contact pressure and probe alignment
US5880465A (en) * 1996-05-31 1999-03-09 Kovex Corporation Scanning confocal microscope with oscillating objective lens
US6002426A (en) * 1997-07-02 1999-12-14 Cerprobe Corporation Inverted alignment station and method for calibrating needles of probe card for probe testing of integrated circuits
US6096567A (en) * 1997-12-01 2000-08-01 Electroglas, Inc. Method and apparatus for direct probe sensing
US6590612B1 (en) * 1999-03-18 2003-07-08 Cellavision Ab Optical system and method for composing color images from chromatically non-compensated optics
JP3544892B2 (ja) * 1999-05-12 2004-07-21 株式会社東京精密 外観検査方法及び装置
JP2004022871A (ja) * 2002-06-18 2004-01-22 Nec Kansai Ltd マニピュレータ型プローブ装置およびそのプローブピンの位置調整方法
US20040102903A1 (en) * 2002-11-27 2004-05-27 Graessle Josef A. Biological growth plate scanner
DE102004034970A1 (de) * 2004-07-16 2006-02-02 Carl Zeiss Jena Gmbh Lichtrastermikroskop und Verwendung
US7656172B2 (en) * 2005-01-31 2010-02-02 Cascade Microtech, Inc. System for testing semiconductors
US20080158664A1 (en) * 2006-12-27 2008-07-03 Suss Microtec Test Systems Gmbh Arrangement and method for image acquisition on a prober

Also Published As

Publication number Publication date
JP2008166806A (ja) 2008-07-17
US20080212078A1 (en) 2008-09-04
US20110013011A1 (en) 2011-01-20
US8072586B2 (en) 2011-12-06

Similar Documents

Publication Publication Date Title
JP5154917B2 (ja) プロービング装置で焦点を合わせて多平面画像を取得する装置と方法
US20080158664A1 (en) Arrangement and method for image acquisition on a prober
JP5325522B2 (ja) 複合型観察装置
JP6009862B2 (ja) 走査型プローブ顕微鏡
JP5863357B2 (ja) 拡大観察装置、並びに、拡大観察装置の画像表示方法及び検鏡法切換方法
US11681133B2 (en) System and method for macroscopic and microscopic imaging ex-vivo tissue
JP4567594B2 (ja) 顕微鏡、試料観察方法、及び半導体検査方法
JP2002148526A (ja) 顕微鏡装置
CN101019058A (zh) 带焦点位置控制机构的观察装置
JPH10339845A (ja) モニタ観察型顕微鏡
CN111989608A (zh) 对样品进行显微观察以呈现具有扩展景深的图像或三维图像的显微镜和方法
JP6590429B1 (ja) 共焦点顕微鏡、及びその撮像方法
JP2007140183A (ja) 共焦点走査型顕微鏡装置
CN113885187B (zh) 数字显微镜和显微套件
JP2003315238A (ja) 測定位置合わせ方法、カンチレバ及び走査形プローブ顕微鏡
JP2019144456A (ja) 観察装置
JP3125124U (ja) 赤外顕微鏡
JP6255305B2 (ja) 光学顕微装置
JP4963567B2 (ja) 微小高さ測定装置
JP6971770B2 (ja) 拡大観察装置
JP3126047B2 (ja) 走査型プローブ顕微鏡
KR102715080B1 (ko) 현미경용 얼라인 장치
JP2024154082A (ja) レンズユニットおよび拡大観察装置
JP2008299210A (ja) 干渉対物レンズと、その干渉対物レンズを備える干渉顕微鏡装置
JP2009116317A (ja) 顕微鏡装置

Legal Events

Date Code Title Description
A521 Request for written amendment filed

Free format text: JAPANESE INTERMEDIATE CODE: A821

Effective date: 20080613

A521 Request for written amendment filed

Free format text: JAPANESE INTERMEDIATE CODE: A523

Effective date: 20080613

A621 Written request for application examination

Free format text: JAPANESE INTERMEDIATE CODE: A621

Effective date: 20100317

RD04 Notification of resignation of power of attorney

Free format text: JAPANESE INTERMEDIATE CODE: A7424

Effective date: 20100526

A977 Report on retrieval

Free format text: JAPANESE INTERMEDIATE CODE: A971007

Effective date: 20120531

A131 Notification of reasons for refusal

Free format text: JAPANESE INTERMEDIATE CODE: A131

Effective date: 20120619

A521 Request for written amendment filed

Free format text: JAPANESE INTERMEDIATE CODE: A523

Effective date: 20120906

TRDD Decision of grant or rejection written
A01 Written decision to grant a patent or to grant a registration (utility model)

Free format text: JAPANESE INTERMEDIATE CODE: A01

Effective date: 20121127

A61 First payment of annual fees (during grant procedure)

Free format text: JAPANESE INTERMEDIATE CODE: A61

Effective date: 20121206

FPAY Renewal fee payment (event date is renewal date of database)

Free format text: PAYMENT UNTIL: 20151214

Year of fee payment: 3

R150 Certificate of patent or registration of utility model

Ref document number: 5154917

Country of ref document: JP

Free format text: JAPANESE INTERMEDIATE CODE: R150

Free format text: JAPANESE INTERMEDIATE CODE: R150

R250 Receipt of annual fees

Free format text: JAPANESE INTERMEDIATE CODE: R250

R250 Receipt of annual fees

Free format text: JAPANESE INTERMEDIATE CODE: R250

R250 Receipt of annual fees

Free format text: JAPANESE INTERMEDIATE CODE: R250

R250 Receipt of annual fees

Free format text: JAPANESE INTERMEDIATE CODE: R250

R250 Receipt of annual fees

Free format text: JAPANESE INTERMEDIATE CODE: R250

R250 Receipt of annual fees

Free format text: JAPANESE INTERMEDIATE CODE: R250

R250 Receipt of annual fees

Free format text: JAPANESE INTERMEDIATE CODE: R250

R250 Receipt of annual fees

Free format text: JAPANESE INTERMEDIATE CODE: R250

LAPS Cancellation because of no payment of annual fees