JP5079570B2 - 画像形成装置 - Google Patents

画像形成装置 Download PDF

Info

Publication number
JP5079570B2
JP5079570B2 JP2008085517A JP2008085517A JP5079570B2 JP 5079570 B2 JP5079570 B2 JP 5079570B2 JP 2008085517 A JP2008085517 A JP 2008085517A JP 2008085517 A JP2008085517 A JP 2008085517A JP 5079570 B2 JP5079570 B2 JP 5079570B2
Authority
JP
Japan
Prior art keywords
elastic film
tank
ink
liquid
pressure
Prior art date
Legal status (The legal status is an assumption and is not a legal conclusion. Google has not performed a legal analysis and makes no representation as to the accuracy of the status listed.)
Expired - Fee Related
Application number
JP2008085517A
Other languages
English (en)
Other versions
JP2009234150A (ja
Inventor
真人 片田
Current Assignee (The listed assignees may be inaccurate. Google has not performed a legal analysis and makes no representation or warranty as to the accuracy of the list.)
Fujifilm Corp
Original Assignee
Fujifilm Corp
Priority date (The priority date is an assumption and is not a legal conclusion. Google has not performed a legal analysis and makes no representation as to the accuracy of the date listed.)
Filing date
Publication date
Application filed by Fujifilm Corp filed Critical Fujifilm Corp
Priority to JP2008085517A priority Critical patent/JP5079570B2/ja
Publication of JP2009234150A publication Critical patent/JP2009234150A/ja
Application granted granted Critical
Publication of JP5079570B2 publication Critical patent/JP5079570B2/ja
Expired - Fee Related legal-status Critical Current
Anticipated expiration legal-status Critical

Links

Images

Landscapes

  • Ink Jet (AREA)

Description

本発明は、画像形成装置に関するものであり、特に、液体を記録媒体へ吐出して記録媒体に画像を形成する画像形成装置に関するものである。
インクなどの液体を吐出して記録媒体上に画像を形成する画像形成装置においては、液体を貯留する液体タンクが備えられている。この液体タンクは、液体吐出させるヘッドと別に設けられ、当該タンクからヘッドへ、液体の供給が行われる構成とされる場合がある(特許文献1参照)。そして、液体タンクとヘッドとの間にさらにサブタンクを設け、サブタンクを弾性膜で構成する場合がある(特許文献2参照)。
このように、弾性膜を用いてタンクを構成し、供給路中を加圧状態として液滴吐出口の加圧メンテナンスを行う場合、弾性膜のスムーズな変形が求められる。しかしながら、特許文献2に記載の技術では、加圧時に弾性膜(可撓性膜)が規制手段に密着するため、減圧時に可撓性膜が規制手段からスムーズに剥離されず、可撓性膜のスムーズな変形が阻害されうる。
特開2000−280493号公報 特開2006−256024号公報
本発明は上記事実を考慮してなされたものであり、供給路中に配置された液体タンクの少なくとも一部を構成する弾性膜のスムーズな変形を実現可能な画像形成装置を提供することを課題とする。
上記課題を解決するために、請求項1に係る画像形成装置は、 記録媒体へ液滴を吐出して画像を記録する記録ヘッドと、前記記録ヘッドへ供給する画像形成用の液体を貯留するタンクと、前記タンクに貯留された液体を前記記録ヘッドへ供給する供給路と、前記タンク内を、前記液体を貯留する液体室と気体が充填される気体室とに区画する弾性変形可能な弾性膜と、前記液体室内の液圧を調整する液圧調整手段と、前記弾性膜と前記タンクの前記気体室側の内壁との貼り付きを抑制する貼付抑制部材と、を備え、前記貼付抑制部材は、前記弾性膜の前記気体室側の表面に形成された複数の突起を含んで形成され、前記複数の突起は前記弾性膜が該複数の突起の間に構成される隙間からはみ出して前記気体室の内壁に密着されないように、前記弾性膜の全面に形成され、前記弾性膜よりも粘着性が低く硬度が高いこと、を特徴とする
請求項1に記載の発明では、画像形成用の液体は、タンクに貯留されており、供給路を介して記録ヘッドへ供給される。タンク内は、弾性膜によって液体室と気体室とに区画されている。タンクから記録ヘッドへの液体の流路を閉鎖した状態で液圧調整手段によって液体室内が加圧されると、弾性膜は液体室側の容積が大きくなるように、すなわち、気体室側へ膨らむように変形して移動する。そして、更に加圧が進むと、弾性膜が気体室の内壁と密着する。液圧が所定値に加圧された後、タンクから記録ヘッドへの液体の流路を開放すると、液体室内の液量が減少し、弾性膜は液体室側へ移動する。
本発明によれば、貼付抑制部材によって弾性膜とタンクの気体室側の内壁との貼り付きが抑制されているので、弾性膜を気体室側の内壁からスムーズに剥離させて移動させることができる。
本発明の請求項2に係る画像形成装置は、前記突起の先端側が、曲面形状、錘形状、平坦状、のいずれかの形状とされていることを特徴とする。
突起を上記形状とすることにより、気体室の内壁と弾性膜との密着面積を小さくして貼り付きを抑制することができる。
本発明の請求項3に係る画像形成装置は、前記弾性膜が、ゴムまたは熱可塑性エラストマーのいずれか一方を含んで構成されていること、を特徴とする。
このように、弾性膜を、ゴムまたは熱可塑性エラストマーにより構成することにより、スムーズに弾性変形させることができる。
本発明は上記構成としたので、供給路中に配置されたタンクの弾性膜のスムーズな移動を実現することができる。
以下、図面に基づいて、本発明の実施態様について説明する。
図1には、本発明の画像形成装置の一実施形態を示すインクジェット記録装置の全体構成図が示されている。同図に示すように、このインクジェット記録装置110は、黒(K),シアン(C),マゼンタ(M),イエロー(Y)の各インクに対応して設けられた複数のインクジェット記録ヘッド(以下、ヘッドという。)112K,112C,112M,112Yを有する印字部112と、各ヘッド112K,112C,112M,112Yに供給するインクを貯蔵しておくインク貯蔵/装填部114と、記録媒体としての記録紙Sを供給する給紙部118と、記録紙Sのカールを除去するデカール処理部120と、前記印字部112のノズル面(インク吐出面)に対向して配置され、記録紙Sの平面性を保持しながら記録紙Sを搬送するベルト搬送部122と、印字部112による印字結果を読み取る印字検出部124と、記録済みの記録紙(プリント物)を外部に排紙する排紙部126と、を備えている。なお、本明細書でいう「印字」とは、文字の印刷の他に画像の印刷も含む。
インク貯蔵/装填部114は、各ヘッド112K、112C、112M、112Yに対応する色のインクを貯蔵するインクタンク13K,13C,13M,13Yを有し、各タンクは所要の管路を介してヘッド112K、112C、112M、112Yと連通されている。また、インク貯蔵/装填部114は、インク残量が少なくなるとその旨を報知する報知手段を備えるとともに、色間の誤装填を防止するための機構を有している。
図1では、給紙部118の一例としてロール紙(連続用紙)のマガジンが示されているが、紙幅や紙質等が異なる複数のマガジンを併設してもよい。また、ロール紙のマガジンに代えて、又はこれと併用して、カット紙が積層装填されたカセットによって用紙を供給してもよい。
複数種類の記録媒体(メディア)を利用可能な構成にした場合、メディアの種類情報を記録したバーコード或いは無線タグなどの情報記録体をマガジンに取り付け、その情報記録体の情報を所定の読取装置によって読み取ることで、使用される記録媒体の種類(メディア種)を自動的に判別し、メディア種に応じて適切なインク吐出を実現するようにインク吐出制御を行うことが好ましい。
給紙部118から送り出される記録紙Sはマガジンに装填されていたことによる巻きクセが残り、カールする。このカールを除去するために、デカール処理部120においてマガジンの巻きクセ方向と逆方向に加熱ドラム130で記録紙Sに熱を与える。このとき、多少印字面が外側に弱いカールとなるように加熱温度を制御するとより好ましい。
ロール紙を使用する装置構成の場合、図1のように、裁断用のカッター128が設けられており、該カッター128によってロール紙は所望のサイズにカットされる。なお、カット紙を使用する場合には、カッター128は不要である。
デカール処理後、カットされた記録紙Sは、ベルト搬送部122へと送られる。ベルト搬送部122は、ローラ131、132間に無端状のベルト133が巻き掛けられた構造を有するように構成されている。
ベルト133は、記録紙Sの幅よりも広い幅寸法を有しており、ベルト面には多数の吸引穴(不図示)が形成されている。同図に示されるように、ローラ131、132間に掛け渡されたベルト133の内側において印字部112のノズル面、及び印字検出部124のセンサ面に対向する位置には吸着チャンバ134が設けられており、この吸着チャンバ134をファン135で吸引して負圧にすることによって記録紙Sがベルト133上に吸着保持される。なお、吸引吸着方式に代えて、静電吸着方式を採用してもよい。
ベルト133が巻かれているローラ131、132の少なくとも一方に図示しないモータの動力が伝達されることにより、ベルト133は図1上の時計回り方向に駆動され、ベルト133上に保持された記録紙Sは図1の左から右へと搬送される。
縁無しプリント等を印字するとベルト133上にもインクが付着するので、ベルト133の外側の所定位置(印字領域以外の適当な位置)にベルト清掃部136が設けられている。ベルト清掃部136の構成について詳細は図示しないが、例えば、ブラシ・ロール、吸水ロール等をニップする方式、清浄エアーを吹き掛けるエアーブロー方式、或いはこれらの組合せなどがある。清掃用ロールをニップする方式の場合、ベルト線速度とローラ線速度を変えると清掃効果が大きい。
なお、ベルト搬送部122に代えて、ローラ・ニップ搬送機構を用いる態様も考えられるが、印字領域をローラ・ニップ搬送すると、印字直後に用紙の印字面をローラが接触するので画像が滲み易いという問題がある。したがって、本例のように、印字領域では画像面を接触させない吸着ベルト搬送が好ましい。
ベルト搬送部122により形成される用紙搬送路上において印字部112の上流側には、加熱ファン140が設けられている。加熱ファン140は、印字前の記録紙Sに加熱空気を吹き付け、記録紙Sを加熱する。印字直前に記録紙Sを加熱しておくことにより、インクが着弾後乾き易くなる。
印字部112の各ヘッド112K、112C、112M、112Yは、当該インクジェット記録装置110が対象とする記録紙Sの最大紙幅に対応する長さを有し、そのノズル面には最大サイズの記録紙Sの少なくとも一辺を超える長さ(描画可能範囲の全幅)にわたりインク吐出用のノズルが複数配列されたフルライン型のヘッドとなっている。
ヘッド112K、112C、112M、112Yは、記録紙Sの送り方向に沿って上流側から黒(K)、シアン(C)、マゼンタ(M)、イエロー(Y)の色順に配置され、それぞれのヘッド112K、112C、112M、112Yが記録紙Sの搬送方向と略直交する方向に沿って延在するように固定設置される。
ベルト搬送部122により記録紙Sを搬送しつつ各ヘッド112K、112C、112M、112Yからそれぞれ異色のインクを吐出することにより記録紙S上にカラー画像を形成し得る。
このように、紙幅の全域をカバーするノズル列を有するフルライン型のヘッド112K、112C、112M、112Yを色別に設ける構成によれば、紙送り方向(副走査方向)について記録紙Sと印字部112を相対的に移動させる動作を1回行うだけで(すなわち1回の副走査で)、記録紙Sの全面に画像を記録することができる。これにより、記録ヘッドが紙搬送方向と直交する方向に往復動作するシャトル型ヘッドに比べて高速印字が可能であり、生産性を向上させることができる。
本例では、KCMYの標準色(4色)の構成を例示したが、インク色や色数の組合せについては本実施形態に限定されず、必要に応じて淡インク、濃インク、特別色インクを追加してもよい。例えば、ライトシアン、ライトマゼンタなどのライト系インクを吐出するインクジェットヘッドを追加する構成も可能である。また、各色ヘッドの配置順序も特に限定はない。
図1に示した印字検出部124は、印字部112の打滴結果を撮像するためのイメージセンサ(ラインセンサ又はエリアセンサ)を含み、該イメージセンサによって読み取った打滴画像からノズルの目詰まりや着弾位置誤差などの吐出特性をチェックする手段として機能する。
本例の印字検出部124には、受光面に複数の受光素子(光電変換素子)が2次元配列されてなるCCDエリアセンサを好適に用いることができる。エリアセンサは、少なくとも各ヘッド112K、112C、112M、112Yによるインク吐出幅(画像記録幅)の全域を撮像できる撮像範囲を有しているものとする。1つのエリアセンサで所要の撮像範囲を実現してもよいし、複数のエリアセンサを組み合わせて(繋ぎ合わせて)所要の撮像範囲を確保してもよい。或いはまた、エリアセンサを移動機構(不図示)によって支持し、エリアセンサを移動(走査)させることによって所要の撮像範囲を撮像する構成も可能である。
また、エリアセンサに代えてラインセンサを用いることも可能である。この場合、ラインセンサは、少なくとも各ヘッド112K、112C、112M、112Yによるインク吐出幅(画像記録幅)よりも幅の広い受光素子列(光電変換素子列)を有する構成が好ましい。
このように、印字検出部124は、イメージセンサを含むブロックであり、記録紙Sに印字された画像を読み取り、所要の信号処理などを行って印字状況(吐出の有無、着弾位置誤差、ドット形状、光学濃度など)を検出し、その検出結果を図示しないプリント制御部及びシステムコントローラに提供する。
印字検出部124の後段には後乾燥部142が設けられている。後乾燥部142は、印字された画像面を乾燥させる手段であり、例えば、加熱ファンが用いられる。印字後のインクが乾燥するまでは印字面と接触することは避けたほうが好ましいので、熱風を吹き付ける方式が好ましい。
多孔質のペーパーに染料系インクで印字した場合などでは、加圧によりペーパーの孔を塞ぐことでオゾンなど、染料分子を壊す原因となるものと接触することを防ぐことで画像の耐候性がアップする効果がある。
後乾燥部142の後段には、加熱・加圧部144が設けられている。加熱・加圧部144は、画像表面の光沢度を制御するための手段であり、画像面を加熱しながら所定の表面凹凸形状を有する加圧ローラ145で加圧し、画像面に凹凸形状を転写する。
こうして生成されたプリント物は排紙部126から排出される。本来プリントすべき本画像(目的の画像を印刷したもの)とテスト印字とは分けて排出することが好ましい。このインクジェット記録装置110では、本画像のプリント物と、テスト印字のプリント物とを選別してそれぞれの排出部126A、126Bへと送るために排紙経路を切り換える不図示の選別手段が設けられている。
なお、大きめの用紙に本画像とテスト印字とを同時に並列に形成する場合は、カッター148によってテスト印字の部分を切り離す。また、図には示さないが、本画像の排出部126Aには、オーダー別に画像を集積するソーターが設けられる。
図2は、前述したインクジェット記録装置110におけるインク供給系の内部構造を簡略化して示したものである。なお、各ヘッド112K,112C,112M,112Y、及び、対応する色のインクを貯蔵するインクタンク13K,13C,13M,13Yは同様の構成とされているため、ここでは1つをヘッド112、インクタンク13として説明する。
インクタンク13は、管路13Aを介してバッファータンク14と連結されている。バッファータンク14は、大気に開放されている。管路13Aには、ポンプ13B及びバルブ13Cが設けられている。インクタンク13に貯蔵されたインクは、ポンプ13Bを駆動させることにより、バッファータンク14へ供給される。バッファータンク14には、インクタンク13からのインク供給により、所定量のインクが貯留されている。
バッファータンク14は、供給タンク40と第1流路22を介して連結されている。また、バッファータンク14は、回収タンク50と第2流路32を介して連結されている。第1流路22には、供給タンク40とバッファータンク14との間での送液を行う第1ポンプ24が設けられ、第1ポンプ24とバッファータンク14との間にフィルタFが設けられている。第2流路32には、回収タンク50とバッファータンク14との間での送液を行う第2ポンプ34が設けられている。供給タンク40は、供給路23を介してヘッド112に連通され、回収タンク50は、回収路33を介してヘッド112に連通されている。
供給タンク40の内部は、第1弾性膜44によって、第1液体室46と第1気体室48とに区画されている。回収タンク50の内部は、第2弾性膜54によって、第2液体室56と第2気体室58に区画されている。第1流路22及び供給路23は、供給タンク40の第1液体室46へ連通されており、第2流路32及び回収路33は、回収タンク50の第2液体室56へ連通されている。供給タンク40及び回収タンク50の詳細については後述する。
ヘッド112は、複数のヘッドバーに分割されており(図2では3分割)、各々のヘッドバーにインクを供給するための供給口23A、および、インクを排出するための排出口33Aが構成されている。供給路23は、供給口23Aの手前で分岐され、各々の供給口23Aから各ヘッドバーへインクが供給される。また、各排出口33Aからの各々の回収路33は、回収タンク50の手前で合流されている。
なお、本実施形態では、記録ヘッドが複数のヘッドバーに分割されている例について説明したが、記録ヘッドは分割されず単体であってもよい。
供給路23には、供給口23A毎に分岐された各々にバルブV1Aが設けられると共に、分岐されていない側にバルブV1が設けられている。回収路33には、排出口33A毎に分岐された各々にバルブV2が設けられている。
バッファータンク14、第1流路22、供給タンク40、供給路23により供給系流路が構成され、回収路33、回収タンク50、及び、第2流路32により、回収系流路が構成されている。供給系流路、ヘッド112、回収系流路、及び、バッファータンク14により、インク供給系の循環路20が構成されている。
次に、供給タンク40及び回収タンク50について説明する。
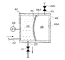
図3(A)に示すように、供給タンク40は円筒状の筐体42を備え、筐体42内の空間は、第1弾性膜44によって第1液体室46と第1気体室48とに区画されている。第1弾性膜44は、円板状とされ、円柱形とされた筐体42の内部を軸方向で分割するように配置されている。第1弾性膜44は、弾性変形可能な材料で構成されており、ゴム、熱可塑性エラストマー、などで構成することが好ましい。特に、フッ素ゴム、NBRは好適に用いることができる。
第1弾性膜44の第1気体室48側の表面には、貼付抑制部材として複数の突起44Aが形成されている。図4(A)に示すように、突起44Aは円形状とされた第1弾性膜44の表面のほぼ全面に形成されている。突起44Aは、図4(B)に示すように、先端側が曲面形状とされ、第1弾性膜44と一体的に同一材料で構成されている。なお、突起44Aは、図4(C)に示すように、第1弾性膜44と別体とされて別材料で構成されていてもよい。
第1液体室46の加圧によって、第1弾性膜44が第1気体室48側へ膨らんで、第1気体室48の内壁48Aに接着された際に、第1弾性膜44が変形して複数の突起44Aの間に構成される隙間からはみ出し、第1気体室48の内壁48Aに密着されることのないように(図5参照)、複数の突起44Aの各々の間隔、硬度、大きさ、第1弾性膜44の硬度、厚み、が設定される。
なお、第1弾性膜44と突起44Aとを異なる材料で構成する場合には、突起44Aの粘着性を第1弾性膜44よりも低くすることが好ましく、突起44Aの硬度を第1弾性膜44よりも高くすることが好ましい。また、突起44Aに貼付防止用のコーティング(フッ素コーティングなど)を施してもよい。
第1液体室46にはインクが貯留され、第1流路22、供給路23と連通されている。供給タンク40には、第1圧力検出器43が接続されている。第1圧力検出器43は、第1液体室46内の圧力を検出可能とされている。第1圧力検出器43は、第1液体室46の圧力を直接検出するものであっても、第1気体室48の圧力を検出して間接的に第1液体室46の圧力を検出するものであってもよい。
第1気体室48には、気体が充填され、第1気体室48を大気へ開放する開放管49が連通されている。開放管49には開放管49を開閉するバルブ49Vが設けられている。
図3(B)に示すように、回収タンク50は供給タンク40とほぼ同一の形状とされ、筐体42に対応する筐体52、第1弾性膜44に対応する第2弾性膜54、突起44Aに対応する突起54A、第1液体室46に対応する第2液体室56、第1気体室48に対応する第2気体室58を有している。第2液体室56にはインクが貯留され、第2流路32、回収路33と連通されている。回収タンク50には、第2圧力検出器53が接続されている。第2圧力検出器53は、第2液体室56内の圧力を検出可能とされている。第2圧力検出器53は、第2液体室56の圧力を直接検出するものであっても、第2気体室58の圧力を検出して間接的に第2液体室56の圧力を検出するものであってもよい。
第2気体室58には、気体が充填され、第2気体室58を大気へ開放する開放管59が連通されている。開放管59には開放管59を開閉するバルブ59Vが設けられている。
次に、インクの循環動作について説明する。
インクジェット記録装置110の起動中は、循環路20では、常時、以下のようにしてインクの循環が行われている。
循環路20では、インク供給側の圧力をインク回収側の圧力よりも所定量だけ高く設定することにより、供給タンク40側からヘッド112を経て回収タンク50側へインクが送液される。ここで、第1液体室46内の圧力をPin、第2液体室56内の圧力をPout、インクが吐出されるノズルの背圧(負圧)をPnzlとすると、Pin+Hin>Pnzl>Pout+Hout(mmHO)として(Hinは、ノズル面と第1圧力検出器43との間の高低差により生じる圧力差(水頭圧)、Houtは、ノズル面と第2圧力検出器53との間の高低差により生じる圧力差(水頭圧))、ノズルに所定の背圧を付与する。供給タンク40の第1液体室46、及び、回収タンク50の第2液体室56の圧力は、第1圧力検出器43により検出された第1液体室46内の圧力、及び、第2圧力検出器53により検出された第2液体室56内の圧力に基づいて、第1ポンプ24、第2ポンプ34により、第1液体室46、第2液体室56、の圧力が、各々所定の圧力Pin、Poutとなるように制御され、これにより、循環路20内でインクが循環する。
このとき、第1弾性膜44、及び、第2弾性膜54は、第1弾性部材45、第2弾性部材55と非接触の位置に配置されている。また、開放管49、59のバルブ49V、59Vは、閉鎖されている。一方、循環路20に設けられたバルブV1、V1A、V2は、開放されている。
上記のように、インクを循環させることにより、ノズルでのインク増粘を防止して、良好なインクの吐出状態を長時間維持して、高い印刷品質を長時間維持することができる。
また、第1ポンプ24、第2ポンプ34の動作による圧力変動が、第1弾性膜44、第2弾性膜54により吸収され、ヘッド112内のノズルに於ける圧力変動が抑制されるため、ノズルの背圧を一定に維持することができ、高い印刷品質を維持することができる。
なお、通常の印刷時には、第1液体室46内は負圧とされ、図6に示すように、第1弾性膜44は、第1液体室46側へ引かれている。また、印刷時及び後述のメンテナンス時以外には、図3に示すように、第1弾性膜44及び第2弾性膜54は、弾性変形されず、平坦状態とされている。
次に、加圧メンテナンスについて説明する。加圧メンテナンスでは、ノズルの目詰まりなどを解消するために、ノズルから加圧状態でインクを吐出させるものである。
まず、供給タンク40内を加圧する加圧工程を実行する。バルブ49Vを開放して第1気体室48を大気に開放すると共に、バルブV1を閉鎖して、第1ポンプ24を作動させ、供給タンク40内を加圧する。これにより、図7(A)に示すように、第1弾性膜44が第1気体室48側へ張り出して、内壁48Aに密着する。第1ポンプ24では、第1液体室46内が所定の目標圧力となるまで加圧する。
第1液体室46が所定の目標圧力とされたら、次に、インク排出工程を実行する。
まず、インク排出を実施する1個以上のヘッド112に対応するバルブV1Aを開放する。第1ポンプ24を作動させた状態で、バルブ49Vを閉鎖して、その後バルブV1を開放する。すると、第1液体室46からバルブV1Aが開放されたヘッド112へインクが流出する。このとき液量が減少するため、第1弾性膜44が、図7(A)に示される位置から、第1液体室46側へわずかに戻った図7(B)に示される位置へ移動する。
このとき、突起44Aにより第1弾性膜44の内壁48Aへの貼り付きが抑制されているので、第1弾性膜44をスムーズに移動させることができ、目標とする加圧メンテナンスの圧力プロファイルを正確に実現することができる。
また、第1弾性膜44が貼り付いて不均一に変形することも抑制されているので、第1弾性膜44に対して部分的に過剰な引っ張りが生じるなどの不具合が発生しにくく、第1弾性膜44の長寿命化を図ることができる。
また、突起44Aは、内壁48Aに押し当てられている際に弾性変形しているので、第1弾性膜44が第1液体室46側へ戻る際の初期段階においては、突起44Aが内壁48Aに接したまま、その復元力により第1液体室46側へ移動する。したがって、突起44Aが内壁48Aに接している間の第1液体室46の圧力変化を緩やかにすることができる。
また、バルブ49Vを閉鎖することにより、第1気体室48がダンパとして作用するので、第1液体室46の圧力が急速に低下することを防止することができる。
図8には、上記のインク排出動作における時間経過と供給タンク40内の圧力との関係が示されている。破線Bは、本実施形態で設けた第1弾性部材45を設けず、第1弾性膜44が直接筐体42に接触する比較例である。比較例では、バルブV1の開放(C)時点の直後に第1弾性膜44が筐体42に密着した状態から、徐々に第1液体室46側へ移動する。このとき、第1弾性膜44は内壁48Aに少なくとも一部が貼付されている(図9参照)。そして、(D)まで圧力が低下する。その後、第1弾性膜44が内壁48Aから離れて、第1液体室46側へ急激に移動し、第1液体室46の容積が小さくなる。これにより、第1液体室46の圧力は一時的に(E)まで上昇する。その後、圧力が下降し、第1ポンプ24による加圧動作による所定のメンテナンス用圧力となる。
一方、本実施形態の供給タンク40では、実線Aで示されるように、バルブV1の開放(C)時点の直後に圧力の低下があるものの、破線Bと比較して緩やかであり、所定のメンテナンス用圧力まで緩やかに圧力が低下する。
このように、本実施形態によれば、突起44Aを設けているので、急激な圧力変動が防止されて緩やかに圧力低下が行われる。したがって、目標とする加圧メンテナンスのための圧力プロファイルをより正確に実施することができる。
なお、本実施形態では、供給タンク40側を用いて加圧メンテナンスを行う例について説明したが、加圧メンテナンスは、回収タンク50側を用いて同様の手順で行ってもよい。
なお、本実施形態では、突起44Aの先端を曲面形状としたが、突起44Aは他の形状とすることもできる。例えば、図10(A)に示すように、先端が尖った円錐形状の突起44Bとしてもよいし、図10(B)に示すように、先端が平坦な台錐形状の突起44Cとしてもよい。また、図10(C)に示すように、繊維状の突起44Dとしてもよい。さらに、突起は、図10(D)に示すように、先端部分44Eと基端部分44Fとを異なる材料で構成して、硬度、粘着性を変化させてもよい。この場合には、先端部分の硬度は基端部分よりも高くし、先端部分の粘着性は基端部分よりも低くすることが好ましい。
また、本実施形態では、第1弾性膜44に突起44Aを形成し、第2弾性膜54に突起54Aを形成したが、突起は、図11(A)に示すように、供給タンク40の内壁48A側、図11(B)に示すように、回収タンク50の内壁58A側、に形成してもよい。
また、本実施形態では、第1弾性膜44、及び、第2弾性膜54の貼付抑制部材として、突起を形成した例について説明したが、貼付抑制部材としては、他の構成を採用することもできる。例えば、第1弾性膜44、及び、第2弾性膜54、内壁48A、58Aの表面を租面化したり、フッ素などの樹脂でコーティングしたりして構成してもよい
また、本実施形態では、ヘッド112とバッファータンク14との間に回収タンク50を設けたが、回収タンク50は必ずしも必要ではなく、ヘッド112から直接バッファータンク14へインクを送出してもよい。
また、本実施形態では、画像形成装置としてインクを用いたインクジェット記録装置を例に説明したが、本発明は、インクジェット記録装置に限定されず、液体トナーやその他の液体を用いて画像を形成する画像形成装置に適用することもできる。
本実施態様の画像形成装置の概略全体構成図である。 本実施態様の画像形成装置のインク循環系の概略構成図である。 本実施態様の(A)は供給タンクの構成、(B)は回収タンクの構成を示す図である。 本実施態様の第1弾性膜の(A)は第1気体室側からみた平面図、(B)は突起の断面図、(C)は突起の他の例の断面図である。 第1弾性膜が突起の隙間から内壁側に進出した例を示す断面図である。 通常印刷時における供給タンク内の第1弾性膜の状態を示す図である。 本実施形態の加圧メンテナンスにおける第1弾性膜の状態(A)(B)を示す図である。 加圧メンテナンスの排出工程における時間経過と供給タンク内の圧力との関係を示すグラフである。 比較例について加圧メンテナンスを行った場合の、排出工程における第1弾性膜の状態を示す図である。 本実施態様の突起の変形例を示す図である。 本実施態様の突起が内壁側に形成された変形例を示す図である。
符号の説明
13 インクタンク
14 バッファータンク
20 インク循環路
22 第1流路
23 供給路
24 第1ポンプ
32 第2流路
33 回収路
34 第2ポンプ
40 供給タンク
44 第1弾性膜
44A 突起
46 第1液体室
48 第1気体室
50 回収タンク
54 第2弾性膜
54A 突起
56 第2液体室
58 第2気体室
110 インクジェット記録装置
112 ヘッド
S 記録紙

Claims (3)

  1. 記録媒体へ液滴を吐出して画像を記録する記録ヘッドと、
    前記記録ヘッドへ供給する画像形成用の液体を貯留するタンクと、
    前記タンクに貯留された液体を前記記録ヘッドへ供給する供給路と、
    前記タンク内を、前記液体を貯留する液体室と気体が充填される気体室とに区画する弾性変形可能な弾性膜と、
    前記液体室内の液圧を調整する液圧調整手段と、
    前記弾性膜と前記タンクの前記気体室側の内壁との貼り付きを抑制する貼付抑制部材と、
    を備え、
    前記貼付抑制部材は、前記弾性膜の前記気体室側の表面に形成された複数の突起を含んで形成され、前記複数の突起は前記弾性膜が該複数の突起の間に構成される隙間からはみ出して前記気体室の内壁に密着されないように、前記弾性膜の全面に形成され、前記弾性膜よりも粘着性が低く硬度が高いこと、を特徴とする画像形成装置。
  2. 前記突起は、先端側が曲面形状、錘形状、平坦状、のいずれかの形状とされていること、を特徴とする請求項1に記載の画像形成装置。
  3. 前記弾性膜は、ゴムまたは熱可塑性エラストマーのいずれか一方を含んで構成されていること、を特徴とする請求項1または請求項2に記載の画像形成装置。
JP2008085517A 2008-03-28 2008-03-28 画像形成装置 Expired - Fee Related JP5079570B2 (ja)

Priority Applications (1)

Application Number Priority Date Filing Date Title
JP2008085517A JP5079570B2 (ja) 2008-03-28 2008-03-28 画像形成装置

Applications Claiming Priority (1)

Application Number Priority Date Filing Date Title
JP2008085517A JP5079570B2 (ja) 2008-03-28 2008-03-28 画像形成装置

Publications (2)

Publication Number Publication Date
JP2009234150A JP2009234150A (ja) 2009-10-15
JP5079570B2 true JP5079570B2 (ja) 2012-11-21

Family

ID=41248702

Family Applications (1)

Application Number Title Priority Date Filing Date
JP2008085517A Expired - Fee Related JP5079570B2 (ja) 2008-03-28 2008-03-28 画像形成装置

Country Status (1)

Country Link
JP (1) JP5079570B2 (ja)

Families Citing this family (3)

* Cited by examiner, † Cited by third party
Publication number Priority date Publication date Assignee Title
EP2552989A1 (en) 2010-03-26 2013-02-06 Dow Corning Corporation Preparation of lignocellulosic products
JP6468900B2 (ja) * 2015-03-18 2019-02-13 セーレン株式会社 インクジェット記録装置
CN116533520A (zh) * 2023-06-25 2023-08-04 浙江闪铸三维科技有限公司 适用于3d喷墨打印的循环供墨系统及其控制方法

Family Cites Families (10)

* Cited by examiner, † Cited by third party
Publication number Priority date Publication date Assignee Title
JPH0392421U (ja) * 1990-01-06 1991-09-20
JPH07121583B2 (ja) * 1991-12-06 1995-12-25 セイコーエプソン株式会社 インクジエット式シリアルプリンター
JPH06115092A (ja) * 1992-09-30 1994-04-26 Fuji Electric Co Ltd インクジェット記録ヘッド
JP2002211003A (ja) * 2001-01-22 2002-07-31 Seiko Epson Corp インクジェット式記録装置およびその圧力ダンパ取付方法
JP2002231614A (ja) * 2001-02-05 2002-08-16 Canon Inc 剥離用当て板、剥離装置及び方法
JP2003094681A (ja) * 2001-09-27 2003-04-03 Sii Printek Inc インクジェット印刷機
JP2003300336A (ja) * 2002-04-09 2003-10-21 Seiko Epson Corp インク流路弁およびこれを用いたインクジェット式記録装置
JP2004074462A (ja) * 2002-08-12 2004-03-11 Sii Printek Inc エアーダンパー及びインクジェットヘッド並びにインクジェット式記録装置
JP2004291620A (ja) * 2002-11-19 2004-10-21 Seiko Epson Corp 液体噴射装置
JP4570850B2 (ja) * 2003-06-24 2010-10-27 エスアイアイ・プリンテック株式会社 圧力緩衝器、及び液滴噴射式記録装置

Also Published As

Publication number Publication date
JP2009234150A (ja) 2009-10-15

Similar Documents

Publication Publication Date Title
JP5047108B2 (ja) 液滴吐出装置
US8079693B2 (en) Liquid ejecting device
JP4971942B2 (ja) インクジェット記録装置及び記録方法
EP1518683B1 (en) Droplet discharge head and inkjet recording apparatus
JP4963572B2 (ja) 液体供給装置、画像形成装置、及び液体供給方法
JP2009234151A (ja) 画像形成装置
JP3944858B2 (ja) 画像形成装置
JP5079570B2 (ja) 画像形成装置
JP3774902B2 (ja) 液滴吐出ヘッド及びインクジェット記録装置
JP5025008B2 (ja) インクジェット記録装置及びインク供給方法
JP2009233979A (ja) 液体吐出装置の異常判定装置及び異常判定方法
JP4933201B2 (ja) 液体供給方法
JP3987961B2 (ja) インクジェット記録装置及びインクジェット記録方法
JP2005231351A (ja) インクジェット記録装置
JP4902971B2 (ja) 液体吐出ヘッド
JP3903089B2 (ja) 脱気装置及び液吐出装置並びにインクジェット記録装置
JP2007152726A (ja) 液体吐出装置及び画像形成装置
JP2006264170A (ja) 液体搬送管および画像形成装置
JP3906846B2 (ja) インクジェット記録ヘッド及びこれを備えたインクジェット記録装置
US7438373B2 (en) Liquid droplet ejection apparatus
JP2008137341A (ja) 液滴吐出ヘッド及び画像形成装置
JP2007237689A (ja) 液体吐出装置、画像形成装置、及び液体吐出装置のメンテナンス方法
JP2005186545A (ja) 液滴吐出装置
JP2007050672A (ja) 液滴吐出方法および液滴吐出装置
JP2007237690A (ja) 液体吐出装置、画像形成装置、及び液体吐出装置のメンテナンス方法

Legal Events

Date Code Title Description
A621 Written request for application examination

Free format text: JAPANESE INTERMEDIATE CODE: A621

Effective date: 20100712

A977 Report on retrieval

Free format text: JAPANESE INTERMEDIATE CODE: A971007

Effective date: 20111216

A131 Notification of reasons for refusal

Free format text: JAPANESE INTERMEDIATE CODE: A131

Effective date: 20120110

A521 Written amendment

Free format text: JAPANESE INTERMEDIATE CODE: A523

Effective date: 20120307

A131 Notification of reasons for refusal

Free format text: JAPANESE INTERMEDIATE CODE: A131

Effective date: 20120327

A521 Written amendment

Free format text: JAPANESE INTERMEDIATE CODE: A523

Effective date: 20120516

TRDD Decision of grant or rejection written
A01 Written decision to grant a patent or to grant a registration (utility model)

Free format text: JAPANESE INTERMEDIATE CODE: A01

Effective date: 20120807

A01 Written decision to grant a patent or to grant a registration (utility model)

Free format text: JAPANESE INTERMEDIATE CODE: A01

A61 First payment of annual fees (during grant procedure)

Free format text: JAPANESE INTERMEDIATE CODE: A61

Effective date: 20120829

FPAY Renewal fee payment (event date is renewal date of database)

Free format text: PAYMENT UNTIL: 20150907

Year of fee payment: 3

R150 Certificate of patent or registration of utility model

Ref document number: 5079570

Country of ref document: JP

Free format text: JAPANESE INTERMEDIATE CODE: R150

Free format text: JAPANESE INTERMEDIATE CODE: R150

R250 Receipt of annual fees

Free format text: JAPANESE INTERMEDIATE CODE: R250

R250 Receipt of annual fees

Free format text: JAPANESE INTERMEDIATE CODE: R250

R250 Receipt of annual fees

Free format text: JAPANESE INTERMEDIATE CODE: R250

R250 Receipt of annual fees

Free format text: JAPANESE INTERMEDIATE CODE: R250

LAPS Cancellation because of no payment of annual fees