JP5048873B2 - 炭素質材料の製造方法及び薄片化黒鉛の製造方法 - Google Patents
炭素質材料の製造方法及び薄片化黒鉛の製造方法 Download PDFInfo
- Publication number
- JP5048873B2 JP5048873B2 JP2011553217A JP2011553217A JP5048873B2 JP 5048873 B2 JP5048873 B2 JP 5048873B2 JP 2011553217 A JP2011553217 A JP 2011553217A JP 2011553217 A JP2011553217 A JP 2011553217A JP 5048873 B2 JP5048873 B2 JP 5048873B2
- Authority
- JP
- Japan
- Prior art keywords
- graphite
- carbonaceous material
- expanded graphite
- sheet
- expanded
- Prior art date
- Legal status (The legal status is an assumption and is not a legal conclusion. Google has not performed a legal analysis and makes no representation as to the accuracy of the status listed.)
- Expired - Fee Related
Links
Images
Classifications
-
- B—PERFORMING OPERATIONS; TRANSPORTING
- B82—NANOTECHNOLOGY
- B82Y—SPECIFIC USES OR APPLICATIONS OF NANOSTRUCTURES; MEASUREMENT OR ANALYSIS OF NANOSTRUCTURES; MANUFACTURE OR TREATMENT OF NANOSTRUCTURES
- B82Y30/00—Nanotechnology for materials or surface science, e.g. nanocomposites
-
- C—CHEMISTRY; METALLURGY
- C01—INORGANIC CHEMISTRY
- C01B—NON-METALLIC ELEMENTS; COMPOUNDS THEREOF; METALLOIDS OR COMPOUNDS THEREOF NOT COVERED BY SUBCLASS C01C
- C01B32/00—Carbon; Compounds thereof
- C01B32/20—Graphite
- C01B32/21—After-treatment
- C01B32/22—Intercalation
-
- B—PERFORMING OPERATIONS; TRANSPORTING
- B82—NANOTECHNOLOGY
- B82Y—SPECIFIC USES OR APPLICATIONS OF NANOSTRUCTURES; MEASUREMENT OR ANALYSIS OF NANOSTRUCTURES; MANUFACTURE OR TREATMENT OF NANOSTRUCTURES
- B82Y40/00—Manufacture or treatment of nanostructures
-
- C—CHEMISTRY; METALLURGY
- C01—INORGANIC CHEMISTRY
- C01B—NON-METALLIC ELEMENTS; COMPOUNDS THEREOF; METALLOIDS OR COMPOUNDS THEREOF NOT COVERED BY SUBCLASS C01C
- C01B32/00—Carbon; Compounds thereof
- C01B32/15—Nano-sized carbon materials
- C01B32/182—Graphene
- C01B32/184—Preparation
-
- C—CHEMISTRY; METALLURGY
- C01—INORGANIC CHEMISTRY
- C01B—NON-METALLIC ELEMENTS; COMPOUNDS THEREOF; METALLOIDS OR COMPOUNDS THEREOF NOT COVERED BY SUBCLASS C01C
- C01B32/00—Carbon; Compounds thereof
- C01B32/15—Nano-sized carbon materials
- C01B32/182—Graphene
- C01B32/194—After-treatment
-
- C—CHEMISTRY; METALLURGY
- C01—INORGANIC CHEMISTRY
- C01B—NON-METALLIC ELEMENTS; COMPOUNDS THEREOF; METALLOIDS OR COMPOUNDS THEREOF NOT COVERED BY SUBCLASS C01C
- C01B32/00—Carbon; Compounds thereof
- C01B32/15—Nano-sized carbon materials
- C01B32/182—Graphene
- C01B32/198—Graphene oxide
-
- C—CHEMISTRY; METALLURGY
- C01—INORGANIC CHEMISTRY
- C01B—NON-METALLIC ELEMENTS; COMPOUNDS THEREOF; METALLOIDS OR COMPOUNDS THEREOF NOT COVERED BY SUBCLASS C01C
- C01B32/00—Carbon; Compounds thereof
- C01B32/20—Graphite
- C01B32/21—After-treatment
- C01B32/22—Intercalation
- C01B32/225—Expansion; Exfoliation
-
- C—CHEMISTRY; METALLURGY
- C25—ELECTROLYTIC OR ELECTROPHORETIC PROCESSES; APPARATUS THEREFOR
- C25B—ELECTROLYTIC OR ELECTROPHORETIC PROCESSES FOR THE PRODUCTION OF COMPOUNDS OR NON-METALS; APPARATUS THEREFOR
- C25B1/00—Electrolytic production of inorganic compounds or non-metals
-
- C—CHEMISTRY; METALLURGY
- C01—INORGANIC CHEMISTRY
- C01P—INDEXING SCHEME RELATING TO STRUCTURAL AND PHYSICAL ASPECTS OF SOLID INORGANIC COMPOUNDS
- C01P2002/00—Crystal-structural characteristics
- C01P2002/70—Crystal-structural characteristics defined by measured X-ray, neutron or electron diffraction data
- C01P2002/72—Crystal-structural characteristics defined by measured X-ray, neutron or electron diffraction data by d-values or two theta-values, e.g. as X-ray diagram
Landscapes
- Chemical & Material Sciences (AREA)
- Organic Chemistry (AREA)
- Engineering & Computer Science (AREA)
- Nanotechnology (AREA)
- Inorganic Chemistry (AREA)
- Materials Engineering (AREA)
- Life Sciences & Earth Sciences (AREA)
- Geology (AREA)
- General Life Sciences & Earth Sciences (AREA)
- Condensed Matter Physics & Semiconductors (AREA)
- Physics & Mathematics (AREA)
- General Physics & Mathematics (AREA)
- Crystallography & Structural Chemistry (AREA)
- Chemical Kinetics & Catalysis (AREA)
- Electrochemistry (AREA)
- Metallurgy (AREA)
- Composite Materials (AREA)
- Manufacturing & Machinery (AREA)
- Carbon And Carbon Compounds (AREA)
Description
本発明は、グラフェン間が拡げられた炭素質材料の製造方法、並びに該炭素質材料を用いた薄片化黒鉛の製造方法に関する。
黒鉛は、多数のグラフェンが積層されてなる積層体である。黒鉛を剥離して得られる、グラフェンあるいは黒鉛よりもグラフェン積層数が少ない薄片化黒鉛は導電性材料や熱伝導性材料などへの応用が期待されている。
例えば、下記の特許文献1には、グラフェンと金属電極との電気的接合デバイスが開示されている。
例えば、下記の特許文献1には、グラフェンと金属電極との電気的接合デバイスが開示されている。
従来、グラフェンや黒鉛よりもグラフェン積層数が少ない薄片化黒鉛すなわちグラフェンライクシートを得るために、様々な方法が提案されている。例えば下記の非特許文献1には、黒鉛に機械的剥離力を与えることにより、黒鉛からグラフェンまたは薄片化黒鉛を得る方法が開示されている。
また、下記の特許文献2には、基板上にグラフェンシートを形成する方法が開示されている。特許文献2では、基板上に活性層及びフラーレン分子を堆積する。次に、活性層及びフラーレン分子を加熱して炭化物層を形成する。この炭化物層をさらに加熱することにより、炭化物層を改質し、高い結晶性を持つグラフェンシートが得られるとされている。
Y.Ohashi, T. Koizumi, et al., TANSO, 1997 [180] 235-238.
しかしながら、従来のグラフェンあるいは薄片化黒鉛を製造する方法では、グラフェンあるいは薄片化黒鉛を大量にかつ容易に製造することは困難であった。導電性材料などの工業材料に用いる場合、大面積のグラフェンあるいは薄片化黒鉛を大量に得ることが強く求められている。
加えて、非特許文献1に記載のように機械的剥離力を加える方法により薄片化黒鉛を得る方法では、薄片化黒鉛を得ることが困難であった。すなわち、薄片化黒鉛におけるグラフェン同士が対向している部分におけるグラフェン主面間の角度にばらつきが生じ易かった。従って、薄片化黒鉛における面内方向の電機伝導性がばらついたり、あるいは低下さえするおそれがあった。
さらに、薄片化黒鉛のグラフェン間に様々な特性を付与するために他の物質を均一にインターカレートすることも困難であった。
さらに、薄片化黒鉛のグラフェン間に様々な特性を付与するために他の物質を均一にインターカレートすることも困難であった。
また、熱伝導材料や電気伝導材料などの工業材料に用いる場合、比表面積の高いグラフェンシートあるいは薄片化黒鉛シート部分あるいは膨張化黒鉛シート部分がそのシート間に物質を大量に保持することが可能である。そのため、この集極部分としてグラフェンシートや薄片化黒鉛シート、膨張化黒鉛シートと連続した黒鉛シート部分をもつ構造体が強く求められている。
しかしながら、従来のグラフェンあるいは薄片化黒鉛を製造する方法では、グラフェンシートあるいは薄片化黒鉛シートあるいは膨張化黒鉛シートと黒鉛シートの連続体を作製することは困難であった。また、黒鉛シートからグラフェンシートあるいは薄片化黒鉛シートを1枚作製することができたとしても、黒鉛シートに連続したグラフェンシートあるいは薄片化黒鉛シート、膨張化黒鉛シートを複数枚作製することはきわめて困難であった。
本発明の目的は、グラフェン間の対向状態のばらつきが少ない炭素質材料の製造方法を提供することにある。また、本発明の他の目的は、本発明の炭素質材料を用いることにより、より薄片化された黒鉛を容易にかつ大量に得ることを可能とする薄片化黒鉛の製造方法を提供することにある。
本発明に係る炭素質材料の製造方法は、シート状の黒鉛またはシート状の膨張黒鉛を用意する工程と、前記黒鉛または前記膨張黒鉛の各グラフェン面を貫通するように金属からなる電極の一部を前記黒鉛または前記膨張黒鉛に挿入し、黒鉛を構成している複数のグラフェン層に該電極を接触させる工程と、前記電極の一部が挿入された前記黒鉛または前記膨張黒鉛の少なくとも一部を電解質水溶液中に浸漬し、該黒鉛を作用極とし、対極との間に直流電圧を印加する電気化学的処理を行い、少なくとも一部が膨張化黒鉛である炭素質材料を得る工程とを備える。
本発明に係る炭素質材料の製造方法のある特定の局面では、前記炭素質材料を得る工程において、前記電極の一部が挿入された前記黒鉛または前記膨張黒鉛の全部を電解質水溶液中に浸漬し、該黒鉛を作用極とし、対極との間に直流電圧を印加する電気化学的処理を行い、全部が膨張化黒鉛である炭素質材料を得る。
本発明に係る炭素質材料の製造方法の他の特定の局面では、前記炭素質材料を得る工程において、前記電極の一部が挿入された前記黒鉛または前記膨張黒鉛の一部を電解質水溶液中に浸漬し、該黒鉛を作用極とし、対極との間に直流電圧を印加する電気化学的処理を行い、膨張化黒鉛と、前記膨張化黒鉛に連なっている黒鉛とを備える炭素質材料を得る。
本発明に係る炭素質材料の製造方法の別の特定の局面では、前記シート状の膨張黒鉛が、膨張黒鉛を加圧して成型したシートである。
本発明に係る炭素質材料の製造方法のさらに他の特定の局面では、前記電極の挿入方法として、前記黒鉛または前記膨張黒鉛に複数のスリットを形成し、前記電極として、該複数のスリットに挿入される複数の挿入部と、該複数の挿入部を連結している連結部とを備える電極を用いる。その場合には、黒鉛の各グラフェン層面と電極との接触面積を高めることができる。それによって、各グラフェン層間により均一にかつより多くの電解質イオンを短時間にインターカレートすることができる。従って、得られる炭素質材料の膨張化黒鉛となる部分における層間距離をより一層拡げたり、薄片化できずに残る黒鉛成分層を減らすことができる。
本発明に係る炭素質材料の製造方法のさらに別の特定の局面では、前記電気化学的処理に際し、0.3V〜10Vの範囲の直流電圧を、1時間以上、500時間未満印加する。その場合には、前記黒鉛または前記膨張黒鉛のグラフェン間に電解質イオンをより一層均一にインターカレートすることができる。従って、グラフェン層間の距離をより一層効果的に広げること及び薄片化できずに残る黒鉛成分層を減らすことができる。
本発明に係る炭素質材料の製造方法のまた他の特定の局面では、前記黒鉛または前記膨張黒鉛の密度が0.5〜0.9の範囲である。その場合には、上記電気化学的処理により、得られる炭素質材料の層間により多くの電解質イオンをより均一にインターカレートし、グラフェン層間の距離を広げることができる。
本発明に係る炭素質材料の製造方法のまた別の特定の局面では、前記シート状の黒鉛または前記シート状の膨張黒鉛を用意する工程が、黒鉛粉末または膨張黒鉛粉末からなる予備成型シートを用意する工程と、前記予備成型シートを圧延することにより、前記シート状の黒鉛または前記シート状の膨張黒鉛を得る工程とを備える。その場合には、圧延倍率を調整することにより、得られるシート状の黒鉛またはシート状の膨張黒鉛の密度を容易に調整することができる。
本発明に係る薄片化黒鉛の製造方法は、本発明の炭素質材料の製造方法における前記炭素質材料を得る工程の後に、前記炭素質材料に剥離力を加えることにより薄片化黒鉛を得る工程をさらに備える。
本発明に係る薄片化黒鉛の製造方法のある特定の局面では、前記炭素質材料を得る工程の後に、前記炭素質材料より前記膨張化黒鉛を切り出す工程と、前記膨張化黒鉛に剥離力を加えることにより薄片化黒鉛を得る工程とをさらに備える。
好ましくは、前記剥離力を加える工程が、加熱、機械的剥離力、超音波からなる群から選択された一種のエネルギー付加工程により行われる。
本発明に係る薄片化黒鉛の製造方法の他の特定の局面では、前記剥離力を加える工程が、前記膨張化黒鉛を、300℃〜1200℃の温度で加熱することにより行われる。その場合には、より比表面積の大きい薄片化黒鉛を得ることができる。好ましくは、前記剥離力を加える工程が、前記膨張化黒鉛を、300℃〜600℃の温度で加熱することにより行われる。
本発明に係る薄片化黒鉛の製造方法の別の特定の局面では、前記剥離力を加える工程が、前記膨張化黒鉛を、室温から550℃の温度まで、10秒以内に加熱することにより行われる。その場合には、更に比表面積の大きい薄片化黒鉛を得ることができる。
本発明により得られる炭素質材料は、グラフェン積層体のグラフェン間に層間物質が挿入されており、XRDパターンにおける2θ(CuKα)が膨張化黒鉛を表す7度〜12度の範囲、18度〜24度の範囲にそれぞれ回折ピークを有し、かつ黒鉛を表す25度〜27度の範囲の回折ピーク高さが18度〜24度の回折ピークよりも低い膨張化黒鉛であるため、グラフェン層間への層間物質の挿入均一性に優れている。また、グラフェンの層間に充分な量の層間物質がインターカレートされ、グラフェン間の距離を広げることができる。従って、本発明によれば、加熱処理等の剥離処理を施すことにより、従来より薄片化された薄片化黒鉛を容易にかつ安定に得ることのできる炭素質材料を提供することができる。
本発明に係る炭素質材料の製造方法では、シート状の黒鉛またはシート状の膨張黒鉛を電解質水溶液中において電気化学的処理するため、上記黒鉛または膨張黒鉛のグラフェン間に、電解質溶液6中の電解質イオンを層間物質としてインターカレートすることができる。従って、本発明に係る炭素質材料のように、グラフェン積層体のグラフェン間に層間物質が挿入され、グラフェン間の距離が広げられた炭素質材料を得ることができる。
本発明に係る薄片化黒鉛の製造方法では、本発明の炭素質材料の製造方法により炭素質材料を得た後に、上記炭素質材料に剥離力を加えることにより薄片化黒鉛を得るため、従来より薄片化された薄片化黒鉛を容易にかつ安定に得ることができる。
以下、本発明の具体的な実施形態を説明することにより、本発明を明らかにする。
本明細書において、黒鉛部分とは、通常のグラフェン積層体である黒鉛からなる部分、あるいは膨張黒鉛を圧延してなり、グラフェン間が膨張黒鉛よりも狭められている黒鉛からなる部分をいうものとする。
また、本明細書において、膨張化黒鉛とは、元の黒鉛に層間物質が挿入され、グラフェン間の距離が拡げられた黒鉛、及び黒鉛が酸化することによりグラフェン間の距離が広げられた黒鉛をいうものとする。なお、膨張化黒鉛は、原料として用いられる膨張黒鉛とは異なるものである。
また、本明細書においては、炭素六角網平面からなる1枚のシート状物をグラフェンとする。
また、本明細書において、薄片化黒鉛とは、グラフェン積層体であって、上記膨張化黒鉛を剥離することにより得られ、黒鉛よりもグラフェン積層数が少ない積層体、すなわちグラフェンライクシートをいうものとする。
また、本発明の膨張化黒鉛や薄片化黒鉛に含まれるグラフェンは、酸化グラフェンであってもよい。酸化グラフェンの場合には、官能基を有する化合物やポリマーを容易にグラフトさせることができる。
(炭素質材料)
本発明に係る炭素質材料は、グラフェン積層体のグラフェン間に層間物質が挿入された炭素質材料であって、XRDスペクトルにおける2θ(CuKα)が7度〜12度の範囲及び18度〜24度の範囲にそれぞれピークを有し、2θ(CuKα)が7度〜12度の範囲に現れるピークの半値幅が4度以下であり、2θ(CuKα)が18度〜24度の範囲に現れる回折ピークの強度が25度〜27度の範囲内に現れるピークのピーク強度に比べて大きい膨張化黒鉛である。
本発明に係る炭素質材料は、グラフェン積層体のグラフェン間に層間物質が挿入された炭素質材料であって、XRDスペクトルにおける2θ(CuKα)が7度〜12度の範囲及び18度〜24度の範囲にそれぞれピークを有し、2θ(CuKα)が7度〜12度の範囲に現れるピークの半値幅が4度以下であり、2θ(CuKα)が18度〜24度の範囲に現れる回折ピークの強度が25度〜27度の範囲内に現れるピークのピーク強度に比べて大きい膨張化黒鉛である。
半値幅は測定条件によっても変わるため、本発明における半値幅は次の条件でのXRD測定における回折ピークから求めるものとする。管電圧50kV、管電流150mA、スキャンスピード1°/分、発散スリット1°、散乱スリット1°、受光スリット0.15mm、管球Cu−Kα。
2θ(CuKα)が25度〜27度の範囲内に現れるピークは、元の黒鉛の(002)面によるピークであり、2θ(CuKα)が7度〜12度の範囲にあるピークは、膨張化黒鉛の(002)面によるピークである。従って、本発明の炭素質材料である上記膨張化黒鉛は、グラフェン間に層間物質がインターカレートされている、すなわち層間物質挿入黒鉛である。上記層間物質は特に限定されないが、例えば、硝酸イオンなどの酸性電解質イオンが挙げられる。
本発明では、上記7度〜12度の範囲に現れるピークの半値幅は、4度以下であり、好ましくは3度以下であり、より好ましくは2度以下である。グラフェン層間の距離はXRDパターンにおける2θ(CuKα)が7度〜12度の回折ピークトップ角度で表され、2θのピーク角度が小さいほど層間距離が広いことがわかっている。従って、本発明の炭素質材料である上記膨張化黒鉛では、上記7度〜12度の範囲に現れるピークの半値幅が4度以下であるため、上記層間物質の挿入により、もとの黒鉛シートよりもグラフェン間の層間距離が広げられている。
また、本発明では、2θ(CuKα)が7度〜12度の範囲に現れる膨張化黒鉛の(002)面由来の回折ピークに対応して、18度〜24度の範囲に同じ膨張化黒鉛の(004)面に由来する回折ピークが現れる。このことは、本発明の炭素質材料である上記膨張化黒鉛が、より均一な多層構造を有していることを意味している。従って、上記層間物質のグラフェン間への挿入状態は極めて均一である。
従って、本発明の炭素質材料である上記膨張化黒鉛では、上記7度〜12度の範囲に現れるピークの半値幅が4度以下であること、及び膨張化黒鉛の(004)面由来の回折ピークが確認できるため、各グラフェン層間に極めて均一にインターカレートされていることを、すなわち各グラフェン層間で層間物質の挿入量にバラツキが少ないことを意味する。
よって、本発明に係る炭素質材料では、上記層間物質がインターカレートされてグラフェン主面同士がなす角度の均一性や各グラフェン層間での層間物質挿入量の均一性に優れている。従って、剥離力を加えることにより、炭素質材料である上記膨張化黒鉛のグラフェン間を容易に剥離することができる。すなわち、各グラフェン層間での層間物質挿入量にばらつきがある場合には、特に熱による剥離力を加えた場合、グラフェンを剥離し得ない部分が存在する。これに対して、本発明では、各グラフェン層間での層間物質挿入量の均一性に優れているため、グラフェンを剥離し得る剥離力を加えた場合、ほとんどのグラフェン間において、グラフェンを他のグラフェンから確実に剥離することができる。よって、本発明に係る炭素質材料を用いることにより、グラフェンや薄片化黒鉛を、剥離力を加えることにより容易に得ることができる。
また、各グラフェン層間により均一に電解質がインターカレートされることから、薄片化処理時に薄片化されずに残る黒鉛成分層を減少させることができる。従って、従来技術より薄片化の進んだグラフェンや薄片化黒鉛を容易に剥離することができる。
加えて、本発明に係る炭素質材料では、上記層間物質がインターカレートされてグラフェン主面同士がなす角度の均一性や各グラフェン層間での層間物質挿入量の均一性に優れているため、グラフェン面内方向の電気伝導性が高く、厚み方向の電気伝導性が低い炭素質材料を提供することができる。さらに、本発明に係る炭素質材料のグラフェン間に他の物質を容易にインターカレートすることができる。
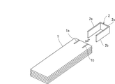
本発明に係る炭素質材料の他の実施形態においては、上記膨張化黒鉛が、黒鉛部分と連なっていてもよい。図1(a)及び(b)は、本発明の他の実施形態に係る炭素質材料を示す斜視図及び側面図である。炭素質材料11は、黒鉛部分12と黒鉛部分12に連なっている膨張化黒鉛13とを有する。黒鉛部分12は、上述したように、通常の黒鉛からなるシート状部分または膨張黒鉛を圧延してなるシート状部分である。他方、膨張化黒鉛13は、図示の矢印Aで示すように、グラフェン間の距離が拡げられている部分である。
炭素質材料11では、黒鉛部分12を構成しているグラフェンが膨張化黒鉛13を構成しているグラフェンに連続している。そのため、黒鉛部分12のグラフェンと、膨張化黒鉛13のグラフェンとが熱的にあるいは電気的に結合もしくは接続されている。
上述のように、膨張化黒鉛13は、グラフェン主面同士がなす角度の均一性や各グラフェン層間での層間物質挿入量の均一性に優れているため、均一な多層構造を有している。そのため、本実施形態の炭素質材料に剥離力を加えることによっても、グラフェンや薄片化黒鉛を容易に得ることができる。
加えて、膨張化黒鉛13では、グラフェン積層体のグラフェン間に層間物質が挿入されているため、黒鉛部分12とは異なる特性を発現する。例えば、黒鉛部分12は、グラフェンが密着しているため、熱伝導性に優れているが、膨張化黒鉛13では、グラフェン間が開いているため、放熱性に優れている。これを利用して、炭素質材料11は、例えば放熱材料として用いることができる。すなわち、熱源に黒鉛部分12を熱結合すればよい。それによって、膨張化黒鉛13において熱を効果的に放散させることができる。よって、炭素質材料11を例えば放熱部材として好適に用いることができる。
また、グラフェンは、その面方向における導電性が高い。従って、黒鉛部分12を他の電気的接続部材に接続し、グラフェン間が拡がっている膨張化黒鉛13を利用して、様々な電気的特性を発現させることができる。
なお、図1に示した炭素質材料11の平面形状、すなわちグラフェンの面方向にみたときの形状は、長方形に限定されるわけではない。また、本発明の炭素質材料においては、黒鉛部分及び膨張化黒鉛部分におけるグラフェンの積層数は特に限定されないが、1層〜100層程度であることが好ましい。この範囲内であれば、上記黒鉛部分12と膨張化黒鉛13とが連なっている炭素質材料11を容易に製造することができる。また、様々な物性を容易に発現させることができる。
加えて、本実施形態の炭素質材料は、膨張化黒鉛13のグラフェン間が開いているため、このグラフェン間に官能基を有する化合物などの様々な層間物質を挿入したり、あるいは様々な物質を充填することにより、様々な物性を発現し得る炭素質材料とすることもできる。
本実施形態の炭素質材料では、好ましくは、黒鉛部分12の厚みに対して膨張化黒鉛13の厚みが2倍以上であり、好ましくは、3倍以上である。その場合には、膨張化黒鉛13の比表面積を大きくすることができる。
(炭素質材料の製造方法)
次に、本発明の炭素質材料の製造方法を、図2〜図6を参照して説明する。まず、図2に示すように、シート状の黒鉛またはシート状の膨張化黒鉛からなるシート1を用意する。なお、本発明は膨張化黒鉛を得るものであるが、原料として本発明で得られる膨張化黒鉛よりも層間の狭い膨張黒鉛を用いてもよい。上記シート状の膨張黒鉛としては、膨張黒鉛を加圧して成型したシートを用いてもよい。シート1は、模式的に示すように、複数のグラフェンGの積層体である。
次に、本発明の炭素質材料の製造方法を、図2〜図6を参照して説明する。まず、図2に示すように、シート状の黒鉛またはシート状の膨張化黒鉛からなるシート1を用意する。なお、本発明は膨張化黒鉛を得るものであるが、原料として本発明で得られる膨張化黒鉛よりも層間の狭い膨張黒鉛を用いてもよい。上記シート状の膨張黒鉛としては、膨張黒鉛を加圧して成型したシートを用いてもよい。シート1は、模式的に示すように、複数のグラフェンGの積層体である。
次に、シート1のグラフェンGの面方向に対して垂直方向である、シート1の厚み方向に、図2に示す複数本のスリット1a,1bを形成する。スリット1a,1bの形成は、適宜の機械的切削加工、あるいはレーザー光の照射等により行い得る。
次に、スリット1a,1bに、電極2の一部を挿入する。電極2は、スリット1a,1bにそれぞれ挿入される挿入片2a,2bと、挿入片2a,2bを連結している連結部2cとを有する。電極2の挿入片2a,2bをスリット1a,1bに挿入することにより、シート1に電極2の一部が挿入された構造を得ることができる。電極2は、本実施形態では、Ptからなるが、適宜の金属などの導電体により形成することができる。なお、スリットの数やスリットの延びる方向は特に限定されない。
上記挿入方法は、スリットに電極2を挿入し、後述の電気化学処理の際にシート1を電極2に固定し得る限り、特に限定されない。例えば、図2に示されるように、電極2の連結部2cの面方向が、シート1のグラフェンGの面方向と同じ方向となるように、電極2の挿入片2a,2bをスリット1a,1bに挿入してもよい。その場合には、図3に示されるシート1に電極2の一部が挿入された構造を得ることができる。このような構造では、電極2の連結部2cの上面にシート1の一部が搭載されるため、後述する電気化学処理において上記構造を電解質溶液中に浸漬する際に、シート1を電極2に容易に固定することができる。
さらに、例えば、図4に示されるように、電極2の連結部2cの面方向が、シート1のグラフェンGの面方向と垂直方向となるように、電極2の挿入片2a,2bをスリット1a,1bに挿入してもよい。その場合には、後述する電気化学処理において上記構造を電解質溶液中に浸漬する際に、シート1に電極2の一部が挿入された構造の一部のみを電解質溶液6に浸漬することが容易となる。なお、このような挿入方法の場合には、電解途中でシートが電極2から脱落しないように、スリット1a,1bの延びる方向は、スリット1a,1b間の間隔がシート1の端縁に向かうにつれて、拡がる方向であることが望ましい。
次に、図5及び図6に示されるように、上述のシート1に電極2の一部が挿入された構造の少なくとも一部を、電解質水溶液6中に浸漬する。電解質溶液6としては特に限定されないが、例えば、硝酸水溶液、硫酸水溶液などを用いることができる。それによって、硝酸イオンや硫酸イオンなどをグラフェン間に挿入することができる。
電解質溶液6の濃度は特に限定されないが、上記電解質溶液6が水溶液である場合は、10重量%〜80重量%程度の範囲が望ましい。この範囲内であれば、後述する電気化学処理により、電解質イオンをより一層確実にグラフェン間にインターカレートすることができる。
上記構造を電解質水溶液6に浸漬する際には、例えば、図5に示されるように、上記構造の全部を電解質溶液6中に浸漬してもよい。その場合には、炭素質材料の全体が上記膨張化黒鉛である炭素質材料を製造することができる。
また、例えば、図6に示されるように、上記構造の一部であるシート1の下方部分が電解質溶液6中に浸漬し、上方部分が電解質溶液6中に浸漬されないように、上記構造の一部のみを電解質溶液6に浸漬してもよい。その場合には、後述する電気化学処理により、電解質溶液6に浸漬されている部分のみを膨張化黒鉛とすることができる。従って、図1に示される炭素質材料11、すなわち膨張化黒鉛13が、黒鉛部分12と連なっている炭素質材料11を製造することができる。
このように、上記構造を電解質水溶液6に浸漬する際には、シート1の全部を電解質水溶液6に浸漬してもよく、シート1の一部のみを電解質水溶液6に浸漬してもよい。
図5及び図6に示されるように、このようにして電解質溶液6中に浸漬されたシート1を作用極とし、対極7と、参照極8を浸漬した後、対極7とシート1との間に直流電圧を印加することにより、電気化学処理を行う。それによって、シート1の電解質溶液6に浸漬されている部分では、シート1のグラフェン間に電解質溶液6中の電解質イオンが層間物質としてインターカレートされる。その結果、シート1のグラフェン間が開くこととなる。従って、シート1の電解質溶液6に浸漬されている部分において、上記膨張化黒鉛を得ることができる。対極7は、Ptなどの適宜の導電体からなる。参照極8は、Ag/AgClなどからなる。
ここで、図5に示されるように、上記構造の全部を電解質溶液6中に浸漬していた場合には、シート1全体を構成するグラフェン間に電解質溶液6中の電解質イオンが層間物質としてインターカレートされる。従って、炭素質材料の全体が上記膨張化黒鉛である炭素質材料を得ることができる。
また、図6に示されるように、上記構造の一部のみを電解質溶液6に浸漬している場合には、シート1の電解質溶液6に浸漬されていない部分は、もとのシート状の黒鉛またはシート状の膨張黒鉛のままである。従って、シート1の電解質溶液6に浸漬されている部分が図1に示した膨張化黒鉛13となり、電解質溶液6に浸漬されていない部分が黒鉛部分12を構成することとなる。このようにして、上述の炭素質材料11を得ることができる。
上記電気化学的処理に際しては、好ましくは、0.3V〜10Vの直流電圧を1時間以上、500時間未満印加する。直流電圧の範囲が、この範囲内にあれば、黒鉛のグラフェン間に硝酸イオンや硫酸イオンなどの電解質イオンをより確実にインターカレートすることができる。それによって、本発明の膨張化黒鉛をより一層確実に得ることができる。より好ましくは、0.3V〜3Vの範囲内の直流電圧を用いる。更に好ましくは0.9V〜2Vの範囲内の直流電圧を用いる。なお、直流電圧印加時間は、1時間以上であればよいが、長すぎると生産性が低下し、かつ電解質イオンをインターカレートする効果も飽和する。従って、直流電圧印加時間は500時間未満とすればよい。
また、上記電気化学処理に際しての電解質溶液6の温度は特に限定されないが、水溶液の場合は5℃〜100℃程度の温度とすればよい。
また、上記電気化学処理に際しての電解質溶液6の温度は特に限定されないが、水溶液の場合は5℃〜100℃程度の温度とすればよい。
本発明の膨張化黒鉛の製造方法においては、黒鉛または膨張黒鉛からなる上記シート1にスリット1a,1bを形成するに先立ち、より密度の低いシート1を用意することが望ましい。上記シート1の密度は、好ましくは、0.5〜0.9の範囲である。
このようなより密度が低いシート1を用意するには、例えば以下の方法を用いることができる。まず、黒鉛または膨張黒鉛の原料粉末を予備的にシート成型する。図7に示すように、このようにして得られた予備成型シート21を、ロール22,23間に供給し、圧延する。それによって、予備成型シート21よりも厚みの薄いシート1を得ることができる。この場合、圧延倍率を調整することにより、シート1の密度を調整することができる。すなわち、圧延倍率を低くすることにより、相対的に密度の低い黒鉛シートまたはシート状の膨張黒鉛を得ることができる。
なお、本発明の膨張化黒鉛の製造方法において、図1に示される膨張化黒鉛13が黒鉛部分12と連なっている炭素質材料11を製造する場合には、原料となるシート1のシート厚みは、50μm〜3mmの範囲とすることが好ましい。その場合には、黒鉛部分12の比表面積に対してより比表面積の大きい、黒鉛部分12と連続した膨張化黒鉛13を得ることができる。
本願発明者らは、上記のようにして、黒鉛もしくは膨張黒鉛からなる密度が低いシート1を用いた場合、層間物質としての電解質イオンがより均一にインターカレートされ、グラフェン間の層間距離をより確実に拡げることを見出した。
(薄片化黒鉛の製造方法)
本発明に係る薄片化黒鉛の製造方法では、上記のようにして炭素質材料を得た後に、上記炭素質材料に剥離力を加える。それによって、薄片化黒鉛を得ることができる。
本発明に係る薄片化黒鉛の製造方法では、上記のようにして炭素質材料を得た後に、上記炭素質材料に剥離力を加える。それによって、薄片化黒鉛を得ることができる。
上記炭素質材料では、上記硝酸イオンなどがインターカレートされてグラフェン主面同士がなす角度の均一性や各グラフェン層間での層間物質挿入量の均一性に優れている。従って、剥離力を加えることにより、炭素質材料である上記膨張化黒鉛のグラフェン間を容易に剥離することができる。すなわち、各グラフェン層間での層間物質挿入量にばらつきがある場合には、特に熱による剥離力を加えた場合、グラフェンを剥離し得ない部分が存在する。これに対して、本発明では、各グラフェン層間での層間物質挿入量の均一性に優れているため、グラフェンを剥離し得る剥離力を加えた場合、ほとんどのグラフェン間において、グラフェンを他のグラフェンから確実に剥離することができる。よって、本発明に係る炭素質材料を用いることにより、グラフェンや薄片化黒鉛を、剥離力を加えることにより容易に得ることができる。
なお、上記炭素質材料が、上記膨張化黒鉛が黒鉛部分と連なっている炭素質材料である場合には、まず、上記炭素質材料から上記膨張化黒鉛を切り出してもよい。この切り出しは、適宜の切断具やレーザーなどの非接触式切断装置を用いて行い得る。その後、切り出された上記膨張化黒鉛に剥離力を加え、薄片化黒鉛を得てもよい。
上記炭素質材料または上記膨張化黒鉛からグラフェンまたは薄片化黒鉛を得るための剥離工程については、加熱、機械的剥離力、超音波などからなる群から選択された一種のエネルギー付加工程を実施することにより行うことができる。
一例を挙げると、上記炭素質材料または上記膨張化黒鉛を、300℃〜1200℃の温度に加熱することにより、更に好ましくは500〜1200℃、更に好ましくは800〜1200℃の比較的高い温度に加熱することにより、上記炭素質材料または上記膨張化黒鉛から薄片化黒鉛を得ることができる。上記温度範囲内で加熱することにより、本発明によれば、比表面積が600m2/g以上の薄片化黒鉛を得ることができる。更には比表面積が1200m2/g以上の薄片化黒鉛を得ることができる。また更には比表面積が1500m2/g以上の薄片化黒鉛を得ることができる。
加えて、上記温度範囲内で、上記炭素質材料または上記膨張化黒鉛を急速に加熱することにより、更に比表面積の大きいグラフェンまたは薄片化黒鉛を得ることができる。比表面積の大きいグラフェンまたは薄片化黒鉛を得るためには、上記炭素質材料または上記膨張化黒鉛を、室温から550℃の温度まで、10秒以内に加熱・昇温することが好ましい。
上記炭素質材料または上記膨張化黒鉛の加熱は、誘導加熱装置により行う方法が好ましい。誘導加熱装置を用いることにより、層間に挿入された硝酸が直接加熱される。更に、誘導加熱装置に流す電流を10Aより大きく設定することにより、昇温時間を短縮することができる。もっとも、上記加熱の方法は、上記炭素質材料または上記膨張化黒鉛から薄片化黒鉛を得ることができる限りにおいて、特に限定されない。上記加熱は、例えば、高温の管状炉により行ってもよい。
以上説明したように、本発明に係る炭素質材料に含まれる膨張化黒鉛では、グラフェン各層間への層間物質の挿入量が均一である。そのため、より低温で、従来よりも薄片化度の高いグラフェンや薄片化黒鉛を提供することができる。
上記のように、本発明に係る炭素質材料を剥離工程に供することにより、本発明の薄片化黒鉛を得ることができる。本発明の薄片化黒鉛では、従来よりも薄片化度が高い。そのため、本発明の薄片化黒鉛は、弾性率等の物理的特性や、導電性などの電気的特性に優れている。従って、例えば少量の本発明の薄片化黒鉛を樹脂に分散させた場合においても、剛性並びに耐燃焼性に優れた樹脂複合材料を得ることができる。
また、本発明により得られた膨張化黒鉛である炭素質材料あるいは炭素質材料より切り出した膨張化黒鉛を、樹脂と混練し、混練に際して加えられる剪断力により膨張化黒鉛を剥離し、薄片化黒鉛としてもよい。この場合には、本発明の薄片化黒鉛が分散された樹脂複合材料を得ることができる。
次に、本発明の具体的な実施例及び比較的を挙げることにより、本発明を明らかにする。なお、本発明は以下の実施例に限定されない。
次に、本発明の具体的な実施例及び比較的を挙げることにより、本発明を明らかにする。なお、本発明は以下の実施例に限定されない。
(実施例1)
図7に示すように、膨張黒鉛を一対のロール間に供給してシート成型することにより、密度0.7、厚み1mmの低密度黒鉛シートを用意した。
図7に示すように、膨張黒鉛を一対のロール間に供給してシート成型することにより、密度0.7、厚み1mmの低密度黒鉛シートを用意した。
上記のようにして得られた密度0.7の黒鉛シートを3cm×3cmの大きさに切断し、電極材料としての黒鉛シートを得た。この黒鉛シートに、図2に示したように、2本のスリットを、スリットの長さが1cm、幅が1cmとなるようにカッターナイフにより切削し、形成した。
次に、上記2本のスリットが形成された黒鉛シートに、図2に示したPtからなる電極2を挿入した。このようにして用意した黒鉛シートを作用極(陽極)として、Ptからなる対照極(陰極)及び、Ag/AgClからなる参照極とともに60重量%濃度の硝酸水溶液中に浸漬した。浸漬に際しては、上記黒鉛シートの全体を硝酸水溶液中に浸漬した。
続いて、直流電圧を印加し電気化学処理を行った。電気化学処理に際しては、図8に示す電圧を2.5時間印加した。このようにして、陽極に作用極として用いた黒鉛を膨張化黒鉛とした。
このようにして得た膨張化黒鉛を乾燥し、膨張化黒鉛の多層構造をXRD測定により評価した。図9において実線で、実施例1の膨張化黒鉛のXRDパターンを示す。
(実施例2)
上記実施例1で得られた膨張化黒鉛を、1cm角に切断し、その1つをカーボンるつぼに入れて電磁誘導加熱処理を行った。誘導加熱装置はSKメディカル社製MU1700Dを用い、アルゴンガス雰囲気下で最高到達温度550℃となるように14Aの電流量で行った。上記処理の際に、膨張化黒鉛表面の温度を放射温度計にて測定したところ、膨張化黒鉛表面の温度が室温から550℃となるまで、8秒を要した。上記処理により、膨張化黒鉛は薄片化された。
上記実施例1で得られた膨張化黒鉛を、1cm角に切断し、その1つをカーボンるつぼに入れて電磁誘導加熱処理を行った。誘導加熱装置はSKメディカル社製MU1700Dを用い、アルゴンガス雰囲気下で最高到達温度550℃となるように14Aの電流量で行った。上記処理の際に、膨張化黒鉛表面の温度を放射温度計にて測定したところ、膨張化黒鉛表面の温度が室温から550℃となるまで、8秒を要した。上記処理により、膨張化黒鉛は薄片化された。
得られた薄片化黒鉛の粉末を島津製作所(株)の比表面積測定装置ASAP−2000で窒素ガスを用いて測定したところ、1回測定で1958m2/gの比表面積を示した。
(実施例3)
電気化学処理に際して、図10に示す電圧を1.5時間印加したこと以外は上記実施例1と同様にして、膨張化黒鉛を得た。
このようにして得た膨張化黒鉛を乾燥し、膨張化黒鉛の多層構造をXRD測定により評価した。図11において実線で、実施例3の膨張化黒鉛のXRDパターンを示す。
電気化学処理に際して、図10に示す電圧を1.5時間印加したこと以外は上記実施例1と同様にして、膨張化黒鉛を得た。
このようにして得た膨張化黒鉛を乾燥し、膨張化黒鉛の多層構造をXRD測定により評価した。図11において実線で、実施例3の膨張化黒鉛のXRDパターンを示す。
(実施例4)
上記実施例1で得られた膨張化黒鉛を、1cm角に切断し、その1つをカーボンるつぼに入れて電磁誘導加熱処理を行った。誘導加熱装置はSKメディカル社製MU1700Dを用い、アルゴンガス雰囲気下で最高到達温度550℃となるように10Aの電流量で行った。上記処理の際に、膨張化黒鉛表面の温度を放射温度計にて測定したところ、膨張化黒鉛表面の温度が室温から550℃となるまで、12秒を要した。上記処理により、膨張化黒鉛は薄片化された。
上記実施例1で得られた膨張化黒鉛を、1cm角に切断し、その1つをカーボンるつぼに入れて電磁誘導加熱処理を行った。誘導加熱装置はSKメディカル社製MU1700Dを用い、アルゴンガス雰囲気下で最高到達温度550℃となるように10Aの電流量で行った。上記処理の際に、膨張化黒鉛表面の温度を放射温度計にて測定したところ、膨張化黒鉛表面の温度が室温から550℃となるまで、12秒を要した。上記処理により、膨張化黒鉛は薄片化された。
得られた薄片化黒鉛の粉末を島津製作所(株)の比表面積測定装置ASAP−2000で窒素ガスを用いて測定したところ、1回測定で687m2/gの比表面積を示した。
(実施例5)
図7に示すように、膨張黒鉛を一対のロール間に供給してシート成型することにより、密度0.7、厚み1mmの低密度黒鉛シートを用意した。
図7に示すように、膨張黒鉛を一対のロール間に供給してシート成型することにより、密度0.7、厚み1mmの低密度黒鉛シートを用意した。
上記のようにして得られた密度0.7の黒鉛シートを5cm×5cmの大きさに切断し、電極材料としての黒鉛シートを得た。この黒鉛シートに、図4に示したように、2本のスリットを、スリットの長さが1cmとなるようにカッターナイフにより切削し、形成した。
次に、上記2本のスリットが形成された黒鉛シートに、図2に示したPtからなる電極2を挿入した。このようにして用意した黒鉛シートを作用極(陽極)として、上記黒鉛シートの一部を、Ptからなる対照極(陰極)及びAg/AgClからなる参照極とともに、60重量%濃度の硝酸水溶液中に浸漬した。浸漬に際しては、5cm×5cmの黒鉛シートの下端から4cmの高さの位置までの黒鉛シート部分を硝酸水溶液中に浸漬し、黒鉛シートの上方部分は硝酸水溶液中に浸漬させなかった。
続いて、直流電圧を印加し電気化学処理を行った。電気化学処理に際しては、図12に示す電圧印加プロファイルに示すようにして電圧を4時間印加した。このようにして、もとの黒鉛シートの内、硝酸水溶液中に浸漬されていた部分が、膨張化黒鉛となり、浸漬されていなかった黒鉛シート部分はもとの黒鉛シートの状態を維持し、実施例1の炭素質材料を得た。
このようにして得た炭素質材料を乾燥した。評価のために、得られた炭素質材料から、膨張化黒鉛となっている部分を切り出し、膨張化黒鉛部分の多層構造をXRD測定により評価した。図13及び図14に、実施例1の膨張化黒鉛部分のXRDパターンを示す。なお、図14においては、上記XRDパターンのピーク強度を2.5倍に拡大して表示している。
(実施例6)
上記実施例5で得られた炭素質材料の膨張化黒鉛となっている部分を、1cm角に切断した。このようにして切断された上記膨張化黒鉛を、1つをカーボンるつぼに入れて電磁誘導加熱処理を行った。誘導加熱装置はSKメディカル社製MU1700Dを用い、アルゴンガス雰囲気下で最高到達温度550℃となるように14Aの電流量で行った。上記処理の際に、膨張化黒鉛表面の温度を放射温度計にて測定したところ、膨張化黒鉛表面の温度が室温から550℃となるまで、8秒を要した。上記処理により、膨張化黒鉛は薄片化された。
得られた薄片化黒鉛の粉末を島津製作所(株)の比表面積測定装置ASAP−2000で窒素ガスを用いて測定したところ、1回測定で1296m2/gの比表面積を示した。
上記実施例5で得られた炭素質材料の膨張化黒鉛となっている部分を、1cm角に切断した。このようにして切断された上記膨張化黒鉛を、1つをカーボンるつぼに入れて電磁誘導加熱処理を行った。誘導加熱装置はSKメディカル社製MU1700Dを用い、アルゴンガス雰囲気下で最高到達温度550℃となるように14Aの電流量で行った。上記処理の際に、膨張化黒鉛表面の温度を放射温度計にて測定したところ、膨張化黒鉛表面の温度が室温から550℃となるまで、8秒を要した。上記処理により、膨張化黒鉛は薄片化された。
得られた薄片化黒鉛の粉末を島津製作所(株)の比表面積測定装置ASAP−2000で窒素ガスを用いて測定したところ、1回測定で1296m2/gの比表面積を示した。
(実施例7)
電気化学処理に際して、図15に示す電圧印加プロファイルに示すようにして電圧を2時間印加したこと以外は上記実施例1と同様にして、炭素質材料を得た。
電気化学処理に際して、図15に示す電圧印加プロファイルに示すようにして電圧を2時間印加したこと以外は上記実施例1と同様にして、炭素質材料を得た。
このようにして得た炭素質材料を乾燥し、実施例1と同様にして膨張化黒鉛となっている部分の多層構造をXRD測定により評価した。図16に、実施例7の膨張化黒鉛のXRDパターンを示す。
(実施例8)
上記実施例7で得られた炭素質材料の膨張化黒鉛部分を、1cm角に切断した。このようにして切断された上記膨張化黒鉛を、1つをカーボンるつぼに入れて電磁誘導加熱処理を行った。誘導加熱装置はSKメディカル社製MU1700Dを用い、アルゴンガス雰囲気下で最高到達温度550℃となるように14Aの電流量で行った。上記処理の際に、膨張化黒鉛表面の温度を放射温度計にて測定したところ、膨張化黒鉛表面の温度が室温から550℃となるまで、8秒を要した。上記処理により、膨張化黒鉛は薄片化された。
上記実施例7で得られた炭素質材料の膨張化黒鉛部分を、1cm角に切断した。このようにして切断された上記膨張化黒鉛を、1つをカーボンるつぼに入れて電磁誘導加熱処理を行った。誘導加熱装置はSKメディカル社製MU1700Dを用い、アルゴンガス雰囲気下で最高到達温度550℃となるように14Aの電流量で行った。上記処理の際に、膨張化黒鉛表面の温度を放射温度計にて測定したところ、膨張化黒鉛表面の温度が室温から550℃となるまで、8秒を要した。上記処理により、膨張化黒鉛は薄片化された。
得られた薄片化黒鉛の粉末を島津製作所(株)の比表面積測定装置ASAP−2000で窒素ガスを用いて測定したところ、1回測定で887m2/gの比表面積を示した。
(比較例1)
実施例1及び3で用意したもとの未処理の低密度黒鉛シートを比較例とした。図9、図11及び図14に一点鎖線で比較例1として用意した黒鉛のXRDパターンを示す。
実施例1及び3で用意したもとの未処理の低密度黒鉛シートを比較例とした。図9、図11及び図14に一点鎖線で比較例1として用意した黒鉛のXRDパターンを示す。
(比較例2)
既存の方法である改良Hummers法に則って、以下のようにして薄片化黒鉛の水分散液を作製した。
既存の方法である改良Hummers法に則って、以下のようにして薄片化黒鉛の水分散液を作製した。
天然黒鉛粉末0.25gを65重量%の濃硫酸11.5mlに供給して、得られた混合物を10℃の水浴により冷却しながら撹拌した。次に、黒鉛単結晶粉末と濃硫酸との撹拌によって得られた混合物に、過マンガン酸カリウム1.5gを徐々に加えながら混合物を撹拌し、混合物を35℃で30分にわたって反応させた。
次に、反応混合物に純水23mLを徐々に加えて、混合物を98℃で15分にわたって反応させた。しかる後、反応混合物に純水70mLと30重量%の過酸化水素水4.5mLを加えて反応を停止させた。続いて、混合物を14000rpmの回転速度にて30分にわたって遠心分離した。その後、得られた沈殿物を5重量%の希塩酸及び水により十分に洗浄して、薄片化黒鉛が水中に分散してなる薄片化黒鉛の水分散液を得た。
このようにして得られた薄片化黒鉛の水分散液を、スライドガラスに塗布・乾燥し、スライドガラスごとXRD測定を行った。このようにして得た薄片化黒鉛のXRDパターンを図9、図11及び図14に破線で示す。
この場合に確認される23度付近の回折ピークは図17に示すようにガラスセルに由来するブロードなピークであって、膨張化黒鉛の(004)面に由来するピークではない。
図9、図11及び図14から明らかなように、比較例1すなわち元の黒鉛では、2θ(CuKα)が26度付近において大きなピークが現れており、これは、黒鉛の(002)面のピークである。また、2θ(CuKα)が50度付近にこれに対して小さなピークが確認できるが、これは黒鉛の(004)面のピークである。
これに対して、実施例1では、図9に示される通り、26度付近及び50度付近の黒鉛に由来する回折ピークがほぼ消えており、10.6度の付近に大きな回折ピークが現れている。この10.5度付近の回折ピークは、膨張化黒鉛の(002)面のピークである。この10.6度付近に現れる回折ピークの半値幅は1.1であり、非常にシャープなピークである。また、21度付近に、回折ピークが現れているが、この回折ピークは上記膨張化黒鉛の(004)面によるピークである。従って、図9から明らかなように、比較例2に比べて実施例1では、膨張化黒鉛の各グラフェン層間の層間物質の挿入量の均一性が非常に高められていることがわかる。
実施例3及び5においても、図11、13及び14に示される通り、10.6度付近のシャープな回折ピーク及び21度付近の回折ピークが現れている。従って、実施例3においても、比較例2に比べて、膨張化黒鉛の各グラフェン層間の層間物質の挿入量の均一性が非常に高められていることがわかる。
実施例7においては、図15に示されている通り、膨張化黒鉛のピークは2種類のピークに分割されている。一方は9度付近に現れる硝酸を層間に挿入した黒鉛に由来する膨張化黒鉛のピークであり、もう一方は10.7度付近に現れる黒鉛酸化に由来する膨張化黒鉛のピークである。いずれも(004)面に由来する18度および21度付近の回折ピークが現れている。従って、実施例7においても、比較例2に比べて、膨張化黒鉛の各グラフェン間の層間物質の挿入量の均一性が高められていることがわかる。
1…シート
1a,1b…スリット
2…電極
2a,2b…挿入片
2c…連結部
6…電解質溶液
7…対極
8…参照極
11…炭素質材料
12…黒鉛部分
13…膨張化黒鉛
21…予備成型シート
22,23…ロール
1a,1b…スリット
2…電極
2a,2b…挿入片
2c…連結部
6…電解質溶液
7…対極
8…参照極
11…炭素質材料
12…黒鉛部分
13…膨張化黒鉛
21…予備成型シート
22,23…ロール
Claims (14)
- シート状の黒鉛またはシート状の膨張黒鉛を用意する工程と、
前記黒鉛または前記膨張黒鉛の各グラフェン面を貫通するように金属からなる電極の一部を前記黒鉛または前記膨張黒鉛に挿入し、黒鉛を構成している複数のグラフェン層に該電極を接触させる工程と、
前記電極の一部が挿入された前記黒鉛または前記膨張黒鉛の少なくとも一部を電解質水溶液中に浸漬し、該黒鉛を作用極とし、対極との間に直流電圧を印加する電気化学的処理を行い、少なくとも一部が膨張化黒鉛である炭素質材料を得る工程とを備える、炭素質材料の製造方法。 - 前記炭素質材料を得る工程において、前記電極の一部が挿入された前記黒鉛または前記膨張黒鉛の全部を電解質水溶液中に浸漬し、該黒鉛を作用極とし、対極との間に直流電圧を印加する電気化学的処理を行い、全部が膨張化黒鉛である炭素質材料を得る、請求項1に記載の炭素質材料の製造方法。
- 前記炭素質材料を得る工程において、前記電極の一部が挿入された前記黒鉛または前記膨張黒鉛の一部を電解質水溶液中に浸漬し、該黒鉛を作用極とし、対極との間に直流電圧を印加する電気化学的処理を行い、膨張化黒鉛と、前記膨張化黒鉛に連なっている黒鉛とを備える炭素質材料を得る、請求項1に記載の炭素質材料の製造方法。
- 前記シート状の膨張黒鉛が、膨張黒鉛を加圧して成型したシートである、請求項1〜3のいずれか1項に記載の炭素質材料の製造方法。
- 前記電極の挿入方法として、前記黒鉛または前記膨張黒鉛に複数のスリットを形成し、前記電極として、該複数のスリットに挿入される複数の挿入部と、該複数の挿入部を連結している連結部とを備える電極を用いる、請求項1〜4のいずれか1項に記載の炭素質材料の製造方法。
- 前記電気化学的処理に際し、0.3V〜10Vの範囲の直流電圧を、1時間以上、500時間未満印加する、請求項1〜5のいずれか1項に記載の炭素質材料の製造方法。
- 前記黒鉛または前記膨張黒鉛の密度が0.5〜0.9の範囲である、請求項1〜6のいずれか1項に記載の炭素質材料の製造方法。
- 前記シート状の黒鉛または前記シート状の膨張黒鉛を用意する工程が、
黒鉛粉末または膨張黒鉛粉末からなる予備成型シートを用意する工程と、
前記予備成型シートを圧延することにより、前記シート状の黒鉛または前記シート状の膨張黒鉛を得る工程とを備える、請求項1〜7のいずれか1項に記載の炭素質材料の製造方法。 - 請求項1〜8のいずれか1項に記載の炭素質材料の製造方法において、
前記炭素質材料を得る工程の後に、前記炭素質材料に剥離力を加えることにより薄片化黒鉛を得る工程をさらに備える、薄片化黒鉛の製造方法。 - 請求項3に記載の炭素質材料の製造方法において、
前記炭素質材料を得る工程の後に、前記炭素質材料より前記膨張化黒鉛を切り出す工程と、
前記膨張化黒鉛に剥離力を加えることにより薄片化黒鉛を得る工程とをさらに備える、薄片化黒鉛の製造方法。 - 前記剥離力を加える工程が、加熱、機械的剥離力、超音波からなる群から選択された一種のエネルギー付加工程により行われる、請求項9または10に記載の薄片化黒鉛の製造方法。
- 前記剥離力を加える工程が、前記膨張化黒鉛を、300℃〜1200℃の温度で加熱することにより行われる、請求項11に記載の薄片化黒鉛の製造方法。
- 前記剥離力を加える工程が、前記膨張化黒鉛を、300℃〜600℃の温度で加熱することにより行われる、請求項11に記載の薄片化黒鉛の製造方法。
- 前記剥離力を加える工程が、前記膨張化黒鉛を、室温から550℃の温度まで、10秒以内に加熱することにより行われる、請求項11に記載の薄片化黒鉛の製造方法。
Priority Applications (1)
| Application Number | Priority Date | Filing Date | Title |
|---|---|---|---|
| JP2011553217A JP5048873B2 (ja) | 2010-11-29 | 2011-11-28 | 炭素質材料の製造方法及び薄片化黒鉛の製造方法 |
Applications Claiming Priority (8)
| Application Number | Priority Date | Filing Date | Title |
|---|---|---|---|
| JP2010265286 | 2010-11-29 | ||
| JP2010265286 | 2010-11-29 | ||
| JP2011056714 | 2011-03-15 | ||
| JP2011056714 | 2011-03-15 | ||
| JP2011224145 | 2011-10-11 | ||
| JP2011224145 | 2011-10-11 | ||
| JP2011553217A JP5048873B2 (ja) | 2010-11-29 | 2011-11-28 | 炭素質材料の製造方法及び薄片化黒鉛の製造方法 |
| PCT/JP2011/077321 WO2012073861A1 (ja) | 2010-11-29 | 2011-11-28 | 炭素質材料、炭素質材料の製造方法、薄片化黒鉛の製造方法及び薄片化黒鉛 |
Related Child Applications (1)
| Application Number | Title | Priority Date | Filing Date |
|---|---|---|---|
| JP2012059087A Division JP2013100212A (ja) | 2010-11-29 | 2012-03-15 | 炭素質材料 |
Publications (2)
| Publication Number | Publication Date |
|---|---|
| JP5048873B2 true JP5048873B2 (ja) | 2012-10-17 |
| JPWO2012073861A1 JPWO2012073861A1 (ja) | 2014-05-19 |
Family
ID=46171793
Family Applications (2)
| Application Number | Title | Priority Date | Filing Date |
|---|---|---|---|
| JP2011553217A Expired - Fee Related JP5048873B2 (ja) | 2010-11-29 | 2011-11-28 | 炭素質材料の製造方法及び薄片化黒鉛の製造方法 |
| JP2012059087A Pending JP2013100212A (ja) | 2010-11-29 | 2012-03-15 | 炭素質材料 |
Family Applications After (1)
| Application Number | Title | Priority Date | Filing Date |
|---|---|---|---|
| JP2012059087A Pending JP2013100212A (ja) | 2010-11-29 | 2012-03-15 | 炭素質材料 |
Country Status (7)
| Country | Link |
|---|---|
| US (1) | US20130270119A1 (ja) |
| EP (1) | EP2647600A4 (ja) |
| JP (2) | JP5048873B2 (ja) |
| KR (1) | KR20140005143A (ja) |
| CN (2) | CN103693637A (ja) |
| TW (1) | TW201228933A (ja) |
| WO (1) | WO2012073861A1 (ja) |
Cited By (1)
| Publication number | Priority date | Publication date | Assignee | Title |
|---|---|---|---|---|
| WO2017145940A1 (ja) | 2016-02-22 | 2017-08-31 | 積水化学工業株式会社 | 複合材料、導電性材料、導電性粒子及び導電性フィルム |
Families Citing this family (19)
| Publication number | Priority date | Publication date | Assignee | Title |
|---|---|---|---|---|
| USD781942S1 (en) * | 2011-11-18 | 2017-03-21 | Toyo Tanso Co., Ltd. | Graphite sheet for protecting crucible |
| CN104136369A (zh) * | 2012-05-14 | 2014-11-05 | 积水化学工业株式会社 | 改性石墨烯类碳材料的制造方法、改性石墨烯类碳材料以及含有改性石墨烯类碳材料的树脂复合材料 |
| US9604884B2 (en) | 2012-09-03 | 2017-03-28 | Sekisui Chemical Co., Ltd. | Composite material and method for producing the same |
| CN104540779A (zh) * | 2012-10-03 | 2015-04-22 | 积水化学工业株式会社 | 膨胀化石墨的制造方法及薄片化石墨的制造方法 |
| JP6370216B2 (ja) * | 2013-03-06 | 2018-08-08 | 積水化学工業株式会社 | ランダム構造gicの製造方法、薄片化黒鉛分散液の製造方法、薄片化黒鉛分散液及び薄片化黒鉛 |
| CN103281888B (zh) * | 2013-05-11 | 2015-08-19 | 深圳市同安泰电子科技有限公司 | 一种高导热天然石墨散热片的制备方法 |
| JP6152306B2 (ja) * | 2013-06-18 | 2017-06-21 | 株式会社アイテック | 炭素同素体の製造方法 |
| CN103484889B (zh) * | 2013-09-23 | 2015-11-04 | 无锡源清高新技术研究所有限公司 | 一种大量制备高质量少层石墨烯粉末的方法 |
| US9552900B2 (en) | 2014-09-09 | 2017-01-24 | Graphene Platform Corporation | Composite conductive material, power storage device, conductive dispersion, conductive device, conductive composite and thermally conductive composite |
| WO2016038692A1 (ja) | 2014-09-09 | 2016-03-17 | グラフェンプラットフォーム株式会社 | グラフェン前駆体として用いられる黒鉛系炭素素材、これを含有するグラフェン分散液及びグラフェン複合体並びにこれを製造する方法 |
| CN104477892B (zh) * | 2014-12-12 | 2016-08-24 | 盐城市新能源化学储能与动力电源研究中心 | 一种鳞片状石墨烯的制备方法和使用该方法制备的鳞片状石墨烯器件 |
| US9598593B2 (en) * | 2015-02-27 | 2017-03-21 | Graphene Platform Corporation | Graphene composite and method of producing the same |
| EP4049976A1 (en) * | 2017-07-13 | 2022-08-31 | Carbon Upcycling Technologies Inc. | A mechanochemical process to produce exfoliated nanoparticles |
| EP3887154A4 (en) | 2018-11-30 | 2022-07-27 | The Research Foundation for The State University of New York | GRAPHENE LAMINATE STRUCTURES |
| JP7312397B2 (ja) * | 2019-08-31 | 2023-07-21 | ジカンテクノ株式会社 | 炭化物及び炭素素材の製造方法 |
| JP7288881B2 (ja) * | 2020-05-14 | 2023-06-08 | 光廣 佐想 | 水素供給システム |
| CN111899983B (zh) * | 2020-07-15 | 2021-09-14 | 铜仁学院 | 石墨烯的制备方法及制得的石墨烯、其应用和超级电容器 |
| KR102565154B1 (ko) * | 2021-04-08 | 2023-08-09 | 주식회사 유디 | 고순도 그래핀 플레이크의 친환경 양산 제조방법 |
| CN115448302B (zh) * | 2022-09-29 | 2023-07-21 | 深圳烯材科技有限公司 | 一种基于压力调控连续电解制备氧化石墨烯的方法 |
Family Cites Families (12)
| Publication number | Priority date | Publication date | Assignee | Title |
|---|---|---|---|---|
| JPS59217611A (ja) * | 1983-05-24 | 1984-12-07 | Asahi Chem Ind Co Ltd | 長繊維状フツ化黒鉛 |
| US5698088A (en) * | 1996-07-08 | 1997-12-16 | The Hong Kong University Of Science And Technology | Formic acid-graphite intercalation compound |
| JP3847441B2 (ja) * | 1998-03-13 | 2006-11-22 | 株式会社ニチリン | 酸化黒鉛と導電性高分子化合物との層間複合体およびその製法 |
| JP2002011349A (ja) * | 2000-06-30 | 2002-01-15 | Nippon Mitsubishi Oil Corp | 水素吸蔵剤、水素吸蔵方法および水素吸蔵炭素 |
| US6673289B2 (en) * | 2001-05-30 | 2004-01-06 | Advanced Energy Technology Inc. | Manufacture of materials from graphite particles |
| US8524067B2 (en) * | 2007-07-27 | 2013-09-03 | Nanotek Instruments, Inc. | Electrochemical method of producing nano-scaled graphene platelets |
| WO2009032910A1 (en) * | 2007-09-04 | 2009-03-12 | The Trustees Of Princeton University | Bridged graphite oxide materials |
| JP5245385B2 (ja) | 2007-12-13 | 2013-07-24 | 富士通株式会社 | グラフェンシートの製造方法、半導体装置の製造方法および半導体装置 |
| JP5352334B2 (ja) * | 2009-04-27 | 2013-11-27 | 株式会社日立製作所 | グラフェンと金属電極との電気的接合デバイス、それを用いた電子デバイス,電子集積回路及び光/電子集積回路 |
| CN101654243B (zh) * | 2009-08-28 | 2011-11-23 | 青岛大学 | 一种功能纳米石墨烯的制备方法 |
| SG10201503599WA (en) * | 2010-06-25 | 2015-06-29 | Univ Singapore | Methods of forming graphene by graphite exfoliation |
| US8858776B2 (en) * | 2011-06-28 | 2014-10-14 | Academia Sinica | Preparation of graphene sheets |
-
2011
- 2011-11-28 US US13/989,054 patent/US20130270119A1/en not_active Abandoned
- 2011-11-28 EP EP11844952.9A patent/EP2647600A4/en not_active Withdrawn
- 2011-11-28 JP JP2011553217A patent/JP5048873B2/ja not_active Expired - Fee Related
- 2011-11-28 WO PCT/JP2011/077321 patent/WO2012073861A1/ja not_active Ceased
- 2011-11-28 KR KR1020137005916A patent/KR20140005143A/ko not_active Withdrawn
- 2011-11-28 CN CN201310586599.7A patent/CN103693637A/zh active Pending
- 2011-11-28 CN CN2011800432673A patent/CN103189312A/zh active Pending
- 2011-11-29 TW TW100143802A patent/TW201228933A/zh unknown
-
2012
- 2012-03-15 JP JP2012059087A patent/JP2013100212A/ja active Pending
Non-Patent Citations (4)
| Title |
|---|
| JPN6012021724; GUOXIU WANG, et al.: 'Facile Synthesis and Characterization of Graphene Nanosheets' J. Phys. Chem. C Vol.112, 2008, p.8192-8195 * |
| JPN6012021726; T. NAKAJIMA, et al.: 'A new structure model of graphite oxide' Carbon Volume 26, Issue 3, 1988, Pages 357-361 * |
| JPN6012021728; ABE TAKESHI: 'Synthesis of graphite intercalation compounds by a soft process' TANSO No.223, 2006, p.244-248 * |
| JPN6012021730; JOSEPH H. WANDASS, et al.: 'X-Ray Photoelectron and Scanning Auger Electron Spectroscopic Studies of Oxidized Graphite Electrod' J. Electrochem. Soc. Vol. 134, No. 11, 1987, p.2734-2739 * |
Cited By (1)
| Publication number | Priority date | Publication date | Assignee | Title |
|---|---|---|---|---|
| WO2017145940A1 (ja) | 2016-02-22 | 2017-08-31 | 積水化学工業株式会社 | 複合材料、導電性材料、導電性粒子及び導電性フィルム |
Also Published As
| Publication number | Publication date |
|---|---|
| EP2647600A1 (en) | 2013-10-09 |
| WO2012073861A1 (ja) | 2012-06-07 |
| JPWO2012073861A1 (ja) | 2014-05-19 |
| US20130270119A1 (en) | 2013-10-17 |
| CN103189312A (zh) | 2013-07-03 |
| CN103693637A (zh) | 2014-04-02 |
| JP2013100212A (ja) | 2013-05-23 |
| KR20140005143A (ko) | 2014-01-14 |
| TW201228933A (en) | 2012-07-16 |
| EP2647600A4 (en) | 2015-10-28 |
Similar Documents
| Publication | Publication Date | Title |
|---|---|---|
| JP5048873B2 (ja) | 炭素質材料の製造方法及び薄片化黒鉛の製造方法 | |
| KR101538252B1 (ko) | 그래핀의 생산 | |
| Dang et al. | One-pot synthesis of manganese oxide/graphene composites via a plasma-enhanced electrochemical exfoliation process for supercapacitors | |
| Kuang et al. | Graphene–nickel composites | |
| US10787746B2 (en) | Graphene oxide prepared by electrochemically oxidizing and cutting end face of carbon-based three-dimensional material and method therefor | |
| Jibrael et al. | Production of graphene powder by electrochemical exfoliation of graphite electrodes immersed in aqueous solution | |
| Venkateshalu et al. | Recent advances in MXenes: beyond Ti-only systems | |
| Sahoo et al. | Synthesis and characterization of conductive few layered graphene nanosheets using an anionic electrochemical intercalation and exfoliation technique | |
| JP2012131691A (ja) | 膨張化黒鉛及びその製造方法 | |
| Hsieh et al. | Electrochemical exfoliation of graphene sheets from a natural graphite flask in the presence of sulfate ions at different temperatures | |
| Gu et al. | Optimization of graphene quantum dots by chemical exfoliation from graphite powders and carbon nanotubes | |
| Toçoğlu et al. | Electrochemical characterization of silicon/graphene/MWCNT hybrid lithium-ion battery anodes produced via RF magnetron sputtering | |
| Zhou et al. | High-yield production of high-quality graphene by novel electrochemical exfoliation at air-electrolyte interface | |
| KR20170057247A (ko) | 그래핀 분말, 리튬 이온 전지용 전극 페이스트 및 리튬 이온 전지용 전극 | |
| Bhargava et al. | Superior dielectric properties and bandgap modulation in hydrothermally grown Gr/MgO nanocomposite | |
| Gao et al. | Pt nanoflower/graphene-layered composites by ZnO nanoparticle expansion of graphite and their enhanced electrocatalytic activity for methanol oxidation | |
| JP2022547997A (ja) | グラファイトの膨張のための方法及び装置 | |
| Tung et al. | Coupling graphene microribbons with carbon nanofibers: New carbon hybrids for high-performing lithium and potassium-ion batteries | |
| Ali et al. | Synthesis and characterization of high-quality multi layered graphene by electrochemical exfoliation of graphite | |
| Zhang et al. | Ultra-thin freestanding graphene films for efficient thermal insulation and electromagnetic interference shielding | |
| JP7457307B2 (ja) | グラファイトの薄板状構造物の製造方法、並びに、薄片化グラファイトおよびその製造方法 | |
| KR20150128056A (ko) | 3차원 그래핀 구조체 및 이를 이용한 전극 제조방법 | |
| Knuth et al. | Preparation and characterization of graphene nanosheets from graphite flakes through assisted intercalation-expansion using a microwave oven | |
| Lim et al. | Biased dual-exfoliation technique with expanded graphite for high-quality few-layer graphene sheets in electrochemical exfoliation | |
| KR102532776B1 (ko) | 친환경 에너지 저장 전극 소재, 이의 제조방법 및 이를 포함하는 에너지저장 소자 |
Legal Events
| Date | Code | Title | Description |
|---|---|---|---|
| TRDD | Decision of grant or rejection written | ||
| A01 | Written decision to grant a patent or to grant a registration (utility model) |
Free format text: JAPANESE INTERMEDIATE CODE: A01 Effective date: 20120710 |
|
| A01 | Written decision to grant a patent or to grant a registration (utility model) |
Free format text: JAPANESE INTERMEDIATE CODE: A01 |
|
| A61 | First payment of annual fees (during grant procedure) |
Free format text: JAPANESE INTERMEDIATE CODE: A61 Effective date: 20120719 |
|
| FPAY | Renewal fee payment (event date is renewal date of database) |
Free format text: PAYMENT UNTIL: 20150727 Year of fee payment: 3 |
|
| R150 | Certificate of patent or registration of utility model |
Free format text: JAPANESE INTERMEDIATE CODE: R150 |
|
| LAPS | Cancellation because of no payment of annual fees |