JP5000445B2 - シェービング装置および方法 - Google Patents

シェービング装置および方法 Download PDF

Info

Publication number
JP5000445B2
JP5000445B2 JP2007254988A JP2007254988A JP5000445B2 JP 5000445 B2 JP5000445 B2 JP 5000445B2 JP 2007254988 A JP2007254988 A JP 2007254988A JP 2007254988 A JP2007254988 A JP 2007254988A JP 5000445 B2 JP5000445 B2 JP 5000445B2
Authority
JP
Japan
Prior art keywords
cartridge
support structure
housing
groove
handle
Prior art date
Legal status (The legal status is an assumption and is not a legal conclusion. Google has not performed a legal analysis and makes no representation as to the accuracy of the status listed.)
Expired - Lifetime
Application number
JP2007254988A
Other languages
English (en)
Other versions
JP2008055184A (ja
Inventor
ドメニク、ビンセント、アプリール、ジュニア
ドナルド、ロバート、チャウク
ジョセフ、ジョージ、フッチ
ステファン、キャボット、メトカルフ
ロバート、アンソニー、トロッタ
チャールズ、ブリッジャム、ウォリック、ザ、サード
Original Assignee
ザ ジレット カンパニー
Priority date (The priority date is an assumption and is not a legal conclusion. Google has not performed a legal analysis and makes no representation as to the accuracy of the date listed.)
Filing date
Publication date
Family has litigation
First worldwide family litigation filed litigation Critical https://patents.darts-ip.com/?family=24527162&utm_source=google_patent&utm_medium=platform_link&utm_campaign=public_patent_search&patent=JP5000445(B2) "Global patent litigation dataset” by Darts-ip is licensed under a Creative Commons Attribution 4.0 International License.
Application filed by ザ ジレット カンパニー filed Critical ザ ジレット カンパニー
Publication of JP2008055184A publication Critical patent/JP2008055184A/ja
Application granted granted Critical
Publication of JP5000445B2 publication Critical patent/JP5000445B2/ja
Anticipated expiration legal-status Critical
Expired - Lifetime legal-status Critical Current

Links

Images

Classifications

    • BPERFORMING OPERATIONS; TRANSPORTING
    • B26HAND CUTTING TOOLS; CUTTING; SEVERING
    • B26BHAND-HELD CUTTING TOOLS NOT OTHERWISE PROVIDED FOR
    • B26B21/00Razors of the open or knife type; Safety razors or other shaving implements of the planing type; Hair-trimming devices involving a razor-blade; Equipment therefor
    • B26B21/40Details or accessories
    • B26B21/52Handles, e.g. tiltable, flexible
    • BPERFORMING OPERATIONS; TRANSPORTING
    • B26HAND CUTTING TOOLS; CUTTING; SEVERING
    • B26BHAND-HELD CUTTING TOOLS NOT OTHERWISE PROVIDED FOR
    • B26B21/00Razors of the open or knife type; Safety razors or other shaving implements of the planing type; Hair-trimming devices involving a razor-blade; Equipment therefor
    • B26B21/40Details or accessories
    • B26B21/52Handles, e.g. tiltable, flexible
    • B26B21/528Manufacture of razor handles
    • BPERFORMING OPERATIONS; TRANSPORTING
    • B26HAND CUTTING TOOLS; CUTTING; SEVERING
    • B26BHAND-HELD CUTTING TOOLS NOT OTHERWISE PROVIDED FOR
    • B26B21/00Razors of the open or knife type; Safety razors or other shaving implements of the planing type; Hair-trimming devices involving a razor-blade; Equipment therefor
    • B26B21/08Razors of the open or knife type; Safety razors or other shaving implements of the planing type; Hair-trimming devices involving a razor-blade; Equipment therefor involving changeable blades
    • B26B21/14Safety razors with one or more blades arranged transversely to the handle
    • B26B21/22Safety razors with one or more blades arranged transversely to the handle involving several blades to be used simultaneously
    • BPERFORMING OPERATIONS; TRANSPORTING
    • B26HAND CUTTING TOOLS; CUTTING; SEVERING
    • B26BHAND-HELD CUTTING TOOLS NOT OTHERWISE PROVIDED FOR
    • B26B21/00Razors of the open or knife type; Safety razors or other shaving implements of the planing type; Hair-trimming devices involving a razor-blade; Equipment therefor
    • B26B21/08Razors of the open or knife type; Safety razors or other shaving implements of the planing type; Hair-trimming devices involving a razor-blade; Equipment therefor involving changeable blades
    • B26B21/14Safety razors with one or more blades arranged transversely to the handle
    • B26B21/22Safety razors with one or more blades arranged transversely to the handle involving several blades to be used simultaneously
    • B26B21/222Safety razors with one or more blades arranged transversely to the handle involving several blades to be used simultaneously with the blades moulded into, or attached to, a changeable unit
    • B26B21/225Safety razors with one or more blades arranged transversely to the handle involving several blades to be used simultaneously with the blades moulded into, or attached to, a changeable unit the changeable unit being resiliently mounted on the handle
    • BPERFORMING OPERATIONS; TRANSPORTING
    • B26HAND CUTTING TOOLS; CUTTING; SEVERING
    • B26BHAND-HELD CUTTING TOOLS NOT OTHERWISE PROVIDED FOR
    • B26B21/00Razors of the open or knife type; Safety razors or other shaving implements of the planing type; Hair-trimming devices involving a razor-blade; Equipment therefor
    • B26B21/40Details or accessories
    • B26B21/4012Housing details, e.g. for cartridges
    • BPERFORMING OPERATIONS; TRANSPORTING
    • B26HAND CUTTING TOOLS; CUTTING; SEVERING
    • B26BHAND-HELD CUTTING TOOLS NOT OTHERWISE PROVIDED FOR
    • B26B21/00Razors of the open or knife type; Safety razors or other shaving implements of the planing type; Hair-trimming devices involving a razor-blade; Equipment therefor
    • B26B21/40Details or accessories
    • B26B21/4068Mounting devices; Manufacture of razors or cartridges
    • BPERFORMING OPERATIONS; TRANSPORTING
    • B26HAND CUTTING TOOLS; CUTTING; SEVERING
    • B26BHAND-HELD CUTTING TOOLS NOT OTHERWISE PROVIDED FOR
    • B26B21/00Razors of the open or knife type; Safety razors or other shaving implements of the planing type; Hair-trimming devices involving a razor-blade; Equipment therefor
    • B26B21/40Details or accessories
    • B26B21/52Handles, e.g. tiltable, flexible
    • B26B21/521Connection details, e.g. connection to razor heads

Landscapes

  • Engineering & Computer Science (AREA)
  • Life Sciences & Earth Sciences (AREA)
  • Forests & Forestry (AREA)
  • Mechanical Engineering (AREA)
  • Manufacturing & Machinery (AREA)
  • Dry Shavers And Clippers (AREA)
  • Packaging Of Annular Or Rod-Shaped Articles, Wearing Apparel, Cassettes, Or The Like (AREA)
  • Knives (AREA)
  • Paper (AREA)
  • Organic Low-Molecular-Weight Compounds And Preparation Thereof (AREA)
  • Electrical Discharge Machining, Electrochemical Machining, And Combined Machining (AREA)
  • Pens And Brushes (AREA)
  • Brushes (AREA)
  • Surgical Instruments (AREA)
  • Mechanical Pencils And Projecting And Retracting Systems Therefor, And Multi-System Writing Instruments (AREA)
  • Scissors And Nippers (AREA)
  • Food-Manufacturing Devices (AREA)

Description

本発明は、ハンドルと交換可能なカートリッジを備えたシェービング装置に関する。
シェービング装置は、ハンドルと、1つまたは複数の刃がプラスティック製のハウジングに取り付けられた交換可能なカートリッジとからなる。カートリッジの刃は、使用するにつれて切れなくなる。そのとき、カートリッジは廃棄され、新しいカートリッジがハンドルに置き換えられる。いくつかのシェービング装置において、刃は、カートリッジハウジングに対して弾性的に取り付けられ、シェービング中に皮膚に接触する力でたわむ。いくつかのシェービング装置において、ハンドルへのカートリッジの接続は、ハンドルに関してカートリッジを回転可能に取り付け、カートリッジの角度をシェービングされる表面の輪郭に従うように調整する。このような装置において、カートリッジは、カートリッジハウジングのカム面に対してハンドルに支持され、ばね偏寄されたプランジャ(カムフォロア)の作動によって休止位置に向かって偏寄することができる。
1つの側面において、本発明は、刃と、ガードと、キャップと、カム面とを備えたハウジングを有する交換可能なシェービングカートリッジを特徴とする。またカートリッジは、揺動可能な支持構造を備えた相互接続部材を含み、この支持構造は、ハウジングおよびハンドルに着脱可能に固定されたベース構造を揺動可能に支持する。相互接続部材は、ハンドル上のばね偏寄カムフォロアによってカム面に当接する。
通常、他の側面において、本発明は、刃と、ガードと、キャップとを有するハウジングを備えた交換可能なシェービングカートリッジを特徴とする。また、カートリッジは、揺動支持構造を備えた相互接続部材を有し、この支持構造は、回転軸の周りでハウジングを揺動可能に支持し、ハンドルの端部の延長部に取り外し可能に固定されたベース構造とを有する。ハンドルの延長部は外側面を有し、ベース構造は、内側を向いた側面を有する溝を有し、内側を向いた側面は、ハンドルの延長部に関してベース構造を動かないように位置決めするようにハンドルの延長部に十分な数の外側面に係合する。また、ベース構造は、揺動軸に関して平行ではない軸に沿って溝に開口部を有する。
通常、他の側面において、本発明は、刃と、ガードと、キャップとを有するハウジングを備えた交換可能なシェービングカートリッジを特徴とする。またカートリッジは、ベース構造を備えた相互接続部材を有し、このベース構造は、延長軸線に沿ってハンドルの端部から延びるハンドル延長部に取り外し可能に固定される。このハンドル延長部は、外則面と、延長軸線に直角な側面を通る平面に非対象的な断面を有する。ベース構造は、延長部とかみあう溝を有し、伸長部に関してベースを動かないように位置決めし、ハンドルに対してハウジングの向きを適当にするように非対称形の延長部に沿って十分な数の外側面に係合する内側を向いた側面を有する。ベース構造は、平面に直角な軸に沿って溝に対する開口部を有する。
1つの側面において、本発明は、通常、交換可能なカミソリ刃カートリッジを特徴とし、このカミソリ刃カートリッジは、刃ユニットと、この刃ユニットをハンドルに接続するカートリッジ接続構造を含む。カートリッジ接続構造は、内側に向いた表面を有し、この表面は、ハンドルを受ける領域の一部を形成し、ハンドルのハンドル接続構造の外側に向かう表面とかみあう。またカートリッジは、ハンドルを受ける領域への接続入口と、ハンドルを受ける領域に延びている突出部とを有する。この突出部は、カートリッジの接続構造にハンドル接続構造を保持するために接続入口から反対方向に面しているブロック表面を有する。
他の側面において、本発明は、通常、交換可能なカミソリ刃カートリッジを特徴とし、このカミソリ刃カートリッジは、カートリッジ接続構造に揺動可能に接続された刃ユニットを有し、カートリッジ接続構造は、ハンドルからカートリッジを解放するように可動なラッチング部材を有する。
本発明の1つの実施例は、1つまたは複数の次の特徴を有する。
ある実施例において、ハウジングは、刃の下に妨げられることのない洗滌領域を有し、揺動支持構造は、ガードの領域の前方に揺動軸線を有する。ベースの溝の形状は、台形でもよく、6辺を有し、刃に平行な方向に平坦である。
ある実施例において、ベース構造は、ハンドルにスナップ適合される。ベース構造は、戻り止めを有し、ハンドルは戻り止めを受ける形状のかみ合い凹部部分を有する。別の例として、ハンドルは、戻り止めを有し、ハンドル構造は、戻り止めを受けるかみ合い凹部部分を有する。複数の戻り止めおよび凹部部分が使用される。別の例として、ベース構造は、ハンドルに固定される。
ある実施例において、ハウジングおよび相互接続部材は、プラスティックの別の部品から製造される。別の例として、ハウジングと相互接続部材は、プラスティックの同じ部品から製造される。回転支持構造は、リビングヒンジによって提供される。別の例として、揺動支持構造は、可撓性プラスティックヒンジ部分によって形成され、このプラスティックヒンジ部分は、ハウジングよりさらに可撓性を有し、回転領域でハウジングおよび相互接続部材を接続する。
ある実施例において、相互接続部材の揺動支持構造は、端部を備えた2つのアームを有し、この端部は、ハウジングの2つの側面に開口部を有する溝に保持されている。アームの端部は、ハウジングの溝にプレスばめされている。溝は、溝内にアームの端部を保持するためにクリップによってカバーされている。アームは、ハウジングの上方を向いた弧状面で摺動する下面を有する。
ある実施例において、ハウジングは、相互に接続された部材からばね偏寄されたプランジャにカムフォロア表面を受けるカム面を有する。相互接続部材は、ばね偏寄部材を受ける開口部を有する。カム面は休止位置から一方向にのみ揺動することができ、休止位置から前方および後方に異なる大きさで揺動することができる。またハウジングは、相互接続部材と相互作用する前方および後方停止面を有する。
ある実施例において、刃はハウジングの上側からハウジングに入れられる。刃は、ハウジングの底部側で相互接続部材を保持するクリップによってハウジングに保持される。ハウジングは3つの刃を支持している。刃はばね偏寄される。例えば、刃はハウジングと一体的なばねアームによってハウジングに弾性的に支持されている。ガードは、エラストマーでつくられ、ユーザの皮膚に係合する可撓性フィンを有する。
通常、他の側面において、本発明は、交換可能なシェービングカートリッジを製造する方法を特徴とする。刃と、回転支持部材を有する相互接続部材と、ハンドルに取り外し可能に固定されるベース構造とが設けられる。揺動支持構造は、ハウジングの溝に挿入される。揺動支持構造は、溝に保持される。
本発明の実施例は、1つまたは複数の次の特徴を有する。把持工程は、スナップ適合および/またはクリップを含む。この刃は、クリップを加え、前記刃をクリップで保持する前にハウジングに刃を加える。
さらに他の側面において、本発明は、手で把持する細長い把持構造と、手で把持する構造の端部から延びるカートリッジ支持構造を有するシェービングカミソリを特徴とする。カートリッジ支持構造は、カートリッジの溝の内側を向いた表面とかみあう外側面と、開口部を備えた端面とを有する。ばね偏寄プランジャは、カートリッジ支持構造に保持され、カートリッジ支持構造の前記開口部を通して延びている。
本発明のある実施例は、1つまたは複数の次の特徴を有する。
ある実施例において、外側面は、ハンドルに関するカートリッジの適当な向きを保証するために非対称形の向きを提供し、ばね偏寄プランジャは、カートリッジ支持構造の溝によって案内される。エジェクタおよびスナップ適合エジェクタボタンは、カートリッジを放出するために使用される。エジェクタボタンは、カートリッジ支持構造への取り付けを容易にするために傾斜面を有する。エジェクタボタンは、エジェクタを押すときにカートリッジ支持構造の案内面上を摺動する。カートリジ支持構造は、軌道を有する。エジェクタボタンは、軌道上を摺動する溝を有する。
ある実施例において、プランジャおよびエジェクタは、ばねによって両方向に偏寄される。プランジャはカートリッジ支持構造内にプランジャを保持する停止部を有する。プランジャは傾斜面を備えたアームを有する。傾斜面と停止部はプランジャ上に伸びており、プランジャを案内するためにカートリッジ支持構造のスロットに保持されている。停止部は、停止部をカートリッジ支持構造に挿入することができるように傾斜面を有する。プランジャは、プランジャを案内する後方の案内部材を有する。
ある実施例において、ばねの第1の端部は、プランジャを停止部に偏寄し、ばねの第2の端部は、カートリッジ支持構造の後面にエジェクタを偏寄する。エジェクタボタンおよびカートリッジ支持構造は、ばねを捕捉して案内するばね支持部分を有する。
ある実施例において、エジェクタアームと、エジェクタボタンに係合する狭い部分とを有するU形状のクリップを有し、カートリッジ支持構造は、エジェクタアームと狭い部分が摺動するかみ合いガイド面を有する。
ある実施例において、カートリッジ支持構造および細長い把持構造は、プラスティックの1つの部品からつくられる。別の例として、カートリッジ支持構造および細長い把持構造は分離したプラスティックからつくられる。
通常、他の側面において、本発明は、手で把持する細長い把持構造と、手で把持する細長い把持構造の端部から延びているカートリッジ支持構造とを有する。手で把持する細長い把持構造は、把持部分を有し、エラストマープラスティック製の外側把持層と、手で把持する細長い把持構造にプレスばめされる延長部を有する非エラストマープラスティック支持層とを有する把持部分を含む。
ある実施例において、手で把持する細長い把持構造は、プラスティックからつくられ、重りが配置される溝が形成される。プラスティックは金属色のプラスティックである。
通常、他の側面において、本発明はシェービングカミソリハンドルをつくる方法を特徴とする。手で把持する細長い把持構造および手で把持する細長い把持構造の端部から延びるとともに内側に面する停止面を備えた溝を有する取り付けカートリッジ支持構造が提供される。ばねおよび外側に向いた停止面を有するプランジャは、外側に向いた停止面が内側に向いた停止面を押し、内側に向いた停止面によって保持されるまで溝に挿入される。
本発明のある実施例は、次の1つまたは複数の特徴を含む。エジェクタは、溝に挿入される。エジェクタボタンは、エジェクタを押すようにカートリッジの支持構造に挿入される。
通常、他の側面において、本発明は、ハンドルと、回転ハウジングと相互接続部材を含む交換可能なシェービングカートリッジとを有するカミソリを特徴とする。ハウジングは、刃と、ガードと、キャップとを支持しており、カム面を有する。相互接続部材は、ハウジングを回転可能に支持する回転支持構造と、溝を有する中央ベース構造と、カム面に面する溝の開口部を有する。ハンドルは、溝とかみ合う形状のカートリッジ支持構造と、カートリッジ支持構造から開口部を通ってカム面に作用してハウジングを偏寄するカムフォロア面を備えたばね偏寄プランジャとを有する。
通常、他の側面において、本発明は、ハウジングと、相互接続部材を含む交換可能なシェービングカートリッジとを有するカミソリを特徴とする。ハウジングは、少なくとも1つの刃と、ガードと、キャップとを有する。相互接続部材は、揺動支持構造と、溝を有する中央ベース構造とを有する。ハンドルは、溝とかみ合う形状の延長部と、カートリッジ支持構造から中央ベース構造への形状を連続するように中央ベース構造と同じ構造を有する。
本発明のある実施例は、1つまたは複数の次の特徴を有する。中央ベース構造は、刃に平行な軸線に沿って平坦であり、曲がった形状か、または傾斜形状を有する。
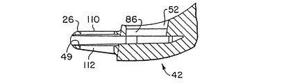
図1および図2を参照すると、シェービングカミソリ10は、ハンドル12と交換可能なカートリッジ14とを有する。図2を参照すると、カートリッジ14は、ハンドル12から取外し可能である。カートリッジ14は、ハウジング16を有し、このハウジング16は、3つの刃18と、ガード20と、キャップ22とを有する。またカートリッジ14は、ハウジング16が揺動可能に取り付けられる相互接続部材24を有する。相互接続部材24は、ベース27を有し、ベース27は、ハンドル12の非対称形の延長部26(図21)に着脱可能に装着され、また、相互接続部材24は、2つの側面で揺動可能にハウジング16を支持する2つのアーム28を有する。
図3を参照すると、ハンドル12は、他の部品を取り付ける第1の構造部材として金属色のプラスティック部品30を有する。部品30の細長い部分32は、金属(亜鉛)の重り36を受ける溝34を有し、この重り36は、完成したユニットに手で持つ構造を提供するためにプラスティック製保持部分38と40との間に挟まれている。プラスティック製の把持部分38および40は、二色成形によって製造されるエラストマー製のプラスティック製の外側把持層37(例えば、熱可塑性エラストマー)と、非エラストマープラスティック層39(例えば、アクリルニトリル・ブタジエン・ストイレン)とから製造される。非エラストマープラスティック支持層39は、細長い部分32の重り36にプレスばめされる延長部41を有する。図4は、変形されない形状の延長部41(架線)と、突出部43において延長部につくられた絞りばめを示す。
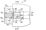
カートリッジ支持構造42は、細長い部分32の端部から延びている。それは、台形状の延長部26(図21参照)と、相互接続部材24に対してハウジング16の偏寄を行うばね偏寄プランジャ動作を行わせる部材とを提供する。また、カートリッジ支持構造42は、ハンドル12からカートリッジ14を解放する部品を含む。
ばね偏寄プランジャ44と、ばね46と、U形状のエジェクタ48が、カートリッジ支持構造42の溝49内に受けられる。エジェクタボタン50が支持構造42の上面の開口部52に設けられ、エジェクタ48の後方の狭い部分で矩形の領域56内に収容されている。
図5,図6および図17を参照すると、カートリッジ14のハウジング16は、刃18のベース部分59の縁部を受ける側壁60の内側を向いたスロット58と、各刃が弾性的に支持される各弾性アーム62を有する。刃18は、使用中のカートリッジの洗浄を容易にするために側壁60の間のほぼ妨げられない領域64内に配置されている。
キャップ22は、潤滑シェービング補助剤を提供し、ハウジング16の後方でスロット66に装着される。キャップ22は、当業者に公知で、例えば、米国特許第5,113,585号および米国特許第5,454,164号に説明されている疎水性材料および水が浸出できる浸水性ポリマー材料の混合物を含む材料からつくられる。ガード20は、ユーザの皮膚に係合し、それらを拡張するためにハウジング16の前方に取り付けられているフィンを備えたエラストマーユニットを有し、例えば、参考によりここに組み込まれている米国特許第5,191,712号に説明するような他の皮膚係合突出部分を使用することができる。クリップ68は、ハウジング16内に刃18を保持し所望の露出でばね偏寄刃の刃縁を位置せしめるために、側壁60の隆起縁部70の内側でハウジング16の各側部に固定されている。
またクリップ68は、ハウジング16の底部の周りを包囲し、相互接続部材24のアーム28の回転支持端部72が外れることを防止する。ベース27は、上部に開口部74を有し、この開口部74を通してハンドルのばね偏寄プランジャ44がハウジング16の底部のカム面(図5には示さない)に作用する。ベース27は、湾曲したまたはベベル形状を有す。
図7ないし図14および図21は、プランジャ44と、エジェクタ48と、ボタン50と、カートリッジ支持構造42とを示している。図7を参照すると、カートリッジ支持構造42内の溝は、エジェクタ48(図12)のアーム78を受ける広い前方部分76と、エジェクタ48の狭い部分82を受ける狭い部分80とを有する。エジェクタ48の狭い部分82の矩形の領域56は、支持構造42の上面の開口部52と整列するが、エジェクタ48がエジェクタボタン50によって外側に押されるとき、摺動軸線83に沿って開口部52に関して可動である。
図10及び図14を参照すると、エジェクタボタン50の各延長部54は、外側を向いた溝84を有し、この溝84は、軸83に沿って開口部52内の各軌道86を摺動する。溝84を形成する上面85は、軌道86の上面89上を摺動し、溝84を形成する下面91は、軌道86の下面上の捕捉に影響を与え、軌道86の下面に接触する。延長部54は、ボタン50がカートリッジ支持構造42に挿入されるとき、延長部54をたわませるために軌道86の曲がった上方コーナーと協働する傾斜面87を有する。延長部54の溝84が軌道86と整列するとき、延長部54は、ほぼそれらのたわまない位置に戻り、エジェクタボタン50を開口部52内の所定の位置に固定する。エジェクタ48はボタン50が挿入される前に溝49内に配置され、延長部54の端部は、カートリッジ支持構造42内にエジェクタ48を保持するように矩形の領域56内に配置される。延長部54は、エジェクタボタン50がハンドル12の端部に押されるとき、エジェクタ48の面94を押す。ボタン50が挿入された後、延長部54の上方垂直面96は、開口部52の上面98の間の空隙内に配置される。
ばね46は、延長部54の間の空隙を通って延びており、ボタン50のばねガイド90の曲がった下面によって案内される。図10に示すように、また下面形成溝49は、ばね46を受けおよび案内するために曲がった中央部分92を有する。 図8および図13に示すように、プランジャ44は、平坦な本体106と、ばね46(図3)を受ける円筒形の後方延長部100と、ハウジング16のカム面136(図20)に作用する曲がった前方カムフォロア部分102と、サイドアーム104と、整列した後方ガイド部分108とを有する。平坦な本体106は、溝49の平坦な前方部分内に配置される。サイドアーム104の部分および本体106の上下に整合された後方ガイド部分108は、非対称形の延長部26の両側に配置されたスロット110,112内に配置されている。サイドアーム104は、スロット110および112の前方を越えてプランジャ44の前方の動きを防止する停止面114を有する。スロット110,112内のサイドアーム104およびガイド部分108の部分は、軸83に沿ってプランジャ44の摺動作用を案内するガイドとして作用する。
サイドアーム104は、停止面114がスロット110,112の前端を越えて前進し、停止面114が各スロット内の所定の位置に嵌合するまで溝に挿入されるとき、アーム104を下方に偏寄する傾斜面を有する。スロット110,112が非対称形延長部26の両側に設けられているので、プランジャ44がいずれかの位置に向くように、停止面114がスロット110または112に向くように挿入することができる。
図7および図11を参照すると、非対称形の延長部26の1つの表面は、カートリッジ14を延長部26に保持するためにカートリッジ14のベース27内に戻り止めを受けるくぼみ122を有する。
ハンドル12の製造において、手によって把持される部品は、重り36を溝34に挿入することによって組み立てられ、次に部品38,40のプラスばめ延長部が重り36の整列した開口部に挿入される。重り36および部品38,40は、延長部41と突出部43との間の干渉適合によって所定の位置に固定される。エラストマー層37は、プラスティック部品30と重り36の細長い部分32の側壁の間に密封を提供するために変形される(図4は、部品の変形されない形状を鎖線で示したものである)。
ハンドル12の端部でカートリッジ支持構造42の部品を組み立てるときに、まずエジェクタ48が溝49に挿入される。次にばね46およびプランジャ44が挿入される。サイドアーム104の傾斜面120は、挿入中溝の中間に向かって偏寄され、(プランジャの向きに依存して)スロット110または112にスナップ結合し、プランジャ44、ばね46、及びエジェクタ48をカートリッジ支持構造42の所定位置に固定する。ばね46は、溝49の表面およびボタンの延長部54に対して後方にエジェクタ48を偏寄し、プランジャ44を前方に偏寄するように作用し、停止面114が、スロット110または112の前縁に対して偏寄される。ボタン50は、エジェクタ48が所定の位置に挿入された後、開口部52に挿入される。傾斜面87は軌道86の曲がった上方部分によって内側に偏寄され、エジェクタボタン50は、軌道86内の所定の位置に適合され、軌道86が溝84内に配置される。
図15ないし図20は、交換可能なカートリッジ14および揺動運動の詳細を示している。図15を参照すると、クリップ68によって保持されている回転支持端部72を備えたハウジング16に組み立てられている相互接続部材24が示されている。ベース27は、延長部26と同じ形状であり、延長部26とかみあう台形状の溝130を有する。
図17を参照すると、他のカートリッジ部品をその上に組み立てる前に示されるハウジング16は、アーム28の端部の回転支持端部72を受ける溝132を有する。アーム28は、支持端部72が開口部を通って溝132に挿入されるときたわみ、端部72を所定の位置に配置するために溝132内に配置した後、スナップ適合がたわまない向きに戻される。
図6および図11を参照すると、ベース27の溝130の戻り止め132は、非対称的な延長部26のくぼみ122とかみ合う。溝130の上部には、開口部74があり、この開口部74は、ばね偏寄プランジャ44をベース27を通して延長させ、ハウジング16の底部のカム面136と相互作用することができるようにする。
図18ないし図20を参照すると、各揺動支持端部72は、ハウジング16の上方の湾曲面140を摺動し、面140を含む円の中央に揺動軸を提供する下方の湾曲面138を有することが分かる。揺動軸は、ガード20の領域の刃の前方にある。図18は、揺動支持端部72が案内壁162の前表面を支持する偏寄されない位置のハウジング16を示す。図19は、ハウジング16の前方に偏寄した状態を示し、この場合、揺動支持端部72の前表面がハウジング16の前壁部分に対して押される。これは、シェービングの前のハウジング16の休止位置である。休止位置での前方への偏寄は、カム面の輪郭を形成することによって達成され、カムフォロア面102を有するプランジャ44は、図20に示すようにハウジング16の前方近くの休止位置を有する。
図20は、ハウジング16の回転運動の範囲を示す。キャップ22は、シェービング中に最初にユーザの皮膚に接触し、ハウジング16は、時計方向に回転し、ユーザの顔の輪郭に従い、プランジャ44によって偏寄される。キャップ22の最初の向きは、最初、キャップ22に近い刃を、ガードに接近した刃よりも皮膚に押すことができるようにする。しかしながら、ガードの領域の揺動および軽い揺動力は、シェービング中にカートリッジを“重いガード”にし、キャップよりガードの荷重を大きくする。3つの刃は、漸進的な最初の露出が行われ、この露出は、各刃の前方および直ぐ後方のカートリッジ部品の皮膚接触面に正接した平面に関して測定された刃縁の垂直方向の距離、すなわち高さとして定義される。特に、主な刃は、初期の負の露出を有し、第2の刃は、ゼロの初期の露出を有し、第3の刃は正の最初の露出を有する。ばね定数と刃の予備荷重は同じであり、刃はシェービング中に“漸進的な力”を有し、第3の刃の力は、第1の刃の力より大きく、第2の刃の力は、第1および第3の波の力の中間か、または第1または第3の刃のいずれかの力に等しい。有利なシェービングの結果は、弾性的に取り付けられた3つの刃を有するカートリッジが、シェービング中にこのような漸進的な力のパターンを呈するときに達成されると考えられる。
本発明の1つの実施例は、請求項の範囲内にある。ベース構造は、解放可能なラッチでハウジングに保持することができる。刃は上部の代わりに底部からの荷重を受ける。カートリッジ支持構造は、ハンドルから分離された1つのユニットとしてつくられ、それに取り付けられる。台形の延長部26の代わりに(図21)、6つの側面を有する延長部226(図22)または他の非対称形の形状を使用することができる。
回転接続部分は、各穴、シェル軸受、他の技術でピンによって提供される。例えば、図21を参照すると、揺動支持構造は、可撓性のプラスティックヒンジ部分200によって提供され、このヒンジ部分200は、ハウジング202よりさらに可撓性を有する材料からつくられ、回転領域206でハウジング202と相互接続部材204とを接続する。これらの部品は、二色成形によってつくられる。別の例として、図24を参照すると、ハウジング208および相互接続部材210は、プラスティックの同じ部品からつくられ、回転支持構造は、リビングヒンジ212によって提供される。またリビングヒンジは、ハウジングと異なるプラスティックの相互接続部材とともに使用される。
本発明によるシェービングカミソリの斜視図。 ハンドルと、互いに分離した図1のカミソリの交換可能なカートリッジとを示す斜視図。 本発明のハンドルの部品の分解図。 図2のハンドルの部品の3A−3Aで切った断面図。 図2の交換可能なカートリッジの部品の分解図。 図2の交換可能なカートリッジの部品の図16の4A−4Aで切った分解断面図。 図2のハンドルの端部のカートリッジ支持構造を示す部分平面図。 図2のハンドルのプランジャの正面図。 図7のカートリッジ支持構造の線7−7で切った部分断面図。 図7のカートリッジ支持構造の線8−8で切った断面図。 図7のカートリッジ支持構造の線9−9で切った部分断面図。 図7のカートリッジ支持構造に使用されるエジェクタの平面図。 図8のプランジャの斜視図。 図7のカートリッジ支持構造に使用されるエジェクタボタンの正面図。 図2の交換可能なカートリッジの正面図。 図15の交換可能なカートリッジの平面図。 図15の交換可能なカートリッジの底面図。 ハンドルへの接続の前における、カートリッジのベース構造に対する非偏寄回転位置の図15のカートリッジのハウジングを示す一部を破断した側面図。 ハンドルへの接続後の偏寄位置の図15のカートリッジの一部を破断した側面図。 図15の交換可能なカートリッジの回転運動の範囲を示す一部を破断した側面図。 図2のハンドルの延長部の断面図。 図2のハンドルの延長部の他の実施例の断面図。 異なる回転支持構造を有するカートリッジの他の実施例の側面図。 異なる回転支持構造を有するカートリッジの他の実施例の側面図。
符号の説明
12 ハンドル
14 カートリッジ
16 ハウジング
18 刃
20 ガード
22 キャップ
24 相互接続部材
26 延長部
27 ベース
28 アーム
32 細長い部分
34 溝
36 重り
37 外側把持層
41 延長部
42 カートリッジ支持構造
44 プランジャ
48 エジェクタ
50 エジェクタボタン
114 停止面
130 溝

Claims (8)

  1. 手で把持する細長い把持構造と、前記手で把持する構造の端部から延びるカートリッジ支持構造を有するシェービングカミソリハンドルにおいて、
    カートリッジ支持構造は、カートリッジの第1の溝(130)の内側を向いた表面とかみあう外側面と、第2の溝を備えた端面とを有し、
    カムフォロア面を有するばね偏寄プランジャが、前記カートリッジ支持構造に保持され、前記カートリッジ支持構造の前記第2の溝を通って延び、
    前記外側面は、前記ハンドルに関して前記カートリッジの適当な向きを保証するために非対称形状を備えた部分を有する、シェービングカミソリハンドル。
  2. 前記形状は台形である、請求項1に記載のシェービングカミソリハンドル。
  3. 前記形状は、平坦な側面を有する、請求項1または2に記載のシェービングカミソリハンドル。
  4. 前記ハンドル(12)は前記カートリッジ(14)に係合される、請求項1〜3のいずれか一項に記載のシェービングカミソリハンドル。
  5. 前記カートリッジ(14)は戻り止め(132)を有し、前記カートリッジ支持構造の前記外側面の1つは、前記戻り止めを受けるかみ合い凹部を有する、請求項4に記載のシェービングカミソリハンドル。
  6. 前記カートリッジ支持構造の前記外側面の1つは、戻り止めを有し、前記カートリッジは、前記戻り止めを受けるかみ合い凹部を有する、請求項4に記載のシェービングカミソリハンドル。
  7. 前記ばね偏寄プランジャ(44)は、前記カートリッジ支持構造の溝(110、112)によって案内される、請求項1〜6のいずれか一項に記載のシェービングカミソリハンドル。
  8. エジェクタボタン(50)によって制御されるエジェクタ(48)を有する、請求項1〜7のいずれかに記載のシェービングカミソリハンドル。
JP2007254988A 1996-04-10 2007-09-28 シェービング装置および方法 Expired - Lifetime JP5000445B2 (ja)

Applications Claiming Priority (2)

Application Number Priority Date Filing Date Title
US08/630,437 1996-04-10
US08/630,437 US5787586A (en) 1996-04-10 1996-04-10 Shaving system and method

Related Parent Applications (1)

Application Number Title Priority Date Filing Date
JP2004179647A Division JP2004313801A (ja) 1996-04-10 2004-06-17 シェービング装置および方法

Publications (2)

Publication Number Publication Date
JP2008055184A JP2008055184A (ja) 2008-03-13
JP5000445B2 true JP5000445B2 (ja) 2012-08-15

Family

ID=24527162

Family Applications (5)

Application Number Title Priority Date Filing Date
JP53639397A Expired - Lifetime JP4166279B2 (ja) 1996-04-10 1997-04-08 シェービングカートリッジおよびその製造方法
JP2004179647A Pending JP2004313801A (ja) 1996-04-10 2004-06-17 シェービング装置および方法
JP2007255047A Expired - Lifetime JP4629078B2 (ja) 1996-04-10 2007-09-28 シェービング装置および方法
JP2007255012A Expired - Lifetime JP4629077B2 (ja) 1996-04-10 2007-09-28 シェービング装置および方法
JP2007254988A Expired - Lifetime JP5000445B2 (ja) 1996-04-10 2007-09-28 シェービング装置および方法

Family Applications Before (4)

Application Number Title Priority Date Filing Date
JP53639397A Expired - Lifetime JP4166279B2 (ja) 1996-04-10 1997-04-08 シェービングカートリッジおよびその製造方法
JP2004179647A Pending JP2004313801A (ja) 1996-04-10 2004-06-17 シェービング装置および方法
JP2007255047A Expired - Lifetime JP4629078B2 (ja) 1996-04-10 2007-09-28 シェービング装置および方法
JP2007255012A Expired - Lifetime JP4629077B2 (ja) 1996-04-10 2007-09-28 シェービング装置および方法

Country Status (35)

Country Link
US (6) US5787586A (ja)
EP (7) EP1053837B1 (ja)
JP (5) JP4166279B2 (ja)
KR (4) KR100538754B1 (ja)
CN (1) CN1101746C (ja)
AR (1) AR006556A1 (ja)
AT (7) ATE201627T1 (ja)
AU (1) AU734685B2 (ja)
BR (1) BR9708631A (ja)
CA (4) CA2250004C (ja)
CO (1) CO4700321A1 (ja)
CZ (3) CZ299725B6 (ja)
DE (10) DE29723516U1 (ja)
DK (6) DK1053837T3 (ja)
EG (1) EG22076A (ja)
ES (7) ES2188465T3 (ja)
GR (1) GR3036054T3 (ja)
HK (3) HK1048278B (ja)
HU (3) HU223283B1 (ja)
ID (1) ID16583A (ja)
IL (5) IL126354A (ja)
MY (5) MY125601A (ja)
NO (3) NO323067B1 (ja)
NZ (2) NZ332200A (ja)
PL (1) PL185191B1 (ja)
PT (6) PT1226905E (ja)
RO (1) RO121331B1 (ja)
RS (6) RS20070199A (ja)
RU (4) RU2263023C2 (ja)
SK (3) SK286638B6 (ja)
TR (3) TR200002198T2 (ja)
TW (1) TW375561B (ja)
UA (1) UA63904C2 (ja)
WO (1) WO1997037819A2 (ja)
ZA (1) ZA972946B (ja)

Families Citing this family (320)

* Cited by examiner, † Cited by third party
Publication number Priority date Publication date Assignee Title
DE69233729T2 (de) * 1991-11-27 2009-03-12 The Gillette Co., Boston Rasierapparate
US5787586A (en) * 1996-04-10 1998-08-04 The Gillette Company Shaving system and method
US5956851A (en) * 1996-04-10 1999-09-28 The Gillette Company Shaving system including handle and replaceable cartridges
US6041926A (en) * 1996-04-10 2000-03-28 The Gillette Company Dispensing razor blade cartridges used with a handle
US6085426A (en) * 1996-04-10 2000-07-11 The Gillette Company Dispensing razor blade cartridges used with a handle
US5956848A (en) 1997-02-27 1999-09-28 The Gillette Company Shaving system
US6035537A (en) * 1997-09-30 2000-03-14 The Gillette Company Razor cartridge with metal clip retaining blades
US6009624A (en) * 1997-09-30 2000-01-04 The Gillette Company Razor cartridge with movable blades
US6161287A (en) * 1998-04-24 2000-12-19 The Gillette Company Razor blade system
CA2267729A1 (en) * 1998-09-14 2000-03-14 Warner-Lambert Company Razor frame with integral weight
GB9903415D0 (en) 1999-02-15 1999-04-07 Gillette Co Safety razors
US6112412A (en) * 1999-04-21 2000-09-05 Warner-Lambert Company Razor assembly and cartridge having improved wash-through
US6182366B1 (en) 1999-04-21 2001-02-06 Warner-Lambert Company Flexible razor assembly and cartridge
US6138361A (en) * 1999-04-21 2000-10-31 Warner-Lambert Company Pivotable razor assembly and cartridge
US6772523B1 (en) 1999-04-21 2004-08-10 Eveready Battery Company, Inc. Pivotable and flexible razor assembly and cartridge
US6223442B1 (en) * 1999-08-19 2001-05-01 William Alvarez Pina Non-motorized razor with spring-supported head
GB2354474B8 (en) 1999-09-27 2008-01-29 Gillette Co Safety razors
USD425251S (en) * 1999-10-13 2000-05-16 The Gillette Company Razor handle
USD425250S (en) * 1999-10-13 2000-05-16 The Gillette Company Razor handle
US6276367B1 (en) 2000-02-22 2001-08-21 Andrey Piatetsky Liquid-reservoir hairbrush
US6675479B1 (en) 2000-02-29 2004-01-13 The Gillette Company Shaving razor and blade unit with improved guard
US6651342B1 (en) 2000-02-29 2003-11-25 The Gillette Company Shaving razor and blade unit with improved guard
US6684513B1 (en) * 2000-02-29 2004-02-03 The Gillette Company Razor blade technology
US6266888B1 (en) * 2000-03-15 2001-07-31 Thomas E. Zowaski Reaching razor
US6349471B1 (en) * 2000-07-19 2002-02-26 The Gillette Company Razor cartridge with painted and drawn retaining clip
US20180036895A1 (en) * 2000-11-01 2018-02-08 Sharidan L. Stiles Snap on and off multi-size interchangeable blade cartridges with handle
US6916035B2 (en) 2001-01-23 2005-07-12 Russell A. Houser Athletic devices and other devices with superelastic components
US20020116831A1 (en) 2001-02-28 2002-08-29 Coffin David C. Apparatus for releasably retaining a disposable razor cartridge
US7160508B2 (en) * 2001-09-05 2007-01-09 The Gillette Company Personal care products having elastomeric portions
JP3833171B2 (ja) * 2001-12-21 2006-10-11 ファイザー・プロダクツ・インク 剃刀装置
US7152512B1 (en) 2002-04-18 2006-12-26 American Safety Razor Razor handle with spring fingers
US20040055159A1 (en) * 2002-09-20 2004-03-25 Jeff Khomari V-shaped razor
US20040055156A1 (en) * 2002-09-25 2004-03-25 The Gillette Company Safety razor
EP1601505A1 (en) * 2003-02-28 2005-12-07 Eveready Battery Company, Inc. Shaving implement having improved pivot axis location
US20040172832A1 (en) * 2003-03-04 2004-09-09 Colin Clipstone Razor blade
US20040181943A1 (en) * 2003-03-18 2004-09-23 Michael Kwiecien Shaving systems
DE10327739B4 (de) * 2003-06-18 2006-06-08 Feintechnik Gmbh Eisfeld Rasierklingeneinheit für einen Rasierapparat
US7617607B2 (en) 2003-07-21 2009-11-17 The Gillette Company Shaving razors and other hair cutting assemblies
GB2406537B (en) 2003-07-21 2006-09-06 Gillette Co Safety razors
GB0326646D0 (en) 2003-11-14 2003-12-17 Gillette Co Safety razors
GB2408010B (en) * 2003-11-17 2007-03-28 Knowledge & Merchandising Inc Shaving product
US7367125B2 (en) 2003-12-10 2008-05-06 The Gillette Company Shaving systems
USD524986S1 (en) 2003-12-22 2006-07-11 The Gillette Company Razor cartridge
US9333657B2 (en) 2004-01-26 2016-05-10 Koninklijke Philips N.V. Safety razor apparatus having a pivotable grip portion
US7272991B2 (en) * 2004-02-09 2007-09-25 The Gillette Company Shaving razors, and blade subassemblies therefor and methods of manufacture
US8104184B2 (en) * 2004-03-11 2012-01-31 The Gillette Company Shaving cartridges and razors
DE602005023131D1 (de) 2004-03-11 2010-10-07 Gillette Co Nassrasierer und andere haarschneideanordnungen
US20050198825A1 (en) * 2004-03-11 2005-09-15 Apprille Domenic V.Jr. Dispensers for razor blade cartridges
US7131202B2 (en) * 2004-03-11 2006-11-07 The Gillette Company Cutting members for shaving razors with multiple blades
US20050198830A1 (en) * 2004-03-11 2005-09-15 Walker Vincent P. Shaving cartridges and razors
US7197825B2 (en) * 2004-03-11 2007-04-03 The Gillette Company Razors and shaving cartridges with guard
US7690122B2 (en) 2004-03-11 2010-04-06 The Gillette Company Shaving razor with button
US20050198829A1 (en) * 2004-03-11 2005-09-15 Gray Michael J. Shaving razor with trimming blade
US7168173B2 (en) 2004-03-11 2007-01-30 The Gillette Company Shaving system
US7669335B2 (en) * 2004-03-11 2010-03-02 The Gillette Company Shaving razors and shaving cartridges
US7536787B2 (en) 2004-03-30 2009-05-26 Ridgewood Industries Llc Wet razor and electric trimmer assembly
US7673541B2 (en) * 2004-06-03 2010-03-09 The Gillette Company Colored razor blades
US20060080837A1 (en) * 2004-10-20 2006-04-20 Robert Johnson Shaving razors and cartridges
US8033023B2 (en) * 2004-10-20 2011-10-11 The Gillette Company Shaving razors and cartridges
US7284461B2 (en) * 2004-12-16 2007-10-23 The Gillette Company Colored razor blades
KR100637428B1 (ko) * 2004-12-17 2006-10-24 박혜산 정발용 커팅기구
CA2596778A1 (en) 2005-02-03 2006-08-10 Bic-Violex Sa Razor handle having ergonomic ribbed sides
EP1848573B1 (en) * 2005-02-03 2008-11-05 BIC Violex S.A. Razor handle having converging side surfaces
US7975389B2 (en) 2005-02-03 2011-07-12 Bic-Violex Sa Razor handle having ergonomic gripping areas
CA2596771A1 (en) * 2005-02-03 2006-08-10 Bic-Violex Sa Razor handle having a reticulated head portion
EP1843877B1 (en) 2005-02-03 2008-09-24 BIC Violex S.A. Razor handle having an arcuate profile
BRPI0519882A2 (pt) * 2005-02-03 2009-09-15 Bic Violex Sa cabo de aparelho e aparelho para barbear
USD537203S1 (en) * 2005-02-23 2007-02-20 The Gillette Company Gripping element for a razor handle
USD534313S1 (en) * 2005-02-23 2006-12-26 The Gillette Company Razor
USD534686S1 (en) * 2005-02-24 2007-01-02 The Gillette Company Razor handle
US7219430B2 (en) * 2005-03-08 2007-05-22 The Gillette Company Oscillating razors
USD535784S1 (en) * 2005-03-22 2007-01-23 American Safety Razor Company Razor cartridge and interconnect
USD527492S1 (en) * 2005-03-22 2006-08-29 Wonderley Jeffrey W Razor handle
USD535056S1 (en) * 2005-03-22 2007-01-09 American Safety Razor Company Razor cartridge with interconnect and handle
USD534315S1 (en) * 2005-04-27 2006-12-26 The Gillette Company Razor
USD534688S1 (en) * 2005-04-27 2007-01-02 The Gillette Company Razor handle
US20060277767A1 (en) * 2005-06-14 2006-12-14 Shuwei Sun Razor blades
BRPI0520352B1 (pt) * 2005-06-28 2018-07-31 Bic-Violex Sa Cabo de barbeador ergonômico dotado de punho aperfeiçoado
US20080201966A1 (en) * 2005-06-28 2008-08-28 Bic-Violex Sa Razor Handle Provided with an Improved Grip
US8256532B2 (en) * 2005-07-01 2012-09-04 Board Of Regents, The University Of Texas System System, program products, and methods for controlling drilling fluid parameters
EP1937444B1 (en) * 2005-09-14 2013-04-17 Eveready Battery Company, Inc. Blade mounting members for a razor cartridge
USD547904S1 (en) * 2005-10-18 2007-07-31 American Safety Razor Men's razor handle
US20070124944A1 (en) * 2005-11-30 2007-06-07 Eveready Battery Company, Inc. Razor blade and method of making it
US20070131060A1 (en) * 2005-12-14 2007-06-14 The Gillette Company Automated control of razor blade colorization
EP2359731B1 (en) 2006-02-13 2016-09-07 Black & Decker Inc. Power mop with exposable scrub brush
US20070270242A1 (en) * 2006-05-17 2007-11-22 Callaway Golf Company Polybutadiene diols for unique polyurethane
USD565245S1 (en) 2006-07-26 2008-03-25 American Safety Razor Shaving razor
USD558923S1 (en) 2006-08-07 2008-01-01 The Gillette Company Handle
US8443519B2 (en) * 2006-09-15 2013-05-21 The Gillette Company Blade supports for use in shaving systems
US20080086888A1 (en) * 2006-10-11 2008-04-17 Noah Scheinfeld Razor blades comprising a layer including releasable bioactive agent
US20080086899A1 (en) * 2006-10-12 2008-04-17 Gallagher Richard N Razor head and method for making the same
WO2008051109A1 (fr) * 2006-10-26 2008-05-02 Vladimir Anatolievich Urvanov Rasoir
US8261452B2 (en) * 2006-11-20 2012-09-11 Koninklijke Philips Electronics N.V. Rotary shaver with improved support structure for shaving heads
USD568000S1 (en) 2006-12-22 2008-04-29 American Safety Razor Razor handle
US8424215B2 (en) * 2007-02-01 2013-04-23 Eveready Battery Company, Inc. Razor handle
WO2008107821A1 (en) * 2007-03-02 2008-09-12 The Gillette Company Razor having a wing shaped contouring shaving aid
US20080256801A1 (en) * 2007-04-20 2008-10-23 O'connor William Thomas Razor cartridge with front pivot axis
US20080256803A1 (en) * 2007-04-20 2008-10-23 William Earle Tucker Razor cartridge pivot axis
US9517570B2 (en) 2007-04-20 2016-12-13 The Gillette Company Razor cartridge
USD563045S1 (en) 2007-05-03 2008-02-26 The Gillette Company Razor handle
USD563046S1 (en) 2007-05-03 2008-02-26 The Gillette Company Razor handle
MX2009013443A (es) * 2007-06-12 2010-01-15 Gillette Co Maquina de afeitar dispensadora de liquidos accionable manualmente.
US8438736B2 (en) * 2007-08-24 2013-05-14 The Gillette Company Safety razor with improved guard
US7770294B2 (en) * 2007-08-30 2010-08-10 The Gillette Company Razor with blade unit biasing member
US7871347B2 (en) 2007-10-11 2011-01-18 Shimano Inc. Bicycle rear sprocket assembly
DE102007050381A1 (de) 2007-10-22 2009-04-23 Braun Gmbh Haarentfernungsgerät
DE102007050661A1 (de) * 2007-10-24 2009-04-30 Braun Gmbh Epiliergerät
US8435433B2 (en) * 2008-02-04 2013-05-07 The Gillette Company Method for making a handle for a personal grooming device
USD588308S1 (en) 2008-02-15 2009-03-10 American Safety Razor Shaving razor
USD588309S1 (en) 2008-02-15 2009-03-10 American Safety Razor Razor cartridge
CN101965252A (zh) * 2008-02-27 2011-02-02 美国安全剃刀公司 剃须系统
US20090255124A1 (en) * 2008-04-11 2009-10-15 Hassam Hasbani Cartridge for a Shaving Razor
EP2123410B1 (de) * 2008-05-23 2011-07-27 Feintechnik GmbH Eisfeld Rasierklingeneinheit mit Filmscharnier
US20090293292A1 (en) * 2008-05-27 2009-12-03 Christopher Ramm Resilient razor handle
US20100005669A1 (en) 2008-07-14 2010-01-14 Florina Winter Razor Handle
US8205344B2 (en) 2008-08-20 2012-06-26 The Gillette Company Safety razor having pivotable blade unit
USD616607S1 (en) 2008-09-26 2010-05-25 The Gillette Company Razor handle
US8151468B2 (en) * 2008-09-26 2012-04-10 The Gillette Company Handle for shaving razors having improved grip
EP2349658B1 (en) 2008-09-29 2013-03-06 The Gillette Company Razor cartridges with perforated blade assemblies
JP5052473B2 (ja) * 2008-09-30 2012-10-17 ノーレッジ・アンド・マーチャンダイジング・インコーポレーテッド・リミテッド かみそり
US7913393B2 (en) 2008-10-07 2011-03-29 The Gillette Company Safety razor with multi-pivot blade unit
USD604906S1 (en) 2008-11-07 2009-11-24 American Safety Razor Shaving razor handle
USD602634S1 (en) 2008-11-24 2009-10-20 The Gillette Company Shaving razor
USD601753S1 (en) 2008-11-24 2009-10-06 The Gillette Company Shaving razor cartridge
US8671577B2 (en) * 2008-12-03 2014-03-18 Thomas A. Brown Razor with independent suspension
USD603098S1 (en) 2008-12-09 2009-10-27 The Gillette Company Shaving razor handle
RU2008150012A (ru) * 2008-12-10 2010-06-20 Александр Тарасович Володин (RU) Лезвийный блок безопасной бритвы
USD603097S1 (en) 2008-12-22 2009-10-27 The Gillette Company Shaving razor connector
AU2010203231A1 (en) * 2009-01-05 2011-07-28 The Gillette Company Docking mechanisms for shaving razors and cartridges
USD612991S1 (en) 2009-02-19 2010-03-30 The Gillette Company Shaving razor handle
US8745877B2 (en) 2009-03-23 2014-06-10 The Gillette Company Manually actuable liquid dispensing razor
US8826543B2 (en) 2009-03-23 2014-09-09 The Gillette Company Manually actuable liquid dispensing razor
USD615705S1 (en) 2009-04-23 2010-05-11 The Gillette Company Gripping member for a razor handle
USD625882S1 (en) 2009-05-21 2010-10-19 American Safety Razor Shaving razor
US8273205B2 (en) 2009-07-24 2012-09-25 The Gillette Company Manufacture of pivoting resilient skin contacting members
US20110016724A1 (en) * 2009-07-24 2011-01-27 Matthew Frank Murgida Resilient Skin Contacting Members to Facilitate Pivoting
CN201446542U (zh) * 2009-08-06 2010-05-05 任向荣 剃须刀刀头及其外框体
US20110088269A1 (en) * 2009-10-21 2011-04-21 Walker Jr Vincent Paul Docking Mechanisms for Shaving Razors and Cartridges
USD621095S1 (en) 2009-11-18 2010-08-03 The Gillette Company Shaving razor handle
USD640004S1 (en) 2009-11-30 2011-06-14 American Safety Razor Shaving razor
USD625883S1 (en) 2009-11-30 2010-10-19 American Safety Razor Razor cartridge
USD640414S1 (en) 2009-11-30 2011-06-21 American Safety Razor Shaving razor
USD633252S1 (en) 2009-11-30 2011-02-22 American Safety Razor Shaving razor
US10562198B2 (en) * 2009-12-18 2020-02-18 The Gillette Company Llc Razor cartridge with non-cutting element
US8793880B2 (en) 2010-02-16 2014-08-05 The Gillette Company Shaving razor adapter attaching a shaving razor cartridge to a shaving razor handle
US20110203120A1 (en) * 2010-02-23 2011-08-25 Stephen Charles Witkus Razor cartridge assembly
WO2011115982A1 (en) 2010-03-15 2011-09-22 The Gillette Company Liquid dispensing device comprising a peristaltic pump
EP2366507B1 (en) 2010-03-15 2015-05-13 The Gillette Company Razor cartridge
AU2011227448A1 (en) 2010-03-15 2012-10-11 The Gillette Company Hair removal device
US20110247217A1 (en) * 2010-04-12 2011-10-13 Robert Harold Johnson Shaving cartridge having a front pivoting hood with a biasing member
USD636533S1 (en) 2010-05-11 2011-04-19 American Safety Razor Razor handle
USD636938S1 (en) 2010-05-12 2011-04-26 American Safety Razor Razor handle
USD635718S1 (en) 2010-05-12 2011-04-05 American Safety Razor Razor handle
US8931176B2 (en) * 2010-06-09 2015-01-13 The Gillette Company Blade cartridge guard comprising an array of flexible fins extending in multiple directions
USD634894S1 (en) 2010-06-09 2011-03-22 The Gillette Company Shaving razor handle
USD633253S1 (en) 2010-06-23 2011-02-22 American Safety Razor Razor cartridge
WO2012005839A2 (en) 2010-06-29 2012-01-12 Eveready Battery Company, Inc. Razor handle
USD640415S1 (en) 2010-07-07 2011-06-21 American Safety Razor Razor cartridge
USD648075S1 (en) 2010-07-07 2011-11-01 American Safety Razor Razor cartridge
JP5669473B2 (ja) * 2010-07-27 2015-02-12 株式会社貝印刃物開発センター 剃刀のハンドル
US8745882B2 (en) 2010-09-29 2014-06-10 The Gillette Company Flexible and separable portion of a razor handle
US8745883B2 (en) 2010-09-29 2014-06-10 The Gillette Company Razor handle with a rotatable portion
USD643976S1 (en) 2010-10-19 2011-08-23 American Safety Razor Razor cartridge
USD643977S1 (en) 2010-10-19 2011-08-23 American Safety Razor Razor cartridge
US8650763B2 (en) * 2010-10-20 2014-02-18 The Gillette Company Shaving razor providing enhanced control during shaving
US8769825B2 (en) * 2010-10-20 2014-07-08 The Gillette Company Shaving razor including a biasing member producing a progressively increasing cartridge return torque and handle geometry enhancing control during shaving
CN103476554A (zh) 2010-10-27 2013-12-25 吉列公司 包含不起泡的保湿组合物的组合物分配装置
CN102452095B (zh) * 2010-10-28 2014-10-29 吉列公司 用于分配液体的毛发移除装置的施用装置
USD650947S1 (en) 2011-01-19 2011-12-20 The Gillette Company Shaving razor handle
US9073226B2 (en) 2011-02-09 2015-07-07 The Gillette Company Pivoting razor
EP2680702B1 (en) 2011-02-28 2020-02-12 The Gillette Company LLC Razor comprising a molded shaving aid composition comprising a pyrithione source
US20120311865A1 (en) * 2011-06-08 2012-12-13 Zafirro, Llc Mineral blade and razor for use with same
US9101471B2 (en) 2011-06-13 2015-08-11 Edwards Lifesciences Corporation Systems and delivery handles for delivering prosthetic heart valves disposed on valve holders
EP2744363A2 (en) 2011-08-16 2014-06-25 The Gillette Company Composition dispensing device comprising a moisturizing composition
US9561596B2 (en) * 2011-09-19 2017-02-07 Wahl Clipper Corporation Multi-part hair clipper housing lid
US20130145625A1 (en) * 2011-12-09 2013-06-13 Xiaolan Xu Fluid dispensing shaving razor
USD661427S1 (en) 2011-12-09 2012-06-05 The Gillette Company Shaving cartridge connector
US9193079B2 (en) 2011-12-22 2015-11-24 The Gillette Company Linkage mechanism for a razor
US20130160307A1 (en) 2011-12-22 2013-06-27 Daren Mark Howell Razor cartridge that rotates about a virtual pivot axis
US20130160306A1 (en) 2011-12-22 2013-06-27 Daren Mark Howell Linkage mechanism producing a virtual pivot axis for a razor
USD665948S1 (en) 2012-01-10 2012-08-21 The Gillette Company Hair removal cartridge
PL2614938T3 (pl) 2012-01-12 2020-06-29 Spectrum Brands, Inc. Elektryczny trymer do włosów
US9032631B2 (en) 2012-03-28 2015-05-19 The Gillette Company Indicia for razor with a rotatable portion
US8938885B2 (en) 2012-05-01 2015-01-27 The Gillette Company Razor handle with a rotatable portion
US8789282B2 (en) 2012-05-25 2014-07-29 Shavelogic, Inc. Magnetic attachment for shaving cartridge
US10272579B2 (en) 2012-05-25 2019-04-30 Shavelogic, Inc. Magnetic attachment for shaving cartridge
US20140000114A1 (en) * 2012-06-28 2014-01-02 The Gillette Company Shaving razor cartridge
US9283685B2 (en) 2012-07-26 2016-03-15 Shavelogic, Inc. Pivoting razors
BR112015006689B1 (pt) * 2012-09-26 2020-10-06 Bic-Violex Sa Método e sistema para a fabricação de conjuntos
WO2014051842A1 (en) 2012-09-27 2014-04-03 Shavelogic, Inc. Shaving systems
US9486930B2 (en) 2012-09-27 2016-11-08 Shavelogic, Inc. Shaving systems
WO2014051843A1 (en) 2012-09-28 2014-04-03 Shavelogic, Inc. Shaving systems
US20140116211A1 (en) 2012-10-25 2014-05-01 Shavelogic, Inc. Dedicated Attachment Systems for Consumer Products
US9623575B2 (en) 2012-12-18 2017-04-18 Shavelogic, Inc. Shaving systems
US9757870B2 (en) * 2012-12-21 2017-09-12 Bic Violex S.A. Shaver
EP2934828B1 (en) * 2012-12-21 2019-02-06 BIC-Violex S.A. Shaver with interchangeable cartridge and head and handle assembly for such shaver
KR101999552B1 (ko) * 2012-12-21 2019-07-12 빅-비올렉스 에스아 교체 가능한 카트리지를 가지는 면도기와 이러한 면도기를 위한 카트리지와 헤드 및 핸들 조립체
US20140230256A1 (en) * 2013-02-20 2014-08-21 The Gillette Company Hand held device
SG11201506745TA (en) 2013-03-04 2015-09-29 Gillette Co Article for carrying a glide member for use with a razor
CA2902944A1 (en) 2013-03-04 2014-09-12 The Gillette Company Article for carrying a glide member for use with a razor
SG11201506743SA (en) 2013-03-04 2015-09-29 Gillette Co Razor with two glide members pivoting about a single axis
EP3010686A1 (en) 2013-06-17 2016-04-27 The Gillette Company A glide member comprising low to no hygroscopic components for use with a razor
USD737513S1 (en) * 2013-08-26 2015-08-25 The Gillette Company Razor component
US10441307B2 (en) 2013-09-09 2019-10-15 Dd Karma Llc Hand held dermaplaning device and dermaplaning process
JP2016533847A (ja) 2013-09-09 2016-11-04 リービ、ダーラ 携帯皮膚剥離装置および皮膚剥離プロセス
EP2853362B1 (en) * 2013-09-25 2016-08-10 BIC Violex S.A. A shaving blade cartridge
US9321182B2 (en) * 2013-11-01 2016-04-26 The Gillette Company Razor cartridge for a liquid dispensing razor
EP3062973B1 (en) 2013-11-01 2019-12-11 The Gillette Company LLC Shave care composition for a liquid dispensing razor
US9216514B2 (en) 2013-11-01 2015-12-22 The Gillette Company Manually actuatable liquid dispensing razor
US20150158192A1 (en) 2013-12-09 2015-06-11 Shavelogic, Inc. Multi-material pivot return for shaving systems
CA2932764C (en) 2013-12-18 2020-01-14 Bic-Violex Sa A shaving blade cartridge
US9707690B2 (en) * 2013-12-20 2017-07-18 The Gillette Company Llc Heated shaving razor handle
US20150174775A1 (en) 2013-12-20 2015-06-25 The Gillette Company Pivoting shaving razor handle
EA201691153A1 (ru) 2014-01-02 2016-12-30 Андреа Молинари Устройство, служащее основанием для головок бритвы
ES2660443T3 (es) 2014-01-31 2018-03-22 Feintechnik Gmbh Eisfeld Maquinilla de afeitar con un mango y una unidad de corte giratoria
PL3299134T3 (pl) * 2014-02-27 2018-12-31 Bic-Violex S.A. Kaseta z ostrzami do golenia i golarka zawierająca taką kasetę z ostrzami do golenia
RU2652314C2 (ru) 2014-02-28 2018-04-25 Бик-Виолекс Са Ручка станка для бритья, содержащая вставки в отверстиях, и станок для бритья, содержащий такую ручку
USD850721S1 (en) 2014-03-05 2019-06-04 Mack-Ray, Inc. Razor cartridge
KR102412219B1 (ko) 2014-03-05 2022-06-27 레이몬드 에이. 리베라토어 이중 측면 면도기
US9616584B2 (en) * 2014-03-20 2017-04-11 Rolling Razor, Inc. Shaving razor and shaving handle with an interconnection mechanism
WO2015142663A1 (en) 2014-03-21 2015-09-24 Shavelogic, Inc. Metal spring return
US20150266191A1 (en) * 2014-03-24 2015-09-24 Michael J. MAIMONE Razor with handle having articulable joint
US11148310B2 (en) 2014-03-24 2021-10-19 Flexhandle, L.L.C. Razor with handle having articulable joint
US20150273711A1 (en) 2014-03-26 2015-10-01 The Gillette Company Razor Comprising A Molded Shaving Aid Composition Comprising A Thermally Resilient Sensate
RU2660546C2 (ru) * 2014-04-16 2018-07-06 Бик-Виолекс Са Бритвенные ручки, соединяемые с возможностью отсоединения со сменными картриджами для бритья
CN103950047B (zh) * 2014-04-29 2016-06-29 任向荣 剃须刀及剃须刀组装方法
CN207327061U (zh) 2014-07-11 2018-05-08 沙夫罗吉克公司 剃刀刀片架
US20160008994A1 (en) * 2014-07-11 2016-01-14 Alvincent JOHNSON Ergonomic hair cutting tools
CA2955728A1 (en) * 2014-08-04 2016-02-11 Bic-Violex Sa A razor handle comprising an insert within a hole and razor comprising such a razor handle
KR102219846B1 (ko) * 2014-08-07 2021-02-25 빅-비올렉스 에스아 홀 내에 요소를 포함하는 면도기 손잡이 및 그러한 면도기 손잡이를 포함하는 면도기
US20170282391A1 (en) * 2014-09-12 2017-10-05 Shavelogic, Inc. Shaving razor accessory
EP3385043B1 (en) 2014-10-10 2022-06-08 Edgewell Personal Care Brands, LLC Universal razor cartridge handle
AU2015332483B2 (en) 2014-10-15 2019-08-15 Edgewell Personal Care Brands, Llc Razor cartridge connector
USD749267S1 (en) 2014-11-24 2016-02-09 EdgewellPersonal Care Brands, LLC Safety razor handle
USD749264S1 (en) 2014-11-24 2016-02-09 Edgewell Personal Care Brands, Llc Safety razor
AU2014413156B2 (en) * 2014-12-05 2018-07-26 Bic-Violex Sa A shaver's handle with a lock and release mechanism for engaging and disengaging a razor cartridge
SG11201706201XA (en) * 2015-02-01 2017-08-30 Mack-Ray Inc Dual sided razor
CN104669318B (zh) * 2015-02-03 2017-01-04 任向荣 剃须刀刀头及其组装方法
US10773404B2 (en) * 2015-05-13 2020-09-15 The Gillette Company Llc Shaving razor cartridge
AU2016285815B2 (en) 2015-06-30 2019-02-28 The Gillette Company Llc Liquid compositions for hair removal devices
CN105196323A (zh) * 2015-09-20 2015-12-30 梁现 易清洁易拆装的新型剃须刀
US20170087733A1 (en) 2015-09-29 2017-03-30 The Gillette Company Kit Comprising A Razor Cartridge And An Adapter
US10131063B2 (en) 2015-09-29 2018-11-20 The Gillette Company Llc Adapter for attaching a razor cartridge to a razor handle
CN108349098B (zh) 2015-11-20 2020-05-12 株式会社多乐可 把手组件、刀片架及包括这些的剃须刀
WO2017086514A1 (ko) 2015-11-20 2017-05-26 주식회사 도루코 면도기
EP3378613B1 (en) 2015-11-20 2021-08-11 Dorco Co., Ltd. Razor handle assembly and razor comprising same
ES2794375T3 (es) 2015-12-01 2020-11-18 Bic Violex Sa Maquinillas de afeitar y cartuchos de afeitar
EP4585173A3 (en) * 2015-12-21 2025-10-22 DD Karma LLC Hand held dermaplaning device
US10987820B2 (en) 2016-02-12 2021-04-27 Peter Alexander Gegg Adjustable body shaver, system and method
US11104020B2 (en) 2016-03-04 2021-08-31 Harry's, Inc. Razor handle and method of manufacture
EP3429809B1 (en) 2016-03-18 2021-07-28 Personal Care Marketing And Research, Inc. Razor cartridge
US10369713B1 (en) 2016-04-21 2019-08-06 Stubl Llc Spacer for razor blade for creating and maintaining a 5 o'clock shadow shave
US10137584B2 (en) 2016-05-31 2018-11-27 The Gillette Company Llc Adapter for a handle and a cartridge of different razor systems
US11052558B2 (en) 2016-05-31 2021-07-06 The Gillette Company Llc Adapter for a handle and a cartridge of different razor systems
US10652956B2 (en) 2016-06-22 2020-05-12 The Gillette Company Llc Personal consumer product with thermal control circuitry and methods thereof
KR101730415B1 (ko) * 2016-06-24 2017-04-26 주식회사 도루코 관통홀이 형성된 핸들을 포함하는 면도기
AU2017293856B2 (en) 2016-07-08 2020-04-02 The Gillette Company Llc Liquid compositions for hair removal devices comprising metathesized unsaturated polyol esters
US10940598B2 (en) * 2016-08-11 2021-03-09 The Gillette Company Llc Handle for a razor
US20180043558A1 (en) * 2016-08-11 2018-02-15 The Gillette Company Handle for a razor
US11130247B2 (en) 2016-08-11 2021-09-28 The Gillette Company Llc Handle for a razor
US9993931B1 (en) 2016-11-23 2018-06-12 Personal Care Marketing And Research, Inc. Razor docking and pivot
EP3351358B1 (en) 2017-01-20 2019-11-20 The Gillette Company LLC Heating delivery element for a shaving razor
DE102017118596B4 (de) 2017-03-07 2025-04-24 Wilhelm Helisch Nassrasierer
US10807261B2 (en) 2017-06-21 2020-10-20 Harry's, Inc. Razor handle
CN107175700A (zh) * 2017-07-13 2017-09-19 宁波开利控股集团股份有限公司 具有陶瓷刀片的手动刮胡刀以及其陶瓷刀片的制作工艺
JP6755836B2 (ja) 2017-07-24 2020-09-16 株式会社貝印刃物開発センター 首振り式剃刀
PL3565690T3 (pl) 2017-08-28 2020-11-16 Edgewell Personal Care Brands, Llc Łącznik wkładu maszynki do golenia
CN107671899A (zh) * 2017-11-10 2018-02-09 平湖福达五金制品有限公司 一种伸缩折叠刮胡刀
US11351687B2 (en) 2017-11-28 2022-06-07 Edgewell Personal Care Brands, Llc Razor handle
KR101876232B1 (ko) * 2018-01-02 2018-07-10 주식회사 도루코 면도기 카트리지
US11123888B2 (en) 2018-03-30 2021-09-21 The Gillette Company Llc Razor handle with a pivoting portion
WO2019191231A1 (en) 2018-03-30 2019-10-03 The Gillette Company Llc Razor handle with a pivoting portion
CA3091285A1 (en) * 2018-03-30 2019-10-03 The Gillette Company Llc Shaving razor cartridge
US11691307B2 (en) 2018-03-30 2023-07-04 The Gillette Company Llc Razor handle with a pivoting portion
JP2021516102A (ja) 2018-03-30 2021-07-01 ザ ジレット カンパニー リミテッド ライアビリティ カンパニーThe Gillette Company Llc 枢動部分を有するかみそりハンドル
CN111788048B (zh) 2018-03-30 2022-03-18 吉列有限责任公司 具有枢转部分的剃刀柄部
EP3774227A1 (en) 2018-03-30 2021-02-17 The Gillette Company LLC Razor handle with movable members
CN111770819B (zh) * 2018-03-30 2022-09-23 吉列有限责任公司 包括皮肤互连构件的剃刮剃刀系统
WO2019190911A1 (en) 2018-03-30 2019-10-03 The Gillette Company Llc Shaving razor system
US12240135B2 (en) 2018-03-30 2025-03-04 The Gillette Company Llc Razor handle with a pivoting portion
JP2021517045A (ja) * 2018-03-30 2021-07-15 ザ ジレット カンパニー リミテッド ライアビリティ カンパニーThe Gillette Company Llc 可動部材を有するかみそりハンドル
CN111801204B (zh) 2018-03-30 2022-04-15 吉列有限责任公司 剃刀刀片架及制造方法
EP3774213B1 (en) 2018-03-30 2022-03-30 The Gillette Company LLC Shaving razor cartridge and method of manufacture
AU2019242730A1 (en) * 2018-03-30 2020-09-24 The Gillette Company Llc Razor handle with movable members
JP7104168B2 (ja) 2018-03-30 2022-07-20 ザ ジレット カンパニー リミテッド ライアビリティ カンパニー 枢動部分を有するかみそりハンドル
US11826924B2 (en) 2018-03-30 2023-11-28 The Gillette Company Llc Shaving razor cartridge and method of manufacture
USD874061S1 (en) 2018-03-30 2020-01-28 The Gillette Company Llc Shaving razor cartridge
EP3775633B1 (en) * 2018-03-30 2024-08-21 The Gillette Company LLC Razor handle with movable members
US11607820B2 (en) 2018-03-30 2023-03-21 The Gillette Company Llc Razor handle with movable members
USD872365S1 (en) 2018-05-09 2020-01-07 Harry's, Inc. Razor handle
EP4015169B1 (en) 2018-09-14 2024-10-30 BIC Violex Single Member S.A. Razor assembly
USD884971S1 (en) 2019-02-27 2020-05-19 Pcmr International Ltd Razor cartridge
USD884969S1 (en) 2019-02-27 2020-05-19 Pcmr International Ltd Combined razor cartridge guard and docking
USD884970S1 (en) 2019-02-27 2020-05-19 PCMR International Ltd. Razor cartridge guard
US11020867B2 (en) * 2019-03-15 2021-06-01 The Gillette Company Llc Razor handle with a rotatable portion
PL3946850T3 (pl) 2019-03-29 2023-08-28 Edgewell Personal Care Brands, Llc Maszynka do golenia oraz rączka do maszynki do golenia
EP3771530B1 (en) 2019-07-31 2024-08-28 BIC Violex Single Member S.A. Mechanical assembly of a skin care device, skin care device and process for manufacturing thereof
US11161263B2 (en) 2019-08-22 2021-11-02 Harry's, Inc. Razor cartridge connection and handle
KR102292824B1 (ko) * 2019-09-20 2021-08-25 주식회사 도루코 카트리지용 판재, 이를 이용한 면도기 카트리지 및 카트리지 제조 방법
EP3842196B1 (en) 2019-12-23 2023-09-13 BIC Violex Single Member S.A. Coupling mechanism
CA3164155A1 (en) * 2020-01-09 2021-07-15 Ariel Grinspun Straight razor
EP3904022B1 (en) 2020-04-29 2024-09-04 BIC Violex Single Member S.A. Magnetic lock and release mechanism for skincare device
JP2023530542A (ja) 2020-06-22 2023-07-19 エッジウェル パーソナル ケア ブランズ リミテッド ライアビリティ カンパニー 安全かみそり及び安全かみそりのためのコネクタ及びハンドル
EP3944935B1 (en) * 2020-07-27 2023-10-25 BIC Violex Single Member S.A. Adapter for a razor system
US20220088810A1 (en) * 2020-09-21 2022-03-24 Beauty Perspectives, LLC Razor handle
US11000960B1 (en) 2020-11-16 2021-05-11 Personal Care Marketing And Research, Inc. Razor exposure
USD953640S1 (en) 2020-12-04 2022-05-31 Athena Club Holdings, Inc. Razor handle
USD973277S1 (en) * 2020-12-23 2022-12-20 Chun Lin Shaver
USD986505S1 (en) 2021-03-29 2023-05-16 Beauty Perspectives, LLC Razor handle
USD1046291S1 (en) 2021-05-25 2024-10-08 The Gillette Company Llc Razor handle
USD1014847S1 (en) * 2021-05-25 2024-02-13 The Gillette Company Llc Razor
USD1046290S1 (en) 2021-05-25 2024-10-08 The Gillette Company Llc Razor handle
USD1042958S1 (en) * 2021-05-25 2024-09-17 The Gillette Company Llc Razor handle
DE102021126490B3 (de) 2021-10-13 2022-12-29 Feintechnik Gmbh Eisfeld Handgriff mit einem Auswerfer für einen Nassrasierer
US20230390952A1 (en) * 2022-06-02 2023-12-07 Mack-Ray Inc. Dual sided razor
EP4357089A1 (en) * 2022-10-20 2024-04-24 BIC Violex Single Member S.A. Razor handle
EP4385687A1 (en) * 2022-12-14 2024-06-19 BIC Violex Single Member S.A. Shaving device
DE102023100423B3 (de) 2023-01-10 2024-04-18 Feintechnik Gmbh Eisfeld Auswerferknopf mit integrierter Rückstellfunktion für einen Rasiererhandgriff, Rasiererhandgriff und Nassrasierer
WO2025155577A1 (en) * 2024-01-19 2025-07-24 The Gillette Company Llc Shaving razor system
CN223223445U (zh) * 2024-10-28 2025-08-15 江西犀瑞制造有限公司 一种剃须刀头四向摆动结构

Family Cites Families (116)

* Cited by examiner, † Cited by third party
Publication number Priority date Publication date Assignee Title
DE27322C (de) * 1882-09-09 1884-06-11 GG. FISCHER in Nürnberg Neuerung an Musikkreiseln
US2284128A (en) * 1939-05-12 1942-05-26 Paine L Bush Tool and blade holder
US2298944A (en) * 1940-07-31 1942-10-13 Hyatt Elmer Razor or knife construction
US2349252A (en) * 1943-08-18 1944-05-23 Edward R Douglass Combined knife and razor
US2795847A (en) * 1955-02-24 1957-06-18 Arnade Kurt Conrad Instrument for surgical shaving
BE626686A (ja) * 1962-01-11
GB1163222A (en) * 1967-06-19 1969-09-04 Gillette Industries Ltd Improvements relating to Safety Razors
US3785051A (en) 1971-10-22 1974-01-15 Warner Lambert Co Dispensing system for bonded razor blade cartridges
GB1417831A (en) 1971-10-22 1975-12-17 Warner Lambert Co Razor blade cartridge dispensing systems
US3795979A (en) * 1972-04-27 1974-03-12 Gillette Co Handle
GB1378085A (en) * 1972-05-16 1974-12-18 Wilkinson Sword Ltd Shaving devices
US3878605A (en) * 1972-12-11 1975-04-22 Philip Morris Inc Handle construction
GB1460732A (en) * 1973-03-01 1977-01-06 Gillette Co Safety razor
US3909941A (en) * 1974-05-03 1975-10-07 Warner Lambert Co Adjustable safety razor
US3950849A (en) * 1974-07-23 1976-04-20 The Gillette Company Razor with rotatably mounted shaving unit
US3975820A (en) * 1975-05-12 1976-08-24 William Robert Lincoln Torance Razors and blade cartridge therefore
US4083104A (en) * 1975-05-12 1978-04-11 The Gillette Company Razor handle
US4026016A (en) * 1975-05-12 1977-05-31 The Gillette Company Razor blade assembly
US4146958A (en) * 1976-10-15 1979-04-03 Warner-Lambert Company Safety razor
GB1591095A (en) * 1976-11-16 1981-06-17 Wilkinson Sword Ltd Shaving units
US4094063A (en) * 1976-12-15 1978-06-13 The Gillette Company Razor assembly with pivotally mounted cartridge
US4198746A (en) * 1977-06-09 1980-04-22 The Gillette Company All plastic swivel head razor handle
CA1102537A (en) * 1977-09-08 1981-06-09 Frank A. Ferraro Shaving cartridge
JPS5649564Y2 (ja) * 1978-05-30 1981-11-19
GB2031782B (en) * 1978-10-20 1982-06-16 Wilkinson Sword Ltd Razors
US4227302A (en) * 1979-01-05 1980-10-14 Torrance William L Shaving apparatus
JPS55105072U (ja) * 1979-01-20 1980-07-22
DE3019399A1 (de) 1979-05-25 1981-04-23 The Gillette Co., 02199 Boston, Mass. Kopf eines sicherheitsrasierapparates
US4266340A (en) * 1979-06-11 1981-05-12 Warner-Lambert Company Razor handle for mounting pivotable razor blade cartridges
EP0020816A1 (en) * 1979-06-19 1981-01-07 The Gillette Company Shaving razor assembly
US4253237A (en) * 1979-06-19 1981-03-03 The Gillette Company Razor handle
US4258471A (en) * 1979-06-19 1981-03-31 The Gillette Company Razor handle
US4253236A (en) * 1979-06-19 1981-03-03 The Gillette Company Razor blade assembly
US4253235A (en) * 1979-06-19 1981-03-03 The Gillette Company Shaving system
US4283850A (en) * 1979-11-13 1981-08-18 The Gillette Company Razor blade assembly with a removable blade cartridge
US4378633A (en) * 1979-12-07 1983-04-05 The Gillette Company Razor blade assembly
US4308663A (en) * 1979-12-31 1982-01-05 Warner-Lambert Company Razor handle with latch for pivotable cartridge
JPS5837347Y2 (ja) * 1980-03-11 1983-08-23 株式会社 伊辰製陶所 陶磁器製柄と飲食用具の取り付け装置
US4334563A (en) * 1980-07-21 1982-06-15 The Budd Company Swingable impact tool
JPS596675B2 (ja) * 1980-10-20 1984-02-14 株式会社貝印刃物開発センター 安全かみそり
GB2086790B (en) * 1980-11-10 1984-03-21 Gillette Co Safety razors
US4428116A (en) * 1981-03-02 1984-01-31 Warner-Lambert Company Support for releasably retaining a blade cartridge
US4403414A (en) * 1981-04-09 1983-09-13 Warner-Lambert Company Socket device for a pivotal razor
US4389773A (en) * 1981-04-30 1983-06-28 The Gillette Company Shaving implement
IT8209403A1 (it) * 1981-05-19 1983-11-14 Wilkinson Sword Ltd Complesso di rasatura con lama spostabile fra due posizioni
US4422237A (en) * 1982-02-25 1983-12-27 The Gillette Company Razor handle
US4413411A (en) * 1982-02-25 1983-11-08 The Gillette Company Razor handle
US4411065A (en) * 1982-02-25 1983-10-25 The Gillette Company Shaving cartridge assembly
GB2116470B (en) * 1982-03-12 1985-09-25 Gillette Co Safety razors
EP0103009A4 (en) 1982-03-19 1984-07-24 Gillette Co RAZOR HANDLE.
USD270197S (en) 1982-03-19 1983-08-16 The Gillette Company Razor handle
US4446619A (en) * 1982-06-07 1984-05-08 The Gillette Company Razor handle
USD277987S (en) 1982-06-14 1985-03-12 The Gillette Company Razor handle
US4492024A (en) * 1982-09-17 1985-01-08 The Gillette Company Razor blade assembly
US4492025A (en) * 1982-09-17 1985-01-08 The Gillette Company Razor handle assembly
US4488357A (en) * 1982-09-17 1984-12-18 The Gillette Company Safety razor
US4498235A (en) * 1982-09-17 1985-02-12 The Gillette Company Razor blade assembly
USD271625S (en) 1982-09-28 1983-11-29 The Gillette Company Razor handle
GB2131337B (en) * 1982-12-07 1985-10-30 Gillette Co Safety razors
US4514904A (en) * 1983-09-21 1985-05-07 The Gillette Company Razor handle
JPS60172476A (ja) * 1984-02-13 1985-09-05 川嶋工業株式会社 調理用具等のハンドル
US4599793A (en) 1984-05-23 1986-07-15 American Safety Razor Company Razor connector
GB8506831D0 (en) * 1985-03-15 1985-04-17 Wilkinson Sword Ltd Razor handle
DE3518703A1 (de) * 1985-05-24 1986-11-27 Merkur Stahlwaren Wolfgang Hannemann, 5650 Solingen Handrasierapparat
USD294528S (en) 1985-06-25 1988-03-01 Gray Michael J Combined razor and cover therefor
JPS62503149A (ja) * 1985-06-26 1987-12-17 ザ ジレツト カンパニ− かみそり組立体
IT206831Z2 (it) * 1986-04-16 1987-10-01 Montana Coltelleria Spa Professionali, con manico rivestito coltello per impieghi casalinghi e di materiale elastomerico.
DE3635553A1 (de) * 1986-10-20 1988-04-21 Detlef Koeppen Rasierapparat
US4797998A (en) * 1986-12-08 1989-01-17 Warner-Lambert Company Lockable pivotable razor
US4739553A (en) * 1986-12-15 1988-04-26 The Gillette Company Razor handle assembly
US4756082A (en) * 1987-05-12 1988-07-12 Apprille Jr Domenic V Razor blade assembly and handle therefor
US4926553A (en) * 1987-07-17 1990-05-22 Michael Miskin Razor
US4785534A (en) * 1987-12-07 1988-11-22 The Gillette Company Razor
US4831731A (en) * 1988-04-07 1989-05-23 Mirel Elits Multiple blade safety razor
JPH0727123Y2 (ja) * 1988-06-20 1995-06-21 株式会社ユーエム工業 手引き鋸
US4949457A (en) * 1988-08-03 1990-08-21 Warner-Lambert Company Soft resilient razor handle
EP0357821B1 (de) * 1988-09-08 1991-11-06 Wilkinson Sword Gesellschaft mit beschränkter Haftung Rasierapparat
US4985995A (en) * 1988-09-08 1991-01-22 Wilkinson Sword Gesellschaft Mit Beschrankter Haftung Razor head, especially a razor blade unit
US5191712A (en) * 1988-10-28 1993-03-09 The Gillette Company Safety razors and guards
FR2639280A1 (fr) * 1988-11-24 1990-05-25 Izoard Patrick Perfectionnements aux rasoirs mecaniques, notamment jetables
JPH0632065Y2 (ja) * 1989-05-26 1994-08-24 フェザー安全剃刀株式会社 手動利器の柄
DE8909759U1 (de) * 1989-08-16 1990-12-20 Wilkinson Sword GmbH, 5650 Solingen Rasierapparatekopf, insbesondere Rasierklingeneinheit eines Naßrasierapparates
DE8910490U1 (de) * 1989-09-02 1991-01-10 Wilkinson Sword GmbH, 5650 Solingen Rasierapparatekopf eines Naßrasierapparates
DE8911246U1 (de) * 1989-09-21 1991-01-24 Wilkinson Sword GmbH, 5650 Solingen Rasierapparatekopf, insbesondere Rasierklingeneinheit
DE8911280U1 (de) * 1989-09-22 1991-01-24 Wilkinson Sword GmbH, 5650 Solingen Naßrasierapparat
JPH0362557U (ja) * 1989-10-17 1991-06-19
US5010646A (en) * 1990-01-26 1991-04-30 The Gillette Company Shaving system
US5016352A (en) * 1990-03-22 1991-05-21 The Gillette Company Single button razor
US5157834A (en) * 1990-04-10 1992-10-27 Warner-Lambert Company Razor mechanism with slidable cartridge support
USD354586S (en) 1990-09-13 1995-01-17 Warner-Lambert Company Razor
US5050301A (en) * 1990-09-19 1991-09-24 The Gillette Company Razor assembly
US5113585A (en) * 1990-09-28 1992-05-19 The Gillette Company Shaving system
US5027511A (en) * 1990-09-28 1991-07-02 The Gillette Company Shaving system
US5299354A (en) * 1990-10-11 1994-04-05 The Gillette Company Oscillating shaver
USD355049S (en) 1991-02-04 1995-01-31 Warner-Lambert Company Razor handle
JPH0742647Y2 (ja) * 1991-02-06 1995-10-04 アルスコーポレーション株式会社 鋸の柄
DE9103553U1 (de) * 1991-03-22 1991-07-04 G.B. Boucherie N.V., Izegem Werkzeug zum Mehrkomponenten-Spritzgießen von Bürstenkörpern
US5107590A (en) * 1991-03-26 1992-04-28 Warner-Lambert Company Razor handle
GB9106860D0 (en) * 1991-04-02 1991-05-22 Gillette Co Safety razor
US5403534A (en) * 1991-09-26 1995-04-04 Tritec International Corporation Disposable razor
DE69233729T2 (de) * 1991-11-27 2009-03-12 The Gillette Co., Boston Rasierapparate
GB9125262D0 (en) * 1991-11-27 1992-01-29 Gillette Co Razor with blade protection means
US5440808A (en) * 1992-01-30 1995-08-15 Warner-Lambert Company Disposable shaped article
GB9208098D0 (en) * 1992-04-13 1992-05-27 Gillette Co Razor with movable cartridge
US5331740A (en) * 1992-10-08 1994-07-26 The Gillette Company Shaving system
DE9301570U1 (de) * 1993-02-05 1994-06-01 Wilkinson Sword Gmbh, 42659 Solingen Halter für Naßrasierapparate
GB9320058D0 (en) * 1993-09-29 1993-11-17 Gillette Co Savety razors
US6026577A (en) * 1993-10-15 2000-02-22 Warner-Lambert Company Disposable razor with removable razor head
US5347717A (en) * 1993-11-05 1994-09-20 Ts Ai Tse Jen Chuck assembly for a disposable razor
US5469621A (en) * 1994-01-27 1995-11-28 Alsept; Mark A. Sefety razors with a reduced sized head and blades
US5454164A (en) 1994-03-17 1995-10-03 The Gillette Company Wet shaving system with a lubricating device
US5497551A (en) * 1994-10-13 1996-03-12 The Gillette Company Razor handle assembly
AU6702196A (en) * 1995-07-31 1997-02-26 Alcatel Standard Electrica S.A. Output power control in burst transmitters
WO1997009155A1 (en) * 1995-09-01 1997-03-13 Warner-Lambert Company Multiple piece handle for disposable razor
US5787586A (en) * 1996-04-10 1998-08-04 The Gillette Company Shaving system and method
US5687485A (en) * 1996-05-15 1997-11-18 The Gillette Company Razor handle

Also Published As

Publication number Publication date
PT1226904E (pt) 2003-11-28
JP2008055184A (ja) 2008-03-13
PT894040E (pt) 2001-09-28
US5813293A (en) 1998-09-29
JP4166279B2 (ja) 2008-10-15
JP4629077B2 (ja) 2011-02-09
ATE243607T1 (de) 2003-07-15
EP0894040B1 (en) 2001-05-30
ZA972946B (en) 1997-11-03
EP1226904A1 (en) 2002-07-31
EP1226906B8 (en) 2008-08-13
EP1226906A1 (en) 2002-07-31
HU0303232D0 (en) 2003-12-29
PL185191B1 (pl) 2003-03-31
UA63904C2 (en) 2004-02-16
US5822869A (en) 1998-10-20
MY137414A (en) 2009-01-30
CA2250004A1 (en) 1997-10-16
DE69705042D1 (de) 2001-07-05
HU0303231D0 (en) 2003-12-29
CZ305698A3 (cs) 1999-04-14
JP2008043784A (ja) 2008-02-28
AR006556A1 (es) 1999-09-08
BR9708631A (pt) 1999-08-03
NO20052405L (no) 1998-12-10
DK1226904T3 (da) 2003-08-18
DE69735246D1 (de) 2006-04-20
MY138225A (en) 2009-05-29
DE69719575D1 (de) 2003-04-10
CA2429132A1 (en) 1997-10-16
KR100538755B1 (ko) 2005-12-23
DE29723516U1 (de) 1998-09-24
HK1032559A1 (en) 2001-07-27
IL148538A0 (en) 2002-09-12
US5855071A (en) 1999-01-05
EP1053837A3 (en) 2001-05-16
EP1226904B2 (en) 2009-04-15
EP1407862A1 (en) 2004-04-14
HK1048087B (en) 2004-09-10
EP1226906B2 (en) 2008-04-02
HK1048279B (en) 2003-11-07
HUP9902787A2 (hu) 1999-12-28
RU2263024C2 (ru) 2005-10-27
US5918369A (en) 1999-07-06
RS20070199A (sr) 2008-08-07
TW375561B (en) 1999-12-01
IL148538A (en) 2009-05-04
DE69735246T2 (de) 2006-11-09
DE69725028T2 (de) 2004-06-09
DK1053839T3 (da) 2003-05-26
JP2000508204A (ja) 2000-07-04
ATE232154T1 (de) 2003-02-15
ATE249910T1 (de) 2003-10-15
HK1015729A1 (en) 1999-10-22
KR20050090489A (ko) 2005-09-13
CA2250004C (en) 2003-09-16
CN1216019A (zh) 1999-05-05
ES2218478T3 (es) 2004-11-16
TR200002199T2 (tr) 2001-04-20
WO1997037819A2 (en) 1997-10-16
DK1226906T3 (da) 2004-07-26
US6029354A (en) 2000-02-29
DE69718950D1 (de) 2003-03-13
ES2218478T5 (es) 2008-07-01
HK1048278B (en) 2004-01-21
CO4700321A1 (es) 1998-12-29
RO121331B1 (ro) 2007-03-30
DE69723121T2 (de) 2004-04-08
ATE201627T1 (de) 2001-06-15
TR200002198T2 (tr) 2002-06-21
PL329312A1 (en) 1999-03-15
TR199802024T2 (xx) 1999-01-18
ATE233641T1 (de) 2003-03-15
DE69718950T2 (de) 2003-11-13
PT1053837E (pt) 2003-07-31
EP1053839A3 (en) 2001-05-16
NO20052407D0 (no) 2005-05-13
CZ298628B6 (cs) 2007-11-28
RS20070198A (sr) 2008-08-07
IL148537A (en) 2008-03-20
ES2188465T3 (es) 2003-07-01
CA2429132C (en) 2004-03-30
EP1053837A2 (en) 2000-11-22
EP1053839B1 (en) 2003-02-05
DE69725028D1 (de) 2003-10-23
EP1226905A1 (en) 2002-07-31
ES2255689T3 (es) 2006-07-01
MY125601A (en) 2006-08-30
DK1226905T3 (da) 2004-01-26
IL148537A0 (en) 2002-09-12
HK1048279A1 (en) 2003-03-28
ES2202293T3 (es) 2004-04-01
ATE317747T1 (de) 2006-03-15
SK286638B6 (sk) 2009-02-05
KR100538753B1 (ko) 2005-12-23
RU2002122569A (ru) 2004-03-20
HU223283B1 (hu) 2004-05-28
CA2429129A1 (en) 1997-10-16
KR100488394B1 (ko) 2005-05-11
HK1048278A1 (en) 2003-03-28
ID16583A (id) 1997-10-16
NZ332200A (en) 2000-06-23
EP1053839A2 (en) 2000-11-22
US5787586A (en) 1998-08-04
NO984649D0 (no) 1998-10-05
DK1053837T3 (da) 2003-06-02
DE29723430U1 (de) 1998-08-20
RU2263022C2 (ru) 2005-10-27
RS49825B (sr) 2008-08-07
SK138298A3 (en) 1999-04-13
CA2429129C (en) 2004-08-24
WO1997037819A3 (en) 1998-03-05
RU2002122571A (ru) 2004-03-20
AU734685B2 (en) 2001-06-21
PT1053839E (pt) 2003-06-30
ES2195991T3 (es) 2003-12-16
NO20052405D0 (no) 2005-05-13
DE69719575T2 (de) 2003-12-11
EG22076A (en) 2002-07-31
HK1048087A1 (en) 2003-03-21
JP4629078B2 (ja) 2011-02-09
JP2008043783A (ja) 2008-02-28
GR3036054T3 (en) 2001-09-28
YU20050512A (sh) 2006-08-17
RS49824B (sr) 2008-08-07
RS20070200A (sr) 2008-08-07
HK1032558A1 (en) 2001-07-27
DE69723121T3 (de) 2009-10-29
DE29723518U1 (de) 1998-09-17
DE69728456T3 (de) 2008-10-02
NZ504330A (en) 2000-10-27
CN1101746C (zh) 2003-02-19
EP1226906B1 (en) 2004-03-31
HUP9902787A3 (en) 2000-07-28
CA2429125A1 (en) 1997-10-16
DE69705042T2 (de) 2001-11-15
YU20050511A (sh) 2006-08-17
HU223176B1 (hu) 2004-03-29
ES2187415T3 (es) 2003-06-16
NO20052407L (no) 1998-12-10
JP2004313801A (ja) 2004-11-11
CZ299725B6 (cs) 2008-11-05
EP1226904B1 (en) 2003-06-25
DE69723121D1 (de) 2003-07-31
EP1407862B1 (en) 2006-02-15
AU2443097A (en) 1997-10-29
RS49547B (sr) 2007-02-05
SK286637B6 (sk) 2009-02-05
KR20050090488A (ko) 2005-09-13
DK1226904T4 (da) 2009-06-15
YU43798A (sh) 1999-07-28
MY138229A (en) 2009-05-29
DE69728456D1 (de) 2004-05-06
RU2263023C2 (ru) 2005-10-27
KR100538754B1 (ko) 2005-12-23
DE69728456T2 (de) 2004-08-26
NO984649L (no) 1998-12-10
RU2002122570A (ru) 2004-03-20
IL126354A (en) 2002-07-25
PT1226906E (pt) 2004-08-31
KR20050004920A (ko) 2005-01-12
SK286636B6 (sk) 2009-02-05
DK1226906T4 (da) 2008-07-21
EP1053837B1 (en) 2003-03-05
CA2429125C (en) 2004-08-24
EP0894040A2 (en) 1999-02-03
PT1226905E (pt) 2004-02-27
ES2157570T3 (es) 2001-08-16
DK0894040T3 (da) 2001-07-16
IL126354A0 (en) 1999-05-09
CZ297018B6 (cs) 2006-08-16
ATE263004T1 (de) 2004-04-15
EP1226905B1 (en) 2003-09-17
NO323067B1 (no) 2006-12-27
MY137883A (en) 2009-03-31
KR20050004919A (ko) 2005-01-12
HU223282B1 (hu) 2004-05-28
RU2214903C2 (ru) 2003-10-27
ES2195991T5 (es) 2009-07-06

Similar Documents

Publication Publication Date Title
JP5000445B2 (ja) シェービング装置および方法
KR100479388B1 (ko) 교환형면도기면도날카트리지와그제조방법
HK1032559B (en) Shaving system and method
HK1064984A (en) Shaving system and method
HK1015729B (en) Shaving system and method

Legal Events

Date Code Title Description
A977 Report on retrieval

Free format text: JAPANESE INTERMEDIATE CODE: A971007

Effective date: 20100702

A131 Notification of reasons for refusal

Free format text: JAPANESE INTERMEDIATE CODE: A131

Effective date: 20100706

A601 Written request for extension of time

Free format text: JAPANESE INTERMEDIATE CODE: A601

Effective date: 20101006

A602 Written permission of extension of time

Free format text: JAPANESE INTERMEDIATE CODE: A602

Effective date: 20101012

A521 Request for written amendment filed

Free format text: JAPANESE INTERMEDIATE CODE: A523

Effective date: 20101130

A131 Notification of reasons for refusal

Free format text: JAPANESE INTERMEDIATE CODE: A131

Effective date: 20110524

A601 Written request for extension of time

Free format text: JAPANESE INTERMEDIATE CODE: A601

Effective date: 20110817

A602 Written permission of extension of time

Free format text: JAPANESE INTERMEDIATE CODE: A602

Effective date: 20110822

A521 Request for written amendment filed

Free format text: JAPANESE INTERMEDIATE CODE: A523

Effective date: 20111024

TRDD Decision of grant or rejection written
A01 Written decision to grant a patent or to grant a registration (utility model)

Free format text: JAPANESE INTERMEDIATE CODE: A01

Effective date: 20120420

A01 Written decision to grant a patent or to grant a registration (utility model)

Free format text: JAPANESE INTERMEDIATE CODE: A01

A61 First payment of annual fees (during grant procedure)

Free format text: JAPANESE INTERMEDIATE CODE: A61

Effective date: 20120516

R150 Certificate of patent or registration of utility model

Free format text: JAPANESE INTERMEDIATE CODE: R150

FPAY Renewal fee payment (event date is renewal date of database)

Free format text: PAYMENT UNTIL: 20150525

Year of fee payment: 3

R250 Receipt of annual fees

Free format text: JAPANESE INTERMEDIATE CODE: R250

R250 Receipt of annual fees

Free format text: JAPANESE INTERMEDIATE CODE: R250

EXPY Cancellation because of completion of term