JP5000409B2 - インク供給システム - Google Patents

インク供給システム Download PDF

Info

Publication number
JP5000409B2
JP5000409B2 JP2007194207A JP2007194207A JP5000409B2 JP 5000409 B2 JP5000409 B2 JP 5000409B2 JP 2007194207 A JP2007194207 A JP 2007194207A JP 2007194207 A JP2007194207 A JP 2007194207A JP 5000409 B2 JP5000409 B2 JP 5000409B2
Authority
JP
Japan
Prior art keywords
ink
ink supply
filter
supply system
adapter
Prior art date
Legal status (The legal status is an assumption and is not a legal conclusion. Google has not performed a legal analysis and makes no representation as to the accuracy of the status listed.)
Active
Application number
JP2007194207A
Other languages
English (en)
Other versions
JP2009028979A (ja
Inventor
壽一 古川
Current Assignee (The listed assignees may be inaccurate. Google has not performed a legal analysis and makes no representation or warranty as to the accuracy of the list.)
Ricoh Co Ltd
Original Assignee
Ricoh Co Ltd
Priority date (The priority date is an assumption and is not a legal conclusion. Google has not performed a legal analysis and makes no representation as to the accuracy of the date listed.)
Filing date
Publication date
Application filed by Ricoh Co Ltd filed Critical Ricoh Co Ltd
Priority to JP2007194207A priority Critical patent/JP5000409B2/ja
Priority to US12/174,250 priority patent/US20090027469A1/en
Publication of JP2009028979A publication Critical patent/JP2009028979A/ja
Application granted granted Critical
Publication of JP5000409B2 publication Critical patent/JP5000409B2/ja
Active legal-status Critical Current
Anticipated expiration legal-status Critical

Links

Images

Classifications

    • BPERFORMING OPERATIONS; TRANSPORTING
    • B41PRINTING; LINING MACHINES; TYPEWRITERS; STAMPS
    • B41JTYPEWRITERS; SELECTIVE PRINTING MECHANISMS, i.e. MECHANISMS PRINTING OTHERWISE THAN FROM A FORME; CORRECTION OF TYPOGRAPHICAL ERRORS
    • B41J2/00Typewriters or selective printing mechanisms characterised by the printing or marking process for which they are designed
    • B41J2/005Typewriters or selective printing mechanisms characterised by the printing or marking process for which they are designed characterised by bringing liquid or particles selectively into contact with a printing material
    • B41J2/01Ink jet
    • B41J2/17Ink jet characterised by ink handling
    • B41J2/175Ink supply systems ; Circuit parts therefor
    • B41J2/17563Ink filters

Landscapes

  • Ink Jet (AREA)

Description

本発明はインク供給システムに関し、特に画像形成装置本体のインクカートリッジ装着部に装着されるアダプタを介してインクを供給するインク供給システムに関する。
プリンタ、ファクシミリ、複写装置、これらの複合機等の画像形成装置として、例えば、液体の液滴を吐出する液体吐出ヘッドで構成した記録ヘッドを含む液体吐出装置を用いて、媒体(以下「用紙」ともいうが材質を限定するものではなく、また、被記録媒体、記録媒体、転写材、記録紙なども同義で使用する。)を搬送しながら、液体を用紙に付着させて画像形成(記録、印刷、印写、印字も同義語で用いる。)を行うものがある。
なお、本発明においては、画像形成装置は、紙、糸、繊維、布帛、皮革、金属、プラスチック、ガラス、木材、セラミックス等の媒体に液体を吐出して画像形成を行う装置を意味し、また、「画像形成」とは、文字や図形等の意味を持つ画像を媒体に対して付与することだけでなく、パターン等の意味を持たない画像を媒体に付与することをも意味する。また、「インク」とは、厳密な意味でのインクに限るものではなく、上記の意味での画像形成を行うことができる液体の総称として用いる。
このような画像形成装置(以下、単に「インクジェット記録装置」ともいう。)においては、インクを記録ヘッドに供給するためにインクカートリッジがよく用いられている。こうしたインクカートリッジは、記録ヘッドと共にキャリッジに搭載されたり、あるいは専用のインクカートリッジ装着部に着脱自在に装着され供給チューブを介して記録ヘッド側のサブタンクへインクを供給することができるようにされている。
この場合、装置本体にインクカートリッジを収納するため、インクカートリッジ内に設けられたインク収容部は概して容量が小さく、インクを大量に消費することを目的としたユーザーは頻繁にカートリッジ交換の手間が課せられていることになる。
そこで、例えば特許文献1に記載されているように、画像形成装置本体外に大容量のインク貯蔵部を設け、このインク貯蔵部と装置本体内のインク収容部に固定したアダプタとの間をチューブで接続して、装置本体にインクを供給するインク供給システムが知られている。
特開平7−117235号公報
一方、インクジェット記録装置において、記録ヘッドに供給するインク中にゴミなどの異物が混入するとノズル詰まりを生じて吐出不良を生じるため、記録ヘッドへのインク供給路中にフィルタを介装して異物を除去するようにしている。
この場合、装置本体に備えられるフィルタは一般的には固定式であるが、特許文献2、3に記載されているように装置本体へのインク導入部をフィルタユニットとして、このフィルタユニットを交換可能とすることも知られている。
特許第3230424号公報 特許第3201053号公報
その他、次のような文献もある。
特開平4−212864号公報 特開平1−133747号公報 特開2004−203019号公報
しかしながら、上記特許文献1に記載されているインク供給システムにあっては、装置本体に備えられたフィルタを利用してインク内に含有するゴミや粗大粒子などの異物をフィルタリングしているが、装置本体のフィルタによってインク供給に支障無く取り除ける異物の量は有限であるため、インクの使用可能な量にはおのずと限界がある。
そこで、特許文献2、3に記載のされているように装置本体側のフィルタを交換可能にすることが考えられるものの、装置本体のインク導入部はカートリッジを押し嵌めることを前提として構成されているため、カートリッジを挿入する細く狭いスリットの奥深くにあり、指などを差し込んでフィルタを交換することは容易ではない。
本発明は上記の課題に鑑みてなされたものであり、インク貯蔵部を備えるインク供給システムを長期に亘って使用できるようにすることを目的とする。
上記の課題を解決するため、本発明に係るインク供給システムは、
インクを貯留するインク貯蔵部と、
画像形成装置本体のインクカートリッジが着脱自在に装着されるカートリッジ装着部に着脱自在に装着され、前記画像形成装置本体との接続部を有するアダプタと、
前記インク貯蔵部と前記アダプタの接続部とを接続し、インク供給経路を形成する供給チューブと、
前記インク貯蔵部から前記アダプタの接続部までのインク供給経路に設けられたフィルタと、を備え、
前記フィルタは交換可能に設けられ
前記インク貯蔵部から前記アダプタの接続部までのインク供給経路中であって、前記フィルタよりインク供給経路の下流側に前記インク供給経路を大気に開放する大気開放弁が設けられている
構成とした。
本発明に係るインク供給システムによれば、フィルタを交換することによって長期に亘って使用することができる。
以下、本発明の実施の形態について添付図面を参照して説明する。まず、本発明に係るインク供給システムによってインクを供給する画像形成装置の一例について図1及び図2を参照して説明する。なお、図1は同画像形成装置の全体構成を説明する側面説明図、図2は同装置の要部平面説明図である。
この画像形成装置はシリアル型インクジェット記録装置であり、装置本体1の左右の側板21A、21Bに横架したガイド部材である主従のガイドロッド31、32でキャリッジ33を主走査方向に摺動自在に保持し、図示しない主走査モータによってタイミングベルトを介して図2で矢示方向(キャリッジ主走査方向)に移動走査する。
このキャリッジ33には、イエロー(Y)、シアン(C)、マゼンタ(M)、ブラック(K)の各色のインク滴を吐出するための記録ヘッド34a、34b(区別しないときは「記録ヘッド34」という。)を複数のノズルからなるノズル列を主走査方向と直交する副走査方向に配列し、インク滴吐出方向を下方に向けて装着している。
記録ヘッド34は、それぞれ2つのノズル列を有し、記録ヘッド34aの一方のノズル列はブラック(K)の液滴を、他方のノズル列はシアン(C)の液滴を、記録ヘッド34bの一方のノズル列はマゼンタ(M)の液滴を、他方のノズル列はイエロー(Y)の液滴を、それぞれ吐出する。
また、キャリッジ33には、記録ヘッド34のノズル列に対応して各色のインクを供給するための第2インク供給部であるサブタンク35a、35b(区別しないときは「サブタンク35」という。)を搭載している。このサブタンク35には、カートリッジ装填部4に着脱自在に装着される各色の第1インク供給部であるインクカートリッジ10y、10m、10c、10kから、供給ポンプユニット5によって各色の供給チューブ36を介して、各色の記録液が補充供給される。
一方、給紙トレイ2の用紙積載部(圧板)41上に積載した用紙42を給紙するための給紙部として、用紙積載部41から用紙42を1枚ずつ分離給送する半月コロ(給紙コロ)43及び給紙コロ43に対向し、摩擦係数の大きな材質からなる分離パッド44を備え、この分離パッド44は給紙コロ43側に付勢されている。
そして、この給紙部から給紙された用紙42を記録ヘッド34の下方側に送り込むために、用紙42を案内するガイド部材45と、カウンタローラ46と、搬送ガイド部材47と、先端加圧コロ49を有する押さえ部材48とを備えるとともに、給送された用紙42を静電吸着して記録ヘッド34に対向する位置で搬送するための搬送手段である搬送ベルト51を備えている。
この搬送ベルト51は、無端状ベルトであり、搬送ローラ52とテンションローラ53との間に掛け渡されて、ベルト搬送方向(副走査方向)に周回するように構成している。また、この搬送ベルト51の表面を帯電させるための帯電手段である帯電ローラ56を備えている。この帯電ローラ56は、搬送ベルト51の表層に接触し、搬送ベルト51の回動に従動して回転するように配置されている。この搬送ベルト51は、図示しない副走査モータによってタイミングを介して搬送ローラ52が回転駆動されることによって図2のベルト搬送方向に周回移動する。
さらに、記録ヘッド34で記録された用紙42を排紙するための排紙部として、搬送ベルト51から用紙42を分離するための分離爪61と、排紙ローラ62及び排紙コロである拍車63とを備え、排紙ローラ62の下方に排紙トレイ3を備えている。
また、装置本体1の背面部には両面ユニット71が着脱自在に装着されている。この両面ユニット71は搬送ベルト51の逆方向回転で戻される用紙42を取り込んで反転させて再度カウンタローラ46と搬送ベルト51との間に給紙する。また、この両面ユニット71の上面は手差しトレイ72としている。
さらに、図2に示すように、キャリッジ33の走査方向一方側の非印字領域には、記録ヘッド34のノズルの状態を維持し、回復するための維持回復機構81を配置している。この維持回復機構81には、記録ヘッド34の各ノズル面をキャピングするための各キャップ部材(以下「キャップ」という。)82a、82b(区別しないときは「キャップ82」という。)と、ノズル面をワイピングするためのワイパ部材(ワイパブレード)83と、増粘した記録液を排出するために記録に寄与しない液滴を吐出させる空吐出を行うときの液滴を受ける空吐出受け84と、この空吐出受け84に一体形成され、ワイパブレード83に付着したインクを除去するための清掃部材であるワイパクリーナ部85と、ワイパブレード83のクリーニング時にワイパブレード83をワイパクリーナ85側に押し付けるワイパクリーナ86と、キャリッジ22をロックするキャリッジロック87などとを備えている。また、このヘッドの維持回復機構81の下方側には維持回復動作によって生じる廃液を収容するための廃液タンク100が装置本体に対して交換可能に装着される。
また、図2に示すように、キャリッジ33の走査方向他方側の非印字領域には、記録中などに増粘した記録液を排出するために記録に寄与しない液滴を吐出させる空吐出を行うときの液滴を受ける空吐出受け88を配置し、この空吐出受け88には記録ヘッド34のノズル列方向に沿った開口部89などを備えている。
このように構成したこの画像形成装置においては、給紙トレイ2から用紙42が1枚ずつ分離給紙され、略鉛直上方に給紙された用紙42はガイド45で案内され、搬送ベルト51とカウンタローラ46との間に挟まれて搬送され、更に先端を搬送ガイド37で案内されて先端加圧コロ49で搬送ベルト51に押し付けられ、略90°搬送方向を転換される。
このとき、帯電ローラ56に対してプラス出力とマイナス出力とが交互に繰り返すように、つまり交番する電圧が印加され、搬送ベルト51が交番する帯電電圧パターン、すなわち、周回方向である副走査方向に、プラスとマイナスが所定の幅で帯状に交互に帯電されたものとなる。このプラス、マイナス交互に帯電した搬送ベルト51上に用紙42が給送されると、用紙42が搬送ベルト51に吸着され、搬送ベルト51の周回移動によって用紙42が副走査方向に搬送される。
そこで、キャリッジ33を移動させながら画像信号に応じて記録ヘッド34を駆動することにより、停止している用紙42にインク滴を吐出して1行分を記録し、用紙42を所定量搬送後、次の行の記録を行う。記録終了信号又は用紙42の後端が記録領域に到達した信号を受けることにより、記録動作を終了して、用紙42を排紙トレイ3に排紙する。
そして、記録ヘッド34のノズルの維持回復を行うときには、キャリッジ33をホーム位置である維持回復機構81に対向する位置に移動して、キャップ部材82によるキャッピングを行ってノズルからの吸引を行うノズル吸引、画像形成に寄与しない液滴を吐出する空吐出などの維持回復動作を行うことにより、安定した液滴吐出による画像形成を行うことができる。
次に、インクカートリッジ10の一例について図3及び図4をも参照して説明する。
このインクカートリッジ10は、カートリッジケース(筺体)102内にインクを収容した記録液収容手段であるインク袋103を収納したものである。このカートリッジケース102は、分解及び組立て可能に2分割された第1ケース(ベース)121と第2ケース(ケース)122とで構成されている。
そして、カートリッジケース102には内部に収納したインク袋103のインク供給口部131に対応して開口部123を形成している。
このインクカートリッジ10をカートリッジ装填部4に装着したときに、カートリッジ装着部4の奥側に設けた中空針がインク袋103の供給口部131内に刺通されて、インク袋103内部と供給ポンプユニット24とが連通状態となり、インク袋103内のインクを装置本体1側に供給可能になる。
また、このインクカートリッジ10の前面側上部には、EEPROMなどからなる書替え可能な記憶素子(記憶手段)である不揮発性メモリ130を設けている。この不揮発性メモリ130には、インクカートリッジ10に関する情報、例えば、インク色、インク種、使用期限、ID番号、純正情報、再充填回数、インク残量などに関する固有の情報を記憶されるとともに、バージョン情報(Ver情報)や画像形成装置本体側の制御プログラムの更新プログラムなどが記憶される。
そして、このインクカートリッジ10をカートリッジ装填部4に装着することで、装置本体側の電極と電気的に接続されて、不揮発性メモリ130に記憶されている情報が装置本体側に読み出し可能となり、また、装置本体側から不揮発性メモリ130に対する書き込みが可能となる。
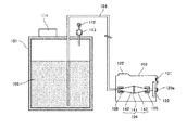
次に、本発明に係るインク供給システムの第1実施形態について図5及び図6を参照して説明する。なお、図5は同実施形態の全体構成を示す模式的説明図、図6は同じくフィルタユニット部分の拡大説明図である。
インク100を貯留するインク貯蔵部101と、前記インクジェット記録装置本体のインクカートリッジ10が着脱自在に装着されるカートリッジ装着部4に着脱自在に装着される、記録装置本体との接続部120を有するアダプタ102と、インク貯蔵部101とアダプタ102の接続部120を接続するインク供給経路を形成する供給チューブ103と、インク貯蔵部101からアダプタ102の接続部120までのインク供給経路に設けられたフィルタユニット104とを備えている。
インク貯蔵部101には、内部にインク100を注入するため開口部を覆う蓋111と、内部を大気に開放する大気開放弁112と、内部の空気を強制排出するための空気ポンプ113とを備えている。
アダプタ102には、記録装置本体のカートリッジ装着部4の奥側に設けた中空針が刺通される弾性部材120aを含む接続部120とともに、IC121、識別リブ122などが設けられる。このアダプタ102の内部を中空としている。このアダプタ102には、前述した記録装置本体側が設けているインク供給ユニットの識別機能をパスする機能が設けられており、具体的にはインク色の識別のための突起(上記識別リブ)や適宜、情報の書き込みや読み出しが可能な情報記録媒体(上記IC121)などを備えている。
フィルタユニット104は、インク貯蔵部101とアダプタ102との間のインク供給経路を形成する供給チューブ103の途中に設けられている。このフィルタユニット104は、図6に示すように、フィルタ141と、このフィルタ141の両側に設けたホーン形状の導入路部142、142とを一体化して構成されている。そして、このフィルタユニット104は、供給チューブ103を接続したジョイント105、105間に導入路部142、142をそれぞれO−リング105a、105aを介して連結することで、供給チューブ103接続されている。
なお、インク貯蔵部101には適宜インク残量を検知する残量検知センサが備えられていてもよい。また、目視でインク貯蔵部101内のインク残量がわかるよう、インク貯蔵部101は光を透過する部材で一部ないし全体が形成されていてもよい。また、アダプタ102の接続部120に供給チューブ103を直接接続しているが、アダプタ102内に供給チューブ103が接続されてインク貯蔵部101からインクが供給されるインク収容手段を設け、このインク収容手段に接続部120を設ける構成とすることもできる。
このように構成したインク供給システムにおいては、インクジェット記録装置本体のカートリッジ装着部4内にインクカートリッジ10に代えてアダプタ102を装着した状態で、インク貯蔵部101から供給チューブ103、フィルタユニット104を介してアダプタ102の接続部120にインクが供給され、接続部120に刺し通された図示しない中空針を介してインクジェット記録装置本体側にインクが供給される。
このときフィルタユニット104のフィルタ141によってインク貯蔵部101から供給される異物が除去される。フィルタ141を交換する場合には、ジョイント105に設けられたO−リング105aに差し込まれたフィルタユニット104の導入路部142をジョイント105から引き抜いて、新たなフィルタユニット141をジョイント105のO−リング105aに差し込むことで交換することができる。
また、初期充填時やフィルタ141の交換を行った後で、インク供給路に進入した気泡を排出する必要がある。この場合、大気開放弁112を開放状態にして、空気ポンプ113でインク貯蔵部101内に空気を送り込み、その圧力でインク100を押し出して、気泡をインク100ごと排出する。また、図7に示すように、アダプタ102の接続部120から注射器200等でインク100ごと気泡を吸い出すようにしてもよい。
これに対して、例えば、図20に示す比較例のインク供給システムのように、アダプタ502の記録装置本体への供給口部(接続部)520にフィルタ541を固定して設けた構成では、フィルタ541の交換にはアダプタ520ごと交換する必要があり不経済である。
このように、インクを貯留するインク貯蔵部と、画像形成装置本体のインクカートリッジが着脱自在に装着されるカートリッジ装着部に着脱自在に装着され、画像形成装置本体との接続部を有するアダプタと、インク貯蔵部とアダプタの接続部とを接続し、インク供給経路を形成する供給チューブと、インク貯蔵部からアダプタの接続部までのインク供給経路に設けられたフィルタと、を備え、フィルタは交換可能に設けられていることで、フィルタを交換することによってインクを継ぎ足しながら長期に亘って使用することができる。
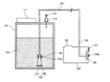
次に、本発明に係るインク供給システムの第2実施形態について図8及び図9を参照して説明する。なお、図8は同実施形態の全体構成を示す模式的説明図、図9は同じくフィルタユニット部分の拡大説明図である。
ここでは、交換可能なフィルタユニット141をインク供給経路のインク貯蔵部101側の末端に設けている。この実施形態では、図9にも示すように、フィルタユニット141とのジョイント部105は一つでよく、記録装置本体との接続部120が閉じているためジョイント部105からインクが漏れ出す量も極僅かでインク供給経路に気泡が入り難くなる。
また、インク貯蔵部101に設けられた蓋111に対応する開口部は容易にフィルタユニット104ごと外に取り出せるよう前記第1実施形態より大きくしている、つまり、フィルタユニット141を取り出し可能な開口部としているので、容易にフィルタ141の交換が可能である。なお、フィルタ交換時の気泡の排出方法は前記第1実施形態と同様にして行うことができる。
次に、本発明に係るインク供給システムの第3実施形態について図10を参照して説明する。なお、図10は同実施形態の全体構成を示す模式的説明図である。
ここでは、アダプタ102内にフィルタユニット104を設けている。フィルタユニット104と接続部120をアダプタ102内に集約することで、構成が簡単になる。
また、インク供給システムのインク供給経路(供給チューブ)の下流側にあたる記録装置本体との接続部120の直前にフィルタユニット141を配置することで、インク供給経路(供給チューブ103)内から発生する異物もフィルタリングできるようになる。なお、フィルタ交換時の気泡の排出方法は前記第1実施形態と同様にして行うことができる。
次に、本発明に係るインク供給システムの第4実施形態について図11を参照して説明する。なお、図11は同実施形態の全体構成を示す模式的説明図である。
ここでは、上記第1実施形態において、フィルタユニット104の前後(上流側及び下流側)にインク供給経路(供給チューブ103)を開閉可能な弁151、152をそれぞれ設けている。弁151、152を設けることで、フィルタユニット104のフィルタ141を交換するときには、弁151、151を閉じることで物理的にインクの漏れ出し、インク供給経路への気泡の入り込みを防止することができる。
次に、本発明に係るインク供給システムの第5実施形態について図12を参照して説明する。なお、図12は同実施形態の全体構成を示す模式的説明図である。
ここでは、上記第2実施形態において、フィルタユニット104の後(下流側)にインク供給経路(供給チューブ103)を開閉可能な弁152を設けている。弁152を設けることで、フィルタユニット104のフィルタ141を交換するときには、弁152を閉じることで物理的にインクの漏れ出し、インク供給経路への気泡の入り込みを防止することができる。さらに、上記第4実施形態と比べて、弁は一つで済み、第2実施形態と比べてもインクの漏れ出しはさらに少なくなる。
次に、本発明に係るインク供給システムの第6実施形態について図13を参照して説明する。なお、図13は同実施形態の全体構成を示す模式的説明図である。
ここでは、上記第3実施形態において、アダプタ102内のフィルタユニット104の前(上流側)にインク供給経路(供給チューブ103)を開閉可能な弁151を設けている。弁151を設けることで、フィルタユニット104のフィルタ141を交換するときには、弁151を閉じることで物理的にインクの漏れ出し、インク供給経路への気泡の入り込みを防止することができる。さらに、上記第3実施形態と比べてもインクの漏れ出し、インク供給経路への気泡の入り込みをより確実に防止することができる。
次に、本発明に係るインク供給システムの第7実施形態について図14を参照して説明する。なお、図14は同実施形態の全体構成を示す模式的説明図である。
ここでは、前記第1実施形態におけるインク貯蔵部101に代えて、可撓性を有するインク袋201を設けている。前記第1実施形態と比べてインク貯蔵部を低コストで構成できる。また、フィルタ交換時の気泡の排出方法は前記第1実施形態で説明したと同様に、注射器でインクごと排出する方法のほか、インク貯蔵部(インク袋201)自体が可撓性を有しているので、インク袋201を押圧してインクごと気泡を排出することを容易に行える。
次に、本発明に係るインク供給システムの第8実施形態について図15を参照して説明する。なお、図15は同実施形態の全体構成を示す模式的説明図である。
ここでは、前記第2実施形態において、インク供給経路(供給チューブ103)の途中に、インク供給経路を大気に開放する大気開放路161と、この大気開放路161を開閉する開閉弁(大気開放弁)162とからなる気泡排出ユニット160を設けている。これにより、フィルタ141の交換などでインク供給経路内へ侵入した気泡を大気開放路161に誘導して大気開放弁162を介して排出することができる。
このとき、フィルタ141よりインク供給経路の上流側にあるインクは圧力を加えることでフィルタ141を通過可能だが、フィルタ141より下流側の気泡はフィルタ141を圧力をかけることなしに越えられないため、気泡排出ユニット160はフィルタユニット104よりインク供給経路の下流側に設けている。
次に、本発明に係るインク供給システムの第9実施形態について図16及び図17を参照して説明する。なお、図16は同実施形態の全体構成を示す模式的説明図、図17はフィルタユニット部分の拡大説明図である。
ここでは、前記第1実施形態におけるフィルタユニット104に代えて、図17に示すフィルタユニット204を設けている。このフィルタユニット204は、供給チューブ103を接続したジョイント205、205間にO−リング205a、205aを介してフィルタ141を挟み持ち、ジョイント205、205を係合部材206で結合して構成されている。係合部材206と各ジョイント205は凹凸嵌合で連結されており、O−エネルギー印具205aの復元力によって強固に連結されている。
このように構成したので、フィルタ141を交換するときにはフィルタユニット204のジョイント205を連結する係合部材206を取り外すことで分解できるので、フィルタ141のみを単独で交換することができ、低コスト化を図れる。
次に、本発明に係るインク供給システムの第10実施形態について図18及び図19を参照して説明する。なお、図18は同実施形態の全体構成を示す模式的説明図、図19はフィルタユニット部分の拡大説明図である
ここでは、前記第2実施形態におけるフィルタユニット104に代えて、図19に示すフィルタユニット204を設けている。このフィルタユニット204は、前記第9実施形態のフィルタユニット204の一方のジョイント205に供給チューブ103を接続していない点で異なるのみである。
なお、これらの第9、第10実施形態における気泡排出方法は前述した第1ないし第8実施形態と同様であり、また、第3ないし第8実施形態のフィルタユニット104に代えてフィルタユニット204を適用することもできる。
本発明に係るインク供給システムでインクが供給される画像形成装置の一例を示す全体構成説明図である。 同じく要部平面説明図である。 同じくインクカートリッジの一例を示す斜視説明図である。 同じくインクカートリッジの側面説明図である。 本発明に係るインク供給システムの第1実施形態の全体構成を示す模式的説明図である。 同じくフィルタユニット部分の拡大説明図である。 同じく気泡排出方法の一例の説明に供する模式的説明図である。 本発明に係るインク供給システムの第2実施形態の全体構成を示す模式的説明図である。 同じくフィルタユニット部分の拡大説明図である。 本発明に係るインク供給システムの第3実施形態の全体構成を示す模式的説明図である。 本発明に係るインク供給システムの第4実施形態の全体構成を示す模式的説明図である。 本発明に係るインク供給システムの第5実施形態の全体構成を示す模式的説明図である。 本発明に係るインク供給システムの第6実施形態の全体構成を示す模式的説明図である。 本発明に係るインク供給システムの第7実施形態の全体構成を示す模式的説明図である。 本発明に係るインク供給システムの第8実施形態の全体構成を示す模式的説明図である。 本発明に係るインク供給システムの第9実施形態の全体構成を示す模式的説明図である。 同じくフィルタユニット部分の拡大説明図である。 本発明に係るインク供給システムの第10実施形態の全体構成を示す模式的説明図である。 同じくフィルタユニット部分の拡大説明図である。 比較例に係るインク供給システムを示す模式的説明図である。
符号の説明
10…インクカートリッジ
34…記録ヘッド
35…サブタンク
100…インク
101…インク貯蔵部
102…アダプタ
103…供給チューブ(インク供給経路)
104、204…フィルタユニット
105、205…ジョイント
141…フィルタ

Claims (5)

  1. インクを貯留するインク貯蔵部と、
    画像形成装置本体のインクカートリッジが着脱自在に装着されるカートリッジ装着部に着脱自在に装着され、前記画像形成装置本体との接続部を有するアダプタと、
    前記インク貯蔵部と前記アダプタの接続部とを接続し、インク供給経路を形成する供給チューブと、
    前記インク貯蔵部から前記アダプタの接続部までのインク供給経路に設けられたフィルタと、を備え、
    前記フィルタは交換可能に設けられ
    前記インク貯蔵部から前記アダプタの接続部までのインク供給経路中であって、前記フィルタよりインク供給経路の下流側に前記インク供給経路を大気に開放する大気開放弁が設けられている
    ことを特徴とするインク供給システム。
  2. 請求項1に記載のインク供給システムにおいて、前記フィルタは前記供給チューブの前記インク貯蔵部側の末端に設けられていることを特徴とするインク供給システム。
  3. 請求項1に記載のインク供給システムにおいて、前記フィルタは前記アダプタ内に設けられていることを特徴とするインク供給システム。
  4. 請求項1ないし3のいずれかに記載のインク供給システムにおいて、前記インク貯蔵部から前記アダプタの接続部までのインク供給経路に弁が設けられていることを特徴とするインク供給システム。
  5. 請求項1ないしのいずれかに記載のインク供給システムにおいて、前記フィルタはフィルタ単独で交換可能であることを特徴とするインク供給システム。
JP2007194207A 2007-07-26 2007-07-26 インク供給システム Active JP5000409B2 (ja)

Priority Applications (2)

Application Number Priority Date Filing Date Title
JP2007194207A JP5000409B2 (ja) 2007-07-26 2007-07-26 インク供給システム
US12/174,250 US20090027469A1 (en) 2007-07-26 2008-07-16 Ink supplying system

Applications Claiming Priority (1)

Application Number Priority Date Filing Date Title
JP2007194207A JP5000409B2 (ja) 2007-07-26 2007-07-26 インク供給システム

Publications (2)

Publication Number Publication Date
JP2009028979A JP2009028979A (ja) 2009-02-12
JP5000409B2 true JP5000409B2 (ja) 2012-08-15

Family

ID=40294939

Family Applications (1)

Application Number Title Priority Date Filing Date
JP2007194207A Active JP5000409B2 (ja) 2007-07-26 2007-07-26 インク供給システム

Country Status (2)

Country Link
US (1) US20090027469A1 (ja)
JP (1) JP5000409B2 (ja)

Families Citing this family (11)

* Cited by examiner, † Cited by third party
Publication number Priority date Publication date Assignee Title
JP5445025B2 (ja) 2009-10-22 2014-03-19 株式会社リコー 画像形成装置
JP5464563B2 (ja) * 2011-07-13 2014-04-09 東芝テック株式会社 インクジェットヘッドおよびインクジェットヘッドのフィルタ装置の固定方法
JP6160074B2 (ja) * 2012-12-07 2017-07-12 セイコーエプソン株式会社 端子ユニット、インク供給ユニット及びアダプター
DE102013226158A1 (de) * 2013-12-17 2015-06-18 Robert Bosch Gmbh Adsorptionskältemaschine, Anordnung und Kraftfahrzeug
EP3152060B1 (en) * 2014-06-05 2020-07-15 Videojet Technologies Inc. A self-sealing filter module for inkjet printing
JP2016150520A (ja) * 2015-02-18 2016-08-22 セイコーエプソン株式会社 アダプター、フィルターユニット
JP6756114B2 (ja) 2016-02-09 2020-09-16 セイコーエプソン株式会社 フィルターユニット及び液体噴射装置
JP7326939B2 (ja) * 2019-07-05 2023-08-16 セイコーエプソン株式会社 液体噴射装置、液体噴射装置のメンテナンス方法
JP7615737B2 (ja) * 2021-02-16 2025-01-17 セイコーエプソン株式会社 流路ユニット及び液体吐出装置
JP2023124454A (ja) * 2022-02-25 2023-09-06 セイコーエプソン株式会社 液体吐出装置
KR102787179B1 (ko) * 2022-11-10 2025-03-26 포스코스틸리온 주식회사 잉크순환장치

Family Cites Families (16)

* Cited by examiner, † Cited by third party
Publication number Priority date Publication date Assignee Title
JPS57199664A (en) * 1981-06-01 1982-12-07 Ricoh Co Ltd Ink supplier for ink jet printer
JPS6357238A (ja) * 1986-08-28 1988-03-11 Canon Inc インクジエツトプリンタ
JPS63170234U (ja) * 1987-04-28 1988-11-07
JPS6413328U (ja) * 1987-07-03 1989-01-24
JPH04212864A (ja) * 1990-12-05 1992-08-04 Canon Inc インクジェット記録装置
JPH05116332A (ja) * 1991-10-24 1993-05-14 Mita Ind Co Ltd インクジエツトプリンター用フイルター装置
US5825387A (en) * 1995-04-27 1998-10-20 Hewlett-Packard Company Ink supply for an ink-jet printer
US6428156B1 (en) * 1999-11-02 2002-08-06 Hewlett-Packard Company Ink delivery system and method for controlling fluid pressure therein
US6511166B2 (en) * 2000-08-30 2003-01-28 Hewlett-Packard Company Long-life spring-backed fluid interconnect seal
US6644796B2 (en) * 2000-12-22 2003-11-11 Hewlett-Packard Development Company, L.P. Fluid interconnect in a replaceable ink reservoir for pigmented ink
JP3586206B2 (ja) * 2001-03-02 2004-11-10 キヤノン株式会社 インクタンク
JP4247704B2 (ja) * 2001-09-11 2009-04-02 セイコーエプソン株式会社 液滴吐出装置とその液体充填方法、およびデバイス製造装置とデバイス製造方法
JP2006142804A (ja) * 2004-10-19 2006-06-08 Ricoh Co Ltd 除去部材及び画像記録装置
JP4744243B2 (ja) * 2005-08-31 2011-08-10 富士フイルム株式会社 インクタンク、インクジェット記録装置並びにインク充填方法及び装置
US7729628B2 (en) * 2005-09-13 2010-06-01 Canon Kabushiki Kaisha Image heating apparatus including a transition temperature lower than a target low temperature
JP5186773B2 (ja) * 2006-05-25 2013-04-24 株式会社リコー 廃液タンク、液体吐出装置、画像形成装置

Also Published As

Publication number Publication date
JP2009028979A (ja) 2009-02-12
US20090027469A1 (en) 2009-01-29

Similar Documents

Publication Publication Date Title
JP5000409B2 (ja) インク供給システム
JP4841467B2 (ja) 画像形成装置
JP5995187B2 (ja) 画像形成装置
CN102039734B (zh) 液体收容容器及图像形成装置
JP5321969B2 (ja) 画像形成装置
JP2010000671A (ja) インクカートリッジ及び画像形成装置
JP5516248B2 (ja) 液体容器及び画像形成装置
JP2014100842A (ja) 画像形成装置
JP2009262492A (ja) 画像形成装置
JP5354197B2 (ja) インクカートリッジ、これを備えた画像形成装置
JP2012035526A (ja) 液体収容袋、液体カートリッジ、画像形成装置
JP4762001B2 (ja) 液滴を吐出する装置及び画像形成装置
JP5754621B2 (ja) 画像形成装置
JP5309939B2 (ja) 液体吐出装置および画像形成装置
JP4671881B2 (ja) 液体収容容器及び画像形成装置
JP2009297970A (ja) 液体収容容器、画像形成装置及び弁機構
JP4805690B2 (ja) 画像形成装置
JP2013059899A (ja) 画像形成装置
JP5228885B2 (ja) チューブポンプ及び画像形成装置
JP2007130979A (ja) 画像形成装置
JP5994309B2 (ja) 画像形成装置、液体カートリッジ
JP2012192642A (ja) 画像形成装置及びヘッドタンク
JP5332704B2 (ja) 画像形成装置
JP2009078378A (ja) 画像形成装置
JP2012245672A (ja) 液体収容容器及び画像形成装置

Legal Events

Date Code Title Description
A621 Written request for application examination

Free format text: JAPANESE INTERMEDIATE CODE: A621

Effective date: 20100222

A977 Report on retrieval

Free format text: JAPANESE INTERMEDIATE CODE: A971007

Effective date: 20111025

A131 Notification of reasons for refusal

Free format text: JAPANESE INTERMEDIATE CODE: A131

Effective date: 20111108

A521 Request for written amendment filed

Free format text: JAPANESE INTERMEDIATE CODE: A523

Effective date: 20111114

TRDD Decision of grant or rejection written
A01 Written decision to grant a patent or to grant a registration (utility model)

Free format text: JAPANESE INTERMEDIATE CODE: A01

Effective date: 20120502

A01 Written decision to grant a patent or to grant a registration (utility model)

Free format text: JAPANESE INTERMEDIATE CODE: A01

A61 First payment of annual fees (during grant procedure)

Free format text: JAPANESE INTERMEDIATE CODE: A61

Effective date: 20120516

R150 Certificate of patent or registration of utility model

Ref document number: 5000409

Country of ref document: JP

Free format text: JAPANESE INTERMEDIATE CODE: R150

Free format text: JAPANESE INTERMEDIATE CODE: R150

FPAY Renewal fee payment (event date is renewal date of database)

Free format text: PAYMENT UNTIL: 20150525

Year of fee payment: 3