JP4996507B2 - 吸収性物品 - Google Patents

吸収性物品 Download PDF

Info

Publication number
JP4996507B2
JP4996507B2 JP2008053155A JP2008053155A JP4996507B2 JP 4996507 B2 JP4996507 B2 JP 4996507B2 JP 2008053155 A JP2008053155 A JP 2008053155A JP 2008053155 A JP2008053155 A JP 2008053155A JP 4996507 B2 JP4996507 B2 JP 4996507B2
Authority
JP
Japan
Prior art keywords
dimensional gather
absorbent article
temporary fixing
sheet
end side
Prior art date
Legal status (The legal status is an assumption and is not a legal conclusion. Google has not performed a legal analysis and makes no representation as to the accuracy of the status listed.)
Expired - Fee Related
Application number
JP2008053155A
Other languages
English (en)
Other versions
JP2009207660A (ja
Inventor
勝彦 杉山
欣哉 朝井
Current Assignee (The listed assignees may be inaccurate. Google has not performed a legal analysis and makes no representation or warranty as to the accuracy of the list.)
New Oji Paper Co Ltd
Oji Nepia Co Ltd
Oji Holdings Corp
Original Assignee
Oji Nepia Co Ltd
Oji Holdings Corp
Oji Paper Co Ltd
Priority date (The priority date is an assumption and is not a legal conclusion. Google has not performed a legal analysis and makes no representation as to the accuracy of the date listed.)
Filing date
Publication date
Application filed by Oji Nepia Co Ltd, Oji Holdings Corp, Oji Paper Co Ltd filed Critical Oji Nepia Co Ltd
Priority to JP2008053155A priority Critical patent/JP4996507B2/ja
Publication of JP2009207660A publication Critical patent/JP2009207660A/ja
Application granted granted Critical
Publication of JP4996507B2 publication Critical patent/JP4996507B2/ja
Expired - Fee Related legal-status Critical Current
Anticipated expiration legal-status Critical

Links

Images

Landscapes

  • Absorbent Articles And Supports Therefor (AREA)

Description

本発明は、着用者の排泄物の横漏れを防止する目的で、吸収体の両側に配置される一対の立体ギャザーを備えた、テープ型使い捨ておむつ、パンツ型使い捨ておむつ、尿取りパッド等の吸収性物品に関するものである。
一般に、テープ型使い捨ておむつ、パンツ型使い捨ておむつ、尿取りパッド等の吸収性物品には、吸収体の両側に立体ギャザーが付設されることがある(例えば、特許文献1及び2を参照)。
例えば、図2に示す吸収性物品100Aは、吸収体22の両側に配置された一対の立体ギャザー26を備えたテープ型使い捨ておむつである。この立体ギャザー26は、その自由端E1近傍に配置される立体ギャザー伸縮材36の収縮力によって、立体的に起立可能に構成されており、着用者の排泄物が吸収体の側縁側から漏れる事態(いわゆる横漏れ)を防止する防漏壁としての効果を奏する。
また、立体ギャザーは、前記のような防漏壁として機能させる他、立体ギャザーによって形成される空間を、尿取りパッドを固定するためのポケットとして利用する場合がある。
尿取りパッド(インナーパッド、補助パッドとも称される。)は、使い捨ておむつと併用する内敷き用の吸収パッドであり、通常は、使い捨ておむつのトップシート上に載置した状態で用いられる。従って、吸収体の両側に配置される1対の立体ギャザーの間に、尿取りパッドを挟み込むようにして固定することが行われている。
例えば、図3に示す吸収性物品100Bのように、立体ギャザー26を形成するギャザーシート50を、トップシート18との固定部の軌跡52が前身頃2側及び後身頃6側で幅方向外側に湾曲するように、トップシート18に対して貼り付けることによって、トップシート18とギャザーシート50との間にポケット54を形成したテープ型使い捨ておむつが提案されている(例えば、特許文献3を参照)。
また、立体ギャザーの内側面のうち股下部から後身頃側に至るまでの部分をトップシートに対して貼り付けることによって、トップシートと立体ギャザーとの間にポケットを形成した使い捨ておむつが提案されている(例えば、特許文献4を参照)。
同様に、例えば、図4に示す吸収性物品100Cのように、立体ギャザー26の内側面のうち、おむつの股下部4に相当する部分をトップシート18に対して固定することによって(固定部70)、トップシート18と立体ギャザー26との間にポケット72を形成したテープ型使い捨ておむつも提案されている(例えば、特許文献5を参照)。
特開2000−262555号公報 特開2002−656号公報 特許第3669974号公報 特許第3418279号公報 特開2005−160843号公報
前記のように立体ギャザーの付設は、排泄物の横漏れ防止に有効である。しかしながら、着用者の体型や姿勢によっては、横漏れ防止効果が十分に得られない場合があるという課題があった。
また、立体ギャザーによって形成される空間を、尿取りパッドを固定するためのポケットとして利用する場合にあっては、特許文献3〜5に記載の使い捨ておむつであっても、尿取りパッドを確実に固定することは難しく、尿取りパッドのズレが生じ易いという課題が残されていた。即ち、尿取りパッドには、おむつの股下部より幅狭な矩形状の小型パッド、おむつの前身頃側及び後身頃側に幅広な耳部を有する砂時計型の大型パッド等があり、また、製造者毎に微妙に大きさや形状も異なる。従って、これら多種多様な尿取りパッドに対応して確実に固定することが難しく、尿取りパッドのズレ、ひいてはズレに伴う尿漏れを有効に防止することが困難であった。
本発明は、このような従来技術の課題を解決するためになされたものであって、着用者の体型や姿勢に拘らず、立体ギャザーの防漏効果が十分に得られ、また、小型パッドから大型パッドまで、また、製造者毎に大きさや形状が微妙に異なる尿取りパッドを確実に固定することができる吸収性物品を提供するものである。
本発明者は、前記のような従来技術の課題を解決するために鋭意検討した結果、従前の吸収性物品は、立体ギャザーの高さや幅(尿取りパッドを固定する場合であれば、ポケットの幅や深さ)が予め決まっていることに起因して、着用者の体型や姿勢、或いは各種尿取りパッドに対する形状自由度が低いため、横漏れ防止効果が十分に得られず、尿取りパッドの固定も不十分となることを見出した。そして、立体ギャザーの表面の一部をトップシートの表面に対して剥離可能に仮止めし、尿取りパッドの大きさや形状に合わせて所望の部位だけを剥離してポケットの幅や深さを適宜調整し得る構造とすることによって、上記課題が解決されることに想到し、本発明を完成させた。具体的には、本発明により、以下の吸収性物品が提供される。
[1] 吸収体と、少なくとも一部が液透過性材料からなり、前記吸収体の表面を被覆するように配置されたトップシートと、液不透過性材料からなり、前記吸収体の裏面を被覆するように配置されたバックシートと、撥水性シートからなり、前記吸収体の両側に配置された一対の立体ギャザーとを備え、前記立体ギャザーの表面の一部が、熱エンボス加工又は超音波溶着により形成された複数の仮止め部によって、前記トップシートの表面及び前記立体ギャザー自体の表面のうちの少なくとも一つの表面に対して剥離可能に仮止めされ、前記複数の仮止め部が、前記立体ギャザーの長さ方向に向かって、断続的に配置されており、前記仮止め部を剥離する数によって前記立体ギャザーと前記トップシートとの間に形成されるポケットの幅を段階的に調節可能とした吸収性物品。
] 前記複数の仮止め部は、前記立体ギャザーの前端側及び後端側に配置された仮止め部の剥離強度よりも、前記立体ギャザーの長手方向中央側に配置された仮止め部の剥離強度が低くなっている前記[]に記載の吸収性物品。
] 前記立体ギャザーの表面の一部が、複数の仮止め部によって、前記トップシートの表面及び前記立体ギャザー自体の表面のうちの少なくとも一つの表面に対して仮止めされており、前記複数の仮止め部が、前記立体ギャザーの高さ方向に向かって、断続的に配置されている前記[1]又は[2]に記載の吸収性物品。
] 前記複数の仮止め部は、前記立体ギャザーの固定端側に配置された仮止め部の剥離強度よりも、前記立体ギャザーの自由端側に配置された仮止め部の剥離強度が低くなっている前記[]に記載の吸収性物品。
] 前記立体ギャザーの表面のうち、前記立体ギャザーの前端側及び後端側は仮止めされており、前記立体ギャザーの長手方向中央部は前記トップシートの表面に対して非固定の状態となっている前記[1]〜[]のいずれかに記載の吸収性物品。
] 前記立体ギャザーの表面のうち、前記立体ギャザーの前端側及び後端側は仮止めされており、前記立体ギャザーの長手方向中央部は前記トップシートの表面に対して固着されている前記[1]〜[]のいずれかに記載の吸収性物品。
本発明の吸収性物品は、着用者の体型や姿勢に拘らず、立体ギャザーの防漏効果が十分に得られ、また、小型パッドから大型パッドまで、また、製造者毎に大きさや形状が微妙に異なる尿取りパッドを確実に固定することが可能である。
以下、本発明の吸収性物品を実施するための最良の形態について、テープ型使い捨ておむつの例により具体的に説明する。但し、本発明はその発明特定事項を備える吸収性物品を広く包含するものであり、以下の実施形態に限定されるものではない。
なお、「前身頃」とは、着用者におむつを装着した際に、着用者の腹側(身体前方)を覆う部分、「股下部」とは、着用者におむつを装着した際に、着用者の股下を覆う部分、「後身頃」とは、着用者におむつを装着した際に、着用者の背側(身体後方)を覆う部分を意味するものとする。
[1]本発明の吸収性物品:
1A〜図1Cに示す吸収性物品1A、撥水性シートからなり、吸収体22の両側に配置された一対の立体ギャザー26Aを備え、立体ギャザー26Aの表面S1の一部が、トップシート18の表面及び立体ギャザー26A自体の表面のうちの少なくとも一つの表面に対して剥離可能に仮止めされている(図中、符号28が仮止め部を示す。)。
立体ギャザー26Aの表面の一部をトップシート18の表面及び立体ギャザー26A自体の表面のうちの少なくとも一つの表面に対して剥離可能に仮止めすることによって、図1Cに示すように、全く仮止め部28を剥離しないで、また、図1Dに示すように、一部の仮止め部28を剥離して、更には、図1Eに示すように、仮止め部28を完全に剥離して使用することができる。
従って、立体ギャザー26Aの高さや立ち上がり位置(起立線L1)を、その着用者の姿勢や体型に最も適した形にカスタマイズすることができる。従って、立体ギャザーを各々の着用者の肌に正確にフィットさせることができ、高い漏れ防止効果を得ることができる。
また、尿取りパッドの大きさや形状と合致するように仮止め部28の一部又は全部を剥離し、ポケットの幅や深さを適宜調整することが可能となる。
例えば、小型パッドを使用する場合には、小型パッドの幅に合わせて股下部近傍の仮止め部を剥離する、大型パッドを使用する場合には、パッドの耳部の幅に合わせて前身頃及び後身頃近傍の仮止め部を剥離する、といった使用方法が可能となる。また、尿取りパッドの大きさや形状が製造者毎に微妙に異なっていても、形成されるポケットの形状自由度が高いため、尿取りパッドを確実に固定することができ、尿取りパッドのズレが生じ難い。
[1−1]立体ギャザー:
本発明の吸収性物品は、撥水性シートからなり、吸収体の両側に配置された少なくとも一対の立体ギャザーを備えている。
立体ギャザーは、着用者の排泄した尿の横漏れを防止するための部材であり、立体的に起立可能なように構成された防漏壁である。このような立体ギャザーを形成することにより、立体ギャザーが防波堤となり、おむつの脚周り開口部等からの漏れ(いわゆる「横漏れ」)を有効に防止することができる。
立体ギャザーの構成は、従来の使い捨ておむつ、その他の吸収性物品に使用される構成を採用することができる。例えば、撥水性のシート材の一部に伸縮材(立体ギャザー伸縮材)を配置し、その立体ギャザー伸縮材によってシート材にギャザー(襞)を形成したもの等を好適に用いることができる。
なお、立体ギャザーは、立体ギャザー用の撥水性シートを別途付設することにより形成することができる。この方法は、ギャザーを配置したい部位(例えば、おむつの股下部のみ)に、おむつの構成シートとは別体の撥水性シートを貼り合わせればよい。従って、使用するシート材が少なくて済む。また、2枚の撥水性シートの層間に不透液性シートを挟みこんだシート材を用い、漏れ防止効果の向上を図る等、用途に応じた立体ギャザーを形成することが容易である。
また、立体ギャザーは、吸収性物品を構成する他のシート材の一部によって形成してもよい。例えば、図1Aに示す吸収性物品1Aは、撥水性シートからなるサイドシート18bを折り返すことにより立体ギャザー26Aを形成した例である。立体ギャザーとサイドシートは機能的な面で撥水性不織布を用いることが好ましい。従って、両部材を一体的に形成した方が別部材を貼り合わせるよりも製造工程を簡素化でき、製品原料にも無駄が出難い。
立体ギャザーを形成する撥水性シートは、別途付設する場合でも、おむつの他の構成シートを折り返して形成する場合でも、カードエンボス、スパンボンド、SMS、SMMS等の製法により製造された不織布シートを好適に用いることができる。中でも、防水性の高いSMS、SMMS等の不織布シートが更に好ましい。
本発明の吸収性物品は、立体ギャザーの表面が剥離可能に仮止めされている。「剥離可能に仮止めされている」とは、人間の力で容易に剥離可能な程度に、且つ、剥離した際に仮止めされているトップシート等の素材が破れ、穴開き等の破損を生じない程度に固着されていることを意味する。
具体的にはJISK6854に準拠して測定された180°ピールの剥離力が0.3〜5.0Nの範囲で固定されていることが好ましい。剥離力が0.3N未満の場合には、接着力が弱すぎて、おむつを装着する際等、剥離を要しない場面でも、意図せず剥がれてしまうことがある。また、剥離力が5.0Nを超える場合には、接着力が強すぎて仮止め部がなかなか剥離できず、おむつ交換の際に必要以上の負担を生じてしまう場合がある。前記効果をより確実に得るためには、剥離力が0.5〜3.0Nの範囲であることがより好ましい。
本発明の吸収性物品においては、熱エンボス加工又は超音波溶着により仮止め部を形成する。即ち、仮止めの方法としては、極めて弱い溶着又は圧着等の方法を挙げることができる。
本発明の吸収性物品は、立体ギャザーの「表面」が仮止めされている。「表面」には、内側面と外側面の双方が含まれる。「内側面」とは、図1Bに示すように、立体ギャザー26Aが起立した際に、吸収性物品1Aの幅方向中央側に配向する面を意味する(図中、符号S1)。これに対し、「外側面」とは、立体ギャザー26Aが起立した際に、吸収性物品1Aの直近の側縁6a(6b)側に配向する面を意味する(図中、符号S2)。
また、本発明の吸収性物品は、立体ギャザーの表面の「一部」が仮止めされている。例えば、内倒しの立体ギャザーは、吸収性物品の前後方向の端部及び吸収性物品側縁に近い側の縁部が容易に剥離されないように固着されており、立体ギャザーの表面とトップシートの表面とこれらの固着部によって、吸収性物品中央側に開口するポケットが形成されている。従って、本発明では、立体ギャザーの表面のうち前記固着部以外の部分の全部又は一部を目的に応じて仮止めすることができる。
更に、本発明の吸収性物品は、立体ギャザーの表面の一部が、a)トップシートの表面及び、b)立体ギャザー自体の表面、のうちの少なくとも一つの表面に対して剥離可能に仮止めされている。例えば、後述する外内倒しギャザーや内外倒しギャザーのように、ギャザーの高さ方向の中途に折り返し部分を有する立体ギャザーにあっては、立体ギャザーの表面同士を貼り合わせるように仮止めをしても、トップシートの表面に仮止めをしたのと同様の効果を得ることができる。
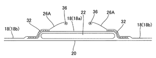
本発明の吸収性物品は、図1A〜図1Fに示す吸収性物品1Aのような、剥離可能な仮止め部28を有する吸収性物品を更に改良したものである。具体的には、図5Aに示すように、立体ギャザー26の表面の一部が、複数の仮止め部28によって、トップシートの表面に対して仮止めされており、複数の仮止め部28が、立体ギャザー26の長さ方向(前後方向)に向かって、断続的に配置されているものである
このような構成は、全面的に仮止め部が形成されている場合と比較して、仮止め部を剥離する数で段階的にポケットの幅を調整することができるという利点がある。図5Aに示す例は、略長方形状の仮止め部28によって、立体ギャザー26の表面のうち、立体ギャザー26の前端側及び後端側が仮止めされている例である。この例では、立体ギャザー26の長さ方向に向かって、前端側と後端側に各5個の仮止め部28が形成されていて、立体ギャザーの前端側、後端側の各々においてポケットの幅を5段階に調節できるように構成されている。
同様の理由から、本発明の吸収性物品は、図5B及び図5Cに示すように、立体ギャザー26の表面の一部が、複数の仮止め部28によって、トップシートの表面に対して仮止めされており、複数の仮止め部28が、立体ギャザー26の高さ方向に向かって、断続的に配置されていることも好ましい。このような構成は、仮止め部を剥離する数で段階的にポケットの深さを調整することができるという利点がある。
図5Bに示す例は、円形状の仮止め部28によって、立体ギャザー26の表面のうち、立体ギャザー26の前端側及び後端側が仮止めされている例である。この例では、前端側と後端側に各10個の仮止め部28が5行×2列のマトリクス状に配置されている。即ち、立体ギャザー26の高さ方向に向かって、2段階の仮止め部28が形成されており、立体ギャザーの前端側、後端側の各々においてポケットの深さを2段階に調節できるように構成されている。
図5Cに示す例は、略長方形状の仮止め部28によって、立体ギャザー26の表面のうち、立体ギャザー26の前端側及び後端側の2つの固着部30の間の領域が断続的に仮止めされている例である。この例では、前端側から後端側にかけて10個の仮止め部28が5行×2列のマトリクス状に配置されている。即ち、立体ギャザー26の高さ方向に向かって、2段階の仮止め部28が形成されており、立体ギャザーの前端側から後端側に至る領域全体においてポケットの深さを2段階に調節できるように構成されている。
なお、本発明の吸収性物品は、図5B及び図5Cに示すように、立体ギャザー26の表面の一部が、複数の仮止め部28によって、トップシートの表面に対して仮止めされており、複数の仮止め部28が、立体ギャザー26の長さ方向と高さ方向の双方に向かって、断続的に配置されていることも好ましい。このような構成であれば、仮止め部を剥離する数で段階的にポケットの幅及び深さの双方を調整することができる。
複数の仮止め部を断続的に形成する場合には、全ての仮止め部の剥離力を同等とする必要はなく、目的に応じて異なる値としてもよい。中でも、本発明の吸収性物品は、立体ギャザーの前端側及び後端側に配置された仮止め部の剥離強度よりも、立体ギャザーの長手方向中央側に配置された仮止め部の剥離強度が低くなっていることが好ましい。
前記のような構成は、図5A及び図5Bに示すように、仮止め部28を立体ギャザー26の前端側及び後端側に形成した場合等に有効である。例えば、立体ギャザー26の長手方向中央部に形成されるポケットの幅を広げる際に、ポケットに近い側の仮止め部の剥離強度を低くして剥がし易くする一方、ポケットに遠い側(立体ギャザー26の前端及び後端に近い側)の仮止め部28の剥離強度を高くして剥し難くすることができる。即ち、剥離する可能性の高い部位は剥がし易く、それ以外の部分については意図せず剥離することがないように剥がし難く構成することができる。
同様の理由から、本発明の吸収性物品は、立体ギャザーの固定端側に配置された仮止め部の剥離強度よりも、前記立体ギャザーの自由端側に配置された仮止め部の剥離強度が低くなっていることが好ましい。例えば、立体ギャザー26のポケットの深さを深くする際に、ポケットの開口部に近い側(立体ギャザー26の自由端E1側)の仮止め部28の剥離強度を低くして剥がし易くし、開口部から遠い側(立体ギャザー26の起立線L1側)の仮止め部28の剥離強度は高くして剥し難くすることができる。
本発明の吸収性物品は、図5A及び図5Bに示すように、立体ギャザー26の表面のうち、立体ギャザー26の前端側及び後端側は仮止めされており(仮止め部28)、立体ギャザー26の長手方向中央部はトップシートの表面に対して非固定の状態となっていることが好ましい。このような形態は、立体ギャザーの機能を発揮させる範囲を適宜調整できるという利点があり好ましい。例えば、前端側及び後端側の仮止めを剥離せずに使用すれば、股下部に存する立体ギャザーだけが立ち上がる。一方、前端側及び後端側の仮止めを長く剥離すれば、前身頃側から後身頃側にかけて、立体ギャザーを長い範囲で立ち上がらせることができる。
また、本発明の吸収性物品は、図5Cに示すように、立体ギャザー26の表面のうち、立体ギャザー26の前端側から後端側に至るまでの部分が仮止めされていることも好ましい(仮止め部28)。このような形態は、立体ギャザーが長さ方向(前後方向)の全域に渡って仮止めされるため、尿取りパッドの幅や耳の位置に合わせて、着用者が仮止め部の所望の位置を剥離することができる。
5Dに示す例では、立体ギャザー26の表面のうち、立体ギャザー26の前端側及び後端側は仮止めされており(仮止め部28)、立体ギャザー26の長手方向中央部はトップシートの表面に対して固着されている(固着部34)。このような形態は、大型の尿取りパッドを使用する際に、パッドの耳部に合わせて、前端部及び後端部の仮止めを剥離させて尿取りパッドを固定することができ、尿取りパッドの立体ギャザーよりも股下部の立体ギャザーを低くすることで、尿取りパッドと併用される使い捨ておむつの汚染を防止し、おむつ自体の交換頻度を低減することができる。
なお、図1A〜図1F、図5A〜図5Dでは、全て内倒し式の立体ギャザー(内倒しギャザー)に本発明を適用した例を示したが、本発明の吸収性物品の構成は、その他の形態の立体ギャザーにも適用することができる。
図6A〜図6Cは、おむつを、長手方向中央部において、幅方向(左右方向)に向かって切断した断面を示す概略断面図である。図6A〜図6Cに示す吸収性物品1Bは、おむつの幅方向外側に向かって傾斜するように起立する外倒し式の立体ギャザー26B(外倒しギャザー)を備えた吸収性物品に本発明を適用した例である。この例では、図6Aに示すように、表面S2がトップシート18(サイドシート18b)の表面に仮止めされて仮止め部28が形成されている。図6Bは仮止め部28を一部剥離した状態を示し、図6Cは仮止め部28を全て剥離した状態を示す。
なお、図6A〜図6Cの吸収性物品1Bのように、立体ギャザー26Bとサイドシート18bが一枚の撥水性シートで形成されている場合には、その撥水性シートが固着部32によってセンターシート18aに固着されている部分をサイドシート18b、固着部32によって固着されていない起立線L2から先の部分を立体ギャザー26Bとする。
図7A〜図7Dも、図6A〜図6Cと同様の断面を示す概略断面図である。図7A〜図7Cに示す吸収性物品1Cは、固定端側から一旦おむつの幅方向外側に向かって傾斜した後、おむつの幅方向内側に向かって傾斜する外内倒し式の立体ギャザー26C(外内倒しギャザー)を備えた吸収性物品に本発明を適用した例である。この例では、図7Aに示すように、表面S2がトップシート18(サイドシート18b)の表面に仮止めされて仮止め部28が形成されている。図7Bは仮止め部28を一部剥離した状態を示し、図7Cは仮止め部28を全て剥離した状態を示す。
なお、図7Dに示す吸収性物品1C’は、図7A〜図7Cに示す吸収性物品1Cの変形例である。吸収性物品1C’は、吸収性物品1Cと同様に、立体ギャザー26Cの表面S2がトップシート18(サイドシート18b)の表面に仮止めされて第1仮止め部28aが形成されている。そして、この第1仮止め部28aの他に、立体ギャザー26Cの表面S1同士が仮止めされて第2仮止め部28bが形成されている。
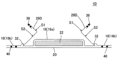
図8A〜図8Dも、図6A〜図6Cと同様の断面を示す概略断面図である。図8A〜図8Cに示す吸収性物品1Dは、固定端側から一旦おむつの幅方向内側に向かって傾斜した後、おむつの幅方向外側に向かって傾斜する内外倒し式の立体ギャザー26D(内外倒しギャザー)を備えた吸収性物品に本発明を適用した例である。この例では、図8Aに示すように、表面S1がトップシート18(センターシート18a)の表面に仮止めされて仮止め部28が形成されている。図8Bは仮止め部28を一部剥離した状態を示し、図8Cは仮止め部28を全て剥離した状態を示す。
なお、図8Dに示す吸収性物品1D’は、図8A〜図8Cに示す吸収性物品1Dの変形例である。吸収性物品1D’は、吸収性物品1Dと同様に、立体ギャザー26Dの表面S1がトップシート18(センターシート18a)の表面に仮止めされて第1仮止め部28cが形成されている。そして、この第1仮止め部28cの他に、立体ギャザー26Dの表面S2同士が仮止めされて第2仮止め部28dが形成されている。
[1−2]吸収体:
吸収体は、着用者の尿を吸収し、保持するための部材である。吸収体は、着用者の尿や体液を吸収し保持する必要から、吸収性材料によって構成される。
吸収体を構成する吸収性材料としては、使い捨ておむつ、その他の吸収性物品に通常使用される従来公知の吸収性材料、例えば、フラッフパルプ、高吸水性ポリマー(Super Absorbent Polymer;以下、「SAP」と記す)、親水性シート等を挙げることができる。フラッフパルプとしては木材パルプや非木材パルプを綿状に解繊したものを、SAPとしてはポリアクリル酸ナトリウムを、親水性シートとしてはティシュ、吸収紙、親水化処理を行った不織布を用いることが好ましい。
これらの吸収性材料は、通常、単層ないしは複層のマット状として用いられる。この際、前記の吸収性材料のうち1種を単独で用いてもよいし、2種以上を併用してもよい。中でも、フラッフパルプ100質量部に対して、10〜500質量部程度のSAPを併用したものが好ましい。この際、SAPはフラッフパルプの各マット中に均一に混合されていてもよいし、複層のフラッフパルプの層間に層状に配置されていてもよい。
通常、吸収体は、トップシートとバックシートの間に挟み込まれ、その周縁部が封着されることによって、トップシートとバックシートとの間に介装される。従って、吸収体の周縁部にはトップシートとバックシートの間に吸収体が介装されていないフラップ部が形成されることになる。吸収体は少なくとも股下部に介装され、この吸収体が前身頃や後身頃にまで及んでいてもよい。
吸収体は、その全体が親水性シートによって包み込まれていることが好ましい。このような構成は、吸収体からSAPが漏洩することを防止し、吸収体に形状安定性を付与することができるという利点がある。
吸収体の形状については特に制限はないが、従来の使い捨ておむつ、その他の吸収性物品において使用される形状、例えば、矩形状、砂時計型、ひょうたん型、T字型等を挙げることができる。
図1Fに示す吸収性物品1Aは、吸収体22として、おむつの前身頃2や後身頃6に相当する部分が幅広な砂時計型の吸収体を用いた例である。
なお、吸収体には、その表面側に(例えば、吸収体とトップシートとの間に)、尿や体液等の液体を拡散させるためのシート(セカンドシート)を付帯的に配置してもよい。このセカンドシートを付設すると、着用者の姿勢等に起因して、トップシート裏面側の空間が十分に形成されないような場合でも、尿や体液等の吸収速度が低下し難く、吸収速度の低下による尿や体液等の漏れを防止することが可能となる。
セカンドシートを構成する材料としては、親水性で液透過性の材料、例えば、織布、不織布、多孔性プラスチック、フラッフパルプ等を挙げることができる。これらの構成素材としては、ポリプロピレン、ポリエチレン、ポリエステル、レーヨン、パルプ、或いはこれらの複合繊維等を挙げることができる。パルプとしては、カーリーセルロースファイバー等のけん縮繊維を好適に用いることができる。
[1−3]トップシート:
トップシートは、吸収体の表面(吸収性物品の装着時において着用者の肌側に位置する面)を被覆するように配置されるシートである。トップシートは、その裏面側に配置された吸収体に、着用者の尿を吸収させる必要から、その少なくとも一部(全部又は一部)が液透過性材料により構成される。通常、少なくとも吸収体の表面近傍については、着用者の尿や体液を透過させ得る液透過性の材料によって構成される。少なくとも一部が液透過性材料により構成されている限り、必ずしもトップシート全体が液透過性材料で構成されている必要はない。
トップシートを構成する液透過性材料としては、例えば、織布、不織布、多孔性フィルム等を挙げることができる。中でも、ポリプロピレン、ポリエチレン、ポリエステル、脂肪族ポリアミド(商品名:ナイロン)等の熱可塑性樹脂からなる不織布に親水化処理を施したものを用いることが好ましい。不織布の種類についても特に制限はなく、エアースルー(カード熱風)、カードエンボス、スパンボンド等の各種製法によって製造された従来公知の不織布を好適に用いることができる。
トップシートは単一のシート材によって構成されていてもよいが、複数のシート材によって構成されていてもよい。例えば、吸収体の表面部に配置されるトップシートと、サイドフラップの部分に配置されるトップシートとを異なるシートによって構成する形態もよく利用される。
例えば、図1Aに示す吸収性物品1Aは、テープ型使い捨ておむつであり、おむつの幅方向中央部には液透過性材料からなるトップシート18(センターシート18a)を配置し、おむつのサイドフラップ8部分には液の透過に対して抵抗性を示す通気撥水性材料からなるトップシート18(サイドシート18b)を配置した例である。通気撥水性シートとしては、カードエンボス、スパンボンド等の製法により製造された不織布であってもよいが、防水性の高いSMS、SMMS等の不織布シートが更に好ましい。
[1−4]バックシート:
バックシートは、吸収体の裏面(吸収性物品の装着時において着用者の着衣側に位置する面)を被覆するように配置されるシートである。バックシートは、着用者の尿がおむつ外部に漏洩してしまうことを防止する必要から、液不透過性材料によって構成される。その配置方法については特に制限はないが、例えば、図1Fに示す吸収性物品1Aのように、吸収性物品の外形と一致するように、バックシート20を配置する構成を採用することができる。但し、必ずしもこのような構成を採用する必要はなく、吸収体で吸収された尿の漏れを防止するという観点から、少なくとも吸収体の存在する部分に液不透過性材料からなるバックシートを配置してもよい。
バックシートを構成する液不透過性材料としては、例えば、ポリエチレン等の樹脂からなる液不透過性フィルム等を挙げることができ、中でも、微多孔性ポリエチレンフィルムを用いることが好ましい。この微多孔性ポリエチレンフィルムは、0.1〜数μmの微細な孔が多数形成されており、液不透過性ではあるが透湿性を有するため、おむつ内部の蒸れを防止することができるという利点がある。
なお、バックシートには、その外表面側にシート材(カバーシート)を貼り合わせてもよい。このカバーシートは、バックシートを補強し、バックシートの手触り(触感)を良好なものとするために用いられる。
カバーシートを構成する材料としては、例えば、織布、不織布等を挙げることができる。中でも、ポリエチレン、ポリプロピレン、ポリエステル等の熱可塑性樹脂からなる乾式不織布、湿式不織布を用いることが好ましい。
[1−5]止着テープ:
本発明の吸収性物品は、テープ型使い捨ておむつであってもよい。「テープ型使い捨ておむつ」とは、図1Fに示す吸収性物品1Aのように、前身頃2、股下部4及び後身頃6の各部から構成されており、吸収体22と、少なくとも一部が液透過性材料からなり、吸収体22の表面を被覆するように配置されたトップシート18と、液不透過性材料からなり、吸収体22の裏面を被覆するように配置されたバックシート20と、後身頃6の左右の各側縁6a,6bから延出するように配置された、前身頃2と後身頃6とを固定するための止着テープ10とを備えた使い捨ておむつである。
吸収性物品1Aのようなテープ型使い捨ておむつは、止着テープ10によっておむつの前身頃2と後身頃6とを相互に固定することで、着用者に容易に装着させることができるという利点を有している。そして、着用者の排泄物はトップシート18の液透過性の部分を透過して吸収体22に吸収されるとともに、液不透過性材料で構成されるバックシート20によって外部への漏洩が防止され、排泄物をおむつ内部に保持することができる。
止着テープのファスニング部材としては、粘着剤により固定を行う粘着ファスナーであってもよいが、機械的な結合により固定を行うカニカルファスナー(面状ファスナー)を用いることが好ましい。メカニカルファスナーは、止着力が高いことに加え、複数回の脱着を行っても止着力が低下することがないという利点がある。
例えば、図1Fに示す吸収性物品1Aは、ファスニング部材として、メカニカルファスナー44を用いた例である。止着テープ10の先端近傍には、フック材44aが付設される一方、前身頃2には、ループ材44bからなるフロントパッチ12が付設されており、フロントパッチ12に対して、止着テープ10を止め付けることが可能なように構成されている。
止着テープの数は特に限定されないが、後身頃の左右の各側縁に、止着テープが2個ずつ配置されていることが好ましい。例えば、図1Fに示す吸収性物品1Aは、後身頃6の左右の各側縁6a,6bに、止着テープ10が2個ずつ配置されたものである。このように、止着テープが2個ずつ配置されたテープ型使い捨ておむつは、1個ずつ配置されたものと比較して、着用者の体型、具体的には、ウエスト周り、脚周りの寸法に合わせてテープ位置、締め付け具合を調節できるという点で優れている。
[1−6]各種伸縮材:
また、本発明の吸収性物品が使い捨ておむつの場合には、脚周り伸縮材を配置し、ウエスト周り伸縮材を配置することが好ましい。
脚周り伸縮材は、脚周り開口部に沿って配置される伸縮材である。この脚周り伸縮材を配置することによって、脚周り開口部に伸縮性に富むギャザー(レグギャザー)を形成することができる。従って、脚周りに隙間が形成され難くなり、脚周り開口部からの尿漏れを効果的に防止することができる。また、脚周り伸縮材を配置すると、おむつを交換する際に吸収体の両側で脚周り伸縮材が収縮するため、股下部近傍が椀状に変形し、凹部が形成される。このため、尿や体液がその凹部に溜まり、尿や体液をこぼすことなく、容易におむつの交換を行うことができる。
例えば、図1Aに示す吸収性物品1Aは、おむつの長手方向に沿って、直線的に二本の脚周り伸縮材40を配置してレグギャザーを形成した例である。この脚周り伸縮材40は、糸ゴムによって構成されている。但し、脚周り伸縮材は、必ずしも直線的に配置する必要はなく、例えば、おむつの脚周り開口部のカーブに沿って曲線的に配置してもよい。
脚周り伸縮材は、例えば、図1Aに示す吸収性物品1Aのように、立体ギャザー26の起立線L1より外側の部分に、脚周り伸縮材40が形成されていることが好ましい。このような構成とすると、立体ギャザーの十分な防漏効果を確保しつつ、股下部の装用感・装着感を向上させることができる。
ウエスト周り伸縮材は、ウエスト周り開口部に沿って配置される伸縮材である。ウエスト周り伸縮材を配置することによって、ウエスト開口部に伸縮性に富むギャザー(ウエストギャザー)を形成することができる。このウエストギャザーにより、ウエスト周りに隙間が形成され難くなり、ウエスト周りからの尿漏れを防止することができる他、着用者へのおむつのフィット性が良好となり、おむつのずり下がりが防止される。
なお、図1Fに示す吸収性物品1Aは、おむつの後身頃6の端縁に沿って帯状のウエスト周り伸縮材42を配置した例である。この帯状のウエスト周り伸縮材42は、ウレタンフォーム等の伸縮性フォームによって構成されている。図示の例では、後身頃(背側)のみにウエスト周り伸縮材42を配置しているが、前身頃(腹側)にウエスト周り伸縮材を配置してもよい。
本発明の吸収性物品がパンツ型使い捨ておむつの場合には、腹周り伸縮材を配置することが好ましい。腹周り伸縮材は、ウエスト周り開口部と脚周り開口部との間の部分(即ち、着用者の腹周りに相当する部分)に配置される伸縮材である。腹周り伸縮材を配置することによって、着用者の腹周りに伸縮性に富むタミーギャザーを形成することができる。このタミーギャザーは、ウエストギャザーと相俟って、おむつのフィット性やずり下がり防止効果を一層優れたものとすることができる。
これらの伸縮材については、ギャザーの収縮の程度等を勘案した上で、構成材料、その材料の伸長率、固定時の伸長状態等を決定すればよい。
伸縮材としては、従来の使い捨ておむつで使用されてきた伸縮材を好適に用いることができる。具体的には、天然ゴムや合成ゴム(ウレタンゴム等)の弾性材からなる糸ゴム、平ゴムの他、伸縮性ネット、伸縮性フィルム、伸縮性フォーム(ウレタンフォーム等)等を挙げることができる。
伸縮材は、十分な伸縮力を作用させるため、伸長状態で固定することが好ましい。例えば、伸縮材が天然ゴムや合成ゴムである場合には、120〜400%の伸長状態で固定することが好ましく、200〜300%の伸長状態で固定することがより好ましい。このような範囲の伸長状態で固定することにより、着用者に対して過度の締め付け力を作用させることなく、十分な伸縮力を作用させることが可能となる。
前記のような伸縮材は、おむつの他の構成部材に対して、接着剤その他の手段により固定される。固定方法としては、例えば、ホットメルト接着剤、その他の流動性の高い接着剤を用いた接着であってもよいし、ヒートシールをはじめとする熱や超音波等による溶着であってもよい。
[2]製造方法:
仮止め部を有する吸収性物品は、例えば、以下のような方法により製造することができる。以下の説明では、図1A〜図1C及び図1Fに示す吸収性物品1Aを製造する場合の例により説明する。
まず、バックシート20の材料となる長尺のシート材(バックシート材)の表面に、親水性シートに包まれた吸収体22及び脚周り伸縮材40を載置し、更にその表面にセンターシート18aの材料となる長尺のシート材(センターシート材)及びサイドシート18bの材料となる長尺のシート材(サイドシート材)を載置することにより、おむつの中間体となる積層体(おむつ連続体)を得る。サイドシート材の一部を折り返すことによって、立体ギャザー26Aを形成する。
サイドシート材は、立体ギャザー26Aの前後の端部に相当する部分及び起立線L1の外側の部分をホットメルト接着剤等により容易に剥離されないように固着する(固着部30)。更に、立体ギャザー26Aの表面のうち、立体ギャザー26Aの前端側及び後端側を仮止めして、仮止め部28を形成する。この仮止め部28はヒートシール等の方法により形成することができる。
前記のようにして得られたおむつ連続体は、おむつの脚周り開口部に相当する部分を円弧状に切り抜いて切除し(Rカット)、脚周り開口部を形成する。最後に、おむつの後身頃6の側縁6a,6bに、止着テープ10を付設し、おむつ連続体を個々のおむつに切断することにより、吸収性物品1A(即ち、テープ型使い捨ておむつ)を製造する。
なお、上記のような方法の他、予めトップシート材に止着テープを付設しておき、バックシート材の表面に、親水性シートに包まれた吸収体及び脚周り伸縮材を載置し、更にその表面に伸縮性止着テープが付設されたトップシート材を載置することにより、おむつ連続体を得てもよい。
前記のような一連の工程は、機械的な手段によって連続的に行うことが可能である。例えば、長尺のシート材をローラーから連続的に送出する等の方法・装置を採用することにより、テープ型使い捨ておむつの連続製造が可能となり、生産性の向上に資する。
本発明の吸収性物品は、尿取りパッド、テープ型使い捨ておむつ、パンツ型使い捨ておむつ等の乳幼児用、或いは介護を必要とする高齢者や障害者等の成人用の吸収性物品、特に、尿取りパッドを併用することが多い成人用のテープ型使い捨ておむつとして好適に利用することができる。
吸収性物品の一の実施形態を示す概略平面図であり、吸収性物品を展開し、トップシート側から見た状態を示す図である。 吸収性物品の一の実施形態を示す概略断面図であり、図1Aに示す吸収性物品のX−X’断面を示すものである。 吸収性物品の一の実施形態を示す概略断面図であり、図1Aに示す吸収性物品のY−Y’断面を示すものである。 吸収性物品の使用状態を示す概略断面図であり、図1Aに示す吸収性物品の仮止め部を一部剥離した状態のY−Y’断面を示すものである。 吸収性物品の使用状態を示す概略断面図であり、図1Aに示す吸収性物品の仮止め部を完全に剥離した状態のY−Y’断面を示すものである。 吸収性物品の一の実施形態を示す一部切り欠き概略平面図であり、図1Aに示す吸収性物品を展開し、その一部を切り欠いた状態を示す図である。 従来の吸収性物品の一の実施形態を示す概略平面図であり、吸収性物品を展開し、トップシート側から見た状態を示す図である。 従来の吸収性物品の別の実施形態を示す概略平面図であり、吸収性物品を展開し、トップシート側から見た状態を示す図である。 従来の吸収性物品の更に別の実施形態を示す概略平面図であり、吸収性物品を展開し、トップシート側から見た状態を示す図である。 本発明の吸収性物品の一部拡大平面図であり、立体ギャザーに形成される仮止め部の一の実施形態を示すものである。 本発明の吸収性物品の一部拡大平面図であり、立体ギャザーに形成される仮止め部の別の実施形態を示すものである。 本発明の吸収性物品の一部拡大平面図であり、立体ギャザーに形成される仮止め部の更に別の実施形態を示すものである。 吸収性物品の一部拡大平面図であり、立体ギャザーに形成される仮止め部の更にまた別の実施形態を示すものである。 本発明の吸収性物品の別の実施形態を示す概略断面図であり、吸収性物品を長手方向中央部において幅方向(左右方向)に向かって切断した断面を示す図である。 本発明の吸収性物品の更に別の実施形態を示す概略断面図であり、図6Aに示す吸収性物品の仮止め部を一部剥離した状態を示す図である。 本発明の吸収性物品の別の実施形態を示す概略断面図であり、図6Aに示す吸収性物品の仮止め部を全て剥離した状態を示す図である。 本発明の吸収性物品の更に別の実施形態を示す概略断面図であり、吸収性物品を長手方向中央部において幅方向(左右方向)に向かって切断した断面を示す図である。 本発明の吸収性物品の更に別の実施形態を示す概略断面図であり、図7Aに示す吸収性物品の仮止め部を一部剥離した状態を示す図である。 本発明の吸収性物品の更に別の実施形態を示す概略断面図であり、図7Aに示す吸収性物品の仮止め部を全て剥離した状態を示す図である。 本発明の吸収性物品の更にまた別の実施形態を示す概略断面図であり、図7Aに示す吸収性物品に更に仮止め部を形成した変形例を示す図である。 本発明の吸収性物品の別の実施形態を示す概略断面図であり、吸収性物品を長手方向中央部において幅方向(左右方向)に向かって切断した断面を示す図である。 本発明の吸収性物品の別の実施形態を示す概略断面図であり、図8Aに示す吸収性物品の仮止め部を一部剥離した状態を示す図である。 本発明の吸収性物品の別の実施形態を示す概略断面図であり、図8Aに示す吸収性物品の仮止め部を全て剥離した状態を示す図である。 本発明の吸収性物品の更に別の実施形態を示す概略断面図であり、図8Aに示す吸収性物品に更に仮止め部を形成した変形例を示す図である。
符号の説明
1A,1B,1C,1C’,1D,1D’,100A,100B,100C:吸収性物品、2:前身頃、4:股下部、6:後身頃、6a,6b:側縁、8:サイドフラップ、10:止着テープ、12:フロントパッチ、18:トップシート、18a:センターシート、18b:サイドシート、20:バックシート、22:吸収体、26,26A,26B,26C,26D:立体ギャザー、28:仮止め部、28a,28c:第1仮止め部、28b,28d:第2仮止め部、30,32,34:固着部、36:立体ギャザー伸縮材、40:脚周り伸縮材、42:ウエスト周り伸縮材、44:メカニカルファスナー、44a:フック材、44b:ループ材、50:ギャザーシート、52:軌跡、54:ポケット、58:尿取りパッド、60:大型パッド、70:固定部、72:ポケット、74:小型パッド、E1:自由端、L1,L2:起立線、S1,S2:表面。

Claims (6)

  1. 吸収体と、少なくとも一部が液透過性材料からなり、前記吸収体の表面を被覆するように配置されたトップシートと、液不透過性材料からなり、前記吸収体の裏面を被覆するように配置されたバックシートと、撥水性シートからなり、前記吸収体の両側に配置された一対の立体ギャザーとを備え、
    前記立体ギャザーの表面の一部が、熱エンボス加工又は超音波溶着により形成された複数の仮止め部によって、前記トップシートの表面及び前記立体ギャザー自体の表面のうちの少なくとも一つの表面に対して剥離可能に仮止めされ
    前記複数の仮止め部が、前記立体ギャザーの長さ方向に向かって、断続的に配置されており、
    前記仮止め部を剥離する数によって前記立体ギャザーと前記トップシートとの間に形成されるポケットの幅を段階的に調節可能とした吸収性物品。
  2. 前記複数の仮止め部は、前記立体ギャザーの前端側及び後端側に配置された仮止め部の剥離強度よりも、前記立体ギャザーの長手方向中央側に配置された仮止め部の剥離強度が低くなっている請求項に記載の吸収性物品。
  3. 前記立体ギャザーの表面の一部が、複数の仮止め部によって、前記トップシートの表面及び前記立体ギャザー自体の表面のうちの少なくとも一つの表面に対して仮止めされており、
    前記複数の仮止め部が、前記立体ギャザーの高さ方向に向かって、断続的に配置されている請求項1又は2に記載の吸収性物品。
  4. 前記複数の仮止め部は、前記立体ギャザーの固定端側に配置された仮止め部の剥離強度よりも、前記立体ギャザーの自由端側に配置された仮止め部の剥離強度が低くなっている請求項に記載の吸収性物品。
  5. 前記立体ギャザーの表面のうち、前記立体ギャザーの前端側及び後端側は仮止めされており、前記立体ギャザーの長手方向中央部は前記トップシートの表面に対して非固定の状態となっている請求項1〜のいずれか一項に記載の吸収性物品。
  6. 前記立体ギャザーの表面のうち、前記立体ギャザーの前端側及び後端側は仮止めされており、前記立体ギャザーの長手方向中央部は前記トップシートの表面に対して固着されている請求項1〜のいずれか一項に記載の吸収性物品。
JP2008053155A 2008-03-04 2008-03-04 吸収性物品 Expired - Fee Related JP4996507B2 (ja)

Priority Applications (1)

Application Number Priority Date Filing Date Title
JP2008053155A JP4996507B2 (ja) 2008-03-04 2008-03-04 吸収性物品

Applications Claiming Priority (1)

Application Number Priority Date Filing Date Title
JP2008053155A JP4996507B2 (ja) 2008-03-04 2008-03-04 吸収性物品

Publications (2)

Publication Number Publication Date
JP2009207660A JP2009207660A (ja) 2009-09-17
JP4996507B2 true JP4996507B2 (ja) 2012-08-08

Family

ID=41181406

Family Applications (1)

Application Number Title Priority Date Filing Date
JP2008053155A Expired - Fee Related JP4996507B2 (ja) 2008-03-04 2008-03-04 吸収性物品

Country Status (1)

Country Link
JP (1) JP4996507B2 (ja)

Families Citing this family (19)

* Cited by examiner, † Cited by third party
Publication number Priority date Publication date Assignee Title
JP5462047B2 (ja) * 2010-03-29 2014-04-02 大王製紙株式会社 吸収性物品
JP2012081065A (ja) * 2010-10-12 2012-04-26 Kao Corp 吸収性物品
JP5765986B2 (ja) * 2011-03-28 2015-08-19 大王製紙株式会社 使い捨ておむつ
JP5902900B2 (ja) * 2011-08-31 2016-04-13 大王製紙株式会社 吸収性物品
JP6193666B2 (ja) * 2013-07-26 2017-09-06 ユニ・チャーム株式会社 使い捨ておむつ
JP5946801B2 (ja) * 2013-07-26 2016-07-06 ユニ・チャーム株式会社 使い捨ておむつ
JP6208598B2 (ja) * 2014-02-27 2017-10-04 大王製紙株式会社 吸収性物品
JP5657162B1 (ja) * 2014-07-31 2015-01-21 ユニ・チャーム株式会社 吸収性物品
WO2015198929A1 (ja) * 2014-06-27 2015-12-30 ユニ・チャーム株式会社 吸収性物品
JP5960767B2 (ja) * 2014-09-26 2016-08-02 大王製紙株式会社 パンツタイプ使い捨ておむつ
JP6459866B2 (ja) * 2015-09-03 2019-01-30 王子ホールディングス株式会社 吸収性物品
JP7009143B2 (ja) * 2017-09-28 2022-01-25 大王製紙株式会社 使い捨て着用物品
JP7122849B2 (ja) * 2018-04-06 2022-08-22 ユニ・チャーム株式会社 衛生用品の製造方法及び衛生用品
WO2020089973A1 (ja) * 2018-10-29 2020-05-07 花王株式会社 吸収性物品
JP7340917B2 (ja) * 2018-10-31 2023-09-08 ユニ・チャーム株式会社 吸収性物品
US11696858B2 (en) 2019-05-15 2023-07-11 The Procter & Gamble Company Disposable absorbent article
JP6802407B1 (ja) * 2020-04-30 2020-12-16 ユニ・チャーム株式会社 吸収性物品
JP7797991B2 (ja) * 2021-12-17 2026-01-14 王子ホールディングス株式会社 吸収性物品
JP7812690B2 (ja) * 2022-02-28 2026-02-10 日本製紙クレシア株式会社 テープ止め型吸収性物品

Family Cites Families (5)

* Cited by examiner, † Cited by third party
Publication number Priority date Publication date Assignee Title
JPH01246402A (ja) * 1988-03-28 1989-10-02 Shuji Watanabe 使い捨ておむつ
JP3418279B2 (ja) * 1995-09-12 2003-06-16 ユニ・チャーム株式会社 使い捨ておむつ
EP1153588B2 (en) * 1999-11-30 2013-06-05 Toyo Eizai Kabushiki Kaisha Disposable diaper
JP2004298456A (ja) * 2003-03-31 2004-10-28 Daio Paper Corp 吸収性物品
JP5053588B2 (ja) * 2006-07-31 2012-10-17 大王製紙株式会社 吸収性物品

Also Published As

Publication number Publication date
JP2009207660A (ja) 2009-09-17

Similar Documents

Publication Publication Date Title
JP4996507B2 (ja) 吸収性物品
JP3987094B2 (ja) 使い捨ておむつ
JP4934610B2 (ja) 使い捨ておむつ
JP5281977B2 (ja) 吸収性物品
JP2007244506A (ja) パンツ型おむつ及び尿取りパッド
JP4481899B2 (ja) パンツ型使い捨ておむつ
JP5175702B2 (ja) 使い捨ておむつ
JP5097481B2 (ja) 伸縮性止着テープを備えたテープ型おむつ
JP4982195B2 (ja) テープ型おむつ
JP5524792B2 (ja) 吸収性物品及びその製造方法
JP2010012002A (ja) 使い捨ておむつ
JP2009056001A (ja) テープ型使い捨ておむつ
JP5313718B2 (ja) 使い捨ておむつ
JP5002217B2 (ja) パンツ型おむつ
JP5281882B2 (ja) テープ型使い捨ておむつ
JP5407341B2 (ja) 吸収性物品
JP4881910B2 (ja) 使い捨ておむつ
JP5369311B2 (ja) 止着テープ、止着テープの製造方法及びテープ型使い捨ておむつ
JP4951545B2 (ja) 吸収性物品
JP5238106B2 (ja) テープ型使い捨ておむつ
JP5237084B2 (ja) 吸収性物品
JP5021518B2 (ja) 吸収性物品
JP4608502B2 (ja) 使い捨ておむつ
JP4724628B2 (ja) 使い捨ておむつ
JP5053880B2 (ja) 吸収性物品

Legal Events

Date Code Title Description
A621 Written request for application examination

Free format text: JAPANESE INTERMEDIATE CODE: A621

Effective date: 20100810

A977 Report on retrieval

Free format text: JAPANESE INTERMEDIATE CODE: A971007

Effective date: 20111118

A131 Notification of reasons for refusal

Free format text: JAPANESE INTERMEDIATE CODE: A131

Effective date: 20111122

A521 Request for written amendment filed

Free format text: JAPANESE INTERMEDIATE CODE: A523

Effective date: 20120117

TRDD Decision of grant or rejection written
A01 Written decision to grant a patent or to grant a registration (utility model)

Free format text: JAPANESE INTERMEDIATE CODE: A01

Effective date: 20120508

A01 Written decision to grant a patent or to grant a registration (utility model)

Free format text: JAPANESE INTERMEDIATE CODE: A01

A61 First payment of annual fees (during grant procedure)

Free format text: JAPANESE INTERMEDIATE CODE: A61

Effective date: 20120511

FPAY Renewal fee payment (event date is renewal date of database)

Free format text: PAYMENT UNTIL: 20150518

Year of fee payment: 3

R150 Certificate of patent or registration of utility model

Free format text: JAPANESE INTERMEDIATE CODE: R150

Ref document number: 4996507

Country of ref document: JP

Free format text: JAPANESE INTERMEDIATE CODE: R150

FPAY Renewal fee payment (event date is renewal date of database)

Free format text: PAYMENT UNTIL: 20150518

Year of fee payment: 3

S111 Request for change of ownership or part of ownership

Free format text: JAPANESE INTERMEDIATE CODE: R313115

FPAY Renewal fee payment (event date is renewal date of database)

Free format text: PAYMENT UNTIL: 20150518

Year of fee payment: 3

R360 Written notification for declining of transfer of rights

Free format text: JAPANESE INTERMEDIATE CODE: R360

FPAY Renewal fee payment (event date is renewal date of database)

Free format text: PAYMENT UNTIL: 20150518

Year of fee payment: 3

R350 Written notification of registration of transfer

Free format text: JAPANESE INTERMEDIATE CODE: R350

R250 Receipt of annual fees

Free format text: JAPANESE INTERMEDIATE CODE: R250

R250 Receipt of annual fees

Free format text: JAPANESE INTERMEDIATE CODE: R250

R250 Receipt of annual fees

Free format text: JAPANESE INTERMEDIATE CODE: R250

R250 Receipt of annual fees

Free format text: JAPANESE INTERMEDIATE CODE: R250

R250 Receipt of annual fees

Free format text: JAPANESE INTERMEDIATE CODE: R250

R250 Receipt of annual fees

Free format text: JAPANESE INTERMEDIATE CODE: R250

R250 Receipt of annual fees

Free format text: JAPANESE INTERMEDIATE CODE: R250

LAPS Cancellation because of no payment of annual fees