JP4968895B2 - 悪路走行用空気入りタイヤ - Google Patents
悪路走行用空気入りタイヤ Download PDFInfo
- Publication number
- JP4968895B2 JP4968895B2 JP2006259137A JP2006259137A JP4968895B2 JP 4968895 B2 JP4968895 B2 JP 4968895B2 JP 2006259137 A JP2006259137 A JP 2006259137A JP 2006259137 A JP2006259137 A JP 2006259137A JP 4968895 B2 JP4968895 B2 JP 4968895B2
- Authority
- JP
- Japan
- Prior art keywords
- groove
- grooves
- tire
- vertical
- ridges
- Prior art date
- Legal status (The legal status is an assumption and is not a legal conclusion. Google has not performed a legal analysis and makes no representation as to the accuracy of the status listed.)
- Expired - Fee Related
Links
Images
Classifications
-
- B—PERFORMING OPERATIONS; TRANSPORTING
- B60—VEHICLES IN GENERAL
- B60C—VEHICLE TYRES; TYRE INFLATION; TYRE CHANGING; CONNECTING VALVES TO INFLATABLE ELASTIC BODIES IN GENERAL; DEVICES OR ARRANGEMENTS RELATED TO TYRES
- B60C11/00—Tyre tread bands; Tread patterns; Anti-skid inserts
- B60C11/03—Tread patterns
- B60C11/13—Tread patterns characterised by the groove cross-section, e.g. for buttressing or preventing stone-trapping
-
- B—PERFORMING OPERATIONS; TRANSPORTING
- B60—VEHICLES IN GENERAL
- B60C—VEHICLE TYRES; TYRE INFLATION; TYRE CHANGING; CONNECTING VALVES TO INFLATABLE ELASTIC BODIES IN GENERAL; DEVICES OR ARRANGEMENTS RELATED TO TYRES
- B60C11/00—Tyre tread bands; Tread patterns; Anti-skid inserts
- B60C11/03—Tread patterns
- B60C11/0311—Patterns comprising tread lugs arranged parallel or oblique to the axis of rotation
-
- B—PERFORMING OPERATIONS; TRANSPORTING
- B60—VEHICLES IN GENERAL
- B60C—VEHICLE TYRES; TYRE INFLATION; TYRE CHANGING; CONNECTING VALVES TO INFLATABLE ELASTIC BODIES IN GENERAL; DEVICES OR ARRANGEMENTS RELATED TO TYRES
- B60C11/00—Tyre tread bands; Tread patterns; Anti-skid inserts
- B60C11/03—Tread patterns
- B60C11/04—Tread patterns in which the raised area of the pattern consists only of continuous circumferential ribs, e.g. zig-zag
- B60C11/042—Tread patterns in which the raised area of the pattern consists only of continuous circumferential ribs, e.g. zig-zag further characterised by the groove cross-section
- B60C11/047—Tread patterns in which the raised area of the pattern consists only of continuous circumferential ribs, e.g. zig-zag further characterised by the groove cross-section the groove bottom comprising stone trapping protection elements, e.g. ribs
-
- B—PERFORMING OPERATIONS; TRANSPORTING
- B60—VEHICLES IN GENERAL
- B60C—VEHICLE TYRES; TYRE INFLATION; TYRE CHANGING; CONNECTING VALVES TO INFLATABLE ELASTIC BODIES IN GENERAL; DEVICES OR ARRANGEMENTS RELATED TO TYRES
- B60C2200/00—Tyres specially adapted for particular applications
- B60C2200/14—Tyres specially adapted for particular applications for off-road use
-
- Y—GENERAL TAGGING OF NEW TECHNOLOGICAL DEVELOPMENTS; GENERAL TAGGING OF CROSS-SECTIONAL TECHNOLOGIES SPANNING OVER SEVERAL SECTIONS OF THE IPC; TECHNICAL SUBJECTS COVERED BY FORMER USPC CROSS-REFERENCE ART COLLECTIONS [XRACs] AND DIGESTS
- Y10—TECHNICAL SUBJECTS COVERED BY FORMER USPC
- Y10S—TECHNICAL SUBJECTS COVERED BY FORMER USPC CROSS-REFERENCE ART COLLECTIONS [XRACs] AND DIGESTS
- Y10S152/00—Resilient tires and wheels
- Y10S152/01—Pebble ejectors
-
- Y—GENERAL TAGGING OF NEW TECHNOLOGICAL DEVELOPMENTS; GENERAL TAGGING OF CROSS-SECTIONAL TECHNOLOGIES SPANNING OVER SEVERAL SECTIONS OF THE IPC; TECHNICAL SUBJECTS COVERED BY FORMER USPC CROSS-REFERENCE ART COLLECTIONS [XRACs] AND DIGESTS
- Y10—TECHNICAL SUBJECTS COVERED BY FORMER USPC
- Y10S—TECHNICAL SUBJECTS COVERED BY FORMER USPC CROSS-REFERENCE ART COLLECTIONS [XRACs] AND DIGESTS
- Y10S152/00—Resilient tires and wheels
- Y10S152/902—Non-directional tread pattern having no circumferential rib and having blocks defined by circumferential grooves and transverse grooves
Landscapes
- Engineering & Computer Science (AREA)
- Mechanical Engineering (AREA)
- Tires In General (AREA)
Description
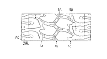
即ち、本発明の悪路走行用空気入りタイヤは、タイヤ周方向に沿って延びる少なくとも3本の縦溝とその縦溝に交差する横溝とによって複数のブロックを形成したトレッドパターンを備える悪路走行用空気入りタイヤにおいて、前記3本の縦溝の間に配される横溝と、最も中央側に配される縦溝とは、対向する溝壁面の各々に段部を形成してあると共に、それらの溝底の全体には、略同じ高さで連続する凸条を設けてあり、両側の縦溝の溝底にも凸条を設けることによって、前記ブロックの周囲に略同じ高さで連続する凸条を設けてあり、前記縦溝の溝深さと前記横溝の溝深さが、それぞれ8〜17mmに設定され、前記凸条の高さが2.0mm以上で前記縦溝又は前記横溝の溝深さの65%以下であり、前記凸条の上面の幅が2.0mm以上で前記縦溝又は前記横溝の溝幅の50%以下であり、前記凸条は、上面が平坦面又は円弧面で形成された台形状の断面形状を有することを特徴とする。
タイヤをリム組みして、空気圧240kPaを充填し、実車(ピックアップトラック、4WD、5600cc)に装着し、2名乗車の荷重条件にて、悪路コース(主に石、砂、土からなる路面)を走行させ、5000km走行したときの溝底のカット傷の数を調べて、耐パンク性を評価した。なお、評価は従来品(比較例1)を100としたときの指数表示で示し、数値が大きいほど良好な結果を示す。
タイヤを予めバフ加工によって、70%摩耗させた後、上記(1)と同じ条件で悪路コースを走行させ、周回ラップを計測して、トラクション性を評価した。なお、評価は従来品(比較例1)を100としたときの指数表示で示し、数値が大きいほど良好な結果を示す。
図1及び図2に示すトレッドパターンにおいて、縦溝1及び溝幅2の深さDAを12.5mm、溝幅WAを14mm、段部の高さHAを2mm、凸条5の幅WBを3mm、高さDBを4mm、間隔WCを1.5mmに設定して、サイズ35×12.50R15LTのラジアルタイヤを製造した。このタイヤを用いて、上記の各性能評価を行った結果を表1に示す。
参考例1において、図3に示すように、同じ形状・サイズの凸条5cを更に設けたこと以外は、参考例1と同様にしてラジアルタイヤを製造した。このタイヤを用いて、上記の各性能評価を行った結果を表1に示す。
参考例1において、図4に示すように、同じ形状・サイズの凸条5c及び5dを更に設けたこと以外は、参考例1と同様にしてラジアルタイヤを製造した。このタイヤを用いて、上記の各性能評価を行った結果を表1に示す。
参考例1において、図6に示すように、不連続な凸条5A,5B(断面形状は同じ)を縦溝と横溝とに形成したこと以外は、参考例1と同様にしてラジアルタイヤを製造した。このタイヤを用いて、上記の各性能評価を行った結果を表1に示す。
参考例1において、図7に示すように、不連続な凸条5A,5B,5C(断面形状は同じ)を縦溝と横溝とに形成したこと以外は、参考例1と同様にしてラジアルタイヤを製造した。このタイヤを用いて、上記の各性能評価を行った結果を表1に示す。
2 横溝
2a 横溝の溝壁面
5 凸条
7 横溝
10 ブロック
SP 段部
PD タイヤ周方向
WD タイヤ幅方向
Claims (2)
- タイヤ周方向に沿って延びる少なくとも3本の縦溝とその縦溝に交差する横溝とによって複数のブロックを形成したトレッドパターンを備える悪路走行用空気入りタイヤにおいて、
前記3本の縦溝の間に配される横溝と、最も中央側に配される縦溝とは、対向する溝壁面の各々に段部を形成してあると共に、それらの溝底の全体には、略同じ高さで連続する凸条を設けてあり、
両側の縦溝の溝底にも凸条を設けることによって、前記ブロックの周囲に略同じ高さで連続する凸条を設けてあり、
前記縦溝の溝深さと前記横溝の溝深さが、それぞれ8〜17mmに設定され、前記凸条の高さが2.0mm以上で前記縦溝又は前記横溝の溝深さの65%以下であり、前記凸条の上面の幅が2.0mm以上で前記縦溝又は前記横溝の溝幅の50%以下であり、前記凸条は、上面が平坦面又は円弧面で形成された台形状の断面形状を有することを特徴とする悪路走行用空気入りタイヤ。 - 前記両側の縦溝と交差する横溝が更にタイヤ外側に延設されると共に、その延設された横溝にも段部を形成した溝壁面を有すると共に、それらの溝底に略同じ高さで連続する凸条を設けてある請求項1に記載の悪路走行用空気入りタイヤ。
Priority Applications (3)
| Application Number | Priority Date | Filing Date | Title |
|---|---|---|---|
| JP2006259137A JP4968895B2 (ja) | 2006-09-25 | 2006-09-25 | 悪路走行用空気入りタイヤ |
| CNA2007101461630A CN101152824A (zh) | 2006-09-25 | 2007-08-23 | 恶劣道路行驶用充气轮胎 |
| US11/854,624 US7921891B2 (en) | 2006-09-25 | 2007-09-13 | Pneumatic tire for traveling on off road |
Applications Claiming Priority (1)
| Application Number | Priority Date | Filing Date | Title |
|---|---|---|---|
| JP2006259137A JP4968895B2 (ja) | 2006-09-25 | 2006-09-25 | 悪路走行用空気入りタイヤ |
Publications (2)
| Publication Number | Publication Date |
|---|---|
| JP2008074346A JP2008074346A (ja) | 2008-04-03 |
| JP4968895B2 true JP4968895B2 (ja) | 2012-07-04 |
Family
ID=39223659
Family Applications (1)
| Application Number | Title | Priority Date | Filing Date |
|---|---|---|---|
| JP2006259137A Expired - Fee Related JP4968895B2 (ja) | 2006-09-25 | 2006-09-25 | 悪路走行用空気入りタイヤ |
Country Status (3)
| Country | Link |
|---|---|
| US (1) | US7921891B2 (ja) |
| JP (1) | JP4968895B2 (ja) |
| CN (1) | CN101152824A (ja) |
Families Citing this family (29)
| Publication number | Priority date | Publication date | Assignee | Title |
|---|---|---|---|---|
| JP5278127B2 (ja) * | 2008-06-02 | 2013-09-04 | 横浜ゴム株式会社 | 空気入りタイヤ |
| JP4613995B2 (ja) | 2008-10-31 | 2011-01-19 | 横浜ゴム株式会社 | 空気入りタイヤ |
| JP5298787B2 (ja) * | 2008-11-12 | 2013-09-25 | 横浜ゴム株式会社 | 空気入りタイヤ |
| DE102009026384A1 (de) * | 2009-08-17 | 2011-02-24 | Continental Reifen Deutschland Gmbh | Fahrzeugluftreifen |
| BR112013014269B8 (pt) * | 2010-12-23 | 2021-10-05 | Pirelli | Pneu |
| US20120247631A1 (en) * | 2011-03-29 | 2012-10-04 | Timothy Michael Rooney | Traction tire tread for off-road vehicle |
| US8689843B2 (en) * | 2011-12-14 | 2014-04-08 | Bridgestone Americas Tire Operations, Llc | Snow performance peaks |
| US8905097B2 (en) | 2012-02-01 | 2014-12-09 | Bridgestone Americas Tire Operations, Llc | Agricultural tire tread |
| CN102582370A (zh) * | 2012-02-09 | 2012-07-18 | 北京化工大学 | 一种带有凹齿的轮胎 |
| JP6242294B2 (ja) * | 2013-06-10 | 2017-12-06 | 東洋ゴム工業株式会社 | 空気入りタイヤ |
| JP5577430B1 (ja) * | 2013-06-11 | 2014-08-20 | 株式会社ブリヂストン | 空気入りタイヤ |
| JP6010576B2 (ja) * | 2014-04-14 | 2016-10-19 | 住友ゴム工業株式会社 | 空気入りタイヤ |
| JP5750541B1 (ja) * | 2014-11-11 | 2015-07-22 | 東洋ゴム工業株式会社 | 空気入りタイヤ |
| CN104390218A (zh) * | 2014-12-12 | 2015-03-04 | 华西能源工业股份有限公司 | 一种适用于cfb垃圾焚烧锅炉的等压风室 |
| JP6603471B2 (ja) * | 2015-04-10 | 2019-11-06 | 株式会社ブリヂストン | タイヤ |
| WO2016194287A1 (ja) | 2015-06-03 | 2016-12-08 | 株式会社ブリヂストン | 空気入りタイヤ |
| DE102015212462A1 (de) * | 2015-07-03 | 2017-01-05 | Continental Reifen Deutschland Gmbh | Fahrzeugluftreifen |
| CN105172479A (zh) * | 2015-09-18 | 2015-12-23 | 安徽佳通乘用子午线轮胎有限公司 | 具有越野综合性能的轮胎 |
| JP6763705B2 (ja) * | 2016-06-30 | 2020-09-30 | Toyo Tire株式会社 | 空気入りタイヤ |
| WO2018044292A1 (en) * | 2016-08-31 | 2018-03-08 | Compagnie Generale Des Establissements Michelin | Heavy truck tire tread and heavy truck tire |
| JP6361763B1 (ja) * | 2017-03-06 | 2018-07-25 | 横浜ゴム株式会社 | 空気入りタイヤ |
| WO2019088987A1 (en) * | 2017-10-31 | 2019-05-09 | Compagnie Generale Des Etablissements Michelin | Tread for a heavy truck tire |
| JP7140652B2 (ja) * | 2018-11-28 | 2022-09-21 | Toyo Tire株式会社 | 空気入りタイヤ、タイヤ加硫金型、及び空気入りタイヤの製造方法 |
| CN109515070B (zh) * | 2018-11-29 | 2024-06-11 | 厦门正新橡胶工业有限公司 | 公路和越野路面两用的轮胎胎面结构 |
| JP7177009B2 (ja) | 2019-06-14 | 2022-11-22 | 株式会社ブリヂストン | 空気入りタイヤ |
| CN112606630B (zh) * | 2021-01-07 | 2024-08-20 | 厦门正新橡胶工业有限公司 | 越野竞技用充气轮胎胎面花纹结构 |
| JP7747486B2 (ja) * | 2021-10-22 | 2025-10-01 | Toyo Tire株式会社 | タイヤ |
| JP7774426B2 (ja) * | 2021-11-19 | 2025-11-21 | Toyo Tire株式会社 | 空気入りタイヤ |
| CN115284789B (zh) * | 2022-07-11 | 2025-11-25 | 风神轮胎股份有限公司 | 一种适用于矿山复杂路面的轮胎花纹 |
Family Cites Families (18)
| Publication number | Priority date | Publication date | Assignee | Title |
|---|---|---|---|---|
| FR2076641A5 (ja) * | 1970-01-21 | 1971-10-15 | Michelin & Cie | |
| JPS5889404U (ja) * | 1981-12-14 | 1983-06-17 | 横浜ゴム株式会社 | ラリ−用ラジアルタイヤ |
| JPH0659765B2 (ja) * | 1984-09-03 | 1994-08-10 | 住友ゴム工業株式会社 | 重車両用タイヤ |
| JPS63297108A (ja) * | 1987-05-28 | 1988-12-05 | Sumitomo Rubber Ind Ltd | 重車両用空気入りタイヤ |
| JPH02115003U (ja) * | 1989-03-03 | 1990-09-14 | ||
| JPH03262709A (ja) * | 1990-03-13 | 1991-11-22 | Toyo Tire & Rubber Co Ltd | 空気入りラジアルタイヤ |
| US5456301A (en) * | 1991-07-30 | 1995-10-10 | Uniroyal Goodrich Licensing Services, Inc. | Tire tread with improved resistance to chunking |
| JPH06328911A (ja) * | 1993-05-25 | 1994-11-29 | Bridgestone Corp | 建設車両用空気入りタイヤ |
| US5957180A (en) * | 1996-03-05 | 1999-09-28 | The Yokohama Rubber Co., Ltd. | Pneumatic tire including kerfs |
| JP3150618B2 (ja) * | 1996-07-19 | 2001-03-26 | 住友ゴム工業株式会社 | 空気入りタイヤ |
| JP3649315B2 (ja) | 1998-07-29 | 2005-05-18 | 株式会社ブリヂストン | 空気入りタイヤ |
| JP2001121926A (ja) * | 1999-10-25 | 2001-05-08 | Bridgestone Corp | 空気入りタイヤ |
| US6866076B2 (en) * | 2000-02-07 | 2005-03-15 | Bridgestone Corporation | Tire having longitudinally extending smaller grooves formed in the walls of a groove |
| US6401774B1 (en) * | 2000-06-22 | 2002-06-11 | The Goodyear Tire & Rubber Company | Off-road tire having puncture preventing pads |
| JP4353508B2 (ja) * | 2003-08-20 | 2009-10-28 | 横浜ゴム株式会社 | 氷雪路用空気入りタイヤ |
| JP2005067246A (ja) * | 2003-08-26 | 2005-03-17 | Sumitomo Rubber Ind Ltd | 重荷重用タイヤ |
| KR100613809B1 (ko) | 2004-06-23 | 2006-08-21 | 한국타이어 주식회사 | 공기입 타이어 |
| JP4602782B2 (ja) | 2005-02-03 | 2010-12-22 | 株式会社ブリヂストン | 重荷重用空気入りタイヤ |
-
2006
- 2006-09-25 JP JP2006259137A patent/JP4968895B2/ja not_active Expired - Fee Related
-
2007
- 2007-08-23 CN CNA2007101461630A patent/CN101152824A/zh active Pending
- 2007-09-13 US US11/854,624 patent/US7921891B2/en not_active Expired - Fee Related
Also Published As
| Publication number | Publication date |
|---|---|
| CN101152824A (zh) | 2008-04-02 |
| US20080073012A1 (en) | 2008-03-27 |
| US7921891B2 (en) | 2011-04-12 |
| JP2008074346A (ja) | 2008-04-03 |
Similar Documents
| Publication | Publication Date | Title |
|---|---|---|
| JP4968895B2 (ja) | 悪路走行用空気入りタイヤ | |
| JP5044289B2 (ja) | 空気入りタイヤ | |
| JP3682918B2 (ja) | 空気入りタイヤ | |
| JP4711373B2 (ja) | 空気入りタイヤ | |
| CN203793050U (zh) | 充气轮胎 | |
| JP6682386B2 (ja) | 空気入りタイヤ | |
| JP3516647B2 (ja) | 空気入りタイヤ | |
| JP2005271792A (ja) | 空気入りタイヤ | |
| CN103140360A (zh) | 充气轮胎 | |
| JP6194885B2 (ja) | 空気入りタイヤ | |
| JP6763705B2 (ja) | 空気入りタイヤ | |
| JP2015016853A (ja) | 空気入りタイヤ | |
| JP4942167B2 (ja) | 空気入りタイヤ | |
| CN107554203B (zh) | 充气轮胎 | |
| JP5506530B2 (ja) | 空気入りタイヤ | |
| JP4381869B2 (ja) | 空気入りタイヤ | |
| JP2008290521A (ja) | 空気入りタイヤ | |
| JP2003226116A (ja) | 空気入りタイヤ | |
| JP6781578B2 (ja) | 空気入りタイヤ | |
| JP2008308013A (ja) | 空気入りタイヤ | |
| CN102036838A (zh) | 重载车辆轮胎 | |
| JP4919258B2 (ja) | 空気入りタイヤ | |
| JP2019104416A (ja) | 空気入りタイヤ | |
| JP5455778B2 (ja) | 空気入りタイヤ | |
| JP4414726B2 (ja) | 空気入りタイヤ |
Legal Events
| Date | Code | Title | Description |
|---|---|---|---|
| A621 | Written request for application examination |
Free format text: JAPANESE INTERMEDIATE CODE: A621 Effective date: 20090428 |
|
| A977 | Report on retrieval |
Free format text: JAPANESE INTERMEDIATE CODE: A971007 Effective date: 20110817 |
|
| A131 | Notification of reasons for refusal |
Free format text: JAPANESE INTERMEDIATE CODE: A131 Effective date: 20110823 |
|
| A521 | Request for written amendment filed |
Free format text: JAPANESE INTERMEDIATE CODE: A523 Effective date: 20110929 |
|
| RD03 | Notification of appointment of power of attorney |
Free format text: JAPANESE INTERMEDIATE CODE: A7423 Effective date: 20110929 |
|
| TRDD | Decision of grant or rejection written | ||
| A01 | Written decision to grant a patent or to grant a registration (utility model) |
Free format text: JAPANESE INTERMEDIATE CODE: A01 Effective date: 20120329 |
|
| A01 | Written decision to grant a patent or to grant a registration (utility model) |
Free format text: JAPANESE INTERMEDIATE CODE: A01 |
|
| A61 | First payment of annual fees (during grant procedure) |
Free format text: JAPANESE INTERMEDIATE CODE: A61 Effective date: 20120402 |
|
| FPAY | Renewal fee payment (event date is renewal date of database) |
Free format text: PAYMENT UNTIL: 20150413 Year of fee payment: 3 |
|
| R150 | Certificate of patent or registration of utility model |
Ref document number: 4968895 Country of ref document: JP Free format text: JAPANESE INTERMEDIATE CODE: R150 Free format text: JAPANESE INTERMEDIATE CODE: R150 |
|
| R250 | Receipt of annual fees |
Free format text: JAPANESE INTERMEDIATE CODE: R250 |
|
| S531 | Written request for registration of change of domicile |
Free format text: JAPANESE INTERMEDIATE CODE: R313531 |
|
| R350 | Written notification of registration of transfer |
Free format text: JAPANESE INTERMEDIATE CODE: R350 |
|
| R250 | Receipt of annual fees |
Free format text: JAPANESE INTERMEDIATE CODE: R250 |
|
| S533 | Written request for registration of change of name |
Free format text: JAPANESE INTERMEDIATE CODE: R313533 |
|
| R350 | Written notification of registration of transfer |
Free format text: JAPANESE INTERMEDIATE CODE: R350 |
|
| R250 | Receipt of annual fees |
Free format text: JAPANESE INTERMEDIATE CODE: R250 |
|
| R250 | Receipt of annual fees |
Free format text: JAPANESE INTERMEDIATE CODE: R250 |
|
| R250 | Receipt of annual fees |
Free format text: JAPANESE INTERMEDIATE CODE: R250 |
|
| LAPS | Cancellation because of no payment of annual fees |
