JP4906331B2 - シートプラズマ成膜装置 - Google Patents

シートプラズマ成膜装置 Download PDF

Info

Publication number
JP4906331B2
JP4906331B2 JP2005351576A JP2005351576A JP4906331B2 JP 4906331 B2 JP4906331 B2 JP 4906331B2 JP 2005351576 A JP2005351576 A JP 2005351576A JP 2005351576 A JP2005351576 A JP 2005351576A JP 4906331 B2 JP4906331 B2 JP 4906331B2
Authority
JP
Japan
Prior art keywords
plasma
sheet
target
magnetic field
space
Prior art date
Legal status (The legal status is an assumption and is not a legal conclusion. Google has not performed a legal analysis and makes no representation as to the accuracy of the status listed.)
Expired - Fee Related
Application number
JP2005351576A
Other languages
English (en)
Other versions
JP2007154265A (ja
Inventor
正雄 丸中
貴之 土屋
厚広 寺倉
清 武内
Current Assignee (The listed assignees may be inaccurate. Google has not performed a legal analysis and makes no representation or warranty as to the accuracy of the list.)
Shinmaywa Industries Ltd
Original Assignee
Shinmaywa Industries Ltd
Priority date (The priority date is an assumption and is not a legal conclusion. Google has not performed a legal analysis and makes no representation as to the accuracy of the date listed.)
Filing date
Publication date
Priority to JP2005351576A priority Critical patent/JP4906331B2/ja
Application filed by Shinmaywa Industries Ltd filed Critical Shinmaywa Industries Ltd
Priority to CNA2006800452375A priority patent/CN101321889A/zh
Priority to KR1020087011193A priority patent/KR20080056767A/ko
Priority to EP06833564A priority patent/EP1972700A4/en
Priority to US12/096,538 priority patent/US20090314206A1/en
Priority to PCT/JP2006/323760 priority patent/WO2007066548A1/ja
Priority to TW095144605A priority patent/TW200745359A/zh
Publication of JP2007154265A publication Critical patent/JP2007154265A/ja
Application granted granted Critical
Publication of JP4906331B2 publication Critical patent/JP4906331B2/ja
Anticipated expiration legal-status Critical
Expired - Fee Related legal-status Critical Current

Links

Images

Classifications

    • CCHEMISTRY; METALLURGY
    • C23COATING METALLIC MATERIAL; COATING MATERIAL WITH METALLIC MATERIAL; CHEMICAL SURFACE TREATMENT; DIFFUSION TREATMENT OF METALLIC MATERIAL; COATING BY VACUUM EVAPORATION, BY SPUTTERING, BY ION IMPLANTATION OR BY CHEMICAL VAPOUR DEPOSITION, IN GENERAL; INHIBITING CORROSION OF METALLIC MATERIAL OR INCRUSTATION IN GENERAL
    • C23CCOATING METALLIC MATERIAL; COATING MATERIAL WITH METALLIC MATERIAL; SURFACE TREATMENT OF METALLIC MATERIAL BY DIFFUSION INTO THE SURFACE, BY CHEMICAL CONVERSION OR SUBSTITUTION; COATING BY VACUUM EVAPORATION, BY SPUTTERING, BY ION IMPLANTATION OR BY CHEMICAL VAPOUR DEPOSITION, IN GENERAL
    • C23C14/00Coating by vacuum evaporation, by sputtering or by ion implantation of the coating forming material
    • C23C14/22Coating by vacuum evaporation, by sputtering or by ion implantation of the coating forming material characterised by the process of coating
    • C23C14/34Sputtering
    • C23C14/35Sputtering by application of a magnetic field, e.g. magnetron sputtering
    • CCHEMISTRY; METALLURGY
    • C23COATING METALLIC MATERIAL; COATING MATERIAL WITH METALLIC MATERIAL; CHEMICAL SURFACE TREATMENT; DIFFUSION TREATMENT OF METALLIC MATERIAL; COATING BY VACUUM EVAPORATION, BY SPUTTERING, BY ION IMPLANTATION OR BY CHEMICAL VAPOUR DEPOSITION, IN GENERAL; INHIBITING CORROSION OF METALLIC MATERIAL OR INCRUSTATION IN GENERAL
    • C23CCOATING METALLIC MATERIAL; COATING MATERIAL WITH METALLIC MATERIAL; SURFACE TREATMENT OF METALLIC MATERIAL BY DIFFUSION INTO THE SURFACE, BY CHEMICAL CONVERSION OR SUBSTITUTION; COATING BY VACUUM EVAPORATION, BY SPUTTERING, BY ION IMPLANTATION OR BY CHEMICAL VAPOUR DEPOSITION, IN GENERAL
    • C23C14/00Coating by vacuum evaporation, by sputtering or by ion implantation of the coating forming material
    • C23C14/04Coating on selected surface areas, e.g. using masks
    • C23C14/046Coating cavities or hollow spaces, e.g. interior of tubes; Infiltration of porous substrates
    • HELECTRICITY
    • H01ELECTRIC ELEMENTS
    • H01JELECTRIC DISCHARGE TUBES OR DISCHARGE LAMPS
    • H01J37/00Discharge tubes with provision for introducing objects or material to be exposed to the discharge, e.g. for the purpose of examination or processing thereof
    • H01J37/32Gas-filled discharge tubes
    • H01J37/32009Arrangements for generation of plasma specially adapted for examination or treatment of objects, e.g. plasma sources
    • HELECTRICITY
    • H01ELECTRIC ELEMENTS
    • H01JELECTRIC DISCHARGE TUBES OR DISCHARGE LAMPS
    • H01J37/00Discharge tubes with provision for introducing objects or material to be exposed to the discharge, e.g. for the purpose of examination or processing thereof
    • H01J37/32Gas-filled discharge tubes
    • H01J37/32431Constructional details of the reactor
    • H01J37/3266Magnetic control means
    • HELECTRICITY
    • H01ELECTRIC ELEMENTS
    • H01JELECTRIC DISCHARGE TUBES OR DISCHARGE LAMPS
    • H01J37/00Discharge tubes with provision for introducing objects or material to be exposed to the discharge, e.g. for the purpose of examination or processing thereof
    • H01J37/32Gas-filled discharge tubes
    • H01J37/34Gas-filled discharge tubes operating with cathodic sputtering
    • H01J37/3402Gas-filled discharge tubes operating with cathodic sputtering using supplementary magnetic fields
    • H01J37/3405Magnetron sputtering
    • HELECTRICITY
    • H01ELECTRIC ELEMENTS
    • H01LSEMICONDUCTOR DEVICES NOT COVERED BY CLASS H10
    • H01L21/00Processes or apparatus adapted for the manufacture or treatment of semiconductor or solid state devices or of parts thereof
    • H01L21/02Manufacture or treatment of semiconductor devices or of parts thereof
    • H01L21/04Manufacture or treatment of semiconductor devices or of parts thereof the devices having potential barriers, e.g. a PN junction, depletion layer or carrier concentration layer
    • H01L21/18Manufacture or treatment of semiconductor devices or of parts thereof the devices having potential barriers, e.g. a PN junction, depletion layer or carrier concentration layer the devices having semiconductor bodies comprising elements of Group IV of the Periodic Table or AIIIBV compounds with or without impurities, e.g. doping materials
    • H01L21/28Manufacture of electrodes on semiconductor bodies using processes or apparatus not provided for in groups H01L21/20 - H01L21/268
    • H01L21/283Deposition of conductive or insulating materials for electrodes conducting electric current
    • H01L21/285Deposition of conductive or insulating materials for electrodes conducting electric current from a gas or vapour, e.g. condensation
    • H01L21/28506Deposition of conductive or insulating materials for electrodes conducting electric current from a gas or vapour, e.g. condensation of conductive layers
    • H01L21/28512Deposition of conductive or insulating materials for electrodes conducting electric current from a gas or vapour, e.g. condensation of conductive layers on semiconductor bodies comprising elements of Group IV of the Periodic Table
    • H01L21/2855Deposition of conductive or insulating materials for electrodes conducting electric current from a gas or vapour, e.g. condensation of conductive layers on semiconductor bodies comprising elements of Group IV of the Periodic Table by physical means, e.g. sputtering, evaporation
    • HELECTRICITY
    • H01ELECTRIC ELEMENTS
    • H01LSEMICONDUCTOR DEVICES NOT COVERED BY CLASS H10
    • H01L21/00Processes or apparatus adapted for the manufacture or treatment of semiconductor or solid state devices or of parts thereof
    • H01L21/70Manufacture or treatment of devices consisting of a plurality of solid state components formed in or on a common substrate or of parts thereof; Manufacture of integrated circuit devices or of parts thereof
    • H01L21/71Manufacture of specific parts of devices defined in group H01L21/70
    • H01L21/768Applying interconnections to be used for carrying current between separate components within a device comprising conductors and dielectrics
    • H01L21/76838Applying interconnections to be used for carrying current between separate components within a device comprising conductors and dielectrics characterised by the formation and the after-treatment of the conductors
    • H01L21/76877Filling of holes, grooves or trenches, e.g. vias, with conductive material

Landscapes

  • Engineering & Computer Science (AREA)
  • Chemical & Material Sciences (AREA)
  • Physics & Mathematics (AREA)
  • Analytical Chemistry (AREA)
  • Plasma & Fusion (AREA)
  • Computer Hardware Design (AREA)
  • Materials Engineering (AREA)
  • Power Engineering (AREA)
  • Manufacturing & Machinery (AREA)
  • General Physics & Mathematics (AREA)
  • Condensed Matter Physics & Semiconductors (AREA)
  • Chemical Kinetics & Catalysis (AREA)
  • Microelectronics & Electronic Packaging (AREA)
  • Mechanical Engineering (AREA)
  • Metallurgy (AREA)
  • Organic Chemistry (AREA)
  • Physical Vapour Deposition (AREA)
  • Electrodes Of Semiconductors (AREA)
  • Plasma Technology (AREA)
  • Electrochromic Elements, Electrophoresis, Or Variable Reflection Or Absorption Elements (AREA)

Description

本発明は、シートプラズマ成膜装置に係り、更に詳しくは、シート状プラズマ中の荷電粒子のターゲット衝突による真空スパッタリング技術の改良に関する。
円柱状のプラズマを、同じ磁極(例えばN極)同士を互いに対向させて強力な反発磁界を発生するような永久磁石の対で挟み込み、これにより、均一かつ高密度のシート状プラズマを形成できることが知られている(特許文献1参照)。
また、このようなシート状プラズマをターゲットと基板との間の成膜空間に導いて、これにより、シート状プラズマ中の荷電粒子(正イオン)を用いたスパッタリングによりターゲット材料(スパッタ粒子)を叩き出した後に、当該スパッタ粒子をシート状プラズマに通して電離させ基板表面に飛散、堆積させるといった、スパッタリング技術が既に開発されている(特許文献2参照)。
特公平4−23400号公報 特開2005−179767号公報
本件発明者等は、半導体デバイスの微細化や高速化に対応して、上記シート状プラズマ技術を応用することにより、既存技術では到達困難であった高品質の金属(例えば銅)の配線膜を基板上の配線溝に形成するという真空成膜技術の開発に取り組んでいる。
このような開発の過程において、シート状プラズマを、真空成膜室内を跨ぐよう、移動させる間に、その移動経路として、例えば上記特許文献2に記載のシートプラズマ技術をそのまま適用したのでは、成膜粒子(例えばCuスパッタ粒子)による基板上の配線溝の入口が閉塞されるという問題が顕在化した。
本発明は、このような事情に鑑みてなされたものであり、シート状プラズマ技術の採用に際して、基板上の配線溝に形成した配線膜の膜特性を改善可能なシートプラズマ成膜装置を提供することを目的とする。
ところで、本件発明者等による鋭意検討の結果、シート状プラズマを磁界により凸状に偏倚させることにより、上記課題に適切に対処可能であるという知見が得られた。
例えば、微細な配線パターンの各配線溝へのスパッタリングによる銅配線形成を想定した場合、シート状プラズマをその主面から湾曲させることにより、シート状プラズマ中の荷電粒子(正イオン)によって叩き出されたCu粒子は、上記特許文献2に記載のシート状プラズマ技術に比べて、Cu粒子による配線溝の入口閉塞を改善しつつ、Cu粒子の配線溝内部への適正な埋め込みが図れるよう、望ましい方向に揃って、配線溝に到達することが次第に分かってきた。
よって、本発明に係るシートプラズマ成膜装置は、プラズマの輸送方向の中心に対して略等密度分布するソースプラズマを放電により形成して、前記ソースプラズマを前記輸送方向に向けて放出可能なプラズマガンと、前記輸送方向に延びた輸送空間を有するシートプラズマ変形室と、互いに同極同士を向き合わせて、前記輸送空間を挟むように配置される第1の磁界発生手段の対と、前記輸送空間に連通した成膜空間を有する成膜室と、互いに異極同士を向き合わせて、前記成膜空間を挟むように配置される第2の磁界発生手段の対と、を備えて構成され、前記ソースプラズマは、前記輸送空間を移動する間に、前記第1の磁界発生手段の対の磁界により前記中心を含む主面に沿ってシート状に拡がり、前記シート状のプラズマは、前記成膜空間を移動する間に、前記第2の磁界発生手段の対の磁界により前記主面から凸状に偏倚する装置であって、ターゲットを装着するターゲットホルダと、前記シート状のプラズマ中の荷電粒子により叩き出された前記ターゲットの材料を堆積する基板を装着する基板ホルダと、を更に備え、前記ターゲットおよび前記基板は、前記シート状のプラズマの厚み方向に間隔を隔て、かつ前記シート状のプラズマを挟むようにして、前記成膜空間内に互いに対向して配置され、前記シート状のプラズマは、前記主面からターゲットに向かうよう、前記シート状のプラズマの厚み方向に突出した湾曲部を有する装置である。
このようなシートプラズマ成膜装置の構成によれば、シートプラズマをその主面から磁界に基づき凸状に偏倚させたことにより、装置の成膜特性の改善が図れる。例えば、配線溝へのスパッタリングによるスパッタ粒子の堆積に際して、スパッタ粒子の指向性を改善して、基板の配線溝へのスパッタ粒子の適正な埋め込み効果やスパッタ粒子による配線溝閉塞の改善効果が発揮される。つまり、シートプラズマを磁界に基づき湾曲させれば、上記スパッタ粒子の配線溝への適正な埋め込み効果や配線溝閉塞改善効果が期待される。
なおここで、前記第2の磁界発生手段の対は一対の電磁コイルであり、前記電磁コイルのコイル面の法線が、前記主面に対し傾斜して構成されても良い。
このようにして、電磁コイルの磁界に基づき、シートプラズマを適切にその主面から凸状に偏倚させることができる。
なお、前記シート状のプラズマを、略一定の曲率半径により湾曲させても良い。そしてこの場合、前記電磁コイルの各々のコイル面の法線が、前記ターゲット側に傾斜するよう、前記主面と所定の傾斜角をなしても良い。
また、前記シート状のプラズマの湾曲部は、前記主面から最大に偏倚した頂上部を有し、前記ターゲットの表面が、前記頂上部に位置するシート状のプラズマ中の荷電粒子に曝されないよう、前記傾斜角の上限が設定されても良い。
このような構成によれば、シートプラズマとターゲットとの接触(回路的に導通状態)を未然に回避して、ターゲットに適切にバイアス電圧(マイナス電圧)を印加でき好適である。
本発明によれば、基板上の配線溝に形成した配線膜の膜特性を改善可能なシートプラズマ成膜装置が得られる。
以下、本発明の実施形態を、図面を参照しながら説明する。
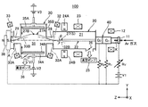
図1は、本発明の実施形態に係るシートプラズマ成膜装置の構成例を示す概略図である。
以下、図1を参照しながら本実施形態のシートプラズマ成膜装置について説明する。
なおここでは便宜上、図1に示す如く、プラズマ輸送の方向をZ方向にとり、このZ方向に直交し、かつ棒磁石24A、24B(後記)の磁化方向をY方向にとり、これらのZ方向およびY方向の両方に直交する方向をX方向にとって、このシートプラズマ成膜装置の構成を述べる。
本実施形態のシートプラズマ成膜装置100は、図1に示す如くYZ平面において略十字形をなしており、プラズマ輸送の方向(Z方向)から見て順番に、プラズマを高密度に生成するプラズマガン40と、Z方向の軸を中心とした円筒状の非磁性(例えばステンレス製やガラス製)のシートプラズマ変形室20と、Y方向の軸を中心とした円筒状の非磁性(例えばステンレス製)の真空成膜室30と、を備えて構成されている。なおこれらの各部40、20、30は、プラズマを輸送する通路を介して互いに気密状態を保って連通されている。
プラズマガン40は、減圧可能な放電空間(不図示)を有し、このプラズマガン40のZ方向の一端は、この放電空間を塞ぐようにフランジ11(カソードマウント)が配置されている。このフランジ11には、プラズマ放電誘発用の熱電子を放出するカソードKが配置されているとともに、斯かる放電により電離される放電ガスとしてのアルゴン(Ar)ガスをこの放電空間に導くガス導入手段(不図示)が設けられている。
また、プラズマガン40の放電空間の適所には、カソードKとの間でプラズマ放電(グロー放電)を維持するため、直流の電源V1と適宜の抵抗Rv、R1、R2の組合せにより所定のプラス電圧を印加された一対のグリット電極G1、G2(中間電極)が配置され、このようなプラズマ放電により、プラズマガン40の放電空間には、荷電粒子(ここではAr+と電子)の集合体としてのプラズマが形成される。
なおここでは、電源V1に基づく低電圧かつ大電流の直流アーク放電により、カソードKとアノードA(後記)との間に高密度のプラズマ放電を可能にする、公知の圧力勾配型のプラズマガン40が採用されている。
プラズマガン40の周囲には、このプラズマガン40の側面周囲を取り囲むように、円形状の第1の電磁コイル12(空心コイル)が配設され、この第1の電磁コイル12の巻線に電流を流すことにより、プラズマガン40の放電空間にはコイル磁界に基づく磁束密度のZ方向の勾配が形成される。このような磁束密度のZ方向の勾配により、プラズマを構成する荷電粒子は、この放電空間からZ方向(アノードAに向かう方向)に運動するよう、磁力線の回りを旋回しながらZ方向に進み、これらの荷電粒子の集合体としてのプラズマが、Z方向の輸送中心P(図2参照)に対して略等密度分布してなる円柱状のソースプラズマ(以下、「円柱プラズマ22」という)として、プラズマガン40のZ方向の他端とシートプラズマ変形室20のZ方向の一端との間に介在する通路(不図示)を介してシートプラズマ変形室20へ引き出される。
シートプラズマ変形室20は、Z方向の軸を中心とした円柱状の減圧可能な輸送空間21を有し、この輸送空間21は、バルブ26により開閉可能な排気口から真空ポンプ25(例えばターボポンプ)により真空引きされ、これにより、当該輸送空間21は円柱プラズマ22を輸送可能なレベルの真空度にまで速やかに減圧される。
シートプラズマ変形室20の側面周囲には、このシートプラズマ変形室20を取り囲み、円柱プラズマ22のZ方向の推進力を発生する円形状の第2の電磁コイル23(空心コイル)が配設されている。なお、第2の電磁コイル23の巻線には、カソードK側をS極、アノードA側をN極とする向きの電流が通電されている。
また、この第2の電磁コイル23のZ方向の前方側(アノードAに近い側)には、このシートプラズマ変形室20(輸送空間21)を挟み、互いに同極(ここではN極)が対向するようにして、Y方向に磁化され、かつX方向に延びる一対の角形の棒磁石24A、24B(永久磁石;第1の磁界発生手段の対)が、Y方向に所定の間隔を隔てて配設されている。
上記第2の電磁コイル23の巻線に電流を流すことによりシートプラズマ変形室20の輸送空間21に形成されるコイル磁界と、棒磁石24A、24Bによりこの輸送空間21に形成される磁石磁界との相互作用により、シートプラズマ変形室20の輸送空間21を円柱状プラズマ22がZ方向に移動する間に、この円柱プラズマ22は、その輸送方向(Z方向)の輸送中心Pを含むXZ平面(以下、「主面S」という)に沿って拡がる、均一なシート状のプラズマ(以下、「シートプラズマ27」という)に変形される。
以下、第2のコイル23および一対の棒磁石24A、24Bによる磁界相互作用に基づく、円柱プラズマ22からシートプラズマ27に変形する方法について、図2を参照しつつ述べる。
図2は、シートプラズマの形成法の概略を説明する模式図であり、図2(a)は、棒磁石のZ方向略中央付近のXY平面に平行な断面の模式図であり、図2(b)は、棒磁石のX方向略中央付近のYZ平面に平行な断面の模式図である。
なお、図2中の符号Bx、ByおよびBzは各々、図1中のX方向、Y方向およびZ方向の磁束密度ベクトル成分を表している。
図2(b)から理解されるとおり、第2の電磁コイル23の磁界により、棒磁石24A、24Bに到達する前の円柱プラズマ22のZ方向に作用する初期の磁束密度成分Bz0が形成されている。このとき、初期の磁束密度成分Bz0と、一対の棒磁石24A、24Bが作るZ方向の磁束密度成分Bzとの間の大小関係を適正に保つように、第2の電磁コイル23の配置や第2の電磁コイル23の巻線に流す電流量を設定する必要がある。両者間の適正な関係を保たなければ、円柱プラズマ22をシートプラズマ27に変形する際の、プラズマの形態が乱れて(例えば、いわゆる角の発生)、主面Sに沿って、円柱プラズマ22を均一に拡げ難くなると、考えられている。
次に、図2(a)から理解されるとおり、XY平面上には、一対の棒磁石24A、24BのN極面から互いに輸送中心Pに近づく、磁束密度のY方向成分Byの対が形成されるとともに、これらの棒磁石24A、24BのN極面と平行に輸送中心Pから互いに離れる、磁束密度のX方向成分Bxの対が形成されている。
磁束密度のY方向成分Byの対については、棒磁石24A、24BのN極面を互いに対向配置させていることから、これらのN極面から輸送中心Pに近づくに連れて、そのY方向成分に互いに相殺され、これらの磁束密度のY成分に適宜のマイナス勾配を持たせることができる。
このような磁束密度のY方向成分Byの勾配は、図2(a)の矢印で示す如く、輸送中心Pに向かってY方向に円柱プラズマ22を圧縮する方向に荷電粒子を運動させ、これにより、円柱プラズマ22中の荷電粒子は、磁力線の回りを旋回しながら輸送中心Pの方向に進む。
一方、磁束密度のX方向成分Bxの対については、棒磁石24A、24Bの配置やその磁場強度の適切な設計により、輸送中心PからX方向に離れるに連れて、これらの磁束密度のX成分に適宜のマイナス勾配を持たせるように調整できる。
このような磁束密度のX方向成分Bxの勾配は、図2(a)の矢印で示す如く、円柱プラズマ22を主面S(XZ平面)に沿って拡げる方向に荷電粒子を運動させ、これにより、円柱プラズマ22中の荷電粒子は、磁力線の回りを旋回しながら輸送中心Pから離れる方向に進む。
こうして、円柱プラズマ22は、シートプラズマ変形室20をZ方向に移動する間に、第2の電磁コイル23および棒磁石24A、24Bによる磁界相互作用に基づいて、主面Sに沿ったシートプラズマ27に均一に変形される。なお、シートプラズマ27の幅、厚みおよび荷電粒子密度分布等は、これらの磁束密度Bx、By、Bz、Bz0を適宜変更することにより、調整可能である。
このようにして変形されたシートプラズマ27は、図1に示す如く、シートプラズマ変形室20のZ方向の他端と真空成膜室30の側壁との間に介在する、シートプラズマ27の通過用のスリット状のボトルネック部28を介して真空成膜室30へ引き出される。なお、ボトルネック部28の間隔(Y方向寸法)および厚み(Z方向寸法)並びに幅(X方向寸法)は、シートプラズマ27を適切に通過するように設計されている。
またここでの真空成膜室30としては、例えば、シートプラズマ27中のAr+の衝突エネルギによりターゲット35BのCu材料をスパッタ粒子として叩き出す真空スパッタリング装置が採用されている。
真空成膜室30は、Y方向の軸を中心とした円柱状の減圧可能な、スパッタリングプロセス用の成膜空間31を有し、この成膜空間31は、バルブ37により開閉可能な排気口から真空ポンプ36(例えばターボポンプ)により真空引きされ、これにより、当該成膜空間31はスパッタリングプロセス可能なレベルの真空度にまで速やかに減圧される。
ここで成膜空間31は、その機能上、上下方向(Y方向)において、ボトルネック部28の間隔に対応する水平面(XZ平面)に沿った中央空間を境にして、板状の銅製のターゲット35Bを格納する囲い部により区画されたターゲット空間と、板状の基板34Bを格納する囲い部により区画された基板空間と、に区分けして理解され得る。
要するに、ターゲット35Bは、ターゲットホルダ35Aに装着された状態において、中央空間の上方に位置するターゲット空間内に格納され、適宜のアクチュエータ(不図示)によりターゲット空間内を上下(Y方向)に移動可能に構成されている。一方、基板34Bは、基板ホルダ34Aに装着された状態において、中央空間の下方に位置する基板空間内に格納され、適宜のアクチュエータ(不図示)により基板空間内を上下(Y方向)に移動可能に構成されている。
なお上記中央空間は、真空成膜室30においてシートプラズマ27の主成分を輸送させる空間である。但し本実施の形態においては、後記のとおり、このシートプラズマ27をコイル磁界により湾曲させることにより、このシートプラズマ27の一部をターゲット空間に進入させても良い。
このようにして、ターゲット35Bおよび基板34Bは互いに、シートプラズマ27の厚み方向(Y方向)に一定の好適な間隔を隔てるようにして、このシートプラズマ27(中央空間)を挟み、成膜空間31内に対向して配置されている。
また、ターゲット35Bは、スパッタリングプロセス中には、直流電源V3によりバイアス電圧(マイナス電圧)を給電され、これにより、シートプラズマ27中のAr+がターゲット35Bに向かって引き付けられ、その結果、Ar+とターゲット35Bとの間の衝突エネルギによりターゲット35Bのスパッタ粒子(例えば銅粒子)が、ターゲット35Bから基板34Bに向かって叩き出される。
また、基板34Bは、スパッタリングプロセス中には、直流電源V2によりバイアス電圧(マイナス電圧)を給電され、これにより、シートプラズマ27により、電子を剥ぎ取られて電離されたスパッタ粒子(例えば銅イオン)が、基板34Bに向かって加速され、この基板34Bに対し付着強度を高めて堆積される。
次に、ボトルネック部28から見て、Z方向に対向する位置の真空成膜室30の周辺構成を説明する。
当該位置の真空成膜室30の側壁にはアノードAが配置され、この側壁とアノードAとの間には、プラズマ通過用の通路29が設けられている。
アノードAは、カソードKとの間で適宜のプラス電圧(例えば100V)を印加され、これにより、カソードKおよびアノードAの間の直流アーク放電によるシートプラズマ27中の荷電粒子(特に電子)を回収する役割を担っている。
また、アノードAの裏面(カソードKに対する対向面の反対側の面)には、アノードA側をS極、大気側をN極とした永久磁石38が配置されている。このため、この永久磁石38のN極から出てS極に入るXZ平面に沿った磁力線により、アノードAに向かうシートプラズマ27の幅方向(X方向)の拡散を抑えるようにシートプラズマ27が幅方向に収束され、シートプラズマ27の荷電粒子が、アノードAに適切に回収され得る。
ここで、円形状の第3および第4の電磁コイル32、33(空心コイル;第2の磁界発生手段の対)は、互いに対をなして、真空成膜室30は側壁を臨むようにして成膜空間31を挟み、異極同士(ここでは、第3の電磁コイル32はN極、第4の電磁コイルはS極)を向かい合わせ、かつこれらのコイル面32A、33Aの法線32B、33Bを、シートプラズマ27の主面Sに対し、YZ平面においてハの字状に傾斜させるよう、配置されている。
より詳しくは、第3の電磁コイル32は、第3の電磁コイル32の巻線が、一対の棒磁石24A、24Bと真空成膜室30との間のZ方向の適所を取り囲むよう、かつ第3の電磁コイル32のコイル面32Aの法線32B(第3の電磁コイル32の中心軸)が、ターゲット35B側にシートプラズマ27の主面Sと傾斜角θをなして延びるよう、配置されている。
また、第4の電磁コイル33は、第4の電磁コイル33の巻線が、真空成膜室30の側壁とアノードAとの間のZ方向の適所を取り囲むよう、かつ第4の電磁コイル33のコイル面33Aの法線33B(第4の電磁コイル33の中心軸)が、ターゲット35B側にシートプラズマ27の主面Sと傾斜角θをなして延びるよう、配置されている。
このような第3および第4の電磁コイル32、33の対の巻線に電流を流すことにより作られるコイル磁界(例えば10G〜300G程度)によれば、シートプラズマ27の幅方向(X方向)については、シートプラズマ27は、真空成膜室30の成膜空間31を跨ぐようにZ方向に移動する間に、ミラー磁界として、その幅方向拡散を適切に抑えるように形状を整形されている。
また、シートプラズマ27の厚み方向(Y方向)については、第3および第4の電磁石コイル32、33の、YZ平面における磁力線の主成分が法線32B、33Bの方向に沿って進むことから、このシートプラズマ27の荷電粒子も、こうした磁力線に巻き付いて進む。これにより、シートプラズマ27は、真空成膜室30の成膜空間31を跨ぐようにZ方向に移動する間に、シートプラズマ27の主面Sから凸状に偏倚して、この主面Sからターゲット35Bに向かうよう、シートプラズマ27の厚み方向に突出した、略一定の曲率半径で扇状に湾曲した湾曲部27Aを有することになる。
なおここでは、湾曲部27Aは、シートプラズマ27の主面Sから最大に偏倚した頂上部27Bを有しており、ターゲット35Bの表面が、頂上部27Bに位置するシートプラズマ27中の荷電粒子に曝されないよう、傾斜角θの上限は設定されている。
すなわち、第3および第4の電磁コイル32、33は、シートプラズマ27とターゲット35Bとの接触(電気回路的に導通状態)を未然に回避して、ターゲット35Bに適切にバイアス電圧(マイナス電圧)を印加できるよう、その最大傾斜を適宜制限して配置されている。
以上に述べたシートプラズマ成膜装置100によれば、シートプラズマ27をコイル磁界に基づき湾曲させたことにより、基板上の微細な配線パターンの配線溝(凹部断面溝)へのスパッタ粒子の堆積に際して、以下のような効果を奏すると、期待され、斯かる効果、後程述べる、配線溝へのスパッタ粒子堆積実験の結果により裏付けられている。
図3は、シートプラズマを湾曲させた場合と、そうさせなかった場合とにおいて、シートプラズマの荷電粒子によるスパッタリングターゲットの材料の飛散状況を概念的に描いた図であり、図3(a)は、シートプラズマを湾曲させた場合に相当する図であり、図3(b)は、シートプラズマを湾曲させなかった場合に相当する図である。
ここで、シートプラズマ27を湾曲させなかった場合には、シートプラズマ27中の正イオン(ここではAr+)は、図3(b)に示す如く、ターゲット35Bの表面の略全域に対し垂直(図1のY方向)に衝突することから、このような正イオン衝突エネルギにより叩き出されるスパッタ粒子(ここではCu粒子)の角度分布は、ターゲット35Bの表面全域に亘って同じ傾向を示す。そうであれば、ターゲット35Bの表面全域において叩き出されたスパッタ粒子のうちの斜めにランダムに逸れた成分(例えばターゲット35Bの表面に対し斜めに大きく逸れた方向の成分)が、配線溝の内部に進入できずにこの配線溝の入口付近に堆積して、これにより、この部分を閉塞するといった銅金属埋め込み不良を招くことが懸念される。
これに対して、シートプラズマ27を湾曲させた場合であっても、図3(a)に示す如く、シートプラズマ27から放出される正イオンは、ターゲット35Bの表面の略全域に対し垂直に衝突して、このような正イオン衝突により叩き出されるスパッタ粒子は、図3(b)と同様に所定の角度分布を持ってシートプラズマ27に向けて放出される。その一方で、ターゲット35Bの周辺部から放出され、シートプラズマ27に入ったスパッタ粒子は、図3(a)に示す如く、シートプラズマ27の傾斜した部分を斜めに跨ぐ際に電離され、その結果として、シートプラズマ27のレンズ作用により垂直直線性から若干斜めの指向性を持つと、考えられる。
具体的には、ターゲット35Bの中央部からシートプラズマ27に向けて放出されるスパッタ粒子は、シートプラズマ27の平坦な部分を跨ぐことから、シートプラズマ27のレンズ作用に影響させずに、ターゲット35Bの表面に対し垂直な方向を主成分とし、この方向を中心軸にして所定の角度分布を持つと、推認される。また、ターゲット35Bの周囲部からシートプラズマ27に向けて放出されるスパッタ粒子は、シートプラズマ27の傾斜した部分を跨ぐことから、シートプラズマ27のレンズ作用により、所定の斜め方向を主成分とし、この方向を中心軸にして所定の角度成分を持つと、推認される。
ターゲット35Bとシートプラズマ27との協働によるスパッタリング現象を以上の如く解すると、ターゲット35Bの中央部付近から放出されるスパッタ粒子は、その主成分を基板34Bに対し垂直に向けていることから、配線溝の底面に堆積し、ターゲット35Bの周囲部付近から放出されるスパッタ粒子は、その主成分を基板34Bに対し幾分斜めに向けていることから、配線溝の底面や側壁に堆積して好適であると、本件発明者等は予測している。なお、このような配線溝側壁へのスパッタ粒子斜め方向飛散は、配線溝にスパッタ粒子を堆積する際の被覆率の向上に寄与する。
一方、シートプラズマ27を湾曲させなかった場合(図3(b))に、配線溝内部に進入できず、その入口を塞ぐように斜め方向にランダムに逸れたスパッタ粒子は、今度は、シートプラズマ27を湾曲させた場合の図3(a)に示す如く、更に大きく斜め方向に逸れて最早、基板34B上の配線溝に到達できなくなり、その結果として、銅金属埋め込み不良が改善されると、期待される。
このように、本実施形態のシートプラズマ成膜装置100は、シートプラズマ27を磁界に基づき湾曲させたことにより、配線溝へのスパッタリングによるスパッタ粒子の堆積に際して、スパッタ粒子の指向性を改善して、基板34Bの配線溝へのスパッタ粒子の適正な埋め込み効果やスパッタ粒子による配線溝閉塞の改善効果が発揮される。
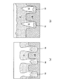
(配線溝へのスパッタ粒子堆積実験例)
図4は、シートプラズマを湾曲させた場合(傾斜角θは略10°)と、そうさせなかった場合において、基板の配線溝へのCu粒子堆積実験結果の断面写真を模写した図であり、図4(a)は、シートプラズマを湾曲させた場合に相当する図であり、図4(b)は、シートプラズマを湾曲させなかった場合に相当する図である。
なお本堆積実験では、シートプラズマ27の湾曲の有無以外のパラメータ(例えば、真空度、ターゲット電圧、成膜時間および放電電流)については、両者間において同一にしている。
シートプラズマ27を湾曲させなかった場合の、基板34Bの配線溝50へのCu粒子堆積実験結果によれば、図4(b)に示す如く、配線溝50の入口がCu堆積膜51により閉塞されることにより、配線溝50中のCu堆積膜51の厚みが確保されず、この内部において空孔52の存在が確認された。
これに対し、シートプラズマ27を湾曲させた場合の、基板34Bの配線溝50へのCu粒子堆積実験結果によれば、図4(a)に示す如く、Cu堆積膜51の配線溝50への適正な埋め込みが確認された。
また、図4(a)に示す如く、Cu堆積膜51による、配線溝50の入口閉塞という事態に至らないことも確認された。
本発明は、シートプラズマの移動方向を適切に調整でき、例えば、シートプラズマの荷電粒子によってターゲットをスパッタリングする真空スパッタリング装置に有用である。
本発明の実施形態に係るシートプラズマ成膜装置の構成例を示す概略図である。 シートプラズマの形成法の概略を説明する模式図である。 シートプラズマを湾曲させた場合と、そうさせなかった場合とにおいて、シートプラズマの荷電粒子によるスパッタリングターゲットの材料の飛散状況を概念的に描いた図である。 シートプラズマを湾曲させた場合と、そうさせなかった場合において、基板上の配線溝へのCu粒子堆積実験結果の断面写真を模写した図である。
符号の説明
11 フランジ
12 第1の電磁コイル
20 シートプラズマ変形室
21 輸送空間
22 円柱プラズマ
23 第2の電磁コイル
24A、24B 棒磁石
25、36 真空ポンプ
26、37 バルブ
27 シートプラズマ
27A 湾曲部
27B 頂点部
28 ボトルネック部
29 通路
30 真空成膜室
31 成膜空間
32 第3の電磁コイル
33 第4の電磁コイル
32A、33A コイル面
32B、33B 法線
34A 基板ホルダ
34B 基板
35A ターゲットホルダ
35B ターゲット
38 永久磁石
40 プラズマガン
50 配線溝
51 Cu堆積膜
52 空孔
100 シートプラズマ成膜装置
A アノード
K カソード
P 輸送中心
S 主面


Claims (5)

  1. プラズマの輸送方向の中心に対して略等密度分布するソースプラズマを放電により形成して、前記ソースプラズマを前記輸送方向に向けて放出可能なプラズマガンと、
    前記輸送方向に延びた輸送空間を有するシートプラズマ変形室と、
    互いに同極同士を向き合わせて、前記輸送空間を挟むように配置される第1の磁界発生手段の対と、
    前記輸送空間に連通した成膜空間を有する成膜室と、
    互いに異極同士を向き合わせて、前記成膜空間を挟むように配置される第2の磁界発生手段の対と、を備え、
    前記ソースプラズマは、前記輸送空間を移動する間に、前記第1の磁界発生手段の対の磁界により前記中心を含む主面に沿ってシート状に拡がり、
    前記シート状のプラズマは、前記成膜空間を移動する間に、前記第2の磁界発生手段の対の磁界により前記主面から凸状に偏倚するシートプラズマ成膜装置であって、
    ターゲットを装着するターゲットホルダと、前記シート状のプラズマ中の荷電粒子により叩き出された前記ターゲットの材料を堆積する基板を装着する基板ホルダと、を更に備え、
    前記ターゲットおよび前記基板は、前記シート状のプラズマの厚み方向に間隔を隔て、かつ前記シート状のプラズマを挟むようにして、前記成膜空間内に互いに対向して配置され、
    前記シート状のプラズマは、前記主面からターゲットに向かうよう、前記シート状のプラズマの厚み方向に突出した湾曲部を有するシートプラズマ成膜装置
  2. 前記第2の磁界発生手段の対は一対の電磁コイルであり、前記電磁コイルのコイル面の法線が、前記主面に対し傾斜している請求項1記載のシートプラズマ成膜装置。
  3. 前記シート状のプラズマは、略一定の曲率半径により湾曲してなる請求項記載のシートプラズマ成膜装置。
  4. 前記電磁コイルの各々のコイル面の法線が、前記ターゲット側に傾斜する、前記主面と所定の傾斜角をなしている請求項記載のシートプラズマ成膜装置。
  5. 前記シート状のプラズマの湾曲部は、前記主面から最大に偏倚した頂上部を有し、
    前記ターゲットの表面が、前記頂上部に位置するシート状のプラズマ中の荷電粒子に曝されないよう、前記傾斜角の上限が設定されてなる請求項記載のシートプラズマ成膜装置。
JP2005351576A 2005-12-06 2005-12-06 シートプラズマ成膜装置 Expired - Fee Related JP4906331B2 (ja)

Priority Applications (7)

Application Number Priority Date Filing Date Title
JP2005351576A JP4906331B2 (ja) 2005-12-06 2005-12-06 シートプラズマ成膜装置
KR1020087011193A KR20080056767A (ko) 2005-12-06 2006-11-29 시트 플라즈마 성막장치
EP06833564A EP1972700A4 (en) 2005-12-06 2006-11-29 AREA PLASMA FILM FORMATION DEVICE
US12/096,538 US20090314206A1 (en) 2005-12-06 2006-11-29 Sheet Plasma Film-Forming Apparatus
CNA2006800452375A CN101321889A (zh) 2005-12-06 2006-11-29 片状等离子体成膜装置
PCT/JP2006/323760 WO2007066548A1 (ja) 2005-12-06 2006-11-29 シートプラズマ成膜装置
TW095144605A TW200745359A (en) 2005-12-06 2006-12-01 Film-forming apparatus using sheet plasma

Applications Claiming Priority (1)

Application Number Priority Date Filing Date Title
JP2005351576A JP4906331B2 (ja) 2005-12-06 2005-12-06 シートプラズマ成膜装置

Publications (2)

Publication Number Publication Date
JP2007154265A JP2007154265A (ja) 2007-06-21
JP4906331B2 true JP4906331B2 (ja) 2012-03-28

Family

ID=38122696

Family Applications (1)

Application Number Title Priority Date Filing Date
JP2005351576A Expired - Fee Related JP4906331B2 (ja) 2005-12-06 2005-12-06 シートプラズマ成膜装置

Country Status (7)

Country Link
US (1) US20090314206A1 (ja)
EP (1) EP1972700A4 (ja)
JP (1) JP4906331B2 (ja)
KR (1) KR20080056767A (ja)
CN (1) CN101321889A (ja)
TW (1) TW200745359A (ja)
WO (1) WO2007066548A1 (ja)

Families Citing this family (11)

* Cited by examiner, † Cited by third party
Publication number Priority date Publication date Assignee Title
JP4963992B2 (ja) * 2007-03-15 2012-06-27 スタンレー電気株式会社 プラズマ処理装置
JP4934830B2 (ja) * 2007-11-08 2012-05-23 スタンレー電気株式会社 プラズマ処理装置
JP4860594B2 (ja) * 2007-11-28 2012-01-25 新明和工業株式会社 スパッタリング装置
JP5231962B2 (ja) * 2008-12-08 2013-07-10 新明和工業株式会社 シートプラズマ成膜装置
JP5498739B2 (ja) * 2009-08-21 2014-05-21 新明和工業株式会社 スパッタリング装置およびスパッタリング方法
JP5374288B2 (ja) * 2009-09-15 2013-12-25 新明和工業株式会社 スパッタリング方法
JP2013522477A (ja) * 2010-03-22 2013-06-13 アプライド マテリアルズ インコーポレイテッド 遠隔プラズマ源を用いた誘電体堆積
JP5700695B2 (ja) * 2012-04-12 2015-04-15 中外炉工業株式会社 プラズマ発生装置および蒸着装置並びにプラズマ発生方法
CN102781157B (zh) * 2012-07-17 2014-12-17 西安电子科技大学 平面射流等离子体产生装置
CN103052249A (zh) * 2013-01-11 2013-04-17 哈尔滨工业大学 一种射流等离子体密度分布调节器
JP6188224B2 (ja) * 2013-12-27 2017-08-30 昭和電工株式会社 炭素膜の形成装置、炭素膜の形成方法、及び、磁気記録媒体の製造方法

Family Cites Families (11)

* Cited by examiner, † Cited by third party
Publication number Priority date Publication date Assignee Title
JPS5927499A (ja) * 1982-04-12 1984-02-13 浦本 上進 簡単で高能率なシ−トプラズマの生成法
JPS61257471A (ja) * 1985-05-08 1986-11-14 Joshin Uramoto 効率的に放電プラズマ流を曲げたイオンプレ−テング装置
DE3880135T2 (de) * 1988-09-08 1993-09-16 Asahi Glass Co Ltd Zerstaeubungsverfahren mittels eines bandfoermigen plasmaflusses und geraet zur handhabung dieses verfahrens.
JP3095614B2 (ja) * 1993-04-30 2000-10-10 株式会社東芝 半導体ウェハ等の被処理体をプラズマ処理するに際して使用されるプラズマ処理装置及びプラズマ処理方法
US20020148941A1 (en) * 1994-02-17 2002-10-17 Boris Sorokov Sputtering method and apparatus for depositing a coating onto substrate
JPH07310186A (ja) * 1994-05-17 1995-11-28 Nikon Corp プラズマcvd法および装置
JPH0978230A (ja) * 1995-09-19 1997-03-25 Chugai Ro Co Ltd シート状プラズマ発生装置
WO2003074755A1 (en) * 2002-02-27 2003-09-12 Philippine Council For Advanced Science And Technology Research And Development Method for formation of titanium nitride films
JP2003264098A (ja) * 2002-03-08 2003-09-19 Sumitomo Heavy Ind Ltd シートプラズマ処理装置
JP2005179767A (ja) * 2003-12-22 2005-07-07 Joshin Uramoto スパタイオンプレ−テング装置
WO2007066606A1 (ja) * 2005-12-06 2007-06-14 Shinmaywa Industries, Ltd. プラズマ成膜装置

Also Published As

Publication number Publication date
WO2007066548A1 (ja) 2007-06-14
JP2007154265A (ja) 2007-06-21
US20090314206A1 (en) 2009-12-24
TW200745359A (en) 2007-12-16
CN101321889A (zh) 2008-12-10
KR20080056767A (ko) 2008-06-23
EP1972700A4 (en) 2009-12-09
EP1972700A1 (en) 2008-09-24

Similar Documents

Publication Publication Date Title
TWI287048B (en) Equipment for cathode-sputtering
US20090071818A1 (en) Film deposition apparatus and method of film deposition
JP5611039B2 (ja) スパッタリング装置
JP4906331B2 (ja) シートプラズマ成膜装置
KR20120027033A (ko) 성막 장치
US11521822B2 (en) Ion gun and vacuum processing apparatus
JP2010248576A (ja) マグネトロンスパッタリング装置
WO2007066606A1 (ja) プラズマ成膜装置
JP5080977B2 (ja) シートプラズマ成膜装置
JP5080294B2 (ja) イオンガン及び成膜装置
JP4795174B2 (ja) スパッタリング装置
JP6985570B1 (ja) イオンガン及び真空処理装置
JP2008053116A (ja) イオンガン、及び成膜装置
JP5124317B2 (ja) シートプラズマ成膜装置、及びシートプラズマ調整方法
CN117044403B (zh) 磁控溅射装置用阴极单元及磁控溅射装置
JP4860594B2 (ja) スパッタリング装置
JP5374288B2 (ja) スパッタリング方法
JP5118532B2 (ja) スパッタリング装置およびスパッタリング方法
JP2009235497A (ja) スパッタリング装置
JP5119021B2 (ja) シートプラズマ成膜装置、及びシートプラズマ調整方法
JP4854283B2 (ja) プラズマ成膜方法及びプラズマ成膜装置
JP2000182525A (ja) 質量分離型イオン源
JPS6127463B2 (ja)
JP2005290442A (ja) Ecrスパッタリング装置
KR20150050070A (ko) 경사진 이온 소스, 이를 갖는 이온빔 처리 장치 및 이온빔 스퍼터링 장치

Legal Events

Date Code Title Description
A621 Written request for application examination

Free format text: JAPANESE INTERMEDIATE CODE: A621

Effective date: 20081029

A131 Notification of reasons for refusal

Free format text: JAPANESE INTERMEDIATE CODE: A131

Effective date: 20111101

A521 Written amendment

Free format text: JAPANESE INTERMEDIATE CODE: A523

Effective date: 20111208

TRDD Decision of grant or rejection written
A01 Written decision to grant a patent or to grant a registration (utility model)

Free format text: JAPANESE INTERMEDIATE CODE: A01

Effective date: 20120110

A01 Written decision to grant a patent or to grant a registration (utility model)

Free format text: JAPANESE INTERMEDIATE CODE: A01

A61 First payment of annual fees (during grant procedure)

Free format text: JAPANESE INTERMEDIATE CODE: A61

Effective date: 20120110

FPAY Renewal fee payment (event date is renewal date of database)

Free format text: PAYMENT UNTIL: 20150120

Year of fee payment: 3

R150 Certificate of patent or registration of utility model

Free format text: JAPANESE INTERMEDIATE CODE: R150

FPAY Renewal fee payment (event date is renewal date of database)

Free format text: PAYMENT UNTIL: 20150120

Year of fee payment: 3

R250 Receipt of annual fees

Free format text: JAPANESE INTERMEDIATE CODE: R250

R250 Receipt of annual fees

Free format text: JAPANESE INTERMEDIATE CODE: R250

LAPS Cancellation because of no payment of annual fees