JP4876842B2 - Icタグラベル - Google Patents

Icタグラベル Download PDF

Info

Publication number
JP4876842B2
JP4876842B2 JP2006280852A JP2006280852A JP4876842B2 JP 4876842 B2 JP4876842 B2 JP 4876842B2 JP 2006280852 A JP2006280852 A JP 2006280852A JP 2006280852 A JP2006280852 A JP 2006280852A JP 4876842 B2 JP4876842 B2 JP 4876842B2
Authority
JP
Japan
Prior art keywords
chip
tag label
release paper
antenna pattern
adhesive layer
Prior art date
Legal status (The legal status is an assumption and is not a legal conclusion. Google has not performed a legal analysis and makes no representation as to the accuracy of the status listed.)
Expired - Fee Related
Application number
JP2006280852A
Other languages
English (en)
Other versions
JP2008097473A (ja
Inventor
哲治 緒方
英人 坂田
Current Assignee (The listed assignees may be inaccurate. Google has not performed a legal analysis and makes no representation or warranty as to the accuracy of the list.)
Dai Nippon Printing Co Ltd
Original Assignee
Dai Nippon Printing Co Ltd
Priority date (The priority date is an assumption and is not a legal conclusion. Google has not performed a legal analysis and makes no representation as to the accuracy of the date listed.)
Filing date
Publication date
Application filed by Dai Nippon Printing Co Ltd filed Critical Dai Nippon Printing Co Ltd
Priority to JP2006280852A priority Critical patent/JP4876842B2/ja
Priority to US12/444,639 priority patent/US8031071B2/en
Priority to PCT/JP2007/069947 priority patent/WO2008047705A1/ja
Publication of JP2008097473A publication Critical patent/JP2008097473A/ja
Application granted granted Critical
Publication of JP4876842B2 publication Critical patent/JP4876842B2/ja
Expired - Fee Related legal-status Critical Current
Anticipated expiration legal-status Critical

Links

Images

Classifications

    • GPHYSICS
    • G06COMPUTING OR CALCULATING; COUNTING
    • G06KGRAPHICAL DATA READING; PRESENTATION OF DATA; RECORD CARRIERS; HANDLING RECORD CARRIERS
    • G06K19/00Record carriers for use with machines and with at least a part designed to carry digital markings
    • G06K19/06Record carriers for use with machines and with at least a part designed to carry digital markings characterised by the kind of the digital marking, e.g. shape, nature, code
    • G06K19/067Record carriers with conductive marks, printed circuits or semiconductor circuit elements, e.g. credit or identity cards also with resonating or responding marks without active components
    • G06K19/07Record carriers with conductive marks, printed circuits or semiconductor circuit elements, e.g. credit or identity cards also with resonating or responding marks without active components with integrated circuit chips
    • G06K19/077Constructional details, e.g. mounting of circuits in the carrier
    • G06K19/07749Constructional details, e.g. mounting of circuits in the carrier the record carrier being capable of non-contact communication, e.g. constructional details of the antenna of a non-contact smart card
    • GPHYSICS
    • G06COMPUTING OR CALCULATING; COUNTING
    • G06KGRAPHICAL DATA READING; PRESENTATION OF DATA; RECORD CARRIERS; HANDLING RECORD CARRIERS
    • G06K19/00Record carriers for use with machines and with at least a part designed to carry digital markings
    • G06K19/06Record carriers for use with machines and with at least a part designed to carry digital markings characterised by the kind of the digital marking, e.g. shape, nature, code
    • G06K19/067Record carriers with conductive marks, printed circuits or semiconductor circuit elements, e.g. credit or identity cards also with resonating or responding marks without active components
    • G06K19/07Record carriers with conductive marks, printed circuits or semiconductor circuit elements, e.g. credit or identity cards also with resonating or responding marks without active components with integrated circuit chips
    • G06K19/077Constructional details, e.g. mounting of circuits in the carrier
    • G06K19/0772Physical layout of the record carrier
    • G06K19/07722Physical layout of the record carrier the record carrier being multilayered, e.g. laminated sheets

Landscapes

  • Engineering & Computer Science (AREA)
  • Computer Hardware Design (AREA)
  • Microelectronics & Electronic Packaging (AREA)
  • Physics & Mathematics (AREA)
  • General Physics & Mathematics (AREA)
  • Theoretical Computer Science (AREA)
  • Credit Cards Or The Like (AREA)

Description

本発明は、ICチップの破損防止構造を考慮したICタグラベルに関する。具体的には、荷物、ケース等に取り付けする荷札、あるいは商品ラベル、製品管理票、伝票等に用いるICタグラベルであって、ICチップ部の突出高さを少なくしたラベルに関する。
したがって、本発明の主要な利用分野は、ICタグラベルの製造や利用の分野、特に、運送や流通、在庫管理、工場工程管理等の分野となる。
非接触ICタグラベルは、情報を記録して保持し非接触で外部装置と交信して情報交換できるので、運送や物流等における認識媒体として、あるいは商品の品質管理、在庫管理等の各種目的に多用されるようになってきている。
しかし、非接触ICタグを物流ラベルとして利用する場合、物流の際に外部から不可避的な応力が加えられる場合が多い。特にICチップ部分が衝撃を受けると致命的な損傷を受けてしまう。そこで、従来からICチップ部分を保護する構造が考えられているが、複雑な構造となり安価に非接触ICタグを製造できなくなるという問題を生じている。
非接触ICタグの避けられない構造上の問題として、ICチップの厚みが、基材等と比較して遥かに大きい問題がある。ICタグ用ICチップは小サイズ化が図られ薄片化しているが、近年のICチップでも、0.2mm〜2mm角以内の平面サイズと100μm〜400μm程度の厚みを有する。したがって、基材面にアンテナパターンを形成してICチップを装着し、表面保護部材を被覆して平坦化しても、当該ICタグラベルを積み上げした場合はICチップ部分は嵩高となる。
ICチップが損傷を受ける場合として、この積み上げ状態が考えられる。非接触ICタグラベルを使用する際は、数枚ないし十数枚を積み上げることがよくある。使い易くするためにはラベルの向きを揃えるのが通常である。そうすると必然的にICチップ部分が上下に整列して重なり合うことになる。その状態で上面から重量のある物体をラベル上に載せると、上下位置関係にあるいずれかのICチップ相互間が衝撃を受けて、シリコン結晶であるICチップの破壊が生じる。この場合は未使用状態でラベルの不良が疑われる。
その他の原因として、硬質の被着体に貼着されたICタグが硬質の他の物体に衝突する場合にも、突出しているICチップ部分が最も衝撃を受け易い問題がある。
特許文献1は、出願人の先願であって、ICチップの周囲に薄層の構造体を挿入し、ICチップの保護を図った非接触ICタグに関するが、構造体の材料費や構造体を当該部分に位置を定めて挿入する困難さから製造コストの高騰を招く問題がある。
特開2006−236081号公報
上記特許文献1のように、ICチップの周囲に構造体を挿入した場合は、通常のICタグラベルよりも構造体相当の材料費や製造コストの上昇を余儀なくされる。さらに、ICタグラベルの厚みが大きくなり、物品に貼着した際に貼着面との間に段差が生じる問題がある。そこで、本発明は材料費や製造コストに影響せず、かつ厚みの増大を招かないで、ICチップを保護するラベル構造を研究して本発明の完成に至ったものである。
上記課題を解決する本発明の要旨の第1は、インレット基材面にアンテナパターンを形成してICチップを装着し、当該アンテナパターンの反対側面に剥離紙で保護された粘着剤層を有し、アンテナパターン面が表面保護シートで被覆された非接触ICタグラベルにおいて、ICチップの直下部分の前記剥離紙と粘着剤層には、ICチップを囲む円形または矩形状の開口が形成されていることを特徴とするICタグラベル、にある。
上記課題を解決する本発明の要旨の第2は、インレット基材面にアンテナパターンを形成してICチップを装着し、当該アンテナパターンの反対側面に剥離紙で保護された粘着剤層を有する非接触ICタグラベルにおいて、ICチップの直下部分の前記剥離紙と粘着剤層には、ICチップを囲む円形または矩形状の開口が形成されていることを特徴とするICタグラベル、にある。
本発明のICタグラベルは、剥離紙および粘着剤層に開口を形成して、ICチップ部分の厚みが増大しないようにしているので、特に、ICタグラベルを物品に貼着する前の未使用状態において、ICチップが外部からの衝撃により破損を生じることが少なくなる。 ただし、開口は粘着剤層にも形成されているので、剥離紙を除去して物品に貼着した後においてもICチップ部分の厚みを小さくする効果を生じる。
また、従来のICタグの構成と比較して特別に材料を追加しないで製造できるので、材料費や製造コストの増加を招かない利点がある。
ICタグラベルの連続した巻取り状製品形態においても、製造途上または製品化後の巻き締まりによりICチップが強圧を受けて破損する事故が減少する。
以下、図面を参照して順次説明する。図1は、第1形態のICタグラベルの平面図、図2は、図1のA−A線断面図、図3は、第2形態のICタグラベルの断面図、図4は、第1形態のICタグラベルの製造工程を示す図、図5は、コイル状アンテナを有するインレットの外観図、である。
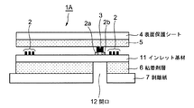
第1形態のICタグラベル1Aは、図1のように、インレット基材11にアンテナパターン2を形成し、アンテナパターンの両端部2a,2bにICチップ3を装着している。 インレット基材11のアンテナパターン2の反対側面には、剥離紙7で保護された粘着剤層を有し、アンテナパターン2の全面は表面保護シートで被覆されている。
この形態は、ICタグラベルの一般的形態である。本発明のICタグラベル1Aの特徴は、ICチップ3の直下部分の前記剥離紙7と粘着剤層6には、ICチップ3を囲む円形または矩形状の開口12が形成されていることにある。ただし、開口12はインレット基材11の下側にあるので、ラベル表面から実際には良く見えないことになる。
開口12の大きさは、円形の場合は、直径3〜10mm程度、正方形の場合も、1辺が3〜10mm程度とする。開口12は、あまり小サイズでは粘着剤の流動により粘着剤層6部分の開口が消滅してしまう可能性があり、上記の数値範囲とするのが好ましい。
図1の場合、ICタグラベル1Aは剥離紙7面に打ち抜かれていて、剥離紙7よりは小さい面積で保持されているが、ラベル相互間の溝がない場合もあり、ラベルと剥離紙7が同一幅の場合もある。なお、本発明のICタグは、13.56MHz等により用いられる電磁誘導型の平面コイル状アンテナのほか、UHF帯やマイクロ波帯のダイポール型アンテナのICタグラベルにも適用できるものである。
図2は、図1のA−A線断面図である。インレット基材11のICチップ3とアンテナパターン2と反対側面には粘着剤層6を有し、当該粘着剤層6は剥離紙7で保護されている。一方、ICチップ3とアンテナパターン2面側は、表面保護シート4により被覆されている。表面保護シート4は接着剤または粘着剤層5により、アンテナパターン2面に接着している。この構成は従来のICタグラベルと同一である。
粘着剤層6と剥離紙7は、ICチップ3の直下であって、上面から見てICチップ3を囲む部分に打ち抜きした開口12を有している。剥離紙7が付いている状態では当該開口12内にICチップ3が納まるようにされている。図1の場合は、シートの厚み方向の寸法が横方向に比較して拡大図示されているので、実際の状態をうまく表現していないが、インレット基材11が屈曲して変形するので、開口寸法に比較して遥かに小さい基材やICチップの厚みは、開口12の中にちょうど納まる状態になる。
ICタグラベル1Aは、剥離紙7および粘着剤層6に開口12が形成されているので、ICチップ3部分の厚みを増大させなくすることができる。従って特に、ICタグラベルを物品に貼着する前の未使用状態において、ICチップ3が外部からの衝撃により破損を生じることを少なくできる。ICタグラベル1Aを使用する場合は剥離紙7を除去し、粘着剤層6により被着体に貼着するが、開口12は粘着剤層6にも形成されているので、剥離紙7を剥がして物品に貼着した場合にも、粘着剤層6の厚み分だけは、物品貼着後においてもICタグラベル1Aの厚みを薄くする効果を生じる。
従来タイプのICタグラベルとは、剥離紙7および粘着剤層6に開口12がある点においてのみ相違している。なお、図2において、アンテナパターン2と接着剤または粘着剤層5間は隙間があるように見えるが、実際は密着しているものである。
図3は、第2形態のICタグラベルの断面図である。平面図は、図1と同様になるので、図示を省略している。第2形態のICタグラベル1Bも、インレット基材11のICチップ3とアンテナパターン2とは反対側面に粘着剤層6を有し、ICチップ3直下部分の当該粘着剤層6と剥離紙7には、ICチップ3を囲む開口12が形成されている特徴がある。この構成は第1形態と同様である。ただし、ICチップ3とアンテナパターン2面側に表面保護シート4が積層されていない点が相違している。表面保護シート4がないので、ICチップ3やアンテナパターン2が露出状態になるが、非接触通信機能は十分に備えている。開口12によりICチップ3の保護効果が生じるのは同様である。
剥離紙7と粘着剤層6の合計厚みは、実際に使用するICチップ3の厚み(100μm〜200μm程度)と同程度であれば、保護機能として十分であるが、従来の剥離紙7と粘着剤層6と同等の厚みであっても一定の効果は得られる。ICチップ3部分の厚みを多少でも低くできれば、ICチップ3が受ける圧力を緩和できるからである。なお、従来の剥離紙7と粘着剤層6の合計厚みは、一般に80μmから200μm程度である。従来品と同等の材料であれば材料費を高くしないで済む効果も得られる。
図5は、コイル状アンテナを有するインレットの平面外観図であり、実際の製品に近いものである。透明なインレット基材11の背面側(剥離紙7側)から見た図である。
インレット基材11にアンテナパターン2を形成し、アンテナパターン2の両端部2a,2bにICチップ3を装着している。導通部材8はアンテナコイルとの短絡をさける背面回路である。アンテナパターン2はインレット基材11にラミネートされた金属(アルミニウムや銅等)箔をエッチングして形成したものが多い。金属箔の厚みは、10μmないし40μm程度なので、ICチップ3程には厚みを生じない。単位のICタグラベル1のコイルの外形は、40mm×45mm、45mm×75mm等の種々のサイズのものがある。図示してないが、本発明はダイポールアンテナにも適用できるものである。ダイポールアンテナの場合は、半波長ダイポールの全長が4インチ内になるようにされる。
なお、インレット基材11とアンテナパターン2とICチップ3からなる当該シートを、一般に、インレットまたはインレットベースとよんでいる。
<材質に関する実施形態>
(1)インレット基材
プラスチックフィルムを幅広く各種のものを使用でき、以下に挙げる単独フィルムあるいはそれらの複合フィルムを使用できる。
ポリエチレンテレフタレート(PET)、PET−G(テレフタル酸−シクロヘキサンジメタノール−エチレングリコール共重合体)、ポリ塩化ビニル、塩化ビニル−酢酸ビニル共重合体、ポリカーボネート、ポリアミド、ポリイミド、セルロースジアセテート、セルローストリアセテート、ポリスチレン系、ABS、ポリアクリル酸エステル、ポリプロピレン、ポリエチレン、ポリウレタン、等である。
(2)表面保護シート
上質紙やコート紙、合成紙等を使用できるほか、インレット基材に使用する各種プラスチックフィルムと同質の材料を使用できる。
(3)剥離紙
紙基材に低接触角の薬剤(通常、シリコーン)を塗布して低剥離強度を実現した材料が使用される。紙基材には、上質紙やクラフト紙、グラシン紙、パーチメント紙、スーパーカレンダード紙、等が使用され、これらに直接シリコーンコートするか、ポリエチレンコート、クレー・バインダーコートした後、シリコーンコートして使用されるものが多い。PETやOPP(2軸延伸ポリプロピレン)、PEもそのまま、あるいはシリコーンコートして剥離紙基材に使用される。
(4)接着剤、粘着剤
本明細書で接着剤という場合は、溶剤型や重合型、紫外線硬化型、エマルジョン型、熱溶融型等の各種のものをいい、いわゆる粘着剤型のものも含むものとする。いずれであっても、双方の材料間を接着すれば目的を達成するからである。
また、本明細書で粘着剤という場合は、徐々に粘度が顕著に上昇することなく、いつまでも中間的なタック状態を保つものをいうものとする。接着剤、粘着剤の樹脂組成物としては、天然ゴム系、ニトリルゴム系、エポキシ樹脂系、酢酸ビニルエマルジョン系、ポリエステル系、アクリル系、アクリル酸エステル共重合体系、ポリビニルアルコール系、フェノール樹脂系、等の各種材料を使用できる。
次に、本発明のICタグラベルの製造方法について説明する。本発明のICタグラベルは、従来のICタグラベルの製造方法とほぼ同様の工程で製造できるが、剥離紙7と粘着剤層6に開口12を形成する特徴があるので、その点に注意して製造する。
図4は、第1形態のICタグラベル1Aの製造工程を示す図である。まず、従来工程で、インレット(アンテナパターン2にICチップ3を装着済みのもの)10を製造した後(図4(A))、インレット10のアンテナパターン2面側に、粘着剤層6を有する剥離紙7をラミネートする(図4(B))。剥離紙7と粘着剤層6には、双方の層を同時に貫通する開口12をあらかじめ形成しておき、開口12とICチップ3の位置を合わせながらラミネートする。通常は粘着剤層6の両面に剥離紙を有する状態で、開口12を打ち抜きする。両面粘着テープを打ち抜きし、片面の剥離紙を除去しながら残った他方側の剥離紙7と粘着剤層6をラミネートするものであってもよい。開口12はロータリダイカッタや平打ち抜き刃で形成することができる。
続いて、インレット10の表裏を反転し(図4(C))、アンテナパターン2とは反対面側に表面保護シート4を接着剤または粘着剤を用いてラミネートする。その後、単位のICタグラベルの形状に打ち抜きする(図4(D))。剥離紙7面に打ち抜きされたICタグラベル1Aが、図1のように形成される。打ち抜き残差である切除片15は除去する(図4(E))。これにより、本発明の第1形態のICタグラベル1Aが完成する。このような工程は既存のICタグ製造の自動化ラインでも十分可能である。
第2形態のICタグラベル1Bの製造は、第1形態において、表面保護シート4をラミネートしないだけのことであるから容易に類推できると考えられる。

(インレットの準備)
インレット基材11として、幅65mm、厚み25μmの透明2軸延伸ポリエチレンテレフタレート(PET)フィルムに、厚み25μmのアルミニウム箔をドライラミネートしたウェブ材料を使用し、これに印刷レジストを用いてコイル状アンテナパターンを印刷した。その後、エッチングしてアンテナパターン2を残し、端部2a,2bに導通部材8を装着し、図5のようなアンテナパターン2を完成した。なお、アンテナパターン2の外形は、ほぼ45mm×76mmの大きさとなるようにし、アンテナパターン2間のピッチ間隔が88mmになるようにした。上記アンテナパターン2の両端部2a,2bに、平面サイズが1.0mm角、厚み120μmであって、スパイク状バンプを有するICチップ3をフェイスダウンの状態で熱圧をかけて装着し、帯状に連続したインレット10を完成した(図4(A))。
(粘着剤層付き剥離紙の準備)
幅75mmであって、厚み30μmの粘着剤層6が塗工された厚み120μmのクラフト紙ベース剥離紙(合計厚み150μm)7を用い、ICチップ3の直下位置になる部分に、直径5mmの円形状の開口12をピッチ間隔88mmで穿孔して準備した。開口12の穿孔には、ロータリーダイカッタを使用した。
(ICタグラベルの製造)
インレット10のアンテナパターン2とは反対側面に、前記により準備した粘着剤層付き剥離紙7を圧着して積層する粘着剤加工をした。ICチップ3が前記開口12の中心に位置するように制御した(図4(B))。続いて、インレット10の表裏を反転し(図4(C))た後、表面保護シート(厚み20μmのPETシート)4を接着剤5を用いて、インレット10のアンテナパターン2面側にラミネートした。その後、ダイカッターを用いて剥離紙7から上の部分を、大きさ54mm×82mmのラベル形状に型抜きして、ICタグラベル1Aの連接体が完成した(図4(D))。以上の工程は、ICタグ加工機を使用して加工した。
実施例1と同一の材料を使用し、同一の工程でICタグラベルの加工を行ったが、表面保護シート4を積層しないで、大きさ54mm×82mmのラベル形状に型抜きして、ICタグラベル1Bの連接体とした。これを実施例2とする。
上記実施例1、実施例2の非接触ICタグラベルを従来品のICタグラベルと同一の条件で使用試験したが、ICタグラベル連接体の状態でICチップ3が破損して生じる不具合が顕著に減少することが認められた。
また、ICタグラベルの巻取り状製品形態において、製造途上または製品化後にも巻き締まりによりICチップが強圧を受けて破損する事故も減少することが認められた。
第1形態のICタグラベルの平面図である。 図1のA−A線断面図である。 第2形態のICタグラベルの断面図である。 第1形態のICタグラベルの製造工程を示す図である。 コイル状アンテナを有するインレットの平面外観図である。
符号の説明
1A,1B ICタグラベル
2 アンテナパターン
3 ICチップ
4 表面保護シート
5 接着剤または粘着剤層
6 粘着剤層
7 剥離紙
10 インレット
11 インレット基材
12 開口

Claims (2)

  1. インレット基材面にアンテナパターンを形成してICチップを装着し、当該アンテナパターンの反対側面に剥離紙で保護された粘着剤層を有し、アンテナパターン面が表面保護シートで被覆された非接触ICタグラベルにおいて、ICチップの直下部分の前記剥離紙と粘着剤層には、ICチップを囲む円形または矩形状の開口が形成されていることを特徴とするICタグラベル。
  2. インレット基材面にアンテナパターンを形成してICチップを装着し、当該アンテナパターンの反対側面に剥離紙で保護された粘着剤層を有する非接触ICタグラベルにおいて、ICチップの直下部分の前記剥離紙と粘着剤層には、ICチップを囲む円形または矩形状の開口が形成されていることを特徴とするICタグラベル。
JP2006280852A 2006-10-16 2006-10-16 Icタグラベル Expired - Fee Related JP4876842B2 (ja)

Priority Applications (3)

Application Number Priority Date Filing Date Title
JP2006280852A JP4876842B2 (ja) 2006-10-16 2006-10-16 Icタグラベル
US12/444,639 US8031071B2 (en) 2006-10-16 2007-10-12 IC tag label
PCT/JP2007/069947 WO2008047705A1 (en) 2006-10-16 2007-10-12 Ic tag label

Applications Claiming Priority (1)

Application Number Priority Date Filing Date Title
JP2006280852A JP4876842B2 (ja) 2006-10-16 2006-10-16 Icタグラベル

Publications (2)

Publication Number Publication Date
JP2008097473A JP2008097473A (ja) 2008-04-24
JP4876842B2 true JP4876842B2 (ja) 2012-02-15

Family

ID=39313936

Family Applications (1)

Application Number Title Priority Date Filing Date
JP2006280852A Expired - Fee Related JP4876842B2 (ja) 2006-10-16 2006-10-16 Icタグラベル

Country Status (3)

Country Link
US (1) US8031071B2 (ja)
JP (1) JP4876842B2 (ja)
WO (1) WO2008047705A1 (ja)

Families Citing this family (5)

* Cited by examiner, † Cited by third party
Publication number Priority date Publication date Assignee Title
CN103295056B (zh) * 2008-05-21 2016-12-28 株式会社村田制作所 无线ic器件
JP5484720B2 (ja) * 2008-12-19 2014-05-07 デクセリアルズ株式会社 アンテナモジュール、及び、その製造方法
JP4687832B2 (ja) * 2009-04-21 2011-05-25 株式会社村田製作所 アンテナ装置
JP2020506451A (ja) * 2017-12-29 2020-02-27 林武旭 電子モジュール用遷移層、及びこの製造方法
EP4617947A1 (en) * 2024-02-02 2025-09-17 Baloa Ltd. Rfid tag and tag manufacturing method

Family Cites Families (8)

* Cited by examiner, † Cited by third party
Publication number Priority date Publication date Assignee Title
JP3720599B2 (ja) * 1998-10-07 2005-11-30 日本電信電話株式会社 半導体装置
JP2002042067A (ja) * 2000-07-21 2002-02-08 Dainippon Printing Co Ltd 非接触型データキャリア及び非接触型データキャリアを有する冊子
JP4060653B2 (ja) * 2002-07-12 2008-03-12 大日本印刷株式会社 非接触icカード
JP4504694B2 (ja) 2004-01-30 2010-07-14 トッパン・フォームズ株式会社 スレッドの製造方法及びicチップ入りシートの製造方法、並びにこれらによって製造されたスレッド及びicチップ入りシート
JP2005311205A (ja) * 2004-04-23 2005-11-04 Nec Corp 半導体装置
JP4612434B2 (ja) * 2005-02-25 2011-01-12 大日本印刷株式会社 非接触icタグと非接触icタグの装着方法
JPWO2008047630A1 (ja) * 2006-10-12 2010-02-25 大日本印刷株式会社 Icタグラベル
US7561047B2 (en) * 2006-11-22 2009-07-14 Dai Nippon Printing Co., Ltd. Noncontact tag and method for producing the same

Also Published As

Publication number Publication date
JP2008097473A (ja) 2008-04-24
WO2008047705A1 (en) 2008-04-24
US8031071B2 (en) 2011-10-04
US20090303012A1 (en) 2009-12-10

Similar Documents

Publication Publication Date Title
JP2007279782A (ja) Icチップ破壊防止構造を有する非接触icタグと非接触icタグ連接体、非接触icタグ連接体の製造方法
US8162231B2 (en) Noncontact IC tag label and method of manufacturing the same
JP4876542B2 (ja) 非接触icタグラベル
JPWO2008047630A1 (ja) Icタグラベル
JP5257019B2 (ja) Icタグラベル
JP2008310540A (ja) Icチップ破壊防止と通信阻害抑制構造を有する非接触icタグ
JP4748358B2 (ja) 非接触icタグラベル
JP2012048478A (ja) 帯状インレットおよびicタグラベルの連続体
US8031071B2 (en) IC tag label
KR101626998B1 (ko) 전자회로 및 ic 태그
JP2012230469A (ja) 非接触式icラベル
JP5115278B2 (ja) 無線タグラベルと無線タグ、無線タグの書籍への貼着方法、無線タグラベルの製造方法
JP4612434B2 (ja) 非接触icタグと非接触icタグの装着方法
EP1564678A1 (en) Ic tag
JP2006285709A (ja) 非接触icタグ
JP4831312B2 (ja) 非接触icタグの製造方法
JP2009223847A (ja) Icタグラベルの帯状連続体と印字用icタグラベル用紙
JP4788196B2 (ja) Icチップ破壊防止構造を有する非接触icタグ
JP5257018B2 (ja) Icタグ
JP4127650B2 (ja) Icタグ
JP2008077127A (ja) Icタグ連接体
JP4339069B2 (ja) Icタグ
JP4354317B2 (ja) Icタグ及びその製造方法
JP2014160174A (ja) Icタグラベル
JP2007115183A (ja) Icチップ破壊防止構造を有する非接触icタグ

Legal Events

Date Code Title Description
A621 Written request for application examination

Free format text: JAPANESE INTERMEDIATE CODE: A621

Effective date: 20090827

A521 Request for written amendment filed

Free format text: JAPANESE INTERMEDIATE CODE: A523

Effective date: 20100401

TRDD Decision of grant or rejection written
A01 Written decision to grant a patent or to grant a registration (utility model)

Free format text: JAPANESE INTERMEDIATE CODE: A01

Effective date: 20111101

A01 Written decision to grant a patent or to grant a registration (utility model)

Free format text: JAPANESE INTERMEDIATE CODE: A01

A61 First payment of annual fees (during grant procedure)

Free format text: JAPANESE INTERMEDIATE CODE: A61

Effective date: 20111114

R150 Certificate of patent or registration of utility model

Free format text: JAPANESE INTERMEDIATE CODE: R150

Ref document number: 4876842

Country of ref document: JP

Free format text: JAPANESE INTERMEDIATE CODE: R150

FPAY Renewal fee payment (event date is renewal date of database)

Free format text: PAYMENT UNTIL: 20141209

Year of fee payment: 3

LAPS Cancellation because of no payment of annual fees