JP4862322B2 - 鳩目穴かがり縫いミシンの芯糸供給装置 - Google Patents

鳩目穴かがり縫いミシンの芯糸供給装置 Download PDF

Info

Publication number
JP4862322B2
JP4862322B2 JP2005251205A JP2005251205A JP4862322B2 JP 4862322 B2 JP4862322 B2 JP 4862322B2 JP 2005251205 A JP2005251205 A JP 2005251205A JP 2005251205 A JP2005251205 A JP 2005251205A JP 4862322 B2 JP4862322 B2 JP 4862322B2
Authority
JP
Japan
Prior art keywords
core
core yarn
core thread
thread
bed
Prior art date
Legal status (The legal status is an assumption and is not a legal conclusion. Google has not performed a legal analysis and makes no representation as to the accuracy of the status listed.)
Expired - Fee Related
Application number
JP2005251205A
Other languages
English (en)
Other versions
JP2007061350A (ja
Inventor
靖宏 清水
Current Assignee (The listed assignees may be inaccurate. Google has not performed a legal analysis and makes no representation or warranty as to the accuracy of the list.)
Brother Industries Ltd
Original Assignee
Brother Industries Ltd
Priority date (The priority date is an assumption and is not a legal conclusion. Google has not performed a legal analysis and makes no representation as to the accuracy of the date listed.)
Filing date
Publication date
Application filed by Brother Industries Ltd filed Critical Brother Industries Ltd
Priority to JP2005251205A priority Critical patent/JP4862322B2/ja
Priority to CN2006101290100A priority patent/CN1924141B/zh
Publication of JP2007061350A publication Critical patent/JP2007061350A/ja
Application granted granted Critical
Publication of JP4862322B2 publication Critical patent/JP4862322B2/ja
Anticipated expiration legal-status Critical
Expired - Fee Related legal-status Critical Current

Links

Images

Landscapes

  • Sewing Machines And Sewing (AREA)

Description

本発明は、鳩目穴かがり縫いミシンの芯糸供給装置において、特に1サイクルの縫製終了後に下糸と芯糸を切断してからルーパー土台を回動させ、芯糸を引っ張って縫製開始位置にセットする際の芯糸の引き戻し量の安定化を図ったものに関する。
従来、身頃生地等の各種の加工布に、円弧状の鳩目穴部とこれに連続する直線穴部とからなる鳩目穴を形成し、その鳩目穴に対してかがり縫いを自動的に行う鳩目穴かがりミシンが実用化されている。
一般的に、鳩目穴かがり縫いミシンには、略矩形箱状をなすベッド部と、その上部から前方に延びるアーム部とが一体的に設けられ、アーム部の先端部には、縫針が取付けられた針棒が上下動可能に設けられ、ベッド部には、針棒の直下に位置して1対のルーパーを有するルーパー機構を備えたルーパー土台(レース土台)が設けられている。
これらルーパーは、針棒の上下動に同期して作動することにより、縫針と協働して加工布に縫目を形成する。また、ベッド部には、ルーパー土台の奥方に位置する下メスとこの下メスに対して上方より接離するハンマーが設けられ、ハンマーと下メスとの協働により加工布に鳩目穴部と直線穴部とが連なる鳩目穴状の切り込みを形成できるようになっている。
ところで、コート等の厚手の生地にかがり縫いを行う場合に、芯糸供給源より供給された芯糸の前端部を、ルーパー土台の頂部に設けたスロートプレートの芯糸挿通穴に布送り方向に向けて挿通させてセットしておき、芯糸供給源から引出された芯糸を縫針の左右の針落ち点の間に導出させて、芯糸を縫目内に縫い込ませて縫目を補強している。
1サイクルの縫製終了後、固定メスと可動メスによって下糸と芯糸を切断し、次にルーパー土台を回動させてスロートプレートの芯糸挿通穴から突出する芯糸の長さが短くなるように芯糸を引っ張って、芯糸を縫製開始位置にセットする。
このとき、芯糸供給源より芯糸が引き出されないように、ルーパー土台よりも芯糸送り方向上流側で芯糸をロックしておく必要がある。このような、芯糸をロックする為の機構には、種々のものが開示されている。例えば、特許文献1に記載のボタン穴かがりミシンの芯紐調子装置においては、ボタン穴かがりミシンのアーム部の前側に1対の紐調子と紐調子ばねを備え、1対の紐調子の間に芯紐を挿通し紐調子の前側に設けた紐調子ばねの弾性力により紐調子を押圧することで、芯紐に抵抗を付与する機構が開示されている。
特公昭57−41274号公報
特許文献1のボタン穴かがりミシンの芯紐調子装置では、ミシンのアーム部に芯紐調子装置が設けられているため、芯紐調子装置からスロートプレートまでの距離が長くなる。そのため、ルーパー土台を回動させて芯糸を引っ張ってスロートプレートの芯糸挿通穴から所定量(数mm)の芯糸が突出する縫製開始位置にセットする際、芯紐調子装置とルーパー土台との間を通る部分の芯糸の伸びや弛み等が発生し、スロートプレートの芯糸挿通穴から突出する芯糸の長さが長くなったり、スロートプレートの芯糸挿通穴から芯糸が外れてしまう虞がある。そのため、使用者が鋏で芯糸を切断したり芯糸を引っ張って縫製開始位置にセットし直す必要がある。
また、特許文献1のボタン穴かがりミシンの芯紐調子装置では、紐調子ばねの弾性力により芯糸を押圧して抵抗を付与するのみであり、芯糸を引っ張って縫製開始位置にセットする際に芯糸を確実にロックすることができないため、芯糸供給源から芯糸が引き出され易く、スロートプレートの芯糸挿通穴から突出する芯糸の長さが長くなり易く、使用者が鋏で芯糸を切断する必要がある。
本発明の目的は、鳩目穴かがり縫いミシンの芯糸供給装置において、1サイクルの縫製終了後に下糸と芯糸を切断してからルーパー土台を回動させ、芯糸を引っ張って縫製開始位置にセットする際の芯糸の引き戻し量の安定化を図ることである。
請求項1の鳩目穴かがり縫いミシンの芯糸供給装置は、ミシンのアーム上部に設けられた芯糸案内部を経由して、ベッド部内で回動可能なルーパー土台に設けられたスロートプレートへ芯糸を供給する鳩目穴かがり縫いミシンの芯糸供給装置において、前記芯糸案内部を経由した芯糸を前記ベッド部内まで案内する上下案内パイプと、前記上下案内パイプ内を通って前記ベッド部内まで導入された芯糸をルーパー土台まで案内するベッド内案内経路と、前記ベッド内案内経路の途中部に配設され且つ前記芯糸をロックしたロック状態とロック解除した通常状態とに切換え可能な芯糸ロック機構とを備え、前記芯糸を切断後、前記芯糸ロック機構をロック状態に切換えてから前記ルーパー土台を回動させて、前記芯糸が前記スロートプレートから所定量突出する縫製開始位置にセットすることを特徴とする。
アーム部の上端側から供給される芯糸は、上下案内パイプ内を通ってベッド部内に導入され、ベッド内案内経路の途中部に配設された芯糸ロック機構を通ってルーパー土台まで案内される。このとき、1サイクルの縫製終了後に下糸と芯糸を切断し芯糸ロック機構をロック状態に切換えて芯糸をロックすると、芯糸ロック機構からルーパー土台までの距離が短いので、ルーパー土台を回動させて芯糸を引っ張って縫製開始位置にセットする際に、芯糸ロック機構とルーパー土台との間の部分で芯糸が伸びたり弛んだりしないので、芯糸の引き戻し量が安定する。
請求項2の鳩目穴かがり縫いミシンの芯糸供給装置は、請求項1の発明において、前記ベッド内案内経路は、前記芯糸ロック機構よりも芯糸送り方向下流側において芯糸を案内する水平案内パイプと、前記ルーパー土台の付近で芯糸の送り方向を変換する方向変換部材とを有することを特徴とする。
請求項3の鳩目穴かがり縫いミシンの芯糸供給装置は、請求項1又は2の発明において、前記芯糸ロック機構は、固定部材と、電磁アクチュエータにより駆動される可動皿部材とを有することを特徴とする。
請求項4の鳩目穴かがり縫いミシンの芯糸供給装置は、請求項2又は3の発明において、前記芯糸ロック機構は、前記水平案内パイプと直線状に配置されたことを特徴とする。
請求項1の発明によれば、芯糸をベッド部内まで案内する上下案内パイプと、ベッド部内まで導入された芯糸をルーパー土台まで案内するベッド内案内経路と、ベッド内案内経路の途中部に配設され且つ芯糸をロックしたロック状態とロック解除した通常状態とに切換え可能な芯糸ロック機構とを備え、前記芯糸を切断後、前記芯糸ロック機構をロック状態に切換えてから前記ルーパー土台を回動させて、前記芯糸が前記スロートプレートから所定量突出する縫製開始位置にセットするので、芯糸ロック機構からルーパー土台までの距離が短くなり、1サイクルの縫製終了後に下糸と芯糸を切断してからルーパー土台を回動させて芯糸を引っ張って縫製開始位置にセットする際に、芯糸ロック機構とルーパー土台との間を通る部分の芯糸の伸びや弛みを防止でき、芯糸の引き戻し量が安定する。そのため、使用者が鋏で芯糸を切断したり芯糸を引っ張って縫製開始位置にセットし直す必要がない。
しかも、芯糸ロック機構をロック状態と通常状態とに切換えることができ、芯糸ロック機構をロック状態に切換えた場合、芯糸ロック機構により芯糸を確実にロックするので、芯糸供給源から芯糸が引き出さることもない。一方、縫製時には芯糸ロック機構を通常状態に切換えて、芯糸を供給側から容易に引き出すことができるので、縫目の縫い縮みを防止できる。同様に、芯糸交換時に芯糸ロック機構を通常状態に切換えた場合は、芯糸をルーパー土台まで容易に案内することができる。
請求項2の発明によれば、ベッド内案内経路は、芯糸ロック機構よりも芯糸送り方向下流側において芯糸を案内する水平案内パイプと、ルーパー土台の付近で芯糸の送り方向を変換する方向変換部材とを有するので、芯糸交換時には芯糸をルーパー土台まで容易に案内することができる。
請求項3の発明によれば、芯糸ロック機構は、固定部材と、電磁アクチュエータにより駆動される可動皿部材とを有するので、芯糸ロック機構をロック状態に切換えたときには、芯糸を確実にロックすることができる。
請求項4の発明によれば、芯糸ロック機構は、水平案内パイプと直線状に配置されたので、縫製中に芯糸ロック機構に接触することなく芯糸が送り出され、芯糸の損傷を防止できる。
本発明の鳩目穴かがり縫いミシンの芯糸供給装置は、ミシンのアーム上部に設けられた芯糸案内部を経由して、ルーパー土台に設けられたスロートプレートへ芯糸を供給する鳩目穴かがり縫いミシンの芯糸供給装置において、芯糸案内部を経由した芯糸をベッド部内まで案内する上下案内パイプと、上下案内パイプ内を通ってベッド部内まで導入された芯糸をルーパー土台まで案内するベッド内案内経路と、ベッド内案内経路の途中部に配設され且つ芯糸をロックしたロック状態とロック解除した通常状態とに切換え可能な芯糸ロック機構とを備えたものである。
以下、本発明の実施例について図面に基づいて説明する。
図1は電子鳩目穴かがりミシンMの斜視図であり、電子鳩目穴かがりミシンMから打ち抜き用ハンマーとメスと送り台等を除去した状態が示され、図2は電子鳩目穴かがりミシンMの正面図であり、電子鳩目穴かがりミシンMから打ち抜き用ハンマーとメスと送り台等を除去した状態が示されている。
図1,図2に示すように、電子鳩目穴かがりミシンMは、略矩形箱状をなすベッド部1と、その後部の上部から前方に連続して延びるアーム部2を有し、アーム部2の前半部の左右方向幅は、その後半部の左右方向幅の略半分の寸法に構成されている。これらベッド部1とアーム部2は一体的に構成され、ミシンテーブル(図示略)上に載置されている。
このミシンテーブルには、針棒3の上下動及び揺動やルーパー機構24(図4、図5参照)等を同期駆動させる縫製機構の駆動源となるミシンモータ、複数種類の鳩目穴かがり縫目のうちから択一的に選択する操作パネル、足踏み式の起動・停止スイッチなどが設けられ、更に各機構の作動を制御するマイクロコンピュータからなる制御装置も設けられている。
アーム部2の先端部には、縫針4(図4参照)を備えた針棒3が上下動可能に設けられ、詳しく図示はしないが、ミシンモータの駆動により回転する主軸(図示略)の回転力がカム機構に伝達され、所定幅分だけ左右に揺動しながら上下駆動されるようになっている。この場合、主軸の1回転により、針棒3は左側揺動位置(内針位置)と右側揺動位置(外針位置)とに2回上下動するようになっている。
図1〜図5に示すように、ベッド部1には、針棒3に対向するように左右1対のルーパー10a,10bを有するルーパー機構24を備えたルーパー土台11が設けられ、このルーパー土台11は後述する回動機構14により鉛直軸周りに回動可能になっている。これら1対ルーパー10a,10bはルーパー土台11に設けられたリンク機構やカム機構を介して主軸の回転により、針棒11の上下動と調時して揺動駆動されるようになっている。
ここで、縫針4には糸供給源から供給される上糸が挿通されるとともに、左ルーパー10aの先端部には下糸が挿通され、右ルーパー10bは上糸ループを編み込みながら下糸を交絡させて、ループ結合部を形成する。針棒3とルーパー土台11はベッド部1の内部に設けられたθ方向駆動モータ23とギヤ機構からなる回動機構14により、夫々水平面において、鉛直軸周りに一体的に回転するようになっている
ベッド部1には、ルーパー土台11の後方側に位置して固定配置されて鳩目穴部を形成する為のメス(図示略)が取付け台(図示略)に着脱可能に取付けられ、このメスに対して上方より接離する打ち抜き用ハンマー(図示略)が揺動可能に設けられている。打ち抜き用ハンマーは、ベッド部2の内部に設けられたエアシリンダ等からなるハンマー駆動機構(図示略)により駆動され、打ち抜き用ハンマーとメスとの協働により、略円形状の鳩目部とこれに連なる直線状の足部とからなる鳩目穴部が加工布に穿孔されるようになっている。また、ベッド部1には、下糸と芯糸30を切断する為の固定メス(図示略)と可動メス(図示略)が設けられている。
ベッド部1の上面部には、鳩目穴かがり縫いに供する加工布がセットされる送り台(図示略)が設けられている。ベッド部1の内部には、この送り台を、ステッピングからなるX方向駆動モータの駆動によりX方向(左右方向)に送り移動させるX方向移動機構(図示略)と、ステッピングモータからなるY方向駆動モータの駆動によりY方向(前後方向)に送り移動させるY方向移動機構(図示略)とが設けられている。
次に、縫針4とルーパー機構24を鉛直軸心回りに回動可能な回動機構14について、図4に基づいて説明する。
鉛直向きのレース回転軸15の上端部と下端部には、夫々プーリ16,17が固着され、上側プーリ16と、針棒3を嵌合した針棒ブロック18とに亙ってタイミングベルト19が掛装されている。一方、下側プーリ17と、θ方向駆動モータ23の駆動軸に固着された駆動プーリ20と、ルーパー土台11の従動ギヤ21とに亙ってタイミングベルト22が掛装されている。そのため、θ方向駆動モータ23の回動により、レース回転軸15とタイミングベルト19,22とを介して、針棒3とルーパー土台11とが同期して鉛直軸心回りに回動できるようになっている。
ルーパー土台11の上部には、左右1対のルーパー10a,10b等を有する二重環のルーパー機構24が設けられ、ルーパー土台11の頂部には、スロートプレート25が高さ調整可能に取付けられている。スロートプレート25には、針穴と、芯糸供給源から供給される芯糸30を挿通させる為の芯糸挿通穴が形成されている。アーム部2とベッド部1の内部には、芯糸30をルーパー土台11まで案内するとともに、ベッド部1の内部で芯糸30をロックする為の芯糸供給装置51が設けられている。
次に、芯糸供給装置51について、図1〜図3、図6、図7に基づいて、説明する。
アーム部2の上端部には、芯糸案内部としての芯糸案内棒31及び芯糸案内板32が設けられ、芯糸供給源より供給される芯糸30は芯糸案内棒31と芯糸案内板32を経由して上下案内パイプ33に案内される。アーム部2の左側部分の前面には、鉛直方向に延びる上下案内パイプ33が設けられ、上下案内パイプ33は、芯糸案内棒31と芯糸案内板32を経由して案内された芯糸30をベッド部1の内部まで案内する。ベッド部1の内部には、上下案内パイプ33の内部を通ってベッド部1の内部まで導入された芯糸30をルーパー土台11まで案内するベッド内案内経路50と、ベッド内案内経路50の途中部に配設された芯糸ロック機構34等が設けられている。
ベッド内案内経路50は、芯糸ロック機構34よりも芯糸送り方向下流側において芯糸30を案内する水平案内パイプ39と、ルーパー土台11の付近で芯糸30の送り方向を変換する芯糸案内部材40(これが方向変換部材に相当する)とを有する。尚、上下案内パイプ33とベッド内案内経路50と芯糸ロック機構34が芯糸供給装置51に相当する。
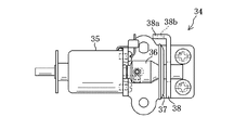
図6に示すように、芯糸ロック機構34は、上下案内パイプ33の下端部よりも下方であって前方右側に配設され、ソレノイド35(電磁アクチュエータ)と、可動皿部材37と、固定部材38とを有する。ソレノイド35は、そのプランジャー36が右側に位置するように配設され、ソレノイド35が駆動されるとプランジャー36が右方に突出するようになっている。
プランジャーの前端部には可動皿部材37が固着され、可動皿部材37の右側には、平面視にてL字状の固定部材38が所定の間隔を空けて平行に設けられ、固定部材38は可動皿部材37とで芯糸30をロック可能な寸法に構成されている。固定部材38の後端部には、左方に折曲された案内部38aが形成され、案内部38aには、上下案内パイプ33の内部を通ってベッド部1の内部まで導入された芯糸30を可動皿部材37と固定部材38との間に案内する為のガイド穴38bが設けられている。
芯糸ロック機構34は、ソレノイド35の駆動によって芯糸30をロックしたロック状態とロック解除した通常状態とに切換え可能に構成されており、ソレノイド35は、可動皿部材37と固定部材38とで芯糸30をロック可能な電圧で駆動される。ソレノイド35が駆動されないときは、プランジャー36が左方に位置し可動皿部材37が固定部材38から離間しているので、可動皿部材37と固定部材38との間を通る芯糸30が、可動皿部材37によって固定部材38に押圧されないようになっている。このとき、芯糸ロック機構34は、可動皿部材37と固定部材38との間を通る芯糸30を解放する通常状態である。
一方、ソレノイド35が駆動されたときには、プランジャー36が右方に突出するとともに可動皿部材37が右方に移動し、可動皿部材37と固定部材38との間を通る芯糸30が可動皿部材37によって固定部材38に押圧されてロックされる。このとき、芯糸ロック機構34は、可動皿部材37と固定部材38との間を通る芯糸30をロックするロック状態である。
図1〜図3、図7に示すように、芯糸ロック機構34の前方には、前後方向に延びる水平案内パイプが芯糸ロック機構34と直線状に配置され、水平案内パイプ39の穴と案内部38aのガイド穴38bが同一軸上になっている。水平案内パイプ39の前方やや右側には、芯糸案内部材40が前後方向に設けられている。
芯糸案内部材40の右端部には、平面視にて楕円状の支持部42を介して案内片41が立設され、案内片41を支持部42に沿って前後方向にスライド移動させることで、案内片41の前後方向の位置調整が可能となっている。従って、1サイクルの縫製終了後に下糸と芯糸を切断してからルーパー土台11を回動させて、芯糸30を引っ張って縫製開始位置にセットする際の芯糸30の引き戻し量を調整することが可能である。案内片41には、水平案内パイプ39から導入された芯糸30を芯糸案内部材40の右側に設けたルーパー土台11に案内する為のガイド穴41aが設けられている。
ルーパー土台11の上部の縦壁13の前側には芯糸案内板43が固定され、芯糸案内板43の上部には水平方向に折曲された円環部43aが設けられ、案内片41のガイド穴41aから導出された芯糸30を下方から上方に案内している。芯糸案内板43には更に、円環部43aにより案内された芯糸30をスロートプレート25まで案内する為のガイド穴43bが設けられ、そのガイド穴43bを通った芯糸30の前端部は、スロートプレート25の芯糸挿通穴に挿通される。
次に、以上説明したミシンMの作用、効果について説明する。
図8に示すように、1サイクルの縫製終了後、送り台を後方に移動させて打ち抜き用ハンマーと下メスにより加工布に鳩目穴状の切り込みを形成した後、固定メスと可動メスにより下糸と芯糸30を切断する。次に、ソレノイド35を駆動し芯糸ロック機構34をロック状態に切換えて、可動皿部材37と固定部材38との間を通る芯糸30を可動皿部材37によって固定部材38に押圧することで芯糸30をロックする。
次に、図9に示すように、ルーパー土台11を時計回りに約180°回動させると、案内片41のガイド穴から導出された芯糸30がルーパー土台11の縦壁13の縁部に引っ掛けられて、芯糸30の前端部が後方に引っ張られて、芯糸30がスロートプレート25から所定量突出した状態で縫製開始位置にセットされる。
このように、芯糸30をベッド部1の内部まで案内する上下案内パイプ33と、ベッド部1の内部まで導入された芯糸30をルーパー土台11まで案内するベッド内案内経路50と、ベッド内案内経路50の途中部に配設され且つ芯糸30をロックしたロック状態とロック解除した通常状態とに切換え可能な芯糸ロック機構34とを備えたので、芯糸ロック機構34からルーパー土台11までの距離が短くなり、1サイクルの縫製終了後に下糸と芯糸30を切断してからルーパー土台11を回動させて芯糸30を引っ張って縫製開始位置にセットする際に、芯糸ロック機構34とルーパー土台11との間を通る部分の芯糸30の伸びや弛みを防止でき、芯糸30の引き戻し量が安定する。そのため、使用者が鋏で芯糸30を切断したり芯糸30を引っ張って縫製開始位置にセットし直す必要がない。
しかも、ソレノイド35の駆動により芯糸ロック機構34をロック状態と通常状態とに切換えることができ、芯糸ロック機構34をロック状態に切換えた場合、芯糸ロック機構34により芯糸30を確実にロックするので、芯糸供給源から芯糸30が引き出さることもない。一方、縫製時には芯糸ロック機構34を通常状態に切換えて、芯糸30を供給側から容易に引き出すことができるので、縫目の縫い縮みを防止できる。同様に、芯糸交換時に芯糸ロック機構34を通常状態に切換えた場合は、芯糸30をルーパー土台11まで容易に案内することができる。
更に、ベッド内案内経路50は、芯糸ロック機構34よりも芯糸30の送り方向下流側において芯糸30を案内する水平案内パイプ39と、ルーパー土台11の付近で芯糸30の送り方向を変換する芯糸案内部材40とを有するので、芯糸30の交換時には芯糸30をルーパー土台11まで容易に案内することができる。
更に、芯糸ロック機構34は、固定部材38とソレノイド35により駆動される可動皿部材37とを有するので、芯糸ロック機構34をロック状態に切換えたときには、芯糸30を確実にロックすることができる。更に、芯糸ロック機構34は水平案内パイプ39と直線状に配置されたので、縫製中に芯糸ロック機構34に接触することなく芯糸30が送り出され、芯糸30の損傷を防止できる。
次に、前記実施例を部分的に変更した変更例について説明する。
1〕上記実施例の芯糸ロック機構34は、上下案内パイプ33の下端部よりも下方であって前方右側に配設されることとしたが、芯糸ロック機構34はベッド部1の内部に配設されていればよく、ベッド部1の内部の他の部位に配設されてもよい。例えば、水平案内パイプ39の中間部、つまり、水平案内パイプ39を分割し、その間に芯糸ロック機構34を配設してもよい。
2〕その他、当業者であれば、本発明の趣旨を逸脱することなく、前記実施例に種々の変更を付加した形態で実施可能で、本発明はそのような変更形態も包含するものである。
本発明の実施例に係る電子鳩目穴かがりミシンの斜視図である。 電子鳩目穴かがりミシンの正面図である。 図2のIII 断面図である。 回動機構及びルーパー機構の斜視図である。 ルーパー機構の正面図である。 芯糸ロック機構の平面図である。 図1に示す構成の要部拡大図である。 図3に示す構成の要部拡大図である。 図6においてルーパー土台が縫製開始位置に回動したことを示す図である。
M 電子鳩目穴かがりミシン
1 ベッド部
2 アーム部
11 ルーパー土台
30 芯糸
31 芯糸案内棒
32 芯糸案内板
33 上下案内パイプ
34 芯糸ロック機構
35 ソレノイド
37 可動皿部材
38 固定部材
39 水平案内パイプ
40 芯糸案内部材
50 ベッド内案内経路
51 芯糸供給装置

Claims (4)

  1. ミシンのアーム上部に設けられた芯糸案内部を経由して、ベッド部内で回動可能なルーパー土台に設けられたスロートプレートへ芯糸を供給する鳩目穴かがり縫いミシンの芯糸供給装置において、
    前記芯糸案内部を経由した芯糸を前記ベッド部内まで案内する上下案内パイプと、
    前記上下案内パイプ内を通って前記ベッド部内まで導入された芯糸をルーパー土台まで案内するベッド内案内経路と、
    前記ベッド内案内経路の途中部に配設され且つ前記芯糸をロックしたロック状態とロック解除した通常状態とに切換え可能な芯糸ロック機構とを備え
    前記芯糸を切断後、前記芯糸ロック機構をロック状態に切換えてから前記ルーパー土台を回動させて、前記芯糸が前記スロートプレートから所定量突出する縫製開始位置にセットすることを特徴とする鳩目穴かがり縫いミシンの芯糸供給装置。
  2. 前記ベッド内案内経路は、前記芯糸ロック機構よりも芯糸送り方向下流側において芯糸を案内する水平案内パイプと、前記ルーパー土台の付近で芯糸の送り方向を変換する方向変換部材とを有することを特徴とする請求項1に記載の鳩目穴かがり縫いミシンの芯糸供給装置。
  3. 前記芯糸ロック機構は、固定部材と、電磁アクチュエータにより駆動される可動皿部材とを有することを特徴とする請求項1又は2に記載の鳩目穴かがり縫いミシンの芯糸供給装置。
  4. 前記芯糸ロック機構は、前記水平案内パイプと直線状に配置されたことを特徴とする請求項2又は3に記載の鳩目穴かがり縫いミシンの芯糸供給装置。
JP2005251205A 2005-08-31 2005-08-31 鳩目穴かがり縫いミシンの芯糸供給装置 Expired - Fee Related JP4862322B2 (ja)

Priority Applications (2)

Application Number Priority Date Filing Date Title
JP2005251205A JP4862322B2 (ja) 2005-08-31 2005-08-31 鳩目穴かがり縫いミシンの芯糸供給装置
CN2006101290100A CN1924141B (zh) 2005-08-31 2006-08-28 锁眼缝纫机的芯线供给装置

Applications Claiming Priority (1)

Application Number Priority Date Filing Date Title
JP2005251205A JP4862322B2 (ja) 2005-08-31 2005-08-31 鳩目穴かがり縫いミシンの芯糸供給装置

Publications (2)

Publication Number Publication Date
JP2007061350A JP2007061350A (ja) 2007-03-15
JP4862322B2 true JP4862322B2 (ja) 2012-01-25

Family

ID=37816954

Family Applications (1)

Application Number Title Priority Date Filing Date
JP2005251205A Expired - Fee Related JP4862322B2 (ja) 2005-08-31 2005-08-31 鳩目穴かがり縫いミシンの芯糸供給装置

Country Status (2)

Country Link
JP (1) JP4862322B2 (ja)
CN (1) CN1924141B (ja)

Families Citing this family (1)

* Cited by examiner, † Cited by third party
Publication number Priority date Publication date Assignee Title
JP3166212U (ja) 2010-12-10 2011-02-24 株式会社鈴木製作所 ミシンのルーパ装置

Family Cites Families (8)

* Cited by examiner, † Cited by third party
Publication number Priority date Publication date Assignee Title
US2291164A (en) * 1940-10-10 1942-07-28 William E Law Grinding tool
NL300984A (ja) * 1962-12-07
DE2325705C2 (de) * 1973-05-21 1975-03-20 Pfaff Industriemaschinen Gmbh, 6750 Kaiserslautern Bandzuführung an Knopflochnähmaschinen
JPH04317687A (ja) * 1991-04-17 1992-11-09 Juki Corp 鳩目穴かがりミシンの芯糸調子装置
JPH06190171A (ja) * 1992-12-28 1994-07-12 Juki Corp 糸切り付きミシンの上糸繰出し・引き戻し装置
JP3508371B2 (ja) * 1996-02-27 2004-03-22 ブラザー工業株式会社 鳩目穴かがりミシン
JP4149078B2 (ja) * 1999-04-26 2008-09-10 Juki株式会社 穴かがりミシンの送り台駆動装置
JP3779921B2 (ja) * 2001-12-13 2006-05-31 Juki株式会社 ボタン穴かがり縫いミシン

Also Published As

Publication number Publication date
CN1924141A (zh) 2007-03-07
JP2007061350A (ja) 2007-03-15
CN1924141B (zh) 2012-02-29

Similar Documents

Publication Publication Date Title
JP4725864B2 (ja) 偏平縫いミシン
KR20080045071A (ko) 재봉기
JP2017221644A (ja) 扁平縫いミシン
JP5544056B2 (ja) 飾り縫いミシン
US4459925A (en) Cycle sewing machine
JP3872487B2 (ja) 間歇ステッチ縫いミシン
JP4862322B2 (ja) 鳩目穴かがり縫いミシンの芯糸供給装置
JP5158563B2 (ja) 鳩目穴かがりミシン
JP2001314681A (ja) ミシン
CN107488942B (zh) 扁平缝缝纫机
JP2000317176A (ja) 縫目ほつれ防止装置
JP2010227374A (ja) ミシン
JP2006314423A (ja) ミシンのスプレッダー機構
CN108425187B (zh) 缝纫机
KR20090076821A (ko) 단추구멍박기 재봉기
EP0530158B1 (en) Improved automatic machine for stitching of various articles, in particular leather articles
JP4722503B2 (ja) ミシン
JPH0510796Y2 (ja)
JP5420606B2 (ja) 間歇ステッチ縫いミシン
JP2641089B2 (ja) ミシン装置における縫い代定規装置
JP2003111989A (ja) リブ地の縫合方法及びそのミシン
JP4240181B2 (ja) 穴かがり縫目形成方法及び穴かがりミシン及び穴かがり縫目
JP4975311B2 (ja) ミシンの針糸繰り出し装置
JP2006026374A (ja) 空環縫込み装置付きミシン
JP4294435B2 (ja) ミシン

Legal Events

Date Code Title Description
A621 Written request for application examination

Free format text: JAPANESE INTERMEDIATE CODE: A621

Effective date: 20080530

A977 Report on retrieval

Free format text: JAPANESE INTERMEDIATE CODE: A971007

Effective date: 20110104

A131 Notification of reasons for refusal

Free format text: JAPANESE INTERMEDIATE CODE: A131

Effective date: 20110304

A521 Written amendment

Free format text: JAPANESE INTERMEDIATE CODE: A523

Effective date: 20110502

TRDD Decision of grant or rejection written
A01 Written decision to grant a patent or to grant a registration (utility model)

Free format text: JAPANESE INTERMEDIATE CODE: A01

Effective date: 20111011

A01 Written decision to grant a patent or to grant a registration (utility model)

Free format text: JAPANESE INTERMEDIATE CODE: A01

A61 First payment of annual fees (during grant procedure)

Free format text: JAPANESE INTERMEDIATE CODE: A61

Effective date: 20111024

FPAY Renewal fee payment (event date is renewal date of database)

Free format text: PAYMENT UNTIL: 20141118

Year of fee payment: 3

R150 Certificate of patent or registration of utility model

Free format text: JAPANESE INTERMEDIATE CODE: R150

LAPS Cancellation because of no payment of annual fees