JP4635122B2 - 生物学的に植え込み可能なプロテーゼおよびその使用方法 - Google Patents

生物学的に植え込み可能なプロテーゼおよびその使用方法 Download PDF

Info

Publication number
JP4635122B2
JP4635122B2 JP2004564040A JP2004564040A JP4635122B2 JP 4635122 B2 JP4635122 B2 JP 4635122B2 JP 2004564040 A JP2004564040 A JP 2004564040A JP 2004564040 A JP2004564040 A JP 2004564040A JP 4635122 B2 JP4635122 B2 JP 4635122B2
Authority
JP
Japan
Prior art keywords
prosthesis
wall
heart valve
valve assembly
annulus
Prior art date
Legal status (The legal status is an assumption and is not a legal conclusion. Google has not performed a legal analysis and makes no representation as to the accuracy of the status listed.)
Expired - Fee Related
Application number
JP2004564040A
Other languages
English (en)
Other versions
JP2006511279A (ja
JP2006511279A5 (ja
Inventor
トーマス・ジェイ・フォガーティ
マイケル・ジェイ・ドリューズ
ニール・ホームグレン
ディ・ブルース・モデシット
Current Assignee (The listed assignees may be inaccurate. Google has not performed a legal analysis and makes no representation or warranty as to the accuracy of the list.)
Medtronic Inc
Original Assignee
Medtronic Inc
Priority date (The priority date is an assumption and is not a legal conclusion. Google has not performed a legal analysis and makes no representation as to the accuracy of the date listed.)
Filing date
Publication date
Application filed by Medtronic Inc filed Critical Medtronic Inc
Publication of JP2006511279A publication Critical patent/JP2006511279A/ja
Publication of JP2006511279A5 publication Critical patent/JP2006511279A5/ja
Application granted granted Critical
Publication of JP4635122B2 publication Critical patent/JP4635122B2/ja
Anticipated expiration legal-status Critical
Expired - Fee Related legal-status Critical Current

Links

Images

Classifications

    • AHUMAN NECESSITIES
    • A61MEDICAL OR VETERINARY SCIENCE; HYGIENE
    • A61FFILTERS IMPLANTABLE INTO BLOOD VESSELS; PROSTHESES; DEVICES PROVIDING PATENCY TO, OR PREVENTING COLLAPSING OF, TUBULAR STRUCTURES OF THE BODY, e.g. STENTS; ORTHOPAEDIC, NURSING OR CONTRACEPTIVE DEVICES; FOMENTATION; TREATMENT OR PROTECTION OF EYES OR EARS; BANDAGES, DRESSINGS OR ABSORBENT PADS; FIRST-AID KITS
    • A61F2/00Filters implantable into blood vessels; Prostheses, i.e. artificial substitutes or replacements for parts of the body; Appliances for connecting them with the body; Devices providing patency to, or preventing collapsing of, tubular structures of the body, e.g. stents
    • A61F2/02Prostheses implantable into the body
    • A61F2/24Heart valves ; Vascular valves, e.g. venous valves; Heart implants, e.g. passive devices for improving the function of the native valve or the heart muscle; Transmyocardial revascularisation [TMR] devices; Valves implantable in the body
    • A61F2/2409Support rings therefor, e.g. for connecting valves to tissue
    • AHUMAN NECESSITIES
    • A61MEDICAL OR VETERINARY SCIENCE; HYGIENE
    • A61BDIAGNOSIS; SURGERY; IDENTIFICATION
    • A61B17/00Surgical instruments, devices or methods
    • A61B17/04Surgical instruments, devices or methods for suturing wounds; Holders or packages for needles or suture materials
    • A61B17/0401Suture anchors, buttons or pledgets, i.e. means for attaching sutures to bone, cartilage or soft tissue; Instruments for applying or removing suture anchors
    • AHUMAN NECESSITIES
    • A61MEDICAL OR VETERINARY SCIENCE; HYGIENE
    • A61FFILTERS IMPLANTABLE INTO BLOOD VESSELS; PROSTHESES; DEVICES PROVIDING PATENCY TO, OR PREVENTING COLLAPSING OF, TUBULAR STRUCTURES OF THE BODY, e.g. STENTS; ORTHOPAEDIC, NURSING OR CONTRACEPTIVE DEVICES; FOMENTATION; TREATMENT OR PROTECTION OF EYES OR EARS; BANDAGES, DRESSINGS OR ABSORBENT PADS; FIRST-AID KITS
    • A61F2/00Filters implantable into blood vessels; Prostheses, i.e. artificial substitutes or replacements for parts of the body; Appliances for connecting them with the body; Devices providing patency to, or preventing collapsing of, tubular structures of the body, e.g. stents
    • A61F2/02Prostheses implantable into the body
    • A61F2/24Heart valves ; Vascular valves, e.g. venous valves; Heart implants, e.g. passive devices for improving the function of the native valve or the heart muscle; Transmyocardial revascularisation [TMR] devices; Valves implantable in the body
    • A61F2/2412Heart valves ; Vascular valves, e.g. venous valves; Heart implants, e.g. passive devices for improving the function of the native valve or the heart muscle; Transmyocardial revascularisation [TMR] devices; Valves implantable in the body with soft flexible valve members, e.g. tissue valves shaped like natural valves
    • AHUMAN NECESSITIES
    • A61MEDICAL OR VETERINARY SCIENCE; HYGIENE
    • A61FFILTERS IMPLANTABLE INTO BLOOD VESSELS; PROSTHESES; DEVICES PROVIDING PATENCY TO, OR PREVENTING COLLAPSING OF, TUBULAR STRUCTURES OF THE BODY, e.g. STENTS; ORTHOPAEDIC, NURSING OR CONTRACEPTIVE DEVICES; FOMENTATION; TREATMENT OR PROTECTION OF EYES OR EARS; BANDAGES, DRESSINGS OR ABSORBENT PADS; FIRST-AID KITS
    • A61F2/00Filters implantable into blood vessels; Prostheses, i.e. artificial substitutes or replacements for parts of the body; Appliances for connecting them with the body; Devices providing patency to, or preventing collapsing of, tubular structures of the body, e.g. stents
    • A61F2/02Prostheses implantable into the body
    • A61F2/24Heart valves ; Vascular valves, e.g. venous valves; Heart implants, e.g. passive devices for improving the function of the native valve or the heart muscle; Transmyocardial revascularisation [TMR] devices; Valves implantable in the body
    • A61F2/2442Annuloplasty rings or inserts for correcting the valve shape; Implants for improving the function of a native heart valve
    • A61F2/2445Annuloplasty rings in direct contact with the valve annulus
    • AHUMAN NECESSITIES
    • A61MEDICAL OR VETERINARY SCIENCE; HYGIENE
    • A61BDIAGNOSIS; SURGERY; IDENTIFICATION
    • A61B17/00Surgical instruments, devices or methods
    • A61B17/00234Surgical instruments, devices or methods for minimally invasive surgery
    • A61B2017/00238Type of minimally invasive operation
    • A61B2017/00243Type of minimally invasive operation cardiac
    • AHUMAN NECESSITIES
    • A61MEDICAL OR VETERINARY SCIENCE; HYGIENE
    • A61BDIAGNOSIS; SURGERY; IDENTIFICATION
    • A61B17/00Surgical instruments, devices or methods
    • A61B17/04Surgical instruments, devices or methods for suturing wounds; Holders or packages for needles or suture materials
    • A61B17/0401Suture anchors, buttons or pledgets, i.e. means for attaching sutures to bone, cartilage or soft tissue; Instruments for applying or removing suture anchors
    • A61B2017/0406Pledgets
    • AHUMAN NECESSITIES
    • A61MEDICAL OR VETERINARY SCIENCE; HYGIENE
    • A61BDIAGNOSIS; SURGERY; IDENTIFICATION
    • A61B17/00Surgical instruments, devices or methods
    • A61B17/04Surgical instruments, devices or methods for suturing wounds; Holders or packages for needles or suture materials
    • A61B17/0401Suture anchors, buttons or pledgets, i.e. means for attaching sutures to bone, cartilage or soft tissue; Instruments for applying or removing suture anchors
    • A61B2017/0417T-fasteners
    • AHUMAN NECESSITIES
    • A61MEDICAL OR VETERINARY SCIENCE; HYGIENE
    • A61BDIAGNOSIS; SURGERY; IDENTIFICATION
    • A61B17/00Surgical instruments, devices or methods
    • A61B17/04Surgical instruments, devices or methods for suturing wounds; Holders or packages for needles or suture materials
    • A61B2017/0496Surgical instruments, devices or methods for suturing wounds; Holders or packages for needles or suture materials for tensioning sutures
    • AHUMAN NECESSITIES
    • A61MEDICAL OR VETERINARY SCIENCE; HYGIENE
    • A61BDIAGNOSIS; SURGERY; IDENTIFICATION
    • A61B17/00Surgical instruments, devices or methods
    • A61B17/04Surgical instruments, devices or methods for suturing wounds; Holders or packages for needles or suture materials
    • A61B17/06Needles ; Sutures; Needle-suture combinations; Holders or packages for needles or suture materials
    • A61B17/06066Needles, e.g. needle tip configurations
    • A61B2017/0608J-shaped
    • AHUMAN NECESSITIES
    • A61MEDICAL OR VETERINARY SCIENCE; HYGIENE
    • A61FFILTERS IMPLANTABLE INTO BLOOD VESSELS; PROSTHESES; DEVICES PROVIDING PATENCY TO, OR PREVENTING COLLAPSING OF, TUBULAR STRUCTURES OF THE BODY, e.g. STENTS; ORTHOPAEDIC, NURSING OR CONTRACEPTIVE DEVICES; FOMENTATION; TREATMENT OR PROTECTION OF EYES OR EARS; BANDAGES, DRESSINGS OR ABSORBENT PADS; FIRST-AID KITS
    • A61F2/00Filters implantable into blood vessels; Prostheses, i.e. artificial substitutes or replacements for parts of the body; Appliances for connecting them with the body; Devices providing patency to, or preventing collapsing of, tubular structures of the body, e.g. stents
    • A61F2/02Prostheses implantable into the body
    • A61F2/24Heart valves ; Vascular valves, e.g. venous valves; Heart implants, e.g. passive devices for improving the function of the native valve or the heart muscle; Transmyocardial revascularisation [TMR] devices; Valves implantable in the body
    • A61F2/2412Heart valves ; Vascular valves, e.g. venous valves; Heart implants, e.g. passive devices for improving the function of the native valve or the heart muscle; Transmyocardial revascularisation [TMR] devices; Valves implantable in the body with soft flexible valve members, e.g. tissue valves shaped like natural valves
    • A61F2/2415Manufacturing methods
    • AHUMAN NECESSITIES
    • A61MEDICAL OR VETERINARY SCIENCE; HYGIENE
    • A61FFILTERS IMPLANTABLE INTO BLOOD VESSELS; PROSTHESES; DEVICES PROVIDING PATENCY TO, OR PREVENTING COLLAPSING OF, TUBULAR STRUCTURES OF THE BODY, e.g. STENTS; ORTHOPAEDIC, NURSING OR CONTRACEPTIVE DEVICES; FOMENTATION; TREATMENT OR PROTECTION OF EYES OR EARS; BANDAGES, DRESSINGS OR ABSORBENT PADS; FIRST-AID KITS
    • A61F2/00Filters implantable into blood vessels; Prostheses, i.e. artificial substitutes or replacements for parts of the body; Appliances for connecting them with the body; Devices providing patency to, or preventing collapsing of, tubular structures of the body, e.g. stents
    • A61F2/02Prostheses implantable into the body
    • A61F2/30Joints
    • A61F2002/30001Additional features of subject-matter classified in A61F2/28, A61F2/30 and subgroups thereof
    • A61F2002/30316The prosthesis having different structural features at different locations within the same prosthesis; Connections between prosthetic parts; Special structural features of bone or joint prostheses not otherwise provided for
    • A61F2002/30535Special structural features of bone or joint prostheses not otherwise provided for
    • A61F2002/30537Special structural features of bone or joint prostheses not otherwise provided for adjustable
    • A61F2002/30545Special structural features of bone or joint prostheses not otherwise provided for adjustable for adjusting a diameter
    • AHUMAN NECESSITIES
    • A61MEDICAL OR VETERINARY SCIENCE; HYGIENE
    • A61FFILTERS IMPLANTABLE INTO BLOOD VESSELS; PROSTHESES; DEVICES PROVIDING PATENCY TO, OR PREVENTING COLLAPSING OF, TUBULAR STRUCTURES OF THE BODY, e.g. STENTS; ORTHOPAEDIC, NURSING OR CONTRACEPTIVE DEVICES; FOMENTATION; TREATMENT OR PROTECTION OF EYES OR EARS; BANDAGES, DRESSINGS OR ABSORBENT PADS; FIRST-AID KITS
    • A61F2220/00Fixations or connections for prostheses classified in groups A61F2/00 - A61F2/26 or A61F2/82 or A61F9/00 or A61F11/00 or subgroups thereof
    • A61F2220/0008Fixation appliances for connecting prostheses to the body
    • A61F2220/0016Fixation appliances for connecting prostheses to the body with sharp anchoring protrusions, e.g. barbs, pins, spikes
    • AHUMAN NECESSITIES
    • A61MEDICAL OR VETERINARY SCIENCE; HYGIENE
    • A61FFILTERS IMPLANTABLE INTO BLOOD VESSELS; PROSTHESES; DEVICES PROVIDING PATENCY TO, OR PREVENTING COLLAPSING OF, TUBULAR STRUCTURES OF THE BODY, e.g. STENTS; ORTHOPAEDIC, NURSING OR CONTRACEPTIVE DEVICES; FOMENTATION; TREATMENT OR PROTECTION OF EYES OR EARS; BANDAGES, DRESSINGS OR ABSORBENT PADS; FIRST-AID KITS
    • A61F2220/00Fixations or connections for prostheses classified in groups A61F2/00 - A61F2/26 or A61F2/82 or A61F9/00 or A61F11/00 or subgroups thereof
    • A61F2220/0025Connections or couplings between prosthetic parts, e.g. between modular parts; Connecting elements
    • A61F2220/0041Connections or couplings between prosthetic parts, e.g. between modular parts; Connecting elements using additional screws, bolts, dowels or rivets, e.g. connecting screws
    • AHUMAN NECESSITIES
    • A61MEDICAL OR VETERINARY SCIENCE; HYGIENE
    • A61FFILTERS IMPLANTABLE INTO BLOOD VESSELS; PROSTHESES; DEVICES PROVIDING PATENCY TO, OR PREVENTING COLLAPSING OF, TUBULAR STRUCTURES OF THE BODY, e.g. STENTS; ORTHOPAEDIC, NURSING OR CONTRACEPTIVE DEVICES; FOMENTATION; TREATMENT OR PROTECTION OF EYES OR EARS; BANDAGES, DRESSINGS OR ABSORBENT PADS; FIRST-AID KITS
    • A61F2220/00Fixations or connections for prostheses classified in groups A61F2/00 - A61F2/26 or A61F2/82 or A61F9/00 or A61F11/00 or subgroups thereof
    • A61F2220/0025Connections or couplings between prosthetic parts, e.g. between modular parts; Connecting elements
    • A61F2220/0066Connections or couplings between prosthetic parts, e.g. between modular parts; Connecting elements stapled
    • AHUMAN NECESSITIES
    • A61MEDICAL OR VETERINARY SCIENCE; HYGIENE
    • A61FFILTERS IMPLANTABLE INTO BLOOD VESSELS; PROSTHESES; DEVICES PROVIDING PATENCY TO, OR PREVENTING COLLAPSING OF, TUBULAR STRUCTURES OF THE BODY, e.g. STENTS; ORTHOPAEDIC, NURSING OR CONTRACEPTIVE DEVICES; FOMENTATION; TREATMENT OR PROTECTION OF EYES OR EARS; BANDAGES, DRESSINGS OR ABSORBENT PADS; FIRST-AID KITS
    • A61F2220/00Fixations or connections for prostheses classified in groups A61F2/00 - A61F2/26 or A61F2/82 or A61F9/00 or A61F11/00 or subgroups thereof
    • A61F2220/0025Connections or couplings between prosthetic parts, e.g. between modular parts; Connecting elements
    • A61F2220/0075Connections or couplings between prosthetic parts, e.g. between modular parts; Connecting elements sutured, ligatured or stitched, retained or tied with a rope, string, thread, wire or cable
    • AHUMAN NECESSITIES
    • A61MEDICAL OR VETERINARY SCIENCE; HYGIENE
    • A61FFILTERS IMPLANTABLE INTO BLOOD VESSELS; PROSTHESES; DEVICES PROVIDING PATENCY TO, OR PREVENTING COLLAPSING OF, TUBULAR STRUCTURES OF THE BODY, e.g. STENTS; ORTHOPAEDIC, NURSING OR CONTRACEPTIVE DEVICES; FOMENTATION; TREATMENT OR PROTECTION OF EYES OR EARS; BANDAGES, DRESSINGS OR ABSORBENT PADS; FIRST-AID KITS
    • A61F2250/00Special features of prostheses classified in groups A61F2/00 - A61F2/26 or A61F2/82 or A61F9/00 or A61F11/00 or subgroups thereof
    • A61F2250/0004Special features of prostheses classified in groups A61F2/00 - A61F2/26 or A61F2/82 or A61F9/00 or A61F11/00 or subgroups thereof adjustable
    • A61F2250/001Special features of prostheses classified in groups A61F2/00 - A61F2/26 or A61F2/82 or A61F9/00 or A61F11/00 or subgroups thereof adjustable for adjusting a diameter
    • YGENERAL TAGGING OF NEW TECHNOLOGICAL DEVELOPMENTS; GENERAL TAGGING OF CROSS-SECTIONAL TECHNOLOGIES SPANNING OVER SEVERAL SECTIONS OF THE IPC; TECHNICAL SUBJECTS COVERED BY FORMER USPC CROSS-REFERENCE ART COLLECTIONS [XRACs] AND DIGESTS
    • Y10TECHNICAL SUBJECTS COVERED BY FORMER USPC
    • Y10STECHNICAL SUBJECTS COVERED BY FORMER USPC CROSS-REFERENCE ART COLLECTIONS [XRACs] AND DIGESTS
    • Y10S623/00Prosthesis, i.e. artificial body members, parts thereof, or aids and accessories therefor
    • Y10S623/909Method or apparatus for assembling prosthetic
    • Y10S623/91Heart

Landscapes

  • Health & Medical Sciences (AREA)
  • Cardiology (AREA)
  • Engineering & Computer Science (AREA)
  • Biomedical Technology (AREA)
  • Life Sciences & Earth Sciences (AREA)
  • Veterinary Medicine (AREA)
  • General Health & Medical Sciences (AREA)
  • Heart & Thoracic Surgery (AREA)
  • Public Health (AREA)
  • Animal Behavior & Ethology (AREA)
  • Oral & Maxillofacial Surgery (AREA)
  • Transplantation (AREA)
  • Vascular Medicine (AREA)
  • Surgery (AREA)
  • Rheumatology (AREA)
  • Nuclear Medicine, Radiotherapy & Molecular Imaging (AREA)
  • Medical Informatics (AREA)
  • Molecular Biology (AREA)
  • Prostheses (AREA)

Description

発明の詳細な説明
技術分野
本発明は、概して、生物学的に植え込み可能なプロテーゼ(または人工器官もしくは補綴)、当該プロテーゼを使用する心臓弁アセンブリ、およびそれを身体の環状部(または環もしくは弁輪)内で使用する方法に関する。
背景技術
人工心臓弁は、患者の欠陥のあるヒトの弁に代わり得る。人工弁は一般に、人工弁のオリフィスの外周に取り付けられ、それに沿って延びる、縫合リングまたは縫合カフを含む。
典型的な人工弁の植え込み処置においては、心臓を切開し、局所的により強靱な組織の周囲の領域を残して、欠陥を有する弁を取り除く。公知の心臓弁置換技術には、強靱な組織に複数の縫合糸を個別に通過させて、縫合糸のアレイ(または並んだもの)を形成することが含まれる。縫合糸の自由端部は、胸腔の外側に延びて、患者の身体の上で、間隔をあけて配置される。それから、縫合糸の自由端部は、縫合リングの周囲で、個別にエッジに通される。全ての縫合糸がリングを通過すると、全ての縫合糸は引き上げられ、人工弁は、強靱な組織に隣接する所定の位置に滑るように動かされ、または「降下させられる」。それから、人工弁は、所定の位置に縫合糸を用いる常套的な糸結びにより固定される。
縫合リングはしばしば、針および糸が通過することができる生物学的に適合性を有する布で形成される。人工弁は一般的には、外科医が患者の心臓から既存の弁を取り除いたときに残る生体塊(または生体本体もしくは生物学的な凝集体)または環に縫いつけられる。縫合糸は、しっかりと結ばれ、それにより縫合リングを環状部に、ひいては人工弁を心臓に固定する。
縫合リングを弁のオリフィスに取り付けることは、単調で退屈であり得る。さらに、縫合リングを環に取り付けることは、時間を要し、煩わしい。縫合糸の複雑さは、間違いをおかす機会をより多くし、患者を長時間心肺バイパス状態におくことを要する。血行動態を向上させるために、人工弁を通過する、可能な限り大きいルーメン(または腔)を設けることもまた望ましい。しかしながら、縫合リングをオリフィスに取り付ける技術によれば、取り付け機構を収容するために、弁の腔の領域を減じることが一般的に要求される。例えば、縫合リングは、一般的には環状部の上部に保持され、その結果、ルーメンは、最大でも、元の腔の寸法である。
患者はまた、不利に小さい生得の(または本来の)弁のルーメンを有することがある。これらの場合、生得の弁には、人工弁が植え込まれる前に、まちを付けることができる。生得の弁にまちを付けるために、ルーメンの壁にそって、長さ方向に切開することができる。それから、ルーメンは、周囲に(または外縁を)伸ばすことができ、今伸ばされている切開部は、移植片または他の膜で覆うことができ、縫合して閉じることができる。
Magladryの米国特許第4,743,253号は、連続圧縮リングを用いた縫合リングを開示している。Magladryのリングは、しなやかであり、圧縮力を与えるが、伸張力を与えない。実際に、Magladryが教示するリングは、心臓弁の上に配置されるものであり、心臓弁に圧縮力を与える。
Carpentierらの米国特許第6,217,610号は、伸張可能な弁形成リングを開示する。Carpentierらは、患者の実物の上にて、バルーンの伸張によりリングの寸法を増加させることを教示している。リングは、弁輪の形状を再形成するためのものであり、第2のプロテーゼを取り付けて心臓弁を形成するための基礎として機能するものではない。
Robertsonらの米国特許第5,984,959号は、人工弁をそれに取り付けるための伸張可能な心臓弁リングおよびリングを人工弁に取り付けるための器具を開示している。Robertsonらは、タブを有するリングであって、タブを係合するための第2のデバイスを用いることにより、第2のプロテーゼに取り付けるために用いられるリングを教示している。
外周(または周囲もしくは外側寸法)が膨張可能なバイオ・プロテーゼに対する要求がある。環状部を伸張させることができ、拡大した環状部の周線を維持することができる、プロテーゼおよび方法に対する要求がある。さらにまた、最小限に侵襲性である心臓弁置換処置に対する要求がある。また、上記の第2のプロテーゼ(例えば、心臓弁の冠)との係合を与え得るプロテーゼに対する要求がある。さらにまた、植え込み時間を改善するために、第2のプロテーゼと自己係合し得る上述のプロテーゼに対する要求がある。
発明の開示
開示されるプロテーゼの1つの形態は、外周が伸張可能な(または外側に膨張可能な、あるいは外周もしくは周線が伸び得る)壁を有する、生物学的に植え込み可能な心臓弁用の第1のプロテーゼである。壁は、長さ方向の軸に対して垂直な横方向の断面を有し、長さ方向の軸と平行な縦方向の断面を有する。プロテーゼはまた、第2のプロテーゼと自己係合するように構成された係合要素を有する。
第1のプロテーゼは、止め(または当たりもしくはストップ)を有し、止めは壁の外周が減少することを防止する。第1のプロテーゼはまた、固定デバイスコネクタを有してよい。壁はまた、波形を有してよい。壁はまた、折り曲げられたリップ(又はへり)をその前縁(または先端)に有してよい。第1のプロテーゼはまた、第1のプロテーゼが第2のプロテーゼ(例えば冠)を受け入れる(または収容する)ことができるアセンブリに存在し得る。
プロテーゼの別の形態は、第1の縁および第2の縁を具えた壁を有する、心臓弁用の生物学的に植え込み可能なプロテーゼである。壁は、第1のプロテーゼの中心に長手方向の軸を有し、第1の縁は、第2のプロテーゼと係合するための係合要素を有する。係合要素はまた、第2の縁に向かって曲がっている(又は折り返されている)。
係合要素は、第2の縁に向かって曲がっていてよい。第1の縁は、前縁であってよい。第1のプロテーゼはまた、壁においてポート(または口もしくは穴)となり得る固定デバイスコネクタを有してよい。壁はまた、波形を有していてよい。第1のプロテーゼはまた、係合要素に接続された第2のプロテーゼを有するアセンブリに存在し得る。第2のプロテーゼは冠(またはクラウン)であってよい。
弁輪において心臓弁を植え込む方法の1つの形態は、第1のプロテーゼを弁輪に取り付けることであり、第2のプロテーゼを第1のプロテーゼに取り付けることである。第1のプロテーゼは外周が伸張可能な壁を有する。壁は長手方向の軸を有し、壁は長手方向の軸に垂直な横方向の断面を有する。
第1のプロテーゼはリングであってよい。第2のプロテーゼは冠(または冠状部もしくはクラウン)であってよい。第1のプロテーゼの壁は第1の末端部および第2の末端部を有し得る。第1のプロテーゼを取り付けることは、第1のプロテーゼを生体塊に固定デバイスを用いて固定することを含み得る。第1のプロテーゼを取り付けることはまた、第2のプロテーゼを第1のプロテーゼにスナップ嵌めすることを含んでよい。
弁輪において心臓弁を植え込む方法の別の形態は、第1のプロテーゼを弁輪に取り付けること、および第2のプロテーゼを第1のプロテーゼに取り付けることを含む。第1のプロテーゼは、第1の縁および第2の縁を具える壁を有する。壁はまた、長手方向の軸を有し得る。第1の縁は、係合要素を含み、係合要素は第2の縁に向かって曲がっている。
係合要素は長手方向の軸から離れるように曲げられていてよい。第1のプロテーゼはリングであってよい。第2のプロテーゼは冠であってよい。冠を取り付けることは、冠を第1のプロテーゼにスナップ嵌めすることを含んでよい。
生物学的な弁輪の寸法を増加させ、また維持する方法の1つの形態は、外周が伸張可能な第1のプロテーゼを環状部に配置することを含む。当該方法はまた、第1のプロテーゼの外周を伸張させること、および第1のプロテーゼの外周を固定することを含む。
第1のプロテーゼの外周を伸張させることは、環状部の半径を約0.1mm(0.004インチ)から約2.0mm(0.08インチ)以上に増加させることを含み得る。第1のプロテーゼはまた、第2のプロテーゼを受け入れるように構成された係合要素を含んでよい。
詳細な説明および産業上の利用可能性
図1および2は、生物学的に植え込み可能な第1のプロテーゼ2の一形態を示す。第1のプロテーゼ2は、壁4を有し得る。壁4は、第1のプロテーゼを弾性的に伸張可能とするように、当業者に公知の材料強度および寸法(またはディメンション)を有し得る。壁4は、図1に示すように、開口形態またはスパイル状の方向の断面を有し得る。方向の断面は、中央の長さ方向の軸6に対して垂直であり得る。
壁4は、第1の端部8および第2の端部10を有し得る。各端部8および10は、壁4の中間点12から第1の末端14または壁4の第2の末端16まで、各端部8および10にて規定され得る。壁4は、端部の差の長さ18を有し得る。端部の差の長さ18は、第1の末端14から第2の末端16までの最も短い角度長(または角度を形成する長さ)である。壁4はまた、前縁20および裾縁22を有し得る。前縁20および裾縁22は長手方向の軸6に対して実質的に垂直である。第1のプロテーゼは、壁長さ24から端部の差の長さ18を引いたものに等しい外周を有し得る。壁4は、壁高さ25を有し得る。壁高さは、約3.18mm(0.125インチ)〜約12.7mm、8.26mm(0.50インチ)であり得、例えば、約0.325インチである。壁4はまた、壁4の一方の端部8または10を壁4の他方の端部10またはに取り付ける任意の取付けデバイスの空隙であってよい(当該デバイスのための空隙(もしくは穴)を有していてよい)。壁4は、ステンレス鋼合金、ニッケルチタン合金(例えば、ニチノール)、コバルト−クロム合金(例えば、Elgin Specialty Metals(エルギン、イリノイ州)のエルジロイ(登録商標:ELGILOY);Carpenter Metals Corp.(Wyomissing、ペンシルベニア州)のCONICHROME(登録商標))、ポリエステル(例えば、E. I. Du Pont de Nemours and Company(ウィルミントン、デラウェア州)のダクロン(登録商標:DACRON)、ポリプロピレン、ポリテトラフルオロエチレン(PTFE)、伸長PTFE(ePTFE)、ポリエーテルエーテルケトン(PEEK)、ナイロン、押出コラーゲン、シリコーンのようなポリマー、放射線不透過性材料、またはそれらの組み合わせから形成することができる。放射線不透過性材料の例は、バリウム、硫酸塩(または硫酸エステル)、チタン、ステンレス鋼、ニッケルチタン合金および金である。
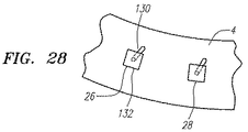
図3および4は、機械的に伸張可能な第1のプロテーゼ2の一形態を示す。第1の端部8における第1の突起26および第2の突起28は、壁4から延びてよい。突起26および28は、壁4に対して垂直に、又は長手方向の軸6に対して垂直に延びることができる。突起26および28は、タブ、無頭釘(またはブラッド(brad))、伸展部、ボール、ロッド、またはそれらの組み合わせであり得る。突起は、壁4を保持するのに十分な突起深さ30を有し得る。
壁4はまた、第1の突起26および第2の突起28をそれぞれ収容する又はそれらと係合する、第1の受入れ要素32および第2の受入れ要素34を第2の端部10にて有し得る。壁4はまた、より多い又はより少ない(例えば、1またはゼロの)受入れ要素32または34を有し得る。受入れ要素32および34は、壁4に設けられた穴であってよい。受入れ要素32および34はまた、ディベット、窪み(またはディンプル)、フック、スロット、またはそれらの組み合わせであり得る。突起26および28ならびに受入れ要素32および34は、止め又は締まりばめとして、一緒に作用することができ、第1のプロテーゼ2の外周が所望の制限を超えて、伸張し又は減少するのを防止する。
図5および6は、窪みであってよい受入れ要素32および突起26を有し得る第1のプロテーゼ2の一形態を示す。突起26および受入れ要素32は、第1の横列36、第2の横列38および追加の横列40に存し得る。突起26はまた、第1の縦列42、第2の縦列44,および追加の縦列46に存し得る。受入れ要素32は、上述の突起深さ36と同じ寸法の範囲内にある受入れ要素深さ46を有し得る。
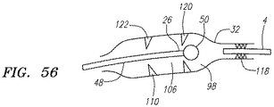
図7および8は、第1の末端14から実質的に壁4に正接して延びる突起26および28を有し得る第1のプロテーゼ2の一形態を示す。突起26および28は、ロッド48であってよく、ボール50をロッドの48の端部に有してよい。受入れ要素32および34は、第2の末端16から実質的に壁4に正接して延びていてよい。受入れ要素32および34は、ボール50を収容するためのカラー(または継ぎ輪もしくは鍔)52であってよい。壁4は、図7に示すように、円形の開いた曲線の形状の方向断面を有する。外周方向のギャップ54が、第1の末端14と第2の末端16との間に存在し得る。
図9および10は、種々の形態の突起26および28ならびに受入れ要素32および34を有し得る第1のプロテーゼ2の形態を示す。図9および10の第1のプロテーゼ2はまた、突起26および28ならびに受入れ要素32および34の寸法、および壁4における突起26および28ならびに受入れ要素32および34の位置により制御される、長手方向の軸に対する壁角度56を有し得る。壁角度56は、約10°〜約60°であってよく、より狭くは約20°〜約45°であってよく、例えば約25°であってよい。突起26および28ならびに受入れ要素32および34は、裾縁22、前縁20に沿って、またはそれらの間に位置してよい。
図11および12は、ボトム・セグメント58とトップ・セグメント60とを有する壁4を具えた第1のプロテーゼ2の一形態を示す。第1のプロテーゼ2は、変形可能であってその外周が伸張することができる。ボトム・セグメント58は、長手方向の軸6に対して壁角度56を有し得る。ボトム・セグメント58とトップ・セグメント60との間の角度は、接続角度(またはジョイント角度)62であり得る。接続角度62は、約90°〜約180°であり得、より狭くは約90°〜約160°であり得、例えば約120°であり得る。壁4はまた、ボトム・セグメント58の長さにわたって延在し得る第1のステアリング・グルーブ64を有し得る。壁4はまた、ボトム・セグメント58の長さの一部にわたって延在し得る第2のステアリング・グルーブ66を有し得る。グルーブ64および66は、第1のプロテーゼ2に取り付けることができる第2のプロテーゼ68を、長さ方向の軸に対して、角度に関して正しい位置を占めさせる(または整列させる)のに役立つ。グルーブ64および66はまた、第1のプロテーゼ2が第2のプロテーゼ68に対して回転することを防止し得る。第2のグルーブ66はまた、第2のプロテーゼ68を長手方向で正しい位置を占めさせる(または整列させる)のに役立つ。
第1のプロテーゼ2はまた、係合要素、例えば、トップ・セグメント60において上部磁石70およびボトム・セグメント58において下部磁石72を有し得る。磁石70および72は、磁石高さ74、磁石幅76,および磁石長さ78を有し得る。磁石70および72は、希土類の高強度型磁石であり得る。磁石は、ネオジム−鉄−ホウ素から成ってよく、また、PTFE(例えば、E. I. Du Pont de Nemours and Company(ウィルミントン、デラウェア州)のテフロン(登録商標))、PEEK、同様に不活性であって且つ安定な生体適合性を有するポリマーまたはその組み合わせから成るコーティングに封入されていてよい。放射線不透過性の物質がまた、コーティングに添加され得る。上部及び/または下部の磁石70及び/または72を、1つまたは不規則な数の磁石70および/または72(例えば、N極)の極性を、他の磁石70および/または72の極性(例えば、S極)とは異なるように変えることによって、第2のプロテーゼ68の1つの角度配向だけを許容するように設計してよい。
1つの例24において、磁石70を第1のプロテーゼ2の周囲に均等に配置してよい。磁石高さ74は約3.175mm(0.125インチ)であり得る。磁石幅76は約3.175mm(0.125インチ)であり得る。磁石長さ78は約1.59mm(0.0625インチ)であり得る。
図13および14は、図11および図12に示す形態に類似する第1のプロテーゼ2の一形態を示す。第1のプロテーゼ2のこの形態は、布の縫合表面80を有し得る。磁石70は、その断面が(図11および12に示すように)正方形または長方形であり、あるいは(図13および図14に示すように)楕円形または円形であり得る。壁4はまた、図11および図12に示すように、複数のセグメント58および60を有し得、あるいは、図13および図14に示すように、単一のセグメントを有し得る。
図15は、図11および図12に示された形態に類似する第1のプロテーゼ2の一形態を示す。この形態における第1のプロテーゼもまた、機械的および/または弾性的に外周が伸張可能であり得る。
図16〜図18は、第1のプロテーゼ2の変形可能な形態を示す。伸張していない状態において、第1のプロテーゼ2は伸張していない直径82を有し得る。図16における第1のプロテーゼ2の形態は、滑らかな壁4を有することができ、それにより、フープ歪みに頼って伸張する。図17の形態は、複数のひだ又は折り畳み部84を有する蛇腹の壁4を有し得る。折り畳み84は、使用中、壁4の外周の伸張を最大限にするために、開く又は広げることができる。図18の第1のプロテーゼ2の形態は、図17に示す折り畳み84と同じ目的のために、単一の大きい折り畳み部84を有し得る。図19は、伸張した状態にある、第1のプロテーゼ2の変形可能である形態を示す。長手方向の軸6から離れる方向に向かう、矢印で示すような半径方向の力が、第1のプロテーゼ2を拡大した直径86まで伸張させることができる。当業者は、第1のプロテーゼ2の材料および寸法を、伸張した直径86に対する伸張していない直径82の比が約0%〜約50%、より狭くは約5%〜約20%、さらにより狭くは約9%〜約12%、例えば約9.5%となることを許容するように、選択することができる。
図20は、第1の固定デバイスコネクタ88および第2の固定デバイスコネクタ90を有し得る、ある長さの壁4を示す。固定デバイスコネクタ88および90は、壁4においてポート(もしくは口)または穴であり得る。固定デバイスコネクタ88および90は、長円形であり得、固定デバイスコネクタ高さ92および固定デバイスコネクタ長さ94を有することができる。固定デバイスコネクタ高さ92は約0.51mm(0.020インチ)〜約3.18mm(約0.125インチ)であってよく、より狭くは、約1.0mm(0.040インチ)〜約1.5mm(0.060インチ)、例えば約1.3mm(0.050インチ)であってよい。
図21は、第1、第2および追加の固定デバイスコネクタ88、90および96を有し得る、ある長さの壁4を示す。固定デバイスコネクタ88、90および96は、その形状が円であってよい。図22は、前および裾縁20および22に取り付けられた固定デバイスコネクタ88、90および96を有し得る、有る長さの壁4を示す。固定デバイスコネクタ88、90および96は、布または金属から成り、例えば、ポリエステル(E. I. Du Pont de Nemours and Company(ウィルミントン、デラウェア州)のダクロン(登録商標:DACRON))、ポリプロピレン、PTFE、ePTFE、ナイロン、押出コラーゲン、シリコーンのようなポリマー、ステンレス鋼合金、ニッケル−チタン合金(例えば、ニチノール)、コバルト−クロム合金(例えば、Elgin Specialty Metals(エルギン、イリノイ州)のエルジロイ(登録商標:ELGILOY);Carpenter Metals Corp.(Wyomissing、ペンシルベニア州)のCONICHROME(登録商標))またはそれらの組み合わせで構成され得る。異なる形状および構成の固定デバイスコネクタ88、90および96が同じ壁4に存在してよい。
図23は、受入れ要素32および34を有し得る、ある長さの壁4を示す。受入れ要素32および34は、壁4においてポートまたは穴であり得る。受入れ要素32および34ならびに固定デバイスコネクタ88、90および96は同じ要素であってよい。受入れ要素32および34は、第1の設定位置(またはセッティング・ポジション)98、および第1の設定位置98の一方の端部にて第1のネック100を有し得る。第1の設定位置98は、約4mm(0.2インチ)〜約10mm(0.4インチ)、例えば約6.3mm(0.25インチ)の設定位置長さ102を有し得る。第1のネック100は、ネック幅104を有することができる。第1のネックは、第2の設定位置106の第1の端部に存在し得る。受入れ要素32および34は、2より多いまたは少ない(例えば1つ又はゼロ)の設定位置98および106を有し得る。第2の設定位置106の第2端部にて、第2の設定位置106は、第2のネック108を有し得る。第2のネック108は、最終の止め(またはストップ)位置110の第1端部に存在し得る。最後の止め位置110は、最終の止め長さ112を有し得る。
第1および第2の設定位置98および106は、ランプ角114でもって、第1および第2のネック100および108にそれぞれ通じることができる。止めの位置110および第2の設定位置106は、止め角116でもって、第2のネック108および第1のネック100にそれぞれ至ることができる。
図24は、狭くなっている長円形または涙滴形状の受入れ要素32および34を示す。図25は、矩形の受入れ要素32および34を示す。
図26は、カラーまたはスリーブ形状であり得る受入れ要素32を示す。受入れ要素32は、接続ゾーン118によって、壁4から延びる又は壁4それ自体に向かって延びるロッド(図示せず)に取り付けることができる。受入れ要素32は、第1のウェッジ(またはくさび部)120および第2のウェッジ122を有し得る。第1のウェッジ120または第2のウェッジ122の最も近いポイント間の長さは、ネック幅104であり得る。ウェッジ120および122は、受入れ要素32の全体の周囲で回転することができ、それにより、(三次元的に見た場合に)単一の円形の第1のウェッジ120、および単一の円形の第2のウェッジ122を形成する。
受入れ要素のシャフト通路124は、受入れ要素32の一方の端部にて開くことができる。受入れ要素32は、接続ゾーン118の付近に第1の狭くなっている部分126を有し、受入れ要素のシャフト通路124の付近に第2の狭くなっている部分128を有し得る。図27は、鱗片またはストップタブのように形成されたウェッジ120および122を有し得る、受入れ要素32を示す。
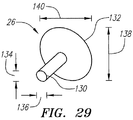
突起26および28を有し得る、ある長さの壁4を図28に示す。突起26および28は、図29および25で種々の形態において単独で示されており、伸展部130およびカフ132から形成され得る。伸展部130は円筒形に形成することができ、あるいは図30に示すように、三角形の断面を有するシャフトのように形成することができる。伸展部130は、伸展部高さ134および伸展部幅136を有し得る。伸展部高さ134は、約0.51mm(0.020インチ)〜約2.54mm(約0.100インチ)、例えば約1.3mm(0.050インチ)であってよい。最後の止め長さ112は、ほぼ伸展部幅136から約10mm(0.4インチ)までの間であってよく、例えば約6.3mm(0.25インチ)であってよい。
カフ132は、円形または正方形に形成することができ、また深さが実質的に一定であり得る。カフ132はカフ高さ138およびカフ幅140を有し得る。カフ高さ138は、ほぼ固定デバイスコネクタ高さ92から約5.08mm(0.200インチ)までの間であってよく、例えば、2.0mm(0.080インチ)であってよい。カフ幅140は、上述のカフの高さ138に関する範囲内にあってよい。
図31は、壁4から切り抜かれたタブから成る突起26および28を有する、ある長さの壁4を示す。切り取られた穴142が壁4に存在することができ、そこでは切り抜きの前に突起26および28の構成要素が壁4に存在していた。
図32は、壁4から延びる突起26の第1の組および壁4から延びる突起28の第2の組を有し得る壁4の長さを示す。壁4は、壁の曲率半径144を有し得る。突起26および28は、突起の曲率半径146を有し得る。突起の曲率半径146は、ほぼ壁の曲率半径144から無限大までの間であってよい。
図33は、係合要素148を有し得る、ある長さの壁4を示している。係合要素148は、リップ状に形成することができ、突起26の周囲に巻き付けることができる。係合要素148は、第1のプロテーゼが第2のプロテーゼ68に自己係合することを可能にする。例えば、係合要素148は、第2のプロテーゼ68にスナップ嵌めすることができる。
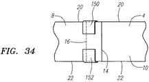
図34は、第1の端部8および第2の端部10を示す。第2の端部10は、第1の端部8の前縁20および裾縁22の周囲をそれぞれ包むことができる第1のガイド150および第2のガイド152を有し得る。第1の端部8は、ガイド150および152内で、長手方向の軸に関して、角度をなすように(または角変位するように)スライドすることができる。ガイド150および152はまた、第1の端部8があまりにも遠くに動くこと、または第2の端部10と整合しなくなる危険を最小限にすることができる。
図35〜43は、方向の断面図で第1のプロテーゼ2の一形態を示す。方向の断面は、長手方向の軸6と平行な断面であり得る。図35は、波形である方向の断面を有する壁4を具えた一形態を示す。図36は、長手方向の軸6と平行である、方向の断面がまっすぐである壁4を具えた一形態を示す。
図37は、長手方向の軸6に向かって、壁角度56で傾斜した裾縁22を有する一形態を示す。図38は、壁角度56で長手方向の軸6から遠ざかるように傾斜した裾縁22を有する一形態を示す。
図39は、長手方向の軸6に向かって凸状である壁4を有する一形態を示す。壁4は、まっすぐであってよく、あるいは方向の凸部曲率半径154を有していてよい。図40は、長手方向の軸に対して凹状である壁4を有する一形態を示す。壁4は、方向の凸部曲率半径154と同じ範囲内で、方向の凹部曲率半径156を有してよい。
図41は、トップ・セグメント60、ミドル・セグメント158およびボトム・セグメント58を有する壁4を有する一形態を示す。トップ・セグメント60および前縁20は、長手方向の軸6から遠ざかるように傾斜してよい。ボトム・セグメント58および裾縁22は長手方向の軸6から遠ざかるように傾斜していてよい。ミドル・セグメント158は、長手方向の軸と平行なままであってよい。
図42は、トップ・セグメント60および長手方向の軸6に向かって傾斜してよい前縁20を有する一形態を示す。ボトム・セグメント58および裾縁20もまた、長手方向の軸6に向かって傾斜してよい。ミドル・セグメント158は長手方向の軸6と平行なままであってよい。
図43および44は、長手方向の軸6に対して、約0°〜約90°、より狭くは約10°〜約50°、例えば約30°であるリテーナ角度160にて、壁4から延びることができるボトム・セグメント58を有し得る壁4の一形態を示す。ボトム・セグメント58はまた、図44に示す切り込み(または切れ目もしくはカット)162を有してよい。切れ目162は、ボトム・セグメント58がミドル・セグメント158から遠ざかるように広がるときに、応力を最小にし得る。ボトム・セグメント58はまた、保持要素として作用することができ、一般的な裾縁22を越えて延び、第1のプロテーゼ2が植え込まれた後に、第1のプロテーゼ2を安定化させる。
図45は、布のカバリング164を有し得る壁4の断面を示す。布のカバリングは、例えば、ポリエステル(E. I. Du Pont de Nemours and Company(ウィルミントン、デラウェア州)のダクロン(登録商標:DACRON))、ポリプロピレン、PTFE、ePTFE、ナイロン、押出コラーゲン、シリコーン、またはそれらの組み合わせである。布は、壁4に第1の取付けポイント166および第2の取付けポイント168にて取り付けることができる。取付けポイント166および168の間の壁の剥き出しの領域は、係合表面170であり得る。第2のプロテーゼ68は、係合表面170にて第1のプロテーゼ2と係合することができる。
図46は、カバリング164で全体が覆われた壁4の断面を示す。第2のプロテーゼ68はまた、カバリング164により覆われた係合表面170にて、第1のプロテーゼ2と係合することができる。
図47は、開いたリップのように形成された係合要素148を前縁20に有する、ある長さの壁4を示す。係合要素148は、長手方向の軸6および裾縁22に向かって曲げられていてよい。図48は、長手方向の軸6から遠ざかり、かつ裾縁22に向かって曲げられている係合要素148を示す。
図49および50は、第1の長さ172、第2の長さ174および第3の長さ176を有し得る第1のプロテーゼ2の一形態を示す。長さ172、174および176は、壁4の切り込み162により分けられている。第1の長さ172および第3の長さ176における係合要素148は、長手方向の軸6に向かって曲げられていてよい。第1の長さ172および第3の長さ176のトップ・セグメント60およびミドル・セグメント158は同様に、図50にて矢印により示されるボトム・セグメント58から離れるように曲げられてよい。第2の長さ174のトップ・セグメント60およびミドル・セグメント158は、第1の長さ172および第3の長さ176のトップ・セグメント60およびミドル・セグメント158と同様に、しかしそれらとは反対の方向に曲げることができる。第2の長さ174における係合要素148は、長手方向の軸6から遠ざかるように曲げることができる。リップの長さ178は、第1の長さ172または第3の長さ176における係合要素148の第1のリップの縁180と第2の長さ174における係合要素148の第2のリップの縁182との間の距離であってよい。リップの長さ178は、第2のプロテーゼを設置する、収容するおよび係合する、シーム、折り目、またはシート(もしくは座部)184を形成するのに十分なほど小さくすることができる。
図51は、長さ172、174、および176を有し得る、ある長さの壁4を示す。第1の長さ172および第3の長さ176における係合要素148は、長手方向の軸6から遠ざかるように曲げられてよい。第2の長さ174における係合要素148は、長手方向の軸6に向かって曲げることができる。係合要素148は、壁4の両側で第2のプロテーゼと係合することができる。
図52は。スプリング186を有し得る一形態を示す。各スプリング186の1つのセグメントは、ラッチ188であってよい。スプリング186は、係合要素148の下に固定したレール192の周囲に、ワインディング(または巻き線)190を有し得る。スプリング186はまた、壁4に押し付けられる保持脚部194を有することができる。ラッチ188をバイアスして、矢印196で示すように、壁4に当てて収縮させる(または引っ込ませる)ことができる。ラッチ188は、干渉ビーム198により、図52に示すように収縮していない位置に保持することができる。干渉ビーム198は、近位端にて(矢印200の方向で)直接的に又は間接的に互いに強固に取り付けられて、力の作用下での干渉ビーム198のラッチ188からの反りを最小にする。第2のプロテーゼがラッチ188の届く範囲内に配置されると、干渉ビーム198は矢印200で示すように取り除くことができ、矢印196で示すように、例えば、第2のプロテーゼに当てて、ラッチ188を収縮させる。
製造方法
壁4は、当業者に公知の方法で作成することができる。例えば、壁4は、成形され又は機械的に加工され得る。係合要素148、波形、および壁4における他の任意の折り曲げを、当業者に公知の方法で、壁4内に、形成する(例えば加圧成形)、成形する、又は機械加工して壁4とすることができ、あるいは、金属内に折り曲げることができる。
突起26および28ならびに受入れ要素32および33は(例えば、接続ゾーン118にて)、ひだ(または皺)をよせる、打ち抜く、接着する、溶融させる、ネジで留める、ダイカットする、溶接する、レーザカットする、放電加工(EDM)、またはそれらの組み合わせにより、壁4に固定することができ、あるいは、壁4から形成することができる。壁4における切り込み162および開口部は、ダイカット、レーザまたはEDMにより形成することができる。
第1のプロテーゼ2または組立後の全体としての第1のプロテーゼ2は、当業者に公知のディップコーティング法またはスプレーコーティング法によりコーティングすることができる。管(または血管)用の医療器具をコーティングするために用いられる方法の一例はDingらの米国特許第6,358,556号において提供されており、その全体は引用により本明細書に組み込まれる。当業者に公知の徐放性のコーティング方法もまた、コーティング中の薬剤の放出を遅らせるために使用することができる。コーティングは、血栓形成性または抗血栓性であってよい。例えば、第1のプロテーゼ2の内部コーティング、および長手方向の軸6に向いた側部のコーティングは抗血栓性であってよく、第1のプロテーゼの外側コーティング、および長手方向の軸から遠ざかるように向いた側部のコーティングは、血栓形成性であってよい。
第1のプロテーゼ2は、布、例えば、ポリエステル(E. I. Du Pont de Nemours and Company(ウィルミントン、デラウェア州)のダクロン(登録商標:DACRON))、ポリプロピレン、PTFE、ePTFE、ナイロン、押出コラーゲン、シリコーン、またはそれらの組み合わせである。植え込み可能なデバイスを布で覆う方法は、当業者に公知である。
使用方法
第1のプロテーゼ2は、ターゲットとする弁輪204に隣接する小室202に、伸張していない状態で、当業者に公知の方法で導入することができる。図53は、矢印で示されているように、第1のプロテーゼ2を弁輪204に配置し、降下させることを示している。第1のプロテーゼ2が折り畳み可能であり、また伸張可能であるという性質を有するために、第1のプロテーゼ2を植え込む手順は、胸腔鏡、内視鏡および/または内部発光(endolumina)を用いて、実施することができる。第1のプロテーゼ2は、それが弁輪204に隣接する小室内部の管の開口(例えば冠血管の開口)を塞ぐことのないように、また、弁輪204から(例えば、心臓の室、例えば心室内に)落ちることがないように、弁輪204内に十分に正確に配置することができる。弁輪204は、初期の環径206を有し得る。図54は、第1のプロテーゼ2を配置し、設置することを示す。
第1のプロテーゼ2が完全に伸張していない状態であるとき、突起26および受入れ要素32は図55および56に示すように整列させることができる。図55に示すように、伸展部130は、第1の設定位置98に配置することができる。図56に示すように、球50を第1の設定位置98に配置することができる。
第1のプロテーゼ2は、図57にて矢印で示すように、その外周が伸張することができる。プロテーゼは、伸張した環径208を有し得る。伸張した環径208は、約5mm(0.2インチ)〜約40mm(1.6インチ)であってよく、初期の環径206の寸法に依存し、他の解剖学的構造、異形(例えば、狭窄症、狭穿症)および年齢(例えば、小児の寸法設定)により影響を受ける。第1のプロテーゼ2を伸張させるために、伸張器具210を使用することができる。伸張器具210の例として、バルーン、クランプ・ジョー(clamp jaw)の背面、または図58〜61に示すような可撓性を有するプラグ・アセンブリが挙げられる。別の伸張器具210の例は、Robertsonらの米国特許5,984,959号に開示されており、当該特許は引用によりその全体が本明細書に組み込まれる。
図58は、円筒形であり、第1の側部216に静止プレートを有する可撓性のプラグ212を示す。プラグ212は、例えばポリウレタンまたはシリコーンであるポリマーで形成することができる。プラグ212は、プラグ212の中央部に開口部218を有することができる。剛性の大きい内側チューブ220は、開口部218を通過することができ、また、第1の側部216にてワッシャ222にしっかりと固定され、又は第1の側部216にてワッシャ222に抗して(またはワッシャ222を反対に)引くことができる。圧搾プレート224を剛性の大きい外側チューブ226の端部に固く取り付けることができる。外側チューブ226は、内側チューブ220よりも大きくてよく、また、内側チューブ220は外側チューブ226を通ってスライドすることができる。プラグ212の方向における力を、矢印228で示すように、外側チューブ226に加えることができる。プラグ212から遠ざかる方向の力を、矢印230で示すように、内側チューブ220に加えることができる。プラグは、力が加えられないときに、静止(または休止)半径232を有し得る。
矢印228および230で示される力がプラグ212に加えられると、プラグ212は変形して、図59に示すように、矢印234で示されるように、チューブ220および226から遠ざかるように変形し得る。変形すると、プラグ212は伸張した直径236を有し得る。静止半径232および伸張した直径236は、第1のプロテーゼ2の寸法に適切に合わせられる。プラグ212の変形はまた、矢印234と同じ方向の力を生じさせることができる。矢印228および230で示される力が取り除かれると、プラグ212は図58に示す形状に戻すことができる。
図60は、プラグ212の別の形態を示す。プラグ212は窪んだ上側表面238および窪んだ下側表面240を有し得る。上側の外周242および下側の外周244は、窪んだ表面238および240から傾斜して、プラグ212の壁246と交わることができる。圧搾プレート224および静止プレート214はともに、プラグ212の外周242および244にフィットするように、円錐形状に又は一部を円錐形状に形成することができる。図61に示すように、矢印228および230で示される力が加えられると、プラグの壁246は半径方向に伸張し、平坦な表面を維持することができる。
第1のプロテーゼ2が完全に伸張すると、突起26および受け入れ要素32は、図62および図63に示すように整列することができる。図62に示すように、伸展部130を最後の止め位置110に配置することができる。図63に示すように、ボール50を最後の止め位置110に配置することができる。止め角116および第2のネック108のネック幅104によりもたらされる締まり嵌めは、突起部26が第2の設定位置106に再度入るのを防止できる。加えて、伸張すると、第1のプロテーゼが摩擦的に環状部と係合し、環径が伸張する。伸張すると、第1のプロテーゼ2はまた、壁4と弁輪204の外周との間の管(または血管)のプラークを捕捉することができる。第1のプロテーゼはまた、部分的に伸張することができ、突起26を第2の設定位置106に押し入れることができる。
図64に示すように、固定デバイス248を使用して、第1のプロテーゼ2を、固定デバイスコネクタ88を介して、環状部204の生体塊に固定することができる。固定デバイスの例は、縫合糸、クリップ、ステープル、ピンおよびそれらの組み合わせである。
図65〜68は、第1のプロテーゼ2を環状部204に固定する方法の一形態を示す。図65は、固定デバイスのアセンブリ250を示す。固定デバイスのアセンブリ250は、ニードル252を有し得る。ニードル252は曲げられていてよく、あるいは曲がった先端を有してよい。ニードル252はまた、近位端にてラインの遠位端に取り付けることができる。ニードル252の近位端はまた、直接的に、ライン254を用いずに容器(can)256に取り付けることができ、あるいは容器256として形成することができる。ライン254の近位端は、容器256に取り付けることができる。容器256は、可撓性の円筒形の保存デバイス、例えば、コイルであり得る。容器256は、取り外し可能なように固定デバイス148を保持することができる。固定デバイス148は、例えば、ワイヤまたは繊維である、固定要素258を有し得る。固定要素258は、ボール260を第1端部にて有し、且つ半径方向に伸張可能な部分262を第2の端部にて有することができる。固定デバイス248はまた、固定要素258上に、ボール260と伸張可能な部分262との間で綿撒糸264を有することができる。
固定デバイスアセンブリ250は、矢印266で示すように、ニードル252が固定デバイスコネクタ88に近接するように、配置することができる。ニードル252はそれから、図66において矢印268で示すように、固定デバイスコネクタ88および環状部204を経由して押される。ニードル252はそれから、図67において矢印270で示すように、環状部204から遠ざかるように引っ張られる。容器256は、矢印272で示すように、環状部204を経由して、ニードル252の経路を辿ることができる。綿撒糸264は、固定デバイスコネクタ88より大きくてよく、綿撒糸264はまた、固定デバイスコネクタ88に対して締まり嵌めを提供してよい。ニードル252は、環状部204から遠ざかるように引っ張り続けることができ、図68において矢印274で示すように、容器256を環状部204から引き出す。固定デバイスコネクタ88に対する綿撒糸264の締まり嵌めは、固定デバイス248を保持し、また、ニードル252が引っ張られて環状部254から遠ざかるときに、固定要素258を容器256からスライドさせる抵抗力を与えることができる。半径方向に伸張可能な部分262は、それから半径方向に伸張することができ、それにより、第1のプロテーゼ2および環状部204を綿撤糸264と半径方向に伸張可能な部分262との間で固定する。
容器256の内側表面は、例えば、巻くこと、波形にすること、または他の粗面処理により、構成して、容器256の内側表面と固定デバイス148との間の摩擦を調節することができる。この摩擦は、固定デバイス148を容器256から取り除くのに必要な抵抗力の量に影響を及ぼし得る。抵抗力は、固定デバイス148が環104を通過してしまう前に、固定デバイス148を容器256から落とすのに必要な大凡の力より大きくすることができる。抵抗力はまた、固定デバイスコネクタ88を経由させて綿撤糸256を引っ張るのに十分なように綿撤糸265を変形させるのに必要な力よりも小さくし得る。抵抗力は、例えば、約1.1N(0.25ポンド)であり得る。
第2のプロテーゼ68はそれから、図69にて矢印で示されるように、係合要素148に配置され得る。係合要素148が設置されると、第2のプロテーゼ68は次に、図70に示すように、第1のプロテーゼ2により係合される。第2のプロテーゼ68の例には、接続アダプタ、および弁葉276を具えた心臓弁の冠、例えば、Laneの米国特許第6,371,983号が含まれる。当該米国特許は引用によりその全体が本明細書に組み込まれる。
図71は、第2のプロテーゼ68を備えた心臓弁アセンブリ278の別の形態を示す。第1のプロテーゼ2は、長手方向の止めを提供し、かつ、矢印282で示すように、第2のプロテーゼ68の第1のプロテーゼ2内への挿入をガイドするために、テーパーを有する壁280を有してよい。テーパーを有する壁280はまた、環状部204を押し返して、第2のプロテーゼ68が第1のプロテーゼ2と係合するときに、伸張した環径208を維持することができる。第2のプロテーゼ68は、係合要素148に固定するために、スプリングロック式のタブ284を有してよい。スプリングロック式のタブ284は、長手方向の軸6から外向きに傾斜していてよい。第1および第2のプロテーゼ2および68は、第1および第2のプロテーゼ直径288および290をそれぞれ有することができる。第1のプロテーゼの直径288は、第2のプロテーゼの直径290よりも大きくてよい。図72は、図71の心臓弁アセンブリ278の一形態を示すが、第2のプロテーゼの直径290は第1のプロテーゼの直径288より大きくてよく、スプリングロック式のタブ284は、長手方向の軸6に向かって内向きに傾斜していてよい。第1のプロテーゼ2および第2のプロテーゼ68は、伸張した環状部のルーメン径208を保持するように作用することができる。
図73は、第1のプロテーゼ2上の固定ポイント286と整列している固定ポイント286を有してよい第2のプロテーゼ68を有する心臓弁アセンブリ278の別の形態であって、第1のプロテーゼ2を第2のプロテーゼ68に固定するために、整列した固定ポイント286を通過して、縫合糸、グロメット(または鳩目)、クリップ292またはピン294が挿入されることを可能にする形態を示す。
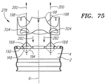
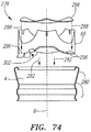
図74は、矢印298で示されるように第2のプロテーゼ68のエッジ付近に配置され得る、複数のローブ(または切れ込み、もしくは耳たぶ状の突出部)を有する補強リング296を具えた、別の形態の心臓弁アセンブリ278を示す。第2のプロテーゼ68は、複数のフラップ300を有してよい。フラップ300は、矢印302で示すように、補強リング296の周囲を包んでよい(または当該リングの周囲に巻き付いていてよい)。包まれた補強リング296は、第2のプロテーゼ68の剛性を向上させることができ、係合要素148と係合することができる。
図75は、図52の形態に等しい形態の第1のプロテーゼ2を有する、さらに別の形態の心臓弁アセンブリ278を示す。第2のプロテーゼ68は、ラッチ188を受け入れるためのラッチ開口部304を有することができる。第2のプロテーゼ68が第1のプロテーゼ2内に降下させられると、矢印200で示すように、干渉ビーム198を取り除くことができる。ラッチ188はそれから、ラッチ開口部304で収縮する。
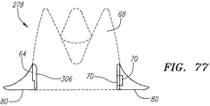
図76は、図11および図12の形態に等しい形態の第1のプロテーゼ2を有する、別の形態の心臓弁アセンブリ278を示す。第2のプロテーゼは、グルーブ64内にフィットする、リブ306を有してよい。第2のプロテーゼ68はまた、上部磁石70を有し得る上側アーム308、および下部磁石72を有し得る下側アーム310を有してよい。第2のプロテーゼにおける磁石70および72は、第1のプロテーゼ2の対応する磁石70および72の極性と反対の極性を有することができる。図77は、図13および14の形態に等しい形態の第1のプロテーゼを有する、心臓弁アセンブリ278の一形態を示す。
図78は、第2のプロテーゼ68を第1のプロテーゼ2に接続するアダプタ312を有する心臓弁アセンブリ278の一形態を示す。アダプタ312は、係合要素148に固定するためのスプリングロック式のタブ284を有することができ、また、アダプタ312はアダプタ312を壁4に当てて配置するための止め用のうね(またはストップ・リッジ)314を有し得る。
アダプタ312はまた、第2のプロテーゼ68上の他の固定ポイント286と整列する固定ポイント286を有し、アダプタ312を第2のプロテーゼ68に固定するために、縫合糸、グロメット、クリップ、ピンまたは固定デバイス248が整列した固定ポイント286を通過して挿入されるようになっていてよい。第2のプロテーゼ68はまた、アダプタ312の上部内に矢印316で示すように降下させることができる。アダプタ312は、取り付け用の装置(例えば、一方向のクリップ)の寸法および方向に応じて、第1のプロテーゼ2または第2のプロテーゼ68の内側または外側に取り付けることができる。
アダプタ312はまた、図79および図80に示すように、複数の形の断面を有することができる。図79に示すように、断面C−Cは、3つのローブ318、および3つの波形部(またはホタテ貝状部もしくはスカラップ部)320を有することができる。1つの波形部320は、各ローブ318の間にあってよい。図79に示すように、断面C−Cは、第2のプロテーゼ68の断面と同じであり得、そこで第2のプロテーゼ68がアダプタ312と係合する。図80に示すように、断面D−Dは円形であってよい。断面D−Dは、第1のプロテーゼ2と同じ形状であってよく、そこで、第1のプロテーゼ2がアダプタ312と係合する。
図81は、第1のプロテーゼ2に収容された第2のプロテーゼ68を示す。第2のプロテーゼ68は、3つのローブ318を有することができる。第2のプロテーゼは、各2つのローブ318の間に波形部312を有し得る。各スカラップ320と壁4との間のスカラップ・ギャップ322は、プロテーゼ2および68の使用中、布により被覆してよい。
図82は、レバー・デバイス324(例えば、クランプまたはハサミ)を、矢印で示されるように、スカラップ・ギャップ322内に押し進め得ることを示す。図83に示すように、レバー・デバイス324の脚部326が2つの波形部320に近接して配置されると、レバー・デバイス324は矢印で示すように、強く握られて、それにより第2のプロテーゼ68を壊し、それを第1のプロテーゼ2から分離することができる。図84に示すように、第2のプロテーゼ68が第1のプロテーゼ2から離されると、第2のプロテーゼ68は、矢印で示すように第1のプロテーゼ2から取り除くことができる。第2のプロテーゼ68が取り除かれると、新しい第2のプロテーゼ68を上述したように追加することができる。弁葉の故障は、容易に且つ費用をかけることなく、新しい第2のプロテーゼ68を植え込むことにより、修理できる。小児の弁の伸張をもたらすために、第1のプロテーゼ2の外周を伸張させること、及び第2のプロテーゼ68を置き換えることもまた、容易に且つ費用をかけることなく、実施することができる。
当業者には、本発明の精神および範囲から逸脱することなく、種々の変更および改変を、この開示および採用される等価物に対してなし得ることは明白である。任意の形態について示される要素は、特定の形態に対する例示的なものであり、この開示内の他の形態において使用され得る。
図1は、プロテーゼの一形態の底面図である。 図2は、図1の形態のプロテーゼの上面斜視図である。 図3は、プロテーゼの別の形態の底面図である。 図4は、図3の形態のプロテーゼの上面斜視図である。 図5は、プロテーゼの別の形態の底面図である。 図6は、図5の形態のプロテーゼの上面斜視図である。 図7は、プロテーゼの別の形態の底面図であり、カラーを切り欠き図で示す。 図8は、図7の形態のプロテーゼの上面斜視図であり、カラーを切り欠き図で示す。 図9は、プロテーゼの別の形態の底面図であり、カラーを切断図で示す。 図10は、図8の形態のプロテーゼの上面斜視図であり、カラーを切り欠き図で示す。 図11は、磁石を有するプロテーゼの別の形態の上面斜視図である。 図12は、図11のA−Aの断面図を示す。 図13は、磁石を有するプロテーゼの別の形態の上面斜視図である。 図14は、図13のB−Bの断面図を示す。 図15は、磁石を有するプロテーゼの別の形態の上面斜視図である。 図16は、伸張していない状態の変形可能なプロテーゼの一形態の上面図である。 図17は、伸張していない状態の変形可能なプロテーゼの一形態の上面図である。 図18は、伸張していない状態の変形可能なプロテーゼの一形態の上面図である。 図19は、伸張した状態の図12の形態のプロテーゼの上面図である。 図20は、固定デバイスコネクタの一形態を示す。 図21は、固定デバイスコネクタの一形態を示す。 図22は、固定デバイスコネクタの一形態を示す。 図23は、受入れ要素の一形態を示す。 図24は、受入れ要素の一形態を示す。 図25は、受入れ要素の一形態を示す。 図26は、受入れ要素の切断図である。 図27は、受入れ要素の切断図である。 図28は、突起の一形態を示す。 図29は、突起の一形態を示す。 図30は、突起の一形態を示す。 図31は、突起の一形態を示す。 図32は、突起の一形態を示す。 図33は、突起の一形態を示す。 図34は、ステアリング要素を示す。 図35は、プロテーゼの壁の一形態の断面図である。 図36は、プロテーゼの壁の一形態の断面図である。 図37は、プロテーゼの壁の一形態の断面図である。 図38は、プロテーゼの壁の一形態の断面図である。 図39は、プロテーゼの壁の一形態の断面図である。 図40は、プロテーゼの壁の一形態の断面図である。 図41は、プロテーゼの壁の一形態の断面図である。 図42は、プロテーゼの壁の一形態の断面図である。 図43は、プロテーゼの壁の一形態の断面図である。 図44は、図38のプロテーゼの一形態を示す。 図45は、カバリングを有するプロテーゼの壁の断面図を示す。 図46は、カバリングを有するプロテーゼの壁の断面図を示す。 図47は、係合要素の一形態を示す。 図48は、係合要素の一形態を示す。 図49は、係合要素の一形態を示す。 図50は、係合要素の一形態を示す。 図51は、係合要素の一形態を示す。 図52は、係合要素の一形態を示す。 図53は、プロテーゼを環状部に配置する一形態の切り欠き図であって、プロテーゼを立体図で示す。 図54は、プロテーゼを環状部に配置する一形態の切り欠き図である。 図55は、プロテーゼが伸張していないときの突起および受入れ要素の一形態を示す。 図56は、プロテーゼが伸張していないときの突起および受入れ要素の一形態を示す。 図57は、プロテーゼを伸張させる一形態の切り欠き図である。 図58は、伸張ツールの一形態を示す。 図59は、伸張ツールの一形態を示す。 図60は、伸張ツールの別の形態を示す。 図61は、伸張ツールの別の形態を示す。 図62は、プロテーゼが伸張しているときの突起および受入れ要素の一形態を示す。 図63は、プロテーゼが伸張しているときの突起および受入れ要素の一形態を示す。 図64は、プロテーゼを生体塊に固定する切り欠き図である。 図65は、プロテーゼを生体塊に固定する方法およびアセンブリの一形態を示す。 図66は、プロテーゼを生体塊に固定する方法およびアセンブリの一形態を示す。 図67は、プロテーゼを生体塊に固定する方法およびアセンブリの一形態を示す。 図68は、プロテーゼを生体塊に固定する方法およびアセンブリの一形態を示す。 図69は、第2のプロテーゼを第1のプロテーゼに配置する切り欠き図であり、第2のプロテーゼを立体図で示す。 図70は、第2のプロテーゼを第1のプロテーゼに取り付ける切り欠き図である。 図71は、第2のプロテーゼを第1のプロテーゼに取り付ける一形態の分解図である。 図72は、第2のプロテーゼを第1のプロテーゼに取り付ける一形態の分解図である。 図73は、第2のプロテーゼを第1のプロテーゼに取り付ける一形態の分解図である。 図74は、第2のプロテーゼを第1のプロテーゼに取り付ける一形態の分解図である。 図75は、第2のプロテーゼを第1のプロテーゼに取り付ける一形態の分解図である。 図76は、第2のプロテーゼを第1のプロテーゼに取り付ける一形態の分解図である。 図77は、第2のプロテーゼを第1のプロテーゼに取り付ける一形態の分解図である。 図78は、第2のプロテーゼをアダプタに取り付け、アダプタを第1のプロテーゼに取り付ける一形態の分解図である。 図79は、図78のC−Cの断面図を示す。 図80は、図78のD−Dの断面図を示す。 図81は、第2のプロテーゼを取り付けた第1のプロテーゼの一形態の上面図である。 図82は、第1のプロテーゼから第2のプロテーゼを取り除く方法の一形態を示す。 図83は、第1のプロテーゼから第2のプロテーゼを取り除く方法の一形態を示す。 図84は、第1のプロテーゼから第2のプロテーゼを取り除く方法の一形態を示す。

Claims (18)

  1. 生物学的に植え込み可能な第1のプロテーゼであって、外周が伸張可能な壁を含み、当該壁が長手方向の軸を有し、当該壁が長手方向の軸に垂直な横方向の断面を有し、かつ当該壁が長手方向の軸と平行である縦方向の断面を有し、かつ当該壁が伸張した状態で実質的に円形である外周形状を規定する、第1のプロテーゼ;
    複数のローブを有する外周形状を有する心臓弁冠を含む第2のプロテーゼ;および
    第1のプロテーゼが生物学的な弁環状部内に埋め込まれた後で、第2のプロテーゼが挿入されて第1のプロテーゼと係合するときに、互いに自己係合させる、第1および第2のプロテーゼの周囲に配置された1または複数の係合要素
    を含み、
    第1のプロテーゼが、生物学的な弁環状部に導入される間は、伸張していない状態に圧縮可能であり、弁環状部内に導入されて弁環状部に係合させるときに伸張した状態に伸張可能であ
    第2のプロテーゼが挿入されて第1のプロテーゼと係合するときに、第2のプロテーゼを第1のプロテーゼと角度に関して整列させる、協働要素を、第1および第2のプロテーゼ上にさらに含み、
    協働要素が、第1および第2のプロテーゼの外周に沿って配置された、複数の磁石を含む、
    心臓弁アセンブリ。
  2. 生物学的に植え込み可能な心臓弁用の第1のプロテーゼであって、第1の縁および第2の縁を含む壁を含み、当該壁が第1のプロテーゼの中心にて、長手方向の軸を有する、第1のプロテーゼ、および
    弁葉を有する心臓弁冠を含み、当該心臓弁冠が複数のローブを有する外周形状を有する、第2のプロテーゼ
    を含む心臓弁アセンブリであって、
    当該壁の少なくとも一部が、長手方向の軸から遠ざかるように、または長手方向の軸に向かって、傾斜しており、
    第1のプロテーゼが生物学的な弁環状部内に埋め込まれた後で、第2のプロテーゼを第1のプロテーゼに固定する、複数の係合要素を第1のプロテーゼが含んでおり、
    第1のプロテーゼが、生物学的な弁環状部に導入される間は、伸張していない状態に圧縮可能であり、弁環状部内に導入されて弁環状部に係合させるときに伸張した状態に伸張可能であり、かつ第1のプロテーゼが、伸張した状態で実質的に円形である外周形状を有
    第2のプロテーゼが挿入されて第1のプロテーゼと係合するときに、第2のプロテーゼを第1のプロテーゼと角度に関して整列させる、協働要素を、第1および第2のプロテーゼ上にさらに含み、
    協働要素が、第1および第2のプロテーゼの外周に沿って配置された、複数の磁石を含む、
    心臓弁アセンブリ。
  3. 心臓の生物学的な弁環状部内に埋め込み可能な心臓弁アセンブリであって、
    外周を規定する壁を含み、当該壁が生物学的な弁環状部に導入される間は伸張していない状態に圧縮可能であり、弁環状部内に導入されて弁環状部に係合させるときに外周を増加させるために半径方向に伸張した状態に伸張可能であり、かつ当該壁は伸張した状態で実質的に円形である外周形状を有し、当該壁の少なくとも一部の上に布のカバリングを含む、第1の環状プロテーゼ;
    第1のプロテーゼを弁環状部に固定するために、第1のプロテーゼの一部を通過して受け入れ可能な複数の固定デバイス;
    複数のローブを有する外周形状を有する心臓弁冠を含む第2の弁プロテーゼ;および
    第1のプロテーゼが弁環状部内に埋め込まれた後で、第2のプロテーゼを第1のプロテーゼに接続するための、1または複数の係合要素
    を含
    第2のプロテーゼが挿入されて第1のプロテーゼと係合するときに、第2のプロテーゼを第1のプロテーゼと角度に関して整列させる、協働要素を、第1および第2のプロテーゼ上にさらに含み、
    協働要素が、第1および第2のプロテーゼの外周に沿って配置された、複数の磁石を含む、
    心臓弁アセンブリ。
  4. 心臓弁冠が、隣接するローブの間で波形を含む、3つのローブを含む周形状を有する、請求項1〜3のいずれか1項に記載の心臓弁アセンブリ。
  5. 複数の固定デバイスをさらに含み、第2のプロテーゼが環状部に挿入される前に、第1のプロテーゼを環状部に固定するために、当該固定デバイスが、第1のプロテーゼの一部を経由して挿入されるようになっている、請求項1または2に記載の心臓弁アセンブリ。
  6. 固定デバイスがクリップを含む、請求項3または5に記載の心臓弁アセンブリ。
  7. 第1のプロテーゼが、第1のプロテーゼを環状部に固定するために、そこを通過させて固定デバイスを受け入れる固定デバイスコネクタを複数含む、請求項3、5、または6に記載の心臓弁アセンブリ。
  8. 係合要素が、第2のプロテーゼを第1のプロテーゼにスナップ嵌めするコネクタを含む、請求項1〜3のいずれか1項に記載の心臓弁アセンブリ。
  9. 係合要素が、第2のプロテーゼが第1のプロテーゼに収容されたときに、自己係合する、複数の係合要素を含む、請求項2または3に記載の心臓弁アセンブリ。
  10. 第1のプロテーゼが、環状部に係合するために、外周が弾性的に伸張状態に伸張可能な壁を含む、請求項1〜9のいずれか1項に記載の心臓弁アセンブリ。
  11. 固定デバイスコネクタが、複数のポートを壁に含む、請求項7に記載の心臓弁アセンブリ。
  12. 第1のプロテーゼが、周に実質的に垂直に延びる長手方向の軸を含み、当該壁の少なくとも一部が長手方向の軸に対して傾斜している、請求項1または5に記載の心臓弁アセンブリ。
  13. 前記壁の第1の部分が、長手方向の軸に対して第1の角度で傾斜しており、当該壁の第2の部分が長手方向の軸に対して第2の角度で傾斜している、請求項1または3に記載の心臓弁アセンブリ。
  14. 第1のプロテーゼが、環状トップ・セグメントおよび環状ボトム・セグメントを含み、トップおよびボトム・セグメントのうち少なくとも一方が、トップ・セグメントがボトム・セグメントよりも大きい外周を有するように、長手方向の軸に対して角度を規定する、請求項2または13に記載の心臓弁アセンブリ。
  15. 第1のプロテーゼが長手方向の軸と平行に第2のプロテーゼに対して移動させられたときに、係合要素が自己係合するようになっている、請求項9に記載の心臓弁アセンブリ。
  16. 前記壁が、互いに隣り合うように配置された第1および第2の端部を含み、第1および第2の端部が互いに対して、壁の外周を伸張させるために、移動可能である、請求項1〜15のいずれか1項に記載の心臓弁アセンブリ。
  17. 複数の係合要素が、第1のプロテーゼを1または複数の平行な面にて係合するようになっている、請求項1〜16のいずれか1項に記載の心臓弁アセンブリ。
  18. 協働要素が、リブおよびグルーを第1および第2のプロテーゼ上に含み、第2のプロテーゼが挿入されて第1のプロテーゼと係合するときに、リブがグルーブ内にフィットする、請求項1〜16のいずれか1項に記載の心臓弁アセンブリ。
JP2004564040A 2002-12-20 2003-12-20 生物学的に植え込み可能なプロテーゼおよびその使用方法 Expired - Fee Related JP4635122B2 (ja)

Applications Claiming Priority (2)

Application Number Priority Date Filing Date Title
US10/327,821 US8551162B2 (en) 2002-12-20 2002-12-20 Biologically implantable prosthesis
PCT/US2003/041222 WO2004058106A2 (en) 2002-12-20 2003-12-20 Biologically implantable prosthesis and methods of using the same

Related Child Applications (1)

Application Number Title Priority Date Filing Date
JP2010151246A Division JP5386664B2 (ja) 2002-12-20 2010-07-01 生物学的に植え込み可能なプロテーゼおよびその使用方法

Publications (3)

Publication Number Publication Date
JP2006511279A JP2006511279A (ja) 2006-04-06
JP2006511279A5 JP2006511279A5 (ja) 2007-02-15
JP4635122B2 true JP4635122B2 (ja) 2011-02-16

Family

ID=32594349

Family Applications (2)

Application Number Title Priority Date Filing Date
JP2004564040A Expired - Fee Related JP4635122B2 (ja) 2002-12-20 2003-12-20 生物学的に植え込み可能なプロテーゼおよびその使用方法
JP2010151246A Expired - Fee Related JP5386664B2 (ja) 2002-12-20 2010-07-01 生物学的に植え込み可能なプロテーゼおよびその使用方法

Family Applications After (1)

Application Number Title Priority Date Filing Date
JP2010151246A Expired - Fee Related JP5386664B2 (ja) 2002-12-20 2010-07-01 生物学的に植え込み可能なプロテーゼおよびその使用方法

Country Status (6)

Country Link
US (9) US8551162B2 (ja)
EP (2) EP1585463B1 (ja)
JP (2) JP4635122B2 (ja)
AU (1) AU2003299886A1 (ja)
CA (1) CA2509211C (ja)
WO (1) WO2004058106A2 (ja)

Families Citing this family (535)

* Cited by examiner, † Cited by third party
Publication number Priority date Publication date Assignee Title
US6006134A (en) * 1998-04-30 1999-12-21 Medtronic, Inc. Method and device for electronically controlling the beating of a heart using venous electrical stimulation of nerve fibers
EP0850607A1 (en) 1996-12-31 1998-07-01 Cordis Corporation Valve prosthesis for implantation in body channels
US6613059B2 (en) 1999-03-01 2003-09-02 Coalescent Surgical, Inc. Tissue connector apparatus and methods
US6440164B1 (en) 1999-10-21 2002-08-27 Scimed Life Systems, Inc. Implantable prosthetic valve
US8016877B2 (en) 1999-11-17 2011-09-13 Medtronic Corevalve Llc Prosthetic valve for transluminal delivery
US7018406B2 (en) 1999-11-17 2006-03-28 Corevalve Sa Prosthetic valve for transluminal delivery
US8579966B2 (en) 1999-11-17 2013-11-12 Medtronic Corevalve Llc Prosthetic valve for transluminal delivery
US8241274B2 (en) 2000-01-19 2012-08-14 Medtronic, Inc. Method for guiding a medical device
US6692513B2 (en) 2000-06-30 2004-02-17 Viacor, Inc. Intravascular filter with debris entrapment mechanism
US7749245B2 (en) 2000-01-27 2010-07-06 Medtronic, Inc. Cardiac valve procedure methods and devices
US7011682B2 (en) * 2000-01-31 2006-03-14 Edwards Lifesciences Ag Methods and apparatus for remodeling an extravascular tissue structure
US6551332B1 (en) 2000-03-31 2003-04-22 Coalescent Surgical, Inc. Multiple bias surgical fastener
US8366769B2 (en) 2000-06-01 2013-02-05 Edwards Lifesciences Corporation Low-profile, pivotable heart valve sewing ring
US6409758B2 (en) 2000-07-27 2002-06-25 Edwards Lifesciences Corporation Heart valve holder for constricting the valve commissures and methods of use
CA2419811A1 (en) 2000-08-18 2002-02-28 Atritech, Inc. Expandable implant devices for filtering blood flow from atrial appendages
US6846325B2 (en) 2000-09-07 2005-01-25 Viacor, Inc. Fixation band for affixing a prosthetic heart valve to tissue
US6893459B1 (en) * 2000-09-20 2005-05-17 Ample Medical, Inc. Heart valve annulus device and method of using same
US6602286B1 (en) 2000-10-26 2003-08-05 Ernst Peter Strecker Implantable valve system
US6733525B2 (en) * 2001-03-23 2004-05-11 Edwards Lifesciences Corporation Rolled minimally-invasive heart valves and methods of use
US8623077B2 (en) 2001-06-29 2014-01-07 Medtronic, Inc. Apparatus for replacing a cardiac valve
US8771302B2 (en) 2001-06-29 2014-07-08 Medtronic, Inc. Method and apparatus for resecting and replacing an aortic valve
US7544206B2 (en) 2001-06-29 2009-06-09 Medtronic, Inc. Method and apparatus for resecting and replacing an aortic valve
FR2826863B1 (fr) 2001-07-04 2003-09-26 Jacques Seguin Ensemble permettant la mise en place d'une valve prothetique dans un conduit corporel
FR2828091B1 (fr) 2001-07-31 2003-11-21 Seguin Jacques Ensemble permettant la mise en place d'une valve prothetique dans un conduit corporel
US7097659B2 (en) 2001-09-07 2006-08-29 Medtronic, Inc. Fixation band for affixing a prosthetic heart valve to tissue
US7201771B2 (en) 2001-12-27 2007-04-10 Arbor Surgical Technologies, Inc. Bioprosthetic heart valve
US6752828B2 (en) 2002-04-03 2004-06-22 Scimed Life Systems, Inc. Artificial valve
US7007698B2 (en) 2002-04-03 2006-03-07 Boston Scientific Corporation Body lumen closure
US8721713B2 (en) 2002-04-23 2014-05-13 Medtronic, Inc. System for implanting a replacement valve
US7578843B2 (en) 2002-07-16 2009-08-25 Medtronic, Inc. Heart valve prosthesis
US7959674B2 (en) 2002-07-16 2011-06-14 Medtronic, Inc. Suture locking assembly and method of use
AU2003265852A1 (en) * 2002-08-29 2004-03-19 Mitralsolutions, Inc. Implantable devices for controlling the internal circumference of an anatomic orifice or lumen
US8758372B2 (en) 2002-08-29 2014-06-24 St. Jude Medical, Cardiology Division, Inc. Implantable devices for controlling the size and shape of an anatomical structure or lumen
CA2502967A1 (en) 2002-10-24 2004-05-06 Boston Scientific Limited Venous valve apparatus and method
US8551162B2 (en) 2002-12-20 2013-10-08 Medtronic, Inc. Biologically implantable prosthesis
US6945957B2 (en) 2002-12-30 2005-09-20 Scimed Life Systems, Inc. Valve treatment catheter and methods
US7399315B2 (en) 2003-03-18 2008-07-15 Edwards Lifescience Corporation Minimally-invasive heart valve with cusp positioners
DE602004029159D1 (ja) * 2003-05-28 2010-10-28 Cook Inc
US8021421B2 (en) 2003-08-22 2011-09-20 Medtronic, Inc. Prosthesis heart valve fixturing device
US9579194B2 (en) 2003-10-06 2017-02-28 Medtronic ATS Medical, Inc. Anchoring structure with concave landing zone
US7556647B2 (en) 2003-10-08 2009-07-07 Arbor Surgical Technologies, Inc. Attachment device and methods of using the same
ITBO20030631A1 (it) * 2003-10-23 2005-04-24 Roberto Erminio Parravicini Apparecchiatura protesica valvolare, in particolare per applicazioni cardiache.
US7186265B2 (en) 2003-12-10 2007-03-06 Medtronic, Inc. Prosthetic cardiac valves and systems and methods for implanting thereof
US7879047B2 (en) * 2003-12-10 2011-02-01 Medtronic, Inc. Surgical connection apparatus and methods
US7854761B2 (en) 2003-12-19 2010-12-21 Boston Scientific Scimed, Inc. Methods for venous valve replacement with a catheter
US8128681B2 (en) 2003-12-19 2012-03-06 Boston Scientific Scimed, Inc. Venous valve apparatus, system, and method
US7381219B2 (en) 2003-12-23 2008-06-03 Sadra Medical, Inc. Low profile heart valve and delivery system
US7959666B2 (en) 2003-12-23 2011-06-14 Sadra Medical, Inc. Methods and apparatus for endovascularly replacing a heart valve
US20120041550A1 (en) 2003-12-23 2012-02-16 Sadra Medical, Inc. Methods and Apparatus for Endovascular Heart Valve Replacement Comprising Tissue Grasping Elements
US9526609B2 (en) 2003-12-23 2016-12-27 Boston Scientific Scimed, Inc. Methods and apparatus for endovascularly replacing a patient's heart valve
CN100589779C (zh) 2003-12-23 2010-02-17 萨德拉医学公司 可再定位的心脏瓣膜
US20050137687A1 (en) 2003-12-23 2005-06-23 Sadra Medical Heart valve anchor and method
US8603160B2 (en) 2003-12-23 2013-12-10 Sadra Medical, Inc. Method of using a retrievable heart valve anchor with a sheath
US7329279B2 (en) 2003-12-23 2008-02-12 Sadra Medical, Inc. Methods and apparatus for endovascularly replacing a patient's heart valve
US11278398B2 (en) 2003-12-23 2022-03-22 Boston Scientific Scimed, Inc. Methods and apparatus for endovascular heart valve replacement comprising tissue grasping elements
US8579962B2 (en) 2003-12-23 2013-11-12 Sadra Medical, Inc. Methods and apparatus for performing valvuloplasty
US8246675B2 (en) * 2003-12-23 2012-08-21 Laboratoires Perouse Kit for implanting in a duct
US7445631B2 (en) 2003-12-23 2008-11-04 Sadra Medical, Inc. Methods and apparatus for endovascularly replacing a patient's heart valve
US8287584B2 (en) * 2005-11-14 2012-10-16 Sadra Medical, Inc. Medical implant deployment tool
US8343213B2 (en) 2003-12-23 2013-01-01 Sadra Medical, Inc. Leaflet engagement elements and methods for use thereof
US7780725B2 (en) 2004-06-16 2010-08-24 Sadra Medical, Inc. Everting heart valve
US20050137694A1 (en) 2003-12-23 2005-06-23 Haug Ulrich R. Methods and apparatus for endovascularly replacing a patient's heart valve
US8182528B2 (en) 2003-12-23 2012-05-22 Sadra Medical, Inc. Locking heart valve anchor
US8840663B2 (en) 2003-12-23 2014-09-23 Sadra Medical, Inc. Repositionable heart valve method
US8828078B2 (en) 2003-12-23 2014-09-09 Sadra Medical, Inc. Methods and apparatus for endovascular heart valve replacement comprising tissue grasping elements
US9005273B2 (en) 2003-12-23 2015-04-14 Sadra Medical, Inc. Assessing the location and performance of replacement heart valves
US9254213B2 (en) * 2004-01-09 2016-02-09 Rubicon Medical, Inc. Stent delivery device
US7871435B2 (en) 2004-01-23 2011-01-18 Edwards Lifesciences Corporation Anatomically approximate prosthetic mitral heart valve
US7597711B2 (en) * 2004-01-26 2009-10-06 Arbor Surgical Technologies, Inc. Heart valve assembly with slidable coupling connections
AU2005213458B2 (en) * 2004-02-05 2010-04-22 Children's Medical Center Corporation Transcatheter delivery of a replacement heart valve
CA2557657C (en) 2004-02-27 2013-06-18 Aortx, Inc. Prosthetic heart valve delivery systems and methods
ITTO20040135A1 (it) 2004-03-03 2004-06-03 Sorin Biomedica Cardio Spa Protesi valvolare cardiaca
WO2005102015A2 (en) 2004-04-23 2005-11-03 3F Therapeutics, Inc. Implantable prosthetic valve
US7462191B2 (en) 2004-06-30 2008-12-09 Edwards Lifesciences Pvt, Inc. Device and method for assisting in the implantation of a prosthetic valve
US7276078B2 (en) * 2004-06-30 2007-10-02 Edwards Lifesciences Pvt Paravalvular leak detection, sealing, and prevention
US7566343B2 (en) 2004-09-02 2009-07-28 Boston Scientific Scimed, Inc. Cardiac valve, system, and method
US20060052867A1 (en) 2004-09-07 2006-03-09 Medtronic, Inc Replacement prosthetic heart valve, system and method of implant
US7641687B2 (en) * 2004-11-02 2010-01-05 Carbomedics Inc. Attachment of a sewing cuff to a heart valve
US8562672B2 (en) 2004-11-19 2013-10-22 Medtronic, Inc. Apparatus for treatment of cardiac valves and method of its manufacture
US20060122634A1 (en) * 2004-12-03 2006-06-08 Ino Takashi H Apparatus and method for delivering fasteners during valve replacement
US7758640B2 (en) * 2004-12-16 2010-07-20 Valvexchange Inc. Cardiovascular valve assembly
DE102005003632A1 (de) 2005-01-20 2006-08-17 Fraunhofer-Gesellschaft zur Förderung der angewandten Forschung e.V. Katheter für die transvaskuläre Implantation von Herzklappenprothesen
US20060173490A1 (en) 2005-02-01 2006-08-03 Boston Scientific Scimed, Inc. Filter system and method
US7854755B2 (en) 2005-02-01 2010-12-21 Boston Scientific Scimed, Inc. Vascular catheter, system, and method
US7878966B2 (en) 2005-02-04 2011-02-01 Boston Scientific Scimed, Inc. Ventricular assist and support device
US7780722B2 (en) 2005-02-07 2010-08-24 Boston Scientific Scimed, Inc. Venous valve apparatus, system, and method
US7670368B2 (en) 2005-02-07 2010-03-02 Boston Scientific Scimed, Inc. Venous valve apparatus, system, and method
ITTO20050074A1 (it) 2005-02-10 2006-08-11 Sorin Biomedica Cardio Srl Protesi valvola cardiaca
US8574257B2 (en) 2005-02-10 2013-11-05 Edwards Lifesciences Corporation System, device, and method for providing access in a cardiovascular environment
US7867274B2 (en) 2005-02-23 2011-01-11 Boston Scientific Scimed, Inc. Valve apparatus, system and method
US20060195186A1 (en) * 2005-02-28 2006-08-31 Drews Michael J Connectors for two piece heart valves and methods for implanting such heart valves
US8083793B2 (en) 2005-02-28 2011-12-27 Medtronic, Inc. Two piece heart valves including multiple lobe valves and methods for implanting them
WO2006091163A1 (en) * 2005-02-28 2006-08-31 Medtentia Ab Devices and a kit for improving the function of a heart valve
WO2006097931A2 (en) 2005-03-17 2006-09-21 Valtech Cardio, Ltd. Mitral valve treatment techniques
EP1861045B1 (en) 2005-03-25 2015-03-04 St. Jude Medical, Cardiology Division, Inc. Apparatus for controlling the internal circumference of an anatomic orifice or lumen
US8864823B2 (en) 2005-03-25 2014-10-21 StJude Medical, Cardiology Division, Inc. Methods and apparatus for controlling the internal circumference of an anatomic orifice or lumen
US7513909B2 (en) 2005-04-08 2009-04-07 Arbor Surgical Technologies, Inc. Two-piece prosthetic valves with snap-in connection and methods for use
US7722666B2 (en) 2005-04-15 2010-05-25 Boston Scientific Scimed, Inc. Valve apparatus, system and method
US8333777B2 (en) 2005-04-22 2012-12-18 Benvenue Medical, Inc. Catheter-based tissue remodeling devices and methods
US7962208B2 (en) 2005-04-25 2011-06-14 Cardiac Pacemakers, Inc. Method and apparatus for pacing during revascularization
US7914569B2 (en) 2005-05-13 2011-03-29 Medtronics Corevalve Llc Heart valve prosthesis and methods of manufacture and use
EP2901967B1 (en) * 2005-05-24 2019-10-02 Edwards Lifesciences Corporation Rapid deployment prosthetic heart valve
EP1895942B1 (en) * 2005-05-27 2020-05-13 Medtronic, Inc. Gasket with collar for prosthetic heart valves
US8012198B2 (en) 2005-06-10 2011-09-06 Boston Scientific Scimed, Inc. Venous valve, system, and method
US7780723B2 (en) * 2005-06-13 2010-08-24 Edwards Lifesciences Corporation Heart valve delivery system
US8951285B2 (en) 2005-07-05 2015-02-10 Mitralign, Inc. Tissue anchor, anchoring system and methods of using the same
WO2007006057A1 (en) * 2005-07-06 2007-01-11 The Cleveland Clinic Foundation Apparatus and method for replacing a cardiac valve
US7776084B2 (en) 2005-07-13 2010-08-17 Edwards Lifesciences Corporation Prosthetic mitral heart valve having a contoured sewing ring
US7569071B2 (en) 2005-09-21 2009-08-04 Boston Scientific Scimed, Inc. Venous valve, system, and method with sinus pocket
WO2007038540A1 (en) 2005-09-26 2007-04-05 Medtronic, Inc. Prosthetic cardiac and venous valves
US8167932B2 (en) 2005-10-18 2012-05-01 Edwards Lifesciences Corporation Heart valve delivery system with valve catheter
US8764820B2 (en) 2005-11-16 2014-07-01 Edwards Lifesciences Corporation Transapical heart valve delivery system and method
WO2007067942A1 (en) 2005-12-07 2007-06-14 Arbor Surgical Technologies, Inc. Connection systems for two piece prosthetic heart valve assemblies
US9744279B2 (en) * 2005-12-08 2017-08-29 Heartware, Inc. Implant connector
WO2007100410A2 (en) * 2005-12-15 2007-09-07 Georgia Tech Research Corporation Systems and methods for enabling heart valve replacement
US20070213813A1 (en) 2005-12-22 2007-09-13 Symetis Sa Stent-valves for valve replacement and associated methods and systems for surgery
US9078781B2 (en) 2006-01-11 2015-07-14 Medtronic, Inc. Sterile cover for compressible stents used in percutaneous device delivery systems
US7799038B2 (en) 2006-01-20 2010-09-21 Boston Scientific Scimed, Inc. Translumenal apparatus, system, and method
US7967857B2 (en) 2006-01-27 2011-06-28 Medtronic, Inc. Gasket with spring collar for prosthetic heart valves and methods for making and using them
CN101415379B (zh) 2006-02-14 2012-06-20 萨德拉医学公司 用于输送医疗植入物的系统
US7749249B2 (en) 2006-02-21 2010-07-06 Kardium Inc. Method and device for closing holes in tissue
US8147541B2 (en) 2006-02-27 2012-04-03 Aortx, Inc. Methods and devices for delivery of prosthetic heart valves and other prosthetics
US8403981B2 (en) 2006-02-27 2013-03-26 CardiacMC, Inc. Methods and devices for delivery of prosthetic heart valves and other prosthetics
EP1998719A1 (en) * 2006-03-10 2008-12-10 Arbor Surgical Technologies, Inc. Valve introducers and methods for making and using them
EP2004095B1 (en) 2006-03-28 2019-06-12 Medtronic, Inc. Prosthetic cardiac valve formed from pericardium material and methods of making same
WO2007130880A1 (en) * 2006-04-29 2007-11-15 Arbor Surgical Technologies, Inc Guide shields for multiple component prosthetic heart valve assemblies and apparatus and methods for using them
WO2007130881A2 (en) 2006-04-29 2007-11-15 Arbor Surgical Technologies, Inc. Multiple component prosthetic heart valve assemblies and apparatus and methods for delivering them
US8021161B2 (en) 2006-05-01 2011-09-20 Edwards Lifesciences Corporation Simulated heart valve root for training and testing
US8070800B2 (en) * 2006-05-05 2011-12-06 Children's Medical Center Corporation Transcatheter heart valve prostheses
US8585594B2 (en) 2006-05-24 2013-11-19 Phoenix Biomedical, Inc. Methods of assessing inner surfaces of body lumens or organs
AU2007261046A1 (en) 2006-06-20 2007-12-27 Aortx, Inc. Torque shaft and torque drive
EP2298243A1 (en) 2006-06-20 2011-03-23 AorTx, Inc. Prosthetic heart valves, support structures and systems and methods for implanting the same
US8142492B2 (en) 2006-06-21 2012-03-27 Aortx, Inc. Prosthetic valve implantation systems
US8449605B2 (en) 2006-06-28 2013-05-28 Kardium Inc. Method for anchoring a mitral valve
US20080003244A1 (en) * 2006-06-28 2008-01-03 Gary Viole Inflammation and Oxidative Stress Reducing Compostion for Topical or Oral Administration
RU2325873C2 (ru) * 2006-07-20 2008-06-10 Александр Васильевич Самков Створка искусственного клапана сердца и способ ее изготовления
US7837610B2 (en) * 2006-08-02 2010-11-23 Kardium Inc. System for improving diastolic dysfunction
CA2642350C (en) 2006-09-08 2015-02-24 Edwards Lifesciences Corporation Integrated heart valve delivery system
US8052750B2 (en) 2006-09-19 2011-11-08 Medtronic Ventor Technologies Ltd Valve prosthesis fixation techniques using sandwiching
US11304800B2 (en) 2006-09-19 2022-04-19 Medtronic Ventor Technologies Ltd. Sinus-engaging valve fixation member
US8834564B2 (en) 2006-09-19 2014-09-16 Medtronic, Inc. Sinus-engaging valve fixation member
US8784478B2 (en) 2006-10-16 2014-07-22 Medtronic Corevalve, Inc. Transapical delivery system with ventruculo-arterial overlfow bypass
US20080200750A1 (en) * 2006-11-17 2008-08-21 Natalie James Polymer encapsulation for medical device
US7814630B2 (en) 2006-11-17 2010-10-19 Ethicon, Inc. Apparatus and method for swaging needles
US9883943B2 (en) 2006-12-05 2018-02-06 Valtech Cardio, Ltd. Implantation of repair devices in the heart
EP2088965B1 (en) 2006-12-05 2012-11-28 Valtech Cardio, Ltd. Segmented ring placement
US11259924B2 (en) 2006-12-05 2022-03-01 Valtech Cardio Ltd. Implantation of repair devices in the heart
WO2008070797A2 (en) 2006-12-06 2008-06-12 Medtronic Corevalve, Inc. System and method for transapical delivery of an annulus anchored self-expanding valve
CA2674485A1 (en) 2007-01-03 2008-07-17 Mitralsolutions, Inc. Implantable devices for controlling the size and shape of an anatomical structure or lumen
US20100121433A1 (en) * 2007-01-08 2010-05-13 Millipede Llc, A Corporation Of Michigan Reconfiguring heart features
US20100249920A1 (en) * 2007-01-08 2010-09-30 Millipede Llc Reconfiguring heart features
US9192471B2 (en) 2007-01-08 2015-11-24 Millipede, Inc. Device for translumenal reshaping of a mitral valve annulus
US8133270B2 (en) 2007-01-08 2012-03-13 California Institute Of Technology In-situ formation of a valve
ES2441801T3 (es) 2007-02-05 2014-02-06 Boston Scientific Limited Válvula percutánea y sistema de suministro
CA2677648C (en) 2007-02-16 2015-10-27 Medtronic, Inc. Replacement prosthetic heart valves and methods of implantation
US7753949B2 (en) * 2007-02-23 2010-07-13 The Trustees Of The University Of Pennsylvania Valve prosthesis systems and methods
US8070802B2 (en) * 2007-02-23 2011-12-06 The Trustees Of The University Of Pennsylvania Mitral valve system
US8092523B2 (en) * 2007-03-12 2012-01-10 St. Jude Medical, Inc. Prosthetic heart valves with flexible leaflets
US11660190B2 (en) 2007-03-13 2023-05-30 Edwards Lifesciences Corporation Tissue anchors, systems and methods, and devices
US7896915B2 (en) 2007-04-13 2011-03-01 Jenavalve Technology, Inc. Medical device for treating a heart valve insufficiency
FR2915087B1 (fr) 2007-04-20 2021-11-26 Corevalve Inc Implant de traitement d'une valve cardiaque, en particulier d'une valve mitrale, materiel inculant cet implant et materiel de mise en place de cet implant.
US8828079B2 (en) 2007-07-26 2014-09-09 Boston Scientific Scimed, Inc. Circulatory valve, system and method
US8747458B2 (en) 2007-08-20 2014-06-10 Medtronic Ventor Technologies Ltd. Stent loading tool and method for use thereof
US10856970B2 (en) 2007-10-10 2020-12-08 Medtronic Ventor Technologies Ltd. Prosthetic heart valve for transfemoral delivery
US9848981B2 (en) 2007-10-12 2017-12-26 Mayo Foundation For Medical Education And Research Expandable valve prosthesis with sealing mechanism
BRPI0820052A2 (pt) * 2007-12-06 2015-10-27 Valikapathalil Mathew Kurian conjunto de válvula de coração mecânica implantável
US7892276B2 (en) 2007-12-21 2011-02-22 Boston Scientific Scimed, Inc. Valve with delayed leaflet deployment
ES3025199T3 (en) 2008-01-24 2025-06-06 Medtronic Inc Stents for prosthetic heart valves
WO2009094501A1 (en) 2008-01-24 2009-07-30 Medtronic, Inc. Markers for prosthetic heart valves
EP2254513B1 (en) 2008-01-24 2015-10-28 Medtronic, Inc. Stents for prosthetic heart valves
US9393115B2 (en) 2008-01-24 2016-07-19 Medtronic, Inc. Delivery systems and methods of implantation for prosthetic heart valves
US9149358B2 (en) 2008-01-24 2015-10-06 Medtronic, Inc. Delivery systems for prosthetic heart valves
US8157853B2 (en) 2008-01-24 2012-04-17 Medtronic, Inc. Delivery systems and methods of implantation for prosthetic heart valves
BR112012021347A2 (pt) 2008-02-26 2019-09-24 Jenavalve Tecnology Inc stent para posicionamento e ancoragem de uma prótese valvular em um local de implantação no coração de um paciente
US9044318B2 (en) 2008-02-26 2015-06-02 Jenavalve Technology Gmbh Stent for the positioning and anchoring of a valvular prosthesis
EP2262447B1 (en) 2008-02-28 2015-08-12 Medtronic, Inc. Prosthetic heart valve systems
US9241792B2 (en) * 2008-02-29 2016-01-26 Edwards Lifesciences Corporation Two-step heart valve implantation
US8382829B1 (en) 2008-03-10 2013-02-26 Mitralign, Inc. Method to reduce mitral regurgitation by cinching the commissure of the mitral valve
US8313525B2 (en) 2008-03-18 2012-11-20 Medtronic Ventor Technologies, Ltd. Valve suturing and implantation procedures
US8696689B2 (en) * 2008-03-18 2014-04-15 Medtronic Ventor Technologies Ltd. Medical suturing device and method for use thereof
US8279032B1 (en) 2011-03-24 2012-10-02 Correlated Magnetics Research, Llc. System for detachment of correlated magnetic structures
US8576036B2 (en) 2010-12-10 2013-11-05 Correlated Magnetics Research, Llc System and method for affecting flux of multi-pole magnetic structures
US8717131B2 (en) 2008-04-04 2014-05-06 Correlated Magnetics Research Panel system for covering a glass or plastic surface
US8779879B2 (en) 2008-04-04 2014-07-15 Correlated Magnetics Research LLC System and method for positioning a multi-pole magnetic structure
US9202616B2 (en) 2009-06-02 2015-12-01 Correlated Magnetics Research, Llc Intelligent magnetic system
US8368495B2 (en) 2008-04-04 2013-02-05 Correlated Magnetics Research LLC System and method for defining magnetic structures
US8760250B2 (en) 2009-06-02 2014-06-24 Correlated Magnetics Rsearch, LLC. System and method for energy generation
US8179219B2 (en) 2008-04-04 2012-05-15 Correlated Magnetics Research, Llc Field emission system and method
US8174347B2 (en) 2010-07-12 2012-05-08 Correlated Magnetics Research, Llc Multilevel correlated magnetic system and method for using the same
US7800471B2 (en) 2008-04-04 2010-09-21 Cedar Ridge Research, Llc Field emission system and method
US9105380B2 (en) 2008-04-04 2015-08-11 Correlated Magnetics Research, Llc. Magnetic attachment system
US9371923B2 (en) 2008-04-04 2016-06-21 Correlated Magnetics Research, Llc Magnetic valve assembly
US8816805B2 (en) 2008-04-04 2014-08-26 Correlated Magnetics Research, Llc. Magnetic structure production
US8760251B2 (en) 2010-09-27 2014-06-24 Correlated Magnetics Research, Llc System and method for producing stacked field emission structures
US8430927B2 (en) 2008-04-08 2013-04-30 Medtronic, Inc. Multiple orifice implantable heart valve and methods of implantation
US8312825B2 (en) 2008-04-23 2012-11-20 Medtronic, Inc. Methods and apparatuses for assembly of a pericardial prosthetic heart valve
US8696743B2 (en) 2008-04-23 2014-04-15 Medtronic, Inc. Tissue attachment devices and methods for prosthetic heart valves
US20090287304A1 (en) 2008-05-13 2009-11-19 Kardium Inc. Medical Device for Constricting Tissue or a Bodily Orifice, for example a mitral valve
ATE554731T1 (de) 2008-05-16 2012-05-15 Sorin Biomedica Cardio Srl Atraumatische prothetische herzklappenprothese
US9192472B2 (en) 2008-06-16 2015-11-24 Valtec Cardio, Ltd. Annuloplasty devices and methods of delivery therefor
EP2358307B1 (en) 2008-09-15 2021-12-15 Medtronic Ventor Technologies Ltd. Prosthetic heart valve having identifiers for aiding in radiographic positioning
US8721714B2 (en) 2008-09-17 2014-05-13 Medtronic Corevalve Llc Delivery system for deployment of medical devices
EP2367505B1 (en) 2008-09-29 2020-08-12 Edwards Lifesciences CardiAQ LLC Heart valve
CA2739275C (en) 2008-10-01 2017-01-17 Impala, Inc. Delivery system for vascular implant
EP3238661B1 (en) 2008-10-10 2019-05-22 Boston Scientific Scimed, Inc. Medical devices and delivery systems for delivering medical devices
US8137398B2 (en) 2008-10-13 2012-03-20 Medtronic Ventor Technologies Ltd Prosthetic valve having tapered tip when compressed for delivery
US8449625B2 (en) 2009-10-27 2013-05-28 Edwards Lifesciences Corporation Methods of measuring heart valve annuluses for valve replacement
US8986361B2 (en) 2008-10-17 2015-03-24 Medtronic Corevalve, Inc. Delivery system for deployment of medical devices
CN102223910B (zh) 2008-11-25 2014-05-07 爱德华兹生命科学公司 用于原位扩张假器官装置的器械
US8214996B2 (en) * 2008-12-09 2012-07-10 Ethicon, Inc. Surgical needle swage tool
US8308798B2 (en) 2008-12-19 2012-11-13 Edwards Lifesciences Corporation Quick-connect prosthetic heart valve and methods
US8808368B2 (en) 2008-12-22 2014-08-19 Valtech Cardio, Ltd. Implantation of repair chords in the heart
US10517719B2 (en) 2008-12-22 2019-12-31 Valtech Cardio, Ltd. Implantation of repair devices in the heart
US9011530B2 (en) 2008-12-22 2015-04-21 Valtech Cardio, Ltd. Partially-adjustable annuloplasty structure
EP2379008B1 (en) 2008-12-22 2021-02-17 Valtech Cardio, Ltd. Adjustable annuloplasty devices
US8926697B2 (en) 2011-06-23 2015-01-06 Valtech Cardio, Ltd. Closed band for percutaneous annuloplasty
US8147542B2 (en) 2008-12-22 2012-04-03 Valtech Cardio, Ltd. Adjustable repair chords and spool mechanism therefor
US8241351B2 (en) 2008-12-22 2012-08-14 Valtech Cardio, Ltd. Adjustable partial annuloplasty ring and mechanism therefor
US8715342B2 (en) 2009-05-07 2014-05-06 Valtech Cardio, Ltd. Annuloplasty ring with intra-ring anchoring
US8545553B2 (en) 2009-05-04 2013-10-01 Valtech Cardio, Ltd. Over-wire rotation tool
US8940044B2 (en) 2011-06-23 2015-01-27 Valtech Cardio, Ltd. Closure element for use with an annuloplasty structure
EP2682072A1 (en) 2008-12-23 2014-01-08 Sorin Group Italia S.r.l. Expandable prosthetic valve having anchoring appendages
US20100191332A1 (en) 2009-01-08 2010-07-29 Euteneuer Charles L Implantable Tendon Protection Systems and Related Kits and Methods
US9402720B2 (en) 2009-01-12 2016-08-02 Valve Medical Ltd. Modular percutaneous valve structure and delivery method
WO2010085649A1 (en) 2009-01-22 2010-07-29 St. Jude Medical Post-operative adjustment tool, minimally invasive attachment apparatus, and adjustable tricuspid ring
US8917154B2 (en) 2012-12-10 2014-12-23 Correlated Magnetics Research, Llc. System for concentrating magnetic flux
US8937521B2 (en) 2012-12-10 2015-01-20 Correlated Magnetics Research, Llc. System for concentrating magnetic flux of a multi-pole magnetic structure
US8353956B2 (en) * 2009-02-17 2013-01-15 Valtech Cardio, Ltd. Actively-engageable movement-restriction mechanism for use with an annuloplasty structure
US9179910B2 (en) 2009-03-20 2015-11-10 Rotation Medical, Inc. Medical device delivery system and method
US9980818B2 (en) 2009-03-31 2018-05-29 Edwards Lifesciences Corporation Prosthetic heart valve system with positioning markers
AU2010236288A1 (en) 2009-04-15 2011-10-20 Cardiaq Valve Technologies, Inc. Vascular implant and delivery system
US8512397B2 (en) 2009-04-27 2013-08-20 Sorin Group Italia S.R.L. Prosthetic vascular conduit
AU2010241596B2 (en) * 2009-04-29 2013-10-24 The Cleveland Clinic Foundation Apparatus and method for replacing a diseased cardiac valve
WO2013069019A2 (en) 2011-11-08 2013-05-16 Valtech Cardio, Ltd. Controlled steering functionality for implant-delivery tool
US9968452B2 (en) 2009-05-04 2018-05-15 Valtech Cardio, Ltd. Annuloplasty ring delivery cathethers
US12485010B2 (en) 2009-05-07 2025-12-02 Edwards Lifesciences Innovation (Israel) Ltd. Multiple anchor delivery tool
US8523881B2 (en) 2010-07-26 2013-09-03 Valtech Cardio, Ltd. Multiple anchor delivery tool
US9404776B2 (en) 2009-06-02 2016-08-02 Correlated Magnetics Research, Llc. System and method for tailoring polarity transitions of magnetic structures
US8704626B2 (en) 2010-05-10 2014-04-22 Correlated Magnetics Research, Llc System and method for moving an object
US9257219B2 (en) 2012-08-06 2016-02-09 Correlated Magnetics Research, Llc. System and method for magnetization
US9275783B2 (en) 2012-10-15 2016-03-01 Correlated Magnetics Research, Llc. System and method for demagnetization of a magnetic structure region
US12471975B2 (en) 2009-06-04 2025-11-18 Rotation Medical, Inc. Methods and apparatus for deploying sheet-like materials
CA2763932C (en) 2009-06-04 2017-08-01 Rotation Medical, Inc. Methods and apparatus for delivering staples to a target tissue
US9179961B2 (en) 2009-06-04 2015-11-10 Rotation Medical, Inc. Methods and apparatus for deploying sheet-like materials
US8348998B2 (en) 2009-06-26 2013-01-08 Edwards Lifesciences Corporation Unitary quick connect prosthetic heart valve and deployment system and methods
US9711268B2 (en) 2009-09-22 2017-07-18 Correlated Magnetics Research, Llc System and method for tailoring magnetic forces
US20110082538A1 (en) 2009-10-01 2011-04-07 Jonathan Dahlgren Medical device, kit and method for constricting tissue or a bodily orifice, for example, a mitral valve
US8808369B2 (en) 2009-10-05 2014-08-19 Mayo Foundation For Medical Education And Research Minimally invasive aortic valve replacement
US8690939B2 (en) 2009-10-29 2014-04-08 Valtech Cardio, Ltd. Method for guide-wire based advancement of a rotation assembly
US9011520B2 (en) 2009-10-29 2015-04-21 Valtech Cardio, Ltd. Tissue anchor for annuloplasty device
US9180007B2 (en) 2009-10-29 2015-11-10 Valtech Cardio, Ltd. Apparatus and method for guide-wire based advancement of an adjustable implant
US8277502B2 (en) * 2009-10-29 2012-10-02 Valtech Cardio, Ltd. Tissue anchor for annuloplasty device
US10098737B2 (en) 2009-10-29 2018-10-16 Valtech Cardio, Ltd. Tissue anchor for annuloplasty device
EP2506777B1 (en) 2009-12-02 2020-11-25 Valtech Cardio, Ltd. Combination of spool assembly coupled to a helical anchor and delivery tool for implantation thereof
US8870950B2 (en) 2009-12-08 2014-10-28 Mitral Tech Ltd. Rotation-based anchoring of an implant
JP5837422B2 (ja) * 2010-01-12 2015-12-24 バルブ メディカル エルティーディーValve Medical Ltd モジュール式経皮弁構造体及び送達方法
US9504562B2 (en) * 2010-01-12 2016-11-29 Valve Medical Ltd. Self-assembling modular percutaneous valve and methods of folding, assembly and delivery
US9226826B2 (en) 2010-02-24 2016-01-05 Medtronic, Inc. Transcatheter valve structure and methods for valve delivery
US8679404B2 (en) 2010-03-05 2014-03-25 Edwards Lifesciences Corporation Dry prosthetic heart valve packaging system
US8795354B2 (en) * 2010-03-05 2014-08-05 Edwards Lifesciences Corporation Low-profile heart valve and delivery system
WO2011111047A2 (en) 2010-03-10 2011-09-15 Mitraltech Ltd. Prosthetic mitral valve with tissue anchors
US9198750B2 (en) 2010-03-11 2015-12-01 Rotation Medical, Inc. Tendon repair implant and method of arthroscopic implantation
EP2552356B1 (en) * 2010-03-26 2019-03-13 Thubrikar Aortic Valve Inc. Valve component, frame component and prosthetic valve device including the same for implantation in a body lumen
US8652204B2 (en) 2010-04-01 2014-02-18 Medtronic, Inc. Transcatheter valve with torsion spring fixation and related systems and methods
US8579964B2 (en) 2010-05-05 2013-11-12 Neovasc Inc. Transcatheter mitral valve prosthesis
ES2861100T3 (es) 2010-05-10 2021-10-05 Edwards Lifesciences Corp Válvula cardíaca protésica
US9554901B2 (en) 2010-05-12 2017-01-31 Edwards Lifesciences Corporation Low gradient prosthetic heart valve
US10856978B2 (en) 2010-05-20 2020-12-08 Jenavalve Technology, Inc. Catheter system
IT1400327B1 (it) 2010-05-21 2013-05-24 Sorin Biomedica Cardio Srl Dispositivo di supporto per protesi valvolari e corrispondente corredo.
US8790394B2 (en) 2010-05-24 2014-07-29 Valtech Cardio, Ltd. Adjustable artificial chordeae tendineae with suture loops
US9744031B2 (en) 2010-05-25 2017-08-29 Jenavalve Technology, Inc. Prosthetic heart valve and endoprosthesis comprising a prosthetic heart valve and a stent
US9763657B2 (en) 2010-07-21 2017-09-19 Mitraltech Ltd. Techniques for percutaneous mitral valve replacement and sealing
US9132009B2 (en) 2010-07-21 2015-09-15 Mitraltech Ltd. Guide wires with commissural anchors to advance a prosthetic valve
US11653910B2 (en) 2010-07-21 2023-05-23 Cardiovalve Ltd. Helical anchor implantation
US8992604B2 (en) 2010-07-21 2015-03-31 Mitraltech Ltd. Techniques for percutaneous mitral valve replacement and sealing
US20120053680A1 (en) 2010-08-24 2012-03-01 Bolling Steven F Reconfiguring Heart Features
EP2611388B1 (en) 2010-09-01 2022-04-27 Medtronic Vascular Galway Prosthetic valve support structure
CN103108611B (zh) 2010-09-10 2016-08-31 西美蒂斯股份公司 瓣膜置换装置
US8641757B2 (en) 2010-09-10 2014-02-04 Edwards Lifesciences Corporation Systems for rapidly deploying surgical heart valves
US9125741B2 (en) 2010-09-10 2015-09-08 Edwards Lifesciences Corporation Systems and methods for ensuring safe and rapid deployment of prosthetic heart valves
US9370418B2 (en) 2010-09-10 2016-06-21 Edwards Lifesciences Corporation Rapidly deployable surgical heart valves
US8638016B2 (en) 2010-09-17 2014-01-28 Correlated Magnetics Research, Llc Electromagnetic structure having a core element that extends magnetic coupling around opposing surfaces of a circular magnetic structure
US8845720B2 (en) 2010-09-27 2014-09-30 Edwards Lifesciences Corporation Prosthetic heart valve frame with flexible commissures
US8940002B2 (en) 2010-09-30 2015-01-27 Kardium Inc. Tissue anchor system
US9498317B2 (en) 2010-12-16 2016-11-22 Edwards Lifesciences Corporation Prosthetic heart valve delivery systems and packaging
EP2486894B1 (en) 2011-02-14 2021-06-09 Sorin Group Italia S.r.l. Sutureless anchoring device for cardiac valve prostheses
EP2486893B1 (en) 2011-02-14 2017-07-05 Sorin Group Italia S.r.l. Sutureless anchoring device for cardiac valve prostheses
US10952783B2 (en) 2011-12-29 2021-03-23 Rotation Medical, Inc. Guidewire having a distal fixation member for delivering and positioning sheet-like materials in surgery
WO2012112565A2 (en) 2011-02-15 2012-08-23 Rotation Medical, Inc. Methods and apparatus for delivering and positioning sheet-like materials
US9314314B2 (en) 2011-02-15 2016-04-19 Rotation Medical, Inc. Anatomical location markers and methods of use in positioning sheet-like materials during surgery
WO2012145059A1 (en) 2011-02-15 2012-10-26 Rotation Medical, Inc. Methods and apparatus for fixing sheet-like materials to a target tissue
US8702437B2 (en) 2011-03-24 2014-04-22 Correlated Magnetics Research, Llc Electrical adapter system
US9072511B2 (en) 2011-03-25 2015-07-07 Kardium Inc. Medical kit for constricting tissue or a bodily orifice, for example, a mitral valve
WO2012142306A2 (en) 2011-04-12 2012-10-18 Sarai Mohammad Magnetic configurations
US9308087B2 (en) 2011-04-28 2016-04-12 Neovasc Tiara Inc. Sequentially deployed transcatheter mitral valve prosthesis
US9554897B2 (en) 2011-04-28 2017-01-31 Neovasc Tiara Inc. Methods and apparatus for engaging a valve prosthesis with tissue
EP2520251A1 (en) 2011-05-05 2012-11-07 Symetis SA Method and Apparatus for Compressing Stent-Valves
US8968394B2 (en) * 2011-05-12 2015-03-03 Edwards Lifesciences Corporation Mitral heart valve holder and storage system
US8945209B2 (en) 2011-05-20 2015-02-03 Edwards Lifesciences Corporation Encapsulated heart valve
US9402721B2 (en) 2011-06-01 2016-08-02 Valcare, Inc. Percutaneous transcatheter repair of heart valves via trans-apical access
US10792152B2 (en) 2011-06-23 2020-10-06 Valtech Cardio, Ltd. Closed band for percutaneous annuloplasty
US9918840B2 (en) 2011-06-23 2018-03-20 Valtech Cardio, Ltd. Closed band for percutaneous annuloplasty
EP2723274B1 (en) 2011-06-23 2017-12-27 Valtech Cardio, Ltd. Closure element for use with annuloplasty structure
US8963380B2 (en) 2011-07-11 2015-02-24 Correlated Magnetics Research LLC. System and method for power generation system
US8998976B2 (en) 2011-07-12 2015-04-07 Boston Scientific Scimed, Inc. Coupling system for medical devices
US8852272B2 (en) 2011-08-05 2014-10-07 Mitraltech Ltd. Techniques for percutaneous mitral valve replacement and sealing
WO2013021374A2 (en) 2011-08-05 2013-02-14 Mitraltech Ltd. Techniques for percutaneous mitral valve replacement and sealing
US9668859B2 (en) 2011-08-05 2017-06-06 California Institute Of Technology Percutaneous heart valve delivery systems
US20140324164A1 (en) 2011-08-05 2014-10-30 Mitraltech Ltd. Techniques for percutaneous mitral valve replacement and sealing
EP3417813B1 (en) 2011-08-05 2020-05-13 Cardiovalve Ltd Percutaneous mitral valve replacement
US9219403B2 (en) 2011-09-06 2015-12-22 Correlated Magnetics Research, Llc Magnetic shear force transfer device
RU2474403C1 (ru) * 2011-09-06 2013-02-10 Закрытое Акционерное Общество Научно-Производственное Предприятие "Мединж" Клапаносодержащий протез корня аорты
US8848973B2 (en) 2011-09-22 2014-09-30 Correlated Magnetics Research LLC System and method for authenticating an optical pattern
US8858623B2 (en) 2011-11-04 2014-10-14 Valtech Cardio, Ltd. Implant having multiple rotational assemblies
AU2012344722A1 (en) * 2011-12-01 2014-06-26 Graeme Cocks Endoluminal prosthesis
US8951243B2 (en) 2011-12-03 2015-02-10 Boston Scientific Scimed, Inc. Medical device handle
EP2881083B1 (en) 2011-12-12 2017-03-22 David Alon Heart valve repair device
US9107661B2 (en) 2011-12-19 2015-08-18 Rotation Medical, Inc. Fasteners and fastener delivery devices for affixing sheet-like materials to bone or tissue
US9247978B2 (en) 2011-12-19 2016-02-02 Rotation Medical, Inc. Apparatus and method for forming pilot holes in bone and delivering fasteners therein for retaining an implant
US9370356B2 (en) 2011-12-19 2016-06-21 Rotation Medical, Inc. Fasteners and fastener delivery devices for affixing sheet-like materials to bone or tissue
WO2013096224A1 (en) 2011-12-19 2013-06-27 Rotation Medical, Inc. Fasteners for affixing sheet -like materials to bone or tissue
US9078747B2 (en) 2011-12-21 2015-07-14 Edwards Lifesciences Corporation Anchoring device for replacing or repairing a heart valve
AU2012362671B2 (en) 2011-12-29 2017-07-06 Rotation Medical, Inc. Methods and apparatus for delivering and positioning sheet -like materials in surgery
EP2609893B1 (en) 2011-12-29 2014-09-03 Sorin Group Italia S.r.l. A kit for implanting prosthetic vascular conduits
US10172708B2 (en) 2012-01-25 2019-01-08 Boston Scientific Scimed, Inc. Valve assembly with a bioabsorbable gasket and a replaceable valve implant
EP2820659A4 (en) 2012-02-28 2016-04-13 Correlated Magnetics Res Llc SYSTEM FOR DETACHING MAGNETIC STRUCTURE OF FERROMAGNETIC MATERIAL
US9180008B2 (en) 2012-02-29 2015-11-10 Valcare, Inc. Methods, devices, and systems for percutaneously anchoring annuloplasty rings
EP2819619B1 (en) 2012-02-29 2019-01-16 ValCare, Inc. Percutaneous annuloplasty system with anterior-posterior adjustment
EP2641569B1 (en) 2012-03-23 2015-01-28 Sorin Group Italia S.r.l. A collapsible valve prosthesis
US9427315B2 (en) 2012-04-19 2016-08-30 Caisson Interventional, LLC Valve replacement systems and methods
US9011515B2 (en) 2012-04-19 2015-04-21 Caisson Interventional, LLC Heart valve assembly systems and methods
US9345573B2 (en) 2012-05-30 2016-05-24 Neovasc Tiara Inc. Methods and apparatus for loading a prosthesis onto a delivery system
US9883941B2 (en) 2012-06-19 2018-02-06 Boston Scientific Scimed, Inc. Replacement heart valve
US9693862B2 (en) 2012-07-31 2017-07-04 Edwards Lifesciences Corporation Holders for prosthetic heart valves
US9245677B2 (en) 2012-08-06 2016-01-26 Correlated Magnetics Research, Llc. System for concentrating and controlling magnetic flux of a multi-pole magnetic structure
ES2735536T3 (es) 2012-08-10 2019-12-19 Sorin Group Italia Srl Una prótesis de válvula y un kit
US10849755B2 (en) 2012-09-14 2020-12-01 Boston Scientific Scimed, Inc. Mitral valve inversion prostheses
US10543088B2 (en) 2012-09-14 2020-01-28 Boston Scientific Scimed, Inc. Mitral valve inversion prostheses
CA2885354A1 (en) 2012-09-29 2014-04-03 Mitralign, Inc. Plication lock delivery system and method of use thereof
EP3517052A1 (en) 2012-10-23 2019-07-31 Valtech Cardio, Ltd. Controlled steering functionality for implant-delivery tool
EP3730066A1 (en) 2012-10-23 2020-10-28 Valtech Cardio, Ltd. Percutaneous tissue anchor techniques
ES2931210T3 (es) 2012-11-21 2022-12-27 Edwards Lifesciences Corp Mecanismos de retención para válvulas cardiacas protésicas
WO2014087402A1 (en) 2012-12-06 2014-06-12 Valtech Cardio, Ltd. Techniques for guide-wire based advancement of a tool
US9298281B2 (en) 2012-12-27 2016-03-29 Correlated Magnetics Research, Llc. Magnetic vector sensor positioning and communications system
US10543085B2 (en) 2012-12-31 2020-01-28 Edwards Lifesciences Corporation One-piece heart valve stents adapted for post-implant expansion
WO2014105760A1 (en) 2012-12-31 2014-07-03 Edwards Lifesciences Corporation Post-implant expandable surgical heart valve configurations
US9132007B2 (en) 2013-01-10 2015-09-15 Medtronic CV Luxembourg S.a.r.l. Anti-paravalvular leakage components for a transcatheter valve prosthesis
EP4166111A1 (en) 2013-01-24 2023-04-19 Cardiovalve Ltd. Ventricularly-anchored prosthetic valves
US9655719B2 (en) * 2013-01-29 2017-05-23 St. Jude Medical, Cardiology Division, Inc. Surgical heart valve flexible stent frame stiffener
US10413401B2 (en) 2013-02-01 2019-09-17 Medtronic CV Luxembourg S.a.r.l. Anti-paravalvular leakage component for a transcatheter valve prosthesis
US9675451B2 (en) 2013-02-01 2017-06-13 Medtronic CV Luxembourg S.a.r.l. Anti-paravalvular leakage component for a transcatheter valve prosthesis
EP2961351B1 (en) 2013-02-26 2018-11-28 Mitralign, Inc. Devices for percutaneous tricuspid valve repair
US10583002B2 (en) 2013-03-11 2020-03-10 Neovasc Tiara Inc. Prosthetic valve with anti-pivoting mechanism
US10271949B2 (en) 2013-03-12 2019-04-30 St. Jude Medical, Cardiology Division, Inc. Paravalvular leak occlusion device for self-expanding heart valves
US10449333B2 (en) 2013-03-14 2019-10-22 Valtech Cardio, Ltd. Guidewire feeder
US9681951B2 (en) 2013-03-14 2017-06-20 Edwards Lifesciences Cardiaq Llc Prosthesis with outer skirt and anchors
CN105283214B (zh) 2013-03-15 2018-10-16 北京泰德制药股份有限公司 平移导管、系统及其使用方法
CA2900367C (en) 2013-03-15 2020-12-22 Edwards Lifesciences Corporation Valved aortic conduits
WO2014144247A1 (en) 2013-03-15 2014-09-18 Arash Kheradvar Handle mechanism and functionality for repositioning and retrieval of transcatheter heart valves
US11007058B2 (en) 2013-03-15 2021-05-18 Edwards Lifesciences Corporation Valved aortic conduits
US10166100B2 (en) 2013-03-15 2019-01-01 Valcare, Inc. Systems and methods for delivery of annuloplasty rings
US9572665B2 (en) 2013-04-04 2017-02-21 Neovasc Tiara Inc. Methods and apparatus for delivering a prosthetic valve to a beating heart
US9629718B2 (en) 2013-05-03 2017-04-25 Medtronic, Inc. Valve delivery tool
US10813751B2 (en) 2013-05-22 2020-10-27 Valcare, Inc. Transcatheter prosthetic valve for mitral or tricuspid valve replacement
EP3003187B1 (en) * 2013-05-24 2023-11-08 Valcare, Inc. Heart and peripheral vascular valve replacement in conjunction with a support ring
US9468527B2 (en) 2013-06-12 2016-10-18 Edwards Lifesciences Corporation Cardiac implant with integrated suture fasteners
EP3013253B1 (en) 2013-06-28 2021-01-06 ValCare, Inc. Device for securing an article to a tissue
EP2835112B1 (en) 2013-08-08 2021-01-27 Sorin Group Italia S.r.l. Heart valve prosthesis
US9919137B2 (en) 2013-08-28 2018-03-20 Edwards Lifesciences Corporation Integrated balloon catheter inflation system
JP6563394B2 (ja) 2013-08-30 2019-08-21 イェーナヴァルヴ テクノロジー インコーポレイテッド 人工弁のための径方向に折り畳み自在のフレーム及び当該フレームを製造するための方法
US10070857B2 (en) 2013-08-31 2018-09-11 Mitralign, Inc. Devices and methods for locating and implanting tissue anchors at mitral valve commissure
US9867611B2 (en) * 2013-09-05 2018-01-16 St. Jude Medical, Cardiology Division, Inc. Anchoring studs for transcatheter valve implantation
WO2015042135A1 (en) 2013-09-20 2015-03-26 Edwards Lifesciences Corporation Heart valves with increased effective orifice area
US9421094B2 (en) 2013-10-23 2016-08-23 Caisson Interventional, LLC Methods and systems for heart valve therapy
WO2015059699A2 (en) 2013-10-23 2015-04-30 Valtech Cardio, Ltd. Anchor magazine
US10646333B2 (en) 2013-10-24 2020-05-12 Medtronic, Inc. Two-piece valve prosthesis with anchor stent and valve component
WO2015058808A1 (en) * 2013-10-25 2015-04-30 Kephalios S.A.S. Adjustable annuloplasty ring and system
US20150122687A1 (en) 2013-11-06 2015-05-07 Edwards Lifesciences Corporation Bioprosthetic heart valves having adaptive seals to minimize paravalvular leakage
US9610162B2 (en) 2013-12-26 2017-04-04 Valtech Cardio, Ltd. Implantation of flexible implant
US9549816B2 (en) 2014-04-03 2017-01-24 Edwards Lifesciences Corporation Method for manufacturing high durability heart valve
US9585752B2 (en) 2014-04-30 2017-03-07 Edwards Lifesciences Corporation Holder and deployment system for surgical heart valves
JP6267365B2 (ja) 2014-05-09 2018-01-24 ローテーション メディカル インコーポレイテッドRotation Medical,Inc. シート状インプラント向けの医療用インプラント送達システム
US10245141B2 (en) 2014-05-14 2019-04-02 Sorin Group Italia S.R.L. Implant device and implantation kit
US9974647B2 (en) 2014-06-12 2018-05-22 Caisson Interventional, LLC Two stage anchor and mitral valve assembly
USD867594S1 (en) 2015-06-19 2019-11-19 Edwards Lifesciences Corporation Prosthetic heart valve
EP2957261B1 (en) * 2014-06-20 2017-05-24 Ethicon LLC Artificial sphincter
WO2015195254A1 (en) * 2014-06-20 2015-12-23 Ethicon Endo-Surgery, Inc. Artificial sphincter
CA2914094C (en) 2014-06-20 2021-01-05 Edwards Lifesciences Corporation Surgical heart valves identifiable post-implant
US9180005B1 (en) 2014-07-17 2015-11-10 Millipede, Inc. Adjustable endolumenal mitral valve ring
EP4066786B1 (en) 2014-07-30 2025-05-14 Cardiovalve Ltd. Articulatable prosthetic valve
WO2016022797A1 (en) 2014-08-06 2016-02-11 Edwards Lifesciences Corporation Multi-lumen cannulae
WO2016059639A1 (en) 2014-10-14 2016-04-21 Valtech Cardio Ltd. Leaflet-restraining techniques
US9750607B2 (en) 2014-10-23 2017-09-05 Caisson Interventional, LLC Systems and methods for heart valve therapy
US9750605B2 (en) 2014-10-23 2017-09-05 Caisson Interventional, LLC Systems and methods for heart valve therapy
WO2016073502A1 (en) 2014-11-04 2016-05-12 Rotation Medical, Inc. Medical implant delivery system and related methods
US10675019B2 (en) 2014-11-04 2020-06-09 Rotation Medical, Inc. Medical implant delivery system and related methods
EP4275620A3 (en) 2014-11-04 2024-01-17 Rotation Medical, Inc. Medical implant delivery system
US10213307B2 (en) 2014-11-05 2019-02-26 Medtronic Vascular, Inc. Transcatheter valve prosthesis having an external skirt for sealing and preventing paravalvular leakage
US9901445B2 (en) 2014-11-21 2018-02-27 Boston Scientific Scimed, Inc. Valve locking mechanism
US10449043B2 (en) 2015-01-16 2019-10-22 Boston Scientific Scimed, Inc. Displacement based lock and release mechanism
US9861477B2 (en) 2015-01-26 2018-01-09 Boston Scientific Scimed Inc. Prosthetic heart valve square leaflet-leaflet stitch
WO2016126524A1 (en) 2015-02-03 2016-08-11 Boston Scientific Scimed, Inc. Prosthetic heart valve having tubular seal
US9788942B2 (en) 2015-02-03 2017-10-17 Boston Scientific Scimed Inc. Prosthetic heart valve having tubular seal
US9974651B2 (en) 2015-02-05 2018-05-22 Mitral Tech Ltd. Prosthetic valve with axially-sliding frames
CA2973940C (en) 2015-02-05 2022-08-23 Mitraltech Ltd. Prosthetic valve with axially-sliding frames
US20160235525A1 (en) 2015-02-12 2016-08-18 Medtronic, Inc. Integrated valve assembly and method of delivering and deploying an integrated valve assembly
WO2016130991A1 (en) 2015-02-13 2016-08-18 Millipede, Inc. Valve replacement using rotational anchors
US20160256269A1 (en) 2015-03-05 2016-09-08 Mitralign, Inc. Devices for treating paravalvular leakage and methods use thereof
US10426617B2 (en) 2015-03-06 2019-10-01 Boston Scientific Scimed, Inc. Low profile valve locking mechanism and commissure assembly
US10285809B2 (en) 2015-03-06 2019-05-14 Boston Scientific Scimed Inc. TAVI anchoring assist device
US10080652B2 (en) 2015-03-13 2018-09-25 Boston Scientific Scimed, Inc. Prosthetic heart valve having an improved tubular seal
WO2016149453A1 (en) 2015-03-19 2016-09-22 Caisson Interventional, LLC Systems and methods for heart valve therapy
EP3730094B1 (en) 2015-03-20 2024-04-24 JenaValve Technology, Inc. Heart valve prosthesis delivery system
CR20170480A (es) 2015-04-30 2018-02-21 Valtech Cardio Ltd Tecnologías de anuloplastía
EP3288495B1 (en) 2015-05-01 2019-09-25 JenaValve Technology, Inc. Device with reduced pacemaker rate in heart valve replacement
WO2016179372A1 (en) 2015-05-06 2016-11-10 Rotation Medical, Inc. Medical implant delivery system and related methods
US10265156B2 (en) 2015-06-15 2019-04-23 Rotation Medical, Inc Tendon repair implant and method of implantation
CR20170577A (es) 2015-07-02 2019-05-03 Edwards Lifesciences Corp Válvulas cardíacas híbridas adaptadas para expansión post implante
WO2017004374A1 (en) 2015-07-02 2017-01-05 Edwards Lifesciences Corporation Integrated hybrid heart valves
US10195392B2 (en) 2015-07-02 2019-02-05 Boston Scientific Scimed, Inc. Clip-on catheter
US10335277B2 (en) 2015-07-02 2019-07-02 Boston Scientific Scimed Inc. Adjustable nosecone
ITUB20152409A1 (it) 2015-07-22 2017-01-22 Sorin Group Italia Srl Manicotto valvolare per protesi valvolari e corrispondente dispositivo
US10179041B2 (en) 2015-08-12 2019-01-15 Boston Scientific Scimed Icn. Pinless release mechanism
US10136991B2 (en) 2015-08-12 2018-11-27 Boston Scientific Scimed Inc. Replacement heart valve implant
US10034747B2 (en) 2015-08-27 2018-07-31 Medtronic Vascular, Inc. Prosthetic valve system having a docking component and a prosthetic valve component
US20170056215A1 (en) 2015-09-01 2017-03-02 Medtronic, Inc. Stent assemblies including passages to provide blood flow to coronary arteries and methods of delivering and deploying such stent assemblies
EP3344158B1 (en) 2015-09-02 2023-03-01 Edwards Lifesciences Corporation Spacer for securing a transcatheter valve to a bioprosthetic cardiac structure
US10080653B2 (en) 2015-09-10 2018-09-25 Edwards Lifesciences Corporation Limited expansion heart valve
US10335275B2 (en) 2015-09-29 2019-07-02 Millipede, Inc. Methods for delivery of heart valve devices using intravascular ultrasound imaging
JP6892446B2 (ja) 2015-11-17 2021-06-23 ボストン サイエンティフィック サイムド,インコーポレイテッドBoston Scientific Scimed,Inc. 心臓弁輪を再成形するインプラント可能な機器および送達システム
EP4112006A1 (en) 2015-12-15 2023-01-04 Neovasc Tiara Inc. Transseptal delivery system
US10751182B2 (en) 2015-12-30 2020-08-25 Edwards Lifesciences Corporation System and method for reshaping right heart
US10828160B2 (en) 2015-12-30 2020-11-10 Edwards Lifesciences Corporation System and method for reducing tricuspid regurgitation
EP3960127A1 (en) 2015-12-30 2022-03-02 Caisson Interventional, LLC Systems and methods for heart valve therapy
CA3008668C (en) 2015-12-31 2020-03-24 Rotation Medical, Inc. Medical implant delivery system and related methods
EP3397175B1 (en) 2015-12-31 2021-11-24 Rotation Medical, Inc. Fastener delivery system
US10433952B2 (en) 2016-01-29 2019-10-08 Neovasc Tiara Inc. Prosthetic valve for avoiding obstruction of outflow
US10342660B2 (en) 2016-02-02 2019-07-09 Boston Scientific Inc. Tensioned sheathing aids
US10363130B2 (en) * 2016-02-05 2019-07-30 Edwards Lifesciences Corporation Devices and systems for docking a heart valve
US10531866B2 (en) 2016-02-16 2020-01-14 Cardiovalve Ltd. Techniques for providing a replacement valve and transseptal communication
US10667904B2 (en) 2016-03-08 2020-06-02 Edwards Lifesciences Corporation Valve implant with integrated sensor and transmitter
US10888420B2 (en) 2016-03-14 2021-01-12 Medtronic Vascular, Inc. Stented prosthetic heart valve having a wrap and delivery devices
US10583005B2 (en) 2016-05-13 2020-03-10 Boston Scientific Scimed, Inc. Medical device handle
JP7081749B2 (ja) 2016-05-13 2022-06-07 イエナバルブ テクノロジー インク 心臓弁プロテーゼ送達システム
US10201416B2 (en) 2016-05-16 2019-02-12 Boston Scientific Scimed, Inc. Replacement heart valve implant with invertible leaflets
US10456245B2 (en) 2016-05-16 2019-10-29 Edwards Lifesciences Corporation System and method for applying material to a stent
US10702274B2 (en) 2016-05-26 2020-07-07 Edwards Lifesciences Corporation Method and system for closing left atrial appendage
US10588745B2 (en) 2016-06-20 2020-03-17 Medtronic Vascular, Inc. Modular valve prosthesis, delivery system, and method of delivering and deploying a modular valve prosthesis
GB201611910D0 (en) 2016-07-08 2016-08-24 Valtech Cardio Ltd Adjustable annuloplasty device with alternating peaks and troughs
US20190231525A1 (en) 2016-08-01 2019-08-01 Mitraltech Ltd. Minimally-invasive delivery systems
USD800908S1 (en) 2016-08-10 2017-10-24 Mitraltech Ltd. Prosthetic valve element
EP3848003B1 (en) 2016-08-10 2025-02-12 Cardiovalve Ltd. Prosthetic valve with concentric frames
CN107753153B (zh) 2016-08-15 2022-05-31 沃卡尔有限公司 用于治疗心脏瓣膜关闭不全的装置和方法
AU2017361296B2 (en) 2016-11-21 2022-09-29 Neovasc Tiara Inc. Methods and systems for rapid retraction of a transcatheter heart valve delivery system
USD846122S1 (en) 2016-12-16 2019-04-16 Edwards Lifesciences Corporation Heart valve sizer
CN110392557A (zh) 2017-01-27 2019-10-29 耶拿阀门科技股份有限公司 心脏瓣膜模拟
USD867595S1 (en) 2017-02-01 2019-11-19 Edwards Lifesciences Corporation Stent
JP6788746B2 (ja) 2017-02-10 2020-11-25 ボストン サイエンティフィック サイムド,インコーポレイテッドBoston Scientific Scimed,Inc. 心臓弁輪を再形成するための埋め込み可能な機器および送達システム
CN108618871A (zh) 2017-03-17 2018-10-09 沃卡尔有限公司 具有多方向锚部的二尖瓣或三尖瓣修复系统
US10463485B2 (en) 2017-04-06 2019-11-05 Edwards Lifesciences Corporation Prosthetic valve holders with automatic deploying mechanisms
US11045627B2 (en) 2017-04-18 2021-06-29 Edwards Lifesciences Corporation Catheter system with linear actuation control mechanism
CA3060663C (en) 2017-04-28 2024-03-26 Edwards Lifesciences Corporation Prosthetic heart valve with collapsible holder
WO2018226915A1 (en) 2017-06-08 2018-12-13 Boston Scientific Scimed, Inc. Heart valve implant commissure support structure
EP3641700B1 (en) 2017-06-21 2025-03-05 Edwards Lifesciences Corporation Dual-wireform limited expansion heart valves
US10898325B2 (en) 2017-08-01 2021-01-26 Boston Scientific Scimed, Inc. Medical implant locking mechanism
US11793633B2 (en) 2017-08-03 2023-10-24 Cardiovalve Ltd. Prosthetic heart valve
US10575948B2 (en) 2017-08-03 2020-03-03 Cardiovalve Ltd. Prosthetic heart valve
US10888421B2 (en) 2017-09-19 2021-01-12 Cardiovalve Ltd. Prosthetic heart valve with pouch
US10537426B2 (en) 2017-08-03 2020-01-21 Cardiovalve Ltd. Prosthetic heart valve
US11246704B2 (en) 2017-08-03 2022-02-15 Cardiovalve Ltd. Prosthetic heart valve
US12064347B2 (en) 2017-08-03 2024-08-20 Cardiovalve Ltd. Prosthetic heart valve
CN111225633B (zh) 2017-08-16 2022-05-31 波士顿科学国际有限公司 置换心脏瓣膜接合组件
EP3672530A4 (en) 2017-08-25 2021-04-14 Neovasc Tiara Inc. SEQUENTIALLY INSERTED TRANSCATHETER MITRAL VALVE PROSTHESIS
US12458493B2 (en) 2017-09-19 2025-11-04 Cardiovalve Ltd. Prosthetic heart valve and delivery systems and methods
WO2019074838A2 (en) 2017-10-13 2019-04-18 Edwards Lifesciences Corporation METHOD FOR STERILIZING CARDIAC VALVES
US10835221B2 (en) 2017-11-02 2020-11-17 Valtech Cardio, Ltd. Implant-cinching devices and systems
US11135062B2 (en) 2017-11-20 2021-10-05 Valtech Cardio Ltd. Cinching of dilated heart muscle
US10987210B2 (en) 2017-12-07 2021-04-27 Rotation Medical, Inc. Medical implant delivery system and related methods
GB201720803D0 (en) 2017-12-13 2018-01-24 Mitraltech Ltd Prosthetic Valve and delivery tool therefor
GB201800399D0 (en) 2018-01-10 2018-02-21 Mitraltech Ltd Temperature-control during crimping of an implant
WO2019144071A1 (en) 2018-01-19 2019-07-25 Boston Scientific Scimed, Inc. Medical device delivery system with feedback loop
JP7055882B2 (ja) 2018-01-19 2022-04-18 ボストン サイエンティフィック サイムド,インコーポレイテッド トランスカテーテル弁システム用誘導モード留置センサ
US11337805B2 (en) 2018-01-23 2022-05-24 Edwards Lifesciences Corporation Prosthetic valve holders, systems, and methods
EP3743015A1 (en) 2018-01-24 2020-12-02 Valtech Cardio, Ltd. Contraction of an annuloplasty structure
EP3743014B1 (en) 2018-01-26 2023-07-19 Edwards Lifesciences Innovation (Israel) Ltd. Techniques for facilitating heart valve tethering and chord replacement
WO2019157156A1 (en) 2018-02-07 2019-08-15 Boston Scientific Scimed, Inc. Medical device delivery system with alignment feature
WO2019165394A1 (en) 2018-02-26 2019-08-29 Boston Scientific Scimed, Inc. Embedded radiopaque marker in adaptive seal
EP3793478A1 (en) 2018-05-15 2021-03-24 Boston Scientific Scimed, Inc. Replacement heart valve commissure assembly
EP3595589B1 (en) 2018-05-21 2024-10-09 Aran Biomedical Teoranta Insertable medical devices with low profile composite coverings
AU2018424859B2 (en) 2018-05-23 2024-04-04 Corcym S.R.L. A cardiac valve prosthesis
JP7074930B2 (ja) 2018-05-23 2022-05-24 コーシム・ソチエタ・ア・レスポンサビリタ・リミタータ 心臓弁プロテーゼの原位置送達のためのデバイス
ES3015957T3 (en) * 2018-06-11 2025-05-08 Gore & Ass In vivo adjustment mechanism and associated systems and methods
WO2019241477A1 (en) 2018-06-13 2019-12-19 Boston Scientific Scimed, Inc. Replacement heart valve delivery device
USD944398S1 (en) 2018-06-13 2022-02-22 Edwards Lifesciences Corporation Expanded heart valve stent
USD908874S1 (en) 2018-07-11 2021-01-26 Edwards Lifesciences Corporation Collapsible heart valve sizer
CR20210020A (es) 2018-07-12 2021-07-21 Valtech Cardio Ltd Sistema de anuloplastía y herramientas de bloqueo para ello
CN113260337A (zh) 2018-10-05 2021-08-13 施菲姆德控股有限责任公司 人工心脏瓣膜装置、系统和方法
CN113271890B (zh) 2018-11-08 2024-08-30 内奥瓦斯克迪亚拉公司 经导管二尖瓣假体的心室展开
US11534300B2 (en) 2018-12-03 2022-12-27 Valcare, Inc. Stabilizing and adjusting tool for controlling a minimally invasive mitral / tricuspid valve repair system
US11241312B2 (en) 2018-12-10 2022-02-08 Boston Scientific Scimed, Inc. Medical device delivery system including a resistance member
EP3920847B1 (en) 2019-02-05 2024-07-31 Edwards Lifesciences Corporation Prosthetic heart valve with suture loop preventing member
US11278402B2 (en) 2019-02-21 2022-03-22 Medtronic, Inc. Prosthesis for transcatheter delivery having an infolding longitudinal segment for a smaller radially compressed profile
CA3132873C (en) 2019-03-08 2024-07-02 Neovasc Tiara Inc. RECOVERABLE PROSTHESIS PLACEMENT SYSTEM
US11602429B2 (en) 2019-04-01 2023-03-14 Neovasc Tiara Inc. Controllably deployable prosthetic valve
AU2020271896B2 (en) 2019-04-10 2022-10-13 Neovasc Tiara Inc. Prosthetic valve with natural blood flow
US11439504B2 (en) 2019-05-10 2022-09-13 Boston Scientific Scimed, Inc. Replacement heart valve with improved cusp washout and reduced loading
CA3140925C (en) 2019-05-20 2025-12-09 Neovasc Tiara Inc. Introducer with hemostasis mechanism
AU2020284630A1 (en) 2019-05-29 2021-11-18 Edwards Lifesciences Innovation (Israel) Ltd. Tissue anchor handling systems and methods
IL288722B1 (en) 2019-06-11 2025-10-01 Valcare Inc Annuloplasty ring with posterior leaflet for minimally invasive treatment
US12396853B2 (en) 2019-06-11 2025-08-26 Valcare Medical, Inc. Systems and methods for delivery of chordae replacement system
CN114144144B (zh) 2019-06-20 2026-01-13 内奥瓦斯克迪亚拉公司 低轮廓假体二尖瓣
IL289733B1 (en) 2019-07-15 2025-10-01 Valcare Inc Transcatheter bioprosthesis part and support structure
CA3146859A1 (en) 2019-07-16 2021-01-21 Heartchord Medical, Inc. Tissue remodeling systems and methods
US12364606B2 (en) 2019-07-23 2025-07-22 Edwards Lifesciences Innovation (Israel) Ltd. Fluoroscopic visualization of heart valve anatomy
JP7592647B2 (ja) 2019-07-23 2024-12-02 エドワーズ ライフサイエンシーズ イノベーション (イスラエル) リミテッド 弁形成構造の収縮
CA3141348A1 (en) 2019-08-02 2021-02-11 Edwards Lifesciences Corporation Rotary application of fibrous material to medical devices
CA3143177A1 (en) 2019-08-28 2021-03-04 Valtech Cardio, Ltd. Low-profile steerable catheter
CN110507451B (zh) * 2019-08-29 2025-11-18 上海翰凌医疗器械有限公司 瓣膜支架及具有其的人工瓣膜
CN114423381A (zh) 2019-08-30 2022-04-29 瓦尔泰克卡迪欧有限公司 锚通道尖端
US11583397B2 (en) 2019-09-24 2023-02-21 Medtronic, Inc. Prosthesis with anti-paravalvular leakage component including a one-way valve
JP2022551425A (ja) 2019-09-25 2022-12-09 カーディアック・インプランツ・エルエルシー 心臓弁輪縮小システム
EP4034043A1 (en) 2019-09-27 2022-08-03 Edwards Lifesciences Corporation Modified prosthetic heart valve stent
JP7621992B2 (ja) 2019-10-29 2025-01-27 エドワーズ ライフサイエンシーズ イノベーション (イスラエル) リミテッド 輪状形成および組織アンカー技術
WO2021126778A1 (en) 2019-12-16 2021-06-24 Edwards Lifesciences Corporation Valve holder assembly with suture looping protection
US20230105492A1 (en) * 2020-03-03 2023-04-06 Shifamed Holdings, Llc Prosthetic cardiac valve devices, systems, and methods
US12023247B2 (en) 2020-05-20 2024-07-02 Edwards Lifesciences Corporation Reducing the diameter of a cardiac valve annulus with independent control over each of the anchors that are launched into the annulus
WO2021255533A1 (en) 2020-06-19 2021-12-23 Valtech Cardio Ltd. Self-stopping tissue anchors
US12357459B2 (en) 2020-12-03 2025-07-15 Cardiovalve Ltd. Transluminal delivery system
JP7642855B2 (ja) 2021-04-09 2025-03-10 ボストン サイエンティフィック サイムド,インコーポレイテッド 医療用インプラントの回転アライメント
CN114452042B (zh) * 2021-12-15 2025-11-14 上海翰凌医疗器械有限公司 一种二尖瓣成形环的环缩锁定结构
CN114452044B (zh) * 2021-12-15 2025-08-15 上海翰凌医疗器械有限公司 一种心脏瓣膜修复装置的成形锁定结构
US12458492B2 (en) * 2022-02-15 2025-11-04 Beijing Balance Medical Technology Co., Ltd. Presettable artificial biological aortic valve
US11712237B1 (en) * 2022-07-20 2023-08-01 Samothrace Medical Innovations, Inc. Anatomical tissue anchor and related methods
US12502178B2 (en) 2022-08-16 2025-12-23 Boston Scientific Scimed, Inc. Medical device for occluding a left atrial appendage
US12171658B2 (en) 2022-11-09 2024-12-24 Jenavalve Technology, Inc. Catheter system for sequential deployment of an expandable implant

Family Cites Families (547)

* Cited by examiner, † Cited by third party
Publication number Priority date Publication date Assignee Title
US2006A (en) * 1841-03-16 Clamp for crimping leather
US1023184A (en) * 1911-01-30 1912-04-16 Owen Machine Tool Company Milling-machine.
US1124025A (en) * 1914-03-12 1915-01-05 Edward A Johnson Shears.
US2023100A (en) * 1934-07-25 1935-12-03 Westinghouse Electric & Mfg Co Electrical conversion system
US2231314A (en) * 1939-05-22 1941-02-11 Amour James Reversing valve gear
US3143742A (en) * 1963-03-19 1964-08-11 Surgitool Inc Prosthetic sutureless heart valve
GB1075859A (en) 1963-06-22 1967-07-12 Hitachi Shipbuilding Eng Co An angle-valve with variable intake port area
GB1093599A (en) 1964-03-26 1967-12-06 Seidel Wolfgang Improvements in artificial cardiac valves
US3371352A (en) * 1965-01-19 1968-03-05 Edwards Lab Inc Heart valve for quick implantation having provision for ingrowth of tissue
US3370305A (en) * 1965-05-28 1968-02-27 Goott Bernard Heart valve with magnetic hinge means
US3464065A (en) 1965-07-08 1969-09-02 Surgitool Inc Prosthetic heart valve
GB1127325A (en) 1965-08-23 1968-09-18 Henry Berry Improved instrument for inserting artificial heart valves
US3546710A (en) 1965-12-11 1970-12-15 Valery Ivanovich Shumakov Cardiac valve prosthesis for sutureless fixation
US3579642A (en) * 1968-04-15 1971-05-25 Bart T Heffernan Heart valve assembly and method of implanting in the body
US3574865A (en) * 1968-08-08 1971-04-13 Michigan Instr Inc Prosthetic sutureless heart valve
USRE30912E (en) 1968-09-16 1982-04-27 Hancock Laboratories, Inc. Stent for heart valve
US3571815A (en) * 1968-09-19 1971-03-23 John V Somyk Suture ring for heart valve
US3628535A (en) 1969-11-12 1971-12-21 Nibot Corp Surgical instrument for implanting a prosthetic heart valve or the like
US3657744A (en) * 1970-05-08 1972-04-25 Univ Minnesota Method for fixing prosthetic implants in a living body
US3686740A (en) * 1970-06-19 1972-08-29 Donald P Shiley Method of assemblying a sutureless heart valve
US3710744A (en) * 1971-02-24 1973-01-16 Cutter Lab Method and device for manufacture of heart valve
US3755823A (en) 1971-04-23 1973-09-04 Hancock Laboratories Inc Flexible stent for heart valve
US3691567A (en) 1971-05-07 1972-09-19 Baxter Laboratories Inc Prosthetic heart valve having a pair of support rings of dissimilar material
US3744060A (en) 1971-06-10 1973-07-10 F Bellhouse Prosthetic cardiac valve
BE786566A (fr) * 1971-07-20 1973-01-22 Squibb & Sons Inc Agregats a base de tc-99m et d'albumine
TR17343A (tr) * 1972-05-31 1975-03-24 Ethicon Inc Kontrollu olarak serbest birakilabilen suetuer
US3959827A (en) * 1972-08-08 1976-06-01 Kaster Robert L Heart valve prosthesis
GB1444614A (en) * 1972-09-07 1976-08-04 Kurpanek W H Permanently implantable artificial heart
US3800403A (en) 1972-10-10 1974-04-02 Medical Inc Method of making a suturing member and mounting the suturing member on a device
US3839741A (en) 1972-11-17 1974-10-08 J Haller Heart valve and retaining means therefor
US4291420A (en) 1973-11-09 1981-09-29 Medac Gesellschaft Fur Klinische Spezialpraparate Mbh Artificial heart valve
US3996623A (en) 1974-07-30 1976-12-14 Kaster Robert L Method of implanting a prosthetic device and suturing member therefor
GB1477643A (en) 1974-10-16 1977-06-22 Nat Res Dev Cardiac valve
US3939741A (en) * 1974-12-23 1976-02-24 Mcdonnell Douglas Corporation Method and apparatus for cutting reinforced foam
US4078268A (en) * 1975-04-24 1978-03-14 St. Jude Medical, Inc. Heart valve prosthesis
US3997923A (en) * 1975-04-28 1976-12-21 St. Jude Medical, Inc. Heart valve prosthesis and suturing assembly and method of implanting a heart valve prosthesis in a heart
US4340091A (en) 1975-05-07 1982-07-20 Albany International Corp. Elastomeric sheet materials for heart valve and other prosthetic implants
FR2298313A1 (fr) 1975-06-23 1976-08-20 Usifroid Reducteur lineaire pour valvuloplastie
US4035849A (en) 1975-11-17 1977-07-19 William W. Angell Heart valve stent and process for preparing a stented heart valve prosthesis
CA1069652A (en) 1976-01-09 1980-01-15 Alain F. Carpentier Supported bioprosthetic heart valve with compliant orifice ring
US4084268A (en) 1976-04-22 1978-04-18 Shiley Laboratories, Incorporated Prosthetic tissue heart valve
US4054144A (en) * 1976-05-28 1977-10-18 American Cyanamid Company Short-crimp surgical needle
JPS52146995A (en) * 1976-05-29 1977-12-07 Eru Kasutaa Robaato Artificial heart valve and valve means
US4078468A (en) * 1976-10-21 1978-03-14 Simon Civitello Apparatus for extending a lower range of a stringed musical instrument
US4140126A (en) * 1977-02-18 1979-02-20 Choudhury M Hasan Method for performing aneurysm repair
US4297749A (en) 1977-04-25 1981-11-03 Albany International Corp. Heart valve prosthesis
US4164046A (en) 1977-05-16 1979-08-14 Cooley Denton Valve prosthesis
DK229077A (da) 1977-05-25 1978-11-26 Biocoating Aps Hjerteklapprotese samt fremgangsmaade til fremstilling heraf
US4185636A (en) 1977-12-29 1980-01-29 Albert Einstein College Of Medicine Of Yeshiva University Suture organizer, prosthetic device holder, and related surgical procedures
US4172295A (en) 1978-01-27 1979-10-30 Shiley Scientific, Inc. Tri-cuspid three-tissue prosthetic heart valve
US4245358A (en) * 1979-01-24 1981-01-20 Manoutcher Moasser Nontraumatic prosthetic valve with magnetic closure
AR221872A1 (es) 1979-03-16 1981-03-31 Liotta Domingo S Mejoras en valvulas cardiacas impantables
US4211325A (en) 1979-06-07 1980-07-08 Hancock Laboratories, Inc. Heart valve holder
GB2056023B (en) 1979-08-06 1983-08-10 Ross D N Bodnar E Stent for a cardiac valve
US4388735A (en) 1980-11-03 1983-06-21 Shiley Inc. Low profile prosthetic xenograft heart valve
EP0125393B1 (en) 1980-11-03 1987-12-09 Shiley Incorporated Prosthetic heart valve
US4470157A (en) 1981-04-27 1984-09-11 Love Jack W Tricuspid prosthetic tissue heart valve
US4816029A (en) * 1981-05-07 1989-03-28 Medtronic, Inc. Stent for aortic heart valve
US4485816A (en) 1981-06-25 1984-12-04 Alchemia Shape-memory surgical staple apparatus and method for use in surgical suturing
US4364126A (en) 1981-07-28 1982-12-21 Vascor, Inc. Heart valve with removable cusp protector band
US4501030A (en) * 1981-08-17 1985-02-26 American Hospital Supply Corporation Method of leaflet attachment for prosthetic heart valves
US4865600A (en) 1981-08-25 1989-09-12 Baxter International Inc. Mitral valve holder
US4451936A (en) 1981-12-21 1984-06-05 American Hospital Supply Corporation Supra-annular aortic valve
DE3365190D1 (en) 1982-01-20 1986-09-18 Martin Morris Black Artificial heart valves
US4477930A (en) 1982-09-28 1984-10-23 Mitral Medical International, Inc. Natural tissue heat valve and method of making same
US4680031A (en) * 1982-11-29 1987-07-14 Tascon Medical Technology Corporation Heart valve prosthesis
US4892541A (en) * 1982-11-29 1990-01-09 Tascon Medical Technology Corporation Heart valve prosthesis
SU1116573A1 (ru) 1983-01-07 1985-07-15 Предприятие П/Я А-1619 Биопротез сердечного клапана
GB8300636D0 (en) 1983-01-11 1983-02-09 Black M M Heart valve replacements
US4506394A (en) * 1983-01-13 1985-03-26 Molrose Management, Ltd. Cardiac valve prosthesis holder
US4535483A (en) 1983-01-17 1985-08-20 Hemex, Inc. Suture rings for heart valves
US4505407A (en) * 1983-03-07 1985-03-19 Francis Tool Company Volumetric measure for granular material
AR229309A1 (es) 1983-04-20 1983-07-15 Barone Hector Daniel Montura para valvulas cardiacas
US4548202A (en) 1983-06-20 1985-10-22 Ethicon, Inc. Mesh tissue fasteners
IT1159433B (it) 1983-07-25 1987-02-25 Sorin Biomedica Spa Procedimento ed apparecchiatura per la fabbricazione di lembi valvolari per protesi valvolari cardiache e protesi valvolare cardiaca provvista di tali lembi
IL74460A (en) 1983-09-02 1990-01-18 Istec Ind & Technologies Ltd Surgical implement particularly useful for suturing prosthetic valves
DE3334217A1 (de) * 1983-09-22 1985-04-04 Goerz Electro Gmbh, Wien Transportvorrichtung fuer den registrierstreifen eines elektrischen registriergeraetes
US4626255A (en) 1983-09-23 1986-12-02 Christian Weinhold Heart valve bioprothesis
US4665906A (en) 1983-10-14 1987-05-19 Raychem Corporation Medical devices incorporating sim alloy elements
US4629459A (en) 1983-12-28 1986-12-16 Shiley Inc. Alternate stent covering for tissue valves
IT1208326B (it) 1984-03-16 1989-06-12 Sorin Biomedica Spa Protesi valvolare cardiaca provvista di lembi valvolari di tessuto biologico
FR2568976B1 (fr) 1984-08-08 1986-12-19 Stein Industrie Dispositif de supportage d'une tuyauterie de faible epaisseur
GB8424582D0 (en) 1984-09-28 1984-11-07 Univ Glasgow Heart valve prosthesis
NL8500538A (nl) * 1985-02-26 1986-09-16 Stichting Tech Wetenschapp Hartklepprothese, werkwijze voor het vervaardigen van een hartklepprothese en daarbij toegepaste mal.
US4888009A (en) 1985-04-05 1989-12-19 Abiomed, Inc. Prosthetic heart valve
US4683883A (en) 1985-04-30 1987-08-04 Hemex Scientific, Inc. Two-piece heart valve holder/rotator
US5035708A (en) 1985-06-06 1991-07-30 Thomas Jefferson University Endothelial cell procurement and deposition kit
US4935030A (en) 1985-06-17 1990-06-19 Medtronic, Inc. Mechanical heart valve prosthesis
DE3541478A1 (de) 1985-11-23 1987-05-27 Beiersdorf Ag Herzklappenprothese und verfahren zu deren herstellung
US4743253A (en) 1986-03-04 1988-05-10 Magladry Ross E Suture rings for heart valves and method of securing same to heart valves
CH672247A5 (ja) 1986-03-06 1989-11-15 Mo Vysshee Tekhnicheskoe Uchil
IL78177A0 (en) 1986-03-17 1986-07-31 Yoel Ovil Prosthetic heart valve and instrument for attaching and/or removing same
US4657545A (en) * 1986-04-29 1987-04-14 Zibelin Henry S Heart valve
US4790843A (en) * 1986-06-16 1988-12-13 Baxter Travenol Laboratories, Inc. Prosthetic heart valve assembly
US4661107A (en) * 1986-07-21 1987-04-28 Fink Irving E Heart valve
US4725274A (en) * 1986-10-24 1988-02-16 Baxter Travenol Laboratories, Inc. Prosthetic heart valve
DE3701702C1 (de) 1987-01-22 1988-07-14 Braun Melsungen Ag Herzklappenprothese
US4914097A (en) 1987-02-25 1990-04-03 Mitsubishi Kasei Corporation N-indanyl carboxamide derivative and agricultural/horticultural fungicide containing the derivative as active ingredient
US4898156A (en) * 1987-05-18 1990-02-06 Mitek Surgical Products, Inc. Suture anchor
SE458342B (sv) 1987-07-06 1989-03-20 Alfa Laval Ab Centrifugalseparator innefattande en rotor med en separeringskammare bestaaende av tvaa avdelningar
US4851000A (en) 1987-07-31 1989-07-25 Pacific Biomedical Holdings, Ltd. Bioprosthetic valve stent
US4917097A (en) 1987-10-27 1990-04-17 Endosonics Corporation Apparatus and method for imaging small cavities
IT1218947B (it) * 1988-01-12 1990-04-24 Sorin Biomedica Spa Protesi valvolare cardiaca
US5010892A (en) 1988-05-04 1991-04-30 Triangle Research And Development Corp. Body lumen measuring instrument
US4960424A (en) 1988-06-30 1990-10-02 Grooters Ronald K Method of replacing a defective atrio-ventricular valve with a total atrio-ventricular valve bioprosthesis
US5032128A (en) 1988-07-07 1991-07-16 Medtronic, Inc. Heart valve prosthesis
US4917698A (en) 1988-12-22 1990-04-17 Baxter International Inc. Multi-segmented annuloplasty ring prosthesis
US4994077A (en) * 1989-04-21 1991-02-19 Dobben Richard L Artificial heart valve for implantation in a blood vessel
US5609626A (en) 1989-05-31 1997-03-11 Baxter International Inc. Stent devices and support/restrictor assemblies for use in conjunction with prosthetic vascular grafts
US5697375A (en) 1989-09-18 1997-12-16 The Research Foundation Of State University Of New York Method and apparatus utilizing heart sounds for determining pressures associated with the left atrium
US4993428A (en) * 1990-02-12 1991-02-19 Microstrain Company Method of and means for implanting a pressure and force sensing apparatus
IT1240110B (it) 1990-02-21 1993-11-27 Sorin Biomedica Spa Protesi valvolare cardiaca
IT1240111B (it) 1990-02-21 1993-11-27 Sorin Biomedica Spa Anello di sutura per protesi valvolari cardiache
US5035709A (en) 1990-03-29 1991-07-30 Baxter International Inc. Mechanical heart valve with compliant sewing ring
US5147391A (en) 1990-04-11 1992-09-15 Carbomedics, Inc. Bioprosthetic heart valve with semi-permeable commissure posts and deformable leaflets
US5037434A (en) 1990-04-11 1991-08-06 Carbomedics, Inc. Bioprosthetic heart valve with elastic commissures
DK124690D0 (da) 1990-05-18 1990-05-18 Henning Rud Andersen Klapprotes til implantering i kroppen for erstatning af naturlig klap samt kateter til brug ved implantering af en saadan klapprotese
US5411552A (en) * 1990-05-18 1995-05-02 Andersen; Henning R. Valve prothesis for implantation in the body and a catheter for implanting such valve prothesis
US5237655A (en) 1990-07-05 1993-08-17 Eastman Kodak Company Raster image processor for all points addressable printer
JPH04114643A (ja) * 1990-09-06 1992-04-15 Shinsaku Kaguchi 人工心臓弁とその製造方法
US5071431A (en) 1990-11-07 1991-12-10 Carbomedics, Inc. Suture rings for heart valves and method of securing suture rings to heart valves
US5163955A (en) 1991-01-24 1992-11-17 Autogenics Rapid assembly, concentric mating stent, tissue heart valve with enhanced clamping and tissue alignment
US5755782A (en) 1991-01-24 1998-05-26 Autogenics Stents for autologous tissue heart valve
US5489298A (en) * 1991-01-24 1996-02-06 Autogenics Rapid assembly concentric mating stent, tissue heart valve with enhanced clamping and tissue exposure
ES2028611A6 (es) 1991-02-07 1992-07-01 Garcia Gonzalez Moro Jose Beni Valvula cardiaca artificial.
JPH05184611A (ja) 1991-03-19 1993-07-27 Kenji Kusuhara 弁輪支持器具及びその取り付け方法
CA2102709A1 (en) 1991-05-08 1992-11-09 Zbigniew Religa Support for a heart valve prosthesis
DE69215869T2 (de) * 1991-05-08 1997-06-26 Nika Health Products Ltd Verfahren und Vorrichtung zur Herstellumg einer Herzklappenprothese
US5397351A (en) * 1991-05-13 1995-03-14 Pavcnik; Dusan Prosthetic valve for percutaneous insertion
IT1245750B (it) * 1991-05-24 1994-10-14 Sorin Biomedica Emodialisi S R Protesi valvolare cardiaca, particolarmente per sostituzione della valvola aortica
US5571215A (en) 1993-02-22 1996-11-05 Heartport, Inc. Devices and methods for intracardiac procedures
US5584803A (en) 1991-07-16 1996-12-17 Heartport, Inc. System for cardiac procedures
US5370685A (en) 1991-07-16 1994-12-06 Stanford Surgical Technologies, Inc. Endovascular aortic valve replacement
US5704361A (en) 1991-11-08 1998-01-06 Mayo Foundation For Medical Education And Research Volumetric image ultrasound transducer underfluid catheter system
US5201715A (en) * 1991-11-19 1993-04-13 Mcghan Medical Corporation Implantable devices having ultrasonic echographic signature
US5258021A (en) 1992-01-27 1993-11-02 Duran Carlos G Sigmoid valve annuloplasty ring
US5489297A (en) * 1992-01-27 1996-02-06 Duran; Carlos M. G. Bioprosthetic heart valve with absorbable stent
US5163953A (en) 1992-02-10 1992-11-17 Vince Dennis J Toroidal artificial heart valve stent
US5258023A (en) 1992-02-12 1993-11-02 Reger Medical Development, Inc. Prosthetic heart valve
GB9206449D0 (en) * 1992-03-25 1992-05-06 Univ Leeds Artificial heart valve
US5178633A (en) 1992-04-21 1993-01-12 Carbon Implants Inc. Suture ring for heart valve prosthesis
US5397346A (en) * 1992-04-28 1995-03-14 Carbomedics, Inc. Prosthetic heart valve with sewing ring
US5484451A (en) 1992-05-08 1996-01-16 Ethicon, Inc. Endoscopic surgical instrument and staples for applying purse string sutures
US5332402A (en) 1992-05-12 1994-07-26 Teitelbaum George P Percutaneously-inserted cardiac valve
US5316016A (en) 1992-07-07 1994-05-31 Scimed Life Systems, Inc. Imaging balloon catheter and methods for use and manufacture
US5406857A (en) 1992-07-09 1995-04-18 Medtronic, Inc. Method and apparatus for testing of circumferentially compliant bioprosthetic valve
DE4222610A1 (de) 1992-07-10 1994-01-13 Jansen Josef Dr Ing Stützgehäuse für Klappen- und Schließorgane
US5449384A (en) 1992-09-28 1995-09-12 Medtronic, Inc. Dynamic annulus heart valve employing preserved porcine valve leaflets
US5336178A (en) * 1992-11-02 1994-08-09 Localmed, Inc. Intravascular catheter with infusion array
US5972000A (en) 1992-11-13 1999-10-26 Influence Medical Technologies, Ltd. Non-linear anchor inserter device and bone anchors
US6074417A (en) 1992-11-16 2000-06-13 St. Jude Medical, Inc. Total mitral heterologous bioprosthesis to be used in mitral or tricuspid heart replacement
US6283127B1 (en) 1992-12-03 2001-09-04 Wesley D. Sterman Devices and methods for intracardiac procedures
US5814097A (en) 1992-12-03 1998-09-29 Heartport, Inc. Devices and methods for intracardiac procedures
US6010531A (en) * 1993-02-22 2000-01-04 Heartport, Inc. Less-invasive devices and methods for cardiac valve surgery
US5682906A (en) * 1993-02-22 1997-11-04 Heartport, Inc. Methods of performing intracardiac procedures on an arrested heart
US5431676A (en) 1993-03-05 1995-07-11 Innerdyne Medical, Inc. Trocar system having expandable port
GB9312666D0 (en) 1993-06-18 1993-08-04 Vesely Ivan Bioprostetic heart valve
US5874400A (en) * 1993-07-26 1999-02-23 Cor Therapeutics Recombinant C140 receptor, its agonists and antagonists, and nucleic acids encoding the receptor
CA2130498C (en) 1993-08-26 2000-02-22 Yoshiyuki Imanaka Ink jet recording head and recording apparatus using same
US5396887A (en) * 1993-09-23 1995-03-14 Cardiac Pathways Corporation Apparatus and method for detecting contact pressure
US5824060A (en) 1993-09-29 1998-10-20 Medtronic, Inc. Natural tissue heart valve fixation
US5725554A (en) * 1993-10-08 1998-03-10 Richard-Allan Medical Industries, Inc. Surgical staple and stapler
US5713950A (en) 1993-11-01 1998-02-03 Cox; James L. Method of replacing heart valves using flexible tubes
US5397348A (en) * 1993-12-13 1995-03-14 Carbomedics, Inc. Mechanical heart valve with compressible stiffening ring
US5425741A (en) 1993-12-17 1995-06-20 Autogenics Tissue cutting die
CA2179718A1 (en) 1993-12-22 1995-06-29 Mogens Bugge Cardiac valve holders
CA2141911C (en) 1994-02-24 2002-04-23 Jude S. Sauer Surgical crimping device and method of use
AU1931495A (en) * 1994-03-14 1995-10-03 Cryolife, Inc. Treated tissue for implantation and preparation methods
US5476510A (en) 1994-04-21 1995-12-19 Medtronic, Inc. Holder for heart valve
AU2391795A (en) 1994-04-22 1995-11-16 Medtronic, Inc. Stented bioprosthetic heart valve
GB9408314D0 (en) 1994-04-27 1994-06-15 Cardio Carbon Co Ltd Heart valve prosthesis
US5554185A (en) * 1994-07-18 1996-09-10 Block; Peter C. Inflatable prosthetic cardiovascular valve for percutaneous transluminal implantation of same
US5931969A (en) 1994-07-29 1999-08-03 Baxter International Inc. Methods and apparatuses for treating biological tissue to mitigate calcification
US6217610B1 (en) 1994-07-29 2001-04-17 Edwards Lifesciences Corporation Expandable annuloplasty ring
US5573007A (en) 1994-08-08 1996-11-12 Innerspace, Inc. Gas column pressure monitoring catheters
US5533515A (en) 1994-08-11 1996-07-09 Foster-Miller Solid state sphincter myometers
US5549666A (en) 1994-09-02 1996-08-27 Baxter International Inc. Natural tissue valve prostheses having variably complaint leaflets
US6015429A (en) * 1994-09-08 2000-01-18 Gore Enterprise Holdings, Inc. Procedures for introducing stents and stent-grafts
US5545133A (en) 1994-09-16 1996-08-13 Scimed Life Systems, Inc. Balloon catheter with improved pressure source
IL115680A (en) * 1994-10-21 1999-03-12 St Jude Medical Rotatable cuff assembly for a heart valve prosthesis
US5562729A (en) 1994-11-01 1996-10-08 Biocontrol Technology, Inc. Heart valve
US5720755A (en) * 1995-01-18 1998-02-24 Dakov; Pepi Tubular suturing device and methods of use
US5776187A (en) 1995-02-09 1998-07-07 St. Jude Medical, Inc. Combined holder tool and rotator for a prosthetic heart valve
USD376206S (en) * 1995-03-24 1996-12-03 Republic Medical Inc. Heart valve locking ring
US5626607A (en) 1995-04-03 1997-05-06 Heartport, Inc. Clamp assembly and method of use
US5618307A (en) 1995-04-03 1997-04-08 Heartport, Inc. Clamp assembly and method of use
US5837313A (en) 1995-04-19 1998-11-17 Schneider (Usa) Inc Drug release stent coating process
US5716243A (en) * 1995-04-25 1998-02-10 The Whitaker Corporation Automotive battery connector assembly
US5607470A (en) * 1995-05-01 1997-03-04 Milo; Simcha Suture rings for prosthetic heart valves
US5752522A (en) 1995-05-04 1998-05-19 Cardiovascular Concepts, Inc. Lesion diameter measurement catheter and method
US5824064A (en) 1995-05-05 1998-10-20 Taheri; Syde A. Technique for aortic valve replacement with simultaneous aortic arch graft insertion and apparatus therefor
US5772694A (en) 1995-05-16 1998-06-30 Medical Carbon Research Institute L.L.C. Prosthetic heart valve with improved blood flow
US6214043B1 (en) 1995-05-24 2001-04-10 St. Jude Medical, Inc. Releasable hanger for heart valve prosthesis low profile holder
US5578076A (en) 1995-05-24 1996-11-26 St. Jude Medical, Inc. Low profile holder for heart valve prosthesis
US6007577A (en) 1995-06-07 1999-12-28 St. Jude Medical, Inc. Prosthetic heart valve with increased valve lumen
WO1996040011A1 (en) 1995-06-07 1996-12-19 St. Jude Medical, Inc. Direct suture orifice for mechanical heart valve
US5571175A (en) * 1995-06-07 1996-11-05 St. Jude Medical, Inc. Suture guard for prosthetic heart valve
US5716417A (en) 1995-06-07 1998-02-10 St. Jude Medical, Inc. Integral supporting structure for bioprosthetic heart valve
US5814098A (en) 1995-06-07 1998-09-29 St. Jude Medical, Inc. Adjustable sizing apparatus
WO1996040010A1 (en) 1995-06-07 1996-12-19 St. Jude Medical, Inc. Prosthetic heart valve with increased lumen
US5728152A (en) 1995-06-07 1998-03-17 St. Jude Medical, Inc. Bioresorbable heart valve support
US5865801A (en) * 1995-07-18 1999-02-02 Houser; Russell A. Multiple compartmented balloon catheter with external pressure sensing
JP3716467B2 (ja) 1995-07-19 2005-11-16 ソニー株式会社 記録媒体並びに情報再生装置、情報記録装置及び情報記録再生装置
DE19532973C1 (de) 1995-09-07 1996-11-07 Tricumed Medizintechnik Gmbh Herzklappenprothese
US5807405A (en) 1995-09-11 1998-09-15 St. Jude Medical, Inc. Apparatus for attachment of heart valve holder to heart valve prosthesis
US5713952A (en) 1995-09-11 1998-02-03 St. Jude Medical, Inc. Apparatus for attachment of heart valve holder to heart valve prosthesis
US5628789A (en) 1995-09-11 1997-05-13 St. Jude Medical, Inc. Apparatus for attachment of heart valve holder to heart valve prosthesis
US5695503A (en) 1995-09-14 1997-12-09 St. Jude Medical, Inc. Apparatus for attachment of heart valve holder to heart valve prosthesis
GB9519194D0 (en) 1995-09-20 1995-11-22 Univ Wales Medicine Anorectal angle measurement
DE19535148A1 (de) * 1995-09-21 1997-03-27 Whitaker Corp Teil eines elektrischen Kontaktes und elektrischer Kontakt
US6328763B1 (en) 1995-10-06 2001-12-11 Cardiomend, Llc Optimized geometry of a tissue pattern for semilunar heart valve reconstruction
US5716399A (en) 1995-10-06 1998-02-10 Cardiomend Llc Methods of heart valve repair
US5830239A (en) 1995-11-15 1998-11-03 Medtronic, Inc. Natural tissue heart valve fixation apparatus and method
US5662704A (en) 1995-12-01 1997-09-02 Medtronic, Inc. Physiologic mitral valve bioprosthesis
US5861028A (en) * 1996-09-09 1999-01-19 Shelhigh Inc Natural tissue heart valve and stent prosthesis and method for making the same
US5860992A (en) * 1996-01-31 1999-01-19 Heartport, Inc. Endoscopic suturing devices and methods
US6613085B1 (en) 1996-01-31 2003-09-02 St. Jude Medical, Inc. Prosthetic heart valve rotator tool
FR2744909B1 (fr) * 1996-02-20 1998-05-07 Combustible Nucleaire Sicn Soc Systeme d'activation d'une valve cardiaque
US5716370A (en) * 1996-02-23 1998-02-10 Williamson, Iv; Warren Means for replacing a heart valve in a minimally invasive manner
US5972004A (en) 1996-02-23 1999-10-26 Cardiovascular Technologies, Llc. Wire fasteners for use in minimally invasive surgery and apparatus and methods for handling those fasteners
US6162233A (en) 1996-02-23 2000-12-19 Cardiovascular Technologies, Llc Wire fasteners for use in minimally invasive surgery and means and methods for handling those fasteners
US5891160A (en) 1996-02-23 1999-04-06 Cardiovascular Technologies, Llc Fastener delivery and deployment mechanism and method for placing the fastener in minimally invasive surgery
US6402780B2 (en) 1996-02-23 2002-06-11 Cardiovascular Technologies, L.L.C. Means and method of replacing a heart valve in a minimally invasive manner
US20020068949A1 (en) 1996-02-23 2002-06-06 Williamson Warren P. Extremely long wire fasteners for use in minimally invasive surgery and means and method for handling those fasteners
US5730118A (en) * 1996-02-27 1998-03-24 Hermanson; Susan Thomas Carrier for asthma inhaler
US5885228A (en) 1996-05-08 1999-03-23 Heartport, Inc. Valve sizer and method of use
EP0897285A4 (en) 1996-05-10 2000-03-08 Cardiovascular Concepts Inc CATHETER AND METHOD FOR MEASURING THE DIAMETER OF AN INJURY
SE506299C2 (sv) 1996-05-20 1997-12-01 Bertil Oredsson Givare för att detektera ändringar i tvärsnitt hos en långsträckt kroppshålighet
US5891195A (en) 1996-05-24 1999-04-06 Sulzer Carbomedics Inc. Combined prosthetic aortic heart valve and vascular graft with sealed sewing ring
US5855601A (en) * 1996-06-21 1999-01-05 The Trustees Of Columbia University In The City Of New York Artificial heart valve and method and device for implanting the same
US5755783A (en) 1996-07-29 1998-05-26 Stobie; Robert Suture rings for rotatable artificial heart valves
DE19632263C1 (de) 1996-08-09 1998-01-08 Domed Medizintechnik Gmbh Verfahren und Vorrichtung zur venösen Kompressionsplethysmographie
FR2752720A1 (fr) 1996-09-03 1998-03-06 Medinov Amp Support d'agrafe chirurgicale du type elastique, superelastique ou a memoire de forme
US5800531A (en) * 1996-09-30 1998-09-01 Baxter International Inc. Bioprosthetic heart valve implantation device
US5766240A (en) 1996-10-28 1998-06-16 Medtronic, Inc. Rotatable suturing ring for prosthetic heart valve
US5848969A (en) 1996-10-28 1998-12-15 Ep Technologies, Inc. Systems and methods for visualizing interior tissue regions using expandable imaging structures
US5919147A (en) 1996-11-01 1999-07-06 Jain; Krishna M. Method and apparatus for measuring the vascular diameter of a vessel
US5735394A (en) 1996-11-13 1998-04-07 Riverwood International Corporation Carrier with tear resistant handle
CA2224366C (en) 1996-12-11 2006-10-31 Ethicon, Inc. Meniscal repair device
US5972024A (en) 1996-12-24 1999-10-26 Metacardia, Inc. Suture-staple apparatus and method
EP0850607A1 (en) 1996-12-31 1998-07-01 Cordis Corporation Valve prosthesis for implantation in body channels
US5879371A (en) * 1997-01-09 1999-03-09 Elective Vascular Interventions, Inc. Ferruled loop surgical fasteners, instruments, and methods for minimally invasive vascular and endoscopic surgery
US6149658A (en) 1997-01-09 2000-11-21 Coalescent Surgical, Inc. Sutured staple surgical fasteners, instruments and methods for minimally invasive vascular and endoscopic surgery
US6074401A (en) 1997-01-09 2000-06-13 Coalescent Surgical, Inc. Pinned retainer surgical fasteners, instruments and methods for minimally invasive vascular and endoscopic surgery
US5925061A (en) * 1997-01-13 1999-07-20 Gore Enterprise Holdings, Inc. Low profile vascular stent
US5924984A (en) 1997-01-30 1999-07-20 University Of Iowa Research Foundation Anorectal probe apparatus having at least one muscular activity sensor
US5908450A (en) 1997-02-28 1999-06-01 Medtronic, Inc. Physiologic mitral valve implantation holding system
US5928281A (en) 1997-03-27 1999-07-27 Baxter International Inc. Tissue heart valves
US5833605A (en) 1997-03-28 1998-11-10 Shah; Ajit Apparatus for vascular mapping and methods of use
US5961549A (en) 1997-04-03 1999-10-05 Baxter International Inc. Multi-leaflet bioprosthetic heart valve
US5957949A (en) 1997-05-01 1999-09-28 World Medical Manufacturing Corp. Percutaneous placement valve stent
US6245102B1 (en) 1997-05-07 2001-06-12 Iowa-India Investments Company Ltd. Stent, stent graft and stent valve
US6068657A (en) 1997-05-20 2000-05-30 Lapeyre; Didier Mechanical valve prosthesis with optimized closing mode
US5957940A (en) 1997-06-30 1999-09-28 Eva Corporation Fasteners for use in the surgical repair of aneurysms
USD471981S1 (en) 1997-09-03 2003-03-18 Republic Medical Products Inc. Heart valve stiffening ring
WO1999011201A2 (en) 1997-09-04 1999-03-11 Endocore, Inc. Artificial chordae replacement
US6045576A (en) 1997-09-16 2000-04-04 Baxter International Inc. Sewing ring having increased annular coaptation
US5984959A (en) 1997-09-19 1999-11-16 United States Surgical Heart valve replacement tools and procedures
US5925063A (en) * 1997-09-26 1999-07-20 Khosravi; Farhad Coiled sheet valve, filter or occlusive device and methods of use
US5921934A (en) 1997-11-25 1999-07-13 Scimed Life Systems, Inc. Methods and apparatus for non-uniform rotation distortion detection in an intravascular ultrasound imaging system
US5910170A (en) 1997-12-17 1999-06-08 St. Jude Medical, Inc. Prosthetic heart valve stent utilizing mounting clips
DE19757297A1 (de) 1997-12-22 1999-06-24 Basf Ag Verfahren zur Herstellung oxidischer Katalysatoren, die Kupfer in einer Oxidationsstufe > 0 enthalten
US6530952B2 (en) 1997-12-29 2003-03-11 The Cleveland Clinic Foundation Bioprosthetic cardiovascular valve system
EP2258312B9 (en) 1997-12-29 2012-09-19 The Cleveland Clinic Foundation Deployable surgical platform and system for the removal and delivery of a medical device comprising such deployable surgical platform
US5976183A (en) 1998-01-05 1999-11-02 Medical Carbon Research Institute, Llc Sewing ring for heart valve prosthesis
US6096074A (en) 1998-01-27 2000-08-01 United States Surgical Stapling apparatus and method for heart valve replacement
US5935163A (en) 1998-03-31 1999-08-10 Shelhigh, Inc. Natural tissue heart valve prosthesis
FR2776912B1 (fr) 1998-04-06 2000-08-04 Houari Lofti DISPOSITIF D'EXPLOITATION PER OPERATOIRE DE l'APPAREIL CARDIO-CIRCULATOIRE DU CORPS HUMAIN OU ANIMAL
US6074418A (en) 1998-04-20 2000-06-13 St. Jude Medical, Inc. Driver tool for heart valve prosthesis fasteners
US6176877B1 (en) * 1998-04-20 2001-01-23 St. Jude Medical, Inc. Two piece prosthetic heart valve
US6059827A (en) * 1998-05-04 2000-05-09 Axya Medical, Inc. Sutureless cardiac valve prosthesis, and devices and methods for implanting them
US7452371B2 (en) * 1999-06-02 2008-11-18 Cook Incorporated Implantable vascular device
US6945980B2 (en) 1998-06-03 2005-09-20 Medtronic, Inc. Multiple loop tissue connector apparatus and methods
US6514265B2 (en) * 1999-03-01 2003-02-04 Coalescent Surgical, Inc. Tissue connector apparatus with cable release
US6607541B1 (en) 1998-06-03 2003-08-19 Coalescent Surgical, Inc. Tissue connector apparatus and methods
US6641593B1 (en) 1998-06-03 2003-11-04 Coalescent Surgical, Inc. Tissue connector apparatus and methods
US6613059B2 (en) 1999-03-01 2003-09-02 Coalescent Surgical, Inc. Tissue connector apparatus and methods
US6143024A (en) 1998-06-04 2000-11-07 Sulzer Carbomedics Inc. Annuloplasty ring having flexible anterior portion
US6254636B1 (en) 1998-06-26 2001-07-03 St. Jude Medical, Inc. Single suture biological tissue aortic stentless valve
CA2335917C (en) * 1998-06-30 2006-10-31 Origin Medsystems, Inc. Apparatus and method for inducing vibrations in a living body
US6106550A (en) 1998-07-10 2000-08-22 Sulzer Carbomedics Inc. Implantable attaching ring
US6165183A (en) 1998-07-15 2000-12-26 St. Jude Medical, Inc. Mitral and tricuspid valve repair
US6197054B1 (en) * 1998-09-01 2001-03-06 Sulzer Carbomedics Inc. Sutureless cuff for heart valves
US6203553B1 (en) * 1999-09-08 2001-03-20 United States Surgical Stapling apparatus and method for heart valve replacement
US6214054B1 (en) 1998-09-21 2001-04-10 Edwards Lifesciences Corporation Method for fixation of biological tissues having mitigated propensity for post-implantation calcification and thrombosis and bioprosthetic devices prepared thereby
US6334873B1 (en) * 1998-09-28 2002-01-01 Autogenics Heart valve having tissue retention with anchors and an outer sheath
US6270527B1 (en) 1998-10-16 2001-08-07 Sulzer Carbomedics Inc. Elastic valve with partially exposed stent
US6176977B1 (en) * 1998-11-05 2001-01-23 Sharper Image Corporation Electro-kinetic air transporter-conditioner
US6066160A (en) 1998-11-23 2000-05-23 Quickie Llc Passive knotless suture terminator for use in minimally invasive surgery and to facilitate standard tissue securing
AU2032400A (en) 1998-11-25 2000-06-19 Ball Semiconductor Inc. Monitor for interventional procedures
US6126007A (en) 1998-12-30 2000-10-03 St. Jude Medical, Inc. Tissue valve holder
US6395025B1 (en) 1998-12-31 2002-05-28 St. Jude Medical, Inc. Mechanical heart valve prosthesis
CN2356656Y (zh) 1999-01-11 2000-01-05 北京思达医用装置有限公司 双叶式人工心脏瓣膜
JP2002535632A (ja) * 1999-01-26 2002-10-22 エドワーズ ライフサイエンシーズ コーポレイション 解剖学的オリフィス寸法測定器およびオリフィス寸法測定方法
CA2358521C (en) * 1999-01-26 2009-12-29 Edwards Lifesciences Corporation Flexible heart valve
US6558418B2 (en) 1999-01-26 2003-05-06 Edwards Lifesciences Corporation Flexible heart valve
US6896690B1 (en) 2000-01-27 2005-05-24 Viacor, Inc. Cardiac valve procedure methods and devices
DE19904975A1 (de) * 1999-02-06 2000-09-14 Impella Cardiotech Ag Vorrichtung zur intravasalen Herzklappenoperation
US6425916B1 (en) 1999-02-10 2002-07-30 Michi E. Garrison Methods and devices for implanting cardiac valves
US6248122B1 (en) 1999-02-26 2001-06-19 Vascular Architects, Inc. Catheter with controlled release endoluminal prosthesis
US8118822B2 (en) 1999-03-01 2012-02-21 Medtronic, Inc. Bridge clip tissue connector apparatus and methods
US6296604B1 (en) * 1999-03-17 2001-10-02 Stereotaxis, Inc. Methods of and compositions for treating vascular defects
US6319281B1 (en) 1999-03-22 2001-11-20 Kumar R. Patel Artificial venous valve and sizing catheter
WO2000059382A1 (en) 1999-04-01 2000-10-12 Bjerken David B Vacuum-assisted remote suture placement system
US6139575A (en) 1999-04-02 2000-10-31 Medtronic, Inc. Hybrid mechanical heart valve prosthesis
US6695859B1 (en) 1999-04-05 2004-02-24 Coalescent Surgical, Inc. Apparatus and methods for anastomosis
CA2620783C (en) 1999-04-09 2011-04-05 Evalve, Inc. Methods and apparatus for cardiac valve repair
US6283995B1 (en) 1999-04-15 2001-09-04 Sulzer Carbomedics Inc. Heart valve leaflet with scalloped free margin
US6231602B1 (en) 1999-04-16 2001-05-15 Edwards Lifesciences Corporation Aortic annuloplasty ring
US6183512B1 (en) * 1999-04-16 2001-02-06 Edwards Lifesciences Corporation Flexible annuloplasty system
US7147663B1 (en) * 1999-04-23 2006-12-12 St. Jude Medical Atg, Inc. Artificial heart valve attachment apparatus and methods
EP1171059B1 (en) 1999-04-23 2005-11-02 St. Jude Medical ATG, Inc. Artificial heart valve attachment apparatus
US6264691B1 (en) 1999-04-23 2001-07-24 Shlomo Gabbay Apparatus and method for supporting a heart valve
WO2000064381A2 (en) 1999-04-28 2000-11-02 St. Jude Medical, Inc. Heart valve prostheses
US6309417B1 (en) 1999-05-12 2001-10-30 Paul A. Spence Heart valve and apparatus for replacement thereof
US6790229B1 (en) * 1999-05-25 2004-09-14 Eric Berreklouw Fixing device, in particular for fixing to vascular wall tissue
US6200306B1 (en) 1999-05-26 2001-03-13 Sulzer Carbomedics Inc. Bend clip for flexible rotator
US6217611B1 (en) 1999-05-26 2001-04-17 Sulzer Carbomedics Inc. Modular heart valve prothesis
US6287339B1 (en) 1999-05-27 2001-09-11 Sulzer Carbomedics Inc. Sutureless heart valve prosthesis
EP1057460A1 (en) 1999-06-01 2000-12-06 Numed, Inc. Replacement valve assembly and method of implanting same
US6602289B1 (en) 1999-06-08 2003-08-05 S&A Rings, Llc Annuloplasty rings of particular use in surgery for the mitral valve
US6299638B1 (en) 1999-06-10 2001-10-09 Sulzer Carbomedics Inc. Method of attachment of large-bore aortic graft to an aortic valve
WO2000076399A1 (en) 1999-06-11 2000-12-21 Cardiomend, L.L.C. Device and method for testing tissue
US6626899B2 (en) 1999-06-25 2003-09-30 Nidus Medical, Llc Apparatus and methods for treating tissue
US6241765B1 (en) 1999-07-15 2001-06-05 Sulzer Carbomedics Inc. Stapled heart prosthesis and method of installing same
US6312465B1 (en) 1999-07-23 2001-11-06 Sulzer Carbomedics Inc. Heart valve prosthesis with a resiliently deformable retaining member
JP2003506809A (ja) * 1999-08-02 2003-02-18 コーニンクレッカ フィリップス エレクトロニクス エヌ ヴィ 検出装置
US6319280B1 (en) 1999-08-03 2001-11-20 St. Jude Medical, Inc. Prosthetic ring holder
US6527794B1 (en) 1999-08-10 2003-03-04 Ethicon, Inc. Self-locking suture anchor
US6322588B1 (en) 1999-08-17 2001-11-27 St. Jude Medical, Inc. Medical devices with metal/polymer composites
US6350281B1 (en) * 1999-09-14 2002-02-26 Edwards Lifesciences Corp. Methods and apparatus for measuring valve annuluses during heart valve-replacement surgery
US6231561B1 (en) 1999-09-20 2001-05-15 Appriva Medical, Inc. Method and apparatus for closing a body lumen
DE19945587A1 (de) 1999-09-23 2001-05-10 Co Don Ag Verfahren zum Einsetzen von Implantaten in menschliche Organe
US6358278B1 (en) 1999-09-24 2002-03-19 St. Jude Medical, Inc. Heart valve prosthesis with rotatable cuff
IT1307268B1 (it) 1999-09-30 2001-10-30 Sorin Biomedica Cardio Spa Dispositivo per interventi di riparazione o sostituzione valvolarecardiaca.
US6371983B1 (en) 1999-10-04 2002-04-16 Ernest Lane Bioprosthetic heart valve
US6312447B1 (en) 1999-10-13 2001-11-06 The General Hospital Corporation Devices and methods for percutaneous mitral valve repair
US6440164B1 (en) * 1999-10-21 2002-08-27 Scimed Life Systems, Inc. Implantable prosthetic valve
US6926730B1 (en) 2000-10-10 2005-08-09 Medtronic, Inc. Minimally invasive valve repair procedure and apparatus
US20070043435A1 (en) * 1999-11-17 2007-02-22 Jacques Seguin Non-cylindrical prosthetic valve system for transluminal delivery
US6678962B1 (en) 1999-11-17 2004-01-20 Cardiomend Llc Device and method for assessing the geometry of a heart valve
US8579966B2 (en) 1999-11-17 2013-11-12 Medtronic Corevalve Llc Prosthetic valve for transluminal delivery
US6598307B2 (en) 1999-11-17 2003-07-29 Jack W. Love Device and method for assessing the geometry of a heart valve
US6458153B1 (en) 1999-12-31 2002-10-01 Abps Venture One, Ltd. Endoluminal cardiac and venous valve prostheses and methods of manufacture and delivery thereof
US7195641B2 (en) * 1999-11-19 2007-03-27 Advanced Bio Prosthetic Surfaces, Ltd. Valvular prostheses having metal or pseudometallic construction and methods of manufacture
US20010041914A1 (en) 1999-11-22 2001-11-15 Frazier Andrew G.C. Tissue patch deployment catheter
US6709457B1 (en) 1999-11-24 2004-03-23 St. Jude Medical, Inc. Attachment of suture cuff to prosthetic heart valve
US6409759B1 (en) 1999-12-30 2002-06-25 St. Jude Medical, Inc. Harvested tissue heart valve with sewing rim
US6872226B2 (en) 2001-01-29 2005-03-29 3F Therapeutics, Inc. Method of cutting material for use in implantable medical device
US6692513B2 (en) * 2000-06-30 2004-02-17 Viacor, Inc. Intravascular filter with debris entrapment mechanism
SK11022002A3 (sk) 2000-01-27 2003-03-04 3F Therapeutics, Inc Umelá srdcová chlopňa
ES2286097T7 (es) * 2000-01-31 2009-11-05 Cook Biotech, Inc Valvulas de endoprotesis.
US6821297B2 (en) 2000-02-02 2004-11-23 Robert V. Snyders Artificial heart valve, implantation instrument and method therefor
GB2359024A (en) 2000-02-09 2001-08-15 Anson Medical Ltd Fixator for arteries
DE10010074B4 (de) 2000-02-28 2005-04-14 Fraunhofer-Gesellschaft zur Förderung der angewandten Forschung e.V. Vorrichtung zur Befestigung und Verankerung von Herzklappenprothesen
DE10010073B4 (de) 2000-02-28 2005-12-22 Fraunhofer-Gesellschaft zur Förderung der angewandten Forschung e.V. Verankerung für implantierbare Herzklappenprothesen
US6551332B1 (en) 2000-03-31 2003-04-22 Coalescent Surgical, Inc. Multiple bias surgical fastener
US6454799B1 (en) 2000-04-06 2002-09-24 Edwards Lifesciences Corporation Minimally-invasive heart valves and methods of use
US6610088B1 (en) 2000-05-03 2003-08-26 Shlomo Gabbay Biologically covered heart valve prosthesis
US6468305B1 (en) 2000-05-16 2002-10-22 St. Jude Medical, Inc. Two piece valve
WO2001087190A2 (en) 2000-05-17 2001-11-22 St. Jude Medical, Inc. Two piece bioprosthetic heart valve
US8366769B2 (en) 2000-06-01 2013-02-05 Edwards Lifesciences Corporation Low-profile, pivotable heart valve sewing ring
US6805711B2 (en) 2000-06-02 2004-10-19 3F Therapeutics, Inc. Expandable medical implant and percutaneous delivery
EP1401358B1 (en) * 2000-06-30 2016-08-17 Medtronic, Inc. Apparatus for performing a procedure on a cardiac valve
US6419696B1 (en) 2000-07-06 2002-07-16 Paul A. Spence Annuloplasty devices and related heart valve repair methods
US6846325B2 (en) 2000-09-07 2005-01-25 Viacor, Inc. Fixation band for affixing a prosthetic heart valve to tissue
US7510572B2 (en) 2000-09-12 2009-03-31 Shlomo Gabbay Implantation system for delivery of a heart valve prosthesis
WO2002022054A1 (en) 2000-09-12 2002-03-21 Gabbay S Valvular prosthesis and method of using same
US6716243B1 (en) 2000-09-13 2004-04-06 Quickie, Inc. Concentric passive knotless suture terminator
US6893459B1 (en) * 2000-09-20 2005-05-17 Ample Medical, Inc. Heart valve annulus device and method of using same
US6461382B1 (en) * 2000-09-22 2002-10-08 Edwards Lifesciences Corporation Flexible heart valve having moveable commissures
US6918917B1 (en) 2000-10-10 2005-07-19 Medtronic, Inc. Minimally invasive annuloplasty procedure and apparatus
US6776785B1 (en) 2000-10-12 2004-08-17 Cardica, Inc. Implantable superelastic anastomosis device
US6447524B1 (en) 2000-10-19 2002-09-10 Ethicon Endo-Surgery, Inc. Fastener for hernia mesh fixation
AU2001218090A1 (en) 2000-10-31 2002-05-21 East Carolina University Tissue lockable connecting structures
EP1337188B1 (en) * 2000-11-16 2012-03-07 Donald J. Hill Automatic suture fixation apparatus and method
US6974476B2 (en) 2003-05-05 2005-12-13 Rex Medical, L.P. Percutaneous aortic valve
AU2002236640A1 (en) 2000-12-15 2002-06-24 Viacor, Inc. Apparatus and method for replacing aortic valve
US20040093075A1 (en) 2000-12-15 2004-05-13 Titus Kuehne Stent with valve and method of use thereof
US6746404B2 (en) 2000-12-18 2004-06-08 Biosense, Inc. Method for anchoring a medical device between tissue
US6716244B2 (en) 2000-12-20 2004-04-06 Carbomedics, Inc. Sewing cuff assembly for heart valves
US6966925B2 (en) 2000-12-21 2005-11-22 Edwards Lifesciences Corporation Heart valve holder and method for resisting suture looping
US20020091441A1 (en) 2001-01-05 2002-07-11 Guzik Donald S. Focused beam cutting of materials
US20050182483A1 (en) 2004-02-11 2005-08-18 Cook Incorporated Percutaneously placed prosthesis with thromboresistant valve portion
US8038708B2 (en) 2001-02-05 2011-10-18 Cook Medical Technologies Llc Implantable device with remodelable material and covering material
US6770076B2 (en) 2001-02-12 2004-08-03 Opus Medical, Inc. Method and apparatus for attaching connective tissues to bone using a knotless suture anchoring device
US7326564B2 (en) 2001-02-20 2008-02-05 St. Jude Medical, Inc. Flow system for medical device evaluation and production
US20020177223A1 (en) 2001-03-12 2002-11-28 Ogle Mathew F. Methods and compositions for crosslinking tissue
US6786924B2 (en) 2001-03-15 2004-09-07 Medtronic, Inc. Annuloplasty band and method
US6503272B2 (en) 2001-03-21 2003-01-07 Cordis Corporation Stent-based venous valves
US7374571B2 (en) 2001-03-23 2008-05-20 Edwards Lifesciences Corporation Rolled minimally-invasive heart valves and methods of manufacture
US6733525B2 (en) 2001-03-23 2004-05-11 Edwards Lifesciences Corporation Rolled minimally-invasive heart valves and methods of use
DE10121210B4 (de) 2001-04-30 2005-11-17 Universitätsklinikum Freiburg Verankerungselement zur intraluminalen Verankerung eines Herzklappenersatzes und Verfahren zu seiner Herstellung
US20020173803A1 (en) 2001-05-01 2002-11-21 Stephen Ainsworth Self-closing surgical clip for tissue
US6425902B1 (en) 2001-05-04 2002-07-30 Cardiomend Llc Surgical instrument for heart valve reconstruction
US6936067B2 (en) 2001-05-17 2005-08-30 St. Jude Medical Inc. Prosthetic heart valve with slit stent
NL1018302C1 (nl) 2001-06-15 2002-07-17 Eric Berreklouw Applicator voor een prothese, samenstel omvattende een dergelijke applicator alsmede spanstelsel voor het laden van een dergelijke applicator.
FR2826863B1 (fr) 2001-07-04 2003-09-26 Jacques Seguin Ensemble permettant la mise en place d'une valve prothetique dans un conduit corporel
US7547322B2 (en) 2001-07-19 2009-06-16 The Cleveland Clinic Foundation Prosthetic valve and method for making same
US20030023302A1 (en) * 2001-07-26 2003-01-30 Riyad Moe Sewing cuff assembly for heart valves
FR2828091B1 (fr) * 2001-07-31 2003-11-21 Seguin Jacques Ensemble permettant la mise en place d'une valve prothetique dans un conduit corporel
FR2828263B1 (fr) * 2001-08-03 2007-05-11 Philipp Bonhoeffer Dispositif d'implantation d'un implant et procede d'implantation du dispositif
US8285701B2 (en) * 2001-08-03 2012-10-09 Comcast Ip Holdings I, Llc Video and digital multimedia aggregator remote content crawler
US6629988B2 (en) 2001-08-28 2003-10-07 Ethicon, Inc. Composite staple for completing an anastomosis
US7097659B2 (en) 2001-09-07 2006-08-29 Medtronic, Inc. Fixation band for affixing a prosthetic heart valve to tissue
US20030050693A1 (en) * 2001-09-10 2003-03-13 Quijano Rodolfo C. Minimally invasive delivery system for annuloplasty rings
CA2461531C (en) * 2001-09-26 2010-11-16 Edwards Lifesciences Corporation Low-profile heart valve sewing ring
US6790237B2 (en) 2001-10-09 2004-09-14 Scimed Life Systems, Inc. Medical stent with a valve and related methods of manufacturing
US6893460B2 (en) 2001-10-11 2005-05-17 Percutaneous Valve Technologies Inc. Implantable prosthetic valve
US6755857B2 (en) 2001-12-12 2004-06-29 Sulzer Carbomedics Inc. Polymer heart valve with perforated stent and sewing cuff
US7201771B2 (en) 2001-12-27 2007-04-10 Arbor Surgical Technologies, Inc. Bioprosthetic heart valve
US20030130729A1 (en) 2002-01-04 2003-07-10 David Paniagua Percutaneously implantable replacement heart valve device and method of making same
US7699059B2 (en) * 2002-01-22 2010-04-20 Cardiomems, Inc. Implantable wireless sensor
AU2003228391A1 (en) * 2002-03-30 2003-10-20 Cool Brace Intervertebral device and method of use
AU2003228528A1 (en) 2002-04-16 2003-11-03 Viacor, Inc. Method and apparatus for resecting and replacing an aortic valve
US20030199974A1 (en) 2002-04-18 2003-10-23 Coalescent Surgical, Inc. Annuloplasty apparatus and methods
US8721713B2 (en) 2002-04-23 2014-05-13 Medtronic, Inc. System for implanting a replacement valve
US20030199971A1 (en) 2002-04-23 2003-10-23 Numed, Inc. Biological replacement valve assembly
US7141064B2 (en) 2002-05-08 2006-11-28 Edwards Lifesciences Corporation Compressed tissue for heart valve leaflets
EP1507492A1 (en) * 2002-05-10 2005-02-23 Cordis Corporation Method of making a medical device having a thin wall tubular membrane over a structural frame
US20030229394A1 (en) 2002-06-06 2003-12-11 Ogle Matthew F. Processed tissue for medical device formation
US7172625B2 (en) * 2002-07-16 2007-02-06 Medtronic, Inc. Suturing rings for implantable heart valve prostheses
US7578843B2 (en) * 2002-07-16 2009-08-25 Medtronic, Inc. Heart valve prosthesis
US7959674B2 (en) 2002-07-16 2011-06-14 Medtronic, Inc. Suture locking assembly and method of use
US20040024452A1 (en) 2002-08-02 2004-02-05 Kruse Steven D. Valved prostheses with preformed tissue leaflets
US7041132B2 (en) * 2002-08-16 2006-05-09 3F Therapeutics, Inc, Percutaneously delivered heart valve and delivery means thereof
US6875231B2 (en) 2002-09-11 2005-04-05 3F Therapeutics, Inc. Percutaneously deliverable heart valve
US8066724B2 (en) 2002-09-12 2011-11-29 Medtronic, Inc. Anastomosis apparatus and methods
US7137184B2 (en) 2002-09-20 2006-11-21 Edwards Lifesciences Corporation Continuous heart valve support frame and method of manufacture
US8105345B2 (en) 2002-10-04 2012-01-31 Medtronic, Inc. Anastomosis apparatus and methods
US8551162B2 (en) 2002-12-20 2013-10-08 Medtronic, Inc. Biologically implantable prosthesis
US7037343B2 (en) 2002-12-23 2006-05-02 Python, Inc. Stomach prosthesis
US6830585B1 (en) 2003-01-14 2004-12-14 3F Therapeutics, Inc. Percutaneously deliverable heart valve and methods of implantation
US7399315B2 (en) 2003-03-18 2008-07-15 Edwards Lifescience Corporation Minimally-invasive heart valve with cusp positioners
US6873902B2 (en) 2003-03-27 2005-03-29 Snap-On Incorporated Non-intrusive method of measuring engine operating parameters
US20050107871A1 (en) 2003-03-30 2005-05-19 Fidel Realyvasquez Apparatus and methods for valve repair
US20050075659A1 (en) 2003-03-30 2005-04-07 Fidel Realyvasquez Apparatus and methods for minimally invasive valve surgery
US7159593B2 (en) 2003-04-17 2007-01-09 3F Therapeutics, Inc. Methods for reduction of pressure effects of cardiac tricuspid valve regurgitation
US7175656B2 (en) 2003-04-18 2007-02-13 Alexander Khairkhahan Percutaneous transcatheter heart valve replacement
EP1615595B1 (en) 2003-04-24 2009-10-21 Cook Incorporated Artificial valve prosthesis with improved flow dynamics
US20040225356A1 (en) 2003-05-09 2004-11-11 Frater Robert W. Flexible heart valve
WO2005004753A1 (en) 2003-06-09 2005-01-20 3F Therapeutics, Inc. Atrioventricular heart valve and minimally invasive delivery systems thereof
US7429269B2 (en) 2003-07-08 2008-09-30 Ventor Technologies Ltd. Aortic prosthetic devices
US7201772B2 (en) 2003-07-08 2007-04-10 Ventor Technologies, Ltd. Fluid flow prosthetic device
US7621948B2 (en) * 2003-07-21 2009-11-24 The Trustees Of The University Of Pennsylvania Percutaneous heart valve
US7182769B2 (en) * 2003-07-25 2007-02-27 Medtronic, Inc. Sealing clip, delivery systems, and methods
DE10334868B4 (de) 2003-07-29 2013-10-17 Pfm Medical Ag Implantierbare Einrichtung als Organklappenersatz, dessen Herstellungsverfahren sowie Grundkörper und Membranelement dafür
US7153324B2 (en) * 2003-07-31 2006-12-26 Cook Incorporated Prosthetic valve devices and methods of making such devices
US8021421B2 (en) * 2003-08-22 2011-09-20 Medtronic, Inc. Prosthesis heart valve fixturing device
US20050043749A1 (en) * 2003-08-22 2005-02-24 Coalescent Surgical, Inc. Eversion apparatus and methods
EG24012A (en) 2003-09-24 2008-03-23 Wael Mohamed Nabil Lotfy Valved balloon stent
US8394114B2 (en) 2003-09-26 2013-03-12 Medtronic, Inc. Surgical connection apparatus and methods
US20050066454A1 (en) 2003-09-30 2005-03-31 Stulc Leonard J. Black colorant compound and methods of making and using same
US7044966B2 (en) 2003-10-06 2006-05-16 3F Therapeutics, Inc. Minimally invasive valve replacement system
US7556647B2 (en) 2003-10-08 2009-07-07 Arbor Surgical Technologies, Inc. Attachment device and methods of using the same
ITBO20030631A1 (it) 2003-10-23 2005-04-24 Roberto Erminio Parravicini Apparecchiatura protesica valvolare, in particolare per applicazioni cardiache.
US7070616B2 (en) 2003-10-31 2006-07-04 Cordis Corporation Implantable valvular prosthesis
US7134184B2 (en) 2003-11-12 2006-11-14 Headway Technologies, Inc. Process of manufacturing a narrow track CCP head with bias cancellation
US7879047B2 (en) 2003-12-10 2011-02-01 Medtronic, Inc. Surgical connection apparatus and methods
US7186265B2 (en) * 2003-12-10 2007-03-06 Medtronic, Inc. Prosthetic cardiac valves and systems and methods for implanting thereof
US7261732B2 (en) 2003-12-22 2007-08-28 Henri Justino Stent mounted valve
US20050137691A1 (en) 2003-12-23 2005-06-23 Sadra Medical Two piece heart valve and anchor
US8182528B2 (en) 2003-12-23 2012-05-22 Sadra Medical, Inc. Locking heart valve anchor
US7959666B2 (en) 2003-12-23 2011-06-14 Sadra Medical, Inc. Methods and apparatus for endovascularly replacing a heart valve
US7445631B2 (en) 2003-12-23 2008-11-04 Sadra Medical, Inc. Methods and apparatus for endovascularly replacing a patient's heart valve
US8840663B2 (en) 2003-12-23 2014-09-23 Sadra Medical, Inc. Repositionable heart valve method
US8603160B2 (en) 2003-12-23 2013-12-10 Sadra Medical, Inc. Method of using a retrievable heart valve anchor with a sheath
US9526609B2 (en) 2003-12-23 2016-12-27 Boston Scientific Scimed, Inc. Methods and apparatus for endovascularly replacing a patient's heart valve
US7780725B2 (en) 2004-06-16 2010-08-24 Sadra Medical, Inc. Everting heart valve
US20050137686A1 (en) * 2003-12-23 2005-06-23 Sadra Medical, A Delaware Corporation Externally expandable heart valve anchor and method
US7381219B2 (en) 2003-12-23 2008-06-03 Sadra Medical, Inc. Low profile heart valve and delivery system
US8246675B2 (en) 2003-12-23 2012-08-21 Laboratoires Perouse Kit for implanting in a duct
CN100589779C (zh) 2003-12-23 2010-02-17 萨德拉医学公司 可再定位的心脏瓣膜
US20050137687A1 (en) 2003-12-23 2005-06-23 Sadra Medical Heart valve anchor and method
US20050137694A1 (en) 2003-12-23 2005-06-23 Haug Ulrich R. Methods and apparatus for endovascularly replacing a patient's heart valve
US20050137696A1 (en) 2003-12-23 2005-06-23 Sadra Medical Apparatus and methods for protecting against embolization during endovascular heart valve replacement
US8828078B2 (en) 2003-12-23 2014-09-09 Sadra Medical, Inc. Methods and apparatus for endovascular heart valve replacement comprising tissue grasping elements
US7597711B2 (en) 2004-01-26 2009-10-06 Arbor Surgical Technologies, Inc. Heart valve assembly with slidable coupling connections
US7572289B2 (en) 2004-01-27 2009-08-11 Med Institute, Inc. Anchoring barb for attachment to a medical prosthesis
AU2005213458B2 (en) 2004-02-05 2010-04-22 Children's Medical Center Corporation Transcatheter delivery of a replacement heart valve
US7311730B2 (en) 2004-02-13 2007-12-25 Shlomo Gabbay Support apparatus and heart valve prosthesis for sutureless implantation
CA2557657C (en) 2004-02-27 2013-06-18 Aortx, Inc. Prosthetic heart valve delivery systems and methods
NL1025830C2 (nl) 2004-03-26 2005-02-22 Eric Berreklouw Samenstel omvattende een ring voor bevestiging in een door lichaamsweefsel omgeven doorgang alsmede een applicator voor het in de doorgang plaatsen van de ring.
US20050222674A1 (en) 2004-03-31 2005-10-06 Med Institute, Inc. Endoluminal graft with a prosthetic valve
US20050234545A1 (en) 2004-04-19 2005-10-20 Yea-Yang Su Amorphous oxide surface film for metallic implantable devices and method for production thereof
WO2005102015A2 (en) 2004-04-23 2005-11-03 3F Therapeutics, Inc. Implantable prosthetic valve
US20060122692A1 (en) 2004-05-10 2006-06-08 Ran Gilad Stent valve and method of using same
CN100368963C (zh) * 2004-05-31 2008-02-13 诺基亚公司 将表意字符输入到设备中的方法和装置
US20060052867A1 (en) 2004-09-07 2006-03-09 Medtronic, Inc Replacement prosthetic heart valve, system and method of implant
WO2006032051A2 (en) 2004-09-14 2006-03-23 Edwards Lifesciences Ag Device and method for treatment of heart valve regurgitation
WO2006041505A1 (en) 2004-10-02 2006-04-20 Huber Christoph Hans Methods and devices for repair or replacement of heart valves or adjacent tissue without the need for full cardiopulmonary support
US20060085060A1 (en) 2004-10-15 2006-04-20 Campbell Louis A Methods and apparatus for coupling an allograft tissue valve and graft
US7641687B2 (en) 2004-11-02 2010-01-05 Carbomedics Inc. Attachment of a sewing cuff to a heart valve
WO2006055982A2 (en) 2004-11-22 2006-05-26 Avvrx Ring-shaped valve prosthesis attachment device
US20060122634A1 (en) 2004-12-03 2006-06-08 Ino Takashi H Apparatus and method for delivering fasteners during valve replacement
US7758640B2 (en) 2004-12-16 2010-07-20 Valvexchange Inc. Cardiovascular valve assembly
US7575594B2 (en) 2004-12-30 2009-08-18 Sieracki Jeffrey M Shock dampening biocompatible valve
US7989157B2 (en) 2005-01-11 2011-08-02 Medtronic, Inc. Solution for storing bioprosthetic tissue used in a biological prosthesis
JP2008528117A (ja) 2005-01-21 2008-07-31 イノビア,リミティド ライアビリティー カンパニー ステント弁及びこれと共に使用する配置カテーテル
AU2006212750B2 (en) 2005-02-07 2011-11-17 Evalve, Inc. Methods, systems and devices for cardiac valve repair
EP1850796B1 (en) 2005-02-18 2015-12-09 The Cleveland Clinic Foundation Apparatus for replacing a cardiac valve
US8083793B2 (en) * 2005-02-28 2011-12-27 Medtronic, Inc. Two piece heart valves including multiple lobe valves and methods for implanting them
US20060195186A1 (en) 2005-02-28 2006-08-31 Drews Michael J Connectors for two piece heart valves and methods for implanting such heart valves
US7513909B2 (en) 2005-04-08 2009-04-07 Arbor Surgical Technologies, Inc. Two-piece prosthetic valves with snap-in connection and methods for use
WO2006113876A2 (en) 2005-04-19 2006-10-26 Qualcomm Incorporated Connection failure reporting in wireless communication systems
US20060259135A1 (en) 2005-04-20 2006-11-16 The Cleveland Clinic Foundation Apparatus and method for replacing a cardiac valve
SE531468C2 (sv) 2005-04-21 2009-04-14 Edwards Lifesciences Ag En anordning för styrning av blodflöde
US7914569B2 (en) 2005-05-13 2011-03-29 Medtronics Corevalve Llc Heart valve prosthesis and methods of manufacture and use
US20060271172A1 (en) 2005-05-16 2006-11-30 Hassan Tehrani Minimally Invasive Aortic Valve Replacement
EP2901967B1 (en) 2005-05-24 2019-10-02 Edwards Lifesciences Corporation Rapid deployment prosthetic heart valve
EP1895942B1 (en) * 2005-05-27 2020-05-13 Medtronic, Inc. Gasket with collar for prosthetic heart valves
US7238200B2 (en) 2005-06-03 2007-07-03 Arbor Surgical Technologies, Inc. Apparatus and methods for making leaflets and valve prostheses including such leaflets
WO2007006057A1 (en) 2005-07-06 2007-01-11 The Cleveland Clinic Foundation Apparatus and method for replacing a cardiac valve
US20070016288A1 (en) * 2005-07-13 2007-01-18 Gurskis Donnell W Two-piece percutaneous prosthetic heart valves and methods for making and using them
GB0516561D0 (en) 2005-08-12 2005-09-21 Technetix Group Ltd Signal splitter
WO2007025028A1 (en) 2005-08-25 2007-03-01 The Cleveland Clinic Foundation Percutaneous atrioventricular valve and method of use
WO2007023661A1 (ja) 2005-08-26 2007-03-01 Konami Digital Entertainment Co., Ltd. ゲーム媒体投入機構
WO2007038540A1 (en) 2005-09-26 2007-04-05 Medtronic, Inc. Prosthetic cardiac and venous valves
US20070129794A1 (en) 2005-10-05 2007-06-07 Fidel Realyvasquez Method and apparatus for prosthesis attachment using discrete elements
US20070095698A1 (en) 2005-10-14 2007-05-03 Cambron Ronald E Apparatus for storing biological prostheses
DE102005051849B4 (de) 2005-10-28 2010-01-21 JenaValve Technology Inc., Wilmington Vorrichtung zur Implantation und Befestigung von Herzklappenprothesen
DE102005052628B4 (de) 2005-11-04 2014-06-05 Jenavalve Technology Inc. Selbstexpandierendes, flexibles Drahtgeflecht mit integrierter Klappenprothese für den transvaskulären Herzklappenersatz und ein System mit einer solchen Vorrichtung und einem Einführkatheter
WO2007067942A1 (en) 2005-12-07 2007-06-14 Arbor Surgical Technologies, Inc. Connection systems for two piece prosthetic heart valve assemblies
US20070142907A1 (en) 2005-12-16 2007-06-21 Micardia Corporation Adjustable prosthetic valve implant
US20070213813A1 (en) 2005-12-22 2007-09-13 Symetis Sa Stent-valves for valve replacement and associated methods and systems for surgery
US7967857B2 (en) 2006-01-27 2011-06-28 Medtronic, Inc. Gasket with spring collar for prosthetic heart valves and methods for making and using them
US8147541B2 (en) 2006-02-27 2012-04-03 Aortx, Inc. Methods and devices for delivery of prosthetic heart valves and other prosthetics
EP1998719A1 (en) 2006-03-10 2008-12-10 Arbor Surgical Technologies, Inc. Valve introducers and methods for making and using them
US7625403B2 (en) 2006-04-04 2009-12-01 Medtronic Vascular, Inc. Valved conduit designed for subsequent catheter delivered valve therapy
US7740655B2 (en) 2006-04-06 2010-06-22 Medtronic Vascular, Inc. Reinforced surgical conduit for implantation of a stented valve therein
US7591848B2 (en) 2006-04-06 2009-09-22 Medtronic Vascular, Inc. Riveted stent valve for percutaneous use
US20070239269A1 (en) 2006-04-07 2007-10-11 Medtronic Vascular, Inc. Stented Valve Having Dull Struts
WO2007130881A2 (en) 2006-04-29 2007-11-15 Arbor Surgical Technologies, Inc. Multiple component prosthetic heart valve assemblies and apparatus and methods for delivering them
WO2007130880A1 (en) * 2006-04-29 2007-11-15 Arbor Surgical Technologies, Inc Guide shields for multiple component prosthetic heart valve assemblies and apparatus and methods for using them
EP2298243A1 (en) 2006-06-20 2011-03-23 AorTx, Inc. Prosthetic heart valves, support structures and systems and methods for implanting the same
US20080004696A1 (en) * 2006-06-29 2008-01-03 Valvexchange Inc. Cardiovascular valve assembly with resizable docking station
US20080097595A1 (en) 2006-08-22 2008-04-24 Shlomo Gabbay Intraventricular cardiac prosthesis
US8052750B2 (en) 2006-09-19 2011-11-08 Medtronic Ventor Technologies Ltd Valve prosthesis fixation techniques using sandwiching
US8147504B2 (en) 2007-05-05 2012-04-03 Medtronic, Inc. Apparatus and methods for delivering fasteners during valve replacement
US20090112233A1 (en) 2007-10-30 2009-04-30 Medtronic Vascular, Inc. Prosthesis Fixation Apparatus and Methods
US7993395B2 (en) 2008-01-25 2011-08-09 Medtronic, Inc. Set of annuloplasty devices with varying anterior-posterior ratios and related methods
US20090192604A1 (en) 2008-01-25 2009-07-30 Medtronic, Inc. Sizer, Holder and Delivery Devices for Minimally Invasive Cardiac Surgery
US8177836B2 (en) 2008-03-10 2012-05-15 Medtronic, Inc. Apparatus and methods for minimally invasive valve repair
WO2009149215A1 (en) 2008-06-05 2009-12-10 Arbor Surgical Technologies, Inc. Connection systems for two piece prosthetic heart valve assemblies and methods for making and using them
US7954688B2 (en) * 2008-08-22 2011-06-07 Medtronic, Inc. Endovascular stapling apparatus and methods of use
EP2358308B1 (en) 2008-09-15 2019-11-27 Medtronic, Inc. Tools for remodeling tissue
US9980818B2 (en) 2009-03-31 2018-05-29 Edwards Lifesciences Corporation Prosthetic heart valve system with positioning markers

Also Published As

Publication number Publication date
US8551162B2 (en) 2013-10-08
EP1585463B1 (en) 2016-03-09
JP5386664B2 (ja) 2014-01-15
US20050240263A1 (en) 2005-10-27
US20040122514A1 (en) 2004-06-24
US20190336277A1 (en) 2019-11-07
EP1585463A2 (en) 2005-10-19
US20110257737A1 (en) 2011-10-20
JP2006511279A (ja) 2006-04-06
EP2476394B1 (en) 2013-11-20
US20040122516A1 (en) 2004-06-24
AU2003299886A1 (en) 2004-07-22
EP1585463A4 (en) 2006-09-06
US8025695B2 (en) 2011-09-27
JP2010246957A (ja) 2010-11-04
US20140088697A1 (en) 2014-03-27
WO2004058106A2 (en) 2004-07-15
EP2476394A1 (en) 2012-07-18
US20120053688A1 (en) 2012-03-01
US8623080B2 (en) 2014-01-07
US7981153B2 (en) 2011-07-19
US6939365B1 (en) 2005-09-06
US9333078B2 (en) 2016-05-10
US20160250021A1 (en) 2016-09-01
CA2509211C (en) 2014-07-15
US8460373B2 (en) 2013-06-11
WO2004058106A3 (en) 2004-08-19
US10595991B2 (en) 2020-03-24
CA2509211A1 (en) 2004-07-15

Similar Documents

Publication Publication Date Title
JP4635122B2 (ja) 生物学的に植え込み可能なプロテーゼおよびその使用方法
US11364117B2 (en) Braid connections for prosthetic heart valves
US10813748B2 (en) Transcatheter valve replacement
US20050043760A1 (en) Prosthesis fixturing device and methods of using the same
US6312465B1 (en) Heart valve prosthesis with a resiliently deformable retaining member
US5683402A (en) Flexible suture guide and holder
US20020133226A1 (en) Holder for flexible heart valve
US20060229718A1 (en) Stress absorbing flexible heart valve frame

Legal Events

Date Code Title Description
A521 Request for written amendment filed

Free format text: JAPANESE INTERMEDIATE CODE: A523

Effective date: 20061219

A621 Written request for application examination

Free format text: JAPANESE INTERMEDIATE CODE: A621

Effective date: 20061219

A131 Notification of reasons for refusal

Free format text: JAPANESE INTERMEDIATE CODE: A131

Effective date: 20090331

A601 Written request for extension of time

Free format text: JAPANESE INTERMEDIATE CODE: A601

Effective date: 20090629

A602 Written permission of extension of time

Free format text: JAPANESE INTERMEDIATE CODE: A602

Effective date: 20090706

A601 Written request for extension of time

Free format text: JAPANESE INTERMEDIATE CODE: A601

Effective date: 20090729

A602 Written permission of extension of time

Free format text: JAPANESE INTERMEDIATE CODE: A602

Effective date: 20090805

A601 Written request for extension of time

Free format text: JAPANESE INTERMEDIATE CODE: A601

Effective date: 20090831

A602 Written permission of extension of time

Free format text: JAPANESE INTERMEDIATE CODE: A602

Effective date: 20090907

A521 Request for written amendment filed

Free format text: JAPANESE INTERMEDIATE CODE: A523

Effective date: 20090930

A131 Notification of reasons for refusal

Free format text: JAPANESE INTERMEDIATE CODE: A131

Effective date: 20100216

A601 Written request for extension of time

Free format text: JAPANESE INTERMEDIATE CODE: A601

Effective date: 20100514

A602 Written permission of extension of time

Free format text: JAPANESE INTERMEDIATE CODE: A602

Effective date: 20100521

A601 Written request for extension of time

Free format text: JAPANESE INTERMEDIATE CODE: A601

Effective date: 20100616

A602 Written permission of extension of time

Free format text: JAPANESE INTERMEDIATE CODE: A602

Effective date: 20100623

A521 Request for written amendment filed

Free format text: JAPANESE INTERMEDIATE CODE: A523

Effective date: 20100701

TRDD Decision of grant or rejection written
A01 Written decision to grant a patent or to grant a registration (utility model)

Free format text: JAPANESE INTERMEDIATE CODE: A01

Effective date: 20100803

A711 Notification of change in applicant

Free format text: JAPANESE INTERMEDIATE CODE: A711

Effective date: 20100902

A61 First payment of annual fees (during grant procedure)

Free format text: JAPANESE INTERMEDIATE CODE: A61

Effective date: 20100902

FPAY Renewal fee payment (event date is renewal date of database)

Free format text: PAYMENT UNTIL: 20131203

Year of fee payment: 3

R150 Certificate of patent or registration of utility model

Ref document number: 4635122

Country of ref document: JP

Free format text: JAPANESE INTERMEDIATE CODE: R150

Free format text: JAPANESE INTERMEDIATE CODE: R150

R250 Receipt of annual fees

Free format text: JAPANESE INTERMEDIATE CODE: R250

R250 Receipt of annual fees

Free format text: JAPANESE INTERMEDIATE CODE: R250

R250 Receipt of annual fees

Free format text: JAPANESE INTERMEDIATE CODE: R250

R250 Receipt of annual fees

Free format text: JAPANESE INTERMEDIATE CODE: R250

R250 Receipt of annual fees

Free format text: JAPANESE INTERMEDIATE CODE: R250

R250 Receipt of annual fees

Free format text: JAPANESE INTERMEDIATE CODE: R250

R250 Receipt of annual fees

Free format text: JAPANESE INTERMEDIATE CODE: R250

R250 Receipt of annual fees

Free format text: JAPANESE INTERMEDIATE CODE: R250

R250 Receipt of annual fees

Free format text: JAPANESE INTERMEDIATE CODE: R250

LAPS Cancellation because of no payment of annual fees