JP4574080B2 - 鋼管杭に対する鉄筋設置用カプラの溶接用金具 - Google Patents

鋼管杭に対する鉄筋設置用カプラの溶接用金具 Download PDF

Info

Publication number
JP4574080B2
JP4574080B2 JP2001237185A JP2001237185A JP4574080B2 JP 4574080 B2 JP4574080 B2 JP 4574080B2 JP 2001237185 A JP2001237185 A JP 2001237185A JP 2001237185 A JP2001237185 A JP 2001237185A JP 4574080 B2 JP4574080 B2 JP 4574080B2
Authority
JP
Japan
Prior art keywords
coupler
welding
steel pipe
pipe pile
reinforcing bar
Prior art date
Legal status (The legal status is an assumption and is not a legal conclusion. Google has not performed a legal analysis and makes no representation as to the accuracy of the status listed.)
Expired - Fee Related
Application number
JP2001237185A
Other languages
English (en)
Other versions
JP2003049437A (ja
Inventor
秀樹 林
祥人 内海
Original Assignee
岡部株式会社
Priority date (The priority date is an assumption and is not a legal conclusion. Google has not performed a legal analysis and makes no representation as to the accuracy of the date listed.)
Filing date
Publication date
Application filed by 岡部株式会社 filed Critical 岡部株式会社
Priority to JP2001237185A priority Critical patent/JP4574080B2/ja
Publication of JP2003049437A publication Critical patent/JP2003049437A/ja
Application granted granted Critical
Publication of JP4574080B2 publication Critical patent/JP4574080B2/ja
Anticipated expiration legal-status Critical
Expired - Fee Related legal-status Critical Current

Links

Images

Landscapes

  • Foundations (AREA)

Description

【0001】
【発明の属する技術分野】
本発明は、構造物の基礎杭として用いられる鋼管杭の杭頭部分に鉄筋設置用のカプラを溶接する際に使用する鉄筋設置用カプラの溶接用金具に関する。
【0002】
【従来の技術】
構造物の基礎杭の設置に関しては、その基礎杭の杭頭部分に鉄筋を固着して構造物側の基礎フーチング等と結合することにより、基礎杭と構造物とを連結する方法が広く採用されている。鋼管杭の杭頭部分に対する鉄筋の設置方法として、その杭頭部分の外周部に鉄筋を直接溶接するものが最も単純な形態として知られている。しかしながら、現場での本溶接作業には、すみ肉溶接の初層欠陥を起さずに的確な溶接強度を得るため、高度の溶接技術が要求されるとともに、作業負担も大きいといった問題があった。そこで、杭頭部分にリング状の取付用部材を溶接して、鉄筋の設置作業の容易化を図ったものも開示されている(特開平10−46604号公報)。しかしながら、この従来技術は、リング状の取付用部材自体が特殊な形状を有しており、その製造加工にコストがかかるだけでなく、鋼管杭の直径の変化に対する融通性がないという大きな欠点があった。さらに、鋼管杭の杭頭部分の外周部に鉄筋設置用のカプラをボルトナットにより締付け固定するものも開示されている(特開平10−245855号公報)。しかしながら、この従来技術も、カプラをボルトナットを用いて鋼管杭の外周部に締付け固定する固着形態を採用しているため、カプラの内面形状が鋼管杭の外周面の形状と正確に一致しない場合には、両者間に隙間が生じて応力伝達が的確に行われず、鉄筋に関する所期の設置強度が得られないという技術的な難点を抱えていた。また、いうまでもなく鋼管杭の直径の変化に対する融通性がない点では、前記従来例と同様の欠点をもっていた。
【0003】
【発明が解決しようとする課題】
本発明は、以上のような従来技術の状況に鑑みて開発したものであり、鋼管杭の直径等の外形に対する融通性及び鋼管杭との的確な応力伝達という観点から、鋼管杭の外周部にカプラを溶接して鉄筋を設置することを前提に、そのカプラの溶接作業の容易化を図り、かつ良好な溶接結果が安定的に得られる鉄筋設置用カプラの溶接用金具を提供することを目的とするものである。
【0004】
【課題を解決するための手段】
本発明では、前記課題を解決するため、鉄筋設置用のカプラの外面に当接して、該カプラと鋼管杭の表面との間に所定の間隙を形成するコ字状部と、前記カプラの長手方向の適宜部分と係止するように前記コ字状部の両端部に形成した係止片部とから前記カプラの溶接用金具を構成し、それらのコ字状部と両係止片部にてカプラを位置決めすることにより、鉄筋設置用のカプラを鋼管杭の表面から浮かした状態で溶接するという技術手段を採用した。本溶接用金具を使用してカプラの溶接を実施する場合には、カプラが鋼管杭の表面から浮いた状態で溶接が行われることから、従来のように鋼管杭の表面に直接溶接する場合に伴うすみ肉溶接の初層欠陥は容易に回避することができる。また、カプラを鋼管杭の表面から浮かした状態で溶接することから、鋼管杭の表面との密着性の問題から解放されるので、鋼管杭の外形やカプラの外形による影響は殆どなくなり、それらの外形に関する融通性が大幅に向上される。さらに、本溶接用金具は、カプラの位置決め手段としてだけでなく、前記コ字状部の両端部に形成した係止片部をエンドタブとして機能させることも可能なことから、溶融金属の流出が防止され更に良好な溶接結果を安定的に得ることが可能である。なお、前記カプラの少なくとも一端部に、その端面より内側に段差部を形成するとともに、前記溶接用金具の係止片部にその段差部に係止し得る凹部を形成し、該凹部に前記段差部を係止させることにより、カプラの端面より内側で支持するように構成すれば、溶接部分がカプラの端面まで達する危険がより確実に防止され、カプラの端面や鉄筋の挿入部に溶融金属が被ることは的確に回避されるので、溶接時の溶融金属により、カプラに対する鉄筋の挿入作業が阻害されたり、カプラの端面に対するロックナットの締付け状態が低下したりする問題は解消される。
【0005】
【発明の実施の形態】
本発明は、基礎杭として鋼管杭を使用する形態に広く適用できる。円筒状の鋼管杭のほか、他の形状の鋼管杭の場合に対しても広く適用できる。また、カプラ側の外形に関しても限定されることなく広く適用できる。また、カプラの結合方式、すなわちネジ結合により鉄筋をカプラに設置する等の結合方式に関しても、限定されることなく種々の形態に広く適用できる。溶接用金具を構成するコ字状部の立上がり壁は、厳密にコ字状を形成する必要はなく、カプラの支持に適し、かつ溶接時に裏当て金として機能し得るものであれば、多少の傾斜等の変形は差支えない。また、そのコ字状部の立上がり壁の高さ等の寸法に関しては、溶接に適したカプラと鋼管杭の表面との間の間隙の大きさなどに応じて自由に決定することができる。コ字状部の端部に形成する係止片部に関しては、カプラの端面に係止するように設定してもよいし、カプラの中間に設けた溝部等の適宜の係止部に係止するように設定してもよい。さらに、以下の実施例にも例示するように、カプラの端部に設けた段差部に係止するように設定してもよい。なお、本発明に係る溶接用金具は、鋼管杭に対してカプラを溶接する際に使用してもよいし、カプラの溶接に先行して予め鋼管杭に対して仮止めしておいてもよい。
【0006】
【実施例】
以下、図面を用いて本発明の実施例に関して説明する。図1は本発明の一実施例に係る溶接用金具を示した斜視図である。図中1は、本実施例に係る溶接用金具で、コ字状に折曲げ形成した立上がり壁2a,2bを備えるコ字状部2と、該コ字状部2の両端部に折曲げ形成した係止片部3,4から構成される。なお、本実施例では、一方の係止片部4に凹部5を形成している。この溶接用金具1は、図2に示した折曲げ加工前の板状素材6を折曲げ線7〜10に沿って折曲げ加工することによって形成される。すなわち、折曲げ線7,8に沿って折曲げることによりコ字状部2を形成し、折曲げ線9,10に沿って折曲げることにより係止片部3,4を形成する。なお、板状素材6には、予め切込み11〜14及び前記凹部5を形成しておく。
【0007】
図3〜5はカプラを示したもので、図3はその正面図、図4は右側面図、図5は左側面図である。図示のように、本実施例では、六角形のカプラ15を用いる場合を例示した。カプラ15の中央部には、鉄筋が螺合可能な雌ネジ16が形成されている。また、一方の端部には、その端面17より内側に段差部18を設けて円筒状の突出部19を形成している。
【0008】
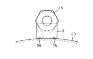
次に本実施例に係る溶接用金具1の使用の仕方に関して説明する。図6〜8は溶接用金具1を用いてカプラ15を支持した状態を示したもので、図6はその正面図、図7は右側面図、図8は左側面図である。カプラ15の溶接作業に当っては、鋼管杭20上の所定位置に溶接用金具1をセットし、その上にカプラ15をセットする。なお、この場合、図6のように鋼管杭20を水平状態にすれば、その鋼管杭20上に溶接用金具1を載置して、その上にカプラ15を載置することにより、カプラ15を簡便に所定位置にセットできる。カプラ15を溶接用金具1上にセットする際には、一方の係止片部3をカプラ15の端面に係止し、他方の係止片部4に形成された凹部5をカプラ15の他方の端部に形成した段差部18に係止することにより、カプラ15の長手方向の位置決めを行う。また、カプラ15の六角面の一面をコ字状部2を構成する立上がり壁2a,2bの端部に当接するように載置することにより、カプラ15の高さ、すなわち鋼管杭20との間隙を設定する。以上により、カプラ15のセット作業は終了するが、本溶接作業の前に、必要に応じてカプラ15を溶接用金具1に仮止めすることも有効である。なお、溶接用金具1を予め鋼管杭20の所定位置に仮止めしておけば、鋼管杭20を垂直状態に立てた状態でもカプラ15の溶接が可能になる。
【0009】
しかして、カプラ15の本溶接作業では、カプラ15は鋼管杭20の表面から浮いた状態にあり、しかもコ字状部2を構成する立上がり壁2a,2bが裏当て金として機能するので、鋼管杭20の表面に直接溶接する場合に伴うすみ肉溶接の初層欠陥は容易に回避することができるとともに、のど厚を大きくとれることから、強固な溶接状態が簡便に得られる。また、コ字状部2の両端部に形成した係止片部3,4をエンドタブとして機能させることも可能なことから、カプラ15の端部からの溶融金属の流出が防止され、更に良好な溶接結果を安定的に得ることが可能である。この場合、図9に示したように、係止片部3,4の両側部21〜24を変形して、カプラ15の端面ないし段差部18との間に間隙が形成されるように構成すれば、それらのカプラ15の端面ないし段差部18から外側に外れた位置から溶接を開始することが可能になるので、更に良好な溶接状態が簡便に得られるようになる。なお、円筒状の鋼管杭20の場合には、その鋼管杭20の表面と係止片部3,4の下面との間に形成される間隙が溶接時のガス抜き用の間隙として機能するが、図10に示したように、係止片部3,4の下部に積極的にガス抜き用の切欠部25,26を設けることもきわめて有効である。
【0010】
以上のように、本発明に係る溶接用金具1を使用すれば、カプラ15の溶接強度が的確かつ安定的に得られることから、従来のように安全をみてカプラ15を余分に長く設定する必要はなくなり、しかも溶接強度の増大が可能なことから、カプラ15の全長を縮小することも可能である。さらに、本実施例では、一方の係止片部4に形成された凹部5をカプラ15の端部に形成した段差部18に係止することにより、カプラ15の端面17より内側で支持するようにしたので、溶融金属がカプラ15の端面17まで達する危険は確実に防止されることから、カプラ15の端面17や鉄筋の挿入部である雌ネジ16に溶融金属が被ることは的確に避けられる。したがって、溶接時の溶融金属により、カプラ15に対する鉄筋の挿入作業が阻害されたり、鉄筋をロックナットにより固定する場合にカプラの端面17に対する締付け状態が低下するといった問題は解消される。
【0011】
【発明の効果】
本発明によれば、次の効果を得ることができる。
(1)本発明に係る溶接用金具を使用してカプラの溶接を実施する場合には、カプラが鋼管杭の表面から浮いた状態で溶接が行われ、しかもコ字状部を構成する立上がり壁が裏当て金として機能することから、従来のように鋼管杭の表面に直接溶接する場合に伴うすみ肉溶接の初層欠陥は容易に回避することができるとともに、のど厚を大きくとれることから、強固な溶接状態が簡便かつ安定的に得られる。
(2)カプラを鋼管杭の表面から浮かした状態で溶接することから、鋼管杭の表面との密着性の問題から解放されるので、鋼管杭の外形やカプラの外形による影響は殆どなくなり、それらの外形に関する融通性が大幅に向上される。
(3)前記溶接用金具は、カプラの位置決め手段としてだけでなく、前記コ字状部の両端部に形成した係止片部をエンドタブとして機能させることも可能なことから、溶融金属の流出が防止され更に良好な溶接結果を安定的に得ることが可能である。
(4)カプラの少なくとも一端部に、その端面より内側に段差部を形成するとともに、前記溶接用金具の係止片部にその段差部に係止し得る凹部を形成し、該凹部に前記段差部を係止させることにより、カプラの端面より内側で支持するように構成すれば、溶接部分がカプラの端面まで達する危険がより確実に防止され、カプラの端面や鉄筋の挿入部に溶融金属が被ることは的確に回避されるので、溶接時の溶融金属により、カプラに対する鉄筋の挿入作業が阻害されたり、カプラの端面に対するロックナットの締付け状態が低下したりする問題は解消される。
【図面の簡単な説明】
【図1】本発明の実施例に係る溶接用金具を示した斜視図である。
【図2】同溶接用金具の折曲げ加工前の板状素材を示した素材図である。
【図3】カプラを示した正面図である。
【図4】同右側面図である。
【図5】同左側面図である。
【図6】溶接用金具によるカプラの支持状態を示した正面図である。
【図7】同右側面図である。
【図8】同左側面図である。
【図9】前記実施例の変形例を示した平面図である。
【図10】前記実施例の他の変形例を示した右側面図である。
【符号の説明】
1…溶接用金具、2…コ字状部、2a,2b…立上がり壁、3,4…係止片部、5…凹部、6…板状素材、7〜10…折曲げ線、11〜14…切込み、15…カプラ、16…雌ネジ、17…端面、18…段差部、19…突出部、20…鋼管杭、21〜24…係止片部の両側部、25,26…ガス抜き用の切欠部25,26

Claims (2)

  1. 鉄筋設置用のカプラの外面に当接して、該カプラと鋼管杭の表面との間に所定の間隙を形成するコ字状部と、前記カプラの長手方向の適宜部分と係止するように前記コ字状部の両端部に形成した係止片部とからなり、それらのコ字状部と両係止片部にてカプラを位置決めすることにより、鉄筋設置用のカプラを鋼管杭の表面から浮かした状態で溶接し得るように構成したことを特徴とする鋼管杭に対する鉄筋設置用カプラの溶接用金具。
  2. 前記鉄筋設置用のカプラの少なくとも一端部に、その端面より内側に段差部を形成するとともに、前記係止片部にその段差部に係止し得る凹部を形成し、該凹部に前記段差部を係止させることにより、カプラの端面より内側で支持するように構成したことを特徴とする請求項1に記載の鋼管杭に対する鉄筋設置用カプラの溶接用金具。
JP2001237185A 2001-08-03 2001-08-03 鋼管杭に対する鉄筋設置用カプラの溶接用金具 Expired - Fee Related JP4574080B2 (ja)

Priority Applications (1)

Application Number Priority Date Filing Date Title
JP2001237185A JP4574080B2 (ja) 2001-08-03 2001-08-03 鋼管杭に対する鉄筋設置用カプラの溶接用金具

Applications Claiming Priority (1)

Application Number Priority Date Filing Date Title
JP2001237185A JP4574080B2 (ja) 2001-08-03 2001-08-03 鋼管杭に対する鉄筋設置用カプラの溶接用金具

Publications (2)

Publication Number Publication Date
JP2003049437A JP2003049437A (ja) 2003-02-21
JP4574080B2 true JP4574080B2 (ja) 2010-11-04

Family

ID=19068310

Family Applications (1)

Application Number Title Priority Date Filing Date
JP2001237185A Expired - Fee Related JP4574080B2 (ja) 2001-08-03 2001-08-03 鋼管杭に対する鉄筋設置用カプラの溶接用金具

Country Status (1)

Country Link
JP (1) JP4574080B2 (ja)

Families Citing this family (2)

* Cited by examiner, † Cited by third party
Publication number Priority date Publication date Assignee Title
JP4342254B2 (ja) * 2002-09-13 2009-10-14 岡部株式会社 鋼管杭用鉄筋接続具を用いた鋼管杭と鉄筋の接合構造及び鋼管杭への鉄筋の接合方法
JP6027391B2 (ja) * 2012-10-19 2016-11-16 岡部株式会社 杭頭接合構造

Family Cites Families (5)

* Cited by examiner, † Cited by third party
Publication number Priority date Publication date Assignee Title
JPS62153418A (ja) * 1985-12-26 1987-07-08 Noguchi Kenchiku Jimusho:Kk 鉄筋接続具付のくい
JP4048552B2 (ja) * 1998-03-04 2008-02-20 東京鐵鋼株式会社 鋼管杭の杭頭アンカー筋の施工方法
JP2001011871A (ja) * 1999-06-28 2001-01-16 Masayo Tanaka 既製杭の突起式金具による杭頭端部構造
JP4440402B2 (ja) * 1999-12-28 2010-03-24 岡部株式会社 鋼管杭の頭部に対する定着用鉄筋の固定構造及びその定着用鉄筋付きの鋼管杭
JP4110729B2 (ja) * 2000-10-11 2008-07-02 住友金属工業株式会社 基礎杭頭部の構造

Also Published As

Publication number Publication date
JP2003049437A (ja) 2003-02-21

Similar Documents

Publication Publication Date Title
JP5817958B2 (ja) 溶接継手の変形抑制部材とこの変形抑制部材を用いた変形抑制方法
JP4574080B2 (ja) 鋼管杭に対する鉄筋設置用カプラの溶接用金具
JP4541858B2 (ja) 合成セグメントの製造方法
JP5164778B2 (ja) 杭頭接合構造
JP3755088B2 (ja) 鋼板ブロック工法及び同工法の実施に使用する間隔調整機構を備えた鋼板ブロック
JP4842093B2 (ja) フラットプレート構築方法
JP2001098684A (ja) 型枠固定構造
JP4342254B2 (ja) 鋼管杭用鉄筋接続具を用いた鋼管杭と鉄筋の接合構造及び鋼管杭への鉄筋の接合方法
JP3392522B2 (ja) 鋼材と鉄板とのフレア部溶接方法
JP3604225B2 (ja) 建築構造物補強用鋼板の仮止め装置
JP3554955B2 (ja) 永久型枠の取り付け構造
JP3779907B2 (ja) プレキャスト基礎の据付治具及び据付方法
JP3211723B2 (ja) デッキ受梁の端部固定方法
CN223621238U (zh) 一种剪力墙根部模板系统
JP4239394B2 (ja) 基礎杭頭部の構造
JP7565121B1 (ja) 連結金具セット、及び連結方法
JP7653682B2 (ja) 型枠緊結金具、型枠構造および型枠構造の構築方法
JP5442336B2 (ja) 鉄筋コンクリート製大梁と鉄骨製小梁の接合構造
JP4007907B2 (ja) セパレータボルト連結具及び連結構造
JPH0748812Y2 (ja) デッキ材支持金具
JP3104570U (ja) カーテンウォールの取付装置
JP2001182079A (ja) 鋼管杭の頭部に対する定着用鉄筋の固定構造及びその定着用鉄筋付きの鋼管杭
JP2000087453A (ja) 柱あるいは壁と梁あるいは版の接合構造およびその施工方法
JP2665650B2 (ja) ジョイナ連結具付きタイトフレーム
JP2009114839A (ja) 鉄筋ブロックにおける鉄筋の配置取付方法および固定用部品

Legal Events

Date Code Title Description
A621 Written request for application examination

Free format text: JAPANESE INTERMEDIATE CODE: A621

Effective date: 20080605

A977 Report on retrieval

Free format text: JAPANESE INTERMEDIATE CODE: A971007

Effective date: 20100805

TRDD Decision of grant or rejection written
A01 Written decision to grant a patent or to grant a registration (utility model)

Free format text: JAPANESE INTERMEDIATE CODE: A01

Effective date: 20100813

A01 Written decision to grant a patent or to grant a registration (utility model)

Free format text: JAPANESE INTERMEDIATE CODE: A01

A61 First payment of annual fees (during grant procedure)

Free format text: JAPANESE INTERMEDIATE CODE: A61

Effective date: 20100818

R150 Certificate of patent or registration of utility model

Free format text: JAPANESE INTERMEDIATE CODE: R150

FPAY Renewal fee payment (event date is renewal date of database)

Free format text: PAYMENT UNTIL: 20130827

Year of fee payment: 3

LAPS Cancellation because of no payment of annual fees