JP4488872B2 - 位相同期回路及び半導体集積回路装置 - Google Patents

位相同期回路及び半導体集積回路装置 Download PDF

Info

Publication number
JP4488872B2
JP4488872B2 JP2004343661A JP2004343661A JP4488872B2 JP 4488872 B2 JP4488872 B2 JP 4488872B2 JP 2004343661 A JP2004343661 A JP 2004343661A JP 2004343661 A JP2004343661 A JP 2004343661A JP 4488872 B2 JP4488872 B2 JP 4488872B2
Authority
JP
Japan
Prior art keywords
delay
clock signal
phase
circuit
time
Prior art date
Legal status (The legal status is an assumption and is not a legal conclusion. Google has not performed a legal analysis and makes no representation as to the accuracy of the status listed.)
Expired - Fee Related
Application number
JP2004343661A
Other languages
English (en)
Other versions
JP2006157357A (ja
Inventor
靖彦 佐々木
Current Assignee (The listed assignees may be inaccurate. Google has not performed a legal analysis and makes no representation or warranty as to the accuracy of the list.)
Renesas Technology Corp
Original Assignee
Renesas Technology Corp
Priority date (The priority date is an assumption and is not a legal conclusion. Google has not performed a legal analysis and makes no representation as to the accuracy of the date listed.)
Filing date
Publication date
Application filed by Renesas Technology Corp filed Critical Renesas Technology Corp
Priority to JP2004343661A priority Critical patent/JP4488872B2/ja
Priority to US11/288,176 priority patent/US7253670B2/en
Publication of JP2006157357A publication Critical patent/JP2006157357A/ja
Application granted granted Critical
Publication of JP4488872B2 publication Critical patent/JP4488872B2/ja
Anticipated expiration legal-status Critical
Expired - Fee Related legal-status Critical Current

Links

Images

Classifications

    • HELECTRICITY
    • H03ELECTRONIC CIRCUITRY
    • H03LAUTOMATIC CONTROL, STARTING, SYNCHRONISATION OR STABILISATION OF GENERATORS OF ELECTRONIC OSCILLATIONS OR PULSES
    • H03L7/00Automatic control of frequency or phase; Synchronisation
    • HELECTRICITY
    • H03ELECTRONIC CIRCUITRY
    • H03KPULSE TECHNIQUE
    • H03K5/00Manipulating of pulses not covered by one of the other main groups of this subclass
    • H03K5/13Arrangements having a single output and transforming input signals into pulses delivered at desired time intervals
    • H03K5/135Arrangements having a single output and transforming input signals into pulses delivered at desired time intervals by the use of time reference signals, e.g. clock signals

Landscapes

  • Physics & Mathematics (AREA)
  • Nonlinear Science (AREA)
  • Stabilization Of Oscillater, Synchronisation, Frequency Synthesizers (AREA)
  • Manipulation Of Pulses (AREA)
  • Dram (AREA)

Description

本発明は、位相同期回路及び半導体集積回路装置に関し、特にマイクロプロセッサ、マイクロコントローラ、信号処理プロセッサ、画像処理プロセッサ、音声処理プロセッサ、及びDRAM(Dynamic Random Access Memory)、SRAM(Static Random Access Memory)、フラッシュメモリなどの各種メモリなどに利用されるDLL(Delay Locked Loop)回路の構成に適用して有効な技術に関するものである。
一般に、半導体集積回路装置は、半導体チップ内部と半導体チップ外部の信号のやりとりを正確に行うために、チップ内外での信号の時間的な同期をとる必要がある。このような同期には、半導体チップの外部から入力されたクロック(またはストローブ)信号の遷移時刻と一定のタイミング関係を保つように、精度良くその遷移時刻が制御された内部クロック(または内部ストローブ)信号を生成し、この内部クロック信号をデータ信号の取得に利用するといったことが広く行われている。
このような位相同期回路の目的は、チップ内外の信号の受け渡しでタイミングを調整し、データの値の取得ミスなど好ましくない影響を最小限に抑えることである。ここでは一般に、位相が同期するまでの時間に関して、より短い時間でこの位相同期が完了することが望ましい。
一方、半導体チップコストを削減するという目的から、できるだけ小さなチップ占有面積、又は、少ない素子数やゲート数で実現することが好ましい。
さらに、携帯機器などの応用を考えた場合、又は、低コストのパッケージの利用を考えた場合、より少ない電力(動作時、待機時の電力)で動作することが望ましい。
このような位相同期回路に関わる技術として、例えば以下のような技術が開示されている。
非特許文献1では、2本の遅延列FDA,BDAを互いに逆向きに並列に並べ、その間に制御回路MCCを2本の遅延列に並列に並べ、遅延列BDAの出力に接続されているクロックドライバと同じ遅延時間を持つ負荷回路をあらかじめダミーとして設計し、遅延列FDAの入力に接続する構成をとっている。この回路は、遅延列FDAと制御回路MCCから遅延列FDA内で位相が同期する位置を検出し、遅延列BDAの同じ位置からクロックを入力して遅延列FDAと逆向きにクロックを伝達することで、2サイクル遅れで位相が同期するという高速同期を実現している。
また、特許文献1では、可変遅延素子と固定遅延素子を組み合わせて、少ない遅延段数により同期回路を構成する例が示されている。可変遅延素子は、電源電圧を制御してその遅延時間を変化させるものである。
非特許文献1 、特許文献1のいずれにおいても、同期回路内部で生成される遅延時間は、入力として与えられる基準信号のクロック周期に等しい時間、あるいはその整数倍の時間だけ、内外の信号の遷移(立ち上りあるいは立ち下り)時刻差が揃うように制御されるものである。
特開2002−152018号公報 「アイ・イー・イー・イー・ジャーナル・オブ・ソリッドステート・サーキッツ(IEEE Journal of Solid−state Circuits)」、(米国)、1996年11月、第31巻、第11号、p.1656−1668
ところで、前記のような位相同期回路の技術について、本発明者が検討した結果、以下のようなことが明らかとなった。
図2に、本発明者が本発明の前提として検討した位相同期回路の一例を示す。
図2に示す位相同期回路は、計測回路201と遅延生成回路202の回路ブロック2個より構成される。計測回路201と遅延生成回路202のそれぞれは、遅延時間計測用の遅延列212(以下、「計測遅延列」と呼ぶ)と、遅延クロック信号生成用の遅延列213(以下、「生成遅延列」と呼ぶ)とを備えている。計測遅延列212と生成遅延列213のそれぞれは、遅延時間(D1)が同一の複数の遅延素子211,207から構成されている。
また、計測回路201は、複数の位相比較器209からなる位相比較器列214を備えており、位相調整用の固定遅延素子(Ddmy)210を介して、第1のクロック信号203を計測遅延列に通過させた信号と第2のクロック信号204との間の位相が一致したかどうかを決定する位相比較機構を有するものである。また、遅延生成回路202は、収束回路208と第4のクロック信号を出力する出力バッファ108を備えている。
計測回路201に入力された第1のクロック信号203は、位相調整用の固定遅延素子210を通過後、遅延素子211の集合として構成される計測遅延列212へと進行していく。そして、各遅延素子211からの出力は各位相比較器209へと出力される。
一方、第2のクロック信号204は位相比較器209のそれぞれに入力される(図では表記の関係上、左方からの入力として記述してあるが、全ての位相比較器に入力されている。これは本明細書の以下の記載の全ての図において共通である)。各位相比較器209では、上記2つの入力の間での位相関係により一致/不一致の信号を生成する。生成された一致/不一致の信号は遅延生成回路202へと出力される。
遅延生成回路202には、計測回路201における遅延素子211と同一の時間(D1)だけ信号を遅延させる複数の遅延素子207があり、これらが一連となり生成遅延列213が構成されている。この生成遅延列213には、第3のクロック信号205が入力されており、その信号は計測回路201から出力された一致信号の出力された位置の段(以下、「位相一致段」と呼ぶ)からのみ有意な信号が出力される。そして、この有意な信号を含む全ての段からの信号はこれらを束ねる収束回路208により一つの出力となり、出力バッファ108を通過して、所望の第4のクロック信号206となる。
収束回路208は、図2のような構成においては、典型的には多入力OR回路として実現される。計測回路201における位相調整用の固定遅延素子210は、収束回路208及び出力バッファ108などの遅延時間を補償するように構成される。
一般に、外部条件の変動や素子の特性ばらつきなどが存在するが、これらの変動、ばらつきにかかわらず正しく動作するために、計測遅延列212と生成遅延列213はある一定の遅延段数を有しており、いずれの条件においても正しく動作するように構成される。
以上のような構成により、第3のクロック信号205は、第1のクロック信号203及び第2のクロック信号204の時間差に等しい時間だけ遅延されて第4のクロック信号206となるものである。
さて、このような構成の問題点は、動作させる周波数範囲を広げると回路規模が増大するというものである。すなわち、動作周波数の範囲が最も高い場合に必要となる位相の一致精度を満足させるようにするためには、計測遅延列212及び生成遅延列213内部の遅延素子211の遅延時間(D1)を短くする必要がある。
しかし、このようにして決定される遅延時間の遅延素子を用いて最も低い周波数の時の段数を決定する場合、その動作周波数範囲が広いと非常に多数の遅延素子段数を必要とすることになる。遅延素子の段数が多いと位相比較器も同様に多数必要となるため、素子数やゲート数が増加してしまうこととなる。また、これはチップ上の面積や電力を増加させることにつながる。
また、非特許文献1に示される位相同期回路は、動作させる周波数範囲を広げると回路規模が増大するという問題点がある。すなわち、動作周波数の範囲が最も高い場合に必要となる位相の一致精度を満足させるようにすると、遅延列内部の遅延素子段数1段当たりの遅延時間を短くする必要がある。しかし、このようにして決定される遅延時間の遅延素子を用いて最も低い周波数の時の段数を決定する場合、その動作周波数範囲が広いと非常に多数の遅延素子段数を必要とすることになる。遅延素子の段数が多いと位相比較器も同様に多数必要となるため、素子数やゲート数が増加してしまうという問題がある。これは位相同期回路のチップ上の面積や電力を増加させることにつながる。
また、特許文献1に示される位相同期回路は、固定遅延素子と可変遅延素子との構成を組み合わせるため遅延素子段数の数を少なくできるものの、可変遅延素子を構成するためには電源電圧を制御するといった回路機構が必要となるため、位相同期までの時間が長くなる問題点がある。すなわち、電源電圧が所望のレベルに落ち着くまで、少しずつ電圧を上下させて調整する必要があるからである。また、このような制御機構は発振しないようにするために、いわゆるPLL(Phase Locked Loop)回路で利用されるものと同等のフィルタ素子を用いるといったことが必要となり、これらの素子が回路面積や電力を大きくするといった問題がある。さらに、このような制御回路はいわゆるアナログ回路であるため、製造プロセスの影響が大きく、プロセス変更のために再度素子調整が必要になるといった問題もある。
そこで、本発明の目的は、動作周波数範囲を広げても、チップ上の占有面積、ゲート数、電力を増加させることなく、さらに位相同期を短い時間で完了する(高速ロックさせる)ことが可能な位相同期回路を提供することにある。
また、本発明の他の目的は、製造プロセスの影響を受けにくい位相同期回路を提供することにある。
また、本発明の他の目的は、入力として与えられる基準信号のクロック周期に等しい時間、あるいはその整数倍の時間だけ内外の信号遷移時刻が揃うように内部遅延時間を生成するのに限らず、上記クロック周期の一定分の1または一定倍(すなわち整数倍に限らない)時間差に遷移時刻が揃うように内部遅延時間を生成することが可能な回路を提供することにある。
本発明の前記並びにその他の目的と新規な特徴は、本明細書の記述及び添付図面から明らかになるであろう。
本願において開示される発明のうち、代表的なものの概要を簡単に説明すれば、次のとおりである。
すなわち、本発明による位相同期回路は、遅延時間の異なる複数の遅延素子を含み、第1のクロック信号が入力される第1の遅延列と、その第1の遅延列に対応して複数の位相比較器を含み、第1の遅延列からの信号及び第2のクロック信号が入力され、第1のクロック信号と第2のクロック信号との遷移時間差を計測する位相比較器列と、第1の遅延列に対応して遅延時間の異なる複数の遅延素子を含み、位相比較器列からの信号及び第3のクロック信号が入力される第2の遅延列とを有し、遅延素子のそれぞれの遅延時間は固定であることを特徴とするものである。なお、第1の遅延列は、第1のクロック信号が早く到達する初段側の遅延素子の遅延時間が小さく、第1のクロック信号が遅く到達する後段側の遅延素子の遅延時間が大きいことが好ましい。
また、本発明による位相同期回路は、複数の遅延素子を含み、第1のクロック信号が入力される第1の遅延列と、その第1の遅延列に対応して複数の位相比較器を含み、第1の遅延列からの信号及び第2のクロック信号が入力され、第1のクロック信号と第2のクロック信号との遷移時間差を計測する位相比較器列と、第1の遅延列に対応して複数の遅延素子を含み、位相比較器列からの信号及び第3のクロック信号が入力される第2の遅延列とを有し、第1の遅延列に含まれる遅延素子の遅延時間と第2の遅延列に含まれる遅延素子の遅延時間との比率はそれぞれ一定であることを特徴とするものである。なお、その比率を1以外の比率をとることにより、定数倍の遅延クロック信号を得ることができる。
また、本発明による半導体集積回路装置は、上記位相同期回路を含むものである。
本願において開示される発明のうち、代表的なものによって得られる効果を簡単に説明すれば、以下のとおりである。
本発明の位相同期回路によれば、動作周波数範囲が広くても、素子数やゲート数が少なく、電力も小さいにもかかわらず短い時間で同期を完了させることが可能となる。
以下、本発明の実施の形態を図面に基づいて詳細に説明する。なお、実施の形態を説明するための全図において、同一部材には原則として同一の符号を付し、その繰り返しの説明は省略する。
(実施の形態1)
図1は本発明の実施の形態1による位相同期回路の基本的構成を示すブロック図である。
まず、図1により、本実施の形態1による位相同期回路の基本的構成の一例を説明する。本実施の形態1の位相同期回路は、例えばDLLとされ、計測回路101と遅延生成回路102などから構成される。計測回路101は、位相調整用の固定遅延素子110(遅延時間;Ddmy)と、それぞれ遅延時間の異なる遅延素子(遅延時間;G1,G2,G3,G4)を含む複数の遅延段111,112,113,114を一列に繋げた遅延時間計測用の計測遅延列119と、複数の位相比較器109を一列に繋げた位相比較器列121などから構成される。遅延生成回路102は、計測遅延列119に対応してそれぞれ遅延時間の異なる遅延素子(遅延時間;G1,G2,G3,G4)を含む遅延段115,116,117,118を一列に繋げた遅延クロック信号(第4のクロック信号)生成用の生成遅延列120、収束回路107、出力バッファ108などから構成される。位相調整用の固定遅延素子110は、収束回路107及び出力バッファ108などの遅延時間を補償するように構成される。また、生成遅延列120の内部に存在する遅延段115,116,117,118は、計測遅延列119の内部に存在する遅延段111,112,113,114と同じ時間(G1,G2,G3,G4)だけ信号を遅延させる回路である。
計測回路101内の計測遅延列119には、固定遅延素子110を介して第1のクロック信号103が入力されている。また、遅延生成回路102内の生成遅延列120には、第3のクロック信号105が入力されている。そして、計測遅延列119及び生成遅延列120において、第1のクロック信号103が相対的に早く到達する初段側の遅延段111では、その遅延素子の単位遅延時間(G1)が短くなるように設定され、また、第1のクロック信号103が順次遅く到達する後段側の遅延段(112,113,114の順)では、その単位遅延時間(G2,G3,G4)が長くなるように設定される(G1<G2<G3<G4)。また、位相比較器列121には第2のクロック信号が入力され、遅延生成回路102からは第4のクロック信号(遅延クロック信号)が出力される。
図3は、図1による位相同期回路の計測遅延列119及び生成遅延列120の具体的構成例を示す図である。図3に示す構成例では、計測遅延列119において、遅延段111は2個の遅延素子311(単位遅延時間;D1)から構成され、遅延段112は2個の遅延素子312(単位遅延時間;2・D1)から構成され、遅延段113は3個の遅延素子313(単位遅延時間;4・D1)から構成され、遅延段114は3個の遅延素子314(単位遅延時間;8・D1)から構成されており、初段側から後段側に向かって、順次、単位遅延時間を長く設定する。生成遅延列120の遅延段115,116,117,118も同じにする。
本実施の形態1による位相同期回路は、図1及び図3に示されるような第1のクロック信号(基準クロック信号1)103及び第2のクロック信号(基準クロック信号2)104を入力として受け取り、これら2つの信号の遷移時刻(立ち上り時刻対、又は立ち下り時刻対)の時間差に等しい時間だけ、第3のクロック信号(生成入力クロック信号)105を遅延させた第4のクロック信号(生成出力クロック信号)106 を生成するものである。
なお、第1のクロック信号103と第2のクロック信号104は独立した信号であってもよいし、同一の信号又はその分配信号であってもよい。一般に、素子の性能は、半導体のチップ別により、また温度や電圧の変動などの外部条件により、変動するものである。位相同期回路はこのような変動が存在しても、所望の生成出力クロック信号を生成できなければならない。
次に、本実施の形態1による位相同期回路の作用効果について説明する。
まず、動作周波数が高い場合の動作から説明する。動作周波数範囲が高い場合、周波数の逆数である単位周期時間(以下、「サイクルタイム」と呼ぶ)は、短い時間となる。従って、位相同期回路が生成する遅延時間は同様に短い遅延時間となる。すなわち、第1のクロック信号103と第2のクロック信号104との時間差は比較的短い時間となる。
従って、位相一致段は複数の遅延段における第1のクロック信号103が相対的に早く到達する側となる。一般に、第3のクロック信号105と第4のクロック信号106との間の時間差が第1のクロック信号103と第2のクロック信号104との時間差に等しくなるように位相同期回路は動作することが必要である。
しかし、この第3のクロック信号105と第4のクロック信号106との間の遷移時間差の誤差(以下、「ジッタ」と呼ぶ)は、このサイクルタイムに対して一定の水準(比率)を満たすように小さな値でなければならない。動作周波数範囲が高い場合、このサイクルタイムも短いため、上記ジッタの許容時間も十分に小さい必要がある。
図1に示す本実施の形態1による構成では、第1のクロック信号103が相対的に早く到達する初段側の遅延段111の遅延素子は、その単位遅延時間が短くなるように設定されているため、位相一致を判断する最小単位は短くなる。従って、ジッタの許容時間を満たすことが可能となる。
他方、動作周波数が低い場合の動作を示すと以下のようになる。動作周波数が低い場合、サイクルタイムが長いため、上記ジッタの許容時間は相対的に大きな時間となる。本実施の形態1の構成によれば、第1のクロック信号103が遅く到達する後段側の遅延段(112,113,114の順)の遅延素子は、順次その単位遅延時間が長くなるように設定されている。ジッタ許容時間は動作周波数が低くなるに従い長くなるため、位相一致を判断する最小単位が大きくなっても本実施の形態1によれば位相合わせの精度劣化は起こらない。
上記のような高い動作周波数と低い動作周波数の双方の動作を行う位相同期回路を考えた場合、従来の位相同期回路では遅延段数が増加していたのに対し、本実施の形態1による位相同期回路では、遅延段数を大幅に削減することができる。
すなわち、従来の位相同期回路では、単一の単位遅延時間をもつ遅延素子により計測遅延列及び生成遅延列が構成されていたため、ジッタの許容時間を満たすためには、高い動作周波数で許容時間(短い遅延時間)を満足させるように単位遅延時間を設定しなければならないこととなる。
従って、低い動作周波数で動作させる場合であっても、同様に短い遅延時間単位での位相合わせを行うこととなる。これは、本来、低い動作周波数でのジッタの許容時間より相対的に大きい時間であるにもかかわらず、短い時間単位での位相合わせを行っているため、外部条件の変動や素子の特性ばらつきなどが存在しても正しく動作するためには、非常に多くの遅延段数を必要とする。
本実施の形態1では、低い動作周波数では、本来、そのジッタの許容時間が相対的に長くてもよいことを利用し、低い動作周波数のときに位相合わせを行う部分に対応する計測遅延列119及び生成遅延列120における単位遅延量を大きく設定することにより、遅延段数を削減することが可能となる。遅延段数が削減されると、これに従いゲート数も削減され、これがチップの占有面積および電力の削減にもつながる。
しかも、本実施の形態1による位相同期回路は、低電力化に関し、別の優位点も存在する。すなわち、位相の同期が完了するまでの時間について考えると、位相比較器109への2つの入力が準備された次のサイクルで位相一致/不一致信号が生成され、その結果の段数を用いて第4のクロック信号106が出るまでの時間でよいため、典型的には1〜数サイクルで同期が完了(ロック)することが可能である。
このため、位相同期回路を頻繁に動作及び停止しても、同期までの復帰時間に影響を与えないことになる。このような特徴は、非常に低電力で動作させることが必要なシステムにおいて有益である。
なぜなら、通常、PLLなどの同期回路は同期完了までの時間が長いため、クロック同期の復帰の時間がかかるという問題がある。そのため、システム本来の動作が行われていない状況でも停止することができない。これに対し、本実施の形態1による位相同期回路では、このような問題が存在しないため、頻繁に動作及び停止を行うことが可能であり、低電力システムを構成するにふさわしい。
図5は、本実施の形態1による位相同期回路の詳細構成を示す回路図である。図5に示す計測遅延列と生成遅延列では、単位遅延素子としてインバータゲートを2段用いたインバータ遅延503,504,505,508,509,510(図中でインバータ記号図の中に「2」と記されたもの)を遅延素子としている。なお、インバータゲートを用いることは必須ではなく、NANDゲート、ANDゲート、NORゲート、ORゲートなどの各種ゲートを単位遅延素子として用いることが可能である。また、このような論理ゲートに限らず、一定の遅延をもつ回路であればいかなる回路でも用いることができる。
図5において、計測回路513内の計測遅延列は、遅延素子の単位遅延時間が異なる2つの遅延段501,502により構成されている。第1のクロック信号103の入力に近い側の遅延段501は単位遅延時間がインバータ遅延503の1段分である。一方、入力から遠い側の遅延段502では、単位遅延時間がインバータ遅延504,505の2段分となっている。このような構成では、低い周波数での動作においては、位相一致の比較が高い周波数での動作時より大きな時間単位で行われることになるのは、前述のとおりである。しかし、そのサイクルタイムに対する比率で見た場合、クロック信号の周波数が低いためにジッタの許容時間における劣化はない。
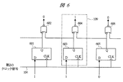
図6に、図5における位相比較器109の一例を示す。この位相比較器109は、フリップフロップ601,603,605、及び前段と次段の間の論理をとるゲートとして1つの入力を反転した後もう一つの入力とのNORをとるゲート602,604,606により構成されている。このようなゲートを用いれば、フリップフロップ601,603,605が第2のクロック信号104の遷移までに計測遅延段からの出力の遷移が間に合った場合の境目の段のみ“1”を出力し、他の出力は“0”であるような信号を生成し、これを遅延生成回路514に受け渡すことが可能である。
今、位相比較器109の回路規模を考えてみると、一般にフリップフロップ回路は素子数がインバータなどのゲートに比較して非常に大きく、さらに図6にあるように段間のゲートも必要であるため、位相比較器109は位相同期回路における素子数としても非常に大きな値を占めることになることがわかる。本実施の形態1では、従来と比較して遅延素子の段数が少なくて済むため、位相比較器109の個数も少なくてよいこととなり、素子数やチップ面積、電力などの面でより小さな回路を構成できることになる。
図5及び図6で示したように、本実施の形態1の位相同期回路は、その構成要素を全ていわゆるデジタル回路のみで構成することが可能である。このような場合に、従来のアナログ回路を用いて構成していたような位相同期回路と異なり、デバイスを製造するときに用いられるプロセスの変動に対して動作耐性が強いために、プロセスごとに再設計する工数が著しく削減されるという利点がある。
また、アナログ的な制御に必要とされる安定化時間(例えばアナログ回路を用いたPLLでのロックまでの時間となる、電圧制御発振器の電圧安定化時間など)が不要となり、デジタル回路として出力を決めるサイクルタイムの数倍以下の時間でロックさせることが可能になるという利点も有する。
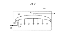
図7は、図5に示す位相調整用の固定遅延素子110の構成の一例を示す回路図である。図7に示すように固定遅延素子110の内部には、第3のクロック信号105が遅延されて第4のクロック信号106として出力されるまでに進行する経路において、生成遅延列内部の遅延素子以外で通過する回路が擬似的に再現されている。
図7においては、位相一致段のみを有効にする収束回路としてのANDゲート701と多入力OR回路702、及び出力バッファ703が再現されている。すなわち、ANDゲート701はANDゲート511に対応し、多入力OR回路702は多入力OR回路512に対応し、出力バッファ703は出力バッファ108に対応する等価回路となっている。
(実施の形態2)
図4は、本発明の実施の形態2による位相同期回路の基本的構成を示すブロック図である。
本実施の形態2による位相同期回路は、クロック信号周期の一定倍分の1または一定倍(すなわち整数倍に限らない)時間差に遷移時刻が揃うように内部遅延時間を生成することが可能な回路である。
すなわち、本実施の形態2による位相同期回路は、計測遅延列と生成遅延列の内部において、位相の一致/不一致の信号を受け渡しする同一の遅延段におけるそれぞれの遅延素子の遅延時間の大きさを同じ値とする代わりに、ある一定の比率関係を保つように設定するものである。
例えば、計測遅延列における単位遅延時間を生成遅延列における単位遅延時間の2倍にしたり、逆に半分にしたりして一定の比率関係をもたせるものである。さらに、遅延列にとどまらず、位相調整用の固定遅延素子に関しても、同一遅延生成時における位相補償で必要な遅延時間に対して、この一定の比率関係を保つように設定することが必要である。図4はこのような構成の一例を示したものである。
図4(a)は、生成される遅延が、第1のクロック信号と第2のクロック信号との時間差の3倍の時間である場合、また、図4(b)は、生成される遅延が第1のクロック信号と第2のクロック信号との時間差の半分の時間である場合の構成を示している。
本実施の形態2による位相同期回路は、計測回路401と遅延生成回路402などから構成される。計測回路401は、位相調整用の固定遅延素子410と、それぞれ遅延時間が同一の遅延素子411を一列に繋げた遅延時間計測用の計測遅延列419と、複数の位相比較器109を一列に繋げた位相比較器列421などから構成される。遅延生成回路402は、計測遅延列419に対応してそれぞれ一定比率の遅延時間を持つ遅延素子407を一列に繋げた生成遅延列420、収束回路408、出力バッファ108などから構成される。
この位相同期回路において、計測遅延列419を構成する遅延素子411と生成遅延列420を構成する遅延素子407とは一定の比率の関係にあり、また、位相調整用の固定遅延素子410は、同一遅延生成時における位相補償で必要な遅延時間に対して一定比率となっている。すなわち、図4(a)では、一定比率とは、計測遅延列対生成遅延列で1対3の関係にある。この場合、位相調整用の固定遅延素子410は同一遅延生成時における位相補償で必要な遅延時間の1/3に設定されている。また、図4(b)では、一定比率とは、計測遅延列対生成遅延列で2対1の関係にあり、この場合、位相調整用の固定遅延素子は同一遅延生成時における位相補償で必要な遅延時間の2倍に設定されている。
図4のような構成では、第1のクロック信号と第2のクロック信号間の時間差と同一でないものの、その時間差に対して、一定の比率関係を持つように位相同期が行えるのは以下に順次示すとおりである。
すなわち、図4(a)の例においては、第1のクロック信号が入力されると、その信号は、まず位相調整用の固定遅延素子410で遅延される。この固定遅延素子410においては、出力バッファ108や収束回路408で付加される遅延の1/3の時間(1/3Ddmy)だけ遅延される。次にこの信号は、計測遅延列419に挿入されて進行していく。複数の位相比較器109からなる位相比較器列421は、第2のクロック信号104と、計測遅延列419の複数の遅延素子411の段からの出力との間で位相の一致を検出するべく動作する。位相が一致した段においてはその一致信号を遅延生成回路402へと出力する。一方、遅延生成回路402では、第3のクロック信号105が上記位相一致段までの段数だけ生成遅延列420を通過する。従って、単位遅延時間(ここでは計測遅延列419における遅延素子411の遅延時間の3倍の時間)に一致段数だけ乗じた分の時間だけ遅延される。さらに、この信号は収束回路408と出力バッファ108を通過するため、それぞれの通過時間だけ遅延されて、最後に第4のクロック信号106として出力される。
さて、上記の場合、第1のクロック信号と第2のクロック信号の間の時間差(Dtgt)と、第3のクロック信号と第4のクロック信号の間の時間差(Dgen)にどのような関係が成立するかを以下に示す。計測遅延列419における単位遅延時間をD1、収束回路408における遅延時間をDc、出力バッファ108における遅延時間をDoとする。
前記図2に示した同一時間生成の場合における位相調整用の固定遅延素子210の遅延時間(Ddmy)は、時間Dcと時間Doの和となる。すなわち、Ddmy=Dc+Doとなる。ただし、これら以外にも遅延生成回路202において、第3のクロックに対して何がしかの付加的な遅延を与える回路を通過する場合は、その遅延時間も加えられることになる。しかし、本例では理解を容易にするために時間Dc及び時間Doだけの場合を示す。
図4(a)において、計測遅延列419の位相一致段までの段数Sdは以下のようになる。
Sd=(Dtgt−Ddmy/3)/D1=(Dtgt−(Dc+ Do)/3)/D1 式(1)
一方、第3のクロック信号は、まず、この段数を単位遅延時間に乗じた時間だけ遅延される。このように位相一致段までの遅延時間をT1とすると、
T1=Sd・3・D1=3・(Dtgt−(Dc+ Do)/3)=3・Dtgt−(Dc+ Do) 式(2)
さらに、この信号は収束回路408と出力バッファ108を通過するため、総和の遅延時間Dgenは、以下のようになる。
Dgen=T1+Dc+Do=3・Dtgt 式(3)
以上の式(3)を見れば分かるように、第3のクロック信号と第4の力クロック信号の間の時間差は、第1のクロック信号と第2のクロック信号の間の時間差の3倍の時間になることが確認できる。
図4(b)の例でも同様に、第3のクロック信号と第4のクロック信号の間の時間差は、第1のクロック信号と第2クロック信号の間の時間差の半分の時間になることは容易に確認できる。
図8は、本実施の形態2による位相同期回路の詳細構成を示す回路図である。図8は図4(b)の構成のように、第1のクロック信号と第2のクロック信号の間の時間差と同一ではなく、上記2つの信号の時間差と一定の比率関係として1/2倍の関係にある時間差だけ第3のクロック信号を遅らせて第4のクロック信号を出力する回路の例を示したものである。計測遅延列419と生成遅延列420では、それぞれ、遅延素子の単位遅延回路としてインバータ遅延が用いているが、これに限らないことは先に述べたとおりである。
さて、計測遅延列419では、遅延素子411の遅延時間はインバータ遅延の2段分となっている。一方、生成遅延列420では、遅延素子407の遅延時間はインバータ遅延の1段分となっている。さらに、位相調整用の固定遅延素子410の遅延時間は、第1及び第2のクロック信号間の時間差と同一の時間を生成する場合の2倍の遅延時間(2・Ddmy)となるように設定される。このような時間は、信号が図7で示した回路を2回通過するようにして実現できる。
次に、上記の場合、第1及び第2のクロック信号間の時間差(Dtgt)と、第3及び第4のクロック信号間の時間差(Dgen)にどのような関係が成立するかを以下に示す。計測遅延列419におけるインバータ遅延の単位遅延時間をD1、収束回路408における遅延時間をDc、出力バッファ108における遅延時間をDoとする。前述のように図2に示した同一時間生成の場合の位相調整用の固定遅延素子210の遅延時間(Ddmy)は、DcとDoの時間の和となる(すなわち、Ddmy = Dc + Do)。まず、計測遅延列の位相一致段までの段数Sdは以下のようになる。
Sd=(Dtgt−2・Ddmy)/(2・D1)=(Dtgt−2・(Dc+Do))/(2・D1) 式(4)
一方、第3のクロック信号は、まず、単位遅延時間D1にこの段数Sdを乗じた時間だけ遅延される。このように位相一致段までの遅延量をT1とすると、
T1=Sd・D1=(Dtgt−2・(Dc+Do))/2=Dtgt/2−(Dc +Do) 式(5)
さらに、この信号は収束回路408と出力バッファ108を通過するため、第3のクロック信号から第4のクロック信号までの総和の遅延時間Dgenは、以下のようになる。
Dgen=T1+Dc+Do=Dtgt/2 式(6)
以上の式(6)を見れば分かるように、生成される遅延時間は、第1及び第2のクロック信号間の時間差の1/2倍(すなわち半分)になっていることが確認できる。
(実施の形態3)
図9は、本発明の実施の形態3による位相同期回路の詳細構成を示す回路図である。本実施の形態3による位相同期回路は、前記実施の形態1と前記実施の形態2とを組み合わせたものである。本実施の形態3は、外部からの第1及び第2のクロック信号の時間差と異なる時間差を生成しながら、しかも遅延段数を削減することにより、柔軟性と回路規模の縮小、ひいてはチップ面積、電力を削減することが可能な位相同期回路を提供する。
すなわち、計測回路909内の計測遅延列911において、第1のクロック信号103が早く到達する初段側の計測遅延段901では、インバータ遅延2段分の遅延素子903を用いている。一方、第1のクロック信号103が遅く到達する後段側の計測遅延段902ではインバータ遅延4段分の遅延素子904を用いている。
一方、遅延生成回路910内の生成遅延列912においては、第3のクロック信号105が早く到達する初段側の生成遅延段905では、インバータ遅延1段分の遅延素子907を用いている。一方、第3のクロック信号105が遅く到達する後段側の生成遅延段906ではインバータ遅延2段分の遅延素子908を用いている。
このような構造では、外部からの第1のクロック信号103と第2のクロック信号104との時間差の半分の時間を第3のクロック信号105と第4のクロック信号106との時間差として生成している。
図10に、この場合のタイムチャートを示す。本構成では、第1のクロック信号103と第2のクロック信号104は、位相で180度位相差を持つように入力されて、第4のクロック信号106は第3のクロック信号105を90度だけ位相を遅らせて出力されていることが分かる。
(実施の形態4)
図11は、本発明の実施の形態4による位相同期回路の詳細構成を示す回路図である。本実施の形態4による位相同期回路は、前記実施の形態2における生成回路を複数個設けたものである。図11に示す位相同期回路はその一例であり、2組の第3のクロック信号105a,105bが存在し、それぞれの入力が遅延されて2組の第4のクロック信号106a,106bが出力されるものである。
2組の第4のクロック信号106a,106bで遅延される時間は同一であってもよいが、本例では異なる例を示してある。計測回路401で受け取る第1のクロック信号103と第2のクロック信号104との時間差に対して、遅延生成回路402ではその時間差の半分の時間の遅延を生成するのに対し、遅延生成回路1110では計測回路401側の第1及び第2のクロック信号の時間差と同一の時間差の生成を行うものである。
これを実現するために、計測回路401における遅延素子411の単位遅延はインバータ遅延2段で実現されている場合に、遅延生成回路402における単位遅延はインバータ遅延1段の遅延素子407で構成され、遅延生成回路1110における単位遅延はインバータ遅延2段の遅延素子1107で構成されている。また、遅延生成回路1110では、位相調整用の固定遅延素子として、計測回路401のそれの半分の時間の固定遅延素子1111が用いられる。
本実施の形態4の構成は、計測回路に関しては共通であるから、異なる二つの位相同期回路を用いる場合よりもチップ上の占有面積や電力が小さくなるという利点がある。
図12は、図11に示した位相同期回路におけるクロック信号の関係を示すタイムチャートである。
図11に示す位相同期回路は、計測回路401と遅延生成回路402及び遅延生成回路1110の遅延列はそれぞれ1つであるが、単位遅延時間が異なる複数の遅延素子で構成することも可能であり、前記実施の形態1〜3を組み合わせて、しかも生成回路が複数ある場合、例えば2個に限らず3個以上で構成することも可能である。
図13は、本実施の形態4において、他の位相同期回路を示す回路図である。図13は、図11に示した位相同期回路を用いて、2つの異なる位相差を選択して生成することが可能な選択型位相同期回路を示している。そのために、図13に示す位相同期回路は、図11に示した位相同期回路に、第3のクロック信号105a,105bを選択するスイッチ1301と、第4のクロック信号106a,106bを選択するセレクタ1302と、選択条件を設定する選択条件メモリ1303を付加したものである。
このような回路は、必要となる位相差が利用時に変化するといった場合に有益である。例えば、シングルデータレートのSDRAM(Synchronous DynamicRandom Access Memory)などのメモリの読み出し時には、データの変更タイミングがクロック1サイクルに1回であるため、180度の位相差を用い、ダブルデータレートのSDRAMなどのメモリ読み出し時には、データの変更タイミングがクロック1サイクルに2回であるため90度の位相差を用いるといったことを選択的に使い分けることが可能となる。いずれを選択するかに関しては、外部からの制御信号で直接駆動してもよいし、また、設定レジスタなどの選択条件メモリ1303に保持しておいて、この値を切り替えることで利用時に動的に変更することも可能である。
本実施の形態についても図11に示した例と同様に、計測回路401に関しては共通であるから、異なる2つの位相同期回路を用いる場合よりもチップ上の占有面積や電力が小さくなるという利点がある。
(実施の形態5)
図14は、前記実施の形態1〜4による位相同期回路の応用例の1つとして、DDR−SDRAM(Double Data Rate−SDRAM)1401とLSI(Large Scale Integrated circuit)1402との接続関係を示すブロック図である。
LSI1402には、前記実施の形態1〜4による位相同期回路1404とフリップフロップ1405とを含むメモリインタフェース1403が搭載されている。位相同期回路1404は、DDR−SDRAMのデータを読み込む際の位相を制御するためのものである。DDR−SDRAM1401からは、位相同期回路1404に第3のクロック信号が入力し、フリップフロップ1405にデータ信号が入力している。また、位相同期回路1404では、第1のクロック信号と第2のクロック信号が入力し、フリップフロップ1405へ第4のクロック信号が出力している。この位相同期回路1404に前記実施の形態1〜4による位相同期回路をいることにより、LSI1402はDDR−SDRAM1401のデータを低電力に正確なタイミングで確実に読み込む事が可能となる。しかも位相同期回路1404のチップ上占有面積は小さい。
図15は、前記実施の形態1〜4の位相同期回路を用いて複数のプロセッサ(いわゆるマルチプロセッサ)間を接続したシステム1500において、同期をとる例を示すブロック図である。このシステム1500は、第1のプロセッサ1501、第2のプロセッサ1502、SDR−SDRAM(Single Data Rate−SDRAM)1503、DDR−SDRAM1504、クロックモジュール1505などから構成される。クロックモジュール1505は、クロック発生回路(CPG)1506、前記実施の形態1〜4による位相同期回路1507などから構成される。そして、SDR−SDRAM1503と第1のプロセッサ1501とが接続され、DDR−SDRAM1504と第2のプロセッサ1502とが接続されている。また、位相同期回路1507では、クロック発生回路1506から第1のクロック信号103、第2のクロック信号104、第3のクロック信号105が入力し、第1のプロセッサ1501へ第4のクロック信号106aが出力し、第2のプロセッサ1502へ第4のクロック信号106bが出力している。
複数の第1及び第2のプロセッサ1501,1502は別々の半導体チップであってもよいし、同一のチップ上に存在してもよい。このような接続はクロックの同期タイミングが異なるプロセッサを接続するといった場合に必要となる。図15に示す例では、第1のプロセッサ1501はシングルデータレートのSDR−SDRAM1503と同期して動作し、第2のプロセッサ1502はダブルデータレートのDDR−SDRAM1504と同期して動作するといった場合が示されている。
SDR−SDRAM1503の読み込みは、クロック信号に対し180度位相がずれたタイミングに同期して動くのに対し、DDR−SDRAM1504の読み込みは90度位相がずれたタイミングに同期して動く。
第1及び第2のプロセッサ1501,1502が、このような90度位相がずれた状態で動作するときに、前記実施の形態4による位相同期回路1507と、その源となる第1のクロック信号103、第2のクロック信号104、第3のクロック信号105を生成するクロック発生回路1506とを有するクロックモジュール1505が両プロセッサに対し、それぞれ位相の異なる第4のクロック信号106a,106bを供給することが可能である。図15における第1及び第2のプロセッサ1501,1502やクロックモジュール1505のいずれも同一チップに存在してもよいし、また、片方のプロセッサにクロックモジュール1505を搭載してもよい。前記実施の形態4による位相同期回路は、本例に限らずクロックの同期タイミングが異なるプロセッサ同士の接続において広く用いることができる。
(実施の形態6)
図16は、前記実施の形態1による位相同期回路において、複数の遅延段における遅延素子の遅延時間を相違させる方法についての一例を示す図である。前記図5に示した位相同期回路の例では、インバータ遅延の従属接続数を変化させることで、単位遅延時間が異なる遅延素子を構成していた。しかし、同一論理の同じゲートの従属接続数を変化させる以外にも、ゲートの種類を複数の遅延素子のそれぞれで変化させるという方法(ある遅延素子ではインバータゲートを用い、他の遅延列では複数入力のNANDゲートを用いるといったような方法)もあり得る。
図16に示す本実施の形態6による位相同期回路では、インバータ遅延の従属接続数で遅延時間を設定するのではなく、遅延時間の異なる複数種類のインバータ遅延でそれぞれの遅延素子の遅延時間を設定している。例えば、インバータ遅延1602,1606とインバータ遅延1604,1608とは遅延時間が異なる種類のものである。すなわち、図16に示す実施の形態では、単位遅延時間が小さい遅延段1601,1605では、トランジスタの閾値電圧が低いトランジスタにより高速動作することが可能なインバータゲートを2段接続したインバータ遅延1602,1606が用いられ、他方、単位遅延時間が大きい計測遅延段1603,1607では、トランジスタの閾値電圧が高いデバイスにより低速動作するインバータゲートを2段接続したインバータ遅延1604,1608が用いられている。
このように、基本となるデバイスを複数種類用いることで複数の遅延列を構成することも可能である。一般に、トランジスタの閾値電圧が低いデバイスは静止時(非動作時)のリーク電流が大きいことが知られているが、本実施の形態6のように、複数の遅延素子の中でも高速動作で必要となる部分の遅延段1601,1605のみに適用することで、少ないゲートに対してのみ低閾値デバイスを用いるため、位相同期回路自体は高速で動作可能である一方で、全体でみたときの静止時のリーク電流を増大させなくてよいという利点もあり、チップの低電力化に寄与する。
図17は、前記実施の形態1の位相同期回路において、複数の遅延段における遅延素子の遅延時間を相違させる別の方法についての一例を示す図である。すなわち、図17(a)に示す位相同期回路では、より小さな単位遅延を用いる方法として、補間回路1701,1702を用いる例を示している。補間回路とは、出力時刻が異なる2つの遅延段からの出力を入力として受けて、その間の時間を生成するような回路である。図17(b)は、そのような補間回路の一例を示す図である。
(実施の形態7)
図18は、本発明の実施の形態7による位相同期回路の構成を示す回路図である。本実施の形態7による位相同期回路は、前記実施の形態1(図5)と前記実施の形態2を組み合わせた上で、第1及び第2のクロック信号と第3のクロック信号とが遅延列の配置方向に対して、逆方向に進行する一例を示したものである。ここでは、計測遅延列と生成遅延列のそれぞれの複数の遅延素子の遅延時間を変えるために、各遅延列内部の遅延素子の従属接続数を変えている。例えば、図18では、計測遅延列において、遅延段501内の遅延素子は1段のインバータ遅延503で構成し、遅延段502内の遅延素子は2段のインバータ遅延504,505で構成している。また、生成遅延列において、遅延段1801内の遅延素子は1段のANDゲート1803で構成し、遅延段1802内の遅延素子は2段のANDゲート1803で構成している。また、計測遅延列と生成遅延列との遅延素子の遅延時間における一定の比率を実現するために、論理ゲートの種類(インバータ遅延とORゲート)を変えた構成となっている。
さて、図18の構成は、図1、図2、図3、図4、図5、図8、図9、図11、図13、図16、図17といった回路で、第1のクロック信号と第2のクロック信号と第3のクロック信号とが遅延列の配置方向に対して、同方向に進行していたのと対照的なものである。前記図1から図17までの例では、第3のクロック信号が位相一致段まで遅延段を通過した後に、それが収束回路を通過するかどうかが決定される。これに対し、図18の構成は、逆に、いったん第3のクロック信号105を遅延段数分だけ分岐させた後、どの分岐信号を遅延段に挿入するかを位相比較器の出力を用いて決定する構成となっている。図1から図17の例の回路は、いずれもこのような逆方向の進行形態に対しても適用可能である。
(実施の形態8)
図19(a)は本発明の実施の形態8において、周波数2倍化回路の構成を示す回路図、図19(b)は、その動作を示すタイミングチャート、図19(c)は2のn乗倍化回路の構成を示すブロック図である。なお、nは自然数である。
本実施の形態8による周波数2倍化回路及び2のn乗化回路は、前記実施の形態2の位相同期回路を利用したものである。図19(a)に示す周波数2倍化回路1913は、例えば、前記図4(b)に示した位相同期回路に対して、位相を180度ずらす位相変換回路1903と排他的ORゲート1906とを付加し、第1のクロック信号103及び第3のクロック信号105を入力クロック信号1901とし、位相変換回路1903で180度位相をずらしたクロック信号1904を第2のクロック信号104として入力し、第4のクロック信号106(生成出力クロック信号1905)を排他的ORゲート1906の一方の入力信号とし、入力クロック信号1901を排他的ORゲート1906の他方の入力信号とし、排他的ORゲート1906の出力信号を出力クロック信号1902としたものである。なお、位相変換回路1903は、インバータゲートなどで生成可能である。
次に、図19(a),(b)により、この周波数2倍化回路1913の動作を説明する。まず、位相変換回路1903により、入力クロック信号1901から位相が180度ずれた関係にあるクロック信号1904を生成する。次に、これらの信号を前記実施の形態2に示した位相同期回路(例えば、図4の回路)へ入力し、入力クロック信号1901に対して90度の位相差がある生成出力クロック信号1905を作り出す。その後、入力クロック信号1901と生成出力クロック信号1905との排他的OR1906を論理的にとることにより、2倍の周波数のクロックを生成できる。
図19(c)は、入力クロック信号1901が、図19(a)の周波数2倍化回路1913により周波数が2倍化され、さらに図19(a)の周波数2倍化回路1913を複数回(図19(c)では3回)通過させることにより、当初の周波数の2のn乗倍(図19(c)では16倍)の周波数のクロック信号1912が生成可能となる例を示している。一般に同様の回路構成を繰り返すことにより、周波数の2のn乗化回路が構成可能となる。
さらに、図21は、周波数の2倍化に限らず、より一般的なm倍化にも第2の本発明が利用できることを示した例である。なお、mは自然数である。ここではmとして、3倍の周波数を生成している。まず、位相変換回路2103により入力クロック信号2101から位相が180度ずれた関係にあるクロック信号2104を生成し(これは、インバータゲートなどで生成可能である)、次に、これらの信号を前記実施の形態2による位相同期回路へ入力し、入力クロック信号2101に対して60度の位相差がある第1の生成出力クロック信号2105と入力クロック信号に対して120度の位相差がある第2の生成出力クロック信号2106を作り出す。その後、入力クロック信号2101と第1の生成出力クロック信号2105と第2の生成出力クロック信号2106との排他的ORゲート2107を論理的にとることにより、3倍の周波数のクロック信号2102を生成できる。
図21(b)は、タイムチャートとして周波数が3倍になる様子を示したものである。
図21(c)は、入力クロック信号2101が、図21(a)の周波数3倍化回路2113により周波数が2倍化され、さらに図19(a)の周波数2倍化回路1913を通過させ、再度、図21(a)の周波数3倍化回路2113を通過させることにより、当初の18倍の周波数のクロック信号2112が生成可能となる例を示している。同様な手法により、36度遅延、72度遅延、108度遅延、144度遅延の回路を作った後、これらの出力と、入力のクロック信号とをあわせた5信号の排他的ORをとることにより5倍の周波数のクロックが、このような計測回路を共通とした前記実施の形態2の位相同期回路から効率的に生成可能であることが分かる。同様な方法により、多様な周波数が生成できる。
図20は、前記図15で示したような複数のプロセッサ間の接続において、図19の回路を用いて、互いに異なる周波数で動作するプロセッサ間の接続に本実施の形態8を用いた場合を示している。
本実施の形態8によるシステム2000は、第1のプロセッサ2005、第2のプロセッサ2007、クロックモジュール2001などから構成される。クロックモジュール2001は、クロック発生回路(CPG)2002、前記図19に示した周波数2のn乗倍化回路2004などから構成される。そして、周波数2のn乗倍化回路2004では、クロック発生回路2002から入力クロック信号2003が入力し、第1のプロセッサ2005へ生成出力クロック信号2006が出力し、第2のプロセッサ2007へ生成出力クロック信号2008が出力している。クロックモジュール2001内のクロック発生回路2002からの入力クロック信号2003を受けた周波数2のn乗倍化回路2004は、例えば、入力クロック信号2003の2倍の周波数の生成出力クロック信号2006と8倍の周波数の生成出力クロック信号2008を生成し、これを動作周波数が異なる複数のプロセッサ(図20では第1のプロセッサ2005と第2のプロセッサ2007)に供給する。同図における各プロセッサ2005,2007やクロックモジュール2001のいずれも同一半導体チップ上に存在してもよいし、また、片方のプロセッサにクロックモジュール2001を搭載していてもよいことは前記実施の形態5で述べた例と同様である。
なお、同一半導体チップ上に存在する例としては、システムの制御を中心に行う低周波数のクロックで動作するプロセッサと、高速な画像処理などを中心に処理を行う高周波数のクロックで動作するエンジンプロセッサといったものなどが挙げられる。
以上述べてきた本発明の実施の形態1〜8による回路は、通常の半導体製造プロセスにより、一つ又は複数の半導体基板上に形成され半導体集積回路装置として実現することができる。
以上、本発明者によってなされた発明をその実施の形態に基づき具体的に説明したが、本発明は前記実施の形態に限定されるものではなく、その要旨を逸脱しない範囲で種々変更可能であることはいうまでもない。
本発明は、マイクロプロセッサ、マイクロコントローラ、信号処理プロセッサ、画像処理プロセッサ、音声処理プロセッサ、及びDRAM、SRAM、フラッシュメモリなどの各種メモリなどの半導体集積回路装置について適用可能である。
本発明の実施の形態1において、位相同期回路の基本的構成を示すブロック図である。 本発明の前提として検討した位相同期回路の構成を示すブロック図である。 本発明の実施の形態1において、図1に示す位相同期回路における計測遅延列及び生成遅延列の構成例を示すブロック図である。 本発明の実施の形態2において、位相同期回路の基本的構成を示すブロック図である。 本発明の実施の形態1において、位相同期回路の構成例を示す回路図である。 本発明の実施の形態1において、位相比較器の構成例を示す回路図である。 本発明の実施の形態1において、位相調整用の固定遅延素子の構成例を示す回路図である。 本発明の実施の形態2において、位相同期回路の構成例を示す回路図である。 本発明の実施の形態3において、位相同期回路の構成例を示す回路図である。 本発明の実施の形態3において、図9に示す位相同期回路のクロック信号間のタイミング関係を示す図である。 本発明の実施の形態4において、位相同期回路の構成例を示す回路図である。 本発明の実施の形態4において、図11に示す位相同期回路のクロック信号間のタイミング関係を示す図である。 本発明の実施の形態4において、位相同期回路の他の構成例を示す回路図である。 本発明の実施の形態5において、本発明の位相同期回路を応用したシステムの構成例を示すブロック図である。 本発明の実施の形態5において、本発明の位相同期回路を応用したシステムの他の構成例を示すブロック図である。 本発明の実施の形態6において、位相同期回路の構成例を示す回路図である。 本発明の実施の形態6において、位相同期回路の他の構成例を示す回路図である。 本発明の実施の形態7において、位相同期回路の構成例を示す回路図である。 (a)は、本発明の実施の形態8において、本発明の位相同期回路を応用した周波数2倍化回路の構成例を示す回路図、(b)は、(a)に示す周波数2倍化回路の動作を示す図、(c)は、(a)に示す周波数2倍化回路を応用した周波数2のn乗倍化回路の構成例を示す図である。 本発明の実施の形態8において、図19に示す周波数2倍化回路及び周波数2のn乗倍化回路を応用したシステムの構成例を示すブロック図である。 (a)は、本発明の実施の形態8において、本発明の位相同期回路を応用した周波数3倍化回路の構成例を示す回路図、(b)は、(a)に示す周波数3倍化回路の動作を示す図、(c)は、(a)に示す周波数3倍化回路及び図19(a)に示す周波数2倍化回路を応用した周波数m倍化回路の構成例を示す図である。
符号の説明
101,201,401,513,909 計測回路
102,202,402,514,910,1110 遅延生成回路
103,203 第1のクロック信号
104,204 第2のクロック信号
105,105a,105b,205 第3のクロック信号
106,106a,106b,206 第4のクロック信号
107,208,408 収束回路
108,703 出力バッファ
109,209 位相比較器
110,210,410,1111 固定遅延素子
111〜118,501,502,506,507,901,902,905,906,1601,1603,1605,1607,1801,1802 遅延段
119,212,419,911 計測遅延列(第1の遅延列)
120,213,420,912 生成遅延列(第2の遅延列)
121,214,421 位相比較器列
207,211,311,312,313,314,407,411,903,904,907,908,1107 遅延素子
503〜505,508〜510,1602,1604,1606,1608 インバータ遅延
511,701,1803 ANDゲート
512,702 多入力OR回路
601,603,605,1405 フリップフロップ
602,604,606 ゲート
1301 スイッチ
1302 セレクタ
1303 選択条件メモリ
1401,1504 DDR−SDRAM
1402 LSI
1403 メモリインタフェース
1404,1507 位相同期回路
1500,2000 システム
1501 第1のプロセッサ
1502 第2のプロセッサ
1503 SDR−SDRAM
1505,2001 クロックモジュール
1506,2002 クロック発生回路(CPG)
1701,1702 補間回路
1901,2003,2101 入力クロック信号
1902 出力クロック信号
1903,2103 位相変換回路
1904,1912,2102,2104,2112 クロック信号
1905,2006,2008 生成出力クロック信号
1906,2107 排他的ORゲート
1913 周波数2倍化回路
2004 周波数2のn乗倍化回路
2005 第1のプロセッサ
2007 第2のプロセッサ
2105 第1の生成出力クロック信号
2106 第2の生成出力クロック信号
2113 周波数3倍化回路

Claims (13)

  1. 第1のクロック信号と第2のクロック信号との遷移時間差に基づいて、第3のクロック信号の遷移時間を遅延させて第4のクロック信号を生成する位相同期回路であって、
    遅延時間の異なる複数の遅延素子を含み、前記第1のクロック信号が入力される第1の遅延列と、
    前記第1の遅延列に対応して複数の位相比較器を含み、前記第1の遅延列からの信号及び前記第2のクロック信号が入力され、前記第1のクロック信号と前記第2のクロック信号との遷移時間差を計測する位相比較器列と、
    前記第1の遅延列に対応して遅延時間の異なる複数の遅延素子を含み、前記位相比較器列からの信号及び前記第3のクロック信号が入力される第2の遅延列と、を有し、
    前記第1の遅延列及び前記第2の遅延列の前記複数の遅延素子のそれぞれの遅延時間は固定であることを特徴とする位相同期回路。
  2. 請求項1記載の位相同期回路において、
    前記第1の遅延列は、前記第1のクロック信号が早く到達する初段側の遅延素子の遅延時間が小さく、前記第1のクロック信号が遅く到達する後段側の遅延素子の遅延時間が大きいことを特徴とする位相同期回路。
  3. 第1のクロック信号と第2のクロック信号との遷移時間差に基づいて、第3のクロック信号の遷移時間を遅延させて第4のクロック信号を生成する位相同期回路であって、
    複数の遅延素子を含み、前記第1のクロック信号が入力される第1の遅延列と、
    前記第1の遅延列に対応して複数の位相比較器を含み、前記第1の遅延列からの信号及び前記第2のクロック信号が入力され、前記第1のクロック信号と前記第2のクロック信号との遷移時間差を計測する位相比較器列と、
    前記第1の遅延列に対応して複数の遅延素子を含み、前記位相比較器列からの信号及び前記第3のクロック信号が入力される第2の遅延列と、を有し、
    前記第1の遅延列に含まれる遅延素子の遅延時間と前記第2の遅延列に含まれる遅延素子の遅延時間との比率はそれぞれ一定であることを特徴とする位相同期回路。
  4. 請求項3記載の位相同期回路において、
    前記遅延素子の遅延時間の前記比率の値は、1以外であることを特徴とする位相同期回路。
  5. 第1のクロック信号と第2のクロック信号との遷移時間差に基づいて、第3のクロック信号の遷移時間を遅延させて第4のクロック信号を生成する位相同期回路であって、
    遅延時間の異なる複数の遅延素子を含み、前記第1のクロック信号が入力される第1の遅延列と、
    前記第1の遅延列に対応して複数の位相比較器を含み、前記第1の遅延列からの信号及び前記第2のクロック信号が入力され、前記第1のクロック信号と前記第2のクロック信号との遷移時間差を計測する位相比較器列と、
    前記第1の遅延列に対応して遅延時間の異なる複数の遅延素子を含み、前記位相比較器列からの信号及び前記第3のクロック信号が入力される第2の遅延列と、を有し、
    前記第1の遅延列及び前記第2の遅延列の前記複数の遅延素子のそれぞれの遅延時間は固定であり、前記第1の遅延列に含まれる遅延素子の遅延時間と前記第2の遅延列に含まれる遅延素子の遅延時間との比率はそれぞれ一定であることを特徴とする位相同期回路。
  6. 請求項5記載の位相同期回路において、
    前記第1の遅延列は、前記第1のクロック信号が早く到達する初段側の遅延素子の遅延時間が小さく、前記第1のクロック信号が遅く到達する後段側の遅延素子の遅延時間が大きく、
    前記遅延素子の遅延時間の前記比率の値は、1以外であることを特徴とする位相同期回路。
  7. 請求項3記載の位相同期回路において、
    位相調整用の固定遅延素子をさらに有し、
    前記第1の遅延列に含まれる遅延素子の遅延時間と前記第2の遅延列に含まれる遅延素子の遅延時間との比率と、前記固定遅延素子の遅延時間と、前記第3のクロック信号が入力されてから前記第4のクロック信号が出力されるまでの遅延時間から前記第2の遅延列における遅延時間を除いた時間との比率は、同じであることを特徴とする位相同期回路。
  8. 請求項1記載の位相同期回路において、
    前記第1のクロック信号が早く到達する初段側の遅延素子と、前記第1のクロック信号が遅く到達する後段側の遅延素子とは、速度性能が異なるデバイスを用いた論理的に同一なゲートにより構成されていることを特徴とする位相同期回路。
  9. 請求項3記載の位相同期回路において、
    前記第1の遅延列の1つに対し、前記第2の遅延列を複数系統有することを特徴とする位相同期回路。
  10. 同期する位相関係が異なる複数の同期型メモリに接続することが可能である半導体集積回路装置であって、
    請求項9記載の位相同期回路と、
    接続される前記同期型メモリの種類により複数ある前記第4のクロック信号系統のいずれかを利用する機能と、を有することを特徴とする半導体集積回路装置。
  11. 同期する位相関係が異なる複数の同期型メモリのうち1つを接続することが可能である半導体集積回路装置であって、
    請求項9記載の位相同期回路と、
    接続される前記同期型メモリの情報が記憶される選択条件メモリと、
    前記選択条件メモリ内の情報に基づいて、複数ある前記第4のクロック信号系統のいずれか1つを選択して出力する選択回路と、を有することを特徴とする半導体集積回路装置。
  12. 同期する位相関係が異なる複数のマイクロプロセッサに接続することが可能である半導体集積回路装置であって、
    請求項9記載の位相同期回路と、
    接続される前記マイクロプロセッサの種類により複数ある前記第4のクロック信号系統のいずれかを利用する機能と、を有することを特徴とする半導体集積回路装置。
  13. 請求項3記載の位相同期回路と、
    位相変換回路と、
    排他的OR回路とを有し、
    前記第1のクロック信号と前記第3のクロック信号は共通であり、前記位相変換回路は前記第1のクロック信号を入力とし前記第2のクロック信号を出力とし、前記排他的OR回路は前記第1のクロック信号及び前記第4のクロック信号を入力としていることを特徴とする半導体集積回路装置。
JP2004343661A 2004-11-29 2004-11-29 位相同期回路及び半導体集積回路装置 Expired - Fee Related JP4488872B2 (ja)

Priority Applications (2)

Application Number Priority Date Filing Date Title
JP2004343661A JP4488872B2 (ja) 2004-11-29 2004-11-29 位相同期回路及び半導体集積回路装置
US11/288,176 US7253670B2 (en) 2004-11-29 2005-11-29 Phase synchronization circuit and semiconductor integrated circuit

Applications Claiming Priority (1)

Application Number Priority Date Filing Date Title
JP2004343661A JP4488872B2 (ja) 2004-11-29 2004-11-29 位相同期回路及び半導体集積回路装置

Publications (2)

Publication Number Publication Date
JP2006157357A JP2006157357A (ja) 2006-06-15
JP4488872B2 true JP4488872B2 (ja) 2010-06-23

Family

ID=36566795

Family Applications (1)

Application Number Title Priority Date Filing Date
JP2004343661A Expired - Fee Related JP4488872B2 (ja) 2004-11-29 2004-11-29 位相同期回路及び半導体集積回路装置

Country Status (2)

Country Link
US (1) US7253670B2 (ja)
JP (1) JP4488872B2 (ja)

Families Citing this family (14)

* Cited by examiner, † Cited by third party
Publication number Priority date Publication date Assignee Title
US7287235B1 (en) * 2004-08-06 2007-10-23 Calypto Design Systems, Inc. Method of simplifying a circuit for equivalence checking
US7423461B2 (en) * 2004-08-19 2008-09-09 Renesas Technology Corp. Phase synchronous circuit
DE102005011894B4 (de) * 2005-03-15 2010-11-25 Qimonda Ag Schaltungsanordnung zum Erzeugen eines Synchronisiersignals
US7564284B2 (en) * 2007-03-26 2009-07-21 Infineon Technologies Ag Time delay circuit and time to digital converter
JP2008251070A (ja) * 2007-03-29 2008-10-16 Hitachi Ltd 半導体記憶装置
US8243555B2 (en) * 2008-08-07 2012-08-14 Infineon Technologies Ag Apparatus and system with a time delay path and method for propagating a timing event
DE102009030039A1 (de) * 2009-06-23 2010-12-30 Rohde & Schwarz Gmbh & Co. Kg Vorrichtung zum Erzeugen einer vorgegebenen Phasenverschiebung
US7893739B1 (en) * 2009-08-27 2011-02-22 Altera Corporation Techniques for providing multiple delay paths in a delay circuit
US8130016B2 (en) * 2009-08-27 2012-03-06 Altera Corporation Techniques for providing reduced duty cycle distortion
EP2751583B1 (fr) * 2011-08-29 2016-04-13 Asahi Kasei Microdevices Corporation Dispositif de mesure d'une durée d'un niveau d'un signal électrique
JP2013070281A (ja) * 2011-09-22 2013-04-18 Toshiba Corp Dll回路、逓倍回路、及び半導体記憶装置
TWI490515B (zh) * 2013-12-20 2015-07-01 Chroma Ate Inc 自動測試設備以及時脈同步方法
CN118743110A (zh) * 2022-02-28 2024-10-01 华为技术有限公司 一种相控阵装置、通信设备及控制方法
CN115940896B (zh) * 2022-06-10 2024-04-30 上海星思半导体有限责任公司 一种数字时钟电路

Family Cites Families (13)

* Cited by examiner, † Cited by third party
Publication number Priority date Publication date Assignee Title
US4814879A (en) * 1987-08-07 1989-03-21 Rca Licensing Corporation Signal phase alignment circuitry
JPH0836437A (ja) * 1994-07-26 1996-02-06 Hitachi Ltd 位相同期回路
JP3672056B2 (ja) * 1995-08-18 2005-07-13 松下電器産業株式会社 タイミング信号発生回路
US5755955A (en) * 1995-12-21 1998-05-26 Petro-Canada Hydrocracking of heavy hydrocarbon oils with conversion facilitated by control of polar aromatics
KR100197563B1 (ko) * 1995-12-27 1999-06-15 윤종용 동기 지연라인을 이용한 디지탈 지연 동기루프 회로
JPH1013395A (ja) * 1996-06-25 1998-01-16 Toshiba Corp 位相同期回路
KR100224690B1 (ko) * 1997-02-05 1999-10-15 윤종용 위상동기 지연회로
KR100260556B1 (ko) * 1997-08-22 2000-07-01 윤종용 내부 클럭 발생회로
KR100527402B1 (ko) * 2000-05-31 2005-11-15 주식회사 하이닉스반도체 디디알 동기식메모리의 지연고정루프 장치
JP3813435B2 (ja) 2000-11-07 2006-08-23 株式会社東芝 同期遅延制御回路
US6617894B2 (en) * 2001-05-14 2003-09-09 Samsung Electronics Co., Ltd. Circuits and methods for generating internal clock signal of intermediate phase relative to external clock
KR100414215B1 (ko) * 2002-01-03 2004-01-07 삼성전자주식회사 조절 가능한 동기 범위를 갖는 동기 미러 지연 회로
KR100558554B1 (ko) * 2004-01-07 2006-03-10 삼성전자주식회사 내부 클럭 발생 장치

Also Published As

Publication number Publication date
JP2006157357A (ja) 2006-06-15
US20060114040A1 (en) 2006-06-01
US7253670B2 (en) 2007-08-07

Similar Documents

Publication Publication Date Title
KR100256004B1 (ko) 반도체 기억 장치 시스템 및 반도체 기억 장치
US6774690B2 (en) Digital dual-loop DLL design using coarse and fine loops
TWI299943B (en) Delay locked loop in semiconductor memory device and its clock locking method
CN1716783B (zh) 寄存器控制的延迟锁定回路及其控制方法
US8115529B2 (en) Device and control method of device
JP4488872B2 (ja) 位相同期回路及び半導体集積回路装置
US7659759B2 (en) Phase synchronous circuit
CN100583640C (zh) 半导体集成电路
US7710171B2 (en) Delayed locked loop circuit
JP2002124873A (ja) 半導体装置
JP2009104721A (ja) Ddrメモリコントローラ及び半導体装置
JP2010213308A (ja) 遅延固定ループ回路の遅延ライン部及び遅延固定ループ回路におけるクロック信号の遅延固定方法
KR20040103207A (ko) 전력 소모를 줄인 레지스터 제어 지연고정루프
JP2002025259A (ja) リング遅延とカウンタを利用したレジスタ制御遅延固定ループ
US7292500B2 (en) Reducing read data strobe latency in a memory system
JPH10336008A (ja) クロック発生回路及び半導体装置
US6373307B1 (en) Semiconductor integrated circuit
US20040000934A1 (en) Clock divider and method for dividing clock signal in DLL circuit
US7671649B2 (en) Apparatus and method for generating multi-phase clocks
US7884661B2 (en) Clock generator circuit, method of clock generating, and data output circuit using the clock generating circuit and method
US8283962B2 (en) Semiconductor device and operation method thereof for generating phase clock signals
JP2022505662A (ja) 非同期asic
US7227396B2 (en) Clock signal input/output device for correcting clock signals
KR100410632B1 (ko) 소비전류와 레이아웃 면적의 감소를 위한 지연고정루프
KR100415544B1 (ko) 양방향 지연을 이용한 디엘엘 회로

Legal Events

Date Code Title Description
A621 Written request for application examination

Free format text: JAPANESE INTERMEDIATE CODE: A621

Effective date: 20070507

A977 Report on retrieval

Free format text: JAPANESE INTERMEDIATE CODE: A971007

Effective date: 20100223

TRDD Decision of grant or rejection written
A01 Written decision to grant a patent or to grant a registration (utility model)

Free format text: JAPANESE INTERMEDIATE CODE: A01

Effective date: 20100316

A01 Written decision to grant a patent or to grant a registration (utility model)

Free format text: JAPANESE INTERMEDIATE CODE: A01

A61 First payment of annual fees (during grant procedure)

Free format text: JAPANESE INTERMEDIATE CODE: A61

Effective date: 20100330

FPAY Renewal fee payment (event date is renewal date of database)

Free format text: PAYMENT UNTIL: 20130409

Year of fee payment: 3

R150 Certificate of patent or registration of utility model

Ref document number: 4488872

Country of ref document: JP

Free format text: JAPANESE INTERMEDIATE CODE: R150

Free format text: JAPANESE INTERMEDIATE CODE: R150

A711 Notification of change in applicant

Free format text: JAPANESE INTERMEDIATE CODE: A712

Effective date: 20100528

A072 Dismissal of procedure [no reply to invitation to correct request for examination]

Free format text: JAPANESE INTERMEDIATE CODE: A072

Effective date: 20100921

FPAY Renewal fee payment (event date is renewal date of database)

Free format text: PAYMENT UNTIL: 20130409

Year of fee payment: 3

S111 Request for change of ownership or part of ownership

Free format text: JAPANESE INTERMEDIATE CODE: R313111

FPAY Renewal fee payment (event date is renewal date of database)

Free format text: PAYMENT UNTIL: 20130409

Year of fee payment: 3

R350 Written notification of registration of transfer

Free format text: JAPANESE INTERMEDIATE CODE: R350

FPAY Renewal fee payment (event date is renewal date of database)

Free format text: PAYMENT UNTIL: 20140409

Year of fee payment: 4

R250 Receipt of annual fees

Free format text: JAPANESE INTERMEDIATE CODE: R250

S531 Written request for registration of change of domicile

Free format text: JAPANESE INTERMEDIATE CODE: R313531

R350 Written notification of registration of transfer

Free format text: JAPANESE INTERMEDIATE CODE: R350

LAPS Cancellation because of no payment of annual fees