JP4468652B2 - エルボーアセンブリを有する人間工学に基づいた調節可能な呼吸用マスクアセンブリ - Google Patents
エルボーアセンブリを有する人間工学に基づいた調節可能な呼吸用マスクアセンブリ Download PDFInfo
- Publication number
- JP4468652B2 JP4468652B2 JP2003117911A JP2003117911A JP4468652B2 JP 4468652 B2 JP4468652 B2 JP 4468652B2 JP 2003117911 A JP2003117911 A JP 2003117911A JP 2003117911 A JP2003117911 A JP 2003117911A JP 4468652 B2 JP4468652 B2 JP 4468652B2
- Authority
- JP
- Japan
- Prior art keywords
- frame
- cushion
- elbow
- assembly
- mask
- Prior art date
- Legal status (The legal status is an assumption and is not a legal conclusion. Google has not performed a legal analysis and makes no representation as to the accuracy of the status listed.)
- Expired - Fee Related
Links
Images
Classifications
-
- A—HUMAN NECESSITIES
- A61—MEDICAL OR VETERINARY SCIENCE; HYGIENE
- A61M—DEVICES FOR INTRODUCING MEDIA INTO, OR ONTO, THE BODY; DEVICES FOR TRANSDUCING BODY MEDIA OR FOR TAKING MEDIA FROM THE BODY; DEVICES FOR PRODUCING OR ENDING SLEEP OR STUPOR
- A61M16/00—Devices for influencing the respiratory system of patients by gas treatment, e.g. ventilators; Tracheal tubes
- A61M16/08—Bellows; Connecting tubes ; Water traps; Patient circuits
- A61M16/0816—Joints or connectors
-
- A—HUMAN NECESSITIES
- A61—MEDICAL OR VETERINARY SCIENCE; HYGIENE
- A61M—DEVICES FOR INTRODUCING MEDIA INTO, OR ONTO, THE BODY; DEVICES FOR TRANSDUCING BODY MEDIA OR FOR TAKING MEDIA FROM THE BODY; DEVICES FOR PRODUCING OR ENDING SLEEP OR STUPOR
- A61M16/00—Devices for influencing the respiratory system of patients by gas treatment, e.g. ventilators; Tracheal tubes
- A61M16/0057—Pumps therefor
-
- A—HUMAN NECESSITIES
- A61—MEDICAL OR VETERINARY SCIENCE; HYGIENE
- A61M—DEVICES FOR INTRODUCING MEDIA INTO, OR ONTO, THE BODY; DEVICES FOR TRANSDUCING BODY MEDIA OR FOR TAKING MEDIA FROM THE BODY; DEVICES FOR PRODUCING OR ENDING SLEEP OR STUPOR
- A61M16/00—Devices for influencing the respiratory system of patients by gas treatment, e.g. ventilators; Tracheal tubes
- A61M16/0057—Pumps therefor
- A61M16/0066—Blowers or centrifugal pumps
-
- A—HUMAN NECESSITIES
- A61—MEDICAL OR VETERINARY SCIENCE; HYGIENE
- A61M—DEVICES FOR INTRODUCING MEDIA INTO, OR ONTO, THE BODY; DEVICES FOR TRANSDUCING BODY MEDIA OR FOR TAKING MEDIA FROM THE BODY; DEVICES FOR PRODUCING OR ENDING SLEEP OR STUPOR
- A61M16/00—Devices for influencing the respiratory system of patients by gas treatment, e.g. ventilators; Tracheal tubes
- A61M16/06—Respiratory or anaesthetic masks
-
- A—HUMAN NECESSITIES
- A61—MEDICAL OR VETERINARY SCIENCE; HYGIENE
- A61M—DEVICES FOR INTRODUCING MEDIA INTO, OR ONTO, THE BODY; DEVICES FOR TRANSDUCING BODY MEDIA OR FOR TAKING MEDIA FROM THE BODY; DEVICES FOR PRODUCING OR ENDING SLEEP OR STUPOR
- A61M16/00—Devices for influencing the respiratory system of patients by gas treatment, e.g. ventilators; Tracheal tubes
- A61M16/06—Respiratory or anaesthetic masks
- A61M16/0605—Means for improving the adaptation of the mask to the patient
-
- A—HUMAN NECESSITIES
- A61—MEDICAL OR VETERINARY SCIENCE; HYGIENE
- A61M—DEVICES FOR INTRODUCING MEDIA INTO, OR ONTO, THE BODY; DEVICES FOR TRANSDUCING BODY MEDIA OR FOR TAKING MEDIA FROM THE BODY; DEVICES FOR PRODUCING OR ENDING SLEEP OR STUPOR
- A61M16/00—Devices for influencing the respiratory system of patients by gas treatment, e.g. ventilators; Tracheal tubes
- A61M16/06—Respiratory or anaesthetic masks
- A61M16/0605—Means for improving the adaptation of the mask to the patient
- A61M16/0616—Means for improving the adaptation of the mask to the patient with face sealing means comprising a flap or membrane projecting inwards, such that sealing increases with increasing inhalation gas pressure
-
- A—HUMAN NECESSITIES
- A61—MEDICAL OR VETERINARY SCIENCE; HYGIENE
- A61M—DEVICES FOR INTRODUCING MEDIA INTO, OR ONTO, THE BODY; DEVICES FOR TRANSDUCING BODY MEDIA OR FOR TAKING MEDIA FROM THE BODY; DEVICES FOR PRODUCING OR ENDING SLEEP OR STUPOR
- A61M16/00—Devices for influencing the respiratory system of patients by gas treatment, e.g. ventilators; Tracheal tubes
- A61M16/06—Respiratory or anaesthetic masks
- A61M16/0605—Means for improving the adaptation of the mask to the patient
- A61M16/0616—Means for improving the adaptation of the mask to the patient with face sealing means comprising a flap or membrane projecting inwards, such that sealing increases with increasing inhalation gas pressure
- A61M16/0622—Means for improving the adaptation of the mask to the patient with face sealing means comprising a flap or membrane projecting inwards, such that sealing increases with increasing inhalation gas pressure having an underlying cushion
-
- A—HUMAN NECESSITIES
- A61—MEDICAL OR VETERINARY SCIENCE; HYGIENE
- A61M—DEVICES FOR INTRODUCING MEDIA INTO, OR ONTO, THE BODY; DEVICES FOR TRANSDUCING BODY MEDIA OR FOR TAKING MEDIA FROM THE BODY; DEVICES FOR PRODUCING OR ENDING SLEEP OR STUPOR
- A61M16/00—Devices for influencing the respiratory system of patients by gas treatment, e.g. ventilators; Tracheal tubes
- A61M16/06—Respiratory or anaesthetic masks
- A61M16/0666—Nasal cannulas or tubing
-
- A—HUMAN NECESSITIES
- A61—MEDICAL OR VETERINARY SCIENCE; HYGIENE
- A61M—DEVICES FOR INTRODUCING MEDIA INTO, OR ONTO, THE BODY; DEVICES FOR TRANSDUCING BODY MEDIA OR FOR TAKING MEDIA FROM THE BODY; DEVICES FOR PRODUCING OR ENDING SLEEP OR STUPOR
- A61M16/00—Devices for influencing the respiratory system of patients by gas treatment, e.g. ventilators; Tracheal tubes
- A61M16/06—Respiratory or anaesthetic masks
- A61M16/0683—Holding devices therefor
-
- A—HUMAN NECESSITIES
- A61—MEDICAL OR VETERINARY SCIENCE; HYGIENE
- A61M—DEVICES FOR INTRODUCING MEDIA INTO, OR ONTO, THE BODY; DEVICES FOR TRANSDUCING BODY MEDIA OR FOR TAKING MEDIA FROM THE BODY; DEVICES FOR PRODUCING OR ENDING SLEEP OR STUPOR
- A61M16/00—Devices for influencing the respiratory system of patients by gas treatment, e.g. ventilators; Tracheal tubes
- A61M16/08—Bellows; Connecting tubes ; Water traps; Patient circuits
- A61M16/0816—Joints or connectors
- A61M16/0825—Joints or connectors with ball-sockets
-
- A—HUMAN NECESSITIES
- A61—MEDICAL OR VETERINARY SCIENCE; HYGIENE
- A61M—DEVICES FOR INTRODUCING MEDIA INTO, OR ONTO, THE BODY; DEVICES FOR TRANSDUCING BODY MEDIA OR FOR TAKING MEDIA FROM THE BODY; DEVICES FOR PRODUCING OR ENDING SLEEP OR STUPOR
- A61M16/00—Devices for influencing the respiratory system of patients by gas treatment, e.g. ventilators; Tracheal tubes
- A61M16/08—Bellows; Connecting tubes ; Water traps; Patient circuits
- A61M16/0875—Connecting tubes
-
- A—HUMAN NECESSITIES
- A61—MEDICAL OR VETERINARY SCIENCE; HYGIENE
- A61M—DEVICES FOR INTRODUCING MEDIA INTO, OR ONTO, THE BODY; DEVICES FOR TRANSDUCING BODY MEDIA OR FOR TAKING MEDIA FROM THE BODY; DEVICES FOR PRODUCING OR ENDING SLEEP OR STUPOR
- A61M16/00—Devices for influencing the respiratory system of patients by gas treatment, e.g. ventilators; Tracheal tubes
- A61M16/22—Carbon dioxide-absorbing devices ; Other means for removing carbon dioxide
-
- A—HUMAN NECESSITIES
- A62—LIFE-SAVING; FIRE-FIGHTING
- A62B—DEVICES, APPARATUS OR METHODS FOR LIFE-SAVING
- A62B18/00—Breathing masks or helmets, e.g. affording protection against chemical agents or for use at high altitudes or incorporating a pump or compressor for reducing the inhalation effort
- A62B18/08—Component parts for gas-masks or gas-helmets, e.g. windows, straps, speech transmitters, signal-devices
- A62B18/084—Means for fastening gas-masks to heads or helmets
-
- A—HUMAN NECESSITIES
- A61—MEDICAL OR VETERINARY SCIENCE; HYGIENE
- A61M—DEVICES FOR INTRODUCING MEDIA INTO, OR ONTO, THE BODY; DEVICES FOR TRANSDUCING BODY MEDIA OR FOR TAKING MEDIA FROM THE BODY; DEVICES FOR PRODUCING OR ENDING SLEEP OR STUPOR
- A61M16/00—Devices for influencing the respiratory system of patients by gas treatment, e.g. ventilators; Tracheal tubes
- A61M16/06—Respiratory or anaesthetic masks
- A61M16/0605—Means for improving the adaptation of the mask to the patient
- A61M16/0633—Means for improving the adaptation of the mask to the patient with forehead support
-
- A—HUMAN NECESSITIES
- A61—MEDICAL OR VETERINARY SCIENCE; HYGIENE
- A61M—DEVICES FOR INTRODUCING MEDIA INTO, OR ONTO, THE BODY; DEVICES FOR TRANSDUCING BODY MEDIA OR FOR TAKING MEDIA FROM THE BODY; DEVICES FOR PRODUCING OR ENDING SLEEP OR STUPOR
- A61M16/00—Devices for influencing the respiratory system of patients by gas treatment, e.g. ventilators; Tracheal tubes
- A61M16/06—Respiratory or anaesthetic masks
- A61M16/0683—Holding devices therefor
- A61M16/0694—Chin straps
-
- A—HUMAN NECESSITIES
- A61—MEDICAL OR VETERINARY SCIENCE; HYGIENE
- A61M—DEVICES FOR INTRODUCING MEDIA INTO, OR ONTO, THE BODY; DEVICES FOR TRANSDUCING BODY MEDIA OR FOR TAKING MEDIA FROM THE BODY; DEVICES FOR PRODUCING OR ENDING SLEEP OR STUPOR
- A61M2206/00—Characteristics of a physical parameter; associated device therefor
- A61M2206/10—Flow characteristics
- A61M2206/14—Static flow deviators in tubes disturbing laminar flow in tubes, e.g. archimedes screws
-
- A—HUMAN NECESSITIES
- A61—MEDICAL OR VETERINARY SCIENCE; HYGIENE
- A61M—DEVICES FOR INTRODUCING MEDIA INTO, OR ONTO, THE BODY; DEVICES FOR TRANSDUCING BODY MEDIA OR FOR TAKING MEDIA FROM THE BODY; DEVICES FOR PRODUCING OR ENDING SLEEP OR STUPOR
- A61M2210/00—Anatomical parts of the body
- A61M2210/06—Head
- A61M2210/0618—Nose
-
- Y—GENERAL TAGGING OF NEW TECHNOLOGICAL DEVELOPMENTS; GENERAL TAGGING OF CROSS-SECTIONAL TECHNOLOGIES SPANNING OVER SEVERAL SECTIONS OF THE IPC; TECHNICAL SUBJECTS COVERED BY FORMER USPC CROSS-REFERENCE ART COLLECTIONS [XRACs] AND DIGESTS
- Y10—TECHNICAL SUBJECTS COVERED BY FORMER USPC
- Y10T—TECHNICAL SUBJECTS COVERED BY FORMER US CLASSIFICATION
- Y10T24/00—Buckles, buttons, clasps, etc.
- Y10T24/19—Necktie fastener
- Y10T24/1959—Magnetic, adhesive, or snap type fastener connects tie to shirt
-
- Y—GENERAL TAGGING OF NEW TECHNOLOGICAL DEVELOPMENTS; GENERAL TAGGING OF CROSS-SECTIONAL TECHNOLOGIES SPANNING OVER SEVERAL SECTIONS OF THE IPC; TECHNICAL SUBJECTS COVERED BY FORMER USPC CROSS-REFERENCE ART COLLECTIONS [XRACs] AND DIGESTS
- Y10—TECHNICAL SUBJECTS COVERED BY FORMER USPC
- Y10T—TECHNICAL SUBJECTS COVERED BY FORMER US CLASSIFICATION
- Y10T24/00—Buckles, buttons, clasps, etc.
- Y10T24/32—Buckles, buttons, clasps, etc. having magnetic fastener
Landscapes
- Health & Medical Sciences (AREA)
- Pulmonology (AREA)
- General Health & Medical Sciences (AREA)
- Life Sciences & Earth Sciences (AREA)
- Emergency Medicine (AREA)
- Biomedical Technology (AREA)
- Heart & Thoracic Surgery (AREA)
- Hematology (AREA)
- Engineering & Computer Science (AREA)
- Animal Behavior & Ethology (AREA)
- Anesthesiology (AREA)
- Public Health (AREA)
- Veterinary Medicine (AREA)
- Business, Economics & Management (AREA)
- Emergency Management (AREA)
- Otolaryngology (AREA)
- Respiratory Apparatuses And Protective Means (AREA)
- Pharmaceuticals Containing Other Organic And Inorganic Compounds (AREA)
Applications Claiming Priority (5)
| Application Number | Priority Date | Filing Date | Title |
|---|---|---|---|
| AUPS1926A AUPS192602A0 (en) | 2002-04-23 | 2002-04-23 | Nasal mask |
| US37725402P | 2002-05-03 | 2002-05-03 | |
| US39719502P | 2002-07-22 | 2002-07-22 | |
| US40250902P | 2002-08-12 | 2002-08-12 | |
| US10/390,720 US7487772B2 (en) | 2002-04-23 | 2003-03-19 | Ergonomic and adjustable respiratory mask assembly with elbow assembly |
Publications (3)
| Publication Number | Publication Date |
|---|---|
| JP2004000574A JP2004000574A (ja) | 2004-01-08 |
| JP2004000574A5 JP2004000574A5 (enExample) | 2007-07-26 |
| JP4468652B2 true JP4468652B2 (ja) | 2010-05-26 |
Family
ID=40720354
Family Applications (5)
| Application Number | Title | Priority Date | Filing Date |
|---|---|---|---|
| JP2003117806A Expired - Fee Related JP4485143B2 (ja) | 2002-04-23 | 2003-04-23 | ベントカバーを有する人間工学に基づいた調節可能な呼吸用マスクアセンブリ |
| JP2003117836A Expired - Lifetime JP4593084B2 (ja) | 2002-04-23 | 2003-04-23 | クッションを有する人間工学に基づいた調節可能な呼吸用マスクアセンブリ |
| JP2003117889A Expired - Fee Related JP4694105B2 (ja) | 2002-04-23 | 2003-04-23 | フレームを有する人間工学に基づいた調節可能な呼吸用マスクアセンブリ |
| JP2003117911A Expired - Fee Related JP4468652B2 (ja) | 2002-04-23 | 2003-04-23 | エルボーアセンブリを有する人間工学に基づいた調節可能な呼吸用マスクアセンブリ |
| JP2003117861A Expired - Lifetime JP4544830B2 (ja) | 2002-04-23 | 2003-04-23 | ヘッドギアアセンブリを有する人間工学に基づいた調節可能な呼吸用マスクアセンブリ |
Family Applications Before (3)
| Application Number | Title | Priority Date | Filing Date |
|---|---|---|---|
| JP2003117806A Expired - Fee Related JP4485143B2 (ja) | 2002-04-23 | 2003-04-23 | ベントカバーを有する人間工学に基づいた調節可能な呼吸用マスクアセンブリ |
| JP2003117836A Expired - Lifetime JP4593084B2 (ja) | 2002-04-23 | 2003-04-23 | クッションを有する人間工学に基づいた調節可能な呼吸用マスクアセンブリ |
| JP2003117889A Expired - Fee Related JP4694105B2 (ja) | 2002-04-23 | 2003-04-23 | フレームを有する人間工学に基づいた調節可能な呼吸用マスクアセンブリ |
Family Applications After (1)
| Application Number | Title | Priority Date | Filing Date |
|---|---|---|---|
| JP2003117861A Expired - Lifetime JP4544830B2 (ja) | 2002-04-23 | 2003-04-23 | ヘッドギアアセンブリを有する人間工学に基づいた調節可能な呼吸用マスクアセンブリ |
Country Status (9)
| Country | Link |
|---|---|
| US (13) | US7597100B2 (enExample) |
| EP (8) | EP2301614B1 (enExample) |
| JP (5) | JP4485143B2 (enExample) |
| CN (7) | CN100584405C (enExample) |
| AT (4) | ATE435676T1 (enExample) |
| AU (8) | AUPS192602A0 (enExample) |
| DE (7) | DE20321472U1 (enExample) |
| NZ (7) | NZ553825A (enExample) |
| WO (1) | WO2003090827A1 (enExample) |
Families Citing this family (436)
| Publication number | Priority date | Publication date | Assignee | Title |
|---|---|---|---|---|
| AUPQ104099A0 (en) | 1999-06-18 | 1999-07-08 | Resmed Limited | Forehead support for facial mask |
| AUPQ102999A0 (en) | 1999-06-18 | 1999-07-08 | Resmed Limited | A connector for a respiratory mask and a respiratory mask |
| US6374826B1 (en) | 1999-03-18 | 2002-04-23 | Resmed Limited | Mask and headgear connector |
| EP1210139B1 (de) | 1999-08-05 | 2006-10-11 | MAP Medizin-Technologie GmbH | Vorrichtung zur zufuhr eines atemgases und befeuchtungsvorrichtung |
| DE10035946C2 (de) * | 2000-07-21 | 2002-06-27 | Map Gmbh | Halterung für eine Atemmaske |
| DE20017940U1 (de) | 2000-10-19 | 2000-12-28 | MAP Medizintechnik für Arzt und Patient GmbH & Co KG, 82152 Planegg | Atemmaske zur Zufuhr eines Atemgases zu einem Maskenanwender sowie Ableitungseinrichtung zur Ableitung von Atemgas |
| WO2002051486A1 (en) | 2000-12-22 | 2002-07-04 | Resmed Ltd. | Flow regulation vent |
| US7753050B2 (en) | 2001-09-07 | 2010-07-13 | Resmed Limited | Headgear connection assembly for a respiratory mask assembly |
| JP4467875B2 (ja) * | 2001-09-07 | 2010-05-26 | レスメド・リミテッド | マスクアセンブリ |
| DE10151984C5 (de) | 2001-10-22 | 2008-07-17 | Map Medizin-Technologie Gmbh | Applikationsvorrichtung für eine Atemmaskenanordnung |
| DE50214539D1 (de) | 2001-10-22 | 2010-08-26 | Map Medizin Technologie Gmbh | Medizinische Maske |
| DE10201682A1 (de) | 2002-01-17 | 2003-07-31 | Map Medizin Technologie Gmbh | Atemmaskenanordnung |
| US6892729B2 (en) | 2001-11-20 | 2005-05-17 | Fisher & Paykel Healthcare Limited | Patient interfaces |
| USD639417S1 (en) | 2001-12-12 | 2011-06-07 | Resmed Limited | Front face of a headgear for a respiratory mask |
| AU154125S (en) * | 2002-01-17 | 2003-12-23 | Resmed R&D Germany Gmbh | Modular breathing mask |
| US8042542B2 (en) * | 2002-04-23 | 2011-10-25 | Resmed Limited | Respiratory mask assembly with magnetic coupling to headgear assembly |
| AUPS192602A0 (en) | 2002-04-23 | 2002-05-30 | Resmed Limited | Nasal mask |
| US7743767B2 (en) * | 2002-04-23 | 2010-06-29 | Resmed Limited | Ergonomic and adjustable respiratory mask assembly with frame |
| US8997742B2 (en) * | 2002-04-23 | 2015-04-07 | Resmed Limited | Ergonomic and adjustable respiratory mask assembly with cushion |
| USD552731S1 (en) | 2002-08-09 | 2007-10-09 | Resmed Limited | Portion of a yoked headgear |
| US7931025B2 (en) * | 2002-08-09 | 2011-04-26 | Ric Investments, Llc | Patient interface and headgear connector |
| USD485905S1 (en) | 2002-08-09 | 2004-01-27 | Resmed Limited | Nasal mask |
| USD540941S1 (en) * | 2002-08-09 | 2007-04-17 | Resmed Limited | Elbow for mask |
| US7066179B2 (en) * | 2002-08-09 | 2006-06-27 | Ric Investments, Llc. | Patient interface and headgear connector |
| WO2004022147A1 (en) | 2002-09-06 | 2004-03-18 | Resmed Limited | Elbow for mask assembly |
| WO2004022145A1 (en) | 2002-09-06 | 2004-03-18 | Resmed Limited | Forehead pad for respiratory mask |
| NZ573196A (en) | 2002-09-06 | 2010-07-30 | Resmed Ltd | Cushion for a respiratory mask assembly with two force applying features for respectively low and high mask pressure |
| WO2004026381A1 (en) * | 2002-09-18 | 2004-04-01 | Unomedical A/S | A pressure reducing device |
| US20060090760A1 (en) * | 2002-10-02 | 2006-05-04 | Gradon Lewis G | Release mechanism for masks |
| NZ553302A (en) | 2002-11-06 | 2008-10-31 | Resmed Ltd | Mask assembly with frame that can be flexed about longitudinal axis |
| USD561332S1 (en) | 2002-11-08 | 2008-02-05 | Resmed Limited | Portion of a front face of headgear for respiratory mask |
| USD556897S1 (en) | 2002-11-08 | 2007-12-04 | Resmed Limited | Portion of a swivel elbow for a mask |
| USD496098S1 (en) | 2002-11-08 | 2004-09-14 | Resmed Limited | Swivel elbow for mask assembly |
| USD496726S1 (en) | 2002-11-08 | 2004-09-28 | Resmed Limited | Front face of headgear for respiratory mask |
| NZ712109A (en) | 2002-11-08 | 2017-03-31 | Resmed Ltd | Headgear assembly for a respiratory mask assembly |
| EP1575650B1 (en) | 2002-12-06 | 2016-05-25 | Fisher & Paykel Healthcare Limited | Mouthpiece |
| NZ562412A (en) | 2003-02-21 | 2009-02-28 | Resmed Ltd | Nasal assembly for pillow mask |
| US8042538B2 (en) * | 2003-02-21 | 2011-10-25 | Resmed Limited | Nasal mask assembly |
| NZ588137A (en) | 2003-05-02 | 2012-02-24 | Resmed Ltd | A mask system with interconnected flexible shell/cushion, rigid frame, ring member and rotatable elbow |
| US7588033B2 (en) | 2003-06-18 | 2009-09-15 | Breathe Technologies, Inc. | Methods, systems and devices for improving ventilation in a lung area |
| US8381729B2 (en) * | 2003-06-18 | 2013-02-26 | Breathe Technologies, Inc. | Methods and devices for minimally invasive respiratory support |
| DE10337138A1 (de) * | 2003-08-11 | 2005-03-17 | Freitag, Lutz, Dr. | Verfahren und Anordnung zur Atmungsunterstützung eines Patienten sowie Luftröhrenprothese und Katheter |
| AU2003903139A0 (en) | 2003-06-20 | 2003-07-03 | Resmed Limited | Breathable gas apparatus with humidifier |
| EP2910271B8 (en) | 2003-06-20 | 2019-08-07 | ResMed Pty Ltd | Breathable gas apparatus with humidifier |
| US7047977B2 (en) * | 2003-06-30 | 2006-05-23 | Simon Frank | Medical device for overcoming airway obstruction |
| JP2007506480A (ja) | 2003-08-18 | 2007-03-22 | ワンドカ,アンソニー・ディ | 鼻用インターフェイスによる非侵襲的換気のための方法と器具 |
| EP1663366B1 (en) | 2003-09-03 | 2019-11-13 | Fisher & Paykel Healthcare Limited | A mask |
| AU2004277844C1 (en) * | 2003-10-08 | 2011-01-20 | Fisher & Paykel Healthcare Limited | Breathing assistance apparatus |
| US8132270B2 (en) | 2003-11-11 | 2012-03-13 | Map Medizin-Technologie Gmbh | Headband device for an oxygen mask |
| EP1720593B1 (en) | 2003-12-08 | 2012-02-22 | Fisher & Paykel Healthcare Limited | Breathing assistance apparatus |
| US7819120B2 (en) * | 2003-12-30 | 2010-10-26 | 3M Innovative Properties Company | Respiratory component mounting assembly |
| WO2005063326A1 (en) * | 2003-12-31 | 2005-07-14 | Resmed Limited | Mask system |
| EP3815730B1 (en) | 2003-12-31 | 2024-12-18 | ResMed Pty Ltd | Oronasal patient interface |
| JP4787174B2 (ja) * | 2004-01-16 | 2011-10-05 | レスメド・リミテッド | 呼吸用マスクアセンブリのためのヘッドギア連結アセンブリ |
| WO2005079726A1 (en) | 2004-02-23 | 2005-09-01 | Fisher & Paykel Healthcare Limited | Breathing assistance apparatus |
| EP1737524B1 (en) | 2004-04-02 | 2018-10-10 | Fisher & Paykel Healthcare Limited | Breathing assistance apparatus |
| US9072852B2 (en) | 2004-04-02 | 2015-07-07 | Fisher & Paykel Healthcare Limited | Breathing assistance apparatus |
| US7942150B2 (en) | 2004-04-09 | 2011-05-17 | Resmed Limited | Nasal assembly |
| WO2005099801A1 (en) | 2004-04-15 | 2005-10-27 | Resmed Limited | Positive-air-pressure machine conduit |
| USD537523S1 (en) | 2004-05-17 | 2007-02-27 | Resmed Limited | Mask shell |
| USD561893S1 (en) | 2004-05-28 | 2008-02-12 | Resmed Limited | Portion of a right side headgear strap and yoke |
| USD562976S1 (en) | 2004-05-28 | 2008-02-26 | Resmed Limited | Portion of a mask cushion |
| USD542912S1 (en) | 2004-05-28 | 2007-05-15 | Resmed Limited | Mask |
| EP1755719B1 (en) | 2004-06-03 | 2016-07-27 | ResMed Limited | Cushion for a patient interface |
| WO2005118042A2 (en) * | 2004-06-03 | 2005-12-15 | Compumedics Limited | Adaptable breathing mask |
| NZ608551A (en) | 2004-06-16 | 2014-10-31 | Resmed Ltd | Cushion for a respiratory mask assembly |
| JP2008507305A (ja) | 2004-07-23 | 2008-03-13 | レスメド リミテッド | 患者用インターフェースのための回りエルボ |
| WO2006122369A1 (en) * | 2005-05-20 | 2006-11-23 | Resmed Limited | Elbow for mask system |
| EP1776153B1 (de) * | 2004-08-02 | 2018-10-31 | ResMed R&D Germany GmbH | Vorrichtung zur ableitung von atemgas aus dem innenbereich einer atemmaske, sowie unter einschluss dieser vorrichtung gebildete atemmaskenanordnung an sich |
| USD550834S1 (en) | 2004-08-05 | 2007-09-11 | Map Medizin-Technologie Gmbh | Headgear for mask assembly |
| US7624735B2 (en) * | 2004-09-21 | 2009-12-01 | Respironics Respiratory Drug Delivery (Uk) Ltd | Cheek-mounted patient interface |
| US7819119B2 (en) * | 2004-10-08 | 2010-10-26 | Ric Investments, Llc | User interface having a pivotable coupling |
| USD535023S1 (en) | 2004-11-08 | 2007-01-09 | Resmed Limited | Elbow of a full face mask |
| US20060096597A1 (en) * | 2004-11-09 | 2006-05-11 | Home Health Medical Equipment Incorporated, D/B/A Ag Industries | Swivel filter for use with sleep apnea and other respiratory equipment including associated interface systems |
| USD532511S1 (en) | 2005-01-03 | 2006-11-21 | Resmed Limited | Headgear for respiratory mask assembly |
| USD532512S1 (en) * | 2005-01-03 | 2006-11-21 | Resmed Limited | Headgear for respiratory mask assembly |
| US7246384B2 (en) * | 2005-01-07 | 2007-07-24 | William George Bentz | Headgear and chin strap with magnetic fastener |
| JP2008526394A (ja) | 2005-01-12 | 2008-07-24 | レスメド リミテッド | ガス逃がし通気孔を有する呼吸マスクおよびマスクの製造方法 |
| NZ701102A (en) * | 2005-01-12 | 2016-07-29 | Resmed Ltd | Cushion for patient interface |
| CN101132824B (zh) | 2005-03-01 | 2010-10-20 | 雷斯梅德有限公司 | 为患者输送可呼吸气体的装置的识别系统 |
| TWM283275U (en) * | 2005-05-20 | 2005-12-11 | Agon Tech Corp | Waterproof heat dissipating structure of electronic signboards |
| US20060266365A1 (en) * | 2005-05-31 | 2006-11-30 | Resmed Limited | Vent cover for a mask assembly |
| AU2006255476B2 (en) | 2005-06-06 | 2012-07-05 | ResMed Pty Ltd | Mask system |
| WO2006133494A1 (en) * | 2005-06-14 | 2006-12-21 | Resmed Limited | Methods and apparatus for controlling mask leak in cpap treatment |
| US7455063B2 (en) | 2005-06-17 | 2008-11-25 | Nellcor Puritan Bennett Llc | Adjustable gas delivery mask having a flexible gasket |
| US7849855B2 (en) | 2005-06-17 | 2010-12-14 | Nellcor Puritan Bennett Llc | Gas exhaust system for a gas delivery mask |
| US7827987B2 (en) | 2005-06-17 | 2010-11-09 | Nellcor Puritan Bennett Llc | Ball joint for providing flexibility to a gas delivery pathway |
| US7900630B2 (en) | 2005-06-17 | 2011-03-08 | Nellcor Puritan Bennett Llc | Gas delivery mask with flexible bellows |
| DE102005033648B4 (de) | 2005-07-19 | 2016-05-04 | Resmed R&D Germany Gmbh | Atemmaskeneinrichtung und Verfahren zur Herstellung derselben |
| WO2007019624A1 (en) | 2005-08-15 | 2007-02-22 | Resmed Ltd | Cpap systems |
| JP4773775B2 (ja) * | 2005-08-26 | 2011-09-14 | ジーイー・メディカル・システムズ・グローバル・テクノロジー・カンパニー・エルエルシー | クッションおよびx線ct装置 |
| EP1928527B1 (en) * | 2005-08-29 | 2015-11-11 | ResMed Limited | Mouth seal assembly for nasal mask system |
| WO2007035804A2 (en) | 2005-09-20 | 2007-03-29 | Lutz Freitag | Systems, methods and apparatus for respiratory support of a patient |
| EP1772098B1 (en) * | 2005-10-10 | 2014-02-26 | CareFusion Germany 234 GmbH | Measuring head for diagnostic instruments and method |
| WO2007041786A1 (en) * | 2005-10-14 | 2007-04-19 | Resmed Ltd | Nasal assembly |
| NZ565507A (en) | 2005-10-14 | 2011-06-30 | Resmed Ltd | Mask with cushion having lip which in use deflects against frame of mask |
| NZ567372A (en) * | 2005-10-17 | 2011-06-30 | Resmed Ltd | Anti-asphyxia valve assembly for respiratory mask with clip member to secure AAV assemblywithin an elbow |
| WO2007048174A1 (en) | 2005-10-25 | 2007-05-03 | Resmed Ltd | Interchangeable mask assembly |
| USD587800S1 (en) | 2006-04-14 | 2009-03-03 | Resmed Limited | Respiratory mask cushion frame |
| WO2007053878A1 (en) | 2005-11-08 | 2007-05-18 | Resmed Ltd | Nasal assembly |
| JP5132925B2 (ja) * | 2005-12-21 | 2013-01-30 | レスメド・リミテッド | マスク及び人工呼吸器の構成部品の識別システム及びその方法 |
| USD558333S1 (en) | 2006-01-12 | 2007-12-25 | Resmed Limited | Elbow for a respiratory mask |
| US20080142015A1 (en) * | 2006-01-27 | 2008-06-19 | David Groll | Apparatus to provide continuous positive airway pressure |
| US8631793B2 (en) | 2006-03-29 | 2014-01-21 | Teijin Pharma Limited | Nasal respiratory mask system and connection/disconnection means used therein |
| US20080053446A1 (en) * | 2006-03-31 | 2008-03-06 | Tiara Medical Systems, Inc. | Adjustable cpap mask assembly |
| USD619701S1 (en) | 2006-04-06 | 2010-07-13 | Resmed Limited | Respiratory mask |
| EP2012858A2 (en) | 2006-04-10 | 2009-01-14 | Aeiomed, INC. | Apparatus and methods for administration of positive airway pressure therapies |
| USD586907S1 (en) | 2006-04-14 | 2009-02-17 | Resmed Limited | Respiratory mask assembly |
| USD588258S1 (en) | 2006-04-14 | 2009-03-10 | Resmed Limited | Respiratory mask cushion |
| USD597199S1 (en) * | 2006-04-28 | 2009-07-28 | Resmed Limited | Respiratory mask frame |
| JP5191005B2 (ja) * | 2006-05-18 | 2013-04-24 | ブリーズ テクノロジーズ, インコーポレイテッド | 気管切開の方法およびデバイス |
| US7726309B2 (en) * | 2006-06-05 | 2010-06-01 | Ric Investments, Llc | Flexible connector |
| EP4190381B1 (en) * | 2006-06-16 | 2025-11-19 | Fisher & Paykel Healthcare Limited | Breathing assistance apparatus |
| USD637283S1 (en) | 2006-06-16 | 2011-05-03 | Resmed Limited | Elbow assembly for patient interface |
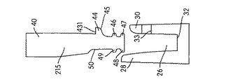
| US8342181B2 (en) * | 2006-06-16 | 2013-01-01 | Resmed Limited | Elbow assembly |
| EP2051762B1 (en) | 2006-07-14 | 2020-03-11 | Fisher & Paykel Healthcare Limited | Breathing assistance apparatus |
| ES2458618T3 (es) | 2006-07-28 | 2014-05-06 | Resmed Limited | Interfaz de paciente |
| EP2428241B1 (en) | 2006-07-28 | 2016-07-06 | ResMed Limited | Delivery of respiratory therapy |
| DE102006057763A1 (de) * | 2006-08-18 | 2008-02-21 | Weinmann Geräte für Medizin GmbH + Co. KG | Atemmaske mit Löseeinrichtung |
| AU313748S (en) * | 2006-09-01 | 2007-04-23 | Ric Invest | Chin mounted patient interface |
| US20110072553A1 (en) * | 2006-09-07 | 2011-03-31 | Peter Chi Fai Ho | Headgear Assembly |
| US20090320842A1 (en) | 2006-09-07 | 2009-12-31 | Renee Frances Doherty | Mask and flow generator system |
| US8109271B2 (en) | 2006-09-07 | 2012-02-07 | Nellcor Puritan Bennett Llc | Method and apparatus for securing a patient interface to a patient's face |
| US8272382B2 (en) * | 2006-09-07 | 2012-09-25 | Resmed Limited | Headgear connection assembly |
| USD586909S1 (en) | 2006-11-13 | 2009-02-17 | Resmed Limited | Anti-asphyxia valve clip for respiratory mask |
| US8490624B2 (en) * | 2006-11-13 | 2013-07-23 | Ric Investments, Llc | Patient interface with variable footprint |
| WO2008058330A1 (en) | 2006-11-14 | 2008-05-22 | Resmed Ltd | Frame and vent assembly for mask assembly |
| EP2090327B1 (en) * | 2006-12-08 | 2018-12-05 | Teijin Pharma Limited | Headgear and process for producing the same |
| NZ615330A (en) | 2006-12-15 | 2015-03-27 | Resmed Ltd | Delivery of respiratory therapy |
| WO2008070929A1 (en) | 2006-12-15 | 2008-06-19 | Resmed Ltd | Delivery of respiratory therapy |
| US8312875B2 (en) | 2007-01-11 | 2012-11-20 | Resmed Limited | Fastenable conduit for breathable gas delivery |
| US8517023B2 (en) | 2007-01-30 | 2013-08-27 | Resmed Limited | Mask system with interchangeable headgear connectors |
| NZ615209A (en) | 2007-03-02 | 2015-07-31 | Resmed Ltd | Respiratory mask |
| US7931021B2 (en) * | 2007-03-26 | 2011-04-26 | Braebon Medical Corporation | Support device for respiratory interface |
| NZ578334A (en) | 2007-04-19 | 2011-01-28 | Resmed Ltd | Mask frame connected to face cushion via intervening clip |
| US8875709B2 (en) * | 2007-05-10 | 2014-11-04 | Resmed Limited | Mask assembly |
| WO2008144589A1 (en) | 2007-05-18 | 2008-11-27 | Breathe Technologies, Inc. | Methods and devices for sensing respiration and providing ventilation therapy |
| KR100966464B1 (ko) | 2007-06-05 | 2010-06-28 | 박재철 | 착용이 용이하고 기밀성이 향상된 방독 마스크 |
| NZ582624A (en) | 2007-06-22 | 2011-08-26 | Resmed Ltd | Forehead support for a facial mask |
| US8677993B2 (en) | 2007-07-18 | 2014-03-25 | Vapotherm, Inc. | Humidifier for breathing gas heating and humidification system |
| NZ615814A (en) | 2007-07-30 | 2015-05-29 | Resmed Ltd | Patient interface |
| US8757157B2 (en) | 2007-08-02 | 2014-06-24 | Resmed Limited | Mask for delivery of respiratory therapy to a patient |
| US20090032018A1 (en) * | 2007-08-03 | 2009-02-05 | Eaton Jason P | System Adapted to Provide a Flow of Gas to an Airway of a Patient |
| US8397727B2 (en) * | 2007-08-24 | 2013-03-19 | Resmed Limited | Mask vent |
| CA2700869C (en) * | 2007-09-26 | 2018-10-30 | Breathe Technologies, Inc. | Methods and devices for treating sleep apnea |
| CN101873875B (zh) | 2007-09-26 | 2014-11-12 | 呼吸科技公司 | 用于在通气治疗中提供吸气和呼气流释放的方法和装置 |
| US8905023B2 (en) | 2007-10-05 | 2014-12-09 | Vapotherm, Inc. | Hyperthermic humidification system |
| WO2011014931A1 (en) * | 2009-08-07 | 2011-02-10 | Resmed Ltd | Patient interface systems |
| US8561613B2 (en) * | 2007-10-31 | 2013-10-22 | Resmed Limited | Respiratory mask assembly for stabilizing patient interface |
| US8800563B2 (en) | 2007-11-05 | 2014-08-12 | Resmed Limited | Headgear for a respiratory mask and a method for donning a respiratory mask |
| EP2219719B1 (en) * | 2007-11-15 | 2017-12-27 | ResMed Limited | A cushioning structure |
| AU320813S (en) | 2007-11-26 | 2008-08-21 | Resmed Ltd | Frame component of a respiratory mask |
| USD586911S1 (en) * | 2007-11-29 | 2009-02-17 | Fisher & Paykel Healthcare Limited | Nasal interface |
| USD637279S1 (en) | 2008-01-11 | 2011-05-03 | Resmed Limited | Strap and yoke for mask |
| AU2009205945A1 (en) * | 2008-01-18 | 2009-07-23 | Breathe Technologies, Inc. | Methods and devices for improving efficacy of non-invasive ventilation |
| US9981104B1 (en) | 2008-02-19 | 2018-05-29 | Circadiance, Llc | Full face cloth respiratory mask |
| US9308343B2 (en) | 2008-02-19 | 2016-04-12 | Circadiance, Llc | Respiratory mask with disposable cloth body |
| EP2259828B1 (en) | 2008-03-04 | 2021-05-19 | ResMed Pty Ltd | Cushion element and respiratory mask assembly comprising same |
| NZ747465A (en) * | 2008-03-04 | 2020-05-29 | ResMed Pty Ltd | Unobtrusive interface systems |
| US11331447B2 (en) | 2008-03-04 | 2022-05-17 | ResMed Pty Ltd | Mask system with snap-fit shroud |
| DE202009018943U1 (de) * | 2008-03-04 | 2014-08-25 | Resmed Ltd. | Maskensystem |
| WO2009108994A1 (en) | 2008-03-04 | 2009-09-11 | Resmed Ltd | A foam respiratory mask |
| WO2009125348A1 (en) * | 2008-04-11 | 2009-10-15 | Koninklijke Philips Electronics, N.V. | Patient interface system |
| EP2274036A4 (en) | 2008-04-18 | 2014-08-13 | Breathe Technologies Inc | METHODS AND DEVICES FOR DETECTING BREATHING AND CONTROLLING INSUFFLATOR FUNCTIONS |
| US8776793B2 (en) | 2008-04-18 | 2014-07-15 | Breathe Technologies, Inc. | Methods and devices for sensing respiration and controlling ventilator functions |
| USD652505S1 (en) | 2008-05-02 | 2012-01-17 | Resmed Limited | Left and right side strap and yoke for a mask |
| US10258757B2 (en) | 2008-05-12 | 2019-04-16 | Fisher & Paykel Healthcare Limited | Patient interface and aspects thereof |
| US10792451B2 (en) * | 2008-05-12 | 2020-10-06 | Fisher & Paykel Healthcare Limited | Patient interface and aspects thereof |
| WO2009143586A1 (en) | 2008-05-29 | 2009-12-03 | Resmed Ltd | Flexible structure for mask, and method and apparatus for evaluating performance of a mask in use |
| NZ701499A (en) * | 2008-05-29 | 2016-05-27 | Resmed Ltd | Medical headgear |
| US8905031B2 (en) | 2008-06-04 | 2014-12-09 | Resmed Limited | Patient interface systems |
| NZ577415A (en) | 2008-06-04 | 2011-01-28 | Resmed Ltd | Breathing apparatus attached to the face using a hook and loop fastener having one side adhered to the skin |
| EP3597251B1 (en) | 2008-06-05 | 2023-04-26 | ResMed Pty Ltd | Treatment of respiratory conditions |
| US11660413B2 (en) | 2008-07-18 | 2023-05-30 | Fisher & Paykel Healthcare Limited | Breathing assistance apparatus |
| USD594113S1 (en) | 2008-08-07 | 2009-06-09 | Resmed Limited | Vent for a respiratory mask |
| US8677999B2 (en) | 2008-08-22 | 2014-03-25 | Breathe Technologies, Inc. | Methods and devices for providing mechanical ventilation with an open airway interface |
| USD597202S1 (en) | 2008-09-08 | 2009-07-28 | Resmed Limited | Respiratory mask |
| CN104771821B (zh) | 2008-09-12 | 2018-10-16 | 瑞思迈有限公司 | 泡沫基的接口结构用方法和装置 |
| EP2344791B1 (en) | 2008-10-01 | 2016-05-18 | Breathe Technologies, Inc. | Ventilator with biofeedback monitoring and control for improving patient activity and health |
| USD612934S1 (en) | 2008-10-10 | 2010-03-30 | Fisher & Paykel Healthcare Limited | Body of a nasal pillow |
| USD612933S1 (en) | 2008-10-10 | 2010-03-30 | Fisher & Paykel Healthcare Limited | Nasal pillow |
| EP3988152B1 (en) | 2008-10-10 | 2024-12-04 | Fisher & Paykel Healthcare Limited | Nasal pillows for a patient interface |
| USD639418S1 (en) | 2008-10-10 | 2011-06-07 | Fisher & Paykel Healthcare Limited | Nasal pillow |
| USD597661S1 (en) | 2008-10-20 | 2009-08-04 | Resmed Limited | Respiratory mask |
| EP3351282A1 (en) | 2008-11-27 | 2018-07-25 | Teijin Pharma Limited | Breathing mask |
| DE202009018927U1 (de) * | 2008-12-10 | 2014-07-17 | Resmed Limited | Kopfmonturen für Masken |
| WO2010073142A1 (en) * | 2008-12-23 | 2010-07-01 | Koninklijke Philips Electronics, N.V. | Adjustable headgear |
| USD629891S1 (en) | 2009-01-12 | 2010-12-28 | Resmed Limited | Cuff for air delivery tube |
| WO2010115168A1 (en) * | 2009-04-02 | 2010-10-07 | Breathe Technologies, Inc. | Methods, systems and devices for non-invasive open ventilation with gas delivery nozzles within an outer tube |
| US9132250B2 (en) | 2009-09-03 | 2015-09-15 | Breathe Technologies, Inc. | Methods, systems and devices for non-invasive ventilation including a non-sealing ventilation interface with an entrainment port and/or pressure feature |
| USD628288S1 (en) | 2009-01-22 | 2010-11-30 | Resmed Limited | Cuff for air delivery tube |
| EP2213324B1 (en) | 2009-01-30 | 2016-07-27 | ResMed R&D Germany GmbH | Patient interface structure and method/tool for manufacturing same |
| USD629892S1 (en) | 2009-03-05 | 2010-12-28 | Resmed Limited | Cuff for air delivery tube |
| US9962512B2 (en) | 2009-04-02 | 2018-05-08 | Breathe Technologies, Inc. | Methods, systems and devices for non-invasive ventilation including a non-sealing ventilation interface with a free space nozzle feature |
| US20100282264A1 (en) * | 2009-05-05 | 2010-11-11 | Hsiner Company, Ltd. | Respiratory mask having a damping ring |
| EP3266482A1 (en) * | 2009-05-12 | 2018-01-10 | Fisher & Paykel Healthcare Limited | Patient interface and aspects thereof |
| NZ617661A (en) * | 2009-05-29 | 2015-05-29 | Resmed Ltd | Nasal mask system |
| NZ596486A (en) | 2009-06-02 | 2014-04-30 | Resmed Ltd | Unobtrusive nasal mask |
| WO2011006206A1 (en) | 2009-07-17 | 2011-01-20 | Paftec Holdings Pty Ltd | Respirator |
| WO2011029074A1 (en) | 2009-09-03 | 2011-03-10 | Breathe Technologies, Inc. | Methods, systems and devices for non-invasive ventilation including a non-sealing ventilation interface with an entrainment port and/or pressure feature |
| USD660413S1 (en) * | 2009-09-11 | 2012-05-22 | Resmed Limited | Headgear pad for a respiratory mask |
| USD641467S1 (en) | 2009-09-14 | 2011-07-12 | Home Health Medical Equipment Incorporated | Hose cuff |
| US10137271B2 (en) | 2009-11-18 | 2018-11-27 | Fisher & Paykel Healthcare Limited | Nasal interface |
| CN102725017B (zh) * | 2009-11-20 | 2016-05-25 | 瑞思迈有限公司 | 面罩系统 |
| GB2534305A (en) * | 2009-12-23 | 2016-07-20 | Fisher & Paykel Healthcare Ltd | Patient interface and headgear |
| US12194240B2 (en) | 2009-12-23 | 2025-01-14 | Fisher & Paykel Healthcare Limited | Flexible exoskeleton mask with inflating seal member |
| US20110209708A1 (en) * | 2010-02-26 | 2011-09-01 | New York University | Ventilation Interface Device |
| US8839785B2 (en) * | 2010-03-10 | 2014-09-23 | 3M Innovative Properties Company | Respirator harness having collapsible head cradle |
| AU333371S (en) | 2010-03-12 | 2010-10-25 | Teijin Ltd | Ear plug for respiratory mask |
| AU333368S (en) | 2010-03-12 | 2010-10-25 | Teijin Ltd | Mask for respirator |
| AU333370S (en) | 2010-03-12 | 2010-10-25 | Teijin Ltd | Ear hook for respiratory mask |
| CA137094S (en) | 2010-03-12 | 2011-04-28 | Teijin Pharma Ltd | Mask body for respirator |
| US11628267B2 (en) | 2010-08-04 | 2023-04-18 | Medline Industries, Lp | Universal medical gas delivery system |
| US8707950B1 (en) * | 2010-08-04 | 2014-04-29 | Darren Rubin | Universal medical gas delivery system |
| JP5891226B2 (ja) | 2010-08-16 | 2016-03-22 | ブリーズ・テクノロジーズ・インコーポレーテッド | Loxを使用して換気補助を提供する方法、システム及び装置 |
| USD691257S1 (en) | 2010-08-23 | 2013-10-08 | Fisher & Paykel Healthcare Limited | Seal for a patient interface |
| EP2608835A4 (en) | 2010-08-27 | 2018-03-28 | ResMed Limited | Pap system |
| JP6270478B2 (ja) * | 2010-08-30 | 2018-01-31 | コーニンクレッカ フィリップス エヌ ヴェKoninklijke Philips N.V. | 自動調節クッションを備える患者インターフェース装置 |
| WO2012028995A1 (en) * | 2010-08-30 | 2012-03-08 | Koninklijke Philips Electronics N.V. | Patient interface device with a frame assembly having a double-y supporting structure |
| US9737678B2 (en) | 2010-09-30 | 2017-08-22 | Resmed Limited | Mask system |
| WO2012045051A1 (en) | 2010-09-30 | 2012-04-05 | Breathe Technologies, Inc. | Methods, systems and devices for humidifying a respiratory tract |
| JP6096662B2 (ja) | 2010-09-30 | 2017-03-15 | レスメド・リミテッドResMed Limited | 患者インターフェースシステム |
| AU2011313825B2 (en) | 2010-10-08 | 2015-07-16 | Resmed Limited | Unobtrusive nasal mask |
| US9561338B2 (en) | 2010-10-08 | 2017-02-07 | Fisher & Paykel Healthcare Limited | Breathing assistance apparatus |
| WO2012055886A1 (en) * | 2010-10-25 | 2012-05-03 | Sleep Science Llc | Butterfly nasal mask |
| USD683446S1 (en) | 2010-12-01 | 2013-05-28 | Resmed Limited | Cushion for respiratory mask |
| US20130186406A1 (en) * | 2010-12-01 | 2013-07-25 | Southmedic Incorporated | Gas delivery mask for medical use |
| AU337371S (en) * | 2010-12-02 | 2011-06-28 | Koninl Philips Electronics Nv | Elbow connector with sealing port for respiratory therapy |
| EP3736008B1 (en) | 2011-02-16 | 2023-03-29 | ResMed Pty Ltd | Mask vent |
| EP2489409B1 (de) | 2011-02-17 | 2019-04-10 | Löwenstein Medical Technology S.A. | Befestigungsvorrichtung für eine Bänderung |
| CA3000923A1 (en) | 2011-04-15 | 2012-10-18 | Fisher & Paykel Healthcare Limited | Backstrap for a patient interface |
| US10603456B2 (en) | 2011-04-15 | 2020-03-31 | Fisher & Paykel Healthcare Limited | Interface comprising a nasal sealing portion |
| WO2012143819A1 (en) | 2011-04-18 | 2012-10-26 | Koninklijke Philips Electronics N.V. | Over-molded rotationally coupled assemblies |
| USD685463S1 (en) | 2011-05-05 | 2013-07-02 | ResMed Limitd | Respiratory mask |
| WO2012160458A1 (en) | 2011-05-20 | 2012-11-29 | Koninklijke Philips Electronics N.V. | Headgear attachment mechanism for a patient interface device |
| US9211388B2 (en) * | 2011-05-31 | 2015-12-15 | Resmed Limited | Mask assembly supporting arrangements |
| GB2557119B (en) | 2011-06-03 | 2018-10-03 | Fisher & Paykel | Medical tubes and methods of manufacture |
| TWI608850B (zh) * | 2011-06-23 | 2017-12-21 | Fisher & Paykel Healthcare Ltd | 包括面罩組件的界面組件 |
| CN103764213B (zh) * | 2011-07-08 | 2017-09-26 | 瑞思迈有限公司 | 用于患者接口系统的旋转弯管与连接器组件 |
| US10300235B2 (en) | 2011-07-12 | 2019-05-28 | Resmed Limited | Textile mask systems |
| EP2731561B1 (en) | 2011-07-14 | 2016-03-23 | Cook Medical Technologies LLC | A sling to be used in the treatment of obstructive sleep apnea |
| US9072856B2 (en) | 2011-08-08 | 2015-07-07 | Paula Reynolds | CPAP stabilizing hat |
| EP3848079B1 (en) * | 2011-08-22 | 2024-06-12 | ResMed Pty Ltd | Manufactured to shape headgear and masks |
| USD692554S1 (en) | 2011-09-08 | 2013-10-29 | Fisher & Paykel Healthcare Limited | Patient interface assembly |
| US9687620B2 (en) | 2011-11-07 | 2017-06-27 | Koninklijke Philips N.V. | Patient interface with snap-fit connector |
| CN107261287B (zh) | 2011-11-15 | 2020-09-11 | 瑞思迈私人有限公司 | 鼻罩系统 |
| WO2013088293A1 (en) * | 2011-12-13 | 2013-06-20 | Koninklijke Philips Electronics N.V. | Parametric approach to mask customization |
| WO2013102829A1 (en) * | 2012-01-03 | 2013-07-11 | Koninklijke Philips Electronics N.V. | Headgear assembly with improved stabilization |
| WO2013116663A1 (en) * | 2012-02-01 | 2013-08-08 | The Trustees Of Columbia University In The City Of New York | Novel cysteine protease inhibitors and uses thereof |
| JP6403121B2 (ja) | 2012-03-15 | 2018-10-10 | フィッシャー アンド ペイケル ヘルスケア リミテッド | 呼吸ガス加湿システム |
| US9333318B2 (en) | 2012-04-13 | 2016-05-10 | Fresca Medical, Inc. | Sleep apnea device |
| US9492086B2 (en) | 2012-03-21 | 2016-11-15 | Fresca Medical, Inc. | Apparatus, systems, and methods for treating obstructive sleep apnea |
| NZ716698A (en) | 2012-03-30 | 2017-09-29 | Resmed Ltd | Patient interface |
| DE112013002228T5 (de) | 2012-04-27 | 2015-01-22 | Fisher & Paykel Healthcare Limited | Gebrauchstauglichkeitsfunktionen für ein Atembefeuchtungssystem |
| US10420908B2 (en) | 2012-05-08 | 2019-09-24 | Koninklijke Philips N.V. | Motion limiting coupling assembly for a patient interface |
| EP2877224B1 (en) * | 2012-05-18 | 2020-09-23 | ResMed Pty Ltd | Nasal mask system |
| RU2648025C2 (ru) * | 2012-06-01 | 2018-03-21 | Конинклейке Филипс Н.В. | Респираторное интерфейсное устройство для доставки газа пользователю |
| EP2858702B1 (en) | 2012-06-12 | 2019-09-18 | Koninklijke Philips N.V. | Patient interface for delivering gas to a user |
| WO2014006533A1 (en) * | 2012-07-03 | 2014-01-09 | Koninklijke Philips N.V. | Fixation control for a patient interface |
| US12390612B2 (en) | 2012-07-27 | 2025-08-19 | ResMed Pty Ltd | Patient interface with elastic headgear |
| US9974915B2 (en) | 2012-07-27 | 2018-05-22 | Resmed Limited | Elastic headgear |
| MX389951B (es) | 2012-07-27 | 2025-03-20 | ResMed Pty Ltd | Interfaz de paciente y metodo para hacer la misma. |
| CN104661698A (zh) * | 2012-08-08 | 2015-05-27 | 费雪派克医疗保健有限公司 | 具有可调弯管的呼吸管组件 |
| EP2866870B8 (en) | 2012-08-08 | 2021-12-22 | Fisher & Paykel Healthcare Limited | Mask and headgear system |
| EP4279106A3 (en) | 2012-09-04 | 2024-01-17 | Fisher & Paykel Healthcare Limited | Valsalva mask |
| CN104661697B (zh) * | 2012-09-21 | 2018-01-30 | 皇家飞利浦有限公司 | 具有磁性地支撑的衬垫的呼吸面罩 |
| EP2908770B1 (en) | 2012-10-16 | 2019-04-24 | Cook Medical Technologies LLC | Apparatus for treating obstructive sleep apnea (osa) |
| DE102012020917A1 (de) * | 2012-10-25 | 2014-04-30 | Dräger Medical GmbH | Winkelstück für eine Beatmungsmaske |
| CN107441601B (zh) | 2012-11-14 | 2022-03-11 | 费雪派克医疗保健有限公司 | 用于呼吸回路的分区加热 |
| EP2919842B1 (en) | 2012-11-16 | 2022-12-28 | Fisher & Paykel Healthcare Limited | Nasal seal and interface |
| EP2737921B1 (de) * | 2012-11-29 | 2019-01-09 | Löwenstein Medical Technology S.A. | Maskenwulst für ein Patienteninterface |
| US9795756B2 (en) | 2012-12-04 | 2017-10-24 | Mallinckrodt Hospital Products IP Limited | Cannula for minimizing dilution of dosing during nitric oxide delivery |
| ES2628494T3 (es) | 2012-12-04 | 2017-08-03 | Ino Therapeutics Llc | Cánula para minimizar la disolución de la dosificación durante la administración del óxido nítrico |
| CA2896601C (en) | 2012-12-04 | 2021-08-31 | Fisher & Paykel Healthcare Limited | Medical tubes and methods of manufacture |
| EP2945678B1 (en) | 2013-01-16 | 2021-07-07 | ResMed Pty Ltd | Cushion member for a patient interface |
| US10987477B2 (en) * | 2013-02-04 | 2021-04-27 | ResMed Pty Ltd | Respiratory apparatus |
| NZ728960A (en) | 2013-02-04 | 2018-11-30 | ResMed Pty Ltd | Respiratory apparatus |
| US10898662B2 (en) | 2013-02-21 | 2021-01-26 | Fisher & Paykel Healthcare Limited | Patient interface with venting |
| USD749205S1 (en) | 2013-03-08 | 2016-02-09 | Fresca Medical, Inc. | Sleep apnea device |
| CA2844454C (en) | 2013-03-08 | 2017-07-11 | Teleflex Medical Incorporated | Exhalation scavenging therapy mask |
| US10518053B2 (en) * | 2013-03-13 | 2019-12-31 | Koninklijke Philips N.V. | Subnasal sealing cushion and patient interface device employing same |
| EP2968821B8 (en) | 2013-03-15 | 2021-11-24 | Fisher & Paykel Healthcare Limited | Nasal cannula assemblies and related parts |
| USD757252S1 (en) * | 2013-04-12 | 2016-05-24 | Resmed Limited | Patient interface |
| NZ623462A (en) * | 2013-04-12 | 2016-02-26 | Resmed Ltd | Neck strap, crown strap assembly and headgear for a breathing mask |
| WO2014175752A2 (en) | 2013-04-24 | 2014-10-30 | Fisher & Paykel Healthcare Limited | Automatically adjusting headgear for patient interface |
| SG11201508589QA (en) * | 2013-04-26 | 2015-11-27 | Fisher & Paykel Healthcare Ltd | Headgear for breathing mask |
| EP4279109A3 (en) * | 2013-05-07 | 2024-01-17 | Fisher & Paykel Healthcare Limited | Headgear for a patient interface |
| CN108434575B (zh) * | 2013-05-14 | 2022-01-18 | 瑞思迈私人有限公司 | 口鼻患者接口 |
| NZ631020A (en) * | 2013-05-14 | 2017-06-30 | Resmed Ltd | Oro-nasal patient interface |
| CN104225749B (zh) * | 2013-06-14 | 2016-05-04 | 新广业股份有限公司 | 呼吸面罩 |
| ES2669063T3 (es) | 2013-06-27 | 2018-05-23 | Air Liquide Medical Systems | Mascarilla respiratoria con brazo de sujeción desmontable |
| GB2580841B (en) * | 2013-07-17 | 2021-01-13 | Fisher & Paykel Healthcare Ltd | Nasal seal having nostril locators |
| USD743021S1 (en) | 2013-07-18 | 2015-11-10 | Fresca Medical, Inc. | Sleep apnea device |
| USD742502S1 (en) | 2013-07-18 | 2015-11-03 | Fresca Medical, Inc. | Sleep apnea device |
| USD742501S1 (en) | 2013-07-18 | 2015-11-03 | Fresca Medical, Inc. | Sleep apnea device |
| USD737953S1 (en) | 2013-07-26 | 2015-09-01 | Resmed Limited | Patient interface |
| USD743535S1 (en) | 2013-07-26 | 2015-11-17 | Resmed Limited | Headgear for patient interface |
| US9867733B2 (en) | 2013-08-01 | 2018-01-16 | Cook Medical Technologies Llc | Tissue adjustment implant |
| JP6745219B2 (ja) | 2013-08-05 | 2020-08-26 | フィッシャー アンド ペイケル ヘルスケア リミテッド | 患者インタフェース用シール、インタフェースアセンブリおよびその態様 |
| US10166017B2 (en) | 2013-08-05 | 2019-01-01 | Cook Medical Technologies Llc | Medical devices having a releasable tubular member and methods of using the same |
| EP3763409B1 (en) | 2013-08-09 | 2022-02-23 | Fisher & Paykel Healthcare Limited | Asymmetrical nasal delivery elements and fittings for nasal interfaces |
| USD745139S1 (en) | 2013-08-16 | 2015-12-08 | Fresca Medical, Inc. | Sleep apnea device |
| EP3895750B8 (en) | 2013-09-13 | 2024-12-18 | Fisher & Paykel Healthcare Limited | Humidification system |
| DE112014004197T5 (de) | 2013-09-13 | 2016-06-02 | Fisher & Paykel Healthcare Limited | Verbindungen für Befeuchtungssystem |
| NZ718810A (en) | 2013-10-03 | 2017-10-27 | Resmed Ltd | Mask vent with side wall |
| CA2927089A1 (en) | 2013-10-18 | 2015-04-23 | Fisher & Paykel Healthcare Limited | Headgear having different levels of resilient extensibility |
| WO2015060731A1 (en) | 2013-10-24 | 2015-04-30 | Fisher & Paykel Healthcare Limited | Delivery of respiratory gases |
| WO2015070289A1 (en) | 2013-11-15 | 2015-05-21 | Resmed Limited | Patient interface and method for making same |
| EP3079745B1 (en) * | 2013-12-11 | 2019-12-11 | Fisher & Paykel Healthcare Limited | Respiratory interface |
| USD740935S1 (en) | 2013-12-12 | 2015-10-13 | Resmed Limited | Frame for patient interface |
| CN110947069A (zh) | 2013-12-20 | 2020-04-03 | 费雪派克医疗保健有限公司 | 加湿系统连接 |
| US9675493B2 (en) * | 2013-12-20 | 2017-06-13 | James D. Castillo | Goggle breathing system |
| US9956384B2 (en) | 2014-01-24 | 2018-05-01 | Cook Medical Technologies Llc | Articulating balloon catheter and method for using the same |
| US10449319B2 (en) | 2014-02-07 | 2019-10-22 | Fisher & Paykel Healthcare Limited | Respiratory humidification system |
| TWI811865B (zh) * | 2014-03-14 | 2023-08-11 | 澳大利亞商瑞思邁私人股份有限公司 | 治療呼吸障礙之患者介面系統 |
| JP6731398B2 (ja) | 2014-03-17 | 2020-07-29 | フィッシャー アンド ペイケル ヘルスケア リミテッド | 呼吸システムのための医療用チューブ |
| TWM490327U (en) * | 2014-04-15 | 2014-11-21 | Besmed Health Business Corp | Buckle and mask device |
| NZ630742A (en) | 2014-05-01 | 2016-02-26 | Resmed Ltd | A patient interface |
| WO2015167347A1 (en) | 2014-05-02 | 2015-11-05 | Fisher & Paykel Healthcare Limited | Gas humidification arrangement |
| CN110124174A (zh) | 2014-05-13 | 2019-08-16 | 费雪派克医疗保健有限公司 | 用于呼吸增湿系统的可用性特征 |
| US9974563B2 (en) | 2014-05-28 | 2018-05-22 | Cook Medical Technologies Llc | Medical devices having a releasable member and methods of using the same |
| USD759230S1 (en) | 2014-05-30 | 2016-06-14 | Fresca Medical, Inc. | Airflow generator for a sleep apnea system |
| EP3607988B1 (en) | 2014-06-03 | 2025-09-10 | Fisher & Paykel Healthcare Limited | A humidification chamber for a respiratory therapy apparatus |
| CN106687165A (zh) | 2014-06-04 | 2017-05-17 | 革新医疗器械有限公司 | 组合鼻口通气面罩 |
| WO2015193821A1 (en) | 2014-06-17 | 2015-12-23 | Fisher & Paykel Healthcare Limited | Patient interfaces |
| CN110721383B (zh) * | 2014-06-18 | 2022-07-26 | 费雪派克医疗保健有限公司 | 患者接口和零部件 |
| CN115444402A (zh) | 2014-07-02 | 2022-12-09 | 瑞思迈私人有限公司 | 定制的患者接口及其制作方法 |
| WO2016009393A1 (en) * | 2014-07-18 | 2016-01-21 | Fisher & Paykel Healthcare Limited | Headgear clip arrangement |
| US9913661B2 (en) | 2014-08-04 | 2018-03-13 | Cook Medical Technologies Llc | Medical devices having a releasable tubular member and methods of using the same |
| NZ729942A (en) | 2014-08-20 | 2022-09-30 | Revolutionary Medical Devices Inc | Ventilation mask |
| US10518054B2 (en) | 2014-08-25 | 2019-12-31 | Fisher & Paykel Healthcare Limited | Respiratory mask and related portions, components or sub-assemblies |
| GB2591662B (en) | 2014-09-16 | 2022-02-09 | Fisher & Paykel Healthcare Ltd | Headgear assemblies and interface assemblies with headgear |
| TWI708572B (zh) | 2014-09-16 | 2020-11-01 | 紐西蘭商費雪&佩凱爾關心健康有限公司 | 模內成型頭帽 |
| US10646680B2 (en) | 2014-09-19 | 2020-05-12 | Fisher & Paykel Healthcare Limited | Headgear assemblies and interface assemblies with headgear |
| WO2016067152A1 (en) | 2014-10-30 | 2016-05-06 | Koninklijke Philips N.V. | Interconnect assembly and support assembly including same |
| EP4656224A2 (en) * | 2014-11-07 | 2025-12-03 | Fisher & Paykel Healthcare Limited | Breathing apparatus |
| AU2015347003C1 (en) | 2014-11-14 | 2021-04-01 | Fisher & Paykel Healthcare Limited | Patient interface |
| EP3925654B1 (en) | 2014-11-17 | 2024-04-17 | Fisher & Paykel Healthcare Limited | Humidification of respiratory gases |
| EP4470588A3 (en) * | 2014-11-26 | 2025-03-19 | ResMed Pty Ltd | Textile patient interface |
| USD825740S1 (en) | 2014-12-12 | 2018-08-14 | Revolutionary Medical Devices | Surgical mask |
| US10596345B2 (en) | 2014-12-31 | 2020-03-24 | Vapotherm, Inc. | Systems and methods for humidity control |
| CN104623784B (zh) * | 2015-02-05 | 2018-06-12 | 深圳瑞之谷医疗科技有限公司 | 鼻罩 |
| CN104587580B (zh) * | 2015-02-05 | 2018-03-02 | 深圳瑞之谷医疗科技有限公司 | 面罩 |
| CN111773508B (zh) | 2015-03-04 | 2023-05-16 | 费雪派克医疗保健有限公司 | 面罩系统头戴具 |
| US10898668B2 (en) | 2015-03-04 | 2021-01-26 | ResMed Pty Ltd | Plastic to textile coupling for a patient interface and methods of manufacturing same |
| USD757930S1 (en) | 2015-03-19 | 2016-05-31 | Insleep Technologies, Llc | Nasal pillow |
| WO2016157101A1 (en) | 2015-03-31 | 2016-10-06 | Fisher & Paykel Healthcare Limited | Apparatus for use in a respiratory support system |
| US10639444B2 (en) | 2015-03-31 | 2020-05-05 | Breas Medical, Inc. | Facial mask with internal intermediate maxilla support for use with ventilation and positive air pressure systems |
| US10905836B2 (en) | 2015-04-02 | 2021-02-02 | Hill-Rom Services Pte. Ltd. | Manifold for respiratory device |
| USD768287S1 (en) | 2015-04-03 | 2016-10-04 | Insleep Technologies, Llc | Nasal interface base |
| CN107635614A (zh) | 2015-06-11 | 2018-01-26 | 革新医疗器械有限公司 | 通气面罩 |
| US10828451B2 (en) | 2015-06-18 | 2020-11-10 | Koninklijke Philips N.V. | Passive nose bridge pressure distributing insert |
| KR102073783B1 (ko) | 2015-08-20 | 2020-02-05 | 쓰리엠 이노베이티브 프로퍼티즈 캄파니 | 호흡기 마스크의 착용을 위한 해드 밴드 부재 및 이를 포함하는 헤드 크래들 |
| WO2017037638A1 (en) | 2015-09-04 | 2017-03-09 | Fisher & Paykel Healthcare Limited | Patient interfaces |
| CN108472468B (zh) | 2015-09-04 | 2024-03-08 | 费雪派克医疗保健有限公司 | 导管连接器 |
| WO2017043981A1 (en) | 2015-09-09 | 2017-03-16 | Po-Yen Liu | Zone heating for respiratory circuits |
| EP4659784A2 (en) | 2015-09-11 | 2025-12-10 | Fisher & Paykel Healthcare Limited | Nasal seal, mask and respiratory interface assembly |
| NZ770246A (en) * | 2015-09-23 | 2023-04-28 | ResMed Pty Ltd | Patient interface |
| NZ740229A (en) | 2015-09-23 | 2023-07-28 | ResMed Pty Ltd | Patient interface with foam seal-forming structure |
| JP6847959B2 (ja) | 2015-09-23 | 2021-03-24 | レスメド・プロプライエタリー・リミテッド | エルボーアセンブリ |
| EP4043057B1 (en) * | 2015-09-23 | 2024-01-03 | ResMed Pty Ltd | Patient interface with a seal-forming structure having varying thickness |
| US12427280B2 (en) | 2015-09-23 | 2025-09-30 | ResMed Pty Ltd | Patient interface with a seal-forming structure having varying thickness |
| US11219731B2 (en) * | 2016-03-02 | 2022-01-11 | Fisher & Paykel Healthcare Limited | Nasal respiratory interface and adjustable headgear |
| CA3017838A1 (en) | 2016-03-15 | 2017-09-21 | Fisher & Paykel Healthcare Limited | Respiratory mask system |
| SG10202009031VA (en) | 2016-03-16 | 2020-10-29 | Fisher & Paykel Healthcare Ltd | Intra-mould substrate |
| EP3901488B1 (en) | 2016-03-16 | 2024-08-21 | Fisher & Paykel Healthcare Limited | Directional lock for interface headgear arrangement |
| SG11201807699TA (en) | 2016-03-16 | 2018-10-30 | Fisher & Paykel Healthcare Ltd | Strap assembly, strap connector, headgear, headgear assembly, method of forming headgear, tubular connector, patient interface and method of joining straps |
| CN115040744B (zh) | 2016-03-18 | 2025-10-28 | 费雪派克医疗保健有限公司 | 用于呼吸面罩系统的框架和头带 |
| USD882066S1 (en) | 2016-05-13 | 2020-04-21 | Fisher & Paykel Healthcare Limited | Frame for a breathing mask |
| USD809656S1 (en) | 2016-06-10 | 2018-02-06 | Fisher & Paykel Healthcare Limited | Connector for a breathing circuit |
| CN105852283B (zh) * | 2016-06-17 | 2018-02-09 | 冯晶晶 | 封闭式医用口罩的制造方法 |
| CN105852284B (zh) * | 2016-06-17 | 2018-02-09 | 冯晶晶 | 封闭式医用口罩 |
| EP4400140A3 (en) * | 2016-07-08 | 2024-09-11 | Fisher & Paykel Healthcare Limited | A vent for a component of a respiratory therapy system |
| US10912910B1 (en) | 2016-08-04 | 2021-02-09 | Tennessee Dental Anesthesia Supplies, LLC | Combination anesthesia circuit holder and patient protection device and method of use |
| USD870269S1 (en) | 2016-09-14 | 2019-12-17 | Fisher & Paykel Healthcare Limited | Nasal cannula assembly |
| US9629975B1 (en) | 2016-09-14 | 2017-04-25 | Revolutionary Medical Devices, Inc. | Ventilation mask |
| US11298492B2 (en) | 2016-09-14 | 2022-04-12 | Revolutionary Medical Device, Inc. | Ventilation mask |
| CA3037853A1 (en) * | 2016-09-28 | 2018-04-05 | Fisher & Paykel Healthcare Limited | A yoke for headgear |
| FI3522966T3 (fi) | 2016-10-05 | 2023-03-15 | Fisher & Paykel Healthcare Ltd | Potilasrajapintoja |
| USD848606S1 (en) | 2016-11-07 | 2019-05-14 | Revolutionary Medical Devices, Inc. | Surgical mask |
| USD863545S1 (en) | 2016-11-30 | 2019-10-15 | ResMed Pty Ltd | Air delivery adapter for respiratory mask |
| EP4063811A1 (en) | 2016-12-07 | 2022-09-28 | Fisher & Paykel Healthcare Limited | Seal/cover for use with a sensing arrangement of a medical device |
| EP4523724A1 (en) | 2016-12-22 | 2025-03-19 | Fisher & Paykel Healthcare Limited | Medical tubes and methods of manufacture |
| KR101898799B1 (ko) | 2017-01-19 | 2018-09-13 | 쓰리엠 이노베이티브 프로퍼티즈 캄파니 | 가요성이 우수한 헤드 밴드 부재를 포함하는 헤드 크래들 |
| USD823455S1 (en) | 2017-02-23 | 2018-07-17 | Fisher & Paykel Healthcare Limited | Cushion assembly for breathing mask assembly |
| USD824020S1 (en) | 2017-02-23 | 2018-07-24 | Fisher & Paykel Healthcare Limited | Cushion assembly for breathing mask assembly |
| USD823454S1 (en) | 2017-02-23 | 2018-07-17 | Fisher & Paykel Healthcare Limited | Cushion assembly for breathing mask assembly |
| USD874646S1 (en) | 2017-03-09 | 2020-02-04 | Fisher & Paykel Healthcare Limited | Headgear component for a nasal mask assembly |
| USD901673S1 (en) | 2017-03-09 | 2020-11-10 | Fisher & Paykel Healthcare Limited | Frame and breathing tube assembly for a nasal mask |
| CN107080904A (zh) * | 2017-05-15 | 2017-08-22 | 北京机械设备研究所 | 一种自救呼吸装置 |
| US12102764B2 (en) | 2017-06-26 | 2024-10-01 | Fisher & Paykel Healthcare Limited | Respiratory mask system |
| US11357660B2 (en) | 2017-06-29 | 2022-06-14 | Cook Medical Technologies, LLC | Implantable medical devices for tissue repositioning |
| CN109276787B (zh) * | 2017-07-21 | 2021-05-28 | 深圳市美好创亿医疗科技股份有限公司 | 固定装置及具有该固定装置的面罩 |
| USD855793S1 (en) | 2017-09-20 | 2019-08-06 | Fisher & Paykel Healthcare Limited | Frame for a nasal mask |
| USD875242S1 (en) | 2017-09-20 | 2020-02-11 | Fisher & Paykel Healthcare Limited | Nasal mask and breathing tube set |
| US10792449B2 (en) | 2017-10-03 | 2020-10-06 | Breathe Technologies, Inc. | Patient interface with integrated jet pump |
| USD898188S1 (en) | 2017-11-17 | 2020-10-06 | Revolutionary Medical Devices, Inc. | Surgical mask |
| EP3727544B1 (en) | 2017-12-21 | 2023-05-31 | Fisher & Paykel Healthcare Limited | Respiratory mask system |
| MX2020008052A (es) | 2018-02-02 | 2021-02-15 | ResMed Pty Ltd | Ensamblaje de conector. |
| SG11202009030SA (en) | 2018-03-16 | 2020-10-29 | Fisher & Paykel Healthcare Ltd | Headgear with lock disengagement mechanism |
| EP3773933A4 (en) * | 2018-03-27 | 2022-01-12 | Naturs Design, Inc. | LINER AND RETAINER FOR USE WITH A RESPIRATOR |
| US10953180B2 (en) | 2018-03-29 | 2021-03-23 | ResMed Pty Ltd | Conduit with magnetic connector |
| USD884153S1 (en) | 2018-04-04 | 2020-05-12 | Fisher & Paykel Healthcare Limited | Frame for a mask assembly |
| USD894376S1 (en) | 2018-05-23 | 2020-08-25 | Fisher & Paykel Healthcare Limited | Insufflation circuit assembly |
| USD894379S1 (en) * | 2018-05-23 | 2020-08-25 | Fisher & Paykel Healthcare Limited | Insufflation circuit and filter |
| JP6755278B2 (ja) * | 2018-05-30 | 2020-09-16 | エア・ウォーター防災株式会社 | 背負い具および呼吸器 |
| AU2019324733B2 (en) | 2018-08-20 | 2021-08-12 | ResMed Pty Ltd | Patient interface |
| AU2019339631B2 (en) * | 2018-09-12 | 2025-04-10 | Fisher & Paykel Healthcare Limited | A nasal seal for a respiratory patient interface |
| US20200197650A1 (en) * | 2018-12-21 | 2020-06-25 | Koninklijke Philips N.V. | Flexible airway and seal and patient interface device including same |
| US11554236B2 (en) * | 2018-12-24 | 2023-01-17 | Koninklijke Philips N.V. | Patient interface device having magnetic coupling features |
| JP7536856B2 (ja) * | 2019-07-31 | 2024-08-20 | レスメド・プロプライエタリー・リミテッド | 構造が変化するシール形成構造を有する患者インターフェース |
| USD937411S1 (en) | 2019-08-30 | 2021-11-30 | Fisher & Paykel Healthcare Limited | Unit end connector |
| USD1006981S1 (en) | 2019-09-06 | 2023-12-05 | Fisher & Paykel Healthcare Limited | Breathing conduit |
| USD948027S1 (en) | 2019-09-10 | 2022-04-05 | Fisher & Paykel Healthcare Limited | Connector for a breathing conduit |
| US11819612B2 (en) | 2019-10-10 | 2023-11-21 | Fisher & Paykel Healthcare Limited | Respiratory mask system |
| US12485242B2 (en) | 2019-10-14 | 2025-12-02 | Fisher & Paykel Healthcare Limited | Respiratory interface assembly |
| USD1061868S1 (en) * | 2019-10-16 | 2025-02-11 | Fisher & Paykel Healthcare Limited | Headgear |
| US20210121719A1 (en) * | 2019-10-24 | 2021-04-29 | Rpb Safety, Llc | Mounting system for respiratory device |
| US12017004B2 (en) * | 2019-12-17 | 2024-06-25 | Koninklijke Philips N.V. | Dual slider headgear adjustment system with easy pull tabs and patient interface device including same |
| JP7651196B2 (ja) | 2020-03-21 | 2025-03-26 | スナップ シーパップ,エルエルシー | 持続的気道陽圧(cpap)装置と共に使用するための呼吸マスクアセンブリ |
| US10966471B1 (en) * | 2020-05-19 | 2021-04-06 | Aslan Medical Equipment, Llc | Soft silicon edged cushion for face masks |
| CN111480915B (zh) * | 2020-05-21 | 2023-06-30 | 中国人民解放军总医院第五医学中心 | 新发性传染病长时防压痕口罩架及应用该口罩架的口罩 |
| CN111773638A (zh) * | 2020-07-21 | 2020-10-16 | 叶镇宽 | 一种可调式反馈式呼吸功能康复训练装置及使用方法 |
| GB2597515A (en) * | 2020-07-24 | 2022-02-02 | Flexicare Group Ltd | Nasal Cannula |
| USD974551S1 (en) | 2020-12-09 | 2023-01-03 | Fisher & Paykel Healthcare Limited | Connector assembly and connector |
| US12465711B2 (en) | 2020-12-21 | 2025-11-11 | Koninklijke Philips N.V. | Mask with quick release frame and headgear |
| USD1060658S1 (en) | 2020-12-28 | 2025-02-04 | ResMed Asia Pte. Ltd. | Patient interface |
| US20220288340A1 (en) * | 2021-03-11 | 2022-09-15 | Airway Innovations LLC | Medical tube holder system and related methods |
| WO2022216956A1 (en) * | 2021-04-07 | 2022-10-13 | Octo Safety Devices, Llc | Facemask assemblies |
| USD1073919S1 (en) | 2021-05-17 | 2025-05-06 | Fisher & Paykel Healthcare Limited | Respiratory system conduit with connector |
| USD995758S1 (en) | 2021-06-11 | 2023-08-15 | Fisher & Paykel Healthcare Limited | Tube assembly and connector |
| EP4373554A4 (en) * | 2021-07-22 | 2025-06-18 | ResMed Pty Ltd | Magnetic connector |
| CN113616950B (zh) * | 2021-10-11 | 2022-02-08 | 南通林安安全设备科技有限公司 | 一种具有内部空气调节装置的防护面罩 |
| USD1087328S1 (en) * | 2022-07-27 | 2025-08-05 | Dcstar Inc | Frame set |
| CN118593216B (zh) * | 2024-08-08 | 2024-10-01 | 南方医科大学南方医院 | 一种用于磁共振胸腹部检查的屏气鼻夹装置 |
| USD1085551S1 (en) * | 2024-11-11 | 2025-07-22 | Yonggen WANG | Visor |
Family Cites Families (271)
| Publication number | Priority date | Publication date | Assignee | Title |
|---|---|---|---|---|
| US108613A (en) * | 1870-10-25 | Improvement in nut-locks | ||
| US144684A (en) * | 1873-11-18 | Improvement in storm-window fastenings | ||
| US160793A (en) * | 1875-03-16 | Improvement in chafing-irons for vehicles | ||
| US20474A (en) * | 1858-06-08 | Machine eob measuring | ||
| US1192186A (en) | 1910-09-20 | 1916-07-25 | Samuel Ward Greene | Respirator. |
| US1081745A (en) | 1912-05-03 | 1913-12-16 | White S Dental Mfg Co | Nasal inhaler. |
| US1084596A (en) * | 1913-03-08 | 1914-01-20 | Carl Alexander | Perspiration-band for head-gear. |
| US1706601A (en) * | 1924-12-24 | 1929-03-26 | Drager Alexander Bernhard | Harness for respirating appliances such as masks, respirators, and the like |
| US1610793A (en) * | 1926-04-30 | 1926-12-14 | Kaufman Leo | Respirator |
| US2016210A (en) | 1934-12-04 | 1935-10-01 | Earl L Mann | Perspiration absorber |
| US2154198A (en) | 1937-04-08 | 1939-04-11 | Meyercord Co | Decalcomania |
| US2154101A (en) | 1937-11-19 | 1939-04-11 | Jr John F Maurer | Bottle crate |
| US2259817A (en) | 1939-02-27 | 1941-10-21 | Eva M Hawkins | Adjustable head attachment for oxygen tubes |
| US2353643A (en) * | 1942-07-29 | 1944-07-18 | Arthur H Bulbulian | Head harness for masks |
| DE956195C (de) * | 1952-04-19 | 1957-01-17 | Draegerwerk Ag | Baenderung fuer Atemschutzmasken |
| DE1102976B (de) | 1954-01-16 | 1961-03-23 | Chirana Praha Np | Fuer Narkotisiergeraete oder Geraete fuer kuenstliche Beatmung bestimmtes Ventilstueck mit einem Einatmungsventil und einem Ausatmungsventil |
| US2783474A (en) * | 1954-06-22 | 1957-03-05 | American Felt Co | Fibrous and absorbent perspiration pads |
| US2837090A (en) * | 1955-07-06 | 1958-06-03 | Bloom Aaron | Universal aviators oxygen breathing mask |
| GB792377A (en) * | 1955-07-13 | 1958-03-26 | Airmed Ltd | Improvements in harness clips |
| US2939458A (en) * | 1957-04-29 | 1960-06-07 | Bendix Aviat Corp | Respiratory masks |
| US2931356A (en) * | 1958-08-25 | 1960-04-05 | Puritan Compressed Gas Corp | Oxygen mask having detachable face seal cushion |
| US3040741A (en) | 1958-12-15 | 1962-06-26 | Puritan Compressed Gas Corp | Quick donning harness for oxygen masks |
| US3056402A (en) | 1959-05-26 | 1962-10-02 | Airmed Ltd | Respiratory masks |
| GB880942A (en) | 1960-02-29 | 1961-10-25 | Sierra Eng Co | Breathing mask assembly |
| US3027617A (en) * | 1960-11-18 | 1962-04-03 | Norman T Gray | Quick-release magnetic buckle |
| US3234940A (en) * | 1962-09-17 | 1966-02-15 | Sierra Eng Co | Retention for quick donning mask |
| US3362403A (en) * | 1963-12-11 | 1968-01-09 | Robertshaw Controls Co | Unified helmet and oxygen breathing assembly |
| GB1045066A (en) | 1964-10-06 | 1966-10-05 | Westland Aircraft Ltd | Improvements in or relating to breathing attachment |
| US3330273A (en) | 1964-10-15 | 1967-07-11 | Puritan Compressed Gas Corp | Oro-nasal face mask with improved sealing cuff |
| DE1708110A1 (de) * | 1968-01-11 | 1971-04-22 | Medizintechnik Leipzig Veb | Baenderung fuer Atemschutzhalbmaske |
| US3599635A (en) * | 1969-03-12 | 1971-08-17 | Sierra Eng Co | Hanging quick donning mask suspension |
| US3752157A (en) * | 1971-11-08 | 1973-08-14 | O Malmin | Disposable headband and filter |
| US3792702A (en) * | 1972-04-10 | 1974-02-19 | Ulmer & Co Soc | Harness for rapidly placing in position a device such as a respirator mask |
| US3796216A (en) | 1972-04-24 | 1974-03-12 | K Schwarz | Resuscitator |
| US3815596A (en) | 1973-01-26 | 1974-06-11 | Automation Ind Inc | Disposable face mask |
| US3972702A (en) | 1973-07-30 | 1976-08-03 | Owens-Corning Fiberglas Corporation | Method and apparatus for producing fibers from heat-softenable materials |
| US3874378A (en) * | 1973-09-06 | 1975-04-01 | Globe Safety Products Inc | Combined resuscitator and inhalator apparatus |
| US4015094A (en) * | 1974-02-05 | 1977-03-29 | Irvin Industries, Inc. | Safety seat belt buckle switch with coil spring contact |
| US3897776A (en) | 1974-03-22 | 1975-08-05 | Medical Specialties Inc | Clavicle splint |
| FR2278357A1 (fr) | 1974-07-18 | 1976-02-13 | Laguerre Rene | Combinaisons etanches a fermeture magnetique |
| US4018221A (en) * | 1975-09-29 | 1977-04-19 | Thomas Rennie | Support for anesthetic gas delivery hoses and endotracheal tubes |
| DE2549979C3 (de) | 1975-11-07 | 1978-05-24 | Draegerwerk Ag, 2400 Luebeck | Schutzhelm kombiniert mit Atemschutzmaske |
| US3990727A (en) | 1976-01-26 | 1976-11-09 | Stephen Franics Gallagher | Quick detachable coupler |
| US4075714A (en) | 1976-11-15 | 1978-02-28 | Sierra Engineering Co. | Helmet characterized by negative lift |
| DE2705348C2 (de) | 1977-02-09 | 1983-07-14 | OPTAC Verwaltung Wilfrid Weltin, 6074 Rödermark | Vorrichtung zum Befestigen eines Teiles am Rand eines Schutzhelmes |
| IT1207216B (it) | 1979-07-27 | 1989-05-17 | Nava Pier Luigi | Dispositivo per azionare visiere di caschi, particolarmente per motociclisti. |
| US4274406A (en) * | 1979-09-04 | 1981-06-23 | Bartholomew Victor L | Tracheotomy mask |
| US4405212A (en) * | 1979-12-26 | 1983-09-20 | Cooper Leonard B | Spectacle frame and conversion accessories therefor |
| IT1201936B (it) | 1980-07-11 | 1989-02-02 | Pier Luigi Nava | Dispositivo per il sollevamento controllato delle visiere di caschi e simili |
| US4414973A (en) | 1981-03-10 | 1983-11-15 | U.S.D. Corp. | Respirator face mask |
| DE3276924D1 (en) | 1981-04-24 | 1987-09-17 | Somed Pty Ltd | Device for treating snoring sickness |
| US4803981A (en) | 1981-09-22 | 1989-02-14 | Vickery Ian M | Anaesthesia mask |
| US4454880A (en) | 1982-05-12 | 1984-06-19 | Rudolph Muto | Nasal hood with open-bottom mixing chamber |
| FR2532552B1 (fr) | 1982-09-03 | 1986-01-24 | Galet Adrien | Casque de protection, notamment utilisable avec un masque respiratoire |
| SE450620B (sv) | 1982-11-01 | 1987-07-13 | Frosta Fritid Ab | Skyddshjelm med storleksjustering, spec for ishockey- och bandyspelare |
| US4774946A (en) | 1983-11-28 | 1988-10-04 | Ackrad Laboratories, Inc. | Nasal and endotracheal tube apparatus |
| US4744358A (en) * | 1984-01-18 | 1988-05-17 | Mcginnis Gerald E | Endotracheal tube holder |
| US5015251A (en) | 1984-11-30 | 1991-05-14 | Alimed, Inc. | Medical fastener strap |
| US4657752A (en) * | 1985-04-16 | 1987-04-14 | Phillips Petroleum Company | Process for preparing ferrous carbonate |
| GB8523795D0 (en) | 1985-09-26 | 1985-10-30 | Protector Safety Ltd | Respirator |
| US4665566A (en) * | 1986-01-21 | 1987-05-19 | Garrow Geraldine E | Adjustable strap with fasteners for attachment of medical tubing |
| FR2597349B1 (fr) | 1986-04-21 | 1990-01-12 | Caille Dechaume Serge | Moyen de fixation d'un masque de ventilation respiratoire en anesthesie et reanimation. |
| US4739755A (en) | 1986-10-17 | 1988-04-26 | American Cyanamid Company | Respirator |
| JPS6389843U (enExample) * | 1986-12-01 | 1988-06-10 | ||
| SE461705B (sv) * | 1986-12-11 | 1990-03-19 | Sport Exclusive E H Ab | Huvudskydd i form av ett pannband |
| US4960121A (en) * | 1987-03-18 | 1990-10-02 | Figgie International, Inc. | Half-face mask assembly |
| US4934362A (en) * | 1987-03-26 | 1990-06-19 | Minnesota Mining And Manufacturing Company | Unidirectional fluid valve |
| US5199424A (en) | 1987-06-26 | 1993-04-06 | Sullivan Colin E | Device for monitoring breathing during sleep and control of CPAP treatment that is patient controlled |
| FR2618340B1 (fr) | 1987-07-23 | 1991-03-29 | Fernez Sa | Perfectionnement a la fixation des masques respiratoires |
| US4782832A (en) | 1987-07-30 | 1988-11-08 | Puritan-Bennett Corporation | Nasal puff with adjustable sealing means |
| US4879995A (en) * | 1987-10-13 | 1989-11-14 | Tony Christianson | Snorkel for skin divers |
| US4907584A (en) | 1988-03-03 | 1990-03-13 | Mcginnis Gerald E | Respiratory mask |
| US4821736A (en) * | 1988-03-22 | 1989-04-18 | Dale Medical Products, Inc. | Head-mounted device for supporting breathing circuit tubes and sensor |
| US4919128A (en) * | 1988-08-26 | 1990-04-24 | University Technologies International Inc. | Nasal adaptor device and seal |
| US5514117A (en) | 1988-09-06 | 1996-05-07 | Lynn; Lawrence A. | Connector having a medical cannula |
| USH1039H (en) * | 1988-11-14 | 1992-04-07 | The United States Of America As Represented By The Secretary Of The Air Force | Intrusion-free physiological condition monitoring |
| US5311862A (en) * | 1988-11-14 | 1994-05-17 | Blasdell Richard J | Inhalation apparatus |
| US4938209A (en) | 1989-01-12 | 1990-07-03 | Fry William J | Mask for a nebulizer |
| JP2700490B2 (ja) | 1989-06-02 | 1998-01-21 | 伊藤精機株式会社 | 顔面保護具用シール装置及び顔面保護具並びにシール装置の成形方法 |
| US5033128A (en) * | 1990-01-08 | 1991-07-23 | Torres Telesford E A | Goggles |
| DE4004157C1 (en) | 1990-02-10 | 1991-04-11 | Draegerwerk Ag, 2400 Luebeck, De | Respiratory nose-mouth half mask - has body with peripheral seal bead to define separate compartments |
| US5069205A (en) * | 1990-04-20 | 1991-12-03 | Figgie International, Inc. | Quick-donning head harness assembly |
| US5243971A (en) | 1990-05-21 | 1993-09-14 | The University Of Sydney | Nasal mask for CPAP having ballooning/moulding seal with wearer's nose and facial contours |
| US5291880A (en) * | 1990-08-16 | 1994-03-08 | Cairns & Brother Inc. | Protective helmet with protective facepiece connection and adjustment provision |
| JPH04122250U (ja) * | 1991-04-17 | 1992-11-02 | 三ツ星ベルト株式会社 | 自動車内装品のインサート部材と付属部材の締結構造 |
| FR2682043A1 (fr) * | 1991-10-03 | 1993-04-09 | Intertechnique Sa | Equipement respiratoire a masque oro-nasal. |
| US5687715A (en) | 1991-10-29 | 1997-11-18 | Airways Ltd Inc | Nasal positive airway pressure apparatus and method |
| EP0549299B1 (en) * | 1991-12-20 | 2002-03-13 | Resmed Limited | Ventilator for continuous positive airway pressure breathing (CPAP) |
| GB2264646A (en) | 1992-02-12 | 1993-09-08 | Sabre Safety Ltd | Breathing apparatus |
| US5490502A (en) | 1992-05-07 | 1996-02-13 | New York University | Method and apparatus for optimizing the continuous positive airway pressure for treating obstructive sleep apnea |
| US5394568A (en) * | 1993-01-28 | 1995-03-07 | Minnesota Mining And Manufacturing Company | Molded head harness |
| US5295478A (en) * | 1993-02-16 | 1994-03-22 | Baldwin Gene R | Mouth-to-mask resuscitator |
| US5542128A (en) * | 1993-04-20 | 1996-08-06 | Lomas; Christiane | Headwear for supporting a breathing apparatus |
| US5432986A (en) * | 1993-06-15 | 1995-07-18 | Sexton; Jason | Magnetic fastener |
| EP0634186B1 (en) | 1993-06-18 | 2000-08-23 | Resmed Limited | Facial breathing mask |
| FR2707504B1 (fr) | 1993-07-13 | 1995-09-29 | Jacobelli Chantal Michele Andr | Masque respiratoire buccal. |
| US5323516A (en) * | 1993-07-14 | 1994-06-28 | Hartmann Gyoergy | Watch band or bracelet closure with magnetically biased keeper |
| US5517986A (en) | 1993-09-28 | 1996-05-21 | Respironics, Inc. | Two-point/four-point adjustable headgear for gas delivery mask |
| US5441046A (en) * | 1993-09-29 | 1995-08-15 | Respironics, Inc. | Quick release mechanism for nasal and/or oral gas delivery mask |
| US5647355A (en) * | 1993-09-30 | 1997-07-15 | Respironics, Inc. | Automatic safety valve for respiratory equipment which is counter-balanced and self-adjusting |
| US5570689A (en) | 1993-09-30 | 1996-11-05 | Respironics, Inc. | Respiratory mask having a vertically adjustable spacer element that limits seal deformation on a wearer's face |
| SE9303486L (sv) | 1993-10-22 | 1995-04-23 | Siemens Elema Ab | Metod vid bestämning av den funktionella residualkapaciteten för lungor samt en ventilatoranordning för bestämning av den funktionella residualkapaciteten |
| EP2324765B1 (en) | 1993-11-05 | 2015-10-07 | ResMed Limited | Control of CPAP treatment |
| US5438737A (en) * | 1994-04-14 | 1995-08-08 | National Molding Corporation | Snap closure type buckle with quick release |
| US5542161A (en) * | 1994-05-11 | 1996-08-06 | National Molding Corp. | Buckle which is releasable by depression of a hinged member |
| FR2720280B1 (fr) | 1994-05-27 | 1996-08-09 | Mitouard Anne Le | Masque respiratoire. |
| JP3571081B2 (ja) | 1994-08-19 | 2004-09-29 | 住友ベークライト株式会社 | フェイスマスクの固定用ストラップ |
| JP3539578B2 (ja) | 1994-08-19 | 2004-07-07 | 住友ベークライト株式会社 | 人工呼吸用フェイスマスク |
| CN2204616Y (zh) * | 1994-11-22 | 1995-08-09 | 李速 | 密封式无纺布防尘口罩 |
| AUPM997394A0 (en) | 1994-12-09 | 1995-01-12 | University Of Sydney, The | Gas delivery mask |
| US5533506A (en) * | 1995-01-13 | 1996-07-09 | Medlife, Inc. | Nasal tube assembly |
| US5724965A (en) | 1995-06-06 | 1998-03-10 | Respironics Inc. | Nasal mask |
| FR2735030B1 (fr) | 1995-06-09 | 1998-01-02 | Peters | Masque nasal et installation d'assistance respiratoire utilisant un tel masque |
| US5572887A (en) | 1995-06-09 | 1996-11-12 | Ultimate Trading Corporation | Magnetic jewelry chain closure |
| US5676133A (en) * | 1995-06-14 | 1997-10-14 | Apotheus Laboratories, Inc. | Expiratory scavenging method and apparatus and oxygen control system for post anesthesia care patients |
| US5647357A (en) * | 1995-09-08 | 1997-07-15 | Respironics, Inc. | Respiratory mask facial seal |
| US6397847B1 (en) | 1995-09-08 | 2002-06-04 | Respironics, Inc. | Customizable seal, mask with customizable seal and method of using such a seal |
| US5662101A (en) | 1995-12-07 | 1997-09-02 | Respironics, Inc. | Respiratory facial mask |
| US5724677A (en) | 1996-03-08 | 1998-03-10 | Minnesota Mining And Manufacturing Company | Multi-part headband and respirator mask assembly and process for making same |
| US5657752A (en) * | 1996-03-28 | 1997-08-19 | Airways Associates | Nasal positive airway pressure mask and method |
| US5697363A (en) | 1996-04-12 | 1997-12-16 | Albert Einstein Healthcare Network | Inhalation and monitoring mask with headset |
| US6289814B1 (en) * | 1996-04-15 | 2001-09-18 | Autoliv Asp, Inc. | Heat source for airbag inflation gas generation via a dissociating material |
| US5664298A (en) * | 1996-04-30 | 1997-09-09 | Nessar-Ivanovic; Lori J. | Jewelry clasp |
| DE19625337C2 (de) | 1996-06-25 | 1998-08-06 | Auergesellschaft Gmbh | Bänderung mit einer Vierpunktaufhängung für eine Helm-Masken Kombination |
| US6513526B2 (en) * | 1996-07-26 | 2003-02-04 | Resmed Limited | Full-face mask and mask cushion therefor |
| AUPO126596A0 (en) * | 1996-07-26 | 1996-08-22 | Resmed Limited | A nasal mask and mask cushion therefor |
| US5806526A (en) | 1996-08-07 | 1998-09-15 | Rhoad; Don F. | Ear plugs |
| AUPO247496A0 (en) | 1996-09-23 | 1996-10-17 | Resmed Limited | Assisted ventilation to match patient respiratory need |
| US5727940A (en) | 1996-10-08 | 1998-03-17 | Fildan Accessories Corporation | Dental head gear |
| US6192886B1 (en) * | 1996-10-17 | 2001-02-27 | Hans Rudolph, Inc. | Nasal mask |
| US6019101A (en) | 1996-10-31 | 2000-02-01 | Sleepnet Corporation | Nasal air mask |
| US5709204A (en) * | 1996-11-04 | 1998-01-20 | Lester; Richard | Aircraft passenger oxygen, survival and escape mask |
| US6012455A (en) * | 1996-11-14 | 2000-01-11 | Goldstein; Joseph | Nasal air delivery apparatus |
| AUPO400296A0 (en) | 1996-12-02 | 1997-01-02 | Resmed Limited | A mask and harness apparatus |
| AUPO399596A0 (en) | 1996-12-02 | 1997-01-02 | Resmed Limited | A harness assembly for a nasal mask |
| US5921239A (en) * | 1997-01-07 | 1999-07-13 | Sunrise Medical Hhg Inc. | Face mask for patient breathing |
| AUPP855099A0 (en) * | 1999-02-09 | 1999-03-04 | Resmed Limited | Gas delivery connection assembly |
| US6412487B1 (en) | 1997-01-31 | 2002-07-02 | Resmed Limited | Mask cushion and frame assembly |
| AUPQ104099A0 (en) | 1999-06-18 | 1999-07-08 | Resmed Limited | Forehead support for facial mask |
| US6561191B1 (en) * | 1997-02-10 | 2003-05-13 | Resmed Limited | Mask and a vent assembly therefor |
| AUPO504597A0 (en) * | 1997-02-10 | 1997-03-06 | Resmed Limited | A mask and a vent assembly therefor |
| US5937851A (en) * | 1997-02-27 | 1999-08-17 | Respironics, Inc. | Swivel device utilizing bearing clearance to allow carbon dioxide laden exhaust |
| DE19817332C2 (de) | 1997-04-29 | 2002-11-14 | Georg Haushalter | Atemmaske |
| US5815235A (en) | 1997-07-09 | 1998-09-29 | John L. Runckel Trust | Ski goggles with pivotal frame members for interchanging lenses |
| US5979133A (en) * | 1997-07-18 | 1999-11-09 | Funkhouser; Philip L. | Reinforced waterproofing system for porous decks |
| US6119694A (en) | 1997-07-24 | 2000-09-19 | Respironics Georgia, Inc. | Nasal mask and headgear |
| KR100526272B1 (ko) | 1997-08-04 | 2005-11-08 | 미네소타 마이닝 앤드 매뉴팩춰링 캄파니 | 여과용 안면 마스크, 이를 포함하는 여과용 안면 마스크 세트 및 여과용 안면 마스크 사용 방법 |
| US6062221A (en) | 1997-10-03 | 2000-05-16 | 3M Innovative Properties Company | Drop-down face mask assembly |
| US6732733B1 (en) | 1997-10-03 | 2004-05-11 | 3M Innovative Properties Company | Half-mask respirator with head harness assembly |
| JP3459764B2 (ja) * | 1997-11-20 | 2003-10-27 | 帝人株式会社 | 呼吸用鼻マスク |
| IT1297007B1 (it) * | 1997-12-22 | 1999-08-03 | Sama S P A | Chiusura magnetica ad innesto reciproco per borse, zaini, capi di abbigliamento e simili |
| US6119693A (en) | 1998-01-16 | 2000-09-19 | Resmed Limited | Forehead support for facial mask |
| FR2775905B1 (fr) | 1998-03-16 | 2000-08-11 | Assist Publ Hopitaux De Paris | Masque de ventilation nasale et procede de fabrication |
| JPH11266908A (ja) * | 1998-03-20 | 1999-10-05 | Ykk Corp | バックル |
| US5918598A (en) | 1998-04-10 | 1999-07-06 | Belfer; William A. | Strapless respiratory facial mask for customizing to the wearer's face |
| US6196223B1 (en) * | 1998-04-10 | 2001-03-06 | William A. Belfer | Strapless respiratory facial mask for customizing to the wearer's face |
| JPH11309004A (ja) * | 1998-04-30 | 1999-11-09 | Ykk Corp | バックル |
| DE19822308B4 (de) * | 1998-05-18 | 2015-02-12 | Resmed R&D Germany Gmbh | Beatmungsmaske |
| US6490737B1 (en) | 1998-05-19 | 2002-12-10 | Dupaco, Inc | Protective cushion and cooperatively engageable helmet casing for anesthetized patient |
| AUPP366398A0 (en) | 1998-05-22 | 1998-06-18 | Resmed Limited | Ventilatory assistance for treatment of cardiac failure and cheyne-stokes breathing |
| DE29810846U1 (de) | 1998-06-17 | 1998-08-20 | MPV - Truma Gesellschaft für Medizintechnische Produkte mbH, 85640 Putzbrunn | Nasale Beatmungsmaske |
| US6786593B2 (en) | 1998-11-02 | 2004-09-07 | Gary M. Zelman | Removable lens frame mounted to an eyewear platform |
| US6565461B1 (en) * | 1998-11-25 | 2003-05-20 | Stuart E. Zatlin | Method and apparatus for reducing the likelihood of head injury from heading a soccer ball |
| US6796308B2 (en) | 1998-12-09 | 2004-09-28 | Resmed Limited | Mask cushion and frame assembly |
| AUPQ102999A0 (en) * | 1999-06-18 | 1999-07-08 | Resmed Limited | A connector for a respiratory mask and a respiratory mask |
| AUPP812199A0 (en) * | 1999-01-12 | 1999-02-04 | Resmed Limited | Headgear |
| US6338342B1 (en) * | 1999-02-22 | 2002-01-15 | Cabot Safety Intermediate Corporation | Respirator headpiece and release mechanism |
| US6776162B2 (en) * | 2000-03-13 | 2004-08-17 | Innomed Technologies, Inc. | Ventilation interface for sleep apnea therapy |
| US6595215B2 (en) | 2000-03-13 | 2003-07-22 | Innomed Technologies, Inc. | Ventilation interface for sleep apnea therapy |
| US6478026B1 (en) | 1999-03-13 | 2002-11-12 | Thomas J. Wood | Nasal ventilation interface |
| US6374826B1 (en) * | 1999-03-18 | 2002-04-23 | Resmed Limited | Mask and headgear connector |
| US6470886B1 (en) | 1999-03-23 | 2002-10-29 | Creations By B J H, Llc | Continuous positive airway pressure headgear |
| ATE296658T1 (de) | 1999-03-26 | 2005-06-15 | Mallinckrodt Inc | Freitragende vorrichtung für atemgeräte |
| US6347631B1 (en) * | 1999-11-09 | 2002-02-19 | Mallinckrodt, Inc. | Cantilever device and method for breathing devices and the like |
| US6412488B1 (en) | 1999-05-12 | 2002-07-02 | Respironics, Inc. | Low contact nasal mask and system using same |
| US6341606B1 (en) * | 1999-05-19 | 2002-01-29 | Mallinckrodt, Inc. | Disposable respiratory mask with adhesive skin interface |
| JP2000325481A (ja) | 1999-05-25 | 2000-11-28 | Fujisawa Pharmaceut Co Ltd | 呼吸用マスク |
| US6332465B1 (en) | 1999-06-02 | 2001-12-25 | 3M Innovative Properties Company | Face masks having an elastic and polyolefin thermoplastic band attached thereto by heat and pressure |
| US6631718B1 (en) * | 1999-06-08 | 2003-10-14 | Sleepnet Corporation | Air mask with seal |
| US7219669B1 (en) | 1999-06-08 | 2007-05-22 | Sleepnet Corporation | Nose mask |
| US6269814B1 (en) * | 1999-06-18 | 2001-08-07 | Accu-Med Technologies, Inc. | Sleep apnea headgear |
| US6644315B2 (en) * | 1999-06-18 | 2003-11-11 | Saeed Ziaee | Nasal mask |
| EP1187650B1 (en) | 1999-06-18 | 2005-12-07 | Resmed Ltd. | Mask and headgear with connector |
| US6439230B1 (en) * | 1999-06-18 | 2002-08-27 | Resmed Limited | Mask with recess including at least one mask port |
| US6615832B1 (en) * | 1999-06-22 | 2003-09-09 | Bragel International, Inc. | Wear article with detachable interface assembly |
| US6467483B1 (en) * | 1999-07-28 | 2002-10-22 | Respironics, Inc. | Respiratory mask |
| USD448473S1 (en) * | 1999-08-10 | 2001-09-25 | Respironics, Inc. | Nasal mask |
| USD464428S1 (en) * | 1999-08-10 | 2002-10-15 | Respironics, Inc. | Nasal mask cushion |
| US6610032B1 (en) * | 1999-08-20 | 2003-08-26 | Dale Medical, Inc. | Surgical drainage device |
| US6435181B1 (en) * | 1999-08-30 | 2002-08-20 | Sunrise Medical Hhg Inc. | Respiratory mask with adjustable exhaust vent |
| DE19962515C2 (de) | 1999-10-05 | 2002-06-20 | Map Gmbh | Halterung für eine Atemmaske |
| US6536436B1 (en) | 1999-10-26 | 2003-03-25 | Mcglothen Roberta | Strap for nasal cannula |
| AUPQ382299A0 (en) | 1999-11-03 | 1999-11-25 | Australian Centre For Advanced Medical Technology Ltd | Mask |
| DE19954517C2 (de) * | 1999-11-12 | 2002-01-31 | Map Gmbh | Atemmaske und Verfahren zur Herstellung derselben |
| US6668830B1 (en) * | 1999-11-19 | 2003-12-30 | Mallinckrodt Inc. | Low noise exhalation port for a respiratory mask |
| DE19962110C2 (de) * | 1999-12-22 | 2003-06-12 | Pari Gmbh | Inhalationsvernebler mit einstückigem Ventilelement |
| US6253388B1 (en) * | 1999-12-31 | 2001-07-03 | Ronald Lando | Eye wear with snap-together bridge |
| DE20001040U1 (de) * | 2000-01-21 | 2000-04-06 | MPV-Truma Gesellschaft für Medizintechnische Produkte mbH, 85640 Putzbrunn | Nasale Beatmungsmaske und Maskenkissen für eine nasale Beatmungsmaske |
| EP1118346A3 (de) * | 2000-01-21 | 2003-06-18 | MPV-Truma Gesellschaft Für Medizintechnische Produkte mbH | Nasale Beatmungsmaske und Maskenkissen für eine nasale Beatmungsmaske |
| CN2412562Y (zh) * | 2000-02-25 | 2001-01-03 | 哈尔滨飞机工业(集团)有限责任公司 | 可调整头部姿态的输氧面罩固定装置 |
| EP1259279B1 (de) | 2000-02-25 | 2007-11-28 | MAP Medizin-Technologie GmbH | Atemmaske mit dichtlippeneinrichtung |
| US6561192B2 (en) | 2000-03-03 | 2003-05-13 | The Penn State Research Foundation | Nasal oral respiratory interface |
| US20010032648A1 (en) | 2000-03-03 | 2001-10-25 | Bernadette Jestrabek-Hart | Exhaust airway for nasal continuous positive airway pressure mask |
| US20060150982A1 (en) | 2003-08-05 | 2006-07-13 | Wood Thomas J | Nasal ventilation interface and system |
| US6581594B1 (en) | 2000-05-15 | 2003-06-24 | Resmed Limited | Respiratory mask having gas washout vent and gas washout vent for respiratory mask |
| AU2001267947B2 (en) * | 2000-06-14 | 2004-01-15 | Fisher & Paykel Healthcare Limited | Breathing assistance apparatus |
| AUPQ821500A0 (en) | 2000-06-19 | 2000-07-13 | Australian Centre For Advanced Medical Technology Ltd | Mask |
| US6986352B2 (en) * | 2000-06-22 | 2006-01-17 | Resmed Limited | Mask with gusset |
| DE10035946C2 (de) * | 2000-07-21 | 2002-06-27 | Map Gmbh | Halterung für eine Atemmaske |
| US6530373B1 (en) | 2000-08-04 | 2003-03-11 | Mallinckrodt Inc. | Respirator mask |
| US6679261B2 (en) * | 2000-08-24 | 2004-01-20 | Resmed Limited | Forehead support for facial mask |
| FI20002064L (fi) * | 2000-09-19 | 2002-03-20 | Nokia Corp | Yhteyden käsittelymenetelmä kommunikaatiojärjestelmässä |
| US6508249B2 (en) * | 2000-10-05 | 2003-01-21 | Vital Signs, Inc. | Connecting apparatus for placing fluid flow paths in fluid communication |
| US6694972B2 (en) | 2000-10-13 | 2004-02-24 | Government Specialty Products | Gas canister protection system |
| US6619288B2 (en) | 2000-11-15 | 2003-09-16 | Deka Products Limited Partnership | Breathing mask with incomplete headband |
| ES2534747T3 (es) * | 2000-12-12 | 2015-04-28 | Resmed Limited | Arnés de cabeza para una máscara respiratoria |
| JP2002199908A (ja) * | 2001-01-01 | 2002-07-16 | Yamato Shoji Nire:Kk | 止め具 |
| DE10103154C1 (de) | 2001-01-24 | 2002-05-23 | Draeger Safety Ag & Co Kgaa | Atemschutzmaske mit schnell lösbarer Bänderung |
| NZ527088A (en) | 2001-02-16 | 2005-04-29 | Resmed Ltd | Humidifier with structure to prevent backflow of liquid through the humidifier inlet |
| CN2464353Y (zh) * | 2001-02-28 | 2001-12-12 | 张地利 | 兼顾环保及卫生的麻醉呼吸面罩 |
| US20020144684A1 (en) | 2001-04-06 | 2002-10-10 | Moone Samuel Joseph | BI/PAP mask for sleep apnea and other related clinical uses |
| US7007696B2 (en) | 2001-05-18 | 2006-03-07 | Tiara Medical Systems, Inc. | Mask cushion and method of using same |
| US6851425B2 (en) * | 2001-05-25 | 2005-02-08 | Respironics, Inc. | Exhaust port assembly for a pressure support system |
| GB0114368D0 (en) | 2001-06-07 | 2001-08-08 | Smiths Industries Plc | Face masks |
| DE10128994A1 (de) | 2001-06-15 | 2002-12-19 | Weinmann G Geraete Med | Vorrichtung zur Abstützung |
| US6606767B2 (en) * | 2001-07-09 | 2003-08-19 | Sheung Chung Wong | Magnetic strap fastener |
| JP4467875B2 (ja) | 2001-09-07 | 2010-05-26 | レスメド・リミテッド | マスクアセンブリ |
| DE10151984C5 (de) * | 2001-10-22 | 2008-07-17 | Map Medizin-Technologie Gmbh | Applikationsvorrichtung für eine Atemmaskenanordnung |
| US6805117B1 (en) * | 2001-11-07 | 2004-10-19 | Ric Investments, Llc | Universal fitting headgear |
| DE10158066A1 (de) | 2001-11-27 | 2003-06-05 | Weinmann G Geraete Med | Beatmungsmaske |
| US6860268B2 (en) * | 2002-02-06 | 2005-03-01 | Shelly Bohn | Pediatric ventilation mask and headgear system |
| EP2345446B1 (en) * | 2002-03-22 | 2015-12-16 | Invacare Corporation | Nasal mask |
| AUPS192602A0 (en) | 2002-04-23 | 2002-05-30 | Resmed Limited | Nasal mask |
| US8997742B2 (en) | 2002-04-23 | 2015-04-07 | Resmed Limited | Ergonomic and adjustable respiratory mask assembly with cushion |
| US7743767B2 (en) | 2002-04-23 | 2010-06-29 | Resmed Limited | Ergonomic and adjustable respiratory mask assembly with frame |
| US8042542B2 (en) * | 2002-04-23 | 2011-10-25 | Resmed Limited | Respiratory mask assembly with magnetic coupling to headgear assembly |
| JP4727985B2 (ja) * | 2002-06-14 | 2011-07-20 | エムアーペー メディツィンテクノロジー ゲゼルシャフト・ミット・ベシュレンクテル・ハフツング | 呼吸マスク用マスクパッド装置、呼吸マスク、ならびに該マスクパッド装置を製造するための方法 |
| US7814911B2 (en) | 2004-10-15 | 2010-10-19 | Aeiomed, Inc. | Nares seal |
| US7089941B2 (en) | 2002-08-20 | 2006-08-15 | Bordewick Steven S | Face mask support |
| US7069932B2 (en) * | 2002-09-06 | 2006-07-04 | Ric Investments, Llc. | Patient interface with forehead support system |
| WO2004022147A1 (en) * | 2002-09-06 | 2004-03-18 | Resmed Limited | Elbow for mask assembly |
| US6691314B1 (en) * | 2002-10-07 | 2004-02-17 | Morning Pride Manufacturing, L.L.C. | Face mask, head harness, and protective hood for firefighter |
| USD486907S1 (en) * | 2002-11-08 | 2004-02-17 | Resmed Limited | Frame for mask assembly |
| NZ712109A (en) | 2002-11-08 | 2017-03-31 | Resmed Ltd | Headgear assembly for a respiratory mask assembly |
| US6857169B2 (en) * | 2002-12-10 | 2005-02-22 | Taiwan Industrial Fastener Corporation | Structure of magnetic buckle |
| US8042538B2 (en) | 2003-02-21 | 2011-10-25 | Resmed Limited | Nasal mask assembly |
| NZ562412A (en) * | 2003-02-21 | 2009-02-28 | Resmed Ltd | Nasal assembly for pillow mask |
| US20040182397A1 (en) | 2003-03-21 | 2004-09-23 | Innomed Technologies, Inc. | Nasal interface including ventilation insert |
| ATE538832T1 (de) | 2003-05-05 | 2012-01-15 | Resmed Ltd | Stirnstütze für eine gesichtsmaske |
| US7472707B2 (en) * | 2003-08-06 | 2009-01-06 | Innomed Technologies, Inc. | Nasal interface and system including ventilation insert |
| US7000613B2 (en) * | 2003-08-06 | 2006-02-21 | Innomed Technologies, Inc. | Nasal interface and system including ventilation insert |
| US6997187B2 (en) * | 2003-09-10 | 2006-02-14 | Innomed Technologies, Inc. | Nasal interface and system including ventilation insert |
| US20050121037A1 (en) | 2003-08-08 | 2005-06-09 | Wood Thomas J. | Nasal ventilation interface |
| US7353826B2 (en) * | 2003-08-08 | 2008-04-08 | Cardinal Health 205, Inc. | Sealing nasal cannula |
| US7357136B2 (en) | 2003-08-18 | 2008-04-15 | Ric Investments, Llc | Patient interface assembly and system using same |
| EP3815730B1 (en) | 2003-12-31 | 2024-12-18 | ResMed Pty Ltd | Oronasal patient interface |
| CA2554667C (en) * | 2004-02-13 | 2010-07-20 | Meeker R & D, Inc. | Infant carrier and receiving base |
| WO2005079726A1 (en) | 2004-02-23 | 2005-09-01 | Fisher & Paykel Healthcare Limited | Breathing assistance apparatus |
| US20050199663A1 (en) | 2004-03-05 | 2005-09-15 | Lockheed Martin Corporation | Safety system for a portable data collection device |
| US7942150B2 (en) | 2004-04-09 | 2011-05-17 | Resmed Limited | Nasal assembly |
| US20060174892A1 (en) * | 2005-01-05 | 2006-08-10 | Steven Leksutin | Method and apparatus for magnetically connecting a head gear to an air mask |
| US7152599B2 (en) | 2005-05-20 | 2006-12-26 | Thomas Wendell A | Nasal mask for delivering gas |
| AU2006255476B2 (en) | 2005-06-06 | 2012-07-05 | ResMed Pty Ltd | Mask system |
| WO2007033295A2 (en) | 2005-09-14 | 2007-03-22 | Sleepnet Corporation | Forehead support for a respiratory mask |
| US7600302B2 (en) * | 2006-07-17 | 2009-10-13 | James Michael Dillner | Safety buckle for child seat and the like |
| US20090094802A1 (en) * | 2007-10-10 | 2009-04-16 | Kata Vitec I Ltd. | Buckle system |
| DE112008004053A5 (de) | 2008-08-20 | 2011-07-28 | Hansen, Jens, Dipl.-Ing., 13086 | Verfahren zur sensitiven Erfassung breitbandiger Schallereignisse |
| EP2758113B1 (en) | 2011-10-31 | 2016-10-12 | Fisher & Paykel Healthcare Limited | Interface comprising a nasal sealing portion |
| WO2013064930A1 (en) | 2011-11-03 | 2013-05-10 | Koninklijke Philips Electronics N.V. | Multiple-material, single-plane headgear |
| US9482718B2 (en) | 2014-01-13 | 2016-11-01 | Texas Instruments Incorporated | Integrated circuit |
| US9504220B2 (en) | 2014-03-06 | 2016-11-29 | Pioneer Hi-Bred International, Inc. | Maize hybrid X03F652 |
-
2002
- 2002-04-23 AU AUPS1926A patent/AUPS192602A0/en not_active Abandoned
-
2003
- 2003-03-19 US US10/390,826 patent/US7597100B2/en active Active
- 2003-03-19 US US10/390,681 patent/US6907882B2/en not_active Expired - Lifetime
- 2003-03-19 US US10/390,720 patent/US7487772B2/en active Active
- 2003-04-17 AU AU2003218898A patent/AU2003218898A1/en not_active Abandoned
- 2003-04-17 NZ NZ553825A patent/NZ553825A/en not_active IP Right Cessation
- 2003-04-17 WO PCT/AU2003/000458 patent/WO2003090827A1/en not_active Ceased
- 2003-04-17 NZ NZ536545A patent/NZ536545A/en not_active IP Right Cessation
- 2003-04-17 NZ NZ553756A patent/NZ553756A/en not_active IP Right Cessation
- 2003-04-17 NZ NZ553757A patent/NZ553757A/en not_active IP Right Cessation
- 2003-04-17 NZ NZ553824A patent/NZ553824A/en not_active IP Right Cessation
- 2003-04-17 NZ NZ553822A patent/NZ553822A/en not_active IP Right Cessation
- 2003-04-17 NZ NZ553823A patent/NZ553823A/en not_active IP Right Cessation
- 2003-04-22 CN CN03133032A patent/CN100584405C/zh not_active Ceased
- 2003-04-22 CN CN031330304A patent/CN1623610B/zh not_active Expired - Fee Related
- 2003-04-22 CN CNA031330312A patent/CN1628869A/zh active Pending
- 2003-04-22 CN CN202111535530.2A patent/CN114225176A/zh not_active Withdrawn
- 2003-04-22 CN CN03133029A patent/CN100594955C/zh not_active Expired - Fee Related
- 2003-04-22 CN CN201910906605.XA patent/CN110478589B/zh not_active Expired - Lifetime
- 2003-04-22 CN CN03133033A patent/CN100581611C/zh not_active Expired - Fee Related
- 2003-04-23 EP EP10184937.0A patent/EP2301614B1/en not_active Expired - Lifetime
- 2003-04-23 AT AT03252555T patent/ATE435676T1/de not_active IP Right Cessation
- 2003-04-23 EP EP06018065A patent/EP1721630B1/en not_active Expired - Lifetime
- 2003-04-23 AU AU2003203836A patent/AU2003203836B2/en not_active Expired
- 2003-04-23 DE DE20321472U patent/DE20321472U1/de not_active Expired - Lifetime
- 2003-04-23 JP JP2003117806A patent/JP4485143B2/ja not_active Expired - Fee Related
- 2003-04-23 EP EP10184931A patent/EP2319571A3/en not_active Withdrawn
- 2003-04-23 DE DE20321468U patent/DE20321468U1/de not_active Expired - Lifetime
- 2003-04-23 DE DE20321470U patent/DE20321470U1/de not_active Expired - Lifetime
- 2003-04-23 DE DE20321471U patent/DE20321471U1/de not_active Expired - Lifetime
- 2003-04-23 JP JP2003117836A patent/JP4593084B2/ja not_active Expired - Lifetime
- 2003-04-23 EP EP03252554.5A patent/EP1356841B2/en not_active Expired - Lifetime
- 2003-04-23 AU AU2003203833A patent/AU2003203833B2/en not_active Expired
- 2003-04-23 EP EP03252555A patent/EP1356842B1/en not_active Expired - Lifetime
- 2003-04-23 AU AU2003203830A patent/AU2003203830A1/en not_active Abandoned
- 2003-04-23 AU AU2003203835A patent/AU2003203835B2/en not_active Expired
- 2003-04-23 AT AT06018065T patent/ATE457183T1/de not_active IP Right Cessation
- 2003-04-23 AU AU2003203832A patent/AU2003203832B2/en not_active Expired
- 2003-04-23 EP EP03252572A patent/EP1356843B1/en not_active Expired - Lifetime
- 2003-04-23 JP JP2003117889A patent/JP4694105B2/ja not_active Expired - Fee Related
- 2003-04-23 JP JP2003117911A patent/JP4468652B2/ja not_active Expired - Fee Related
- 2003-04-23 AT AT03252552T patent/ATE405313T1/de not_active IP Right Cessation
- 2003-04-23 DE DE20321469U patent/DE20321469U1/de not_active Expired - Lifetime
- 2003-04-23 EP EP10153114A patent/EP2221081A1/en not_active Withdrawn
- 2003-04-23 AT AT03252572T patent/ATE453425T1/de not_active IP Right Cessation
- 2003-04-23 JP JP2003117861A patent/JP4544830B2/ja not_active Expired - Lifetime
- 2003-04-23 DE DE60330728T patent/DE60330728D1/de not_active Expired - Lifetime
- 2003-04-23 DE DE60323001T patent/DE60323001D1/de not_active Expired - Lifetime
- 2003-04-23 EP EP03252552A patent/EP1360971B1/en not_active Expired - Lifetime
-
2006
- 2006-03-28 US US11/390,239 patent/US7938116B2/en not_active Expired - Lifetime
- 2006-08-09 US US11/501,071 patent/US7874291B2/en not_active Expired - Lifetime
-
2007
- 2007-01-26 US US11/698,066 patent/US7341060B2/en not_active Expired - Lifetime
-
2008
- 2008-01-25 US US12/010,475 patent/US8025057B2/en not_active Expired - Lifetime
-
2009
- 2009-02-10 US US12/368,545 patent/US7997267B2/en not_active Expired - Lifetime
-
2010
- 2010-05-26 AU AU2010202144A patent/AU2010202144B2/en not_active Expired
-
2011
- 2011-07-15 US US13/183,889 patent/US8387616B2/en not_active Expired - Fee Related
-
2013
- 2013-03-04 US US13/784,213 patent/US9669180B2/en not_active Expired - Fee Related
-
2017
- 2017-05-22 US US15/601,123 patent/US10675429B2/en not_active Expired - Fee Related
-
2019
- 2019-10-23 US US16/660,905 patent/US11110244B2/en not_active Expired - Fee Related
-
2021
- 2021-09-03 US US17/466,402 patent/US11266804B2/en not_active Expired - Lifetime
Also Published As
Similar Documents
| Publication | Publication Date | Title |
|---|---|---|
| JP6356756B2 (ja) | フレームを有する人間工学に基づいた調節可能な呼吸用マスクアセンブリ | |
| JP4468652B2 (ja) | エルボーアセンブリを有する人間工学に基づいた調節可能な呼吸用マスクアセンブリ | |
| JP5254276B2 (ja) | ヘッドギアアセンブリを有する人間工学に基づいた調節可能な呼吸用マスクアセンブリ | |
| EP1861153B1 (en) | Respiratory mask assembly with magnetic coupling to headgear assembly |
Legal Events
| Date | Code | Title | Description |
|---|---|---|---|
| A621 | Written request for application examination |
Free format text: JAPANESE INTERMEDIATE CODE: A621 Effective date: 20060405 |
|
| A521 | Request for written amendment filed |
Free format text: JAPANESE INTERMEDIATE CODE: A523 Effective date: 20060522 |
|
| A521 | Request for written amendment filed |
Free format text: JAPANESE INTERMEDIATE CODE: A523 Effective date: 20070613 |
|
| A131 | Notification of reasons for refusal |
Free format text: JAPANESE INTERMEDIATE CODE: A131 Effective date: 20090421 |
|
| A601 | Written request for extension of time |
Free format text: JAPANESE INTERMEDIATE CODE: A601 Effective date: 20090717 |
|
| A602 | Written permission of extension of time |
Free format text: JAPANESE INTERMEDIATE CODE: A602 Effective date: 20090723 |
|
| A601 | Written request for extension of time |
Free format text: JAPANESE INTERMEDIATE CODE: A601 Effective date: 20090821 |
|
| A602 | Written permission of extension of time |
Free format text: JAPANESE INTERMEDIATE CODE: A602 Effective date: 20090826 |
|
| A521 | Request for written amendment filed |
Free format text: JAPANESE INTERMEDIATE CODE: A523 Effective date: 20090918 |
|
| TRDD | Decision of grant or rejection written | ||
| A01 | Written decision to grant a patent or to grant a registration (utility model) |
Free format text: JAPANESE INTERMEDIATE CODE: A01 Effective date: 20100202 |
|
| A01 | Written decision to grant a patent or to grant a registration (utility model) |
Free format text: JAPANESE INTERMEDIATE CODE: A01 |
|
| A61 | First payment of annual fees (during grant procedure) |
Free format text: JAPANESE INTERMEDIATE CODE: A61 Effective date: 20100225 |
|
| R150 | Certificate of patent or registration of utility model |
Ref document number: 4468652 Country of ref document: JP Free format text: JAPANESE INTERMEDIATE CODE: R150 Free format text: JAPANESE INTERMEDIATE CODE: R150 |
|
| FPAY | Renewal fee payment (event date is renewal date of database) |
Free format text: PAYMENT UNTIL: 20130305 Year of fee payment: 3 |
|
| FPAY | Renewal fee payment (event date is renewal date of database) |
Free format text: PAYMENT UNTIL: 20130305 Year of fee payment: 3 |
|
| FPAY | Renewal fee payment (event date is renewal date of database) |
Free format text: PAYMENT UNTIL: 20140305 Year of fee payment: 4 |
|
| R250 | Receipt of annual fees |
Free format text: JAPANESE INTERMEDIATE CODE: R250 |
|
| R250 | Receipt of annual fees |
Free format text: JAPANESE INTERMEDIATE CODE: R250 |
|
| R250 | Receipt of annual fees |
Free format text: JAPANESE INTERMEDIATE CODE: R250 |
|
| R250 | Receipt of annual fees |
Free format text: JAPANESE INTERMEDIATE CODE: R250 |
|
| R250 | Receipt of annual fees |
Free format text: JAPANESE INTERMEDIATE CODE: R250 |
|
| R250 | Receipt of annual fees |
Free format text: JAPANESE INTERMEDIATE CODE: R250 |
|
| R250 | Receipt of annual fees |
Free format text: JAPANESE INTERMEDIATE CODE: R250 |
|
| S533 | Written request for registration of change of name |
Free format text: JAPANESE INTERMEDIATE CODE: R313533 |
|
| R350 | Written notification of registration of transfer |
Free format text: JAPANESE INTERMEDIATE CODE: R350 |
|
| R250 | Receipt of annual fees |
Free format text: JAPANESE INTERMEDIATE CODE: R250 |
|
| R250 | Receipt of annual fees |
Free format text: JAPANESE INTERMEDIATE CODE: R250 |
|
| LAPS | Cancellation because of no payment of annual fees |