JP4426537B2 - 感光性組成物、それを用いた複合部材および電子部品 - Google Patents
感光性組成物、それを用いた複合部材および電子部品 Download PDFInfo
- Publication number
- JP4426537B2 JP4426537B2 JP2006031452A JP2006031452A JP4426537B2 JP 4426537 B2 JP4426537 B2 JP 4426537B2 JP 2006031452 A JP2006031452 A JP 2006031452A JP 2006031452 A JP2006031452 A JP 2006031452A JP 4426537 B2 JP4426537 B2 JP 4426537B2
- Authority
- JP
- Japan
- Prior art keywords
- compound
- photosensitive composition
- group
- vinyl ether
- powder
- Prior art date
- Legal status (The legal status is an assumption and is not a legal conclusion. Google has not performed a legal analysis and makes no representation as to the accuracy of the status listed.)
- Expired - Fee Related
Links
- PHXGAJLBHUUAKB-UHFFFAOYSA-N C1C2OCCC2OC1 Chemical compound C1C2OCCC2OC1 PHXGAJLBHUUAKB-UHFFFAOYSA-N 0.000 description 1
Images
Classifications
-
- G—PHYSICS
- G03—PHOTOGRAPHY; CINEMATOGRAPHY; ANALOGOUS TECHNIQUES USING WAVES OTHER THAN OPTICAL WAVES; ELECTROGRAPHY; HOLOGRAPHY
- G03F—PHOTOMECHANICAL PRODUCTION OF TEXTURED OR PATTERNED SURFACES, e.g. FOR PRINTING, FOR PROCESSING OF SEMICONDUCTOR DEVICES; MATERIALS THEREFOR; ORIGINALS THEREFOR; APPARATUS SPECIALLY ADAPTED THEREFOR
- G03F7/00—Photomechanical, e.g. photolithographic, production of textured or patterned surfaces, e.g. printing surfaces; Materials therefor, e.g. comprising photoresists; Apparatus specially adapted therefor
- G03F7/004—Photosensitive materials
- G03F7/038—Macromolecular compounds which are rendered insoluble or differentially wettable
-
- C—CHEMISTRY; METALLURGY
- C09—DYES; PAINTS; POLISHES; NATURAL RESINS; ADHESIVES; COMPOSITIONS NOT OTHERWISE PROVIDED FOR; APPLICATIONS OF MATERIALS NOT OTHERWISE PROVIDED FOR
- C09D—COATING COMPOSITIONS, e.g. PAINTS, VARNISHES OR LACQUERS; FILLING PASTES; CHEMICAL PAINT OR INK REMOVERS; INKS; CORRECTING FLUIDS; WOODSTAINS; PASTES OR SOLIDS FOR COLOURING OR PRINTING; USE OF MATERIALS THEREFOR
- C09D11/00—Inks
- C09D11/02—Printing inks
- C09D11/10—Printing inks based on artificial resins
- C09D11/101—Inks specially adapted for printing processes involving curing by wave energy or particle radiation, e.g. with UV-curing following the printing
Landscapes
- Physics & Mathematics (AREA)
- Chemical & Material Sciences (AREA)
- General Physics & Mathematics (AREA)
- Wood Science & Technology (AREA)
- Organic Chemistry (AREA)
- Engineering & Computer Science (AREA)
- Spectroscopy & Molecular Physics (AREA)
- Life Sciences & Earth Sciences (AREA)
- Materials Engineering (AREA)
- Polyethers (AREA)
- Materials For Photolithography (AREA)
- Epoxy Resins (AREA)
- Manufacturing Of Printed Wiring (AREA)
- Parts Printed On Printed Circuit Boards (AREA)
- Addition Polymer Or Copolymer, Post-Treatments, Or Chemical Modifications (AREA)
- Photosensitive Polymer And Photoresist Processing (AREA)
Description
前記有機系分散媒は、3−エチル−3−(フェノキシメチル)オキセタンからなる単官能オキセタン化合物を含むオキセタン化合物、下記一般式(1)で表わされるビニルエーテル構造を含有する化合物、およびオキシラン化合物のそれぞれ少なくとも1種を含む重合性化合物であり、
前記オキシラン化合物、前記オキセタン化合物、前記ビニルエーテル構造を含有する化合物のうち少なくとも1つは単官能化合物を含み、
前記単官能化合物は前記有機系分散媒総量の20〜70重量%の割合で含有され、
前記オキシラン化合物の含有量は前記有機系分散媒総量の30重量%以下であり、
前記オキセタン化合物の含有量は前記有機系分散媒総量の20〜60重量%であり、
前記ビニルエーテル構造を含有する化合物は前記有機系分散媒総量の30重量%以上の割合で含有されることを特徴とする。
pが0であって、R12としてシクロヘキサン環骨格が導入される場合には、揮発性の観点から、R12には酸素が含まれることがより好ましい。具体的には、環骨格に含まれる少なくとも一つの炭素原子はケトン構造を有する構造、酸素原子に置換されている構造、あるいは酸素含有置換基を有する構造などであることが望まれる。
ビニルエーテル化合物は、単独でも2種以上を組み合わせて用いてもよい。
ただし、アニリン化合物は、塩基性が低いために、一般に化合物自体が塩基性を有しているオキセタン化合物との組み合わせでは望ましくない。オキセタン化合物としては、より塩基性の高い化合物が望ましく、例えば25℃でのpKbが7以下3以上の化合物である。より具体的には、脂肪族骨格を有するアミンや脂環骨格を有するアミンのような塩基性化合物を、好適に用いることができる。
C3000:セロキサイド3000(リモネンジオキサイド:ダイセル化学)
OXT−221(ジ[1−エチル(3−オキセタニル)]メチルエーテル)
OXT−211(3−エチル−3−(フェノキシメチル)オキセタン)
これらのオキセタン化合物は、いずれも東亞合成(株)製である。
ISB−DVE(イソソルバイドジビニルエーテル)
これらのビニルエーテル化合物は、いずれもダイセル化学製である。
増感剤:ジブトキシアントラセン(川崎化成)
表中の数字は、分散媒中での重量%である。ただし重合開始剤については全分散媒に対する重量%、また増感剤については重合開始剤に対する重量%で表わしている。
前述の実施例5と同様の組成で調製された感光性組成物を用いて、PMMA(ポリメチルメタクリレート)製透明基板上にマイクロレンズアレイを作製した。作製に当たっては、マイクロレンズアレイの形状の凹部を有する金型を準備し、流動性を有する感光性組成物をその凹部に塗布して塗膜を形成した。塗膜の上には、PMMA透明基板を接着させた。次いで、PMMA透明基板側から紫外線を照射することにより、感光性組成物を硬化させた。この状態を図1に示す。図示するように、PMMA透明基板3上には、金型2が配置され、この金型2の凹部内には硬化した感光性組成物によりマイクロレンズ1が形成されている。
球状銀粉(CuLox 0010、CuLox社製)を前述の実施例1に示した感光性組成物に重量比70/30で混合し、分散剤(ディスパロン1860、楠本化成)を銀粉に対して1重量%加えた。さらに、ロッキングミルで30分の分散処理を行なって、導電の感光性組成物(導電ペースト)を得た。
Thin Solid Films,327(1998)524−527に示されている方法により、銀ナノ粒子を作製した。得られた銀ナノ粒子の平均粒子径は5nmであり、表面にはC17H35CO2基が配位して分散可能となっている。この銀ナノ粒子は、トルエン分散液として調製した。
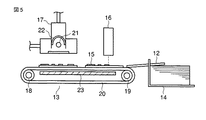
実施例11で用いたインクを用いて多層配線基板を作製した。図3を参照して、本実施例を説明する。
実施例10で用いた導電ペーストを用いて多層配線基板を作製した。図3および図4を参照して、本実施例を説明する。
平均粒径0.7μmのバリウムフェライト磁性粉を、前述の実施例1に示した感光性組成物に重量比40/60で混合し、分散剤(エスレックA、積水化学)を磁性粉に対して5重量%加えた。さらに、サンドミルで30分の分散処理を行なって、磁性インキを得た。
平均粒径0.1μmのバリウムフェライト磁性粉を、前述の実施例1に示した感光性組成物に重量比40/60で混合し、分散剤(エスレックA、積水化学)を磁性粉に対して5重量%加えた。さらに、サンドミルで30分の分散処理を行なって、磁性インキを得た。
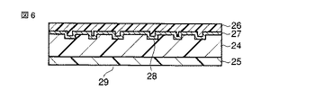
図6を参照して、本実施例を説明する。
まず、ポリカーボネート基板24上にアルミニウム蒸着膜27による記録層28を設けて、光ディスク29を用意した。アルミニウム蒸着膜27上には、実施例7に示した組成の感光性組成物を、膜厚が5μmとなるようにスピンコートにより塗布して塗膜を形成した。
6…絶縁基材; 7…導電パターン; 8…絶縁層; 9…スルーホール
10…導電層; 11…導電パターン; 12:基材; 13…基材搬送部
14…基材供給部; 15…磁気記録層; 16:インクジェットヘッド
17…紫外線照射装置; 18…駆動ローラ; 19…従動ローラ
20…搬送ベルト; 21…バルブ; 22…反射板; 23:永久磁石
24…基材; 25…保護層; 26…保護層; 27…反射膜;
28…記録パターン; 29…光ディスク。
Claims (9)
- 有機系分散媒と、光カチオン重合開始剤とを含有する感光性組成物であって、
前記有機系分散媒は、3−エチル−3−(フェノキシメチル)オキセタンからなる単官能オキセタン化合物を含むオキセタン化合物、下記一般式(1)で表わされるビニルエーテル構造を含有する化合物、およびオキシラン化合物のそれぞれ少なくとも1種を含む重合性化合物であり、
前記オキシラン化合物、前記オキセタン化合物、前記ビニルエーテル構造を含有する化合物のうち少なくとも1つは単官能化合物を含み、
前記単官能化合物は前記有機系分散媒総量の20〜70重量%の割合で含有され、
前記オキシラン化合物の含有量は前記有機系分散媒総量の30重量%以下であり、
前記オキセタン化合物の含有量は前記有機系分散媒総量の20〜60重量%であり、
前記ビニルエーテル構造を含有する化合物は前記有機系分散媒総量の30重量%以上の割合で含有されることを特徴とする感光性組成物。
(前記一般式(1)中、R11は、ビニルエーテル基、ビニルエーテル骨格を有する基、アルコキシ基、水酸基置換体および水酸基からなる群から選択され、少なくとも1つはビニルエーテル基またはビニルエーテル骨格を有する。R12は、置換または非置換の環式骨格を有するp+1価の基であり、pは0を含む正の整数である。) - 粉体をさらに含有することを特徴とする請求項1ないし3のいずれか1項に記載の感光性組成物。
- 前記粉体は、導電性粉体、絶縁性粉体、磁性粉体、誘電性粉体、および電磁波発熱性粉体からなる群から選択される少なくとも一種であることを特徴とする請求項4に記載の感光性組成物。
- 前記粉体の平均粒径は300nm以下であり、粘度が25℃で50mPa・s以下であることを特徴とする請求項4または5に記載の感光性組成物。
- 樹脂部分を具備する複合部材であって、前記樹脂部分は、請求項1ないし6のいずれか1項に記載の感光性組成物の硬化物からなることを特徴とする複合部材。
- 金属部分と、この金属部分に接触した樹脂部分とを具備し、前記樹脂部分は、請求項1ないし6のいずれか1項に記載の感光性組成物の硬化物からなることを特徴とする複合部材。
- 絶縁部分と導電性部分とを具備し、その少なくとも一方は、請求項1ないし6のいずれか1項に記載の感光性組成物の硬化物からなることを特徴とする電子部品。
Priority Applications (5)
| Application Number | Priority Date | Filing Date | Title |
|---|---|---|---|
| JP2006031452A JP4426537B2 (ja) | 2006-02-08 | 2006-02-08 | 感光性組成物、それを用いた複合部材および電子部品 |
| US11/672,801 US20070202437A1 (en) | 2006-02-08 | 2007-02-08 | Photosensitive composition |
| EP20080006868 EP1944651A3 (en) | 2006-02-08 | 2007-02-08 | Method for manufacturing a composite member |
| EP20070002732 EP1818376B1 (en) | 2006-02-08 | 2007-02-08 | Photosensitive composition |
| DE200760002929 DE602007002929D1 (de) | 2006-02-08 | 2007-02-08 | Lichtempfindliche Zusammensetzung |
Applications Claiming Priority (1)
| Application Number | Priority Date | Filing Date | Title |
|---|---|---|---|
| JP2006031452A JP4426537B2 (ja) | 2006-02-08 | 2006-02-08 | 感光性組成物、それを用いた複合部材および電子部品 |
Publications (2)
| Publication Number | Publication Date |
|---|---|
| JP2007211098A JP2007211098A (ja) | 2007-08-23 |
| JP4426537B2 true JP4426537B2 (ja) | 2010-03-03 |
Family
ID=37915747
Family Applications (1)
| Application Number | Title | Priority Date | Filing Date |
|---|---|---|---|
| JP2006031452A Expired - Fee Related JP4426537B2 (ja) | 2006-02-08 | 2006-02-08 | 感光性組成物、それを用いた複合部材および電子部品 |
Country Status (4)
| Country | Link |
|---|---|
| US (1) | US20070202437A1 (ja) |
| EP (2) | EP1818376B1 (ja) |
| JP (1) | JP4426537B2 (ja) |
| DE (1) | DE602007002929D1 (ja) |
Families Citing this family (23)
| Publication number | Priority date | Publication date | Assignee | Title |
|---|---|---|---|---|
| JP4041146B2 (ja) * | 2006-02-08 | 2008-01-30 | 東芝テック株式会社 | 感光性インクジェットインク |
| JP5269734B2 (ja) * | 2008-10-16 | 2013-08-21 | 株式会社デンソー | 重合硬化性組成物、その重合硬化方法、および重合硬化樹脂組成物 |
| CN101851659B (zh) * | 2010-04-23 | 2012-02-15 | 云南烟草科学研究院 | 水体致突变性检测的Ames实验微量波动法 |
| JP5608491B2 (ja) * | 2010-09-13 | 2014-10-15 | 東芝テック株式会社 | 導電パターンの形成方法および印刷物 |
| JP2012216700A (ja) * | 2011-04-01 | 2012-11-08 | Fujifilm Corp | パターン形成方法およびパターン |
| WO2015200706A1 (en) * | 2014-06-25 | 2015-12-30 | Rensselaer Polytechnic Institute | Oxetane polymers and methods of preparation thereof |
| EP3162854B1 (en) * | 2014-06-27 | 2020-04-15 | Daicel Corporation | Monomer composition and curable composition containing same |
| JP6502761B2 (ja) * | 2014-06-27 | 2019-04-17 | 株式会社ダイセル | モノマー組成物、及びそれを含む硬化性組成物 |
| EP3162822B1 (en) * | 2014-06-27 | 2020-08-26 | Daicel Corporation | Monomer composition and curable composition containing same |
| EP3162835B1 (en) * | 2014-06-27 | 2019-12-11 | Daicel Corporation | Monomer composition and curable composition containing same |
| JP6538447B2 (ja) * | 2014-06-27 | 2019-07-03 | 株式会社ダイセル | モノマー組成物、及びそれを含む硬化性組成物 |
| JP6534869B2 (ja) * | 2014-06-27 | 2019-06-26 | 株式会社ダイセル | モノマー組成物、及びそれを含む硬化性組成物 |
| CN106459382A (zh) | 2014-06-27 | 2017-02-22 | 株式会社大赛璐 | 单体组合物及含有其的固化性组合物 |
| JP6285814B2 (ja) * | 2014-07-03 | 2018-02-28 | 株式会社ダイセル | 接着剤及びその使用方法並びに接着膜 |
| US9359517B2 (en) * | 2014-10-15 | 2016-06-07 | Eastman Kodak Company | Non-aqueous compositions of dispersed carbon-coated metal particles |
| CN106795384B (zh) * | 2014-10-15 | 2020-10-30 | 柯达公司 | 经分散的经碳涂覆的金属颗粒、物品和用途 |
| JP2017115073A (ja) * | 2015-12-25 | 2017-06-29 | 株式会社ダイセル | 立体造形用硬化性組成物 |
| JP2017115072A (ja) * | 2015-12-25 | 2017-06-29 | 株式会社ダイセル | 立体造形用硬化性組成物 |
| TWI629337B (zh) * | 2016-07-29 | 2018-07-11 | 余琬琴 | 高附著性導電銅膠體及其網版印刷應用方法 |
| KR20180066880A (ko) * | 2016-12-09 | 2018-06-19 | 주식회사 엘지화학 | 밀봉재 조성물 |
| JP6538774B2 (ja) | 2017-07-28 | 2019-07-03 | 株式会社ダイセル | モノマー混合物、及びそれを含む硬化性組成物 |
| JP6665136B2 (ja) | 2017-07-28 | 2020-03-13 | 株式会社ダイセル | モノマー混合物、及びそれを含む硬化性組成物 |
| JP2020062757A (ja) * | 2018-10-15 | 2020-04-23 | 株式会社ミマキエンジニアリング | インクジェット印刷装置、インクジェット印刷方法 |
Family Cites Families (11)
| Publication number | Priority date | Publication date | Assignee | Title |
|---|---|---|---|---|
| EP0018949B1 (de) * | 1979-05-08 | 1984-04-11 | Ciba-Geigy Ag | Härtbare Epoxidharzgemische und Härtungsbeschleuniger dafür |
| US4427496A (en) * | 1980-01-25 | 1984-01-24 | Rca Corporation | Method for improving the inspection of printed circuit boards |
| US4404355A (en) * | 1980-10-08 | 1983-09-13 | Ciba-Geigy Corporation | Heat curable epoxy resin compositions |
| JP2001181385A (ja) * | 1999-12-24 | 2001-07-03 | Kansai Paint Co Ltd | カチオン重合性着色組成物 |
| JP2002040632A (ja) * | 2000-07-21 | 2002-02-06 | Showa Denko Kk | レジストインキ組成物 |
| JP4382364B2 (ja) * | 2002-04-24 | 2009-12-09 | 株式会社東芝 | 液体インク |
| JP3797348B2 (ja) * | 2003-02-24 | 2006-07-19 | コニカミノルタホールディングス株式会社 | 活性エネルギー線硬化組成物 |
| AU2003243976B2 (en) * | 2003-05-02 | 2010-05-13 | Canon Kabushiki Kaisha | Printing ink containing fluorescent colorants and ink-jet recording method |
| JP4037856B2 (ja) * | 2003-10-28 | 2008-01-23 | 東芝テック株式会社 | インクジェットインク |
| GB0414847D0 (en) * | 2004-07-02 | 2004-08-04 | Avecia Ltd | Process |
| US20060189716A1 (en) * | 2005-02-24 | 2006-08-24 | Toru Ushirogouchi | Dispersion, inkjet ink, method of manufacturing dispersion, method of manufacturing inkjet ink, and printed matter |
-
2006
- 2006-02-08 JP JP2006031452A patent/JP4426537B2/ja not_active Expired - Fee Related
-
2007
- 2007-02-08 EP EP20070002732 patent/EP1818376B1/en not_active Not-in-force
- 2007-02-08 EP EP20080006868 patent/EP1944651A3/en not_active Withdrawn
- 2007-02-08 DE DE200760002929 patent/DE602007002929D1/de active Active
- 2007-02-08 US US11/672,801 patent/US20070202437A1/en not_active Abandoned
Also Published As
| Publication number | Publication date |
|---|---|
| EP1818376A1 (en) | 2007-08-15 |
| EP1818376B1 (en) | 2009-10-28 |
| JP2007211098A (ja) | 2007-08-23 |
| DE602007002929D1 (de) | 2009-12-10 |
| US20070202437A1 (en) | 2007-08-30 |
| EP1944651A2 (en) | 2008-07-16 |
| EP1944651A3 (en) | 2008-08-27 |
Similar Documents
| Publication | Publication Date | Title |
|---|---|---|
| JP4426537B2 (ja) | 感光性組成物、それを用いた複合部材および電子部品 | |
| JP4041146B2 (ja) | 感光性インクジェットインク | |
| CN106459295B (zh) | 单体组合物及含有其的固化性组合物 | |
| WO2005019299A1 (ja) | 感光性組成物およびその硬化物 | |
| EP3162835B1 (en) | Monomer composition and curable composition containing same | |
| CN106459382A (zh) | 单体组合物及含有其的固化性组合物 | |
| EP3242897A1 (en) | Ultraviolet curable liquid composition, ultraviolet curing inkjet ink, ultraviolet curing wet electrophotographic liquid developer, ultraviolet curing electrostatic inkjet ink, and image forming method using thereof | |
| JP6810681B2 (ja) | モノマー混合物、及びそれを含む硬化性組成物 | |
| CN106459575A (zh) | 单体组合物及含有其的固化性组合物 | |
| JP7053485B2 (ja) | プリント配線板用の硬化性絶縁性組成物、ドライフィルム、硬化物、プリント配線板およびプリント配線板用の硬化性絶縁性組成物の製造方法 | |
| TWI741201B (zh) | 單體混合物及包含該單體混合物的硬化性組成物 | |
| JP4034588B2 (ja) | 感光性を有する着色性組成物およびその硬化物 | |
| JP4262237B2 (ja) | インクジェットインクおよび印刷物 | |
| JP6665136B2 (ja) | モノマー混合物、及びそれを含む硬化性組成物 | |
| JP6516565B2 (ja) | 硬化型液体現像剤 | |
| JP2008133336A (ja) | インクジェット用インクおよび当該インクにより得られる硬化膜形成方法 | |
| TW201936691A (zh) | 單體混合物及含有該混合物之硬化性組成物 | |
| JP2009007462A (ja) | 感光性インクジェットインク | |
| JP2017115071A (ja) | 立体造形用硬化性組成物 | |
| JP6538448B2 (ja) | モノマー組成物、及びそれを含む硬化性組成物 | |
| JP2005036092A (ja) | 硬化性樹脂組成物及び保護膜 | |
| JP2021123635A (ja) | 組成物、硬化物、硬化物の製造方法 | |
| JP2020050763A (ja) | モノマー混合物、及びそれを含む硬化性組成物 | |
| CN110832002A (zh) | 单体混合物、及含有该单体混合物的固化性组合物 | |
| WO2016111380A1 (en) | Ultraviolet curable liquid composition, ultraviolet curing inkjet ink, ultraviolet curing wet electrophotographic liquid developer, ultraviolet curing electrostatic inkjet ink, and image forming method using thereof |
Legal Events
| Date | Code | Title | Description |
|---|---|---|---|
| A977 | Report on retrieval |
Free format text: JAPANESE INTERMEDIATE CODE: A971007 Effective date: 20090324 |
|
| A131 | Notification of reasons for refusal |
Free format text: JAPANESE INTERMEDIATE CODE: A131 Effective date: 20090407 |
|
| A521 | Request for written amendment filed |
Free format text: JAPANESE INTERMEDIATE CODE: A523 Effective date: 20090513 |
|
| A02 | Decision of refusal |
Free format text: JAPANESE INTERMEDIATE CODE: A02 Effective date: 20090804 |
|
| A521 | Request for written amendment filed |
Free format text: JAPANESE INTERMEDIATE CODE: A523 Effective date: 20091027 |
|
| A911 | Transfer to examiner for re-examination before appeal (zenchi) |
Free format text: JAPANESE INTERMEDIATE CODE: A911 Effective date: 20091111 |
|
| TRDD | Decision of grant or rejection written | ||
| A01 | Written decision to grant a patent or to grant a registration (utility model) |
Free format text: JAPANESE INTERMEDIATE CODE: A01 Effective date: 20091208 |
|
| A01 | Written decision to grant a patent or to grant a registration (utility model) |
Free format text: JAPANESE INTERMEDIATE CODE: A01 |
|
| A61 | First payment of annual fees (during grant procedure) |
Free format text: JAPANESE INTERMEDIATE CODE: A61 Effective date: 20091210 |
|
| R150 | Certificate of patent or registration of utility model |
Ref document number: 4426537 Country of ref document: JP Free format text: JAPANESE INTERMEDIATE CODE: R150 Free format text: JAPANESE INTERMEDIATE CODE: R150 |
|
| FPAY | Renewal fee payment (event date is renewal date of database) |
Free format text: PAYMENT UNTIL: 20121218 Year of fee payment: 3 |
|
| FPAY | Renewal fee payment (event date is renewal date of database) |
Free format text: PAYMENT UNTIL: 20121218 Year of fee payment: 3 |
|
| FPAY | Renewal fee payment (event date is renewal date of database) |
Free format text: PAYMENT UNTIL: 20131218 Year of fee payment: 4 |
|
| FPAY | Renewal fee payment (event date is renewal date of database) |
Free format text: PAYMENT UNTIL: 20131218 Year of fee payment: 4 |
|
| FPAY | Renewal fee payment (event date is renewal date of database) |
Free format text: PAYMENT UNTIL: 20131218 Year of fee payment: 4 |
|
| FPAY | Renewal fee payment (event date is renewal date of database) |
Free format text: PAYMENT UNTIL: 20131218 Year of fee payment: 4 |
|
| R250 | Receipt of annual fees |
Free format text: JAPANESE INTERMEDIATE CODE: R250 |
|
| R250 | Receipt of annual fees |
Free format text: JAPANESE INTERMEDIATE CODE: R250 |
|
| R250 | Receipt of annual fees |
Free format text: JAPANESE INTERMEDIATE CODE: R250 |
|
| LAPS | Cancellation because of no payment of annual fees |
