JP4366997B2 - 自動変速機のオイル吸入装置 - Google Patents
自動変速機のオイル吸入装置 Download PDFInfo
- Publication number
- JP4366997B2 JP4366997B2 JP2003132617A JP2003132617A JP4366997B2 JP 4366997 B2 JP4366997 B2 JP 4366997B2 JP 2003132617 A JP2003132617 A JP 2003132617A JP 2003132617 A JP2003132617 A JP 2003132617A JP 4366997 B2 JP4366997 B2 JP 4366997B2
- Authority
- JP
- Japan
- Prior art keywords
- oil
- automatic transmission
- discharge port
- oil pump
- strainer
- Prior art date
- Legal status (The legal status is an assumption and is not a legal conclusion. Google has not performed a legal analysis and makes no representation as to the accuracy of the status listed.)
- Expired - Fee Related
Links
- 230000005540 biological transmission Effects 0.000 title claims description 60
- 238000007599 discharging Methods 0.000 claims description 6
- 238000001914 filtration Methods 0.000 claims description 5
- 238000012856 packing Methods 0.000 description 4
- 239000004745 nonwoven fabric Substances 0.000 description 3
- 238000010586 diagram Methods 0.000 description 2
- 238000004519 manufacturing process Methods 0.000 description 2
- 238000007789 sealing Methods 0.000 description 2
- 238000003466 welding Methods 0.000 description 2
- 238000010521 absorption reaction Methods 0.000 description 1
- 238000006073 displacement reaction Methods 0.000 description 1
- 230000000694 effects Effects 0.000 description 1
- 230000002452 interceptive effect Effects 0.000 description 1
- 238000005304 joining Methods 0.000 description 1
- 238000005461 lubrication Methods 0.000 description 1
- 239000002184 metal Substances 0.000 description 1
- 238000000034 method Methods 0.000 description 1
- 230000010355 oscillation Effects 0.000 description 1
- 239000011347 resin Substances 0.000 description 1
- 229920005989 resin Polymers 0.000 description 1
Images
Classifications
-
- F—MECHANICAL ENGINEERING; LIGHTING; HEATING; WEAPONS; BLASTING
- F16—ENGINEERING ELEMENTS AND UNITS; GENERAL MEASURES FOR PRODUCING AND MAINTAINING EFFECTIVE FUNCTIONING OF MACHINES OR INSTALLATIONS; THERMAL INSULATION IN GENERAL
- F16H—GEARING
- F16H57/00—General details of gearing
- F16H57/04—Features relating to lubrication or cooling or heating
- F16H57/0434—Features relating to lubrication or cooling or heating relating to lubrication supply, e.g. pumps; Pressure control
-
- F—MECHANICAL ENGINEERING; LIGHTING; HEATING; WEAPONS; BLASTING
- F16—ENGINEERING ELEMENTS AND UNITS; GENERAL MEASURES FOR PRODUCING AND MAINTAINING EFFECTIVE FUNCTIONING OF MACHINES OR INSTALLATIONS; THERMAL INSULATION IN GENERAL
- F16H—GEARING
- F16H57/00—General details of gearing
- F16H57/04—Features relating to lubrication or cooling or heating
- F16H57/0402—Cleaning of lubricants, e.g. filters or magnets
- F16H57/0404—Lubricant filters
Landscapes
- Engineering & Computer Science (AREA)
- General Engineering & Computer Science (AREA)
- Mechanical Engineering (AREA)
- General Details Of Gearings (AREA)
- Control Of Transmission Device (AREA)
Description
【発明の属する技術分野】
本発明は自動変速機のオイル吸入装置、特に、エンジンにより駆動される機械式オイルポンプの他に、電気モータにより駆動される電動式オイルポンプを備える自動変速機のオイル吸入装置の技術分野に属する。
【0002】
【従来の技術】
例えば車両の停車中にエンジンを自動停止するアイドルストップ車両や、車両の低負荷走行中にエンジンを自動停止して電気モータで走行するハイブリッド車両等では、エンジンが停止中の期間でも、自動変速機に対する変速段達成用の油圧や変速制御用の油圧あるいは潤滑用の油圧等が必要なため、エンジンにより駆動される機械式オイルポンプの他に、電気モータにより駆動される電動式オイルポンプが備えられ、エンジンの運転又は停止に応じて、これらの機械式オイルポンプと電動式オイルポンプとが切り替えられて使用される。
【0003】
その場合、自動変速機の下部に組み付けられたオイルパン内のオイルを電動式オイルポンプへ供給する従来構造として特許文献1や特許文献2に開示のものがある。すなわち、特許文献1に開示の構造では、オイルパン内に収容されたオイルストレーナから機械式オイルポンプへ通じるオイル供給通路が途中で分岐し、その分岐通路上に電動式オイルポンプが配置されている。このようにすると、機械式オイルポンプと電動式オイルポンプとでオイルストレーナを共用するから、該オイルストレーナのオイル吸入口が1つで済み、その結果、該オイル吸入口をオイルパン内の最適位置(例えばオイルパン内のオイル面が傾斜してもエアを吸い込むことのない位置)に制約なく位置させることができる。しかし、機械式オイルポンプへ通じるオイル供給通路と電動式オイルポンプへ通じるオイル供給通路との分岐部がオイルパンの外部上方にあるため、電動式オイルポンプへのエアの吸込みが懸念される。
【0004】
また、特許文献2に開示の構造では、オイルパン内に機械式オイルポンプ用のオイルストレーナと電動式オイルポンプ用の吸油管とがそれぞれオイルパンの底面に近接して配置されている。このようにすると、機械式オイルポンプと電動式オイルポンプとでオイルパン内のオイルを別々に吸入するから、両ポンプにおいてエアの吸込みが回避される。しかし、オイルパン内に2つの吸入口を配置しなければならず、少なくともいずれか一方の吸入口は最適位置から外れてしまう。さらに、電動式オイルポンプ用のオイルストレーナをオイルパンの外部で電動式オイルポンプの直前に設ける必要が生じ、そのレイアウトが困難である。もちろん、電動式オイルポンプ用のオイルストレーナを機械式オイルポンプ用のオイルストレーナと共にオイルパン内に配置してもよいが、そうするとオイルパン内のスペースがますます狭くなり、2つの吸入口を最適位置に位置させることがより一層困難となる。
【0005】
【特許文献1】
特開2001−150967号公報(図1参照)
【特許文献2】
特開2002−130450号公報(図6参照)
【0006】
【発明が解決しようとする課題】
本発明は、上記のような現状に鑑み、機械式オイルポンプと電動式オイルポンプとでオイルストレーナを共用しながら、電動式オイルポンプへのエアの吸込みを回避することを主たる課題とする。以下、その他の課題を含め、本発明を詳しく説明する。
【0007】
【課題を解決するための手段】
すなわち、本願の請求項1に記載の発明は、エンジンにより駆動される機械式オイルポンプと、電気モータにより駆動される電動式オイルポンプとを備える自動変速機のオイル吸入装置であって、上記機械式オイルポンプ用のオイルストレーナが自動変速機の下部のオイルパン内に収容され、該オイルストレーナが、オイルパン内のオイルを吸入する単一の吸入口と、該吸入口に固定されて該吸入口から吸入されたオイルを濾過するフィルタと、該フィルタで濾過されたオイルを機械式オイルポンプへ吐出する吐出口とを有すると共に、上記吸入口から吸入されて上記フィルタで濾過されたオイルを電動式オイルポンプへ吐出する第2の吐出口が、上記フィルタより下方の位置で、上記オイルストレーナに設けられていることを特徴とする。
【0008】
この発明によれば、機械式オイルポンプと電動式オイルポンプとでオイルストレーナを共用し、該オイルストレーナのオイル吸入口が1つであるから、該オイル吸入口をオイルパン内の最適位置に制約なく位置させることができる。
【0009】
そのうえで、電動式オイルポンプ用の第2の吐出口がオイルストレーナに設けられ、該吐出口が上記吸入口に固定されたフィルタより下方に位置しているから、該電動式オイルポンプ用の第2の吐出口はオイルパン内のオイル面より確実に下方に没し、電動式オイルポンプへのエアの吸込みが回避される。
【0010】
次に、請求項2に記載の発明は、請求項1に記載の発明において、第2の吐出口から吐出されたオイルを電動式オイルポンプへ供給するオイル供給通路を上記第2の吐出口へ連結するための連結部がオイルパン側に設けられ、該連結部の上記第2吐出口への連結の方向がオイルパンの自動変速機への組付けの方向と同じであることを特徴とする。
【0011】
この発明によれば、オイルパンを自動変速機へ組み付けるときに、同時に、電動式オイルポンプへのオイル供給通路の連結部を第2吐出口へ連結することができるから、上記オイル供給通路の製造行程が単純化し、ひいては当該オイル吸入装置の生産性が向上する。なお、オイルパンは自動変速機の下部に組み付けるが、その組付けの方向は必ずしも下方から上方とは限らず、例えばオイルパンを自動変速機の下部で水平方向にスライドさせて組み付けることもあり得る。
【0012】
次に、請求項3に記載の発明は、請求項1又は2に記載の発明において、第2の吐出口はオイルストレーナの下面に設けられていることを特徴とする。
【0013】
この発明によれば、オイルパンを自動変速機の下部に組み付ける前に、オイルストレーナを自動変速機の下部に組み付けたときには、第2吐出口が下方に露出するから、この第2吐出口に対して電動式オイルポンプへのオイル供給通路の連結部を連結することがより一層容易となる。
【0014】
次に、請求項4に記載の発明は、請求項1から3のいずれかに記載の発明において、電動式オイルポンプは自動変速機の外部に配置され、第2の吐出口から吐出されたオイルを上記電動式オイルポンプへ供給するオイル供給通路がオイルパン内を延びてオイルパン外へ突出していることを特徴とする。
【0015】
この発明によれば、電動式オイルポンプへのオイル供給通路がオイルパンだけを通過し、他の部材、例えば変速機ケースやバルブボディ等を通過しないから、この電動式オイルポンプを備える車両と備えない車両との間でオイルパンとオイルストレーナだけを構造変更すれば済み、他の多くの部材を共通化でき、当該自動変速機のコスト低減に寄与する。
【0016】
次に、請求項5に記載の発明は、請求項1から4のいずれかに記載の発明において、フィルタは、オイルストレーナ内に収容されて開口がオイルストレーナの吸入口に固定されている袋状のフィルタであることを特徴とする。
【0017】
この発明によれば、フィルタが3次元的に膨らむ袋状であるから、濾過面積が大きくなり、開口からいずれの方向に流れるオイルも濾過することができ、その結果、機械式オイルポンプ用の吐出口及び電動式オイルポンプ用の吐出口のいずれにもこのフィルタで確実に濾過された後のオイルが流れ込む。
【0018】
次に、請求項6に記載の発明は、請求項1から5のいずれかに記載の発明において、オイルストレーナを自動変速機の下部に揺動を防止しながら位置決めする位置決め手段が設けられていることを特徴とする。
【0019】
この発明によれば、オイルパンを自動変速機の下部に組み付ける前に、オイルストレーナを自動変速機の下部に組み付けたときに、該オイルストレーナを水平方向に位置ずれを起こすことなく自動変速機に仮止めすることができる。したがって、次にオイルパンを組み付けるときに、該オイルパン側の部材とオイルストレーナとが干渉し合うことがなく、オイルパンの組付作業だけでなく、例えば、電動式オイルポンプへのオイル供給通路の連結部を第2吐出口へ連結する作業等が円滑・良好に進行する。以下、発明の実施の形態を通して、本発明をさらに詳しく説明する。
【0020】
【発明の実施の形態】
図1は、本実施形態に係る自動変速機10の下部を下方から見た底面図であって、オイルパン12の底面を切り欠いたものである。この自動変速機10を搭載した車両は、例えば車両の停車中にエンジンを自動停止するアイドルストップ車両や、車両の低負荷走行中にエンジンを自動停止して電気モータで走行するハイブリッド車両等の、低公害型車両・環境対応型車両である。したがって、エンジンにより駆動される機械式オイルポンプ14(図7参照)の他に、電気モータ16により駆動される電動式オイルポンプ18(図7参照)を備え、エンジンの運転又は停止に応じて、これらの機械式オイルポンプ14と電動式オイルポンプ18とを切り替えて使用する。これにより、エンジンが停止中の期間でも、自動変速機10に対する変速段達成用の油圧や変速制御用の油圧あるいは潤滑用の油圧等が安定して生成される。
【0021】
図2に示すように、自動変速機(より具体的には自動変速機のケース10a)の下部にオイルパン12が組み付けられ、該オイルパン12内にオイルストレーナ20が収容されている。このオイルストレーナ20はもともと機械式オイルポンプ14用であって、それを本実施形態では電動式オイルポンプ18にも共用している。なお、図2に示した中心Oは、例えば遊星歯車機構で構成される変速機構の入力軸心である。
【0022】
図3に詳しく示すように、オイルストレーナ20は、オイルパン12内のオイル(オイル面を図2及び図3に符号Lで示した)を吸入する吸入口22と、該吸入口22から吸入されたオイルを濾過するフィルタ24と、該フィルタ24で濾過されたオイルを機械式オイルポンプ14へ吐出する第1の吐出口26と、同じく上記フィルタ24で濾過されたオイルを電動式オイルポンプ18へ吐出する第2の吐出口28とを有する。図3に示した矢印はオイルのおよその流れを表す。
【0023】
オイルストレーナ20は、アッパケース20Aとロアケース20Bとが全周をかしめ部材20Cでかしめられて一体に結合されることにより、そのボディが形成されている。吸入口22はロアケース20Bの下面の略中央部に設けられ、機械式オイルポンプ14用の第1の吐出口26はアッパケース20Aの上面の端部寄りに設けられ、電動式オイルポンプ18用の第2の吐出口28はロアケース20Bの下面の端部寄りに第1の吐出口26と対向するように設けられている(図1参照)。したがって第2吐出口28は第1吐出口26より下方の位置にある。
【0024】
図3に示すように、第2吐出口28から吐出されたオイルを電動式オイルポンプ18へ供給するオイル供給通路30が上記第2吐出口28へ連結されている。図1に示すように、オイル供給通路30は、第2吐出口28側から順に、ジョイント(連結部)32、オイルホース34及びオイルパイプ36で構成されている。電動式オイルポンプ18が自動変速機10の外部及びオイルパン12の外部に図外の支持部材で備えられ、上記オイル供給通路30がオイルパン12内を延びてオイルパン12外へ突出し、上記電動式オイルポンプ18に至っている。ここで、図2に一部拡大図示したように、オイル供給通路30のオイルパイプ36はオイルパン12の側壁を貫通し、該側壁に溶接で固定されている。
【0025】
図4に拡大図示したように、オイル供給通路30はジョイント32により第2吐出口28へ連結されている。ジョイント32はオイルパン12の底面にスポット溶接したブラケット38によりオイルパン12側に支持されている。よって、オイル供給通路30は、オイルストレーナ20の第2吐出口28へ連結される前は、その全体がオイルパン12側に支持されている。ここで、図4(a)に明らかなように、ジョイント32を第2吐出口28へ連結する方向と、オイルパン12を変速機ケース10aへ組み付ける方向とは、共に同じ上下方向(下方から上方)である。ジョイント32は上方に延びる円柱部32aを有し、該円柱部32aが、第2吐出口28のボス部28aに環状のパッキン40を挟んで嵌合している。ジョイント32は、弾性に富む例えばラバー製の脚部材42により上方に、すなわちオイルストレーナ20方向に押し付けられている。
【0026】
図3に示したように、オイルストレーナ20内に収容されたフィルタ24は袋状であって、その開口24aがオイルストレーナ20の吸入口22に合せて固定されている。本実施形態では、フィルタ24の開口24a及びオイルストレーナ20の吸入口22は矩形状である。また、フィルタ24は不織布製、オイルストレーナ20は樹脂製であって、フィルタ24の開口24aは、例えば熱溶着によりオイルストレーナ20の吸入口22に接合されている(図3の符号A)。
【0027】
袋状フィルタ24はおよそ次のようにして製作することができる。まず、図5(a)に示したように、1枚の矩形状の不織布Fの所定の部位に開口24aを形成する。次に、図5(b)に示したように、上記不織布Fを半分に2つ折りする。次に、図5(c)に示したように、開いている3辺(模様を施した部分)を、オイルストレーナ20のアッパケース20Aとロアケース20Bとをかしめて結合するときに、両ケース20A,20Bの周縁部に挟み込んで閉じる(図3参照)。
【0028】
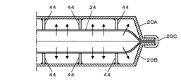
図6に示すように、オイルストレーナ20の内部には複数のフィン44…44が立設している。フィン44…44はアッパケース20Aの上面及びロアケース20Bの下面に設けられている。フィン44…44は吸入口22と2つの吐出口26,28とを結ぶ方向に延びている。フィン44…44は、袋状フィル24が膨らんだときに、該フィルタ24がアッパケース20A及びロアケース20Bに張り付いて密着してしまうのを防止すると共に、フィルタ24で濾過されたオイルの整流機能を果たす。
【0029】
図2に示したように、本実施形態では、オイルストレーナ20は、変速機ケース10aの下部に組み付けられたバルブボディ50に支持されている。バルブボディ50は上下3段構造であり、オイルストレーナ20はその2段目に支持されている。オイルパン12内において、オイルストレーナ20は、ソレノイドバルブ等を含むバルブボディの3段目に隣接している。
【0030】
図3に示したように、機械式オイルポンプ14用の第1吐出口26は上方に延びる円柱部26aを有し、該円柱部26aが、バルブボディ50内部に設けられたオイル供給通路52(第1吐出口26から吐出されたオイルを機械式オイルポンプ14へ供給する通路)にOリング54を介して突入している。一方、オイルストレーナ20のアッパケース20Aの端部から上方に突出する突起56が形成され、該突起56が、バルブボディ50下面に設けられた凹所50aに係止している。これらの円柱部26a及び突起56により、変速機ケース10aの下部にオイルパン12が組み付けられる前に、オイルストレーナ20を、自動変速機10の下部に揺動(本実施形態では円柱部26aを中心とした水平面内での揺動)を防止しながら位置決めする位置決め手段が構成されている。
【0031】
図7は、エンジンの運転又は停止に応じて機械式オイルポンプ14と電動式オイルポンプ18とが切り替え使用される動作図である。図7(a)は機械式オイルポンプ14の使用中の状況を示し、(b)は電動式オイルポンプ18の使用中の状況を示している。機械式オイルポンプ14から吐出されたオイルと、電動式オイルポンプ18から吐出されたオイルとの合流部に、逆止弁60が配設され、該逆止弁60により、機械式オイルポンプ14から吐出されたオイルの電動式オイルポンプ18への逆流が阻止されている。なお、これに代えて、よろけボールを用いることも可能である。
【0032】
次に、本実施形態に係る自動変速機10のオイル吸入装置の作用を説明する。
【0033】
まず、図3に明らかなように、機械式オイルポンプ14と電動式オイルポンプ18とでオイルストレーナ20を共用させ、該オイルストレーナ20のオイル吸入口22を1つとしたから、該オイル吸入口22をオイルパン12内の最適位置に制約なく位置させることが可能となる。
【0034】
また、電動式オイルポンプ18用の第2吐出口28をオイルストレーナ20に設け、該第2吐出口28を機械式オイルポンプ14用の第1吐出口26より下方に位置させたから、該第2吐出口28をオイルパン12内のオイル面Lより下方に埋没させて、電動式オイルポンプ18へのエアの吸込みを確実に回避することが可能となる。
【0035】
また、図4(a)に明らかなように、電動式オイルポンプ18へのオイル供給通路30のジョイント32を第2吐出口28へ連結する方向と、オイルパン20を変速機ケース10aへ組み付ける方向とを、共に同じ上下方向(下方から上方)としたから、オイルパン12を自動変速機10へ組み付けるときに、同時に、上記ジョイント32を第2吐出口28へ連結することが可能となる。その結果、上記オイル供給通路30の製造行程が単純化し、ひいては当該オイル吸入装置の生産性の向上が図れる。
【0036】
また、図3に明らかなように、第2吐出口28をオイルストレーナ20の下面に設けたから、オイルパン12を自動変速機10の下部に組み付ける前に、オイルストレーナ20を自動変速機10の下部に組み付けたときには、上記第2吐出口28が下方に露出することになり、この第2吐出口28に対して電動式オイルポンプ18へのオイル供給通路30のジョイント32を連結することがより一層容易となる。
【0037】
また、図1、図2に明らかなように、電動式オイルポンプ18へのオイル供給通路30がオイルパン12だけを通過し、他の部材、例えば変速機ケース10aやバルブボディ50等を通過しないで自動変速機10の外部及びオイルパン12の外部の電動式オイルポンプ18に至る構成としたから、この電動式オイルポンプ18を備える環境対応型車両と備えない通常車両との間でオイルパン12及びオイルストレーナ20だけを僅かに構造変更すれば済み、他の多くの部材を共通化でき、当該自動変速機10ひいては車両のコスト低減を十分図ることが可能となる。
【0038】
また、図3に明らかなように、3次元的に膨らむ袋状のフィルタ24を採用したから、該フィルタ24の濾過面積が大きくなり、開口24aからいずれの方向に流れるオイルも濾過することが可能となる。その結果、機械式オイルポンプ14用の第1吐出口26及び電動式オイルポンプ18用の第2吐出口28のいずれにもこのフィルタ24で確実に濾過した後のオイルを流れ込ませることが可能となる。
【0039】
また、図1〜図3に明らかなように、第1吐出口26の円柱部26aとアッパケース20Aの突起56とで位置決め手段を構成したから、オイルパン12を自動変速機10の下部に組み付ける前に、オイルストレーナ20を自動変速機10の下部に組み付けたときに、該オイルストレーナ20を水平方向に位置ずれを起こすことなく自動変速機10に仮止めすることが可能となる。したがって、次にオイルパン12を組み付けるときに、該オイルパン12側の部材とオイルストレーナ20とが干渉し合うことが回避でき、オイルパン12の組付作業が円滑・良好に進行する。特に、本実施形態では、オイルパン12を自動変速機10へ組み付けると同時に、電動式オイルポンプ18へのオイル供給通路30のジョイント32を第2吐出口28へ連結するようにしたから、これらのオイルパン12側のジョイント32と変速機10側の第2吐出口28との位置関係がずれることがなく、その連結作業が支障なく進行する。
【0040】
なお、図8は、上記ジョイント32と第2吐出口28との他の連結の態様を示す図4と類似の図である。図4と比較して異なる点は、ジョイント32が上方に延びる円柱部を備えていない点である。第2吐出口28のボス部28aには、芯金を有する環状のパッキン40が内嵌され、該パッキン40の下面にジョイント12の上面が当接し、その状態で脚部材42によりジョイント32が上方に押し上げられている。図4と図8とを比較すると、前者はよりシール性に優れ、後者はより融通性(ジョイント32と第2吐出口28との位置関係が多少ずれても構わない)に優れるといえる。
【0041】
また、図9も、上記ジョイント32と第2吐出口28との他の連結の態様を示す図4と類似の図である。図4と比較して異なる点は、第2吐出口28のボス部28aが、ジョイント32の円柱部32aより径が小さく、該円柱部32a内に突入している点である。ボス部28aと円柱部32aとの間にはOリング70が挟み込まれていてシール性に優れる。したがって、この例では、オイルストレーナ20の第1吐出口26と機械式オイルポンプ14用オイル供給通路52との嵌合関係と、第2吐出口28と電動式オイルポンプ18用オイル供給通路30との嵌合関係とが同様の仕様・構成となる。なお、矢印で例示したようなオイルの通過を妨げないよう、第2吐出口28のボス部28aの下端部に切り欠き28bを形成してオイル通路を確保してある。
【0042】
【発明の効果】
以上のように、本発明によれば、エンジンにより駆動される機械式オイルポンプと、電気モータにより駆動される電動式オイルポンプとを備える自動変速機のオイル吸入装置において、オイルストレーナに設けたオイル吸入口を上記両オイルポンプで共通とし、該オイル吸入口をオイルパン内の最適位置に自由に位置させることを可能とすること、及び電動式オイルポンプへのエアの吸込みを回避することが両立して達成される。本発明は、車両の停車中にエンジンを自動停止するアイドルストップ車両や、車両の低負荷走行中にエンジンを自動停止して電気モータで走行するハイブリッド車両等の、低公害型車両・環境対応型車両の技術分野において幅広い産業上の利用可能性を有する。
【図面の簡単な説明】
【図1】 本発明の実施の形態に係る自動変速機の下部を下方から見た底面図であって、オイルパンの底面を切り欠いたものである。
【図2】 図1のII−II線に沿う上記自動変速機の下部の縦断面図である。
【図3】 図1の矢印III方向から見たオイルストレーナの縦断面図であって、吸入口と2つの吐出口とを全て断面で表したものである(便宜上、第2吐出口に連結したオイル供給通路は図1の矢印II方向から見た姿勢となっている)。
【図4】 上記オイルストレーナの第2吐出口、電動式オイルポンプへのオイル供給通路、及び両者の連結部の周辺を示す拡大図であって、(a)は縦断面図、(b)は矢印ア及び矢印イに沿う合体平断面図である。
【図5】 上記オイルストレーナに採用されている袋状フィルタの製作過程を(a),(b),(c)の順に示す説明図である。
【図6】 図3のVI−VI線に沿う上記オイルストレーナの部分縦断面図である。
【図7】 エンジンの運転又は停止に応じて機械式オイルポンプと電動式オイルポンプとが切り替え使用される動作図であって、(a)は機械式オイルポンプ使用中のもの、(b)は電動式オイルポンプ使用中のものである。
【図8】 上記第2吐出口とオイル供給通路との連結部の第2の実施の形態を示す図4と類似の図である。
【図9】 上記第2吐出口とオイル供給通路との連結部の第3の実施の形態を示す図4と類似の図である。
【符号の説明】
10 自動変速機
10a 変速機ケース
12 オイルパン
14 機械式オイルポンプ
18 電動式オイルポンプ
20 オイルストレーナ
22 吸入口
24 フィルタ
26 第1吐出口
28 第2吐出口
30 電動式オイルポンプへのオイル供給通路
32 ジョイント(連結部)
34 オイルホース
36 オイルパイプ
40 パッキン
42 脚部材
50 バルブボディ
52 機械式オイルポンプへのオイル供給通路
Claims (6)
- エンジンにより駆動される機械式オイルポンプと、電気モータにより駆動される電動式オイルポンプとを備える自動変速機のオイル吸入装置であって、上記機械式オイルポンプ用のオイルストレーナが自動変速機の下部のオイルパン内に収容され、該オイルストレーナが、オイルパン内のオイルを吸入する単一の吸入口と、該吸入口に固定されて該吸入口から吸入されたオイルを濾過するフィルタと、該フィルタで濾過されたオイルを機械式オイルポンプへ吐出する吐出口とを有すると共に、上記吸入口から吸入されて上記フィルタで濾過されたオイルを電動式オイルポンプへ吐出する第2の吐出口が、上記フィルタより下方の位置で、上記オイルストレーナに設けられていることを特徴とする自動変速機のオイル吸入装置。
- 第2の吐出口から吐出されたオイルを電動式オイルポンプへ供給するオイル供給通路を上記第2の吐出口へ連結するための連結部がオイルパン側に設けられ、該連結部の上記第2吐出口への連結の方向がオイルパンの自動変速機への組付けの方向と同じであることを特徴とする請求項1に記載の自動変速機のオイル吸入装置。
- 第2の吐出口はオイルストレーナの下面に設けられていることを特徴とする請求項1又は2に記載の自動変速機のオイル吸入装置。
- 電動式オイルポンプは自動変速機の外部に配置され、第2の吐出口から吐出されたオイルを上記電動式オイルポンプへ供給するオイル供給通路がオイルパン内を延びてオイルパン外へ突出していることを特徴とする請求項1から3のいずれかに記載の自動変速機のオイル吸入装置。
- フィルタは、オイルストレーナ内に収容されて開口がオイルストレーナの吸入口に固定されている袋状のフィルタであることを特徴とする請求項1から4のいずれかに記載の自動変速機のオイル吸入装置。
- オイルストレーナを自動変速機の下部に揺動を防止しながら位置決めする位置決め手段が設けられていることを特徴とする請求項1から5のいずれかに記載の自動変速機のオイル吸入装置。
Priority Applications (1)
| Application Number | Priority Date | Filing Date | Title |
|---|---|---|---|
| JP2003132617A JP4366997B2 (ja) | 2003-05-12 | 2003-05-12 | 自動変速機のオイル吸入装置 |
Applications Claiming Priority (1)
| Application Number | Priority Date | Filing Date | Title |
|---|---|---|---|
| JP2003132617A JP4366997B2 (ja) | 2003-05-12 | 2003-05-12 | 自動変速機のオイル吸入装置 |
Publications (2)
| Publication Number | Publication Date |
|---|---|
| JP2004332886A JP2004332886A (ja) | 2004-11-25 |
| JP4366997B2 true JP4366997B2 (ja) | 2009-11-18 |
Family
ID=33507407
Family Applications (1)
| Application Number | Title | Priority Date | Filing Date |
|---|---|---|---|
| JP2003132617A Expired - Fee Related JP4366997B2 (ja) | 2003-05-12 | 2003-05-12 | 自動変速機のオイル吸入装置 |
Country Status (1)
| Country | Link |
|---|---|
| JP (1) | JP4366997B2 (ja) |
Cited By (2)
| Publication number | Priority date | Publication date | Assignee | Title |
|---|---|---|---|---|
| CN103867878A (zh) * | 2012-12-18 | 2014-06-18 | 本田技研工业株式会社 | 车辆用变速器的滤油器 |
| CN105492802A (zh) * | 2013-09-25 | 2016-04-13 | 爱信艾达株式会社 | 动力传递装置 |
Families Citing this family (13)
| Publication number | Priority date | Publication date | Assignee | Title |
|---|---|---|---|---|
| US7294263B2 (en) * | 2005-02-09 | 2007-11-13 | Gm Global Technology Operations, Inc. | Dual transmission filter design |
| JP4706605B2 (ja) * | 2006-09-19 | 2011-06-22 | トヨタ自動車株式会社 | 自動変速機のリターン油案内装置 |
| US7922005B2 (en) * | 2007-03-29 | 2011-04-12 | Toyota Motor Engineering & Manufacturing North America, Inc. | Removable shield in an engine oil strainer |
| KR100911538B1 (ko) * | 2007-11-30 | 2009-08-10 | 현대자동차주식회사 | 소음발생 방지 구조를 갖는 변속기용 오일 필터 |
| JP5089729B2 (ja) * | 2010-05-31 | 2012-12-05 | ジヤトコ株式会社 | オイルポンプ装置 |
| DE102011076760A1 (de) * | 2011-05-31 | 2012-12-06 | Zf Friedrichshafen Ag | Ölfilter eines Getriebes für Kraftfahrzeuge |
| JP6114240B2 (ja) * | 2014-08-20 | 2017-04-12 | トヨタ自動車株式会社 | 車両用変速機 |
| JP6168021B2 (ja) * | 2014-09-22 | 2017-07-26 | マツダ株式会社 | 自動変速機 |
| CN105370867A (zh) * | 2015-12-10 | 2016-03-02 | 沃德传动(天津)股份有限公司 | 一种润滑油过滤器 |
| DE102015225169A1 (de) * | 2015-12-15 | 2017-06-22 | Zf Friedrichshafen Ag | Ölwanne eines Getriebes eines Kraftfahrzeugs umfassend eine Hauptpumpe und eine Zusatzpumpe |
| JP6994987B2 (ja) * | 2018-03-08 | 2022-01-14 | 本田技研工業株式会社 | トランスミッションのオイル供給構造 |
| JP2021025554A (ja) * | 2019-07-31 | 2021-02-22 | ダイハツ工業株式会社 | ストレーナ |
| WO2022163689A1 (ja) | 2021-01-29 | 2022-08-04 | ジヤトコ株式会社 | ストレーナ |
-
2003
- 2003-05-12 JP JP2003132617A patent/JP4366997B2/ja not_active Expired - Fee Related
Cited By (4)
| Publication number | Priority date | Publication date | Assignee | Title |
|---|---|---|---|---|
| CN103867878A (zh) * | 2012-12-18 | 2014-06-18 | 本田技研工业株式会社 | 车辆用变速器的滤油器 |
| CN103867878B (zh) * | 2012-12-18 | 2016-04-06 | 本田技研工业株式会社 | 车辆用变速器的滤油器 |
| CN105492802A (zh) * | 2013-09-25 | 2016-04-13 | 爱信艾达株式会社 | 动力传递装置 |
| CN105492802B (zh) * | 2013-09-25 | 2017-02-15 | 爱信艾达株式会社 | 动力传递装置 |
Also Published As
| Publication number | Publication date |
|---|---|
| JP2004332886A (ja) | 2004-11-25 |
Similar Documents
| Publication | Publication Date | Title |
|---|---|---|
| JP4366997B2 (ja) | 自動変速機のオイル吸入装置 | |
| EP2134440B1 (en) | Vehicle fuel supply device and fuel filter structure | |
| JP5179871B2 (ja) | 変速機のオイルストレーナ | |
| US20160223070A1 (en) | Vehicle drive device | |
| US8882480B2 (en) | Oil pump with air vent structure | |
| JPH0235904A (ja) | 自動変速機用オイルストレーナ、並びにそれを用いた自動変速機 | |
| KR20030036758A (ko) | 연료 이송 유닛용 필터 모듈 및 자동차용 연료 이송 유닛 | |
| CN108026917A (zh) | 动力传递装置 | |
| JP2009503311A (ja) | 燃料容器から燃料を搬送するための装置 | |
| CN1325787C (zh) | 机动车的燃油泵组件 | |
| JP5139346B2 (ja) | 燃料供給装置 | |
| CN101956588B (zh) | 发动机用机油集滤器 | |
| JP5161029B2 (ja) | 集塵機 | |
| JP2010101306A (ja) | 液供給装置、燃料供給装置 | |
| JP2002180814A (ja) | オイルストレーナ | |
| JP4836356B2 (ja) | オイルポンプのストレーナ及びそれを用いた車輌 | |
| JP2005291408A (ja) | オイルストレーナ | |
| WO2014156862A1 (ja) | 燃料供給装置 | |
| JP4602296B2 (ja) | エンジンのオイルストレーナ構造 | |
| JP4871834B2 (ja) | エンジンのオイルストレーナ構造 | |
| CN116783412A (zh) | 滤清器 | |
| JP2021500514A (ja) | ドレインバック防止弁、それを含む可撓性チューブ組立体、及びそれを含む二出口流体フィルタ | |
| JP2019215030A (ja) | オイルストレーナ | |
| JP4670781B2 (ja) | 燃料ポンプモジュール | |
| JP2002181170A (ja) | オイル吸入装置 |
Legal Events
| Date | Code | Title | Description |
|---|---|---|---|
| A621 | Written request for application examination |
Free format text: JAPANESE INTERMEDIATE CODE: A621 Effective date: 20060105 |
|
| A977 | Report on retrieval |
Free format text: JAPANESE INTERMEDIATE CODE: A971007 Effective date: 20081017 |
|
| A131 | Notification of reasons for refusal |
Free format text: JAPANESE INTERMEDIATE CODE: A131 Effective date: 20081028 |
|
| A521 | Written amendment |
Free format text: JAPANESE INTERMEDIATE CODE: A523 Effective date: 20081217 |
|
| RD03 | Notification of appointment of power of attorney |
Free format text: JAPANESE INTERMEDIATE CODE: A7423 Effective date: 20090618 |
|
| TRDD | Decision of grant or rejection written | ||
| A01 | Written decision to grant a patent or to grant a registration (utility model) |
Free format text: JAPANESE INTERMEDIATE CODE: A01 Effective date: 20090804 |
|
| A01 | Written decision to grant a patent or to grant a registration (utility model) |
Free format text: JAPANESE INTERMEDIATE CODE: A01 |
|
| A61 | First payment of annual fees (during grant procedure) |
Free format text: JAPANESE INTERMEDIATE CODE: A61 Effective date: 20090817 |
|
| R150 | Certificate of patent or registration of utility model |
Ref document number: 4366997 Country of ref document: JP Free format text: JAPANESE INTERMEDIATE CODE: R150 Free format text: JAPANESE INTERMEDIATE CODE: R150 |
|
| FPAY | Renewal fee payment (event date is renewal date of database) |
Free format text: PAYMENT UNTIL: 20120904 Year of fee payment: 3 |
|
| FPAY | Renewal fee payment (event date is renewal date of database) |
Free format text: PAYMENT UNTIL: 20130904 Year of fee payment: 4 |
|
| LAPS | Cancellation because of no payment of annual fees |