JP4359889B2 - 流体封入式防振装置 - Google Patents

流体封入式防振装置 Download PDF

Info

Publication number
JP4359889B2
JP4359889B2 JP2004286205A JP2004286205A JP4359889B2 JP 4359889 B2 JP4359889 B2 JP 4359889B2 JP 2004286205 A JP2004286205 A JP 2004286205A JP 2004286205 A JP2004286205 A JP 2004286205A JP 4359889 B2 JP4359889 B2 JP 4359889B2
Authority
JP
Japan
Prior art keywords
plate
rubber plate
movable rubber
fluid
accommodation space
Prior art date
Legal status (The legal status is an assumption and is not a legal conclusion. Google has not performed a legal analysis and makes no representation as to the accuracy of the status listed.)
Expired - Fee Related
Application number
JP2004286205A
Other languages
English (en)
Other versions
JP2006097824A (ja
Inventor
浩一 長谷川
教明 吉井
Current Assignee (The listed assignees may be inaccurate. Google has not performed a legal analysis and makes no representation or warranty as to the accuracy of the list.)
Sumitomo Riko Co Ltd
Original Assignee
Sumitomo Riko Co Ltd
Priority date (The priority date is an assumption and is not a legal conclusion. Google has not performed a legal analysis and makes no representation as to the accuracy of the date listed.)
Filing date
Publication date
Application filed by Sumitomo Riko Co Ltd filed Critical Sumitomo Riko Co Ltd
Priority to JP2004286205A priority Critical patent/JP4359889B2/ja
Priority to US11/236,762 priority patent/US7419144B2/en
Priority to CN200510023046.6A priority patent/CN1782460A/zh
Priority to GB0519844A priority patent/GB2419173B/en
Publication of JP2006097824A publication Critical patent/JP2006097824A/ja
Application granted granted Critical
Publication of JP4359889B2 publication Critical patent/JP4359889B2/ja
Anticipated expiration legal-status Critical
Expired - Fee Related legal-status Critical Current

Links

Images

Classifications

    • BPERFORMING OPERATIONS; TRANSPORTING
    • B60VEHICLES IN GENERAL
    • B60KARRANGEMENT OR MOUNTING OF PROPULSION UNITS OR OF TRANSMISSIONS IN VEHICLES; ARRANGEMENT OR MOUNTING OF PLURAL DIVERSE PRIME-MOVERS IN VEHICLES; AUXILIARY DRIVES FOR VEHICLES; INSTRUMENTATION OR DASHBOARDS FOR VEHICLES; ARRANGEMENTS IN CONNECTION WITH COOLING, AIR INTAKE, GAS EXHAUST OR FUEL SUPPLY OF PROPULSION UNITS IN VEHICLES
    • B60K5/00Arrangement or mounting of internal-combustion or jet-propulsion units
    • B60K5/12Arrangement of engine supports
    • B60K5/1266Supports comprising friction damping devices
    • FMECHANICAL ENGINEERING; LIGHTING; HEATING; WEAPONS; BLASTING
    • F16ENGINEERING ELEMENTS AND UNITS; GENERAL MEASURES FOR PRODUCING AND MAINTAINING EFFECTIVE FUNCTIONING OF MACHINES OR INSTALLATIONS; THERMAL INSULATION IN GENERAL
    • F16FSPRINGS; SHOCK-ABSORBERS; MEANS FOR DAMPING VIBRATION
    • F16F13/00Units comprising springs of the non-fluid type as well as vibration-dampers, shock-absorbers, or fluid springs
    • F16F13/04Units comprising springs of the non-fluid type as well as vibration-dampers, shock-absorbers, or fluid springs comprising both a plastics spring and a damper, e.g. a friction damper
    • F16F13/06Units comprising springs of the non-fluid type as well as vibration-dampers, shock-absorbers, or fluid springs comprising both a plastics spring and a damper, e.g. a friction damper the damper being a fluid damper, e.g. the plastics spring not forming a part of the wall of the fluid chamber of the damper
    • F16F13/08Units comprising springs of the non-fluid type as well as vibration-dampers, shock-absorbers, or fluid springs comprising both a plastics spring and a damper, e.g. a friction damper the damper being a fluid damper, e.g. the plastics spring not forming a part of the wall of the fluid chamber of the damper the plastics spring forming at least a part of the wall of the fluid chamber of the damper
    • F16F13/10Units comprising springs of the non-fluid type as well as vibration-dampers, shock-absorbers, or fluid springs comprising both a plastics spring and a damper, e.g. a friction damper the damper being a fluid damper, e.g. the plastics spring not forming a part of the wall of the fluid chamber of the damper the plastics spring forming at least a part of the wall of the fluid chamber of the damper the wall being at least in part formed by a flexible membrane or the like
    • F16F13/105Units comprising springs of the non-fluid type as well as vibration-dampers, shock-absorbers, or fluid springs comprising both a plastics spring and a damper, e.g. a friction damper the damper being a fluid damper, e.g. the plastics spring not forming a part of the wall of the fluid chamber of the damper the plastics spring forming at least a part of the wall of the fluid chamber of the damper the wall being at least in part formed by a flexible membrane or the like characterised by features of partitions between two working chambers
    • FMECHANICAL ENGINEERING; LIGHTING; HEATING; WEAPONS; BLASTING
    • F16ENGINEERING ELEMENTS AND UNITS; GENERAL MEASURES FOR PRODUCING AND MAINTAINING EFFECTIVE FUNCTIONING OF MACHINES OR INSTALLATIONS; THERMAL INSULATION IN GENERAL
    • F16FSPRINGS; SHOCK-ABSORBERS; MEANS FOR DAMPING VIBRATION
    • F16F13/00Units comprising springs of the non-fluid type as well as vibration-dampers, shock-absorbers, or fluid springs
    • F16F13/04Units comprising springs of the non-fluid type as well as vibration-dampers, shock-absorbers, or fluid springs comprising both a plastics spring and a damper, e.g. a friction damper
    • F16F13/06Units comprising springs of the non-fluid type as well as vibration-dampers, shock-absorbers, or fluid springs comprising both a plastics spring and a damper, e.g. a friction damper the damper being a fluid damper, e.g. the plastics spring not forming a part of the wall of the fluid chamber of the damper
    • F16F13/08Units comprising springs of the non-fluid type as well as vibration-dampers, shock-absorbers, or fluid springs comprising both a plastics spring and a damper, e.g. a friction damper the damper being a fluid damper, e.g. the plastics spring not forming a part of the wall of the fluid chamber of the damper the plastics spring forming at least a part of the wall of the fluid chamber of the damper
    • F16F13/10Units comprising springs of the non-fluid type as well as vibration-dampers, shock-absorbers, or fluid springs comprising both a plastics spring and a damper, e.g. a friction damper the damper being a fluid damper, e.g. the plastics spring not forming a part of the wall of the fluid chamber of the damper the plastics spring forming at least a part of the wall of the fluid chamber of the damper the wall being at least in part formed by a flexible membrane or the like
    • F16F13/105Units comprising springs of the non-fluid type as well as vibration-dampers, shock-absorbers, or fluid springs comprising both a plastics spring and a damper, e.g. a friction damper the damper being a fluid damper, e.g. the plastics spring not forming a part of the wall of the fluid chamber of the damper the plastics spring forming at least a part of the wall of the fluid chamber of the damper the wall being at least in part formed by a flexible membrane or the like characterised by features of partitions between two working chambers
    • F16F13/106Design of constituent elastomeric parts, e.g. decoupling valve elements, or of immediate abutments therefor, e.g. cages

Landscapes

  • Engineering & Computer Science (AREA)
  • General Engineering & Computer Science (AREA)
  • Mechanical Engineering (AREA)
  • Chemical & Material Sciences (AREA)
  • Combustion & Propulsion (AREA)
  • Transportation (AREA)
  • Combined Devices Of Dampers And Springs (AREA)
  • Arrangement Or Mounting Of Propulsion Units For Vehicles (AREA)

Description

本発明は、例えば自動車用エンジンマウント等として用いられる防振装置に係り、特に内部に封入された非圧縮性流体の流動作用を利用して防振効果を得るようにした流体封入式防振装置に関するものである。
従来から、振動伝達系を構成する部材間に装着される防振連結体や防振支持体の一種として、例えば実公平4−33478号公報(特許文献1)等に記載されているような流体封入式の防振装置が知られている。このような防振装置は、一般に、第一の取付部材と第二の取付部材を本体ゴム弾性体で連結せしめた防振装置において、本体ゴム弾性体で壁部の一部が構成された受圧室と、変形容易な可撓性膜で壁部の一部が構成された平衡室を設けて、それら受圧室と平衡室に非圧縮性流体を封入した構造とされている。そして、第一の取付部材と第二の取付部材の間への振動入力時に受圧室と平衡室の間に惹起される相対的な圧力変動に基づいて、それら受圧室と平衡室を相互に連通するようにして形成されたオリフィス通路を流動せしめられる流体の共振作用に基づいて防振効果を発揮し得るようになっている。
また、オリフィス通路を通じて流動せしめられる非圧縮性流体の共振作用に基づく防振効果は、予めチューニングされた特定の周波数域でしか有効に発揮され難い。そこで、特にオリフィス通路のチューニング周波数域よりも高周波数域の振動入力時における著しい高動ばね化を回避して防振性能を向上するために、可動板による液圧吸収機構が提案されている。この液圧吸収機構は、一般に、受圧室と平衡室を仕切る仕切部材に収容スペースを形成し、この収容スペースに対して微小変位可能に可動板を収容配置せしめた構造となっている。収容スペースは、受圧室と平衡室にそれぞれ通孔を通じて接続されており、それらの通孔を通じて、可動板の一方の面に受圧室の圧力が及ぼされ且つ他方の面に平衡室の圧力が及ぼされるようになっている。
そして、受圧室と平衡室の圧力差に基づく可動板の変位によって、高周波数域の振動入力時における受圧室の微小圧力変動を平衡室に逃がして吸収するようにされている。一方、オリフィス通路がチューニングされた低周波数数域の振動入力時には、かかる振動の振幅が大きいことから、可動板が収容スペースの内面に当接して重ね合わされた状態となって通孔を実質的に閉塞してしまうこととなる。それ故、液圧吸収機構による受圧室の圧力吸収が回避されて、受圧室と平衡室の相対的な圧力変動が有効に生ぜしめられることとなり、それら両室間でのオリフィス通路を通じての流体流動量が十分に確保されて、オリフィス通路による防振効果が発揮されるようにされる。
ところが、このような液圧吸収機構では、大振幅振動が入力されて受圧室に急激な圧力変動が生ぜしめられた際、可動板が収容スペースの内面に勢い良く打ち当たる。そのために、可動板の収容スペース内面への打ち当たりの衝撃が、音や振動となって発生し易いという問題があった。例えば、自動車用のエンジンマウントとして採用する場合には、エンジンのクランキング時や段差乗り越えの際、運転者に聞こえる程の異音等となって、乗車フィーリングを低下させる原因の一つとなるおそれもあったのである。
なお、このような問題に対処するために、例えば実公平4−33478号公報(特許文献1)には、可動板をゴム弾性板で構成すると共に、その表面にリップ状の小突起を一体形成し、この小突起で打ち当たりの際の衝撃を吸収することも提案されている。しかしながら、このような小突起は、小さなエネルギーでの打ち当たりに対して効果が認められるものの、受圧室の圧力変動が急激で大きい場合には、未だ十分な効果が発揮され難く、更なる対策が切望されていたのである。
実公平4−33478号公報
ここにおいて、本発明は上述の如き事情を背景として為されたものであって、その解決課題とするところは、液圧吸収機構を構成する可動板の収容スペース内面への打ち当たりに際しての衝撃が軽減されて、かかる打ち当たりに起因する異音等の発生を高度に低減することの出来る、液圧吸収機構を備えた流体封入式防振装置を提供することにある。
以下、このような課題を解決するために為された本発明の態様を記載する。なお、以下に記載の各態様において採用される構成要素は、可能な限り任意の組み合わせで採用可能である。また、本発明の態様乃至は技術的特徴は、以下に記載のものに限定されることなく、明細書全体および図面に記載されたもの、或いはそれらの記載から当業者が把握することの出来る発明思想に基づいて認識されるものであることが理解されるべきである。
〔本発明の態様1〕
本発明の態様1の特徴とするところは、第一の取付部材と第二の取付部材を本体ゴム弾性体で連結せしめ、該本体ゴム弾性体で壁部の一部が構成されて振動入力時に圧力変動が生ぜしめられる受圧室と、壁部の一部が可撓性膜で構成されて容積変化が許容される平衡室を、該第二の取付部材で支持された仕切部材を挟んだ両側に形成して、それら受圧室と平衡室に非圧縮性流体を封入すると共に、該受圧室と該平衡室を相互に連通するオリフィス通路を設ける一方、該仕切部材に設けられた収容スペースに可動板を収容配置すると共に、該収容スペースを該受圧室と該平衡室にそれぞれ接続する通孔を形成し、該通孔を通じて該可動板の一方の面に該受圧室の圧力が及ぼされ且つ他方の面に該平衡室の圧力が及ぼされるようにして、振動入力時における該受圧室の微小圧力変動を該可動板を介して該平衡室に逃がして吸収するようにした流体封入式防振装置において、ゴム弾性体で形成された可動ゴム板によって前記可動板を構成すると共に、該可動ゴム板の中央部分を円形の平板状部とする一方、該可動ゴム板の外周部分を全周に亘って周方向に波打った円環板形状として、該中央部分の周りを周方向に連続した凹凸をもって略波板形状で広がる波状部を形成した流体封入式防振装置にある。
このような本態様に従う構造とされた流体封入式防振装置では、可動板を構成する可動ゴム板そのものを波板形状とした波状部が設けられており、大振幅の振動入力時には、両側面に作用せしめられる受圧室と平衡室の圧力差に基づいて、この波状部が、収容スペース内面に対して、繰り返し当接し、或いは予め当接せしめられた状態から更に押し付けられるようにして一層広い範囲で当接するようにされる。即ち、可動ゴム板が収容スペース内面に当接する際には、波状部に対して、通孔を通じて表面に作用せしめられて収容スペース内面に向けて可動ゴム板を押し付ける液圧力と、収容スペースの内面から受ける押し付け反力とが、作用することとなる。その結果、波状部が全体として弾性変形せしめられることとなり、この波状部の弾性変形に伴う減衰力や弾性に基づいて、上述の如き当接に際して発生する衝撃エネルギーの吸収作用が有効に発揮され得る。
従って、従来構造の可動板表面に突設されたリップ状の小突起とは比較できない程に有効な衝撃エネルギーの吸収作用が、波状部の弾性変形によって発揮されることとなる。それ故、例えば自動車用エンジンマウントに適用した場合のクランキング時や段差乗り越え時などのように急激な圧力変動が受圧室に惹起された場合でも、可動ゴム板の収容スペース内面への当接に起因する異音等の問題が効果的に低減乃至は回避され得ることとなり、良好な車両乗り心地が実現され得るのである。
なお、本態様において、波状部は、後述する態様2に記載せる如く、その一部(両側面における各凸部)が予め収容スペース内面に当接されていても良いし、後述する態様又はに記載せる如く、その全体が収容スペースの対向内面間で浮いた状態でストローク変位可能とされていても良い。前者の場合の波状部の当接に起因する衝撃は、振動が及ぼされていない初期状態下での当接部位よりも振動が及ぼされることにより広がる当接部位での打ち当たりや、振動入力時の波状部の弾性変形に起因して初期状態下での当接部位が収容スペース内面に対して離隔と当接を繰り返すことによる初期当接部位での打ち当たりなどによって発生する。また、後者の場合の波状部の当接に起因する衝撃は、入力振動の振幅が大きくなった場合に波状部が収容スペース内面に当接して変位量を規制される場合の打ち当たりなどによって発生する。
また、本態様において採用される波状部の大きさや形状は特に限定されるものでなく、例えば後述する幾つかの態様に記載されているように周方向に波状凹凸が連続して形成されるものや、一方向に波状凹凸が連続して形成されるもの、或いは可動ゴム板の複数の領域に分割位置せしめられて波状凹凸が形成されるものなど、各種の態様が採用され得る。また、波状部としては、その形状やピッチ,凹凸の大きさ等は、波状部の肉厚寸法(可動ゴム板の板厚寸法)や材料,及ぼされる液圧の大きさなどに応じて、有効な当接衝撃吸収効果が発揮されるように適宜に設定される。そこにおいて、有効な当接衝撃吸収効果を得るためには、波状凹凸の具体的形状として、例えば鋸歯状の角部を直線で繋いだ形状の凹凸よりも、サイン波状の角部を持たない湾曲形状の凹凸の方が好適に採用される。また、波状部の厚さ寸法:T(波状部が、後述する緩衝リップ突起を有する場合には、かかる緩衝リップ突起を含んだ厚さ寸法)は、2mm〜15mmとすることが望ましい。なお、波状部を含めて可動ゴム板は、その全体が一定の厚さ寸法とされている必要はない。更にまた、波状部の凹凸のピッチ数:Pは、収容スペース内面に対する安定した当接状態と有効な衝撃吸収機能を得るために、凹凸が2周期以上となるようにすることが望ましく、より好適には、隣り合う凸部と凸部又は凹部と凹部の間の距離:PLが10mm≦PL≦50mmとされる。更に、波状部の凹凸の深さ:D(同じ面における凸部の先端部と凹部の底部の厚さ方向の離隔距離)を0.1mm以上とすることが望ましく、より好適には0.2mm≦D≦1mmとされる。
さらに、本態様の流体封入式防振装置においては、平板状部と波状部の両方を併せ備えることにより、波状部による収容スペース内面への当接衝撃の吸収,緩和作用を得ながら、平板状部によって通孔の確実な狭窄乃至は遮断によるオリフィス通路の流体流動量の確保などが図られ得る。また、本態様において、平板状部には、その厚さ方向の両側面に対して、緩衝リップ突起が一体形成されていることが望ましい。これにより、例えば、後述する態様6に記載せる如く、平板状部を、収容スペースにおける一対の対向内面によって、その緩衝リップ突起を所定量だけ弾性変形させた状態で挟み込んで配設し、緩衝リップ突起の弾性変形に基づいて収容スペース内で平板状部が板厚方向で実質的に変位せしめられるようにすることで、平板状部の収容スペース内面への打ち当たりに起因する異音や衝撃を効果的に抑えることが可能となる。或いは、収容スペースにおける一対の対向内面と、可動ゴム板の両側面の緩衝リップ突起との間に隙間が形成されて、収容スペース内で平板状部が所定量だけ板厚方向に自由変位可能とされた構造であっても、緩衝リップ突起の弾性変形に基づいて、平板状部の収容スペース内面に対する当接時の衝撃が効果的に吸収低減され得ることとなる。
しかも、本態様の流体封入式防振装置においては、可動ゴム板の外周部分に波状部を形成したことにより、可動ゴム板の全体の弾性や剛性のバランスを有利に確保することが出来る。また、両面に作用する圧力差に基づいて可動ゴム板が板厚方向に変位せしめられる際、自由端である外周縁部で変位速度が最も大きくなり易く、収容スペース内面への打ち当たりのエネルギーも大きくなり易いことから、この問題となり易い外周縁部の打ち当たりのエネルギーを波状部の弾性変形作用に基づいて効率的に低減することが可能となって、打ち当たりに起因する異音等の波状部による低減効果がより有効に発揮され得ることとなる。
〔本発明の態様2〕
本発明の態様2は、前記態様1に従う構造とされた流体封入式防振装置であって、前記可動ゴム板の前記波状部における一方の面側の凸部と他方の面側の凸部との間の板厚方向でのうねり高さ寸法が前記収容スペースの対向内面間の距離よりも大きく、且つ該波状部の各部位における板厚寸法が該収容スペースの対向内面間の距離よりも小さくされていることにより、該波状部における該一方の面側の凸部と該他方の面側の凸部が何れも該収容スペースの内面に当接せしめられており、且つ該波状部における該一方の面側の凹部と該他方の面側の凹部が何れも該収容スペースの内面から離隔せしめられてそれらの間に隙間が形成されていることを、特徴とする。
本態様の流体封入式防振装置においては、波状部が収容スペース内で板厚方向に弾性的に位置決めされた状態で組み込まれており、振動入力に伴う液圧の作用によって、波状部の全体的な弾性変形により、収容スペースの内面に対する当接部位が周方向に広がるようになる。それに伴い、受圧室の圧力変動が平衡室に逃がされて液圧吸収機能が発揮されるのである。その際、波状部は、予め凸部において収容スペース内面に当接していることから、波状部の変位に伴う当接に際して、当接時の速度ひいては衝撃が抑えられて打音や振動等の発生が一層効果的に低減され得る。
〔本発明の態様3〕
本発明の態様3は、前記態様1又は2に従う構造とされた流体封入式防振装置であって、前記可動ゴム板を前記仕切部材に対して位置決めして、該可動ゴム板を、その厚さ方向に直交する方向において前記収容スペース内の略中央部分に配設位置せしめる位置決め手段を設けたことを、特徴とする。
本態様の流体封入式防振装置においては、収容スペース内で可動ゴム板が偏って位置することを防止できることから、収容スペース内における流体流動状態が安定化して、可動ゴム板の変位(変形に基づく変位を含む)に伴う受圧室の液圧吸収機能を安定して得ることが可能となる。特に、前記態様2に記載の構造を採用するに際しては、可動ゴム板が、収容スペース内で板厚方向に所定量だけ圧縮保持されて位置決めされた状態で組み込まれることから、可動ゴム板が収容スペース内で偏倚してしまうと、その修正が極めて困難となる。そこにおいて、本態様を採用することにより、可動ゴム板の収容スペース内での偏倚の問題を確実に回避することが出来るのである。
〔本発明の態様4〕
本発明の態様4は、前記態様3に従う構造とされた流体封入式防振装置であって、前記可動ゴム板における少なくとも一方の面側の略中央に位置して、該可動ゴム板を前記仕切部材に対して位置決めする凹凸状の係合部を設けて、該係合部によって前記位置決め手段を構成したことを、特徴とする。
本態様の流体封入式防振装置においては、凹凸状の係合部が略中央に形成されることから、可動ゴム板を組み付ける際に仕切部材に対して周方向で位置合わせする必要がなく作業が容易となる。また、凹凸状の係合部を採用したことにより、可動ゴム板を仕切部材に対して重ね合わせるだけで組み付けることが可能となって、可動ゴム板の仕切部材に対する組付作業が一層簡単となる。
〔本発明の態様5〕
本発明の態様5は、前記態様1乃至4の何れかに従う構造とされた流体封入式防振装置であって、前記波状部が、前記収容スペースの内面に当接する面において、一体形成された緩衝リップ突起を有していることを、特徴とする。
本態様の流体封入式防振装置においては、可動ゴム板の仕切部材(収容スペース内面)に対する当接時の衝撃が、波状部の全体としての変形によるだけでなく、緩衝リップ突起の弾性変形によっても吸収,低減され得る。特に緩衝リップ突起は、波状部の全体に対して柔らかいばね特性をもって形成されることから、波状部の全体としての変形と相補的に作用して、当接の初期〜終期まで、更に低周波〜高周波まで、広い範囲の衝撃が一層効果的に吸収,低減可能となるのである。なお、緩衝リップ突起は、例えば線状に延びる他、点状に散在するものであっても良い。また、突出高さの異なる緩衝リップ突起を複数形成したり、一つの線状に延びる緩衝リップ突起の突出高さを部分的に異ならせたりしても良い。
〔本発明の態様
本発明の態様は、前記態様1乃至の何れかに従う構造とされた流体封入式防振装置であって、前記可動ゴム板の中央部分が円形の平板状部とされていると共に、該可動ゴム板の外周部分が全周に亘って周方向に波打った円環板形状とされて前記波状部が構成されており、更に、該平板状部および該波状部が、何れも、板厚方向の両側面において、一体形成された緩衝リップ突起を備えており、それら板厚方向の両側面の緩衝リップ突起が、それぞれ、前記収容スペースの内面に対して予圧縮状態で当接せしめられていることを、特徴とする。
本態様の流体封入式防振装置においては、収容スペース内面に対する平板状部の打ち当たりに際しての衝撃が、前記態様に記載の如く効果的に抑えられると共に、波状部も、収容スペース内面に対する当接時の衝撃が、前記態様2に記載の如く効果的に抑えられる。しかも、波状部が、ゴム弾性板の外周縁部に形成されることから、中央部分に形成された平板状部の全体が実質的に収容スペース内面に重ね合わされて変位制限された状態下でも、波状部が、平板状部に連結された内周縁部だけで弾性支持された、径方向縦断面において片持構造とされて、かかる波状部における首振り状の変位が効率的に許容されるのであり、この波状部の変位によって、更なる大振幅振動の入力時における衝撃吸収などが発揮されることとなる。
〔本発明の態様
本発明の態様は、前記態様1,3,4,5の何れかに従う構造とされた流体封入式防振装置であって、前記可動ゴム板が、その全体に亘って、前記収容スペースに対して板厚方向で所定量の隙間をもって微小変位可能に収容配置されていると共に、該可動ゴム板が変位せしめられて前記仕切部材における前記収容スペースの内面に当接する際、該可動ゴム板の少なくとも一方の面において、前記波状部が該収容スペースの内面に対して最初に当接するようにされていることを、特徴とする。
本態様の流体封入式防振装置においては、ゴム弾性板の全体が、収容スペースで対向位置する内面間で隙間寸法だけ、拘束されない自由状態で板厚方向への変位が許容される。それ故、振動入力時には、ゴム弾性板の全体が収容スペースで浮いた状態で変位許容されることとなり、受圧室の圧力吸収作用がより一層効果的に発揮され得る。
なお、本態様においては、例えば、可動ゴム板が変位せしめられて仕切部材における収容スペースの内面に当接する際、該可動ゴム板の少なくとも一方の面において、波状部が収容スペースの内面に対して最初に当接するように構成することが有効である。これにより、例えば可動ゴム板の一部に波状部が形成されている場合でも、波状部が収容スペース内面に対して最初に当接せしめられることにより、打ち当たりに際しての衝撃が、当接初期の段階から波状部の弾性変形作用によって有効に吸収され得ることとなる。それ故、波状部による異音や振動の発生低減効果が一層効果的に発揮され得るのである。
〔本発明の態様
本発明の態様は、前記態様1,3,4,5,の何れかに従う構造とされた流体封入式防振装置であって、前記可動ゴム板の前記波状部における一方の面側の凸部と他方の面側の凸部との間の板厚方向でのうねり高さ寸法が前記収容スペースの対向内面間の距離よりも小さくされていることにより、該収容スペースの内面に対して該可動ゴム板の該波状部が板厚方向で所定の隙間をもって変位可能に収容配置されており、該波状部が板厚方向への変位によって該スペースの内面に当接するようになっていることを、特徴とする。
本態様の流体封入式防振装置においては、波状部の全体が、収容スペースで対向位置する内面間で隙間寸法だけ、拘束されない自由状態で板厚方向への変位が許容される。それ故、振動入力時には、波状部の全体が収容スペースで浮いた状態で変位許容されることとなり、受圧室の圧力吸収作用が一層有利に発揮され得る。
〔本発明の態様
本発明の態様は、前記態様1乃至の何れかに従う構造とされた流体封入式防振装置であって、前記第二の取付部材を略円筒形状として、該第二の取付部材の一方の開口部側に前記第一の取付部材を離隔配置せしめて、それら第一の取付部材と第二の取付部材を連結する前記本体ゴム弾性体で該第二の取付部材の一方の開口部を流体密に覆蓋すると共に、該第二の取付部材の他方の開口部を前記可撓性膜で流体密に覆蓋せしめる一方、前記仕切部材を該第二の取付部材で固定的に支持せしめて該本体ゴム弾性体と該可撓性膜の対向面間で該第二の取付部材の軸直角方向に広がるように配設することにより、該仕切部材を挟んだ両側に前記受圧室と前記平衡室を形成すると共に、該仕切部材の内部において該第二の取付部材の軸直角方向に広がるように前記収容スペースを形成して、該収容スペースに対して該第二の取付部材の軸直角方向に広がるように前記可動ゴム板を収容配置せしめたことを、特徴とする。
本態様の流体封入式防振装置に従えば、可動ゴム板の収容スペースを形成した仕切部材の両側に受圧室と平衡室を効率的に形成することが出来、全体としてコンパクトな流体封入式防振装置が実現され得る。その結果、例えば自動車用のエンジンマウント等として特に有利に採用可能となる。
上述の説明から明らかなように、本発明に従う構造とされた流体封入式防振装置においては、大振幅の振動入力時における可動板の収容スペース内面への打ち当たり等に起因する衝撃が、可動板としての可動ゴム板に設けられた波状部の弾性変形に基づいて、可動ゴム板自体の弾性変形に伴う衝撃吸収作用によって吸収,低減され得ることとなる。それ故、非常に大きなエネルギーの振動荷重が入力されて、特許文献1に開示されているような従来構造のリップ状の小突起では到底吸収され得ない程に大きな衝撃力が、可動ゴム板の収容スペース内面への打ち当たり等によって発生した場合でも、かかる衝撃力が有効に低減され得て、異音等の問題の発生が効果的に回避され得るのである。
以下、本発明を更に具体的に明らかにするために、本発明の実施形態について説明する。
先ず、図1〜2には、本発明の第一の実施形態としての自動車用エンジンマウント10が示されている。このエンジンマウント10は、第一の取付部材としての第一の取付金具12と第二の取付部材としての第二の取付金具14が本体ゴム弾性体16で連結された構造とされている。また、エンジンマウント10は、第一の取付金具12がパワーユニット側に取り付けられる一方、第二の取付金具14がボデーに取り付けられることにより、パワーユニットをボデーに対して、他の図示しないエンジンマウント等と協働して防振支持せしめるようになっている。更に、そのような装着状態下、当該マウント10には、パワーユニットの分担荷重の入力により本体ゴム弾性体16が弾性変形することに伴って、第一の取付金具12と第二の取付金具14が図1中の上下方向に所定量だけ接近して相対変位せしめられると共に、防振すべき主たる振動が、第一の取付金具12と第二の取付金具14の間に対して、図1中の略上下方向に入力されることとなる。なお、本実施形態のエンジンマウント10は、その装着状態下で、図1に示すように、マウント中心軸(第一及び第二の取付金具12,14の中心軸)が略鉛直方向とされることから、以下の説明中では、かかる図1中の上下方向を、単に上下方向という。
より詳細には、第一の取付金具12は、略円板形状を呈していると共に、その中央部分には上方(図1中、上)に突出する取付ボルト18が固設されている。また、第一の取付金具12の下面には、その中心軸上に保持金具20が固着されている。この保持金具20は、上方開口部に向かって次第に拡開するテーパ状周壁部を備えており、開口周縁部において第一の取付金具12の下面に固着されている。
一方、第二の取付金具14は、大径の略円環形状を有しており、第一の取付金具12と略同一中心軸上で下方(図1中、下)に離隔配置されている。また、第二の取付金具14は、略円環板形状のゴム固着部22に対して、その外周縁部から軸方向下方に向かって突出する嵌着筒部23が一体形成された構造となっている。なお、ゴム固着部22の内周部分は、中央に向かって次第に軸方向下方に傾斜したテーパ状の傾斜形状とされている。
また、第一の取付金具12と第二の取付金具14の対向面間には、本体ゴム弾性体16が配設されている。この本体ゴム弾性体16は、大径の略円錐台形状を有していると共に、その中央には大きな肉抜状の円形凹所26が形成されている。この円形凹所26は、下方に向かって次第に拡径して本体ゴム弾性体16の大径側端面に開口する有底の逆向き円形穴であって、この円形凹所26が形成されることにより、本体ゴム弾性体16が、全体として厚肉の略逆カップ形状とされている。
そして、本体ゴム弾性体16の軸方向上側の小径側端面に第一の取付金具12が重ね合わされて、該第一の取付金具12の下面に溶接固定された保持金具20及び第一の取付金具12に対して本体ゴム弾性体16が加硫接着されている。なお、保持金具20の内部にも、本体ゴム弾性体16が充填されている。また、本体ゴム弾性体16の大径側端部には、第二の取付金具14のゴム固着部22が、外周面から差し入れられたような形態で略埋設状態で加硫接着されている。要するに、本体ゴム弾性体16が、第一の取付金具12と第二の取付金具14を備えた一体加硫成形品として形成されている。
なお、本体ゴム弾性体16の厚肉円筒形状とされた軸方向中間部分には、略円環板形状の補強金具24が固着されて、本体ゴム弾性体16のばね特性が調節されている。また、図1にも示されているように、第二の取付金具14には、ゴム固着部22の下面と嵌着筒部23の内周面の略全体を覆うようにして、シールゴム層28が、本体ゴム弾性体16と一体形成されて被着されている。
さらに、第一及び第二の取付金具12,14を備えた本体ゴム弾性体16の一体加硫成形品には、第二の取付金具14の軸方向下方の開口部側から仕切部材としての仕切金具30と可撓性膜としてのダイヤフラム32が組み付けられている。
仕切金具30は、厚肉の略円板形状を呈している。また、ダイヤフラム32は、変形容易な薄肉のゴム弾性膜によって構成されており、その外周縁部が略円環形状の嵌着金具34に加硫接着されている。そして、仕切金具30とダイヤフラム32が第二の取付金具14に嵌め合わされて固定されている。
具体的には、仕切金具30は、軸直角方向に広がるようにして第二の取付金具14の嵌着筒部23に嵌め入れられている。そして、仕切金具30の外周部分の上面と外周面が、シールゴム層28を介して、第二の取付金具14のゴム固着部22と嵌着筒部23に対して流体密に重ね合わされている。
また、ダイヤフラム32は、中央部分に十分な弛みをもたせて変形容易とした略円板形状とされている。更に、ダイヤフラム32の外周縁部において、ダイヤフラム32が嵌着金具34に加硫接着され、嵌着金具34は、円環板形状の支持部33に対して、その外周縁部から上方に突出する円筒形状の固定筒部35が一体形成された構造を有している。そして、支持部33の内周縁部に対してダイヤフラム32の外周縁部が加硫接着されている。また、固定筒部35が、第二の取付金具14の嵌着筒部23に外挿されて、該固定筒部35に対して八方絞り等の縮径加工されている。これにより、嵌着金具34の支持部33が仕切金具30の外周部分の下面に当接されていると共に、嵌着金具34の固定筒部35が嵌着筒部23に外嵌固定されている。なお、固定筒部35と嵌着筒部23の嵌着面間は、固定筒部35に被着形成されたシールゴム層で流体密に封止されている。
これにより、本体ゴム弾性体16に形成された円形凹所26における、第二の取付金具14の中央孔を通じて下方に開口せしめられた開口部分が、ダイヤフラム32によって流体密に覆蓋されている。そして、この円形凹所26を利用して形成されて、外部空間に対して密閉された、本体ゴム弾性体16とダイヤフラム32の対向面間の領域には、非圧縮性流体が封入されており、流体封入領域が画成されている。かかる封入流体としては、例えば水やアルキレングリコール, ポリアルキレングリコール, シリコーン油等が採用されるが、特に流体の共振作用に基づく防振効果を有効に得るためには、0.1Pa・s以下の低粘性流体を採用することが望ましい。また、非圧縮性流体の封入は、例えば第一及び第二の取付金具12,14を備えた本体ゴム弾性体16の一体加硫成形品に対する仕切金具30とダイヤフラム32の組み付けを非圧縮性流体中で行うこと等によって実現される。
また、かかる流体封入領域は、その内部に仕切金具30が軸直角方向に拡がるようにして配設されていることによって上下に二分されている。これに伴い、仕切金具30を挟んだ軸方向一方(図1中、上)の側には、壁部の一部が本体ゴム弾性体16で構成されて、第一の取付金具12と第二の取付金具14の間への振動入力時に、本体ゴム弾性体16の弾性変形に伴って圧力変動が生ぜしめられる受圧室36が形成されている。一方、仕切金具30を挟んだ軸方向他方の側には、壁部の一部がダイヤフラム32で構成されて、該ダイヤフラム32の弾性変形に基づいて容積変化が容易に許容される平衡室38が形成されている。
さらに、仕切金具30には、図3〜5に示されているように、外周部分において上面に開口して周方向に連続して延びる凹溝40が形成されており、この凹溝40が、第二の取付金具14のゴム固着部22で流体密に覆蓋されることによってトンネル状の通路形態とされている。なお、本実施形態では、凹溝40が、仕切金具30の周上の略3/4周に亘る部分を周方向に往復して形成されていると共に、凹溝40の形成されていない周上の略四半周に亘る部分には肉抜凹所が形成されており、凹溝40と同様にゴム固着部22で流体密に覆蓋されている。
また、凹溝40の一方の端部は、第二の取付金具14のゴム固着部22の内周縁部よりも径方向内方にまで延び出しており、それによって、ゴム固着部22よりも内周側で仕切金具30の上面に凹溝40の端部が開口せしめられて連通孔42が形成されている。そして、この連通孔42を通じて、凹溝40の一方の端部が受圧室36に開口して接続されている。更に、凹溝40の他方の端部は、仕切金具30における凹溝40の底壁部に形成された連通孔44を通じて平衡室38に開口して接続されている。これにより、仕切金具30の凹溝40を利用してオリフィス通路46が形成されており、このオリフィス通路46を通じて受圧室36と平衡室38が相互に連通されている。なお、このオリフィス通路46は、常時、受圧室36と平衡室38を接続する連通状態に維持されている。
従って、振動入力時には、圧力変動が惹起される受圧室36と、ダイヤフラム32の変形に基づいて容積変化が許容される平衡室38の間に、相対的な圧力変動が惹起されることとなり、それら両室36,38間でオリフィス通路46を通じての流体流動が生ぜしめられる。その結果、受圧室36と平衡室38の間でオリフィス通路46を通じて流動せしめられる流体の共振作用に基づく防振効果が、防振すべき軸方向(図1中の上下方向)の振動に対して発揮されるようになっている。
特に本実施形態では、オリフィス通路46を流動せしめられる流体の共振周波数が、該流体の共振作用に基づいてシェイク等の10Hz程度の低周波大振幅振動に対して有効な防振効果が発揮されるようにチューニングされている。かかる共振周波数のチューニングは、受圧室と平衡室の各壁ばね合成等を考慮しつつ、例えばオリフィス通路46の流路断面積や長さ等を設定変更することにより実現される。
さらに、仕切金具30の中央部分には、上方に開口する円形の中央凹部48が形成されており、この中央凹部48内に可動ゴム板50が収容配置されている。なお、本実施形態では、中央凹部48が、全体に亘って略一定の深さ寸法とされている。また、仕切金具30の中央部分には、図6に示されている如き円板形状の蓋板金具52が仕切金具30に設けられた3つの位置決め突起と位置合わせして重ね合わされており、中央凹部48を覆蓋するようにして、位置決め突起をかしめて仕切金具30に固着されている。これにより、仕切金具30の内部には、所定の内径寸法と高さ寸法をもって円板状に広がる中空の収容スペース49が形成されている。即ち、収容スペース49は、何れも軸直角方向に広がる一対の平坦な内面53,55の軸方向対向面間に形成されており、図8に仮想線で示されているように、かかる一対の内面53,55の対向面間距離:Lが、後述する可動コム板50の最大板厚寸法(緩衝リップ突起64,66,68,72,74を含む板厚寸法):Tよりも、所定距離だけ大きく設定されている。
可動ゴム板50は、全体として略円板形状を有しており、ゴム材料によって一体成形されている。上述の如く、この可動ゴム板50は、最大板厚寸法:Tが、収容スペース49の高さ寸法:Lよりも小さくされており、可動ゴム板50を収容スペース49内の中央に位置せしめた状態下で、可動ゴム板50の全周囲には、収容スペース49内面との間に、全体に亘って広がる隙間が形成されるようになっている。そして、この隙間の大きさに対応したストローク分だけ、可動ゴム板50は、収容スペース49内で浮いた状態で自由変位が許容されるようになっている。
また、収容スペース40の上下壁部を構成する仕切金具30の中央凹部48の底壁部と、蓋板金具52には、軸方向(上下方向)に貫通する透孔54,56が形成されている。そして、収容スペース49に収容配置された可動ゴム板50の上面が、蓋板金具52に貫設された透孔56を通じて受圧室36に露呈されている一方、可動ゴム板50の下面が、中央凹部48の底壁に貫設された透孔54を通じて平衡室38に露呈されている。なお、透孔54,56は、収容スペース49の上下内面53,55の略全体に亘って開口位置せしめられており、特に、可動ゴム板50の中央部分に位置する後述の中央平板状部60と外周部分に位置する後述する外周円環状部62との、何れに対向位置する領域にも開口するようにして形成されている。
従って、可動ゴム板50には、受圧室36と平衡室38の内圧が上面と下面に及ぼされるようになっており、振動入力時に受圧室36と平衡室38の圧力差に基づいて可動ゴム板50に対して板厚方向の変位が生ぜしめられることとなる。そして、可動ゴム板50の軸方向の変位に基づいて、蓋板金具52や仕切金具30の透孔56,54を通じての流体流動が生ぜしめられることにより、かかる流体の共振作用乃至は受圧室36の圧力変動を平衡室38に逃がすことに基づく液圧吸収作用が発揮されて、入力振動に対する低動ばね効果が奏されるようになっている。
なお、可動ゴム板50の収容スペース49内での上下方向(板厚方向)での許容ストロークは、防振すべき入力振動の振幅や、エンジンマウント10の受圧室36における有効ピストン径,可動ゴム板50の大きさ等によって適当に調節される。本実施形態では、エンジンシェイクに相当する±0.5〜2.0mmの振幅振動が第一の取付金具12と第二の取付金具14の間に作用せしめられた際には可動ゴム板50が収容スペース49の内面に当接するが、アイドリング振動や走行こもり音に相当する±0.25mm以下の中乃至小振幅振動の入力時には、可動ゴム板50が収容スペース49の内面に当接しない領域で変位許容されるように、可動ゴム板50の上下面と収容スペース49の上下内面53,55との対向面間の隙間の大きさが設定されている。
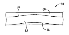
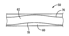
また、本実施形態の可動ゴム板50は、図7〜9に示されているように、平板状部としての円形平板形状の中央平板状部60と、外周縁部において周方向に連続して延びる円環板形状の外周円環状部62を、有している。
中央平板状部60は、中心軸上で略一定の厚さ寸法で円形に広がっており、その上下両面には、それぞれ、複数の緩衝リップ突起が一体的に突出形成されている。かかる緩衝リップ突起は、(a)径方向中間部分を周方向に連続して延びる円環状の第一の緩衝リップ突起64と、(b)中心軸の近くから径方向外方に向かって放射状に延びる八本の独立した第二の緩衝リップ突起66と、(c)外周縁部を周方向に連続して延びる円環状の第三の緩衝リップ突起68によって構成されている。
外周円環状部62は、中央平板状部60の外径寸法よりも大きな内径寸法を有しており、中央平板状部60と同一中心軸上に位置せしめられており、板厚方向の略中央部分において、それら中央平板状部60の外周面と外周円環状部62の内周面が、対向する径方向に延びる薄肉の連結部69によって、相互に一体的に連結されている。換言すれば、本実施形態の可動ゴム板50は、その上下両面において、外周縁部から径方向内方に所定距離だけ離れた部分を周方向に連続して延びる円環凹溝状の一対のえぐれ部70,70を有しており、このえぐれ部70,70によって薄肉化された連結部69を挟んで、内周側が中央平板状部60とされていると共に、外周側が外周円環状部62とされている。
また、外周円環状部62の上下両面には、それぞれ、内周縁部と外周縁部において、周方向に連続して延びる円環状の第四の緩衝リップ突起72と第五の緩衝リップ突起74が一体形成されている。
さらに、外周円環状部62は、その肉厚寸法(上下の緩衝リップ突起を含む)が、中央平板状部60の肉厚寸法(上下の緩衝リップ突起を含む)よりも小さくされている。そして、この外周円環状部62は、周方向において板厚方向(図8,9中の上下方向)で波打ったように全体として湾曲してうねるような形状で形成された波状部とされている。即ち、外周円環状部62は、その径方向断面の形状や大きさは実質的に変化しないで、厚さ方向の中心位置が周方向で上下に振れるように変化せしめられている。特に本実施形態では、図9に示されているように、外周円環状部62の中心線や上下面が略サイン波状に一定周期で周方向に波打った形状とされており、その一周期が周方向で90度とされて、上下面が全体的に滑らかな湾曲面とされている。
また、本実施形態では、外周円環状部62が、外周側に行くに従って次第に薄肉とされており、上下両面76,78が略同じ角度をもった径方向の傾斜面とされている。そして、連結部69が薄肉とされていることで、連結部69を支点とした首振り状に外周円環状部62が変形変位せしめられた際、外周縁部だけが当接することなく、内周縁部から当接して或いは全体が略同時に当接するようになっている。これにより、外周円環状部62が収容スペース49の内面53,55に当接するまでの領域で、出来るだけ大きな揺動角度範囲で変位可能とされるようになっている。
更にまた、本実施形態では、外周円環状部62において最も下端(下死点)となる位置(下方に向かう凸部の周方向中央部分であって、図9中の左右両端位置)で、外周円環状部62の下面の内周縁部が、中央平板状部60の下面と略同じ平面上に位置せしめられるようになっている。また、外周円環状部62において最も上端(上死点)となる位置(上方に向かう凸部の周方向中央部分であって、図9中の中央位置)で、外周円環状部62の上面の内周縁部が、中央平板状部60の上面と略同じ平面上に位置せしめられるようになっている。
また、中央平板状部60に突設された第一〜三の緩衝リップ突起64,66,68と、外周円環状部62に突設された第四〜五の緩衝リップ突起72,74の突出高さが略同一とされている。
それ故、可動ゴム板50において外力による弾性変形が生ぜしめられていない状態を考えると、その下面においては、中央平板状部60の下面に突設された第一〜三の緩衝リップ突起64,66,68の各突出先端部と、外周円環状部62の下面に突設された第四の緩衝リップ突起72における最も下端(下死点)となる位置(図9中の左右両端位置)での突出先端部が、同一の軸直角平面上に位置せしめられる。また、その上面においては、中央平板状部60の上面に突設された第一〜三の緩衝リップ突起64,66,68の各突出先端部と、外周円環状部62の上面に突設された第四の緩衝リップ突起72における最も上端(上死点)となる位置(図9中の中央位置)での突出先端部が、同一の軸直角平面上に位置せしめられる。
従って、可動ゴム板50が収容スペース内で軸方向(上下方向)に大きく変位せしめられると、それら(第一〜三の緩衝リップ突起64,66,68の各突出先端部と、第四の緩衝リップ突起72における周上の特定位置の突出先端部)が、略同時に、収容スペースの下面や上面に対して当接せしめられるようになっている。
なお、本実施形態では、外周円環状部62の肉厚寸法が外周側に行くに従って薄肉とされていることと、外周円環状部62が周方向で波板形状で上下に湾曲形成されていることから、外周円環状部62の外周縁部に突設された第五の緩衝リップ突起74は、外周円環状部62の上死点における下面に位置する部分と下死点における上面に位置する部分(即ち、上面および下面における凹部の各周方向中央部分)において、何れも、収容スペース49の内面に当接することが殆どない。そこで、本実施形態では、第五の緩衝リップ突起74,74は、それら外周円環状部62の上死点における下面に位置する部分と下死点における上面に位置する部分において、何れも、突出高さが小さくされて、軽量化やゴム材料の減少が図られている。
上述の如き構造とされた本実施形態のエンジンマウント10においては、自動車への装着状態下、第一の取付金具12と第二の取付金具14の間に略軸方向の振動が入力されると、それが±0.1〜0.25mm程度のアイドリング振動や±0.01〜0.05mm程度の走行こもり音に相当する中乃至高周波数域の小振幅振動である場合には、可動ゴム板50の変位に基づく液圧吸収作用が発揮される。即ち、そのような中乃至高周波数域の小振幅振動の入力時には、可動ゴム板50が収容スペース49との間に設けられた隙間で許容される可動範囲内において上下に変位せしめられることに基づき、透孔56,54を通じての受圧室36と平衡室38の間での実質的な流体流動が、収容スペース49を介して、許容されることにより、受圧室36の圧力変動が平衡室38に逃がされる。これにより、オリフィス通路46の反共振現象としての目詰まりに起因する著しい高動ばね化が回避されて、良好な防振性能が発揮されることとなる。
一方、第一の取付金具12と第二の取付金具14の間に入力される振動が、低周波数域の比較的に大きな振幅の場合、例えは±0.5〜1.0mmの通常走行時シェイクの場合や、±1.0〜2.0mm程度の段差乗り越え時等のシェイクの場合には、収容スペース49内での可動ゴム板50の許容変位量(可動範囲)内での変位だけでは受圧室36の圧力変動が吸収しきれなくなる。即ち、可動ゴム板50の上下面は、収容スペース49の上下内面に対して当接(打ち当たり)を繰り返すこととなる。そして、可動ゴム板50が収容スペース49の上下内面に打ち当たると、そこに開口形成された透孔56,54が可動ゴム板50で狭窄乃至は実質的に閉塞されることとなる。その結果、受圧室36と平衡室38の間には、相対的な圧力変動が有効に惹起されて、かかる相対的な圧力変動に基づいてオリフィス通路46を通じての流体流動が生ぜしめられることとなる。以て、オリフィス通路46を流動せしめられる流体の共振作用に基づく所期の防振効果が発揮されるのである。
ここにおいて、可動ゴム板50が収容スペース49の下内面に当接する際、外周円環状部62では、波状に上下でうねるように湾曲せしめられた周上の下死点の下面だけが、周上で合計4箇所において、始めに当接する。その後、可動ゴム板50に対して上面から作用する液圧が更に大きくなると、かかる外周円環状部62は、当接時の運動エネルギーに加えて増大する外力(圧力)によって次第に弾性変形せしめられて、周上の下死点の下面の所期当接位置から周方向両側に向かって次第に当接面積が大きくなる。
可動ゴム板50の外周円環状部62が収容スペース49の上内面に当接する際にも、同様に、外周円環状部62の周上の上死点の上面が始めに当接し、その後、外周円環状部62の弾性変形量の増大を伴い、当接面が次第に周方向両側に広がって当接面積が大きくなる。即ち、外周円環状部62が、上下各面における凸部の中央以外の部分においても、収容スペース49の内面53,55に対して打ち当たることとなる。
このような当接状態を生ずることにより、可動ゴム板50の当接時には、外周円環状部62の弾性変形に伴う減衰作用乃至は当接エネルギーの吸収作用に基づいて、可動ゴム板50の当接時の衝撃が効果的に緩和され得るのであり、その結果、可動ゴム板50の収容スペース49内面に対する当接に起因する異音や衝撃の発生が抑えられるのである。
特に本実施形態では、可動ゴム板50の収容スペース49内面に対する当接時の小さな衝撃は、第一〜五の緩衝リップ突起64,66,68,72,74の弾性変形によっても吸収されることから、一層効果的な異音や衝撃の緩和効果が発揮され得る。
ここにおいて、特に本実施形態では、小さな緩衝リップ突起だけでなく、所定厚さの可動ゴム板50本体の弾性変形を利用して、可動ゴム板50の収容スペース49内面に対する当接時のエネルギー吸収が発揮されることから、大きな当接時の衝撃も有効に吸収,低減することが可能となるのである。
しかも、本実施形態では、特に自由変位端となるために打ち当たり時の変位速度が最も大きくなり易い、可動ゴム板50の外周縁部(外周円環状部62)において、当接時の衝撃吸収作用を発揮する波状部が形成されていることから、波状部による当接時の衝撃吸収効果がより一層効果的に発揮され得るのである。
加えて、本実施形態では、可動ゴム板50の外周縁部近くに薄肉の連結部69を形成して、外周円環状部62を中央平板状部60からある程度独立して変形変位可能に構成したことにより、外周円環状部62における変位と弾性変形が、中央平板状部60によって不必要に拘束されてしまうことが回避されて、外周円環状部62の当接時の弾性変形が有利に生ぜしめられるようになっている。それ故、外周円環状部62の弾性変形に伴う上述の如き当接時の衝撃吸収効果が、一層有効に発揮され得るのである。
因みに、上述の実施形態に従う構造とされた自動車用エンジンマウント10について、その防振性能を測定した結果を、図10に示す。なお、かかる測定に際しては、第二の取付金具14を固定的に支持せしめた状態下で第一の取付金具12に軸方向の加振力を及ぼした場合の出力側(第二の取付金具14側)の振動を加速度センサで検出したデータを基本とした。そして、この検出データに対して、100Hzのハイパスフィルタを用いて低周波成分を除去する処理を施した後、得られた処理データをフーリエ変換して周波数分析した結果が、図10に表されている。なお、測定は、周波数:10Hz,加振振幅:4mmの振動入力(加振)に関して実施した。
また、比較例として、本実施形態の可動ゴム板50と同様に、中央円板状部60と外周円環状部62が連結部69で一体的に連結されてなる構造を有するが、外周円環状部62が周方向に波形状とされておらず、外周円環状部62の断面中心を全周に亘って繋いだ線(円形状)が、一つの平面上に位置せしめられている構造の可動ゴム板を採用して、他の部材は上述の実施形態と同じとされたエンジンマウントを準備した。そして、この比較例としてのエンジンマウントについても、上述の本実施形態のエンジンマウント10と同じ試験を実施した。この比較例の試験結果を、図10に併せ示す。
かかる図10から明らかなように、本発明に従う構造とされたエンジンマウント(実施例)では、異音や振動の大きさに対応する動荷重(Nrms)の値が、特に問題となり易い高周波数域(200Hz〜1000Hz)の広い領域で十分に低く抑えられている。これに対して、比較例のエンジンマウントでは、全体に動荷重が大きく、特に300〜700Hzの広い範囲で、実施例のエンジンマウントに比して5倍以上の大きな動荷重の値が認められる。
なお、上述の第一の実施形態においては、中央平板状部60の板厚寸法:Tと、外周円環状部62における上面側の凸部と下面側の凸部との間の板厚方向での離隔寸法(うねり高さ寸法)が、略同じに設定されており、それによって、可動ゴム板50が軸方向に変位せしめられて収容スペース49の内面に当接する際、中央平板状部60と外周円環状部62が略同時に当接するようになっていたが、それら中央平板状部60と外周円環状部62が、何れか一方の側から順番に当接するようになっていても良い。
具体的には、波状部である外周円環状部62は、必ずしも最初に収容スペース49の内面に当接する必要はなく、例えば図11に示されているように、中央平板状部60の上下面よりも板厚方向の内方に上下面76,78の上下死点(各凸部における最も上下に突出した点)が位置せしめられており、中央平板状部60が当接した後で外周円環状部62が当接するようになっていても良い。このような構造であっても、少なくとも、大きな振幅振動が入力されて、外周円環状部62が収容スペース49の内面に対して強く打ち当たる場合には、波形状の外周円環状部62の打ち当たりに伴う弾性変形による衝撃吸収緩和作用が有効に発揮され得る。なお、図11及び以下の図12,13は、可動ゴム板の外周面を軸直角方向外方から見た状態をモデル的に示す側面図である。
或いは、図12に示されているように、可動ゴム板の上下面の一方の面においてだけ、波状部である外周円環状部62が収容スペース49の内面(下面または上面)に対して当接されるようになっていても良い。これにより、少なくとも一方の面の当接に伴う衝撃の吸収効果は有効に発揮され得るのである。
また、図13に示されているように、波状部である外周円環状部62の上下面の上下死点を、中央平板状部60の上下面よりも更に板厚方向外方に突出させても良い。このようにすれば、中央平板状部60よりも先に外周円環状部62が収容スペース49の内面に当接することとなり、外周円環状部62の弾性変形による衝撃の吸収効果が一層効果的に発揮され得る。
さらに、前記第一の実施形態では、収容スペース49内で可動ゴム板50をその変位許容範囲の中央に位置せしめた状態で、可動ゴム板50の全周囲に隙間が形成されるようになっていたが、例えば可動ゴム板50を、その板厚方向において、収容スペース49内で、予め弾性的に当接状態で、更には圧縮状態で、組み付けるようにしても良い。即ち、可動ゴム板50を板厚方向で収容スペース49の内面53,55に対して当接状態で或いは圧縮状態で組み付けたとしても、可動ゴム板50の上下両面に圧力差が及ぼされることにより、可動ゴム板50の弾性変形に基づいて受圧室の圧力吸収作用が発揮され得るのである。しかも、そのような予めの当接状態或いは圧縮状態で可動ゴム板50を収容スペース49に収容して組み付けることにより、可動ゴム板50の収容スペース49内面に対する打ち当たりの衝撃が一層有利に抑えられることとなる。
かくの如く、可動ゴム板50を板厚方向で圧縮状態で収容スペース49に組み込んだエンジンマウントの構造例を、第二の実施形態として、図14に示す。なお、図14に示されたエンジンマウント100は、第一の取付金具102に取り付けられるパワーユニットを、第二の取付金具104に取り付けられる車両ボデーに対して、吊り下げ状態で弾性支持せしめるものであり、図14中の上下方向が略鉛直上下方向となるようにして装着される。
より詳細には、本実施形態のエンジンマウント100は、第一の取付金具102の外周側に離隔して大径円筒形状を有する第二の取付金具104が配設されている。第一の取付金具102は、第二の取付金具104の下側開口部分において、同一中心軸上に配設されており、これら第一の取付金具102と第二の取付金具104が、本体ゴム弾性体106によって弾性的に連結されている。この本体ゴム弾性体106は、軸方向下方に向かって拡開するテーパ付きの略厚肉円筒形状とされており、小径側端部内周面に対して第一の取付金具102の外周面が加硫接着されている一方、大径側端部外周面に対して第二の取付金具104の下側開口部の内周面が加硫接着されている。
すなわち、本実施形態では、第一の取付金具102と第二の取付金具104が、本体ゴム弾性体106に加硫接着された一体加硫成形品として形成されており、第二の取付金具104の軸方向下側開口部が本体ゴム弾性体106によって流体密に覆蓋されている。
一方、第二の取付金具104の上側開口部には、仕切部材108とダイヤフラム110が、組み付けられている。
ダイヤフラム110は、薄肉のゴム弾性膜によって、所定の弛みをもって弾性変形容易に形成されている。また、ダイヤフラム110の外周縁部には円環形状の固定金具112が加硫接着されている。そして、この固定金具112が、第二の取付金具104の上側開口部に対してかしめ固定されることにより、第二の取付金具104の上側開口部がダイヤフラム110で流体密に覆蓋されている。
これにより、第二の取付金具102の内周側には、本体ゴム弾性体106とダイヤフラム110の軸方向対向面間において、外部空間から流体密に遮断されて、非圧縮性流体が封入された流体室が形成されている。この流体室には、第一の実施形態と同様な非圧縮性流体が充填されている。
また一方、仕切部材108は、厚肉の略円板形状を有するオリフィス金具114に対して、薄肉円板形状を有する蓋金具116が下面に重ね合わされることによって構成されている。そして、蓋金具116の外周縁部が固定金具112の外周縁部に重ね合わされて、固定金具112と共に、第二の取付金具104に対してかしめ固定されている。また、オリフィス金具114の外周縁部は、蓋金具116と固定金具112によって流体密に挟まれて、第二の取付金具104に対して固定されている。
これにより、オリフィス金具114と蓋金具116からなる仕切部材108が、本体ゴム弾性体106とダイヤフラム110の軸方向対向面間の中間部分に位置して、軸直角方向に広がる状態で配設されている。その結果、この仕切部材108によって、上述の流体室が上側と下側に二分されており、受圧室120と平衡室122が形成されている。受圧室120は、壁部の一部が本体ゴム弾性体106で構成されており、振動入力時に圧力変動が惹起される。一方、平衡室122は、壁部の一部がダイヤフラム110で構成されており、容積変化が容易に許容されるようになっている。
さらに、これら受圧室120と平衡室122は、仕切部材108に形成されたオリフィス通路124によって、相互に連通されている。即ち、オリフィス金具114の外周面に形成されて周方向に所定長さで延びる周溝118が、蓋金具116と固定金具112で覆蓋されることにより、それらオリフィス金具114と蓋金具116,固定金具112で協働して、仕切部材108の外周部分を周方向に所定長さで延びるオリフィス通路124が形成されている。そして、図示はされていないが、このオリフィス通路120の一方の端部が、蓋金具116に形成された連通孔を通じて受圧室120に接続されていると共に、他方の端部が、オリフィス金具114に形成された連通孔を通じて平衡室122に接続されている。
なお、このオリフィス通路114は、第一の実施形態と同様に、エンジンシェイクなどに相当する低周波数域の振動入力時に高減衰効果を発揮し得るようにチューニングされている。
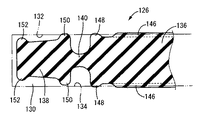
さらに、仕切部材108の中央部分には、可動ゴム板126を含む液圧吸収機構が構成されている。即ち、オリフィス金具114の中央部分には、下方に向かって開口する収容凹所128が形成されており、この収容凹所128の下方への開口が蓋金具116で覆蓋されることによって、収容スペース130が形成されている。即ち、本実施形態の収容スペース130は、第一の実施形態と同様に、それぞれ軸直角方向で円形に広がる互いに平行な一対の対向内面132,134の対向面間において、略一定の軸方向内法寸法で形成されている。
そして、この収容スペース130に対して、可動ゴム板126が収容状態で組み込まれている。本実施形態の可動ゴム板126は、図15〜17にも示されているように、第一の実施形態と同様に、円板形状の中央平板状部136と、円環板形状の外周円環状部138が、薄肉の連結部140によって連結された構造をもって、ゴム弾性体によって一体成形されている。なお、本実施形態の可動ゴム板126も、第一の実施形態と同様に、中央平板状部136が平坦な板形状とされている一方、外周円環状部138が、周方向の全体に亘って連続して上下(軸方向)にうねった波形状とされている。また、これら中央平板状部136と外周円環状部138の上下両面には、それぞれ、第一の実施形態と同様な周方向乃至は径方向に延びる複数条の緩衝リップ突起144,146,148,150,152を一体的に備えている。
本実施形態の可動ゴム板126が、第一の実施形態のものと相違する点が二つある。その一つが、厚さ寸法である。本実施形態の可動ゴム板126では、収容スペース130の対向内面132,134間の距離:L(図16,17参照)に比して、その厚さ寸法:Tが大きく(L<T)されている。
これにより、中央平板状部136は、その上下両面に形成された緩衝リップ突起144,146,148の突出先端部分が、略全長に亘って、収容スペース130の対向内面132,134に当接状態とされており、所定量だけ軸方向に圧縮されて組み付けられている。
一方、外周円環状部138は、その一方の面側の凸部と他方の面側の凸部との間の板厚方向でのうねり高さ寸法が、収容スペース130の対向内面132,134間の距離よりも大きくされている。しかし、外周円環状部138の各部位における板厚寸法が収容スペース130の対向面132,134間の距離よりも小さくされている。
これにより、外周円環状部138は、その上面においては、上方に向かう凸部の最頂部(最も上方に位置する部分であって、図16に示された部分)が収容スペース130の内面132に対して当接状態とされていると共に、その下面においては、下方に向かう凸部の最頂部(最も下方に位置する部分であって、図17に示された部分)が収容スペース130の内面134に対して当接状態とされている。しかし、外周円環状部138の上面では、上方に向かう凹部の少なくとも中央部分(図17に示された部分)において、収容スペース130の内面132から離隔しており、両者138,132の間には、隙間が存在している。また、外周円環状部138の下面では、下方に向かう凹部の少なくとも中央部分(図16に示された部分)において、収容スペース130の内面134から離隔しており、両者138,134の間には、隙間が存在している。
さらに、可動ゴム板126には、中央円板状部136の中心軸上において、板厚方向で上下にそれぞれ突出する一対の位置決め突起154,154が一体形成されている。また一方、収容スペース130の上下両壁を構成するオリフィス金具114および蓋金具116の各中心軸上には、それぞれ、板厚方向に貫通する位置決め孔156,156が形成されている。これらの位置決め孔156,156の内径寸法は、可動ゴム板126の位置決め突起154,154の外径寸法と略同じとされている。
そして、可動ゴム板126の位置決め突起154,154が、上下の位置決め孔156,156に対して嵌め込まれることにより、可動ゴム板126が、収容スペース130内で、軸直角方向の略中央部分に位置決め保持されている。なお、位置決め突起154,154は、位置決め孔156,156に対して、多少の隙間をもって遊挿状態で嵌め入れられていても良いし、隙間なく嵌着状態で嵌め入れられていても良い。後者の嵌着状態では、可動ゴム板126の変位が拘束されるが、中央部分以外での弾性変形によって可動ゴム板126の変位が許容され得る。また、本実施形態では、位置決め突起154,154の位置決め孔156,156への嵌め入れ構造によって可動ゴム板126の位置決め手段が構成されている。
上述の如き構造とされた本実施形態のエンジンマウント100においては、振動入力によって受圧室120と平衡室122の圧力差が可動ゴム板126に作用すると、中央円板状部136では、上下の緩衝リップ突起144,146,148や本体部分の弾性変形に基づく収容スペース130内での軸方向の実質的な変位が許容されて、受圧室120に対する圧力吸収作用が発揮される。
さらに、外周円環状部138は、その上下面に対して受圧室120と平衡室122の圧力が作用すると、緩衝リップ突起150,152の弾性変形だけでなく、その全体も、上述の如く、周上の各部位において上下の一方の面が収容スペース130の内面132,134の一方に当接し、上下の他方の面が収容スペース130の内面132,134の他方から離隔位置せしめられていることで、収容スペース130内での弾性変形に基づく板厚方向の変位が許容されている。特に、この外周円環状部138の変位は、連結部140を支点とする如き首振り状に揺動変位せしめられることで、比較的に容易に生ぜしめられるようになっている。
このように、本実施形態では、中央円板状部136と外周円環状部138の何れも、収容スペース130において上下両面132,134に対して、当初から当接状態とされていることから、振動入力時における可動ゴム板126の弾性変形により、その当接領域が増減したり当接/離隔を繰り返したりすることで発生する可動ゴム板126の収容スペース130内面132,134への打ち当たりの衝撃が、第一の実施形態よりも一層有利に低減され得ることとなる。
以上、本発明の第一の実施形態について詳述してきたが、かかる第一の実施形態における具体的な記載によって、本発明は、何等限定されるものでなく、当業者の知識に基づいて種々なる変更、修正、改良等を加えた態様で実施可能であり、また、そのような実施態様が、本発明の趣旨を逸脱しない限り、何れも、本発明の範囲内に含まれるものであることは、言うまでもない。
例えば、前記実施形態では、可動ゴム板50,126の両面に緩衝リップ突起64,66,68,72,74,144,146,148,150,152が一体形成されていたが、これらの緩衝リップ突起は必ずしも必要なものでないし、例示の如く周方向又は軸直角方向に連続して延びる突条形態の緩衝リップ突起の他、シボ状の独立した多数の緩衝リップ突起等も採用可能である。
さらに、外周円環状部62は、周方向の全周に亘って連続的にうねった波形状とされている必要はなく、例えば、その周上の一部又は複数箇所に分断された状態で、波状部を形成しても良い。
また、可動ゴム板50の外周縁部に波状部を形成する場合でも、両者の間に薄肉の連結部69は、必ずしも必要でない。
また、本体ゴム弾性体の具体的形状や、オリフィス通路の具体的構造および形状等は、マウントに要求される防振特性や配設予定スペース等を考慮して適宜に変更されるものであり、前記実施形態のものに限定されないことは勿論である。
加えて、前記実施形態では、本発明を自動車用エンジンマウント10,100に適用したものの具体例について説明したが、本発明は、自動車用ボデーマウントやデフマウント等の他、自動車以外の各種振動体の防振マウントに対して、何れも、適用可能であることは言うまでもない。
本発明の第一の実施形態としての自動車用エンジンマウントを示す縦断面図である。 図1に示されたエンジンマウントの平面図である。 図1に示されたエンジンマウントを構成する仕切部材を示す平面図である。 図3におけるIV−IV断面図である。 図3に示された仕切部材の底面図である。 図1に示されたエンジンマウントを構成する蓋板金具を示す平面図である。 図1に示されたエンジンマウントを構成する可動ゴム板を示す平面図である。 図7におけるVIII−VIII断面図である。 図7に示された可動ゴム板の外周面の四半周に亘る展開図である。 本発明の実施例としてのエンジンマウントについて振動入力時の動荷重検出データを周波数分析した結果データを、比較例と併せて示すグラフである。 図1に示された第一の実施形態としてのエンジンマウントに採用される得る可動ゴム板の別の構造例を説明するための、図9に対応する外周面の展開図である。 図1に示された第一の実施形態としてのエンジンマウントに採用される得る可動ゴム板の更に別の構造例を説明するための、図11と同様な外周面の展開図である。 図1に示された第一の実施形態としてのエンジンマウントに採用される得る可動ゴム板の更に別の構造例を説明するための、図11と同様な外周面の展開図である。 本発明の第二の実施形態としての自動車用エンジンマウントを示す縦断面図である。 図14に示されたエンジンマウントを構成する可動ゴム板の縦断形状を示す端面図である。 図15における要部の拡大図である。 図15における別の要部の拡大図である。
符号の説明
10,100 自動車用エンジンマウント
12,102 第一の取付金具
14,104 第二の取付金具
16,106 本体ゴム弾性体
30,108 仕切金具
32,110 ダイヤフラム
36,120 受圧室
38,122 平衡室
46,124 オリフィス通路
49,130 収容スペース
50,126 可動ゴム板
60,136 中央平板状部
62,138 外周円環状部
69,140 連結部
154 位置決め突起
156 位置決め孔

Claims (9)

  1. 第一の取付部材と第二の取付部材を本体ゴム弾性体で連結せしめ、該本体ゴム弾性体で壁部の一部が構成されて振動入力時に圧力変動が生ぜしめられる受圧室と、壁部の一部が可撓性膜で構成されて容積変化が許容される平衡室を、該第二の取付部材で支持された仕切部材を挟んだ両側に形成して、それら受圧室と平衡室に非圧縮性流体を封入すると共に、該受圧室と該平衡室を相互に連通するオリフィス通路を設ける一方、該仕切部材に設けられた収容スペースに可動板を収容配置すると共に、該収容スペースを該受圧室と該平衡室にそれぞれ接続する通孔を形成し、該通孔を通じて該可動板の一方の面に該受圧室の圧力が及ぼされ且つ他方の面に該平衡室の圧力が及ぼされるようにして、振動入力時における該受圧室の微小圧力変動を該可動板を介して該平衡室に逃がして吸収するようにした流体封入式防振装置において、
    ゴム弾性体で形成された可動ゴム板によって前記可動板を構成すると共に、該可動ゴム板の中央部分を円形の平板状部とする一方、該可動ゴム板の外周部分を全周に亘って周方向に波打った円環板形状として、該中央部分の周りを周方向に連続した凹凸をもって略波板形状で広がる波状部を形成したことを特徴とする流体封入式防振装置。
  2. 前記可動ゴム板の前記波状部における一方の面側の凸部と他方の面側の凸部との間の板厚方向でのうねり高さ寸法が前記収容スペースの対向内面間の距離よりも大きく、且つ該波状部の各部位における板厚寸法が該収容スペースの対向内面間の距離よりも小さくされていることにより、該波状部における該一方の面側の凸部と該他方の面側の凸部が何れも該収容スペースの内面に当接せしめられており、且つ該波状部における該一方の面側の凹部と該他方の面側の凹部が何れも該収容スペースの内面から離隔せしめられてそれらの間に隙間が形成されている請求項1に記載の流体封入式防振装置。
  3. 前記可動ゴム板を前記仕切部材に対して位置決めして、該可動ゴム板を、その厚さ方向に直交する方向において前記収容スペース内の略中央部分に配設位置せしめる位置決め手段を設けた請求項1又は2に記載の流体封入式防振装置。
  4. 前記可動ゴム板における少なくとも一方の面側の略中央に位置して、該可動ゴム板を前記仕切部材に対して位置決めする凹凸状の係合部を設けて、該係合部によって前記位置決め手段を構成した請求項3に記載の流体封入式防振装置。
  5. 前記波状部が、前記収容スペースの内面に当接する面において、一体形成された緩衝リップ突起を有している請求項1乃至4の何れかに記載の流体封入式防振装置。
  6. 前記可動ゴム板の中央部分が円形の平板状部とされていると共に、該可動ゴム板の外周部分が全周に亘って周方向に波打った円環板形状とされて前記波状部が構成されており、更に、該平板状部および該波状部が、何れも、板厚方向の両側面において、一体形成された緩衝リップ突起を備えており、それら板厚方向の両側面の緩衝リップ突起が、それぞれ、前記収容スペースの内面に対して予圧縮状態で当接せしめられている請求項1乃至の何れかに記載の流体封入式防振装置。
  7. 前記可動ゴム板が、その全体に亘って、前記収容スペースに対して板厚方向で所定量の隙間をもって微小変位可能に収容配置されていると共に、該可動ゴム板が変位せしめられて前記仕切部材における前記収容スペースの内面に当接する際、該可動ゴム板の少なくとも一方の面において、前記波状部が該収容スペースの内面に対して最初に当接するようにされている請求項1,3,4,5の何れかに記載の流体封入式防振装置。
  8. 前記可動ゴム板の前記波状部における一方の面側の凸部と他方の面側の凸部との間の板厚方向でのうねり高さ寸法が前記収容スペースの対向内面間の距離よりも小さくされていることにより、該収容スペースの内面に対して該可動ゴム板の該波状部が板厚方向で所定の隙間をもって変位可能に収容配置されており、該波状部が板厚方向への変位によって該スペースの内面に当接するようになっている請求項1,3,4,5,の何れかに記載の流体封入式防振装置。
  9. 前記第二の取付部材を略円筒形状として、該第二の取付部材の一方の開口部側に前記第一の取付部材を離隔配置せしめて、それら第一の取付部材と第二の取付部材を連結する前記本体ゴム弾性体で該第二の取付部材の一方の開口部を流体密に覆蓋すると共に、該第二の取付部材の他方の開口部を前記可撓性膜で流体密に覆蓋せしめる一方、前記仕切部材を該第二の取付部材で固定的に支持せしめて該本体ゴム弾性体と該可撓性膜の対向面間で該第二の取付部材の軸直角方向に広がるように配設することにより、該仕切部材を挟んだ両側に前記受圧室と前記平衡室を形成すると共に、該仕切部材の内部において該第二の取付部材の軸直角方向に広がるように前記収容スペースを形成して、該収容スペースに対して該第二の取付部材の軸直角方向に広がるように前記可動ゴム板を収容配置せしめた請求項1乃至の何れかに記載の流体封入式防振装置。
JP2004286205A 2004-09-30 2004-09-30 流体封入式防振装置 Expired - Fee Related JP4359889B2 (ja)

Priority Applications (4)

Application Number Priority Date Filing Date Title
JP2004286205A JP4359889B2 (ja) 2004-09-30 2004-09-30 流体封入式防振装置
US11/236,762 US7419144B2 (en) 2004-09-30 2005-09-28 Fluid filled vibration damping device
CN200510023046.6A CN1782460A (zh) 2004-09-30 2005-09-29 流体填充式减振装置
GB0519844A GB2419173B (en) 2004-09-30 2005-09-29 Fluid filled vibration damping device

Applications Claiming Priority (1)

Application Number Priority Date Filing Date Title
JP2004286205A JP4359889B2 (ja) 2004-09-30 2004-09-30 流体封入式防振装置

Publications (2)

Publication Number Publication Date
JP2006097824A JP2006097824A (ja) 2006-04-13
JP4359889B2 true JP4359889B2 (ja) 2009-11-11

Family

ID=35394976

Family Applications (1)

Application Number Title Priority Date Filing Date
JP2004286205A Expired - Fee Related JP4359889B2 (ja) 2004-09-30 2004-09-30 流体封入式防振装置

Country Status (4)

Country Link
US (1) US7419144B2 (ja)
JP (1) JP4359889B2 (ja)
CN (1) CN1782460A (ja)
GB (1) GB2419173B (ja)

Families Citing this family (34)

* Cited by examiner, † Cited by third party
Publication number Priority date Publication date Assignee Title
CN100404908C (zh) * 2006-09-30 2008-07-23 宁海建新橡塑有限公司 车辆减震器
EP1995491A3 (en) * 2007-05-22 2014-02-19 Kurashiki Kako Co., Ltd. Liquid-filled anti-vibration mounting device
JP5172243B2 (ja) * 2007-08-13 2013-03-27 株式会社ブリヂストン 防振装置
RU2457550C1 (ru) * 2008-06-03 2012-07-27 Шарп Кабусики Кайся Дисплейное устройство
JP5325602B2 (ja) * 2009-02-23 2013-10-23 東海ゴム工業株式会社 流体封入式防振装置
JP5421039B2 (ja) * 2009-09-25 2014-02-19 東海ゴム工業株式会社 流体封入式防振装置
US9046147B2 (en) * 2009-12-10 2015-06-02 Bridgestone Corporation Liquid-filled vibration isolating device
JP5377272B2 (ja) * 2009-12-24 2013-12-25 東海ゴム工業株式会社 流体封入式防振装置
JP5095763B2 (ja) * 2010-01-21 2012-12-12 東洋ゴム工業株式会社 液封入式防振装置
JP5448928B2 (ja) * 2010-02-26 2014-03-19 東海ゴム工業株式会社 流体封入式防振装置
US9347515B2 (en) 2010-10-22 2016-05-24 Cooper-Standard Automotive Inc. Reduced noise decoupler
DE102011102076B3 (de) * 2011-05-19 2012-09-20 Carl Freudenberg Kg Hydrolager
CN102588502B (zh) * 2011-12-30 2013-12-04 宁波泛亚汽车部件有限公司 一种发动机液压悬置
JP5879211B2 (ja) 2012-06-25 2016-03-08 株式会社ブリヂストン 防振装置
JP6157000B2 (ja) * 2013-11-15 2017-07-05 住友理工株式会社 防振装置
CN103758917B (zh) * 2013-12-30 2016-02-03 长城汽车股份有限公司 发动机液压悬置及具有该发动机液压悬置的车辆
JP6483482B2 (ja) * 2015-03-11 2019-03-13 株式会社ブリヂストン 防振装置
CN104806688A (zh) * 2015-04-29 2015-07-29 安徽江淮汽车股份有限公司 一种液压悬置
CN106090113A (zh) * 2016-08-11 2016-11-09 安徽中鼎减震橡胶技术有限公司 一种发动机液压悬置的新型惯性通道系统及其调试方法
DE102016116079A1 (de) * 2016-08-29 2018-03-01 Vibracoustic Gmbh Hydrolager
JP6807723B2 (ja) * 2016-12-07 2021-01-06 株式会社ブリヂストン 防振装置
JP6995113B2 (ja) * 2017-04-27 2022-01-14 株式会社ブリヂストン 防振装置
US10266137B2 (en) * 2017-07-12 2019-04-23 Ford Global Technologies, Llc Dual chamber crush can with nano-porous material
CN107509331B (zh) * 2017-08-11 2023-07-04 中国电子科技集团公司第三十八研究所 一种低相噪弹载抗振频率源以及减振垫
KR102484894B1 (ko) * 2017-10-30 2023-01-04 현대자동차주식회사 자동차용 유체 봉입형 마운트
DE102017126396B4 (de) 2017-11-10 2020-02-06 Otto Bock Healthcare Products Gmbh Federeinrichtung und Hydraulikaktuator
JP6983060B2 (ja) 2017-12-26 2021-12-17 株式会社ブリヂストン 防振装置
JP6956658B2 (ja) * 2018-03-14 2021-11-02 住友理工株式会社 流体封入式防振装置
CN112105837B (zh) * 2018-08-24 2022-04-26 住友理工株式会社 流体封入式防振装置
FR3088976B1 (fr) * 2018-11-27 2021-04-09 Vibracoustic Nantes Sas Module hydraulique antivibratoire commutable et element de separation
KR102750657B1 (ko) * 2019-06-12 2025-01-06 현대자동차주식회사 유체 봉입형 엔진 마운트
CN110303737B (zh) * 2019-06-28 2021-05-11 艾华(浙江)新材料有限公司 一种液体阻尼降噪材料及其制备方法
JP7438000B2 (ja) * 2020-04-08 2024-02-26 Toyo Tire株式会社 液封入式防振装置
CN112747069A (zh) * 2020-12-31 2021-05-04 镇江仕德汽车零部件有限公司 一种汽车减震系统用液压悬置流道板

Family Cites Families (17)

* Cited by examiner, † Cited by third party
Publication number Priority date Publication date Assignee Title
DE3225700C1 (de) 1982-07-09 1983-11-17 Fa. Carl Freudenberg, 6940 Weinheim Elastisches Gummilager
FR2560326B1 (fr) * 1984-02-27 1988-07-29 Hutchinson Perfectionnements aux supports antivibratoires hydrauliques
US4738435A (en) * 1985-05-16 1988-04-19 Flower Wallace C Fluid filled vibration isolator which operates quietly over broad frequency and amplitude ranges
JPS62147139A (ja) 1985-12-20 1987-07-01 Kinugawa Rubber Ind Co Ltd 液体封入型インシユレ−タのパルブ装置
US4742999A (en) * 1986-05-16 1988-05-10 Flower Wallace C Quiet acting fluid filled vibration isolator having predictable low level high frequency minimum dynamic stiffness
JPH0433478Y2 (ja) 1986-07-08 1992-08-11
IT1197531B (it) 1986-10-31 1988-11-30 Pirelli Accessori Ind Dispositivo smorzatore
JPS6449731A (en) 1987-08-20 1989-02-27 Tokai Rubber Ind Ltd Fluid-sealed type mount device
JPH0271140U (ja) * 1988-11-21 1990-05-30
DE3937232A1 (de) * 1989-11-09 1991-05-16 Freudenberg Carl Fa Gummilager mit hydraulischer daempfung
FR2674590A1 (fr) 1991-03-25 1992-10-02 Hutchinson Perfectionnements aux dispositifs antivibratoires hydrauliques.
FR2697604B1 (fr) 1992-11-02 1995-01-27 Hutchinson Perfectionnements aux supports antivibratoires hydrauliques.
JP2569561Y2 (ja) 1993-11-09 1998-04-28 東海ゴム工業株式会社 流体封入式マウント用仕切部材
DE19843558B4 (de) 1998-09-23 2004-07-22 Zf Boge Elastmetall Gmbh Hydraulisch dämpfendes Gummilager
US6485005B1 (en) * 2000-11-03 2002-11-26 Delphi Technologies, Inc. Hydraulic mount with gas spring supported decoupler
FR2828540B1 (fr) * 2001-08-07 2003-10-31 Hutchinson Support antivibratoire hydraulique
US7475872B2 (en) * 2002-03-06 2009-01-13 Delphi Technologies, Inc. Hydraulic engine mount with center-clamped decoupler

Also Published As

Publication number Publication date
US7419144B2 (en) 2008-09-02
GB2419173B (en) 2006-10-04
CN1782460A (zh) 2006-06-07
GB0519844D0 (en) 2005-11-09
GB2419173A (en) 2006-04-19
JP2006097824A (ja) 2006-04-13
US20060066016A1 (en) 2006-03-30

Similar Documents

Publication Publication Date Title
JP4359889B2 (ja) 流体封入式防振装置
JP4228219B2 (ja) 流体封入式防振装置
JP4330437B2 (ja) 流体封入式防振装置
CN103161875B (zh) 流体封入式隔振装置
JP4110567B2 (ja) 流体封入式筒形防振装置
JP5557837B2 (ja) 防振装置
WO2007116976A1 (ja) 防振装置
JP4901580B2 (ja) 液体封入式防振支持装置
JP2009275910A (ja) 流体封入式防振装置
JP4218061B2 (ja) 流体封入式防振装置
JPH06100242B2 (ja) 流体封入式マウント装置
JP5060846B2 (ja) 流体封入式防振装置
JP5926149B2 (ja) 流体封入式防振装置
JP4671176B2 (ja) 流体封入式防振装置
JPH06100243B2 (ja) 流体封入式マウント装置
JP2006258217A (ja) 流体封入式防振装置
JP2006118547A (ja) 流体封入式防振装置
JP4075066B2 (ja) 流体封入式エンジンマウント
JP2006097823A (ja) 流体封入式防振装置
JP2006177526A (ja) 流体封入式防振装置
JP4340911B2 (ja) 防振装置
JP4270049B2 (ja) 流体封入式防振装置
JP2007139024A (ja) 流体封入式防振装置
JP2010169121A (ja) 流体封入式防振装置
JP2008215529A (ja) 流体封入式防振装置

Legal Events

Date Code Title Description
A621 Written request for application examination

Free format text: JAPANESE INTERMEDIATE CODE: A621

Effective date: 20070123

A977 Report on retrieval

Free format text: JAPANESE INTERMEDIATE CODE: A971007

Effective date: 20081016

A131 Notification of reasons for refusal

Free format text: JAPANESE INTERMEDIATE CODE: A131

Effective date: 20081020

A521 Request for written amendment filed

Free format text: JAPANESE INTERMEDIATE CODE: A523

Effective date: 20081218

TRDD Decision of grant or rejection written
A01 Written decision to grant a patent or to grant a registration (utility model)

Free format text: JAPANESE INTERMEDIATE CODE: A01

Effective date: 20090717

A01 Written decision to grant a patent or to grant a registration (utility model)

Free format text: JAPANESE INTERMEDIATE CODE: A01

A61 First payment of annual fees (during grant procedure)

Free format text: JAPANESE INTERMEDIATE CODE: A61

Effective date: 20090730

R150 Certificate of patent or registration of utility model

Free format text: JAPANESE INTERMEDIATE CODE: R150

Ref document number: 4359889

Country of ref document: JP

Free format text: JAPANESE INTERMEDIATE CODE: R150

FPAY Renewal fee payment (event date is renewal date of database)

Free format text: PAYMENT UNTIL: 20120821

Year of fee payment: 3

FPAY Renewal fee payment (event date is renewal date of database)

Free format text: PAYMENT UNTIL: 20120821

Year of fee payment: 3

FPAY Renewal fee payment (event date is renewal date of database)

Free format text: PAYMENT UNTIL: 20130821

Year of fee payment: 4

S533 Written request for registration of change of name

Free format text: JAPANESE INTERMEDIATE CODE: R313533

R350 Written notification of registration of transfer

Free format text: JAPANESE INTERMEDIATE CODE: R350

LAPS Cancellation because of no payment of annual fees