JP4330397B2 - 接着剤塗布装置、製本装置および接着剤塗布方法 - Google Patents
接着剤塗布装置、製本装置および接着剤塗布方法 Download PDFInfo
- Publication number
- JP4330397B2 JP4330397B2 JP2003283250A JP2003283250A JP4330397B2 JP 4330397 B2 JP4330397 B2 JP 4330397B2 JP 2003283250 A JP2003283250 A JP 2003283250A JP 2003283250 A JP2003283250 A JP 2003283250A JP 4330397 B2 JP4330397 B2 JP 4330397B2
- Authority
- JP
- Japan
- Prior art keywords
- thickness
- sheet bundle
- roller
- adhesive
- container
- Prior art date
- Legal status (The legal status is an assumption and is not a legal conclusion. Google has not performed a legal analysis and makes no representation as to the accuracy of the status listed.)
- Expired - Fee Related
Links
- 239000000853 adhesive Substances 0.000 title claims description 143
- 230000001070 adhesive effect Effects 0.000 title claims description 143
- 238000000576 coating method Methods 0.000 title claims description 41
- 239000011248 coating agent Substances 0.000 title claims description 37
- 230000007423 decrease Effects 0.000 claims description 36
- 238000002788 crimping Methods 0.000 claims description 27
- 238000000034 method Methods 0.000 claims description 10
- 238000003825 pressing Methods 0.000 claims description 8
- 238000001514 detection method Methods 0.000 claims description 6
- 230000003247 decreasing effect Effects 0.000 claims description 5
- 239000003292 glue Substances 0.000 description 18
- 239000004973 liquid crystal related substance Substances 0.000 description 6
- 238000004026 adhesive bonding Methods 0.000 description 4
- 230000005540 biological transmission Effects 0.000 description 4
- 238000010586 diagram Methods 0.000 description 4
- 230000005674 electromagnetic induction Effects 0.000 description 4
- 238000010438 heat treatment Methods 0.000 description 4
- 239000004831 Hot glue Substances 0.000 description 3
- 230000001877 deodorizing effect Effects 0.000 description 3
- 230000002093 peripheral effect Effects 0.000 description 3
- 238000013459 approach Methods 0.000 description 2
- 239000003795 chemical substances by application Substances 0.000 description 2
- 230000001360 synchronised effect Effects 0.000 description 2
- XAGFODPZIPBFFR-UHFFFAOYSA-N aluminium Chemical compound [Al] XAGFODPZIPBFFR-UHFFFAOYSA-N 0.000 description 1
- 229910052782 aluminium Inorganic materials 0.000 description 1
- 238000001816 cooling Methods 0.000 description 1
- 238000007599 discharging Methods 0.000 description 1
- 238000002474 experimental method Methods 0.000 description 1
- 230000005294 ferromagnetic effect Effects 0.000 description 1
- 239000003302 ferromagnetic material Substances 0.000 description 1
- 239000000155 melt Substances 0.000 description 1
- 238000002844 melting Methods 0.000 description 1
- 230000008018 melting Effects 0.000 description 1
- 239000007787 solid Substances 0.000 description 1
- 230000000087 stabilizing effect Effects 0.000 description 1
- 229920005992 thermoplastic resin Polymers 0.000 description 1
Images
Landscapes
- Coating Apparatus (AREA)
Description
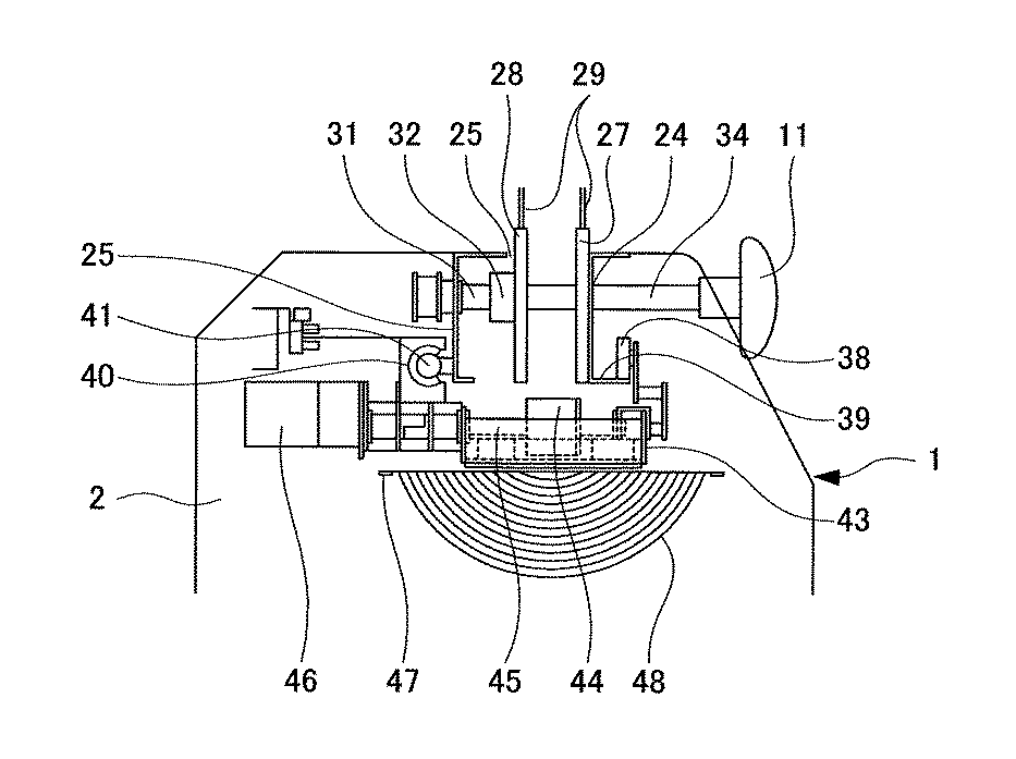
2 本体ケーシング
3 塗布ユニット
4 脱臭ユニット
5 圧着ユニット
6 用紙束
7 クランプ部
8 ホットメルト接着剤
9 接着剤供給ユニット
10 ホッパー
11 操作ノブ
12 表紙
13 表紙台
14 操作部
15 メインスイッチ
16 前扉
17 シューター
18 液晶表示部
19 スタートボタン
20 ストップ/電源切ボタン
21、22 選択ボタン
23 設定ボタン
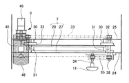
24 前フレーム
25 後フレーム
26 上部開口
27 固定クランプ
28 可動クランプ
29 用紙束保持部材
30 ガイドシャフト
31 ネジシャフト
32 保持部
33 同期ベルト
34 シャフト
35 伝達ベルト
36 用紙束厚センサ
37 クランプ駆動装置
38 走行ローラ
39 レール
40 案内部
41 レールシャフト
42 塗布ユニット駆動装置
43 接着剤溜(容器)
44 塗布ローラ
45 回転軸
46 塗布ローラ回転モータ
47 固定部材
48 電磁誘導コイル
49 容器本体
50 加熱板
51 接着剤溜(容器)位置センサ
52 圧着ユニット駆動装置
53 基部
54 固定板
55 押え部
56 可動板
57 可動板駆動装置
58 圧着力制御装置
59 可動シューター
60 圧着ユニット位置センサ
61 固定ブロック
62 連結シャフト
63 可動ブロック
64 スプリング
65 制御部
67 タイマー回路
68 信号出力回路
Claims (8)
- 用紙束を挟持する挟持手段と、用紙束の厚さを検出する厚さ検出手段と、熱溶融させた溶融接着剤を貯留する容器と、容器内の接着剤に一部を浸して配置され、回転して容器内の溶融接着剤を用紙束背面に塗布するローラと、ローラを回転駆動する回転駆動手段と、容器とローラを一体的に用紙束背面の長手方向に沿って移動させる移動手段と、移動手段を駆動する移動駆動手段と、回転駆動手段および移動駆動手段を制御する制御手段とを備え、制御手段は、用紙束厚の初期設定値を基準として厚さ検出手段が検出した値における用紙束厚の厚みの増減を判断し、用紙束厚の厚みの増減に応じて回転駆動手段によるローラの回転速度および移動駆動手段による容器とローラの移動速度を変更制御して塗布量を調整することを特徴とする接着剤塗布装置。
- 制御手段は、用紙束の厚み値とその厚み値に適正な塗布量を確保するためのローラの回転速度および容器とローラの移動速度との関係を予めデータとして格納し、用紙束厚の初期設定値を基準として厚さ検出手段が検出した値における用紙束厚の厚みの増減を判断し、前記データにおいて用紙束厚の厚みの増減に応じた回転速度および移動速度を求め、求めた回転速度となるように回転駆動手段によるローラの回転速度を変更制御し、かつ求めた移動速度となるように移動駆動手段による容器とローラの移動速度を変更制御して塗布量を調整することを特徴とする請求項1に記載の接着剤塗布装置。
- 制御手段は、用紙束厚の初期設定値を基準として厚さ検出手段が検出した値における用紙束厚の厚みの増減を判断し、基準とする用紙束厚の初期設定値と検知した用紙束の厚み値との比較において、ローラの回転速度および容器とローラの移動速度を初期設定の回転速度および移動速度に対して相対的に増減して塗布量を調整することを特徴とする請求項1に記載の接着剤塗布装置。
- 請求項1〜3の何れか1項に記載の接着剤塗布装置を有し、挟持手段の接着剤塗布完了後の挟持必要時間を接着剤塗布装置の制御手段の制御に基づいて変更する挟持時間変更手段を備えたことを特徴とする製本装置。
- 請求項1〜3の何れか1項に記載の接着剤塗布装置を有し、接着剤の塗布完了後の用紙束に表紙を圧着する表紙圧着手段と、表紙圧着手段の接着剤塗布完了後の圧着必要時間を接着剤塗布装置の制御手段の制御に基づいて変更する圧着時間変更手段とを備えたことを特徴とする製本装置。
- 接着剤を貯留する容器と容器内の接着剤に一部を浸して回転するローラを一体に移動し、挟持した用紙束の背面にローラを介して接着剤を塗布する接着剤塗布方法であって、挟持した用紙束の厚さを検知し、用紙束厚の初期設定値を基準として検出した値における紙束厚の厚みの増減を判断し、用紙束厚の厚みの増減に応じて設定した回転速度でローラを回転させるとともに、用紙束厚の厚みの増減に応じて設定した移動速度で容器とローラを一体に移動させて接着剤を塗布することを特徴とする接着剤塗布方法。
- 用紙束の厚み値とその厚み値に適正な塗布量を確保するためのローラの回転速度および容器とローラの移動速度との関係を予めデータ化し、用紙束厚の初期設定値を基準として厚さ検出手段が検出した値における用紙束厚の厚みの増減を判断し、前記データにおいて用紙束厚の厚みの増減に応じた回転速度および移動速度を求め、求めた回転速度でローラを回転させるとともに、求めた移動速度で容器とローラを一体に移動させて接着剤を塗布することを特徴とする請求項6に記載の接着剤塗布方法。
- 用紙束厚の初期設定値を基準として検出した値における用紙束厚の厚みの増減を判断し、基準とする用紙束厚の初期設定値と検知した用紙束の厚み値との比較において、ローラの回転速度および容器とローラの移動速度を初期設定の回転速度および移動速度に対して相対的に増減して塗布量を調整することを特徴とする請求項6に記載の接着剤塗布方法。
Priority Applications (1)
| Application Number | Priority Date | Filing Date | Title |
|---|---|---|---|
| JP2003283250A JP4330397B2 (ja) | 2003-07-31 | 2003-07-31 | 接着剤塗布装置、製本装置および接着剤塗布方法 |
Applications Claiming Priority (1)
| Application Number | Priority Date | Filing Date | Title |
|---|---|---|---|
| JP2003283250A JP4330397B2 (ja) | 2003-07-31 | 2003-07-31 | 接着剤塗布装置、製本装置および接着剤塗布方法 |
Publications (2)
| Publication Number | Publication Date |
|---|---|
| JP2005047199A JP2005047199A (ja) | 2005-02-24 |
| JP4330397B2 true JP4330397B2 (ja) | 2009-09-16 |
Family
ID=34268188
Family Applications (1)
| Application Number | Title | Priority Date | Filing Date |
|---|---|---|---|
| JP2003283250A Expired - Fee Related JP4330397B2 (ja) | 2003-07-31 | 2003-07-31 | 接着剤塗布装置、製本装置および接着剤塗布方法 |
Country Status (1)
| Country | Link |
|---|---|
| JP (1) | JP4330397B2 (ja) |
Families Citing this family (7)
| Publication number | Priority date | Publication date | Assignee | Title |
|---|---|---|---|---|
| JP5025285B2 (ja) * | 2007-02-28 | 2012-09-12 | デュプロ精工株式会社 | 製本装置 |
| JP5078398B2 (ja) * | 2007-03-16 | 2012-11-21 | デュプロ精工株式会社 | 製本装置 |
| JP4407718B2 (ja) | 2007-04-26 | 2010-02-03 | コニカミノルタビジネステクノロジーズ株式会社 | 製本システム |
| JP5469877B2 (ja) | 2009-02-18 | 2014-04-16 | ニスカ株式会社 | 接着剤塗布装置及び製本装置 |
| JP5387454B2 (ja) * | 2010-03-08 | 2014-01-15 | コニカミノルタ株式会社 | 後処理装置及び画像形成システム |
| US10766290B2 (en) * | 2017-04-18 | 2020-09-08 | Horizon International Inc. | Bookbinding machine |
| CN111284161B (zh) * | 2020-01-21 | 2021-09-17 | 浙江大祥办公设备有限公司 | 一种变速控制的高效胶装方法 |
-
2003
- 2003-07-31 JP JP2003283250A patent/JP4330397B2/ja not_active Expired - Fee Related
Also Published As
| Publication number | Publication date |
|---|---|
| JP2005047199A (ja) | 2005-02-24 |
Similar Documents
| Publication | Publication Date | Title |
|---|---|---|
| JP4393221B2 (ja) | 製本装置 | |
| US7448837B2 (en) | Bookbinding apparatus | |
| EP2923822A1 (en) | Cloth bonding apparatus | |
| JP4330397B2 (ja) | 接着剤塗布装置、製本装置および接着剤塗布方法 | |
| JP5036387B2 (ja) | 製本装置 | |
| JP4326262B2 (ja) | 製本装置 | |
| EP2366297B1 (en) | Cloth bonding apparatus | |
| JP2010173070A (ja) | 表紙貼付機及び製本装置 | |
| JP4381061B2 (ja) | 製本装置 | |
| JP4189311B2 (ja) | 製本装置 | |
| JP5078398B2 (ja) | 製本装置 | |
| JP2005047198A (ja) | 接着剤塗布装置および製本装置 | |
| EP3075276A1 (en) | Bonding device and bonding device control method | |
| JP5041861B2 (ja) | 製本装置 | |
| JP2009220373A (ja) | 製本装置 | |
| JP5036388B2 (ja) | 製本装置 | |
| JP5207653B2 (ja) | 製本装置 | |
| JP5025284B2 (ja) | 製本装置 | |
| JP5025285B2 (ja) | 製本装置 | |
| JP4245919B2 (ja) | 製本装置 | |
| JP5159380B2 (ja) | 製本装置 | |
| JP4272421B2 (ja) | 製本装置 | |
| JP5388752B2 (ja) | 無線綴じ製本機 | |
| JP2008093881A (ja) | 製本装置 | |
| JP5361605B2 (ja) | 無線綴じ製本機 |
Legal Events
| Date | Code | Title | Description |
|---|---|---|---|
| A621 | Written request for application examination |
Free format text: JAPANESE INTERMEDIATE CODE: A621 Effective date: 20060612 |
|
| RD04 | Notification of resignation of power of attorney |
Free format text: JAPANESE INTERMEDIATE CODE: A7424 Effective date: 20080430 |
|
| A977 | Report on retrieval |
Free format text: JAPANESE INTERMEDIATE CODE: A971007 Effective date: 20090209 |
|
| A131 | Notification of reasons for refusal |
Free format text: JAPANESE INTERMEDIATE CODE: A131 Effective date: 20090217 |
|
| A521 | Request for written amendment filed |
Free format text: JAPANESE INTERMEDIATE CODE: A523 Effective date: 20090420 |
|
| TRDD | Decision of grant or rejection written | ||
| A01 | Written decision to grant a patent or to grant a registration (utility model) |
Free format text: JAPANESE INTERMEDIATE CODE: A01 Effective date: 20090519 |
|
| A01 | Written decision to grant a patent or to grant a registration (utility model) |
Free format text: JAPANESE INTERMEDIATE CODE: A01 |
|
| A61 | First payment of annual fees (during grant procedure) |
Free format text: JAPANESE INTERMEDIATE CODE: A61 Effective date: 20090616 |
|
| R150 | Certificate of patent or registration of utility model |
Ref document number: 4330397 Country of ref document: JP Free format text: JAPANESE INTERMEDIATE CODE: R150 Free format text: JAPANESE INTERMEDIATE CODE: R150 |
|
| FPAY | Renewal fee payment (event date is renewal date of database) |
Free format text: PAYMENT UNTIL: 20120626 Year of fee payment: 3 |
|
| FPAY | Renewal fee payment (event date is renewal date of database) |
Free format text: PAYMENT UNTIL: 20150626 Year of fee payment: 6 |
|
| R250 | Receipt of annual fees |
Free format text: JAPANESE INTERMEDIATE CODE: R250 |
|
| R250 | Receipt of annual fees |
Free format text: JAPANESE INTERMEDIATE CODE: R250 |
|
| R250 | Receipt of annual fees |
Free format text: JAPANESE INTERMEDIATE CODE: R250 |
|
| R250 | Receipt of annual fees |
Free format text: JAPANESE INTERMEDIATE CODE: R250 |
|
| R250 | Receipt of annual fees |
Free format text: JAPANESE INTERMEDIATE CODE: R250 |
|
| R250 | Receipt of annual fees |
Free format text: JAPANESE INTERMEDIATE CODE: R250 |
|
| R250 | Receipt of annual fees |
Free format text: JAPANESE INTERMEDIATE CODE: R250 |
|
| R250 | Receipt of annual fees |
Free format text: JAPANESE INTERMEDIATE CODE: R250 |
|
| R250 | Receipt of annual fees |
Free format text: JAPANESE INTERMEDIATE CODE: R250 |
|
| LAPS | Cancellation because of no payment of annual fees |
