JP4326331B2 - 薬剤供給装置 - Google Patents
薬剤供給装置 Download PDFInfo
- Publication number
- JP4326331B2 JP4326331B2 JP2003526802A JP2003526802A JP4326331B2 JP 4326331 B2 JP4326331 B2 JP 4326331B2 JP 2003526802 A JP2003526802 A JP 2003526802A JP 2003526802 A JP2003526802 A JP 2003526802A JP 4326331 B2 JP4326331 B2 JP 4326331B2
- Authority
- JP
- Japan
- Prior art keywords
- medicine
- holding
- transfer
- cam
- cassette
- Prior art date
- Legal status (The legal status is an assumption and is not a legal conclusion. Google has not performed a legal analysis and makes no representation as to the accuracy of the status listed.)
- Expired - Fee Related
Links
- 239000003814 drug Substances 0.000 title claims abstract description 83
- 229940079593 drug Drugs 0.000 title claims abstract description 26
- 238000001514 detection method Methods 0.000 claims description 16
- 230000005540 biological transmission Effects 0.000 claims description 7
- 239000011347 resin Substances 0.000 claims description 4
- 229920005989 resin Polymers 0.000 claims description 4
- KJFBVJALEQWJBS-XUXIUFHCSA-N maribavir Chemical compound CC(C)NC1=NC2=CC(Cl)=C(Cl)C=C2N1[C@H]1O[C@@H](CO)[C@H](O)[C@@H]1O KJFBVJALEQWJBS-XUXIUFHCSA-N 0.000 claims 1
- 239000003708 ampul Substances 0.000 description 26
- 239000000126 substance Substances 0.000 description 9
- 239000003795 chemical substances by application Substances 0.000 description 8
- 239000002246 antineoplastic agent Substances 0.000 description 3
- 229940041181 antineoplastic drug Drugs 0.000 description 3
- 230000002093 peripheral effect Effects 0.000 description 3
- NJPPVKZQTLUDBO-UHFFFAOYSA-N novaluron Chemical compound C1=C(Cl)C(OC(F)(F)C(OC(F)(F)F)F)=CC=C1NC(=O)NC(=O)C1=C(F)C=CC=C1F NJPPVKZQTLUDBO-UHFFFAOYSA-N 0.000 description 2
- 238000013459 approach Methods 0.000 description 1
- 230000000694 effects Effects 0.000 description 1
- 239000000463 material Substances 0.000 description 1
- 238000000034 method Methods 0.000 description 1
- 231100000331 toxic Toxicity 0.000 description 1
- 230000002588 toxic effect Effects 0.000 description 1
Images
Classifications
-
- A—HUMAN NECESSITIES
- A61—MEDICAL OR VETERINARY SCIENCE; HYGIENE
- A61J—CONTAINERS SPECIALLY ADAPTED FOR MEDICAL OR PHARMACEUTICAL PURPOSES; DEVICES OR METHODS SPECIALLY ADAPTED FOR BRINGING PHARMACEUTICAL PRODUCTS INTO PARTICULAR PHYSICAL OR ADMINISTERING FORMS; DEVICES FOR ADMINISTERING FOOD OR MEDICINES ORALLY; BABY COMFORTERS; DEVICES FOR RECEIVING SPITTLE
- A61J3/00—Devices or methods specially adapted for bringing pharmaceutical products into particular physical or administering forms
-
- G—PHYSICS
- G07—CHECKING-DEVICES
- G07F—COIN-FREED OR LIKE APPARATUS
- G07F17/00—Coin-freed apparatus for hiring articles; Coin-freed facilities or services
- G07F17/0092—Coin-freed apparatus for hiring articles; Coin-freed facilities or services for assembling and dispensing of pharmaceutical articles
-
- B—PERFORMING OPERATIONS; TRANSPORTING
- B65—CONVEYING; PACKING; STORING; HANDLING THIN OR FILAMENTARY MATERIAL
- B65G—TRANSPORT OR STORAGE DEVICES, e.g. CONVEYORS FOR LOADING OR TIPPING, SHOP CONVEYOR SYSTEMS OR PNEUMATIC TUBE CONVEYORS
- B65G59/00—De-stacking of articles
- B65G59/06—De-stacking from the bottom of the stack
- B65G59/061—De-stacking from the bottom of the stack articles being separated substantially along the axis of the stack
- B65G59/062—De-stacking from the bottom of the stack articles being separated substantially along the axis of the stack by means of reciprocating or oscillating escapement-like mechanisms
-
- B—PERFORMING OPERATIONS; TRANSPORTING
- B65—CONVEYING; PACKING; STORING; HANDLING THIN OR FILAMENTARY MATERIAL
- B65G—TRANSPORT OR STORAGE DEVICES, e.g. CONVEYORS FOR LOADING OR TIPPING, SHOP CONVEYOR SYSTEMS OR PNEUMATIC TUBE CONVEYORS
- B65G59/00—De-stacking of articles
- B65G59/06—De-stacking from the bottom of the stack
- B65G59/067—De-stacking from the bottom of the stack articles being separated substantially perpendicularly to the axis of the stack
-
- G—PHYSICS
- G07—CHECKING-DEVICES
- G07F—COIN-FREED OR LIKE APPARATUS
- G07F11/00—Coin-freed apparatus for dispensing, or the like, discrete articles
- G07F11/02—Coin-freed apparatus for dispensing, or the like, discrete articles from non-movable magazines
- G07F11/04—Coin-freed apparatus for dispensing, or the like, discrete articles from non-movable magazines in which magazines the articles are stored one vertically above the other
-
- G—PHYSICS
- G07—CHECKING-DEVICES
- G07F—COIN-FREED OR LIKE APPARATUS
- G07F11/00—Coin-freed apparatus for dispensing, or the like, discrete articles
- G07F11/02—Coin-freed apparatus for dispensing, or the like, discrete articles from non-movable magazines
- G07F11/04—Coin-freed apparatus for dispensing, or the like, discrete articles from non-movable magazines in which magazines the articles are stored one vertically above the other
- G07F11/16—Delivery means
- G07F11/163—Delivery means characterised by blocking access to the output bins
Landscapes
- Physics & Mathematics (AREA)
- General Physics & Mathematics (AREA)
- Health & Medical Sciences (AREA)
- General Health & Medical Sciences (AREA)
- Veterinary Medicine (AREA)
- Pharmacology & Pharmacy (AREA)
- Life Sciences & Earth Sciences (AREA)
- Animal Behavior & Ethology (AREA)
- Chemical & Material Sciences (AREA)
- Public Health (AREA)
- Medicinal Chemistry (AREA)
- Medical Preparation Storing Or Oral Administration Devices (AREA)
- Feeding Of Articles To Conveyors (AREA)
- De-Stacking Of Articles (AREA)
- Basic Packing Technique (AREA)
- Control Of Conveyors (AREA)
- Agricultural Chemicals And Associated Chemicals (AREA)
Description
本発明は薬剤供給装置、特に、抗がん剤等の特殊薬剤の供給に適した薬剤供給装置に関するものである。
【従来の技術】
【0002】
一般に、抗がん剤等の毒性を有する特殊薬剤はアンプル等の薬剤容器に収容されている。このような特殊薬剤が収容された薬剤容器は、供給途中の損傷や供給数量の誤りを確実に阻止することが必要とされる。このため、従来から特殊薬剤については、手作業により供給されている。
【0003】
しかしながら、供給数量が多い大病院等では自動供給が切望されている。この場合、供給途中の損傷や供給数量の誤りの問題が発生することは絶対に避けなければならないが、従来の薬剤供給装置はそのような構成を備えていない。
【発明が解決しようとする課題】
【0004】
そこで、本発明は、薬剤容器が供給途中に損傷したり、供給数量に誤りが生じることを確実に防止できる薬剤供給装置を提供することを課題とする。
【課題を解決するための手段】
【0005】
本発明は、前記課題を解決するための手段として、
カセット内に上下方向に整列して収容した薬剤容器を下方側から順次供給するようにした薬剤供給装置において、
前記カセットの最下端に位置する薬剤容器を保持する保持手段と、
前記カセットの下方に配置され、上下動により前記保持手段によって保持された最下端の薬剤容器を下方に移送する移送手段と、
前記移送手段を上動させ、前記保持手段によって保持された最下端の薬剤容器を持ち上げ、保持手段による保持状態を解除し、前記移送手段を所定寸法下動させながら、前記保持手段により最下端から2つ目の薬剤容器を保持した後、前記移送手段を下動させる駆動手段と、
前記移送手段により下方に移動させた薬剤容器を水平方向に搬出する搬出手段と、を備え、
前記保持手段は、下方側の水平部を接離可能に回動自在に設けた一対の開閉アームからなり、前記水平部には薬剤容器を支持する傾斜面を備えた樹脂製の支持部を備え、
前記移送手段は、前記開閉アームの支持部による支持位置よりも上方の位置と、前記搬出手段による搬出位置よりも下方の位置との間を昇降可能な移送台を備え、
前記駆動手段は単一のモータからなり、該モータの駆動力が、駆動軸、該駆動軸に一体化した、前記移送手段を作動させ、前記保持手段を作動させ、前記搬出手段を作動させるカムを介して、前記移送手段、前記保持手段及び前記搬出手段にそれぞれ伝達されるようにしたものである。
【0006】
この構成により、薬剤容器が供給動作中には必ず保持手段又は移送手段によって支持された状態となる。したがって、薬剤容器に衝撃力が加わることがなく、スムーズに供給することが可能となる。また、移送手段によって供給可能な薬剤容器の数は常に1つだけであるので、供給数量を的確に把握することもできる。また、薬剤がアンプル等の損傷しやすいものであっても、1つずつ確実に供給することが可能となる。さらに、薬剤に衝撃を与えることなく、スムーズに行うことが可能となる。さらにまた、構成を簡略化して安定した動作を得ることが可能となる。
【0007】
前記薬剤容器の取出作業中であるか否かを検出する作業状態検出手段を備え、該作業状態検出手段での検出信号に基づいて取出作業中でないと判断すれば、薬剤の供給を中止すると、正規の担当者以外の第三者による薬剤の取扱いを未然に防止することが可能となる点で好ましい。
【0008】
前記カセットは、上下方向に積層して収容した各薬剤を検出可能な薬剤検出手段を備えると、カセット内での薬剤の欠品や詰まり等を確実に把握することが可能となる点で好ましい。
【発明の実施の形態】
【0009】
以下、本発明に係る実施形態を添付図面に従って説明する。
【0010】
図1は、本実施形態に係る薬剤供給装置のカセット1及び薬剤供給部2を示す。薬剤供給装置では、本体に複数の薬剤供給部2が並設され、各薬剤供給部2にカセット1が取外し可能に装着されるようになっている(図4参照)。
【0011】
カセット1は、内蔵するガイド部3に沿って本発明に係る薬剤容器の一例であるアンプル4が上下方向に整列して収容されている。アンプル4には、抗がん剤等の特殊薬剤が収容されている。各アンプル4はカセット1の側面上下方向に所定ピッチ(積層したアンプル4の中心間距離)で配置した薬剤検出手段の一例であるアンプル検出センサ(図示せず)によって検出される。したがって、アンプル4の欠品や途中での詰まり等を確実に検出することができ、アンプル4の供給ミスは発生しない。カセット1の下端部には、本発明に係る保持手段の一例である一対の開閉アーム6が設けられている。開閉アーム6は略L字形で、図5に示すように、下方側の水平部7には傾斜面を備えた樹脂製の支持部8が設けられている。開閉アーム6は、上方側の垂直部9をカセット1の前面に支軸9aを中心として回動自在に設けられ、支持部8をカセット1の側面下部に設けた切欠部10を介してカセット1内に侵入し、最下端に位置するアンプル4を支持可能となっている。開閉アーム6の垂直部9には、支軸9aの下方側でリンク11の一端部がそれぞれ回転自在に連結され、それらはスプリング12によって内側(接近する方向)に付勢されている。リンク11の他端部は互いに回転自在に連結され、そこには鉛直下方に延びる伝達部13が固定されている。伝達部13の下端部は水平方向に向かって押圧受部14が突設され、上方に向かって押圧可能となっている。また、伝達部13の背面には樹脂製のストッパ部15が設けられ、スプリング12の付勢力によって閉じた開閉アーム6の垂直部9が当接し、支持部8を所定位置に位置決めする。
【0012】
薬剤供給部2は、図1に示すように、ベース16に、本発明に係る移送手段の一例である移送部17、動作部18、及び遮蔽板19を設けたものである。
【0013】
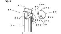
移送部17は、図6に示すように、移送台20をベース16に支軸27aを中心として回動自在に設けた補助アーム27によって上下動させるようにしたものである。補助アーム27は、スプリング27bによって図6中支軸27aを中心として反時計回り方向に付勢されている。移送台20は、上面がアンプル4の外周面に沿うように湾曲し、ベース16に設けた図示しないガイド部にガイドされる長穴21aを有する脚部21を備える。移送台20は、前記開閉アーム6の支持部8による支持位置よりも若干上方の位置と、後述するベルト33による搬送位置よりも若干下方の位置との間で上下動する。
【0014】
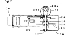
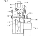
動作部18は、図2及び図3に示すように、回転軸22に、第1カム23、第2カム24、駆動ギア25及び被検出盤26を一体化し、前記開閉アーム6を直接的に、前記移送部17を補助アーム27(図1参照)を介して間接的にそれぞれ動作させる。
【0015】
回転軸22には、一端部に設けた傘歯車28a,28bにより、本発明に係る駆動手段の一例である単一のモータ29から動力が伝達される。
【0016】
第1カム23は、図1に示すように、略半円形状で、外周部に前記開閉アーム6の伝達部13に形成した押圧受部14が摺接することにより支持部8を離間させ、前記カセット1内の最下端に位置するアンプル4の支持状態を解除する。第1カム23の円弧部23aと直線部23bとの境界部分には、その反時計回り方向側(回転方向側)に傾斜面23cが形成され、前記押圧受部14の押圧動作をスムーズに行わせる。
【0017】
第2カム24は、図6に示すように、円弧部24bの外縁が、反時計回り方向側(回転方向側)から時計回り方向に向かって徐々に回転軸22に近付くように形成されている。また、直線部24cから円弧部24bに向かう領域には、円弧部24bよりも曲率半径の小さい円弧部24dが形成されている。
【0018】
補助アーム27は、中間部の屈曲部分の支軸27aを中心としてベース16に回動自在に設けられ、スプリング27bの付勢力により図6中、反時計回り方向に付勢されている。補助アーム27の一端部には、前記第2カム24の外周縁が当接し、補助アーム27は第2カム24の回転に従って正逆回転する。補助アーム27の他端部には押圧部30が形成されている。この押圧部30は、前記移送部17の脚部21に形成した矩形孔21aに位置し、移送台20を上下動させる。
【0019】
第1カム23と第2カム24の位置関係は、第2カム24によって移送台20が上動し、カセット1の最下端に位置するアンプル4が持ち上げられた時点で、第1カム23によって開閉アーム6の支持部8が離間するものとなっている。両カムは同一の回転軸22に固定されているため、回転方向の位置関係を正確に設定しておくだけで、確実に移送台20及び開閉アーム6の動作のタイミングを適切なものとすることができる。これにより、アンプル4に衝撃力が作用しにくくなり、損傷に至る危険性がなくなる。
【0020】
駆動ギア25には従動ギア31が噛合している。従動ギア31は、プーリ32aの軸に固定されている。このプーリ32aから所定寸法離れた位置には、図1に示すように他のプーリ32bが配置され、両プーリ32a,32bには、本発明に係る搬出手段の一例であるベルト33が掛け渡されている。ベルト33は、ゴム等の可撓性を有する材料からなり、両プーリ32a,32bに中間部で交差するように2列で掛け渡されている。また、ベルト33は、両プーリ32a,32bの中間部でガイド棒34によって下方に押し下げられることにより、駆動側のプーリ32aとの接触面積が増やされ、ベルト33の滑りが抑えられている。
【0021】
被検出盤26には、図3に示すように、所定位置に、永久磁石、切欠き、貫通孔等の被検出部が設けられ、発光素子及び受光素子からなる回転位置検出センサ35によって被検出盤26の初期位置が検出されるようになっている。初期位置が検出される毎に回転軸22が1回転したことになる。
【0022】
遮蔽板19は、図1に示すように、支軸19aを中心として回動自在に設けられ、図示しない指紋認識装置によって登録された指紋が検出されることにより水平方向に回動し、薬剤供給装置の駆動及び薬剤供給部2から供給された薬剤の取出しが可能となる。また、本発明に係る作業状態検出手段の一例であるフロアマット(図示せず)により作業中であるか否かが検出される。フロアマットによる非検出時間が所定時間を超えることにより、他の者が勝手に触らないように、遮蔽板19は自動的に垂直方向に回動して取出口は閉鎖される。なお、作業中であるか否かは、前記フロアマットのほか、エリアセンサ等で検出することも可能である。
【0023】
なお、取出口には、薬剤供給部2に着脱するカセット1に係脱する係止部材36が設けられている。
【0024】
次に、前記薬剤供給装置の動作について説明する。
【0025】
指紋認識装置で指紋を認識させると、遮蔽板19が回動し、薬剤供給装置による薬剤の供給処理が可能となる。そして、図示しない操作部より薬剤の種類及び数量が入力されれば、該当する薬剤を収容したカセット1が装着される薬剤供給部2のモータ29が駆動する。これにより、回転軸22が回転し、図1に示す初期状態から、まず、第2カム24の円弧部24bによって補助アーム27の一端部が押圧される。補助アーム27は、図7に示すように、支軸27aを中心として時計回り方向に回動し、移送台20を上動させる。移送台20は、開閉アーム6の支持部8によって支持されたカセット1の最下端に位置するアンプル4を持ち上げる。
【0026】
移送台20は、図8に示すように、補助アーム27の一端部が第2カム24の円弧部24bを移動することにより徐々に下動する。この間、第1カム23も回動しており、その円弧部23aによって押圧受部14が押し上げられる。そして、伝達部13を介して垂直部9が回動し、支持部8が離間する。この離間状態は、押圧受部14が第1カム23の円弧部23aを移動している間、すなわち移送台20が下動している間、続行される。
【0027】
最下端に位置するアンプル4のみが開閉アーム6の支持部8よりも下方に移動した時点で、図9に示すように、開閉アーム6の押圧受部14が第1カム23の円弧部23aから直線部23bへと移動する。これにより、開閉アーム6の支持部8で最下端から2番目のアンプル4をスムーズに支持することができる。
【0028】
移送台20は下動し続け、図10に示すように、アンプル4はベルト33に載置される。ベルト33は、一方のプーリ32aにモータ29の動力が伝達されることにより載置されたアンプル4を水平方向に移動させる。
【0029】
このように、回転軸22が1回転する毎に、アンプル4を1つだけ供給することができるので、モータ29は、回転位置検出センサ35によって被検出盤26の被検出部を検出された数が入力された薬剤の供給数量に達するまで駆動を続行することにより、所定数量のアンプル4を供給することができる。
【0030】
前記構成の薬剤供給装置によれば、駆動手段が単一のモータ29でよくなり構成が簡略化すると共に、安価に製作することができる。また、開閉アーム6を回動させるための第1カム23や、移送台20を上下動させるための第2カム24等を全て同じ回転軸22に固定しているので、各部材の位置関係を簡単かつ正確に設定することができる。さらに、移送台20によってアンプル4に衝撃力を与えることなく移送するようにしているので、アンプル4が割れて薬液が漏れ出る等の不具合も発生しない。
【0031】
なお、前記実施形態では、薬剤容器としてアンプル4を供給する構成について説明したが、薬剤を収容した箱であっても同様な構成によって供給することができる。
【0032】
また、前記実施形態では、プーリ32及びベルト33によってアンプル4を取出口に供給するようにしたが、図11に示すように、ロッドを水平移動させることにより供給するようにしてもよい。図11では、回転軸22に第3カム40が一体化されている。第3カム40の上方には台座部42が設けられ、そこには図中左右にスライド自在にロッド44が設けられている。そして、第3カム40に設けた延設部41によりロッド44に形成したピン43を押圧することにより、スプリング45の付勢力に抗してロッド44が図中左方向にスライド移動し、最下端に位置するアンプル4を押圧する。
【0033】
また、図12に示すように、回動するアーム部材53により薬剤を収容した箱50を供給するようにしてもよい。図12では、回転軸22に第1ギア51が一体化され、この第1ギア51と噛合する第2ギア52に設けた突起52aがアーム部材53の押圧受部53aを押圧する。これにより、アーム部材53は支軸53bを中心として反時計回り方向に回動し、その押圧部53cにより箱50が図中左方向に供給される。
【0034】
勿論、図11及び図12のいずれの構成であっても、アンプルや薬剤を収容した箱等、種々の薬剤容器の供給に使用することも可能である。
【発明の効果】
【0035】
本発明によれば、薬剤容器に衝撃力が加わることがなく、スムーズに供給することができる。
【図面の簡単な説明】
【0036】
【図1】本実施形態に係る薬剤供給装置の正面図である。
【図2】図1の薬剤供給部を示す平面図である。
【図3】図2の正面図である。
【図4】図1の側面図である。
【図5】図1の開閉アームを示す正面図である。
【図6】図1の移送部を示す正面図である。
【図7A】図1の動作状態を示す正面図である。
【図7B】図1の動作状態を示す側面図である。
【図8A】図1の動作状態を示す正面図である。
【図8B】図1の動作状態を示す側面図である。
【図9A】図1の動作状態を示す正面図である。
【図9B】図1の動作状態を示す側面図である。
【図10A】図1の動作状態を示す正面図である。
【図10B】図1の動作状態を示す側面図である。
【図11】他の実施形態に係る薬剤供給装置の正面図である。
【図12】他の実施形態に係る薬剤供給装置の正面図である。
【符号の説明】
【0037】
1 カセット
2 薬剤供給部
3 ガイド部
4 アンプル
6 開閉アーム
7 水平部
8 支持部
9 垂直部
11 リンク
12 スプリング
13 伝達部
14 押圧受部
15 ストッパ部
16 ベース
17 移送部
18 動作部
19 遮蔽板
20 移送台
21 脚部
22 回転軸
25 駆動ギア
26 被検出盤
27 補助アーム
29 モータ
30 押圧部
31 従動ギア
32 プーリ
33 ベルト
34 ガイド棒
35 回転位置検出センサ
36 係止部材
41 延設部
42 台座部
43 ピン
44 ロッド
45 スプリング
50 箱
53 アーム部材
Claims (4)
- カセット内に上下方向に整列して収容した薬剤容器を下方側から順次供給するようにした薬剤供給装置において、
前記カセットの最下端に位置する薬剤容器を保持する保持手段と、
前記カセットの下方に配置され、上下動により前記保持手段によって保持された最下端の薬剤容器を下方に移送する移送手段と、
前記移送手段を上動させ、前記保持手段によって保持された最下端の薬剤容器を持ち上げ、保持手段による保持状態を解除し、前記移送手段を所定寸法下動させながら、前記保持手段により最下端から2つ目の薬剤容器を保持した後、前記移送手段を下動させる駆動手段と、
前記移送手段により下方に移動させた薬剤容器を水平方向に搬出する搬出手段と、を備え、
前記保持手段は、下方側の水平部を接離可能に回動自在に設けた一対の開閉アームからなり、前記水平部には薬剤容器を支持する傾斜面を備えた樹脂製の支持部を備え、
前記移送手段は、前記開閉アームの支持部による支持位置よりも上方の位置と、前記搬出手段による搬出位置よりも下方の位置との間を昇降可能な移送台を備え、
前記駆動手段は単一のモータからなり、該モータの駆動力が、駆動軸、該駆動軸に一体化した、前記移送手段を作動させ、前記保持手段を作動させ、前記搬出手段を作動させるカムを介して、前記移送手段、前記保持手段及び前記搬出手段にそれぞれ伝達されるようにしたことを特徴とする薬剤供給装置。 - 前記カムは、前記駆動軸に一体化され、前記移送手段を作動させる第1カムと、前記保持手段を作動させる第2カムと、前記搬出手段を作動させる第3カムと、からなり、
前記一対の開閉アームは、スプリングによって接近する方向に付勢され、リンクを介して伝達部を第1カムで押圧されることにより開放し、
前記移送手段は、支軸を中心として回動可能に設けた補助アームが第2カムで押圧されることにより移送台を上下動させ、
前記搬出手段は、第3カムに押圧されることにより、薬剤容器を側方へ搬出することを特徴とする請求項1に記載の薬剤供給装置。 - さらに、前記カセット内に収容される各薬剤容器を検出する薬剤検出手段を備え、
前記薬剤検出手段での検出信号に基づいて、薬剤容器の欠品や詰まりであると判断すれば、薬剤容器の供給を中止するようにしたことを特徴とする請求項1又は2に記載の薬剤供給装置。 - さらに、前記薬剤容器の取出作業中であるか否かを検出する作業状態検出手段を備え、
前記作業状態検出手段での検出信号に基づいて取出作業中でないと判断すれば、薬剤容器の供給を中止するようにしたことを特徴とする請求項1から3のいずれか1項に記載の薬剤供給装置。
Applications Claiming Priority (3)
| Application Number | Priority Date | Filing Date | Title |
|---|---|---|---|
| JP2001273754 | 2001-09-10 | ||
| JP2001273754 | 2001-09-10 | ||
| PCT/JP2002/009186 WO2003022719A1 (fr) | 2001-09-10 | 2002-09-10 | Dispositif d'alimentation de contenant de medicaments |
Publications (2)
| Publication Number | Publication Date |
|---|---|
| JPWO2003022719A1 JPWO2003022719A1 (ja) | 2004-12-24 |
| JP4326331B2 true JP4326331B2 (ja) | 2009-09-02 |
Family
ID=19098925
Family Applications (1)
| Application Number | Title | Priority Date | Filing Date |
|---|---|---|---|
| JP2003526802A Expired - Fee Related JP4326331B2 (ja) | 2001-09-10 | 2002-09-10 | 薬剤供給装置 |
Country Status (10)
| Country | Link |
|---|---|
| US (1) | US20040251266A1 (ja) |
| EP (1) | EP1435334B1 (ja) |
| JP (1) | JP4326331B2 (ja) |
| KR (1) | KR100890465B1 (ja) |
| CN (1) | CN1297459C (ja) |
| AT (1) | ATE405508T1 (ja) |
| CA (1) | CA2459342A1 (ja) |
| DE (1) | DE60228463D1 (ja) |
| NO (1) | NO20041461L (ja) |
| WO (1) | WO2003022719A1 (ja) |
Cited By (1)
| Publication number | Priority date | Publication date | Assignee | Title |
|---|---|---|---|---|
| CN102390567A (zh) * | 2011-07-18 | 2012-03-28 | 宁波家联塑料科技有限公司 | 一种一次性餐具自动下料机 |
Families Citing this family (15)
| Publication number | Priority date | Publication date | Assignee | Title |
|---|---|---|---|---|
| JP4421920B2 (ja) * | 2003-09-26 | 2010-02-24 | 株式会社湯山製作所 | 薬品払出装置 |
| TWI282031B (en) * | 2004-08-31 | 2007-06-01 | Univ Tohoku Nat Univ Corp | Copper alloy and a liquid crystal display device |
| JP4737063B2 (ja) * | 2006-12-12 | 2011-07-27 | アイシン・エィ・ダブリュ株式会社 | 複数種の部品の整列切り出し装置 |
| KR101703365B1 (ko) * | 2009-02-05 | 2017-02-06 | 가부시키가이샤 유야마 세이사쿠쇼 | 약품 트레이 공급 장치 |
| EP2641855B1 (en) | 2012-03-20 | 2014-05-14 | WEGMANN automotive GmbH & Co. KG | Apparatus and method for dispensing vehicle balancing weights |
| JP5754552B2 (ja) * | 2012-05-30 | 2015-07-29 | 富士電機株式会社 | 商品収納装置 |
| US9150119B2 (en) | 2013-03-15 | 2015-10-06 | Aesynt Incorporated | Apparatuses, systems, and methods for anticipating and delivering medications from a central pharmacy to a patient using a track based transport system |
| US9511945B2 (en) | 2012-10-12 | 2016-12-06 | Aesynt Incorporated | Apparatuses, systems, and methods for transporting medications from a central pharmacy to a patient in a healthcare facility |
| CN103832761B (zh) * | 2014-03-17 | 2017-09-05 | 杭州捷控科技有限公司 | 一种盒装商品自动出货装置 |
| US9818251B2 (en) * | 2015-02-27 | 2017-11-14 | Omnicell, Inc. | Unit dose dispensing systems and methods |
| CN104960930A (zh) * | 2015-05-29 | 2015-10-07 | 四川新绿色药业科技发展股份有限公司 | 一种装药盒机构 |
| CN106144378B (zh) * | 2016-06-29 | 2018-09-14 | 苏州信亨自动化科技有限公司 | 瓶装药剂自动发药装置 |
| US10517799B2 (en) | 2017-08-31 | 2019-12-31 | Omnicell, Inc. | Unit dose dispensing mechanisms |
| CN109422099B (zh) * | 2017-08-31 | 2020-12-15 | 富士电机株式会社 | 商品排出装置 |
| CN118373219B (zh) * | 2024-06-21 | 2024-10-11 | 珠海市申科谱工业科技有限公司 | 一种tray盘上下料小车 |
Family Cites Families (22)
| Publication number | Priority date | Publication date | Assignee | Title |
|---|---|---|---|---|
| GB837911A (en) * | 1956-04-26 | 1960-06-15 | Carr Fastener Company Limtied | Improvements in and relating to the feeding of components to a panel or the like |
| CH347472A (de) * | 1956-09-21 | 1960-06-30 | Sig Schweiz Industrieges | Vorrichtung zur Abgabe einer vorbestimmten Anzahl von scheibenförmigen Gegenständen aus einem Schacht |
| US3747803A (en) * | 1971-12-23 | 1973-07-24 | Procter & Gamble | Dispenser for groups of nested articles |
| GB1368208A (en) * | 1972-02-23 | 1974-09-25 | Gen Foods Ltd | Dispensing mechanism |
| JPS5243354B2 (ja) * | 1972-11-08 | 1977-10-29 | ||
| JPS60209435A (ja) * | 1984-03-31 | 1985-10-22 | Teraoka Seiko Co Ltd | 搬送物品の受継ぎ装置 |
| US5024048A (en) * | 1990-06-15 | 1991-06-18 | The Lerio Corporation | Apparatus for dispensing containers |
| JP3241147B2 (ja) * | 1993-02-03 | 2001-12-25 | 石井工業株式会社 | ケース分離装置 |
| JP3316291B2 (ja) * | 1994-01-19 | 2002-08-19 | 三洋電機株式会社 | 自動販売機の商品搬出装置 |
| JP2804884B2 (ja) * | 1994-03-28 | 1998-09-30 | 正二 湯山 | 薬液容器の収納ケース及びそのケースを用いた容器貯留装置 |
| JPH0853228A (ja) * | 1994-08-09 | 1996-02-27 | Kubota Corp | 育苗箱分離供給装置 |
| IT238861Y1 (it) * | 1995-09-01 | 2000-11-15 | Zanussi Vending Spa | Dispositivo perfezionato per il contenimento e la distribuzionedi prodotti in confezioni separate |
| JPH1033636A (ja) * | 1996-05-03 | 1998-02-10 | Yuyama Seisakusho:Kk | 薬剤分包装置、薬瓶及び薬剤検査方法 |
| US5799824A (en) * | 1997-01-31 | 1998-09-01 | Fawn Engineering Corporation | Apparatus and method to deter breakage or deformation of vertically stacked containers during dispension from a vending machine |
| JP3808581B2 (ja) * | 1997-03-25 | 2006-08-16 | 株式会社湯山製作所 | 注射剤払出装置 |
| US5862942A (en) * | 1997-06-24 | 1999-01-26 | Kabushiki Kaisha Yuyama Seisakusho | Ampule dispenser |
| US6170230B1 (en) * | 1998-12-04 | 2001-01-09 | Automed Technologies, Inc. | Medication collecting system |
| JP2001019114A (ja) * | 1999-07-02 | 2001-01-23 | Narasaki Sangyo Kk | 棚設備 |
| JP2001052054A (ja) * | 1999-08-04 | 2001-02-23 | Fuji Xerox Co Ltd | 物品持ち出し管理システム |
| JP4582846B2 (ja) * | 2000-01-18 | 2010-11-17 | 株式会社トーショー | 薬品収納装置 |
| JP2001151309A (ja) * | 2000-10-06 | 2001-06-05 | Shoji Yuyama | 薬液入り容器の払出装置 |
| US6789696B2 (en) * | 2001-10-19 | 2004-09-14 | Yuyama Mfg. Co., Ltd. | Multi-connected ampoules dispensing apparatus |
-
2002
- 2002-09-09 KR KR1020020054302A patent/KR100890465B1/ko not_active Expired - Fee Related
- 2002-09-10 AT AT02765466T patent/ATE405508T1/de not_active IP Right Cessation
- 2002-09-10 CN CNB028167899A patent/CN1297459C/zh not_active Expired - Fee Related
- 2002-09-10 WO PCT/JP2002/009186 patent/WO2003022719A1/ja not_active Ceased
- 2002-09-10 DE DE60228463T patent/DE60228463D1/de not_active Expired - Fee Related
- 2002-09-10 CA CA002459342A patent/CA2459342A1/en not_active Abandoned
- 2002-09-10 JP JP2003526802A patent/JP4326331B2/ja not_active Expired - Fee Related
- 2002-09-10 US US10/488,876 patent/US20040251266A1/en not_active Abandoned
- 2002-09-10 EP EP02765466A patent/EP1435334B1/en not_active Expired - Lifetime
-
2004
- 2004-04-07 NO NO20041461A patent/NO20041461L/no unknown
Cited By (1)
| Publication number | Priority date | Publication date | Assignee | Title |
|---|---|---|---|---|
| CN102390567A (zh) * | 2011-07-18 | 2012-03-28 | 宁波家联塑料科技有限公司 | 一种一次性餐具自动下料机 |
Also Published As
| Publication number | Publication date |
|---|---|
| JPWO2003022719A1 (ja) | 2004-12-24 |
| EP1435334A4 (en) | 2005-04-06 |
| US20040251266A1 (en) | 2004-12-16 |
| CA2459342A1 (en) | 2003-03-20 |
| NO20041461L (no) | 2004-06-09 |
| KR20030022717A (ko) | 2003-03-17 |
| EP1435334A1 (en) | 2004-07-07 |
| DE60228463D1 (de) | 2008-10-02 |
| CN1297459C (zh) | 2007-01-31 |
| EP1435334B1 (en) | 2008-08-20 |
| ATE405508T1 (de) | 2008-09-15 |
| WO2003022719A1 (fr) | 2003-03-20 |
| KR100890465B1 (ko) | 2009-03-27 |
| CN1547548A (zh) | 2004-11-17 |
Similar Documents
| Publication | Publication Date | Title |
|---|---|---|
| JP4326331B2 (ja) | 薬剤供給装置 | |
| CA2683042C (en) | System and method for dispensing prescriptions | |
| EP0705215B1 (en) | Vacuum operated medicine dispenser | |
| WO2007132665A1 (ja) | キャップ供給装置 | |
| US20100147868A1 (en) | Apparatus for releasing drugs | |
| CN101448704B (zh) | 药片供给装置 | |
| JP4910481B2 (ja) | 錠剤充填装置 | |
| US9767635B2 (en) | Medicament dispensing machine | |
| JP2007302300A5 (ja) | ||
| US7775756B2 (en) | Bucket transfer apparatus | |
| US7644837B2 (en) | Medicine supply apparatus | |
| CN218539690U (zh) | 全自动微生物样本前处理系统 | |
| JP2011078600A (ja) | 自動薬剤供給装置 | |
| JP2003228764A (ja) | カップ式自動販売機のリッド装着装置 | |
| JP2011020694A (ja) | トレイおよびこれを用いる薬品自動払出装置 | |
| JP2003228762A (ja) | カップ式自動販売機のリッド装着装置 | |
| JP2003242561A (ja) | カップ式自動販売機のリッド装着装置 | |
| JPH06234419A (ja) | 整列機構を備えた物品取出しおよび挿入装置 | |
| JPH08133245A (ja) | 物品収納袋の開袋方法及び装置 |
Legal Events
| Date | Code | Title | Description |
|---|---|---|---|
| A621 | Written request for application examination |
Free format text: JAPANESE INTERMEDIATE CODE: A621 Effective date: 20050816 |
|
| A131 | Notification of reasons for refusal |
Free format text: JAPANESE INTERMEDIATE CODE: A131 Effective date: 20080924 |
|
| A521 | Request for written amendment filed |
Free format text: JAPANESE INTERMEDIATE CODE: A523 Effective date: 20081125 |
|
| A131 | Notification of reasons for refusal |
Free format text: JAPANESE INTERMEDIATE CODE: A131 Effective date: 20090203 |
|
| A521 | Request for written amendment filed |
Free format text: JAPANESE INTERMEDIATE CODE: A523 Effective date: 20090406 |
|
| TRDD | Decision of grant or rejection written | ||
| A01 | Written decision to grant a patent or to grant a registration (utility model) |
Free format text: JAPANESE INTERMEDIATE CODE: A01 Effective date: 20090512 |
|
| A01 | Written decision to grant a patent or to grant a registration (utility model) |
Free format text: JAPANESE INTERMEDIATE CODE: A01 |
|
| A61 | First payment of annual fees (during grant procedure) |
Free format text: JAPANESE INTERMEDIATE CODE: A61 Effective date: 20090609 |
|
| FPAY | Renewal fee payment (event date is renewal date of database) |
Free format text: PAYMENT UNTIL: 20120619 Year of fee payment: 3 |
|
| R150 | Certificate of patent or registration of utility model |
Free format text: JAPANESE INTERMEDIATE CODE: R150 |
|
| FPAY | Renewal fee payment (event date is renewal date of database) |
Free format text: PAYMENT UNTIL: 20120619 Year of fee payment: 3 |
|
| FPAY | Renewal fee payment (event date is renewal date of database) |
Free format text: PAYMENT UNTIL: 20130619 Year of fee payment: 4 |
|
| R250 | Receipt of annual fees |
Free format text: JAPANESE INTERMEDIATE CODE: R250 |
|
| R250 | Receipt of annual fees |
Free format text: JAPANESE INTERMEDIATE CODE: R250 |
|
| R250 | Receipt of annual fees |
Free format text: JAPANESE INTERMEDIATE CODE: R250 |
|
| LAPS | Cancellation because of no payment of annual fees |