JP4098397B2 - 電動流量制御弁 - Google Patents
電動流量制御弁 Download PDFInfo
- Publication number
- JP4098397B2 JP4098397B2 JP12146398A JP12146398A JP4098397B2 JP 4098397 B2 JP4098397 B2 JP 4098397B2 JP 12146398 A JP12146398 A JP 12146398A JP 12146398 A JP12146398 A JP 12146398A JP 4098397 B2 JP4098397 B2 JP 4098397B2
- Authority
- JP
- Japan
- Prior art keywords
- locking
- valve
- flow control
- control valve
- band
- Prior art date
- Legal status (The legal status is an assumption and is not a legal conclusion. Google has not performed a legal analysis and makes no representation as to the accuracy of the status listed.)
- Expired - Fee Related
Links
- 239000012530 fluid Substances 0.000 claims description 24
- 230000002093 peripheral effect Effects 0.000 claims description 12
- 239000011347 resin Substances 0.000 claims description 9
- 229920005989 resin Polymers 0.000 claims description 9
- 230000000630 rising effect Effects 0.000 claims 1
- 230000006835 compression Effects 0.000 description 8
- 238000007906 compression Methods 0.000 description 8
- 238000007789 sealing Methods 0.000 description 4
- XEEYBQQBJWHFJM-UHFFFAOYSA-N Iron Chemical compound [Fe] XEEYBQQBJWHFJM-UHFFFAOYSA-N 0.000 description 2
- 210000000078 claw Anatomy 0.000 description 2
- 230000005284 excitation Effects 0.000 description 2
- ZOXJGFHDIHLPTG-UHFFFAOYSA-N Boron Chemical compound [B] ZOXJGFHDIHLPTG-UHFFFAOYSA-N 0.000 description 1
- 229910052779 Neodymium Inorganic materials 0.000 description 1
- 229910052796 boron Inorganic materials 0.000 description 1
- 230000000694 effects Effects 0.000 description 1
- 230000037431 insertion Effects 0.000 description 1
- 238000003780 insertion Methods 0.000 description 1
- 229910052742 iron Inorganic materials 0.000 description 1
- WABPQHHGFIMREM-UHFFFAOYSA-N lead(0) Chemical compound [Pb] WABPQHHGFIMREM-UHFFFAOYSA-N 0.000 description 1
- 229910052751 metal Inorganic materials 0.000 description 1
- 239000002184 metal Substances 0.000 description 1
- QEFYFXOXNSNQGX-UHFFFAOYSA-N neodymium atom Chemical compound [Nd] QEFYFXOXNSNQGX-UHFFFAOYSA-N 0.000 description 1
- 229910001172 neodymium magnet Inorganic materials 0.000 description 1
- 239000000843 powder Substances 0.000 description 1
- 229910052761 rare earth metal Inorganic materials 0.000 description 1
- 150000002910 rare earth metals Chemical group 0.000 description 1
- 238000005057 refrigeration Methods 0.000 description 1
- 230000000717 retained effect Effects 0.000 description 1
- 238000003466 welding Methods 0.000 description 1
- 238000005491 wire drawing Methods 0.000 description 1
Images
Landscapes
- Lift Valve (AREA)
- Electrically Driven Valve-Operating Means (AREA)
Description
【発明の属する技術分野】
本発明は、ヒートポンプ式エアコンや冷凍庫などの冷凍サイクルに組み込まれて使用される電動流量制御弁に関する。
【0002】
【従来の技術】
図7に従来の電動流量制御弁100を示している。この電動流量制御弁100は、ステッピングモータ2、弁本体部3、弁体5を備え、ステッピングモータ2は円筒状のキャン7の外周に取り付けられている。弁本体部3の上部には外方向に拡大したフランジ部材6が設けられ、このフランジ部材6のフランジ6aに前記キャン7のフランジ7aが連結固定されている。キャン7の外周部にはステータヨーク8が一体的に嵌挿されている。ステータヨーク8内にはボビン9が配設され、このボビン9には外部から通電されるマグネットワイヤ10が巻回されている。
【0003】
ステータヨーク8、ボビン9およびマグネットワイヤ10の外周は、モールド11により封止されている。キャン7の内部には後述するスリーブ29に固定された磁石よりなるロータ12が配置されている。
モールド11の上部には、係止凸部15が形成された押圧係止具14が設けられている。キャン7の外周には凹部16が形成されており、係止凸部15は凹部16に嵌合され、モールド11、ステータヨーク8、ボビン9およびマグネットワイヤ10の位置決めおよび抜け止めが行なわれるようになっている。
モールド11の一側部にはコネクタピン39aを有するモータコネクタ39が設けられている。このモータコネクタ39にコネクタ56が差し込まれて電線62を介してステッピングモータ2に通電される。
【0004】
弁本体部3内には、弁室17を有し、この弁室17の側部には流体入出口19が開口され、流体入出口19には弁室17と連通する導管18が接続されている。弁室17の下部には弁体5により開閉される流体入出口21が開口されると共に、流体入出口21を通して弁室17と連通する導管20が接続されている。弁室17より上方の弁部3内には樹脂蓋33が固定され、この樹脂蓋33に弁室17内に垂下するようにガイドブッシュ23が内嵌固定されている。このガイドブッシュ23の内周部には雌ねじ部22が螺刻されている。樹脂蓋33にはストッパ31が設けられ、後述するスリーブ29の下端の可動側ストッパ28と衝接するようになっている。
【0005】
ガイドブッシュ23の雌ねじ部22には、ホルダ24の外周に螺刻された雄ねじ部25が螺合し、ホルダ24の内周下部にはフランジ5a付きの弁体5が摺動自在に嵌挿されている。ホルダ24の下部には弁体5のフランジ5aを受けるカラー26が圧入固定され、弁体5はホルダ24内に縮装された圧縮コイルばね27により常時下方に付勢されている。
前記ホルダ24は筒状のロータ12の内側に嵌着されたスリーブ29に固着されている。スリーブ29の上端部とキャン7との間には復帰用コイルばね70が設けられている。
【0006】
従来の電動流量制御弁1は、以上の如く構成されているので、流体入出口21を閉じる場合は、マグネットワイヤ10を一方向に通電励磁し、ロータ12、スリーブ29、弁軸4およびホルダ24を一体的に回転する。これにより、雌ねじ部22と雄ねじ部25との螺合によるねじ送りにより弁体5が下降し、弁体5により流体入出口21が閉じられる。
流体入出口21が閉じられた時点では、可動側ストッパ28が固定側ストッパ31に衝接しておらず、弁体5が流体入出口21を閉じたまま、ホルダ24をさらに回転下降する。このとき、弁体5に対するホルダ24の下降量は、圧縮コイルばね27が圧縮することにより吸収され、さらに、ホルダ24を回転下降すると、可動側ストッパ28が固定側ストッパ31に衝接する。これにより、ロータ12への通電励磁が続行されていても、スリーブ29、弁軸4、ホルダ24の回転下降運動は強制的に停止される。
流体入出口21を開くときは、マグネットワイヤ10を他方向に通電励磁し、ロータ12、スリーブ29、弁軸4およびホルダ24を逆回転させることにより、雌ねじ部22と雄ねじ部25との螺合によるねじ送りにより弁体5を上昇させ、流体入出口21を開口する。
【0007】
【発明が解決しようとする課題】
ところで、前記提案の如き電動流量制御弁100は、ステータヨーク8、ボビン9およびマグネットワイヤ10を封止しているモールド体11の上部には、係止凸部15が形成された押圧係止具14が設けられており、係止凸部15がキャン7の外周に形成された凹部16に嵌合され、モールド体11、ステータヨーク8、ボビン9およびマグネットワイヤ10の位置決めおよび抜け止めが行なわれているので、係止凸部15が凹部16から外れるとモールド体11と、キャン7内のロータ12との位置がずれてしまうという問題があった。
本発明は、前記のような問題点に鑑みなされたもので、その目的とするところは、キャンに対するモールド体の位置決め状態が安定しており、位置決め操作が容易であり、ロータとマグネットワイヤの位置が最適な位置に設定される電動流量制御弁を提供するにある。
【0008】
【課題を解決するための手段】
前記の目的を達成するべく、本発明に係る電動流量制御弁は、弁本体部に固着されたキャンと、該キャンの外周面に取り付けられかつステータヨークとマグネットワイヤとが樹脂でモールドされたモールド体と、前記キャン内に配置されて前記モールド体により電磁的に回転されるロータと、該ロータの回転により昇降し前記弁本体部内の弁室に形成された流体入出口を開閉する弁体と、を有するものである。
【0009】
そして、本発明に係る電動流量制御弁は、前記キャンの上端中央部に備えた凸部に固着される係止キャップと、前記モールド体の上面に取り付けられる固定バンドと、を備え、
前記係止キャップは、前記キャンの上面に沿って径方向に延伸する複数の係止片と、該各係止片に突出形成されるリブと、を備えている。
【0010】
本発明に係る電動流量制御弁の前記固定バンドは、一対の延伸する直線状端部と、その両端に前記一対の直線状端部を各々を一体に連接形成すると共に前記キャンの外周面に弾性的に嵌着されるリング部分と、該リング部分の下縁に一体に形成された止め孔を有する止め片と、前記リング部分の上縁に一体に形成されて前記キャンの外周面にそって立ち上がって前記係止キャップの前記リブの1つに係合される逆L字状の係止片とを、備え、前記モールド体の上面には、前記係止バンドの前記止め孔が嵌合される係止凸部と、前記係止バンドの前記直線状端部がスナップ的に係合される一対の係合片と、が一体に突出形成され、前記固定バンドの前記逆L字状の係止片を前記係止キャップの前記リブの1つに係合させ、かつ前記固定バンドの前記止め孔を前記モールド体の前記係止凸部に係止するとともに、前記固定バンドの一対の前記直線状端部を前記モールド体の一対の前記係合片に係止して前記リング部分を前記キャンの外周面に弾性的に挟着させることにより、前記モールド体を前記キャンに位置決め固定することを特徴としている。
【0011】
従って、本発明によれば、固定バンドの止め孔を係止凸部に係止させると共に、直線部を接近する方向に引き寄せて係合片に係合させることにより、固定バンドが上面部に固定され、次いで、係止キャップが凸部に嵌め込まれたキャンをモールド体の開口部に挿入して固定バンドの内側に位置せしめた後、位置決めのためステッピングモータをキャンの回りで回動させることにより、固定バンドも一緒に回動し、固定バンドの係止片の上辺部と舌片との間に係止キャップの係止片が入り、係止片のリブが切欠溝にカチッと嵌まり、固定バンドが係止キャップに係止されることにより、ステッピングモータはそのロータとコイルの位置が最適の位置に設定される。
【0012】
【発明の実施の形態】
以下、本発明の実施の形態を図面に基づいて詳細に説明する。実施の形態を説明するに当たって、従来例と同一機能を奏するものは同じ符号を付して説明する。
図1に示す電動流量制御弁1は、ステッピングモータ2、弁本体部3、弁体5を備え、ステッピングモータ2は円筒状のキャン7の外周に取り付けられている。キャン7は弁本体部3と外径が同一であり、弁本体部3の上端縁に形成された段差部3aに前記キャン7の下端部を嵌合して溶接することにより、キャン7は弁本体部3に連結固定されている。
【0013】
キャン7の外周部には前記ステッピングモータ2のステータヨーク8が嵌挿されている。ステータヨーク8内にはボビン9が配設され、このボビン9には外部から通電されるマグネットワイヤ10が巻回されている。ステータヨーク8、ボビン9およびマグネットワイヤ10は、樹脂モールドによりその外周が封止されてモールド体11を構成し、キャン7の内部には後述するスリーブ29に固定されたボンド磁石よりなるロータ12が配置されている。モールド体11の一側部にはコネクタハウジング38が設けられ、その内部にモータコネクタ39およびコネクタピン39aが設けられている。
【0014】
前記ロータ12は、希土類のボンド磁石、すなわちネオジウム・鉄・ボロン(Nd−Fe−B)系粉末を樹脂にて結合させたボンド磁石で構成することが好ましい。これにより、ロータ12の磁気特性を向上させることができるので、ロータ12の径の小型化が可能となる。
弁本体部3内には、弁室17を有し、この弁室17の側部には流体入出口19が開口され、流体入出口19には弁室17と連通する導管18が接続されている。弁室17の下部には弁体5により開閉される流体入出口21が開口されると共に、流体入出口21を通して弁室17と連通する導管20が接続されている。
【0015】
弁室17より上部の弁本体部3内には弁室17内に垂下するようにガイドブッシュ23が内嵌固定されている。このガイドブッシュ23の内周部には雌ねじ部22が螺刻されている。ガイドブッシュ23の上端にはストッパ31が設けられ、後述するスリーブ29の下端の可動側ストッパ28と衝接するようになっている。
ガイドブッシュ23の雌ねじ部22には、ホルダ24の外周に螺刻された雄ねじ部25が螺合し、ホルダ24の内周下部にはフランジ5a付きの弁体5が摺動自在に嵌挿されている。ホルダ24の下部には弁体5のフランジ5aを受けるカラー26が圧入固定されている。ガイドブッシュ23の外周には、弁室17とキャン7内とを均等圧にするスパイラル状の流体通路65が形成されている(図6参照)。
【0016】
前記ホルダ24は筒状のロータ12の内側に嵌着されたスリーブ29に固着されている。スリーブ29には冷凍機油戻し孔40が形成されている。ホルダ24には前記弁軸4が摺動自在に嵌挿され、該弁軸4の上端は、キャン7の上端部に形成された凸部41内に嵌着されたストッパ部材42のガイド孔43に侵入するようになっている。弁軸4の下端のフランジ部4aと前記弁体5のフランジ部5aとの間に、圧縮コイルばね27が設けられ、弁体5は該圧縮コイルばね27により常時下方に、弁軸4は常時上方に付勢されている。
【0017】
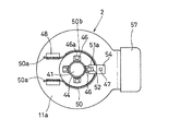
図2ないし図4において、キャン7の上端部はステッピングモータ2の開口部2aから突出する。前記キャン7の凸部41には係止キャップ44が取り付けられる。この係止キャップ44は筒部45の下端に水平方向の折曲された4本の係止片46が形成され、この係止片46にリブ46aが形成されたもので、筒部45を凸部41に嵌め込み、加締め71により固定する。キャン7の肩部7aは,図1に示すように、外方に向く下り傾斜となっているため、係止片46と肩部7aとの間に隙間Gが形成された状態となる。
【0018】
前記ステッピングモータ2のモールド体11の平坦な上面部11aには、係止凸部47および該係止凸部47の反対側に位置する一対の係合片48が形成されている。
このキャン7の上端部分は、図2〜4に示すように、固定バンド50内に挿入されている。この固定バンド50は、両端に直線部50aが一体に連接形成された略リング状のリング部分50bの弾性金属部材からなり、リング部分50bの上縁に逆L字形の係止片51が形成されている。この係止片51の上辺部51aには切欠溝52と切起こし舌片53が形成されている。また、リング部分の下縁には水平に折曲された止め片54が形成され、この止め片54に止め孔55が形成されている(図4参照)。
【0019】
固定バンド50の止め孔55を係止凸部47に係止させると共に、直線部50aを接近する方向に引き寄せて係合片48に係合させる。これにより、固定バンド50が上面部11aに固定される。
次いで、係止キャップ44が凸部41に嵌め込まれたキャン7をモールド体11の開口部2aに挿入して固定バンド50の内側に位置せしめた後、位置決めのためステッピングモータ2のモールド体11をキャン7の回りで回動させる。これにより、固定バンド50も一緒に回動し、固定バンド50の係止片51の上辺部51aと舌片53との間に係止キャップ44の係止片46が入り、係止片46のリブ46aが切欠溝52にカチッと嵌まり、固定バンド50が係止キャップ44に係止される。これにより、ステッピングモータ2はそのキャン7内のロータと、モールド体11内のマグネットワイヤ10の位置が最適の位置に設定される。
【0020】
前記モータコネクタ39と電線側のコネクタ56との接続構造例を図4に示している。
図4において、コネクタ56は横向きに接続部56aが形成され、これと略直角をなす下向きに電線引出し部56bが形成されている。この電線引出し部56bを下に向けて接続部56aをモータコネクタ39に差し込んだ後、図1のように一側面と下面が開口している箱形のカバー57をコネクタハウジング38の外側に装着する。カバー57の内側面にはリブ58が形成され、このリブ58の両下端には係止爪59が形成されている。この係止爪59をコネクタハウジング38の溝60に沿ってスライドさせて挿入し、コネクタハウジング38の下端に係止させる。最後にカバー57の内側の空間部に樹脂により封止61を行う(図1参照)。これにより、リード電線62が下方向に向けて配線される。
【0021】
また、図5(a)の他の実施の形態に示す如く、下部開口で前面に蓋部38aが形成されているコネクタハウジング38がステッピングモータ2のモールド11に一体化されており、コネクタ56を差し込んだ後、蓋部38aを閉じ、図5(b)のように樹脂により封止61を行うことも可能である。
以上の如く構成され電動流量制御弁1は、流体入出口21を閉じる場合は、マグネットワイヤ10を一方向に通電励磁し、ロータ12、スリーブ29、弁軸4およびホルダ24を一体的に回転する。これにより、雌ねじ部22と雄ねじ部25との螺合によるねじ送りによりホルダ24が下降し、これに伴って弁体5が下降し、弁体5により流体入出口21が閉じられる。
【0022】
流体入出口21が閉じられた時点では、可動側ストッパ28が固定側ストッパ31に衝接しておらず、弁体5が流体入出口21を閉じたまま、ホルダ24をさらに回転下降する。このとき、弁体5に対するホルダ24の下降量は、圧縮コイルばね27が圧縮することにより吸収され、さらに、ホルダ24を回転下降すると、可動側ストッパ28が固定側ストッパ31に衝接する(図1参照)。これにより、ロータ12への通電励磁が続行されていても、スリーブ29、弁軸4、ホルダ24の回転下降運動は強制的に停止される。
【0023】
流体入出口21を開くときは、マグネットワイヤ10を他方向に通電励磁し、ロータ12、スリーブ29、弁軸4およびホルダ24を逆回転させることにより、雌ねじ部22と雄ねじ部25との螺合によるねじ送りによりホルダ24が上昇し、これにより、弁体5が上昇して流体入出口21を開口する。ホルダ24の上昇により弁軸4も上昇し、弁軸4の上端はストッパ部材42のガイド孔43に侵入し、ストッパ部材42に当たって停止するが、コイルスプリング27を圧縮しながらホルダ24は少し上昇する。コイルスプリング27を圧縮力により弁体5には下向きの力が働き、カラー26を介してホルダ24に下向きの力が作用するため、万一雄ねじ25と雌ねじ22の螺合が外れても、次の下降時の螺合操作がスムーズに行われる。
【0024】
以上のように、本実施の形態によれば、キャン7を弁本体部3と同一径に構成したので、従来のようなフランジ部材6が不要となり、キャン7が小径の小型化された電動流量制御弁とすることができる。また、コネクタ50は、モータコネクタ39への接続部56aと電線引出し部56bが略直角をなす構造としたので、電線62をキャン7と平行に配設することが可能となり、配線スペースを小さくすることができる。
さらにまた、ホルダ24の上下に弁軸4と弁体5を摺動自在に取り付け、この弁軸4と弁体5の間に圧縮コイルばね27を設けた構造としたので、従来、上下に2個のバネ27、42を必要としていたのを1個にすることができ、小型化および部品点数の削減が可能となる。
【0025】
【発明の効果】
以上の説明から理解されるように、本発明の電動流量制御弁は、キャンに対してステータヨーク、ボビンおよびマグネットワイヤを封止しているモールド体を容易に位置決めして固定でき、位置決め状態が安定し、ロータとマグネットワイヤの位置が最適な位置に設定される電動流量制御弁とすることができる。
【図面の簡単な説明】
【図1】本発明の電動流量制御弁の一実施の形態を示す断面図。
【図2】本発明の電動流量制御弁の平面図。
【図3】本発明の電動流量制御弁の斜視図。
【図4】本発明の電動流量制御弁の分解斜視図。
【図5】コネクタ部分の他の構造例を示すもので、(a)は組付け前の斜視図、(b)は完成後の斜視図。
【図6】本発明の電動流量制御弁に使用されるガイドブッシュの斜視図。
【図7】従来電動流量制御弁の断面図。
【符号の説明】
1 電動流量制御弁
2 ステッピングモータ
3 弁本体部
4 弁軸
4a フランジ
5 弁体
5a フランジ
7 キャン
12 ロータ
17 弁室
22 雌ねじ
23 ガイドブッシュ
24 ホルダ
25 雄ねじ
26 カラー
27 圧縮コイルばね
39 モータコネクタ
41 凸部
44 係止キャップ
50 係止バンド
56 コネクタ
56a 接続部
56b 電線引出し部
65 流体通路
Claims (1)
- 弁本体部に固着されたキャンと、該キャンの外周面に取り付けられかつステータヨークとマグネットワイヤとが樹脂でモールドされたモールド体と、前記キャン内に配置されて前記モールド体により電磁的に回転されるロータと、該ロータの回転により昇降し前記弁本体部内の弁室に形成された流体入出口を開閉する弁体と、を有する電動流量制御弁であって、
該電動流量制御弁は、前記キャンの上端中央部に備えた凸部に固着される係止キャップと、前記モールド体の上面に取り付けられる固定バンドと、を備え、
前記係止キャップは、前記キャンの上面に沿って径方向に延伸する複数の係止片と、該各係止片に突出形成されるリブと、を備え、
前記固定バンドは、一対の延伸する直線状端部と、その両端に前記一対の直線状端部を各々を一体に連接形成すると共に前記キャンの外周面に弾性的に嵌着されるリング部分と、該リング部分の下縁に一体に形成された止め孔を有する止め片と、前記リング部分の上縁に一体に形成されて前記キャンの外周面にそって立ち上がって前記係止キャップの前記リブの1つに係合される逆L字状の係止片とを、備え、
前記モールド体の上面には、前記係止バンドの前記止め孔が嵌合される係止凸部と、前記係止バンドの前記直線状端部がスナップ的に係合される一対の係合片と、が一体に突出形成され、
前記固定バンドの前記逆L字状の係止片を前記係止キャップの前記リブの1つに係合させ、かつ前記固定バンドの前記止め孔を前記モールド体の前記係止凸部に係止するとともに、前記固定バンドの一対の前記直線状端部を前記モールド体の一対の前記係合片に係止して前記リング部分を前記キャンの外周面に弾性的に挟着させることにより、前記モールド体を前記キャンに位置決め固定することを特徴とする電動流量制御弁。
Priority Applications (1)
| Application Number | Priority Date | Filing Date | Title |
|---|---|---|---|
| JP12146398A JP4098397B2 (ja) | 1998-04-30 | 1998-04-30 | 電動流量制御弁 |
Applications Claiming Priority (1)
| Application Number | Priority Date | Filing Date | Title |
|---|---|---|---|
| JP12146398A JP4098397B2 (ja) | 1998-04-30 | 1998-04-30 | 電動流量制御弁 |
Related Child Applications (1)
| Application Number | Title | Priority Date | Filing Date |
|---|---|---|---|
| JP2007211033A Division JP4681585B2 (ja) | 2007-08-13 | 2007-08-13 | 電動流量制御弁 |
Publications (2)
| Publication Number | Publication Date |
|---|---|
| JPH11315948A JPH11315948A (ja) | 1999-11-16 |
| JP4098397B2 true JP4098397B2 (ja) | 2008-06-11 |
Family
ID=14811769
Family Applications (1)
| Application Number | Title | Priority Date | Filing Date |
|---|---|---|---|
| JP12146398A Expired - Fee Related JP4098397B2 (ja) | 1998-04-30 | 1998-04-30 | 電動流量制御弁 |
Country Status (1)
| Country | Link |
|---|---|
| JP (1) | JP4098397B2 (ja) |
Cited By (2)
| Publication number | Priority date | Publication date | Assignee | Title |
|---|---|---|---|---|
| US12072039B2 (en) | 2018-12-20 | 2024-08-27 | Danfoss A/S | Electric expansion valve |
| US12117215B2 (en) | 2018-12-20 | 2024-10-15 | Danfoss A/S | Valve having a motor arranged inside a tube having sections with different diameters |
Families Citing this family (8)
| Publication number | Priority date | Publication date | Assignee | Title |
|---|---|---|---|---|
| JP2003056733A (ja) * | 2001-08-08 | 2003-02-26 | Saginomiya Seisakusho Inc | 流量制御弁のコイルの固定構造 |
| JP4684305B2 (ja) * | 2001-09-03 | 2011-05-18 | 株式会社鷺宮製作所 | 電動弁 |
| JP3723796B2 (ja) | 2002-10-11 | 2005-12-07 | 三菱電機株式会社 | 自動変速装置の変速制御弁操作用アクチュエータ |
| KR100455522B1 (ko) * | 2002-10-16 | 2004-11-06 | (주)씨엔에스 | 유량조절장치 및 방법 |
| JP4855861B2 (ja) * | 2006-07-27 | 2012-01-18 | 株式会社鷺宮製作所 | 電動式コントロールバルブ |
| JP2011169441A (ja) * | 2010-02-22 | 2011-09-01 | Mitsubishi Materials Cmi Corp | 高圧シャットバルブ機構 |
| JP2013108535A (ja) * | 2011-11-18 | 2013-06-06 | Saginomiya Seisakusho Inc | 電動弁 |
| KR20220020400A (ko) * | 2018-08-17 | 2022-02-18 | 제지앙 둔안 아트피셜 인바이런먼트 컴퍼니 리미티드 | 전자 팽창 밸브 |
Family Cites Families (17)
| Publication number | Priority date | Publication date | Assignee | Title |
|---|---|---|---|---|
| JPS5644267U (ja) * | 1979-09-14 | 1981-04-21 | ||
| JPS5929189Y2 (ja) * | 1979-10-11 | 1984-08-22 | 東邦ガス工業株式会社 | 電磁弁 |
| JPS58170475U (ja) * | 1982-05-11 | 1983-11-14 | 太平洋工業株式会社 | 比例制御弁 |
| JPH0220550Y2 (ja) * | 1985-03-23 | 1990-06-05 | ||
| JPH0332945Y2 (ja) * | 1985-05-13 | 1991-07-12 | ||
| JPH0310446Y2 (ja) * | 1985-10-07 | 1991-03-14 | ||
| JPH0247822Y2 (ja) * | 1986-07-17 | 1990-12-14 | ||
| JPH0319175U (ja) * | 1989-03-28 | 1991-02-25 | ||
| JP2558000Y2 (ja) * | 1991-03-18 | 1997-12-17 | 太平洋工業株式会社 | 絞り機能および逆止機能を備えた電磁弁 |
| JPH06140235A (ja) * | 1992-10-29 | 1994-05-20 | Seiko Epson Corp | 一体成形磁石体および一体成形磁石の製造方法 |
| JPH0640542U (ja) * | 1992-11-05 | 1994-05-31 | 株式会社テージーケー | 電動弁 |
| JP3126270B2 (ja) * | 1993-10-20 | 2001-01-22 | 株式会社不二工機 | 電動流量制御弁、該弁用ロータ、及び、該ロータの製造方法 |
| JPH0851744A (ja) * | 1994-08-08 | 1996-02-20 | Fuji Koki Seisakusho:Kk | 電動機器コイルのコネクタ装置と該コネクタ装置に用いるハーネスの製造方法 |
| JPH09170664A (ja) * | 1995-10-18 | 1997-06-30 | Fuji Koki:Kk | 電動弁 |
| JPH09217853A (ja) * | 1996-02-08 | 1997-08-19 | Fuji Koki:Kk | 電動弁 |
| JP3679492B2 (ja) * | 1996-03-05 | 2005-08-03 | 株式会社鷺宮製作所 | 電動式コントロールバルブ |
| JP3362825B2 (ja) * | 1996-03-21 | 2003-01-07 | 株式会社不二工機 | 電動弁 |
-
1998
- 1998-04-30 JP JP12146398A patent/JP4098397B2/ja not_active Expired - Fee Related
Cited By (2)
| Publication number | Priority date | Publication date | Assignee | Title |
|---|---|---|---|---|
| US12072039B2 (en) | 2018-12-20 | 2024-08-27 | Danfoss A/S | Electric expansion valve |
| US12117215B2 (en) | 2018-12-20 | 2024-10-15 | Danfoss A/S | Valve having a motor arranged inside a tube having sections with different diameters |
Also Published As
| Publication number | Publication date |
|---|---|
| JPH11315948A (ja) | 1999-11-16 |
Similar Documents
| Publication | Publication Date | Title |
|---|---|---|
| CN100404900C (zh) | 用于压缩机的电磁离合器的励磁线圈组件 | |
| JP4098397B2 (ja) | 電動流量制御弁 | |
| CN105518361B (zh) | 低成本电磁阀 | |
| JP2001050415A (ja) | 電動弁 | |
| JP4681585B2 (ja) | 電動流量制御弁 | |
| JP4684305B2 (ja) | 電動弁 | |
| US7816819B2 (en) | Motor with cover member intergrally formed with a stator and holding a connector pin | |
| CN112413209A (zh) | 电动阀 | |
| JP2627868B2 (ja) | 電動弁 | |
| JPH08170753A (ja) | 電動流量制御弁 | |
| KR100889016B1 (ko) | 전동밸브 | |
| JP7686278B2 (ja) | 電動弁 | |
| US20020118085A1 (en) | Solenoid having an elastomeric retaining device and method of manufacturing same without potting | |
| JP4490063B2 (ja) | 電動弁 | |
| CN211429070U (zh) | 电动机及阀芯驱动装置 | |
| CN114977550B (zh) | 电动阀用定子及电动阀 | |
| JP4615693B2 (ja) | 電動式コントロールバルブ | |
| JPH08159321A (ja) | 電動流量制御弁 | |
| JPH1030744A (ja) | 電動流量制御弁 | |
| KR100609017B1 (ko) | 전동 팽창 밸브의 결합 구조 | |
| CN223595160U (zh) | 一种电磁阀 | |
| KR100614081B1 (ko) | 필드코일 어셈블리 | |
| JP2563103Y2 (ja) | モールドモータのロータ部位置決め装置 | |
| CN1987167B (zh) | 电动阀 | |
| JP2001004057A (ja) | 電動弁 |
Legal Events
| Date | Code | Title | Description |
|---|---|---|---|
| A621 | Written request for application examination |
Free format text: JAPANESE INTERMEDIATE CODE: A621 Effective date: 20041109 |
|
| A977 | Report on retrieval |
Free format text: JAPANESE INTERMEDIATE CODE: A971007 Effective date: 20070530 |
|
| A131 | Notification of reasons for refusal |
Free format text: JAPANESE INTERMEDIATE CODE: A131 Effective date: 20070612 |
|
| A521 | Written amendment |
Free format text: JAPANESE INTERMEDIATE CODE: A523 Effective date: 20070813 |
|
| A131 | Notification of reasons for refusal |
Free format text: JAPANESE INTERMEDIATE CODE: A131 Effective date: 20071204 |
|
| A521 | Written amendment |
Free format text: JAPANESE INTERMEDIATE CODE: A523 Effective date: 20080131 |
|
| TRDD | Decision of grant or rejection written | ||
| A01 | Written decision to grant a patent or to grant a registration (utility model) |
Free format text: JAPANESE INTERMEDIATE CODE: A01 Effective date: 20080311 |
|
| A61 | First payment of annual fees (during grant procedure) |
Free format text: JAPANESE INTERMEDIATE CODE: A61 Effective date: 20080313 |
|
| R150 | Certificate of patent or registration of utility model |
Free format text: JAPANESE INTERMEDIATE CODE: R150 |
|
| FPAY | Renewal fee payment (event date is renewal date of database) |
Free format text: PAYMENT UNTIL: 20110321 Year of fee payment: 3 |
|
| FPAY | Renewal fee payment (event date is renewal date of database) |
Free format text: PAYMENT UNTIL: 20110321 Year of fee payment: 3 |
|
| FPAY | Renewal fee payment (event date is renewal date of database) |
Free format text: PAYMENT UNTIL: 20120321 Year of fee payment: 4 |
|
| FPAY | Renewal fee payment (event date is renewal date of database) |
Free format text: PAYMENT UNTIL: 20120321 Year of fee payment: 4 |
|
| FPAY | Renewal fee payment (event date is renewal date of database) |
Free format text: PAYMENT UNTIL: 20130321 Year of fee payment: 5 |
|
| FPAY | Renewal fee payment (event date is renewal date of database) |
Free format text: PAYMENT UNTIL: 20130321 Year of fee payment: 5 |
|
| FPAY | Renewal fee payment (event date is renewal date of database) |
Free format text: PAYMENT UNTIL: 20140321 Year of fee payment: 6 |
|
| R250 | Receipt of annual fees |
Free format text: JAPANESE INTERMEDIATE CODE: R250 |
|
| R250 | Receipt of annual fees |
Free format text: JAPANESE INTERMEDIATE CODE: R250 |
|
| R250 | Receipt of annual fees |
Free format text: JAPANESE INTERMEDIATE CODE: R250 |
|
| R250 | Receipt of annual fees |
Free format text: JAPANESE INTERMEDIATE CODE: R250 |
|
| LAPS | Cancellation because of no payment of annual fees |