JP4088728B2 - 平面モータ装置、駆動装置及び露光装置 - Google Patents

平面モータ装置、駆動装置及び露光装置 Download PDF

Info

Publication number
JP4088728B2
JP4088728B2 JP19387898A JP19387898A JP4088728B2 JP 4088728 B2 JP4088728 B2 JP 4088728B2 JP 19387898 A JP19387898 A JP 19387898A JP 19387898 A JP19387898 A JP 19387898A JP 4088728 B2 JP4088728 B2 JP 4088728B2
Authority
JP
Japan
Prior art keywords
motor device
base
vacuum chamber
moving surface
planar motor
Prior art date
Legal status (The legal status is an assumption and is not a legal conclusion. Google has not performed a legal analysis and makes no representation as to the accuracy of the status listed.)
Expired - Fee Related
Application number
JP19387898A
Other languages
English (en)
Other versions
JP2000032733A5 (ja
JP2000032733A (ja
Inventor
慶一 田中
Current Assignee (The listed assignees may be inaccurate. Google has not performed a legal analysis and makes no representation or warranty as to the accuracy of the list.)
Nikon Corp
Original Assignee
Nikon Corp
Priority date (The priority date is an assumption and is not a legal conclusion. Google has not performed a legal analysis and makes no representation as to the accuracy of the date listed.)
Filing date
Publication date
Application filed by Nikon Corp filed Critical Nikon Corp
Priority to JP19387898A priority Critical patent/JP4088728B2/ja
Priority to EP99933725A priority patent/EP1064713A4/en
Priority to AU49720/99A priority patent/AU4972099A/en
Priority to PCT/US1999/015278 priority patent/WO2000003301A2/en
Publication of JP2000032733A publication Critical patent/JP2000032733A/ja
Publication of JP2000032733A5 publication Critical patent/JP2000032733A5/ja
Application granted granted Critical
Publication of JP4088728B2 publication Critical patent/JP4088728B2/ja
Anticipated expiration legal-status Critical
Expired - Fee Related legal-status Critical Current

Links

Images

Classifications

    • GPHYSICS
    • G03PHOTOGRAPHY; CINEMATOGRAPHY; ANALOGOUS TECHNIQUES USING WAVES OTHER THAN OPTICAL WAVES; ELECTROGRAPHY; HOLOGRAPHY
    • G03FPHOTOMECHANICAL PRODUCTION OF TEXTURED OR PATTERNED SURFACES, e.g. FOR PRINTING, FOR PROCESSING OF SEMICONDUCTOR DEVICES; MATERIALS THEREFOR; ORIGINALS THEREFOR; APPARATUS SPECIALLY ADAPTED THEREFOR
    • G03F7/00Photomechanical, e.g. photolithographic, production of textured or patterned surfaces, e.g. printing surfaces; Materials therefor, e.g. comprising photoresists; Apparatus specially adapted therefor
    • G03F7/70Microphotolithographic exposure; Apparatus therefor
    • G03F7/70691Handling of masks or workpieces
    • G03F7/70716Stages
    • GPHYSICS
    • G03PHOTOGRAPHY; CINEMATOGRAPHY; ANALOGOUS TECHNIQUES USING WAVES OTHER THAN OPTICAL WAVES; ELECTROGRAPHY; HOLOGRAPHY
    • G03FPHOTOMECHANICAL PRODUCTION OF TEXTURED OR PATTERNED SURFACES, e.g. FOR PRINTING, FOR PROCESSING OF SEMICONDUCTOR DEVICES; MATERIALS THEREFOR; ORIGINALS THEREFOR; APPARATUS SPECIALLY ADAPTED THEREFOR
    • G03F7/00Photomechanical, e.g. photolithographic, production of textured or patterned surfaces, e.g. printing surfaces; Materials therefor, e.g. comprising photoresists; Apparatus specially adapted therefor
    • G03F7/70Microphotolithographic exposure; Apparatus therefor
    • G03F7/70691Handling of masks or workpieces
    • G03F7/70758Drive means, e.g. actuators, motors for long- or short-stroke modules or fine or coarse driving
    • GPHYSICS
    • G03PHOTOGRAPHY; CINEMATOGRAPHY; ANALOGOUS TECHNIQUES USING WAVES OTHER THAN OPTICAL WAVES; ELECTROGRAPHY; HOLOGRAPHY
    • G03FPHOTOMECHANICAL PRODUCTION OF TEXTURED OR PATTERNED SURFACES, e.g. FOR PRINTING, FOR PROCESSING OF SEMICONDUCTOR DEVICES; MATERIALS THEREFOR; ORIGINALS THEREFOR; APPARATUS SPECIALLY ADAPTED THEREFOR
    • G03F7/00Photomechanical, e.g. photolithographic, production of textured or patterned surfaces, e.g. printing surfaces; Materials therefor, e.g. comprising photoresists; Apparatus specially adapted therefor
    • G03F7/70Microphotolithographic exposure; Apparatus therefor
    • G03F7/708Construction of apparatus, e.g. environment aspects, hygiene aspects or materials
    • G03F7/70858Environment aspects, e.g. pressure of beam-path gas, temperature
    • HELECTRICITY
    • H02GENERATION; CONVERSION OR DISTRIBUTION OF ELECTRIC POWER
    • H02KDYNAMO-ELECTRIC MACHINES
    • H02K41/00Propulsion systems in which a rigid body is moved along a path due to dynamo-electric interaction between the body and a magnetic field travelling along the path
    • H02K41/02Linear motors; Sectional motors
    • H02K41/03Synchronous motors; Motors moving step by step; Reluctance motors
    • H02K41/031Synchronous motors; Motors moving step by step; Reluctance motors of the permanent magnet type
    • HELECTRICITY
    • H02GENERATION; CONVERSION OR DISTRIBUTION OF ELECTRIC POWER
    • H02KDYNAMO-ELECTRIC MACHINES
    • H02K2201/00Specific aspects not provided for in the other groups of this subclass relating to the magnetic circuits
    • H02K2201/18Machines moving with multiple degrees of freedom

Landscapes

  • Physics & Mathematics (AREA)
  • Engineering & Computer Science (AREA)
  • General Physics & Mathematics (AREA)
  • Health & Medical Sciences (AREA)
  • Combustion & Propulsion (AREA)
  • Chemical & Material Sciences (AREA)
  • Epidemiology (AREA)
  • Public Health (AREA)
  • Life Sciences & Earth Sciences (AREA)
  • Atmospheric Sciences (AREA)
  • Toxicology (AREA)
  • Environmental & Geological Engineering (AREA)
  • Electromagnetism (AREA)
  • Power Engineering (AREA)
  • Exposure And Positioning Against Photoresist Photosensitive Materials (AREA)
  • Linear Motors (AREA)
  • Container, Conveyance, Adherence, Positioning, Of Wafer (AREA)
  • Exposure Of Semiconductors, Excluding Electron Or Ion Beam Exposure (AREA)
  • Motor Or Generator Cooling System (AREA)

Description

【0001】
【発明の属する技術分野】
本発明は、平面モータ装置及び露光装置に係り、さらに詳しくは、磁石ユニットを含む可動子を電磁力により2次元方向に駆動する平面モータ装置、及び該平面モータ装置を基板ステージ装置に用いた露光装置に関する。
【0002】
【従来の技術】
従来より、半導体素子、液晶表示素子等を製造するためのリソグラフィ工程では、マスク又はレチクル(以下、「レチクル」と総称する)に形成されたパターンを投影光学系を介してレジスト等が塗布されたウエハ又はガラスプレート等の基板上に転写する露光装置が用いられている。
【0003】
この露光装置では、ウエハを高精度に露光位置に位置決めする必要があるため、ウエハはウエハホルダ上に真空吸着等によって保持され、このウエハホルダがウエハテーブル上に固定されている。
【0004】
最近では、ウエハをより高速に、機械的な案内面の精度等に影響されず高精度に位置決めするとともに、かつ機械的な摩擦を回避して長寿命とするために、ウエハが載置されたテーブルを非接触で2次元方向に駆動することにより、ウエハを位置決めするステージ装置が開発されている。かかる非接触駆動のステージ装置の駆動源としては、可変磁気抵抗駆動方式のリニアパルスモータを2軸分結合させた構造の平面モータが、知られている。
【0005】
可変磁気抵抗駆動方式の平面モータとしては、現状では、ソイヤモータのように可変磁気抵抗駆動方式のリニアパルスモータを2軸分結合させた構造が主流である。この可変磁気抵抗駆動方式のリニアパルスモータは、例えば、凸凹状の歯部が長手方向に沿って等間隔に形成された板状の磁性体によって構成された固定子と、該固定子の凸凹状の歯部と対向し、この凸凹状歯部とは異なる位相の凸凹部を有する複数の電機子コイルが永久磁石を介して連結された可動子とを備える。そして、各時点における固定子との可動子との間の磁気抵抗を最小にしようとして発生する力を利用して、可動子を駆動する。すなわち、各電機子コイルに供給されるパルス電流の電流値及び位相を調整・制御することにより可動子をステップ状に歩進動作させる。
【0006】
【発明が解決しようとする課題】
上述した可変磁気抵抗駆動方式の平面モータを、精密位置決めに用いて高速な位置決めを実現するためには、大きな駆動力を得ることが必要となるが、このためには電機子コイルに必然的に大きな電流を流さなければならない。そのため、電機子コイルの発熱が大きな問題となる。
【0007】
また、リニアモータを2次元方向に展開したローレンツ電磁力駆動による平面モータも開発されている(例えば米国特許(USP)第5196745号公報参照)。かかるローレンツ電磁力式の平面モータは、制御性、推力線形性、位置決め性に優れていることから、将来的にはステージ駆動源として有力であると言われている。しかし、かかるローレンツ電磁力駆動の平面モータにおいても、大きな推力を得るためには、電機子コイルに大きな電流を流さなければならず、電機子コイルが発熱源となる。
【0008】
従って、精密位置決め装置環境を考えた場合、熱的影響を低減させる平面モータの実現には冷却設計が不可欠である。
【0009】
本発明は、かかる事情の下になされたもので、その第1の目的は、周囲環境への熱的影響を抑制することができる平面モータ装置を提供することにある。
【0010】
また、本発明の第2の目的は、高スループットを維持しつつ高精度な露光が可能な露光装置を提供することにある。
【0011】
【課題を解決するための手段】
熱は、物体間では、主として熱伝導、熱伝達及び熱放射(輻射)により伝えられ、いずれも物体間の温度差により変化する。この内、熱伝導は熱による分子振動やエネルギをもつ電子の移動による伝熱であり、熱伝達は固体表面と流体との間の対流による伝熱であるため、いずれも熱の媒体が必要であり、真空中では殆ど生じ得ない。これに対し、熱放射は物体から発散する電磁波による伝熱であるため、熱の伝達媒体が存在しない真空中でも生じるが、熱伝導、熱伝達に比べて伝熱量は小さい。
【0012】
本発明はかかる点に着目し、以下のような構成を採用する。
【0013】
本発明に係る第1の平面モータ装置は、少なくとも1つの磁石(54a〜54d)を有し、所定の移動面(21a)に沿って2次元方向に移動する磁石ユニット(52、53)と;前記磁石ユニットと対向する側に前記移動面が形成されるとともに、その内部に真空状態を保持可能な真空室(41)を有するベース(21)と;前記真空室を形成する前記移動面側の第1の壁(36)との間に所定の空隙を介してかつ前記真空室内に前記移動面に沿って2次元方向に配置された複数の電機子コイル(38)と;を備える。
【0014】
これによれば、磁石ユニットの磁石に対向する電機子コイルに電流が供給されると、磁石ユニットが電磁力により移動面に沿って駆動される。磁石ユニットをある方向に駆動し続ける場合は、磁石ユニットの移動位置毎に磁石に対向する電機子コイルに電流が供給されることとなる。これにより、それぞれの電流が供給された電機子コイルが発熱する。この場合、該電機子コイルはベース内部の真空室内に収納され、その真空室を形成する移動面側の第1の壁との間に所定の空隙を介して真空室内に移動面に沿って2次元方向に配置されている。このため、電機子コイルから移動面側への伝熱は殆ど熱放射のみによって行われるので、周囲環境への熱的影響を効果的に抑制することができる。
【0015】
この場合において、真空室内が真空状態となっていても空気は存在するため、熱伝導、熱伝達を完全には排除できず、その度合いは真空度によって左右される。かかる意味で真空度は高い方が望ましいが、真空度があるレベル以上に高いと大気圧と真空室内との圧力差によってベースが変形するおそれがある。そこで、かかる変形を防止するため、前記真空室(41)を形成する前記第1の壁(36)と該第1の壁に対向する第2の壁(43)との間に前記真空状態による前記ベースの変形を防止する変形防止部材(39)を設けることが望ましい。但し、かかる場合には、電機子コイルで発生した熱が第2の壁及び変形防止部材を介して第1の壁側、すなわち移動面側に熱伝導により伝わる。そこで、この熱伝導を抑制あるいは阻止するために、前記変形防止部材の少なくとも一部を断熱材により形成したり、前記変形防止部材を、前記第2の壁との接触面の面積が当該変形防止部材の他の部分の断面積より小さくなるような形状に形成したりすることが望ましい。
【0016】
上記の場合において、前記ベース(21)は、前記真空室(41)の前記移動面と反対側に前記第2の壁(43)を介して前記真空室に接する流体通路(65a、66、42、66、65b)を更に有することが一層望ましい。かかる場合には、流体通路内の流体と第2の壁との間で熱交換が行われ、電機子コイルが第2の壁側(移動面と反対側)から冷却される。この場合、前記流体通路内を流通する前記流体の温度を制御する温度制御装置(79)を備えていても良い。この温度制御装置は、流体の温度を少なくとも電機子コイル発熱時の第2の壁の温度よりも低い温度に制御すれば足りるが、前記流体を前記ベースの雰囲気温度よりも低い温度に制御しても良い。かかる場合には、電機子コイルを移動面と反対側から効率的に冷却することができる。
【0017】
本発明に係る第2の平面モータ装置は、少なくとも1つの磁石(54a〜54d)を有し、所定の移動面(21a)に沿って2次元方向に移動する磁石ユニット(52、53)と;前記磁石ユニットと対向する側に前記移動面が形成され、その内部に真空状態を保持可能な真空室(41)と流体が通過する流体通路とを有するベース(21)と;前記真空室内に前記移動面に沿って所定間隔で2次元方向に配置された複数の電機子コイル(38)とを備える。
【0018】
これによれば、磁石ユニットの磁石に対向する電機子コイルに電流が供給されると、磁石ユニットが電磁力により移動面に沿って駆動される。磁石ユニットをある方向に駆動し続ける場合は、磁石ユニットの移動位置毎に磁石に対向する電機子コイルに電流が供給されることとなる。これにより、それぞれの電流が供給された電機子コイルが発熱する。この場合、該電機子コイルはベース内部の真空室に配置されているので、電機子コイルからの伝熱は殆ど熱放射のみによって行われ、また、真空室から伝わった熱は流体通路内の流体との熱交換によって除熱される。従って、周囲環境への熱的影響を効果的に抑制することができる。この場合、流体通路内の流体はベース雰囲気より低温であることが望ましい。
本発明に係る駆動装置は、少なくとも1つの磁石を有し、所定の移動面に沿って移動する磁石ユニット(52、53)と;前記磁石ユニットと対向する側に前記移動面が形成され、その内部に真空状態を保持可能な真空室(41)とその内部に流体が通過する流体通路とを有するベース(21)と;前記真空室内に前記移動面に沿って所定間隔で配置された複数の電機子コイル(38)とを備えている。これによれば、電機子コイルはベース内部の真空室に配置されているので、電機子コイルからの伝熱は殆ど熱放射のみによって行われ、また、真空室から伝わった熱は流体通路内の流体との熱交換によって除熱される。
【0019】
本発明に係る露光装置は、所定のパターンを基板上に転写する露光装置であって、前記基板を駆動する基板ステージ装置に上記本発明に係る第1及び第2の平面モータ装置のいずれかを用いたことを特徴とする。
【0020】
これによれば、本発明に係る平面モータ装置が基板ステージに用いられていることから、基板を非接触で、かつ電磁力により2次元駆動することができ、また、電機子コイルの発熱による基板側への熱的影響を効果的に低減することができるので、基板の位置を計測する干渉計ビームの空気揺らぎ等を抑制することができる。従って、高速かつ高精度な基板の位置制御が可能となり、結果的にスループットを向上しつつ高い露光精度で露光を行うことが可能になる。
【0021】
【発明の実施の形態】
以下、本発明の第1の実施形態を図1〜図5に基づいて説明する。図1には、一実施形態に係る露光装置100の全体的な構成が概略的に示されている。この露光装置100は、いわゆるステップ・アンド・スキャン露光方式の走査型露光装置である。
【0022】
この露光装置100は、照明系10、レチクル(マスク)Rを保持するレチクルステージRST、投影光学系PL、基板としてのウエハWをXY平面内でXY2次元方向に駆動する基板ステージ装置30、及びこれらの制御系等を備えている。
【0023】
前記照明系10は、例えば特開平9−320956号公報に開示されように、光源ユニット、シャッタ、2次光源形成光学系、ビームスプリッタ、集光レンズ系、レチクルブラインド、及び結像レンズ系等(いずれも不図示)から構成され、図1のミラーMへ向けて照度分布のほぼ均一な露光用照明光を射出する。そして、この照明光がミラーMによってその光路が鉛直下方に折り曲げられ、レチクルR上の矩形(あるいは円弧状)の照明領域IARを均一な照度で照明する。

【0024】
前記レチクルステージRST上にはレチクルRが、例えば真空吸着により固定されている。また、このレチクルステージRSTは、不図示のレチクルベース上をリニアモータ等で構成されたレチクル駆動部(図示省略)により、所定の走査方向(ここではY軸方向とする)に指定された走査速度で駆動可能となっている。
【0025】
レチクルステージRST上にはレチクルレーザ干渉計(以下、「レチクル干渉計」という)16からのレーザビームを反射する移動鏡15が固定されており、レチクルステージRSTのステージ移動面内の位置はレチクル干渉計16によって、例えば0.5〜1nm程度の分解能で常時検出される。
【0026】
レチクル干渉計16からのレチクルステージRSTの位置情報はステージ制御系19及びこれを介して主制御装置20に送られ、ステージ制御系19では主制御装置20からの指示に応じてレチクルステージRSTの位置情報に基づいてレチクル駆動部(図示省略)を介してレチクルステージRSTを駆動する。
【0027】
前記投影光学系PLは、レチクルステージRSTの図1における下方に配置され、その光軸AX(照明光学系の光軸IXに一致)の方向がZ軸方向とされ、ここでは両側テレセントリックな光学配置となるように光軸AX方向に沿って所定間隔で配置された複数枚のレンズエレメントから成る屈折光学系が使用されている。この投影光学系PLは所定の投影倍率、例えば1/5(あるいは1/4)を有する縮小光学系である。このため、照明系10からの照明光によってレチクルRの照明領域IARが照明されると、このレチクルRを通過した照明光により、投影光学系PLを介してレチクルRの照明領域IAR内の回路パターンの縮小像(部分倒立像)が表面にフォトレジストが塗布されたウエハW上の照明領域IARに共役な露光領域IAに形成される。
【0028】
前記基板ステージ装置30は、ベース21と、このベース21の上面の上方に数μm程度のクリアランスを介して後述するエアスライダによって浮上支持された基板テーブル18と、この基板テーブル18をXY面内で2次元方向に駆動する駆動装置50とを備えている。駆動装置50としては、ここでは、ベース21の上部に設けられた(埋め込まれた)固定子60と、基板テーブル18の底部(ベース対向面側)に固定された可動子51とから成る平面モータが使用されている。また、可動子51とベース21と駆動装置50とによって平面モータ装置が構成されている。以下の説明においては、上記の駆動装置50を、便宜上、平面モータ50と呼ぶものとする。
【0029】
前記基板テーブル18上に、ウエハWが例えば真空吸着によって固定されている。また、この基板テーブル18上にはウエハレーザ干渉計(以下、「ウエハ干渉計」という)31からのレーザビームを反射する移動鏡27が固定され、外部に配置された前記ウエハ干渉計31により、基板テーブル18のXY面内での位置が例えば0.5〜1nm程度の分解能で常時検出されている。ここで、実際には、図2に示されるように、基板テーブル18上には走査方向であるY軸方向に直交する反射面を有する移動鏡27Yと非走査方向であるX軸方向に直交する反射面を有する移動鏡27Xとが設けられ、ウエハ干渉計31は走査方向に1軸、非走査方向には2軸設けられているが、図1ではこれらが代表的に移動鏡27、ウエハ干渉計31として示されている。基板テーブル18の位置情報(又は速度情報)はステージ制御系19及びこれを介して主制御装置20に送られ、ステージ制御系19では主制御装置20からの指示に応じて前記位置情報(又は速度情報)に基づいて平面モータ50を介して基板テーブル18のXY面内の移動を制御する。
【0030】
ここで、前記平面モータ50及びその近傍の構成部分を中心として、基板ステージ装置30の構成各部について、図2〜図4に基づいて更に詳述する。図2には、この基板ステージ装置30の平面図が示され、図3には、図2のA−A線断面図が一部省略して拡大して示されている。
【0031】
図2、図3に示されるように、基板テーブル18は、前記平面モータ50を構成する可動子51の上面(ベース21対向面と反対側の面)にボイスコイルモータ等を含む支持機構32a、32b、32cによって異なる3点で支持されており、XY面に対して傾斜及びZ軸方向の駆動が可能になっている。支持機構32a〜32cは、図1では図示が省略されているが、実際には不図示の駆動機構を介して図1のステージ制御系19によって独立に駆動制御される。
【0032】
可動子51は、図4(A)の斜視図、図4(B)の分解斜視図に示されるように、平面視で田の字状の形状を有する一種の空気静圧軸受け装置であるエアスライダ57と、このエアスライダ57にその一部が上方から嵌合して一体化される平板状発磁体53と、この平板状発磁体53に上方から係合する磁性体材料から成る磁性体部材52とを備えている。この内、磁性体部材52と平板状発磁体53とによって磁石ユニットが構成される。磁性体部材52の上面に前記支持機構32a〜32cを介して基板テーブル18が設けられている。
【0033】
前記エアスライダ57は、その内部に加圧空気の供給路及びバキューム用の通路等が形成されている。そして、前記の加圧空気の供給路がチューブ33を介して空気ポンプ59(図1参照)に接続され、また、バキューム用の通路がチューブ34を介して不図示の真空ポンプに接続されている。一方、エアスライダ57の底面には、前記加圧空気の供給路に接続されたエアパッドと、前記のバキューム用の通路に接続されたエアポケットとがそれぞれ設けられている。
【0034】
このため、本実施形態では、可動子51及び基板テーブル18等の全体の自重と,磁石ユニットを構成する平板状発磁体53と後述する固定子ヨーク43との間の磁気的吸引力と,不図示の真空ポンプによる真空吸引力(与圧力)との総和に相当する下向きの力と、空気ポンプ59から供給されエアパッドを介してベース21の上面に向かって吹き出される加圧空気の圧力による上向きの力、すなわち可動子51底面とベース21上面との間の空気層の静圧(いわゆるすきま内圧力)とのバランスによって、その空気層の厚さ、すなわち軸受け隙間が所望の値に維持されるようになっている。このように、エアスライダ57は、一種の真空与圧型の空気静圧軸受けを構成しており、このエアスライダ57によって可動子51及び基板テーブル18等の全体がべース21の上面の上方に例えば5μm程度のクリアランスを介して浮上支持されている(図1、図3参照)。
【0035】
なお、本実施形態では、上記の如く、エアスライダ57に加圧空気の供給路とバキューム用の通路、及びこれらにそれぞれ接続されたエアパッド、エアポケットを設けたが、バキューム用の通路等は必ずしも設ける必要はない。
【0036】
前記平板状発磁体53は、図4(B)に示されるように、隣り合う磁極面の極性が互いに異なるように、2行2列のマトリクス状に配列された4個の推力発生磁石54a、54b、54c、54dと、隣り合う2個の推力発生磁石(54a,54b)、(54b,54c)、(54c,54d)、(54d,54a)が磁性体部材52側で形成する磁束経路中にそれぞれ配設された補間磁石55a、55b、55c、55dとから構成される。
【0037】
この平板状発磁体53を構成する推力発生磁石54a〜54dのそれぞれは、同一厚さ、同一形状の永久磁石から成り、正方形状の磁極面を有している。そして、これらの推力発生磁石54a〜54dは、X、Y両方向で隣り合う推力発生磁石相互間の間隙が所定幅となるように、同一平面上に2行2列のマトリクス状に配置されている。そして、X方向で隣り合う、推力発生磁石54a,54bと推力発生磁石54c,54dとでは、隣り合う磁極面の極性が互いに反対とされている。また、Y方向で隣り合う、推力発生磁石54a,54dと推力発生磁石54b,54cとでは、隣り合う磁極面の極性が互いに反対とされている。
【0038】
また、補間磁石55a〜55dのそれぞれは、同一厚さの長方形状の永久磁石から成り、平面視で見て、隣り合う2個の推力発生磁石(54a,54b)、(54b,54c)、(54c,54d)、(54d,54a)相互間の空隙をそれぞれ埋めるように、且つ側面視で見て推力発生磁石54a〜54dの上面が形成する仮想平面上に配置されている。これらの補間磁石55a〜55dは、推力発生磁石54a〜54dの磁極面と直交する磁極面を有し、これらの磁極面のそれぞれは、平面視で見て隣接する推力発生磁石54a〜54dの磁極面と反対の極性を有するように配置されている。
【0039】
前記ベース21は、図2、図3に示されるように、平面視で見て正方形状のベース本体22と、このベース本体22のY方向の両端に取り付けられた一対のジョイント取付部材23A、23Bとから構成されている。
【0040】
ベース本体22は、上面が開口した厚さの薄い中空の箱型の容器35と、この容器35の周壁の内部側に形成された第1の段部35aに上方から係合し、容器35の底壁から所定の空隙(例えば2mm程度の空隙)を隔てて該底壁に平行に配置された熱伝導率の高い、具体的には、熱伝導率が30〔W/m・K〕以上の磁性体材料から成る平板状の固定子ヨーク43と、容器35の周壁の上端(開口端)の内部側に形成された第2の段部35bに上方から係合して、開口部を閉塞するセラミック板36とを備えている。セラミック板36の可動子51対向側の面(上面)には、可動子51の移動面21aが形成されている。
【0041】
容器35とセラミック板36とによって形成されるベース21の内部空間は、固定子ヨーク43によって上下に区画され、その上側に真空室としての第1室41が形成され、その下側に第2室42が形成されている。この場合、固定子ヨーク43と移動面21aとは平行になっている。
【0042】
第1室41内には、図3に示されるように、セラミック板36との間に所定の空隙(例えば2mm程度の空隙)を介してかつ固定子ヨーク43に接した状態で、移動面21aに沿ってXY2次元方向に9行9列のマトリクス状に9×9=81個の電機子コイル38が配置されている(図2参照)。すなわち、本実施形態では、セラミック板36によって複数の電機子コイル38が収納される真空室としての第1室41を形成する第1の壁が構成され、固定子ヨーク43によって第1室42を形成する第2の壁が構成されている。電機子コイル38としては、図2に示されるように、中空の正方形状コイルが用いられている。
【0043】
本実施形態では、固定子ヨーク43と、電機子コイル38と、セラミック板36とによって、前述した平面モータ50の固定子60が構成されている。
【0044】
前記セラミック板36の移動面21aと反対側(下面側)には、図3に示されるように、所定間隔で断面円形の多数(ここでは145個)の突起部36aが形成されている。これらの突起部36aは、図2に示されるように、セラミック板36を容器35に組み付けた場合に、各電機子コイル38の中空部の中央に対応する位置に9×9=81個、隣接する4つの電機子コイル38相互間の空間に対応する位置に8×8=64個それぞれ設けられている。
【0045】
また、第1室41を形成するセラミック板36の前記各突起36aと固定子ヨーク43との間には、断熱材から成る変形防止部材としての柱39がそれぞれ設けられている。
【0046】
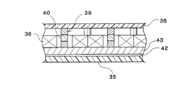
なお、図5に示されるように、セラミック板36を全くの平面板とし、この平面板36と固定子ヨーク43との間に、一部に断熱材40を含む柱状の変形防止部材39を設けても良い。
【0047】
図1に戻り、ベース21には、吸気管61を介して真空ポンプ62が接続されている。吸気管61は、図2に示されるベース21のX方向一側(+X側)に設けられた真空吸引ポート63に接続されており、この真空吸引ポート63は、第1室41に連通している。真空ポンプ62としては、ここでは、ターボ分子ポンプが用いられ、このターボ分子ポンプは、第1室41内を例えば1×10-6〔Torr〕以下の高度の真空状態とする真空引き能力を有する。
【0048】
また、前記一対のジョイント取付部材23A、23Bは、ベース本体22に溶接等により一体的に取り付けられている。これらのジョイント取付部材23A、23Bには、その長手方向の中央部にY方向を軸方向とする所定深さのねじ穴64a、64bがそれぞれ形成されている。
【0049】
一方のジョイント取付部材23Aには、図3に示されるように、ねじ穴64aに一端が連通する側面視でY方向一側から他側に向かって高さ方向(Z方向)の寸法が直線的に小さくなる断面直角三角形状の溝65aが形成されている。前記ベース本体22を構成する容器35のY方向一側の側壁には、前記第2室42と同一高さかつ同一のX方向幅寸法を有する断面が細長い矩形の貫通孔66が形成されており、この貫通孔66を介して前記溝65aと第2室42とが連通されている。容器35は左右対称の形状を有しており、貫通孔66は、図示が省略されているが、実際には容器35のY方向他側の側壁にも形成されている。
【0050】
また、前記溝65aの平面断面は、図2の平面図から明らかなように、Y方向一側から他側に向かってX方向の幅寸法が直線的に大きくなる二等辺三角形状となっている。すなわち、溝65aのXZ断面の断面積は、Y方向の位置に関係なく一定となっている。この場合、ねじ孔64aには、外周部に雄ねじが形成された不図示の冷媒供給用ジョイントの一端が取り付けられ、この冷媒供給用ジョイントの他端が図1の冷媒供給管92を介して温度制御装置としての冷却装置79内部に設けられた冷媒供給機に接続されている。従って、本実施形態では、上記の溝65aによって入り口側(ねじ孔64a側)から流入した流体としての液体冷媒をフィルム状に絞って、貫通孔66を介して第2室42に供給する断面積一定の絞りが形成されている。本実施形態では、ジョイント取付部材23Aに形成されたねじ穴64a(より正確には該ねじ穴64aに螺合される不図示の冷媒供給用ジョイントの内部通路)によって冷媒流入口が形成されている。
【0051】
他方のジョイント取付部材23Bは、上記一方のジョイント取付部材23Aと左右対称に溝65b及びねじ穴64bが形成され、容器35のY方向他側の側壁に形成された貫通孔66によって第2室42と溝部65bとが連通されている。ねじ穴64bには、外周部に雄ねじが形成された不図示の冷媒排出用ジョイントの一端側が取り付けられ、この冷媒排出用ジョイントの他端は図1の冷媒排出管93を介して冷却装置79内部に設けられた冷凍機に接続されている。この場合、ジョイント取付部材23Bに形成されたねじ穴64b(より正確には該ねじ穴64bに螺合される不図示の冷媒排出用ジョイントの内部通路)によって冷媒流出口が形成されている。
【0052】
これまでの説明から明らかなように、本実施形態では、冷媒供給用ジョイントを介してベース21(第2室42)内に供給された液体冷媒がベース21内部を冷却した後、冷媒排出用ジョイントを介して冷却装置79に戻され、そこで冷却されて再びベース21内に供給され、このようにして液体冷媒が循環使用されるようになっている。液体冷媒としては、例えば水あるいはフロリナート(製造元:住友スリーエム(株)、フッ素系不活性液体)等が使用され、この液体冷媒はベース雰囲気温度よりも低温に温度制御された状態でベース21内に供給される。また、冷媒供給用ジョイントから冷媒排出用ジョイントに至るベース21内の冷媒通路(65a、66、42、66、65b)の断面積は該通路全長に渡って一定となっている。
【0053】
更に、本実施形態では、固定子ヨーク43の第2室42側の壁面(下面)は、その表面が粗く形成されている。これは、固定子ヨーク43の下面に沿って流れる液体冷媒の流れを積極的に乱して第2室42内の液体冷媒の流れ(特に固定子ヨーク43の下面の境界層)をそのレイノルズ数が臨界レイノルズ数より大きい乱流にするためである。
【0054】
次に、前述したステージ装置30を含む露光装置100における露光動作の流れについて簡単に説明する。
【0055】
まず、主制御装置20の管理の下、不図示のレチクルローダ、ウエハローダによってレチクルロード、ウエハロードが行われ、また、不図示のレチクル顕微鏡、基板テーブル18上の不図示の基準マーク板、不図示のアラインメント検出系を用いてレチクルアラインメント、ベースライン計測等の準備作業が所定の手順に従って行われる。
【0056】
その後、主制御装置20により、不図示のアラインメント検出系を用いてEGA(エンハンスト・グローバル・アラインメント)等のアラインメント計測が実行される。このような動作において、ウエハWの移動が必要な場合には、主制御装置20がステージ制御系19を介して、推力発生磁石54a〜54dに対向する電機子コイル38に供給する電流値、及び電流方向の少なくとも一方を制御することにより、可動子51と一体的にウエハWを保持する基板テーブル18を所望の方向に移動させる。アライメント計測の終了後、以下のようにしてステップ・アンド・スキャン方式の露光動作が行われる。
【0057】
この露光動作にあたって、まず、ウエハWのXY位置が、ウエハW上の最初のショット領域(ファースト・ショット)の露光のための走査開始位置となるように、基板テーブル18が移動される。同時に、レチクルRのXY位置が、走査開始位置となるように、レチクルステージ18が移動される。そして、主制御装置20からの指示に基づき、ステージ制御系19が、レチクル干渉計16によって計測されたレチクルRのXY位置情報、ウエハ干渉計31によって計測されたウエハWのXY位置情報に基づき、不図示のレチクル駆動部及び平面モータ50を介してレチクルRとウエハWとを同期移動させることにより、走査露光が行われる。このウエハWの移動は、主制御装置20によりステージ制御系19を介して、推力発生磁石54a〜54dに対向する電機子コイル38に供給する電流値、及び電流方向の少なくとも一方を制御することにより行われる。
【0058】
このようにして、1つのショット領域に対するレチクルパターンの転写が終了すると、基板テーブル18が1ショット領域分だけステッピングされて、次のショット領域に対する走査露光が行われる。このようにして、ステッピングと走査露光とが順次繰り返され、ウエハW上に必要なショット数のパターンが転写される。
【0059】
ここで、上記のアライメント時や走査露光時においては、平面モータ50の固定子60を構成する各電機子コイル38には適宜電流が供給されるので、この電機子コイル38が発熱するが、この熱が移動面21a側へ伝わるのを以下のようにして効果的に抑制(あるいは防止)している。
【0060】
まず、複数の電機子コイル38が収納されたベース21内の第1室41内は真空ポンプ62によって真空引きされて高度の真空状態となっている。従って、第1室41を形成する移動面21a側のセラミック板36と固定子ヨーク43上に配置された電機子コイル38との間には高度の真空状態の空隙が存在するため、電機子コイル38から移動面21a側への伝熱は殆ど熱放射のみによって行われる。すなわち、上記の電機子コイル38上部の空隙が一種の断熱層として機能して移動面側への伝熱を効果的に抑制している。
【0061】
この場合、上記の断熱層としての真空層は、その真空度が高い程、その断熱(伝熱抑制効果)は高くなる。本実施形態では1×10-6〔Torr〕という高度の真空状態を実現できるので、電機子コイル38の周囲に空気が殆ど存在せず、空気を熱伝達媒体としての熱伝導、熱伝達を極めて小さく抑えることができ、その伝熱抑制効果は極めて高くなっている。
【0062】
なお、この場合、上記の高真空状態をベース本体22内に設定しても、セラミック板36と固定子ヨーク43との間に多数の柱39がほぼ均等な間隔でベース本体の全面に渡って配置されているので、外気圧によってセラミック板36等が変形することがなく、セラミック板36上面の移動面21aを平坦に維持できる。
【0063】
また、上記のようにセラミック板36と固定子ヨーク43との間に多数の柱39を設けた場合、電機子コイル38で発生した熱が固定子ヨーク43及びそれらの柱39を介してセラミック板36側、すなわち移動面21a側に伝達するおそれがあるが、本実施形態では柱39の少なくとも一部が断熱材により形成されているため、該柱39を媒体としての熱伝導もほぼ阻止できる。
【0064】
また、電機子コイル38が接触する固定子ヨーク43が熱伝導率の高い磁性体材料により形成されていることから、該固定子ヨーク43が磁気回路構成部材として機能するのみでなく、電機子コイル38で発生した熱を効率良くベース本体22の移動面21aと反対側の面に伝導する。
【0065】
また、ベース21内の固定子ヨーク43の移動面21aと反対側には、固定子ヨーク43を介して真空室41に接する第2室42が設けられ、この第2室42内がベース21のY方向一側に接続された冷媒供給用ジョイントとベース21のY方向他側に接続された冷媒排出用ジョイントに連通しており、冷却装置79によって冷媒供給用ジョイントを介して第2室42内にベース雰囲気より低温に温度制御された液体冷媒(流体)が供給されている。このため、固定子ヨーク43と液体冷媒との間で熱交換が行われ、電機子コイル38を下面側から効率的に冷却することができ、これによって各電機子コイル38の温度上昇そのものを抑制することができる。
【0066】
また、本実施形態では、ベース21内に冷媒供給用ジョイントを介してY方向一側から供給された液体冷媒をY方向他側の冷媒排出用ジョイントを介して排出する断面積一定の冷媒通路が設けられていることから、冷媒供給用ジョイントを介してベース内に流入した液体冷媒は、フィルム状に広がって各電機子コイルの下方に均一に行き渡り、平面上に展開された複数の電機子コイルが均一に除熱される。
【0067】
さらに、固定子ヨーク43の第2室42側の壁面(下面)は、その表面が粗く形成され凸凹になっているので、固定子ヨーク43の下面を沿って流れる液体冷媒との間の流れのイノルズ数が臨界レイノルズ数より大きくなって乱流となっている。流路内流れが乱流の場合、固体−液体間熱伝達係数は層流の場合に比べて大きく(十〜数十倍もあり)、さらに流体的にも熱的にも早く発達流となるため各電機子コイル38の除熱が迅速かつ均一となる。かかる意味で、固定子ヨーク43の下面に所定間隔で突起を設けても良い。
【0068】
以上により、電機子コイル38全面より放出される熱が、移動面側に伝達されるのを効果的に抑制することができ、周囲環境に与える熱的影響を可能な限り抑制することができる。また、本実施形態では、冷却装置79から冷媒供給管92冷媒供給用ジョイントを介してベース21内に液体冷媒が供給され、この液体冷媒はベース21内の冷媒通路を通って各電機子コイル38を下面側から冷却し、この冷却により温度が上昇した液体冷媒は冷媒排出用ジョイント及び冷媒排出管93を介して冷却装置79に戻り、ここで冷却されて、再度ベース21内に供給され各電機子コイル38を冷却する。すなわち、このようにして液体冷媒が循環使用されるため、常にほぼ一定量の液体冷媒を用いて電機子コイル38を冷却することができ、経済的である。
【0069】
以上説明したように、本実施形態によると、装置環境への熱的影響を最小限に抑えられることから、ウエハテーブル18の位置を計測する干渉計31の干渉計ビームの空気揺らぎ等も殆ど問題とならず、精密なウエハの位置決め及び位置制御が可能になる。従って、本実施形態の露光装置100によると、電磁力駆動方式の平面モータ50を備えた基板ステージ装置30によりウエハWを精度よく高速に位置制御することができ、スループットを向上しつつ、高い露光精度で露光することが可能になる。
【0070】
なお、上記実施形態で説明したベース21の構成は一例であって、本発明がこれに限定されるものではない。
【0071】
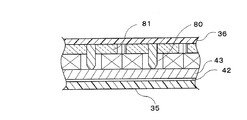
例えば、上記実施形態では、セラミック板36と固定子ヨーク43との間に全部又は一部が断熱材で形成された柱39を設ける場合を説明したが、これに代えて、図6に示されるように、固定子ヨーク43との接触面の面積が他の部分の断面積より小さくなるように、固定子ヨーク43側の端部(下端部)をテーパ状に形成した柱80を変形防止部材として設けても良い。該柱80は、固定子ヨーク43側から熱が伝わり難い形状となっているので、必ずしも断熱材で形成する必要はない。
【0072】
また、上記実施形態では、電機子コイル38とセラミック板43との間の空隙には、何も介在物を配置しない場合を説明したが、該空隙が真空状態であるといっても空気が僅かながら存在する。このため、その空気を熱伝達媒体として熱伝導、熱伝達現象が生じ得る。かかる現象を更に抑制するため、図7に示されるように、電機子コイル38とセラミック板43との間の空隙に、断熱材81を介在させても良い。
【0073】
なお、上記実施形態では、第1室41を形成する第1の壁をその可動子51対向面に移動面21aが形成されたセラミック板36で構成する場合について説明したが、第1の壁と移動面形成部材とを別部材としても良い。この場合は、第1の壁及び移動面形成部材の双方をセラミック等の非磁性材料によって形成する必要がある。
【0074】
また、上記実施形態では、固定子ヨーク43の下側に流体通路としての冷媒通路を構成する第2室42を設ける場合について説明したが、本発明がこれに限定されるものではない。すなわち、電機子コイル38とセラミック板36との間に所定の空隙が存在し、第1室41内が真空ポンプ62によって真空吸引されていれば足り、第2室42及び該第2室42内への冷媒供給のためのジョイント取り付け部材等をベース21に必ずしも設ける必要はない。かかる場合には、容器35(ベース21)の電機子コイル38が接触配置される第2の壁を鉄等の磁性材料によって形成することにより、該第2の壁が磁気回路構成部材として機能するとともに、該第2の壁と外気との間で熱交換が行われ、電機子コイル38下面が冷却される。この場合、第2の壁は、熱伝導率の高い磁性体材料によって形成することが望ましい。
【0075】
《第2の実施形態》
次に、本発明の第2の実施形態を図8に基づいて説明する。この第2の実施形態は、ベース本体22の内部構成が僅かに異なるのみで、その他の部分の構成は前述した第1の実施形態と同一であるから、重複部分については、極力その説明を簡略化し若しくは省略するとともに、同一若しくは同等の構成部分については同一の符号を用いるものとする。
【0076】
図8(A)には、第2の実施形態に係るベース本体22の断面図が一部省略して示されている。本第2の実施形態では、ベース本体22内の真空室41内には、電機子コイル38が固定子ヨーク43に接して移動面21aに沿って所定間隔で2次元方向に配置されている点は、前述した第1の実施形態と同様であるが、真空室41の移動面21a側が、電機子コイル38の移動面側に接して配置された非磁性体材料から成る薄板82によって規定され、この真空室41の移動面21a側に流体通路としての冷媒通路99が設けられている点に特徴を有する。
【0077】
この冷媒通路99内には、図1の冷却装置79からの液体冷媒が順環供給されている。その他の部分の構成等は、第1の実施形態と同一である。
【0078】
このようにして構成された本第2の実施形態によると、前述した第1の実施形態と同等の効果を得られる。すなわち、電機子コイル38はベース内部の真空室41内に配置され、その真空室41を形成する移動面21a側に冷媒通路99が設けられていることから、真空室41内における真空部(具体的には、各電機子コイル38の中空部と柱80との間、及び隣接する電機子コイル38相互間の中央の空隙と柱80との間)においては電機子コイル38からの伝熱は殆ど熱放射のみによって行われ、また、真空室41内の移動面21a側に伝わった熱は冷媒通路99内を流れるベース雰囲気温度より低温に温調された液体冷媒との熱交換によって除熱される。従って、周囲環境への熱的影響を効果的に抑制することができる。
【0079】
また、本第2の実施形態の場合は、薄板82に沿って流れる液体冷媒の流れの境界層が層流(臨界レイノルズ数以下)となるように、薄板82の表面を平坦度良く仕上げることが望ましい。このようにすると、薄板82とセラミック板36との間の流れが図8(B)に示されるように高温部と低温部との境界が存在するような流れとなり、電機子コイル38の熱がセラミック板36に伝達されるのをほぼ確実に防止することができる。
【0080】
なお、上記第1、第2の実施形態では、流体としての液体冷媒を循環使用する場合について説明したが、本発明がこれに限定されるものではない。すなわち、流体しては液体に限らず気体を用いても良く、また、流体として例えば空気等を用いる場合には、必ずしも循環使用する必要はない。
【0081】
また、本発明に係る露光装置は、上記実施形態でも説明したように、基板を精度よく高速に位置制御することができ、スループットを向上しつつ高い露光精度で露光が可能になるように、該装置を構成する各構成要素が電気的、機械的又は光学的に連結されて組み上げられる。
【0082】
なお、上記実施形態では、本発明に係る平面モータ装置が走査型のDUV露光装置の基板ステージ装置に適用された場合について説明したが、これに限らず、ステッパ等の静止型露光装置は勿論、電子線露光装置等の荷電粒子線露光装置、波長5〜15nm程度の軟X線領域の光を露光光とし用いるいわゆるEUVL等の露光装置、露光装置以外の装置、例えば検査装置や基板搬送装置等にも好適に適用できるものである。
【0083】
なお、本発明の真空室内に電機子コイルを配置するという技術的思想は、リニアモータにも応用可能である。
【0084】
【発明の効果】
以上説明したように、請求項1〜20に記載の各発明によれば、周囲環境への熱的影響を抑制できるという効果がある。
【0085】
また、請求項21に記載の発明によれば、高スループットを維持しつつ高精度な露光が可能になるという効果がある。
【図面の簡単な説明】
【図1】第1の実施形態に係る露光装置の概略構成を示す図である。
【図2】図1の基板ステージ装置を示す平面図である。
【図3】図2のA−A線断面図である。
【図4】(A)は図1の基板ステージ装置を構成する平面モータの可動子を示す斜視図、(B)は(A)の可動子の分解斜視図である。
【図5】ベース本体を構成する柱の変形例を説明するためのベース本体の断面図である。
【図6】ベース本体を構成する柱の他の変形例を説明するためのベース本体の断面図である。
【図7】ベース本体のその他の変形例を説明するためのベース本体の断面図である。
【図8】(A)は第2の実施形態に係るベース本体の断面図、(B)は真空室上部側の冷媒通路内の液体冷媒の流れの状態を示す図である。
【符号の説明】
21a…移動面、30…基板ステージ装置、41…真空室、21…ベース(平面モータ装置の一部)、36…セラミック板(第1の壁)、38…電機子コイル、39…柱(変形防止部材)、42…第2室(流体通路の一部)、43…固定子ヨーク(第2の壁)、50…平面モータ(平面モータ装置の一部)、51…可動子(平面モータ装置の一部)、52…磁性体部材(磁石ユニットの一部)、53…平板状発磁体(磁石ユニットの一部)、54a,54b,54c,54d…推力発生磁石(磁石)、65a,65b…溝部(流体通路の一部)、66…貫通孔(流体通路の一部)、79…冷却装置(温度制御装置)、100…露光装置、W…ウエハ(基板)。

Claims (21)

  1. 少なくとも1つの磁石を有し、所定の移動面に沿って2次元方向に移動する磁石ユニットと;
    前記磁石ユニットと対向する側に前記移動面が形成されるとともに、その内部に真空状態を保持可能な真空室を有するベースと;
    前記真空室を形成する前記移動面側の第1の壁との間に所定の空隙を介してかつ前記真空室内に前記移動面に沿って2次元方向に配置された複数の電機子コイルと;
    を備える平面モータ装置。
  2. 前記真空室を形成する前記第1の壁と該第1の壁に対向する第2の壁との間に前記真空状態による前記ベースの変形を防止する変形防止部材を設けたことを特徴とする請求項1に記載の平面モータ装置。
  3. 前記変形防止部材の少なくとも一部を断熱材により形成したことを特徴とする請求項2に記載の平面モータ装置。
  4. 前記変形防止部材を、前記第2の壁との接触面の面積が当該変形防止部材の他の部分の断面積より小さくなるような形状に形成したことを特徴とする請求項2に記載の平面モータ装置。
  5. 前記ベースは、前記真空室の前記移動面と反対側に前記第2の壁を介して前記真空室に接する流体通路を更に有することを特徴とする請求項1〜4のいずれか一項に記載の平面モータ装置。
  6. 前記流体通路内を流通する前記流体の温度を制御する温度制御装置を備えたことを特徴とする請求項5に記載の平面モータ装置。
  7. 前記温度制御装置は、前記流体を前記ベースの雰囲気温度よりも低い温度に制御することを特徴とする請求項6に記載の平面モータ装置。
  8. 前記流体通路は、該流体通路の少なくとも前記第2の壁に沿って流れる前記流体の流れが乱流となるような形状を有することを特徴とする請求項5〜7のいずれか一項に記載の平面モータ装置。
  9. 前記流体通路の断面積は、その全長に渡ってほぼ一定であることを特徴とする請求項5〜8のいずれか一項に記載の平面モータ装置。
  10. 前記真空室を形成する前記第1の壁と前記各電機子コイルとの間に断熱材を介装したことを特徴とする請求項1に記載の平面モータ装置。
  11. 前記第1の壁はセラミックで形成されていることを特徴とする請求項1〜10のいずれか一項に記載の平面モータ装置。
  12. 少なくとも1つの磁石を有し、所定の移動面に沿って2次元方向に移動する磁石ユニットと;
    前記磁石ユニットと対向する側に前記移動面が形成され、その内部に真空状態を保持可能な真空室と流体が通過する流体通路とを有するベースと;
    前記真空室内に前記移動面に沿って所定間隔で2次元方向に配置された複数の電機子コイルとを備える平面モータ装置。
  13. 前記ベースの前記移動面はセラミックにより形成されていることを特徴とする請求項12に記載の平面モータ装置。
  14. 前記ベース内部には断熱材が設けられていることを特徴とする請求項12または13に記載の平面モータ装置。
  15. 前記流体通路は、前記複数の電機子コイルの上方に設けられていることを特徴とする請求項12〜14のいずれか一項に記載の平面モータ装置。
  16. 前記流体通路は、前記複数の電機子コイルの下方に設けられていることを特徴とする請求項12〜14のいずれか一項に記載の平面モータ装置。
  17. 少なくとも1つの磁石を有し、所定の移動面に沿って移動する磁石ユニットと;
    前記磁石ユニットと対向する側に前記移動面が形成され、その内部に真空状態を保持可能な真空室とその内部に流体が通過する流体通路とを有するベースと;
    前記真空室内に前記移動面に沿って所定間隔で配置された複数の電機子コイルとを備えることを特徴とする駆動装置。
  18. 前記ベース内部には断熱材が設けられていることを特徴とする請求項17に記載の駆動装置。
  19. 前記流体通路は、前記複数の電機子コイルの上方に設けられていることを特徴とする請求項17または18に記載の駆動装置。
  20. 前記流体通路は、前記複数の電機子コイルの下方に設けられていることを特徴とする請求項17または18に記載の駆動装置。
  21. 所定のパターンを基板上に転写する露光装置であって、
    前記基板を駆動する基板ステージ装置に請求項1〜16のいずれか一項に記載の平面モータ装置を用いたことを特徴とする露光装置。
JP19387898A 1998-07-09 1998-07-09 平面モータ装置、駆動装置及び露光装置 Expired - Fee Related JP4088728B2 (ja)

Priority Applications (4)

Application Number Priority Date Filing Date Title
JP19387898A JP4088728B2 (ja) 1998-07-09 1998-07-09 平面モータ装置、駆動装置及び露光装置
EP99933725A EP1064713A4 (en) 1998-07-09 1999-07-07 EXPOSURE DEVICE WITH PLANAR MOTOR
AU49720/99A AU4972099A (en) 1998-07-09 1999-07-07 Exposure device having a planar motor
PCT/US1999/015278 WO2000003301A2 (en) 1998-07-09 1999-07-07 Exposure device having a planar motor

Applications Claiming Priority (1)

Application Number Priority Date Filing Date Title
JP19387898A JP4088728B2 (ja) 1998-07-09 1998-07-09 平面モータ装置、駆動装置及び露光装置

Publications (3)

Publication Number Publication Date
JP2000032733A JP2000032733A (ja) 2000-01-28
JP2000032733A5 JP2000032733A5 (ja) 2005-10-20
JP4088728B2 true JP4088728B2 (ja) 2008-05-21

Family

ID=16315253

Family Applications (1)

Application Number Title Priority Date Filing Date
JP19387898A Expired - Fee Related JP4088728B2 (ja) 1998-07-09 1998-07-09 平面モータ装置、駆動装置及び露光装置

Country Status (4)

Country Link
EP (1) EP1064713A4 (ja)
JP (1) JP4088728B2 (ja)
AU (1) AU4972099A (ja)
WO (1) WO2000003301A2 (ja)

Cited By (1)

* Cited by examiner, † Cited by third party
Publication number Priority date Publication date Assignee Title
US8605251B2 (en) 2009-04-01 2013-12-10 Canon Kabushiki Kaisha Linear motor, and stage apparatus, exposure apparatus, and method for manufacturing device using the same

Families Citing this family (18)

* Cited by examiner, † Cited by third party
Publication number Priority date Publication date Assignee Title
US6351041B1 (en) 1999-07-29 2002-02-26 Nikon Corporation Stage apparatus and inspection apparatus having stage apparatus
TWI248718B (en) 1999-09-02 2006-02-01 Koninkl Philips Electronics Nv Displacement device
EP1124161A3 (en) * 2000-02-10 2004-01-07 ASML Netherlands B.V. Lithographic projection apparatus having a temperature controlled heat shield
TW588222B (en) * 2000-02-10 2004-05-21 Asml Netherlands Bv Cooling of voice coil motors in lithographic projection apparatus
JP4510419B2 (ja) * 2003-10-01 2010-07-21 キヤノン株式会社 ステージ装置、露光装置およびデバイス製造方法
JP4474151B2 (ja) * 2003-11-28 2010-06-02 キヤノン株式会社 モータおよびそれを用いた露光装置ならびにデバイス製造方法
JP4418699B2 (ja) * 2004-03-24 2010-02-17 キヤノン株式会社 露光装置
US20080129128A1 (en) 2005-01-18 2008-06-05 Koninklijke Philips Electronics, N.V. Coil Assembly for Use with an Electric Motor
JP2006287014A (ja) 2005-04-01 2006-10-19 Canon Inc 位置決め装置およびリニアモータ
JP4673117B2 (ja) * 2005-04-08 2011-04-20 キヤノン株式会社 ステージ装置および露光装置
JP4936368B2 (ja) * 2006-11-21 2012-05-23 株式会社リコー 真空チャンバ及び電子線描画装置
DE102007035793A1 (de) 2007-07-04 2009-01-08 Institut für Mikroelektronik- und Mechatronik-Systeme gGmbH Präzisionsplanarpositionieranordnung
US20100156198A1 (en) * 2008-12-22 2010-06-24 Alexander Cooper Shield layer plus refrigerated backside cooling for planar motors
CN102782806A (zh) * 2010-03-04 2012-11-14 株式会社安川电机 工作台装置
JP5632736B2 (ja) * 2010-12-27 2014-11-26 キヤノンアネルバ株式会社 基板搬送装置及び真空処理装置
RU2563967C1 (ru) * 2014-07-01 2015-09-27 Российская Федерация, от имени которой выступает Государственная корпорация по атомной энергии "Росатом" Линейный шаговый двигатель исполнительного механизма системы управления и защиты ядерного реактора
US11592756B2 (en) 2018-06-05 2023-02-28 Asml Netherlands B.V. Assembly comprising a cryostat and layer of superconducting coils and motor system provided with such an assembly
WO2021233615A1 (en) * 2020-05-20 2021-11-25 Asml Netherlands B.V. Magnet assembly, coil assembly, planar motor, positioning device and lithographic apparatus

Family Cites Families (6)

* Cited by examiner, † Cited by third party
Publication number Priority date Publication date Assignee Title
JPS61189637A (ja) * 1985-02-19 1986-08-23 Canon Inc 露光装置
JPH0487551A (ja) * 1990-07-26 1992-03-19 Nippon Seiko Kk リニアモータ装置
US5196745A (en) * 1991-08-16 1993-03-23 Massachusetts Institute Of Technology Magnetic positioning device
JPH05198490A (ja) * 1992-01-22 1993-08-06 Fujitsu Ltd 荷電粒子ビーム露光装置
JP3475973B2 (ja) * 1994-12-14 2003-12-10 株式会社ニコン リニアモータ、ステージ装置、及び露光装置
JPH08293449A (ja) * 1995-04-24 1996-11-05 Nikon Corp 露光装置

Cited By (1)

* Cited by examiner, † Cited by third party
Publication number Priority date Publication date Assignee Title
US8605251B2 (en) 2009-04-01 2013-12-10 Canon Kabushiki Kaisha Linear motor, and stage apparatus, exposure apparatus, and method for manufacturing device using the same

Also Published As

Publication number Publication date
AU4972099A (en) 2000-02-01
WO2000003301A2 (en) 2000-01-20
WO2000003301A9 (en) 2000-05-25
EP1064713A4 (en) 2005-07-20
EP1064713A2 (en) 2001-01-03
WO2000003301A3 (en) 2000-03-16
JP2000032733A (ja) 2000-01-28

Similar Documents

Publication Publication Date Title
JP4088728B2 (ja) 平面モータ装置、駆動装置及び露光装置
JP4352445B2 (ja) 平面モータ装置、ステージ装置、露光装置及びその製造方法、並びにデバイス及びその製造方法
JP4134406B2 (ja) 平面モータ装置及び露光装置
US6417914B1 (en) Stage device and exposure apparatus
US6590355B1 (en) Linear motor device, stage device, and exposure apparatus
JPWO1999048192A1 (ja) 平面モータ装置、ステージ装置、露光装置及びその製造方法、並びにデバイス及びその製造方法
JP4174815B2 (ja) ステージ装置、露光装置、リニアモータ及びリニアモータの駆動方法
US6835941B1 (en) Stage unit and its making method, and exposure apparatus and its making method
JP4484621B2 (ja) リソグラフィ装置
JP4590846B2 (ja) 磁気浮上式ステージ装置及び露光装置
TW201932985A (zh) 定位器件、磁性支撐系統及微影裝置
US7154588B2 (en) Alignment apparatus and exposure apparatus
JP2001008430A (ja) モータ装置、ステージ装置、及び露光装置
JP4042073B2 (ja) 平面型モータ、ステージ装置、及び露光装置
JP4407774B2 (ja) モータ装置及びモータ装置の組み立て方法、並びに露光装置
KR100856369B1 (ko) 평면모터장치 및 그 조립방법, 평면모터장치의 구동방법, 스테이지장치 및 그 구동방법, 노광장치 및 노광방법, 및 디바이스의 제조방법
JP4623243B2 (ja) 電磁アクチュエータ及びステージ装置
JP2001112234A (ja) モータ装置、ステージ装置、及び露光装置、並びにモータ装置の駆動制御方法
JP2001057325A (ja) ステージ装置及び露光装置
US9323157B2 (en) Mirror assembly for an exposure apparatus
JP2004335658A (ja) ステージ装置
JP2014157899A (ja) 駆動装置、露光装置、及びデバイス製造方法
JP2000253623A (ja) 電磁アクチュエータの冷却方法および電磁アクチュエータ
JP2000348932A (ja) ステージ装置及び露光装置
JP2004335677A (ja) 平面モータ装置

Legal Events

Date Code Title Description
A621 Written request for application examination

Free format text: JAPANESE INTERMEDIATE CODE: A621

Effective date: 20050622

A521 Request for written amendment filed

Free format text: JAPANESE INTERMEDIATE CODE: A523

Effective date: 20050629

TRDD Decision of grant or rejection written
A01 Written decision to grant a patent or to grant a registration (utility model)

Free format text: JAPANESE INTERMEDIATE CODE: A01

Effective date: 20080130

A61 First payment of annual fees (during grant procedure)

Free format text: JAPANESE INTERMEDIATE CODE: A61

Effective date: 20080212

R150 Certificate of patent or registration of utility model

Free format text: JAPANESE INTERMEDIATE CODE: R150

FPAY Renewal fee payment (event date is renewal date of database)

Free format text: PAYMENT UNTIL: 20110307

Year of fee payment: 3

FPAY Renewal fee payment (event date is renewal date of database)

Free format text: PAYMENT UNTIL: 20110307

Year of fee payment: 3

FPAY Renewal fee payment (event date is renewal date of database)

Free format text: PAYMENT UNTIL: 20140307

Year of fee payment: 6

S531 Written request for registration of change of domicile

Free format text: JAPANESE INTERMEDIATE CODE: R313531

FPAY Renewal fee payment (event date is renewal date of database)

Free format text: PAYMENT UNTIL: 20140307

Year of fee payment: 6

R350 Written notification of registration of transfer

Free format text: JAPANESE INTERMEDIATE CODE: R350

R250 Receipt of annual fees

Free format text: JAPANESE INTERMEDIATE CODE: R250

R250 Receipt of annual fees

Free format text: JAPANESE INTERMEDIATE CODE: R250

R250 Receipt of annual fees

Free format text: JAPANESE INTERMEDIATE CODE: R250

LAPS Cancellation because of no payment of annual fees