JP4058601B2 - プーリ支持用単列軸受 - Google Patents
プーリ支持用単列軸受 Download PDFInfo
- Publication number
- JP4058601B2 JP4058601B2 JP2001368559A JP2001368559A JP4058601B2 JP 4058601 B2 JP4058601 B2 JP 4058601B2 JP 2001368559 A JP2001368559 A JP 2001368559A JP 2001368559 A JP2001368559 A JP 2001368559A JP 4058601 B2 JP4058601 B2 JP 4058601B2
- Authority
- JP
- Japan
- Prior art keywords
- bearing
- groove
- rest angle
- inner ring
- ring raceway
- Prior art date
- Legal status (The legal status is an assumption and is not a legal conclusion. Google has not performed a legal analysis and makes no representation as to the accuracy of the status listed.)
- Expired - Fee Related
Links
Images
Classifications
-
- F—MECHANICAL ENGINEERING; LIGHTING; HEATING; WEAPONS; BLASTING
- F16—ENGINEERING ELEMENTS AND UNITS; GENERAL MEASURES FOR PRODUCING AND MAINTAINING EFFECTIVE FUNCTIONING OF MACHINES OR INSTALLATIONS; THERMAL INSULATION IN GENERAL
- F16C—SHAFTS; FLEXIBLE SHAFTS; ELEMENTS OR CRANKSHAFT MECHANISMS; ROTARY BODIES OTHER THAN GEARING ELEMENTS; BEARINGS
- F16C19/00—Bearings with rolling contact, for exclusively rotary movement
- F16C19/02—Bearings with rolling contact, for exclusively rotary movement with bearing balls essentially of the same size in one or more circular rows
- F16C19/14—Bearings with rolling contact, for exclusively rotary movement with bearing balls essentially of the same size in one or more circular rows for both radial and axial load
- F16C19/16—Bearings with rolling contact, for exclusively rotary movement with bearing balls essentially of the same size in one or more circular rows for both radial and axial load with a single row of balls
- F16C19/163—Bearings with rolling contact, for exclusively rotary movement with bearing balls essentially of the same size in one or more circular rows for both radial and axial load with a single row of balls with angular contact
- F16C19/166—Four-point-contact ball bearings
Landscapes
- Engineering & Computer Science (AREA)
- General Engineering & Computer Science (AREA)
- Mechanical Engineering (AREA)
- Rolling Contact Bearings (AREA)
Description
【発明の属する技術分野】
本発明は、ベルトによって駆動されるカーエアコンコンプレッサ用電磁クラッチなどの自動車補機やベルトCVTなどの自動車用プーリを支持するのに好適な多点接触玉軸受に関する。
【0002】
【従来の技術】
電磁クラッチなどの自動車補機用プーリを軸受で支持した場合、プーリに掛け回されるベルトの幅方向中心位置と軸受の軸方向中心位置とがずれている場合がある。この場合、ベルトの張力は、軸受にラジアル荷重を与えると同時に、上記ずれ(オフセット)量に比例したモーメント荷重を与える。モーメント荷重は、支持軸に対してプーリを傾けるように作用する。
ここで、プーリが大きく傾くと、ベルトが偏磨耗し、ベルト早期破損の原因となる。また、電磁クラッチの場合には、プーリの変位や傾きが大きくなると、クラッチOFFの状態に必要な、クラッチ部材間の一定の隙間が確保されない。クラッチ部材間の隙間が大きくなると電磁クラッチの動作不良が生じ、逆に隙間が小さくなると部材の衝突や磨耗、異音発生などの不具合が生じる。したがって、このような用途には、従来、剛性の高い複列アンギュラ玉軸受が用いられてきた。
【0003】
しかし、昨今、自動車のコンパクト化、コストダウン化に対応するため、プーリ支持用軸受を単列化する傾向がある。複列アンギュラ玉軸受は、単列玉軸受に比べて幅寸法が大きいため、昨今の自動車に要求される省スペース化には適さない。また、複列アンギュラ玉軸受は、構造上も大きさからも、単列玉軸受に比べてコスト高になる。
【0004】
プーリ支持用単列軸受として、上記のようなプーリの変位や傾きを抑える必要から、モーメント剛性の高い4点接触玉軸受や、3点接触玉軸受を使おうとする動きがある(例えば、特開平11−336795号公報、特開平11−210766号公報、特開2000−120668号公報等)。
【0005】
また、複列アンギュラ玉軸受を使用した際に発生する異音抑制の観点から、4点接触玉軸受や3点接触玉軸受を使おうとする動きもある(例えば、特開平9−119510号公報、特開平9−126303号公報、特開2000−170752号公報等)。
【0006】
【発明が解決しようとする課題】
しかし、上記4点接触玉軸受や3点接触玉軸受では、特開平11−210766号公報で指摘されているように、転動体である玉と2点で接触する軌道輪上において、玉と軌道間のスピン運動によるすべりが大きく、過大な発熱、焼付き、磨耗などの問題が生じやすい。プーリ支持用軸受は自動車のエンジン近傍で使用されるため、使用条件によっては、軸受周囲の温度がかなりの高温になる。周囲が高温で、更に軸受内部の発熱が高いとき、軸受内部の温度、特に玉と内輪軌道との接触楕円内で、局所的に温度が著しく高くなることが想定できる。
この局所的な高温にさらされることで、軸受内部の潤滑グリースが劣化し、潤滑不良から最終的には軸受がロックしてしまう不具合が考えられる。高温下で使用されるプーリ支持用多点接触玉軸受では、転がり疲れ寿命に到達する前に、グリースの劣化による潤滑不良によって軸受の運転性能が損なわれてしまう可能性が高い。
【0007】
本発明は、上記事情に鑑みてなされたもので、その目的は、モーメント荷重もしっかりと支持でき、高温下で使用されても異常発熱及び潤滑剤劣化が生じないプーリ支持用単列軸受を提供することにある。
【0008】
【課題を解決するための手段】
本発明の目的は、下記構成により達成される。
(1) 外周面に内輪軌道を有する内輪と、内周面に外輪軌道を有する外輪と、前記内輪軌道と前記外輪軌道との間に転動自在に設けられた複数の玉と、を備え、ベルト駆動されるプーリ支持用単列軸受において、グリース潤滑される4点接触玉軸受であって、ラジアル荷重が負荷される負荷中心が、軸受中心から軸方向にずれており、前記内輪軌道において前記軸受中心から前記負荷中心の側で第一の接触点を提供する第一溝のレスト角が、前記内輪軌道において前記軸受中心から前記負荷中心とは反対側で第二の接触点を提供する第二溝のレスト角より小さいことを特徴とするプーリ支持用単列軸受。
(2) 前記第一溝のレスト角と前記第二溝のレスト角との差が2°以上である(1)に記載のプーリ支持用単列軸受。
(3) 前記第一溝のレスト角が10°〜18°である(1)又は(2)に記載のプーリ支持用単列軸受。
(4) 前記内輪軌道のレスト角を前記外輪軌道のレスト角より小さくしたことを特徴とする(1)〜(3)のいずれかに記載のプーリ支持用単列軸受。
(5) 前記内輪軌道のレスト角と前記外輪軌道のレスト角との差が2°以上である(4)に記載のプーリ支持用単列軸受。
(6) 外周面に内輪軌道を有する内輪と、内周面に外輪軌道を有する外輪と、前記内輪軌道と前記外輪軌道との間に転動自在に設けられた複数の玉と、を備え、ベルト駆動されるプーリ支持用単列軸受において、グリース潤滑される3点接触玉軸受であって、ラジアル荷重が負荷される負荷中心が、軸受中心から軸方向にずれており、前記内輪軌道において前記軸受中心から前記負荷中心の側で第一の接触点を提供する第一溝のレスト角が、前記内輪軌道において前記軸受中心から前記負荷中心とは反対側で第二の接触点を提供する第二溝のレスト角より小さいことを特徴とするプーリ支持用単列軸受。
(7) 前記第一溝のレスト角と前記第二溝のレスト角との差が2°以上である(6)に記載のプーリ支持用単列軸受。
(8) 前記第一溝のレスト角が10°〜18°である(6)又は(7)に記載のプーリ支持用単列軸受。
(9) 前記軸受の向きを外部に表示するマークが設けられた(1)〜(8)のいずれかに記載のプーリ支持用単列軸受。
【0009】
上記構成によれば、すべりが大きくなる軌道のレスト角を小さくすることにより、その軌道と玉との間にできる接触楕円内の局所的な発熱を抑えることができる。このため、潤滑剤の劣化が少なく、高温下での使用に耐えることができる。また、第一の接触点を提供する第一溝のレスト角と第二の接触点を提供する第二溝のレスト角とを異なる値にすると、2個の溝の両方についてレスト角を小さくしたとき(2個の溝を対称にしたとき)に比べて、プーリの変位や傾きを小さく抑えることができる。
【0010】
【発明の実施の形態】
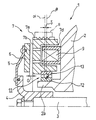
以下、本発明の実施形態を、図面に基づいて詳細に説明する。図1は自動車用プーリの構成を示す要部の拡大断面図である。この自動車用プーリ1は、カーエアコンコンプレッサ用電磁クラッチに関するものである。この電磁クラッチは、車両走行用エンジンに発生する回転動力を冷凍サイクルのコンプレッサに伝達したり遮断したりするものである。図1に示すように、コンプレッサハウジング2の中心から回転自在に突出した駆動軸3の先端部に回転円盤4が設けられ、回転円盤4の外周側には可撓部材5を介してアーマチュア6が取り付けられている。駆動軸3の周囲を囲むようにして、コンプレッサハウジング2と一体に円筒軸2aが突出するように設けられ、その外周面に、多点接触玉軸受の一例である4点接触玉軸受11の内輪12が固定されている。
【0011】
4点接触玉軸受11の外輪13には、ロータ7が外嵌されている。ロータ7の外周面には、プーリ7aが一体的に設けられている。プーリ7aの外周面に、想像線で示すようにベルト8が掛け回される。ロータ7のコンプレッサハウジング2側とは反対側の側面には、アーマチュア6と接触して摩擦力により回転力を伝達する摩擦面7bが形成されている。ロータ7のコンプレッサハウジング2側の側面には凹所7dが設けられている。凹所7d内には、電磁コイル9が、ロータ7と接触しないように収容されている。電磁コイル9は、コンプレッサハウジング2に固定されている。
【0012】
電磁コイル9の非励磁時には、摩擦面7bとアーマチュア6との間に隙間Gがあいている。
電磁コイル9に電流を流すと磁界が発生し、アーマチュア6が可撓部材5の弾性に抗して電磁コイル9側に引き付けられ、摩擦面7bに押圧接触する。この結果、プーリ7aの回転力がアーマチュア6、回転円盤4、駆動軸3を介してコンプレッサを駆動するように伝達される。
ベルト8の幅方向中心位置αと、軸受11の軸方向中心位置βとは、オフセット量δでずれており、軸受11にはモーメント荷重が作用する。
【0013】
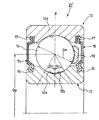
上記4点接触玉軸受11は、図2に示すように、内輪12と外輪13との間に複数の玉14を転動自在に配設したものである。内輪12の外径面には玉14との第一の接触点を提供する第一溝12aと、玉14との第二の接触点を提供する第二溝12bとが設けられ、それらによって内輪軌道が形成されている。外輪13の内径面にも、玉14との第一の接触点を提供する第一溝13aと、玉14との第二の接触点を提供する第二溝13bとが設けられ、それらによって外輪軌道が形成されている。外輪軌道の断面形状は、玉14とレスト角θoで接触するゴシックアーチ形状にされ、軸受の軸方向中心線βに対して対称な形状になっている。外輪13の第一溝13aの曲率半径と第二溝13bの曲率半径とは等しい(RO)。
なお、図2の左方に付した符号Dpはピッチ円径を表し、Daは玉14の直径(玉径)を表している。
【0014】
内輪軌道の断面形状は、玉14とレスト角θiで接触するゴシックアーチ形状にされ、軸受の軸方向中心線βに対して対称な形状になっている。内輪12の第一溝12aの曲率半径と第二溝12bの曲率半径とは等しい(Ri)。
内輪12のレスト角θiは、外輪13のレスト角θoより小さくされており、好ましくは2°以上小さくされている。
【0015】
玉14は保持器18によって転動自在に保持されている。玉14を挟む軸方向両側に、シール部材15,15が設けられている。シール部材15の外周部は、外輪13の内径面に設けられた係止溝17に固定され、シール部材15の内周部(リップ部)は、内輪の外径面に設けられたシール溝16の側面に接している。
潤滑方式としては、グリース潤滑を採用することができる。
【0016】
以上のような4点接触玉軸受11を自動車用プーリ1に用いることで、内輪12の第一及び第二溝12a,12bと玉14との間にできる接触楕円内のすべりが小さくなり、接触楕円内での局所的な発熱を抑えることができる。このため、潤滑剤劣化が少なく、高温下での使用に長期間耐えることができる。
【0017】
図3に、多点接触玉軸受の別の例として、4点接触玉軸受の第2例を示す。この4点接触玉軸受21は、内輪軌道の断面形状が、軸受の軸方向中心線βに対して非対称な形状になっている。内輪12の第一溝12aのレスト角θi1は、内輪12の第二溝12bレスト角θi2より小さくされており、好ましくは2°以上小さくされている。軸方向中心線βに対してずれた軸方向位置(図1のα)にラジアル荷重がかかる場合、第一溝12aがラジアル荷重の軸方向位置に近くなるように、玉軸受21は組み込まれる。玉軸受21の外輪13やシール部材15に、どちら側に第一溝12aがあるかを示す識別マークを設けておくことができる。
第二溝12bのレスト角θi2は、外輪13の第一及び第二溝13a,13bのレスト角θoと同等であってもよいし、θoより小さくてもよい。
【0018】
図4に、多点接触玉軸受の別の例として、3点接触玉軸受21’を示す。図4に示すように、内輪12の外径面には第一溝12aと第二溝12bとが設けられ、それらによって内輪軌道が形成されている。一方、外輪13の内径面には、単一の接触点で玉14と接する外輪軌道13dが形成されている。
他の構成は、図3に示した玉軸受21と同様とすることができる。
【0019】
図5に示すような、内輪軌道及び外輪軌道の双方を軸方向中心線βに対称なゴシックアーチ形状にされた従来品の4点接触玉軸受に、ラジアル荷重を負荷したときの運転状態を、計算機を用いた解析でシミュレートした。解析に用いた条件を表1に示す。ラジアル荷重は、軸受中心(図1〜図4に示したβ)から軸方向に4.35mmずれた(オフセットした)位置(図1のα)に負荷されるものとした。
【0020】
【表1】
【0021】
解析手法には「4点接触玉軸受の性能解析」(谷口、荒牧、正田;(社)日本トライボロジー学会、トライボロジー会議1996年春 東京 講演予稿集)に記載の方法を採用した。本解析によって計算される軸受の摩擦トルクは、実験によるトルク測定結果に一致することが報告されている。
ここでは、計算によって得られる最大PV値に注目する。PV値は、玉と内外輪軌道面の接触点における発熱や摩耗の指標として、しばしば用いられるパラメータである(例えば特開平11−210766号公報など)。
玉と軌道との接触点は、実際には表面の弾性変形により、ヘルツの接触理論において楕円形で表される領域をもつ面となる。PV値は、この接触面内の面圧Pとすべり速度Vとの積である。解析では、各玉と各軌道との接触面内において、PV値を計算している。PV値に表面間のすべり摩擦係数μを乗じた値μPVは、単位面積・単位時間当たりのすべりによる摩擦損失(=発熱)である。
【0022】
図5の、4個の溝のレスト角がすべて等しい4点接触玉軸受51に、ラジアル荷重1000Nを負荷した際の、玉54の各接触点における最大PV値を計算機によって解析した結果を図6に示す。図6に示すように、外輪53にかかるラジアル荷重の位置に近い側の内輪軌道(第一溝)上のPV値が、他の接触点に比べて大きくなった。
【0023】
軸受の耐久性を低下させる高温下のグリース劣化については、玉一個分や、接触楕円一つ分といった局所的な発熱、温度上昇が影響していると考えられる。したがって、PV値に代表されるすべり発熱をできるだけ小さく抑えることによって、高温下で使用されるプーリ用軸受の寿命延長を図ることができる。
【0024】
PV値を抑えるためには、接触楕円内のすべり速度Vを小さくすることが有効である。運転時に玉と軌道が接触するときの角度(接触角)を小さくすると、接触楕円内のスピン運動によるすべり速度Vを小さく抑えることができる。
しかし、軸受運転時の接触角は、運転条件(荷重、回転数)や軸受すきまなどの影響によって変化する。また、機械に組み込まれて運転している軸受の接触角を実際に測定することも難しい。したがって、単純に接触角の大きさを議論することは実用的ではない。そこで、本発明では、軸受運転時の接触角に及ぼす影響が大きく、また、測定も容易なレスト角に着目する。レスト角は、静止状態において、内輪又は外輪それぞれにある2つの溝の双方に玉を接触させたときの接触角として定義される。
【0025】
まず、大きなPV値が問題となっている内輪のレスト角を変えて計算を行った。結果を図7に示す。ここでは、内輪の第一及び第二溝の両方を同じレスト角としている。外輪軌道のレスト角は、表1の条件と同じである。
図7から、内輪軌道のレスト角を小さくすると、接触点における最大PV値が減少することがわかる。結果として、局所的な発熱が減少し、耐久時間延長の効果が期待できる。
【0026】
次に、図6でPV値が特に大きいとされた内輪第一溝のレスト角のみを変化させて計算を行った。結果を図8に示す。外輪軌道と、内輪第二溝のレスト角は、表1の条件と同じである。内輪第一溝のみのレスト角を小さくするとによっても、図7と同様、接触点における最大PV値が減少し、耐久時間延長の効果がある。
【0027】
PV値の限界には諸説あるが、発明者らの研究では、計算によるPV値が1.5〜2.0GPam/sを超えると、軌道面の摩耗が問題になることがわかっている(特開平11−210766号公報)。ラジアル荷重2000Nに対する計算結果から、図7における内輪軌道のレスト角、または図8における内輪第一溝のレスト角を18度以下にしたとき、すなわち、図7における外輪軌道のレスト角と内輪軌道のレスト角の差、または図8における内輪第一溝のレスト角と内輪第二溝のレスト角の差を2度以上とすると、PV値が2.0GPam/sを下まわり、摩耗などの問題が発生しにくくなることが期待できる。
【0028】
図7、図8に示した二通りの方法でレスト角を変化させた場合の、プーリ外径部(直径110mm)の軸方向変位を図9に示す。内輪第一溝、第二溝のレスト角をともに変化させて、対称断面の内輪としたときには、レスト角を小さくすると、プーリ外径部の変位が大きくなることがわかる。一方、内輪第一溝のレスト角のみを変化させた場合は、プーリ外径部の移動量はほとんど変化しない。ベルトがかかるプーリ外径部の変位が大きくなることは、ベルトの偏摩耗や、電磁クラッチの場合は、クラッチの動作不良などの問題が生じる可能性がある。プーリ軸受としての剛性を維持しながら、局所的な接触楕円内のすべり発熱を抑え、軸受の耐久時間延長を図るためには、4点接触玉軸受の2個の溝のうち、すべり発熱の大きい一方のレスト角を他方のそれに比べて小さくする方法が有効である。
【0029】
実際の軸受では、レスト角を過度に小さくすると、運転中の接触角が極めて小さくなる。極端なケースでは、接触楕円が第一溝と第二溝の境界を越えて、反対側の溝にはみ出す可能性がある。こういった場合には、4点接触玉軸受として設計された剛性や摩擦トルクといった軸受の運転性能が期待できない。また、第一溝と第二溝の境界部(みぞ底)は、十分な形状精度や表面粗さを得ることが難しいことから、軸受寿命が短くなるなどの問題がある。以上の観点から、本発明でとりあげたレスト角の大きさには、下限が決定されると考えられる。この観点からレスト角の下限を10度とすることが好ましい。
【0030】
また、プーリや自動車用補機などへの組み付けを考慮すると、レスト角が第一溝、第二溝で異なる軸受には、オフセット荷重の方向に対して正しい向きに軸受を組み付けることができるように、方向を示す識別マークを表示することが好ましい。
【0031】
なお、単列4点接触玉軸受の外輪上の2個の溝についても同様に、すべりの大きい側の溝のレスト角を、他方のレスト角よりも小さくすることによって、局所的な発熱を抑えて、グリース劣化を低減させる効果がある。
このとき、内外輪の対向する溝(玉14の中心を挟んで対抗する溝;例えば内輪第一溝と外輪第二溝)のレスト角を一致させる必要はない。
【0032】
なお、図4に示した3点接触玉軸受においても、玉と2点で接触する軌道輪上の2個の溝のレスト角に上記同様の違いをもたせることは、スピンすべりを低減し、発熱を抑制する効果がある。したがって、本発明は3点接触玉軸受に適用しても有効である。
なお、ここでは、カーエアコンコンプレッサ用電磁クラッチのような自動車補機用プーリについて説明したが、軸方向にオフセットされた大きなラジアル荷重を支持し、かつ軸方向の剛性が必要とされる、自動車に用いられるプーリやその支持軸受、たとえば、ベルト式CVTのプーリやその支持軸受に本発明を適用しても同様の効果が期待できる。
【0033】
【発明の効果】
以上説明したように、本発明に係る多点接触玉軸受によれば、軌道上の局所的な発熱を抑え、グリース劣化や摩耗による寿命低下を防ぐことができる。また、この多点接触玉軸受を適用した自動車用プーリは、所定の剛性を維持しながら、多点接触玉軸受が局所的な発熱の抑制、耐久時間延長等を可能にする構成であることから、自動車用プーリ自体の信頼性向上はもとより、自動車の信頼性向上をも図り得る。
【図面の簡単な説明】
【図1】本発明の実施形態である自動車用プーリの構成を示す要部の拡大断面図である。
【図2】多点接触玉軸受の第1例を示す断面図である。
【図3】多点接触玉軸受の第2例を示す断面図である。
【図4】多点接触玉軸受の第3例を示す断面図である。
【図5】従来品における玉と軌道との接触点の位置を示す模式的断面図である。
【図6】玉と軌道との接触点の位置と最大PV値との関係を示す特性図である。
【図7】レスト角と最大PV値との関係を示す特性図である。
【図8】レスト角と最大PV値との関係を示す特性図である。
【図9】レスト角とプーリ外径部の軸方向移動量との関係を示す特性図である。
【符号の説明】
1 自動車用プーリ
7a プーリ
8 ベルト
11,21 4点接触玉軸受(多点接触玉軸受)
12 内輪
12a 第一溝
12b 第二溝
14 玉
Claims (9)
- 外周面に内輪軌道を有する内輪と、内周面に外輪軌道を有する外輪と、前記内輪軌道と前記外輪軌道との間に転動自在に設けられた複数の玉と、を備え、ベルト駆動されるプーリ支持用単列軸受において、
グリース潤滑される4点接触玉軸受であって、
ラジアル荷重が負荷される負荷中心が、軸受中心から軸方向にずれており、
前記内輪軌道において前記軸受中心から前記負荷中心の側で第一の接触点を提供する第一溝のレスト角が、前記内輪軌道において前記軸受中心から前記負荷中心とは反対側で第二の接触点を提供する第二溝のレスト角より小さいことを特徴とするプーリ支持用単列軸受。 - 前記第一溝のレスト角と前記第二溝のレスト角との差が2°以上である請求項1に記載のプーリ支持用単列軸受。
- 前記第一溝のレスト角が10°〜18°である請求項1又は2に記載のプーリ支持用単列軸受。
- 前記内輪軌道のレスト角を前記外輪軌道のレスト角より小さくしたことを特徴とする請求項1〜3のいずれかに記載のプーリ支持用単列軸受。
- 前記内輪軌道のレスト角と前記外輪軌道のレスト角との差が2°以上である請求項4に記載のプーリ支持用単列軸受。
- 外周面に内輪軌道を有する内輪と、内周面に外輪軌道を有する外輪と、前記内輪軌道と前記外輪軌道との間に転動自在に設けられた複数の玉と、を備え、ベルト駆動されるプーリ支持用単列軸受において、
グリース潤滑される3点接触玉軸受であって、
ラジアル荷重が負荷される負荷中心が、軸受中心から軸方向にずれており、
前記内輪軌道において前記軸受中心から前記負荷中心の側で第一の接触点を提供する第一溝のレスト角が、前記内輪軌道において前記軸受中心から前記負荷中心とは反対側で第二の接触点を提供する第二溝のレスト角より小さいことを特徴とするプーリ支持用単列軸受。 - 前記第一溝のレスト角と前記第二溝のレスト角との差が2°以上である請求項6に記載のプーリ支持用単列軸受。
- 前記第一溝のレスト角が10°〜18°である請求項6又は7に記載のプーリ支持用単列軸受。
- 前記軸受の向きを外部に表示するマークが設けられた請求項1〜8のいずれかに記載のプーリ支持用単列軸受。
Priority Applications (1)
| Application Number | Priority Date | Filing Date | Title |
|---|---|---|---|
| JP2001368559A JP4058601B2 (ja) | 2001-12-03 | 2001-12-03 | プーリ支持用単列軸受 |
Applications Claiming Priority (1)
| Application Number | Priority Date | Filing Date | Title |
|---|---|---|---|
| JP2001368559A JP4058601B2 (ja) | 2001-12-03 | 2001-12-03 | プーリ支持用単列軸受 |
Publications (2)
| Publication Number | Publication Date |
|---|---|
| JP2003172362A JP2003172362A (ja) | 2003-06-20 |
| JP4058601B2 true JP4058601B2 (ja) | 2008-03-12 |
Family
ID=19178133
Family Applications (1)
| Application Number | Title | Priority Date | Filing Date |
|---|---|---|---|
| JP2001368559A Expired - Fee Related JP4058601B2 (ja) | 2001-12-03 | 2001-12-03 | プーリ支持用単列軸受 |
Country Status (1)
| Country | Link |
|---|---|
| JP (1) | JP4058601B2 (ja) |
Families Citing this family (1)
| Publication number | Priority date | Publication date | Assignee | Title |
|---|---|---|---|---|
| IT202300006525A1 (it) * | 2023-04-03 | 2024-10-03 | Skf Ab | Unita’ cuscinetto |
-
2001
- 2001-12-03 JP JP2001368559A patent/JP4058601B2/ja not_active Expired - Fee Related
Also Published As
| Publication number | Publication date |
|---|---|
| JP2003172362A (ja) | 2003-06-20 |
Similar Documents
| Publication | Publication Date | Title |
|---|---|---|
| JP3736149B2 (ja) | 3点接触玉軸受を有する電磁クラッチ | |
| JP2001208081A (ja) | 単列深溝型ラジアル玉軸受 | |
| US7448806B2 (en) | Rotation support device for compressor pulley | |
| JP2000240663A (ja) | 玉軸受 | |
| JPH11336795A (ja) | 電磁クラッチ用軸受 | |
| JPWO2003069175A1 (ja) | エンジン補機プーリ用軸受 | |
| JP4017818B2 (ja) | 玉軸受 | |
| JP4085235B2 (ja) | プーリ支持用単列玉軸受 | |
| KR20120009724A (ko) | 하이브리드 공기포일베어링 | |
| JP4058601B2 (ja) | プーリ支持用単列軸受 | |
| JP2000120668A (ja) | 電磁クラッチ用軸受 | |
| JP2005042892A (ja) | 玉軸受 | |
| JP2003042160A (ja) | アンギュラ玉軸受及び主軸装置 | |
| JP2003247556A (ja) | 多点接触玉軸受及び自動車用プーリ | |
| CN216278471U (zh) | 一种车用压缩机及其分体式轴套 | |
| JP2004011801A (ja) | 深溝玉軸受及びファンカップリング装置 | |
| JP2005226738A (ja) | 転がり軸受用保持器およびそれを備えた転がり軸受並びにその転がり軸受を用いたファンモータ | |
| JPWO2003025409A1 (ja) | プーリ回転支持装置 | |
| JP3557265B2 (ja) | アイドラプーリ | |
| JPH11336772A (ja) | 転がり軸受 | |
| JP2003021149A (ja) | コンプレッサ用プーリの回転支持装置 | |
| JP2004263819A (ja) | 多点接触型玉軸受 | |
| JP2005048847A (ja) | ボールねじ一体型直動案内ユニット | |
| JP3557264B2 (ja) | アイドラプーリ | |
| JP2003097578A (ja) | 回転支持装置 |
Legal Events
| Date | Code | Title | Description |
|---|---|---|---|
| A621 | Written request for application examination |
Free format text: JAPANESE INTERMEDIATE CODE: A621 Effective date: 20041025 |
|
| RD04 | Notification of resignation of power of attorney |
Free format text: JAPANESE INTERMEDIATE CODE: A7424 Effective date: 20060324 |
|
| A131 | Notification of reasons for refusal |
Free format text: JAPANESE INTERMEDIATE CODE: A131 Effective date: 20070523 |
|
| A521 | Written amendment |
Free format text: JAPANESE INTERMEDIATE CODE: A523 Effective date: 20070720 |
|
| TRDD | Decision of grant or rejection written | ||
| A01 | Written decision to grant a patent or to grant a registration (utility model) |
Free format text: JAPANESE INTERMEDIATE CODE: A01 Effective date: 20071121 |
|
| A61 | First payment of annual fees (during grant procedure) |
Free format text: JAPANESE INTERMEDIATE CODE: A61 Effective date: 20071204 |
|
| FPAY | Renewal fee payment (event date is renewal date of database) |
Free format text: PAYMENT UNTIL: 20101228 Year of fee payment: 3 |
|
| R150 | Certificate of patent or registration of utility model |
Ref document number: 4058601 Country of ref document: JP Free format text: JAPANESE INTERMEDIATE CODE: R150 Free format text: JAPANESE INTERMEDIATE CODE: R150 |
|
| FPAY | Renewal fee payment (event date is renewal date of database) |
Free format text: PAYMENT UNTIL: 20111228 Year of fee payment: 4 |
|
| FPAY | Renewal fee payment (event date is renewal date of database) |
Free format text: PAYMENT UNTIL: 20111228 Year of fee payment: 4 |
|
| FPAY | Renewal fee payment (event date is renewal date of database) |
Free format text: PAYMENT UNTIL: 20121228 Year of fee payment: 5 |
|
| FPAY | Renewal fee payment (event date is renewal date of database) |
Free format text: PAYMENT UNTIL: 20121228 Year of fee payment: 5 |
|
| FPAY | Renewal fee payment (event date is renewal date of database) |
Free format text: PAYMENT UNTIL: 20131228 Year of fee payment: 6 |
|
| LAPS | Cancellation because of no payment of annual fees |
