JP3658366B2 - 遊技機 - Google Patents
遊技機 Download PDFInfo
- Publication number
- JP3658366B2 JP3658366B2 JP2001374472A JP2001374472A JP3658366B2 JP 3658366 B2 JP3658366 B2 JP 3658366B2 JP 2001374472 A JP2001374472 A JP 2001374472A JP 2001374472 A JP2001374472 A JP 2001374472A JP 3658366 B2 JP3658366 B2 JP 3658366B2
- Authority
- JP
- Japan
- Prior art keywords
- connector
- control board
- main control
- claw
- connectors
- Prior art date
- Legal status (The legal status is an assumption and is not a legal conclusion. Google has not performed a legal analysis and makes no representation as to the accuracy of the status listed.)
- Expired - Lifetime
Links
Images
Landscapes
- Pinball Game Machines (AREA)
Description
【発明の属する技術分野】
本発明は、パチンコ機、アレンジボール機、雀球遊技機、回胴式遊技機等の各種の遊技機、取り分け第2コネクタの第1コネクタからの外れを防止できるようにしたものである。
【0002】
【従来の技術】
例えばパチンコ機等の弾球遊技機では、遊技盤に始動手段、入賞手段、図柄表示手段、大入賞手段等の遊技部品を配置する一方、基板ケース内の主制御基板に、CPU、ROM、RAM等を含む電子部品を装着して、主制御基板側のROM等の電子部品により、各遊技部品による遊技動作を制御する電子制御方式を採用している。
【0003】
主制御基板と他の制御基板又は遊技部品とを電気的に接続する場合、例えば特開2001−137507号公報に記載のように、制御基板側に装着された第1コネクタに一対の係止凹部を設け、この第1コネクタに接続される第2コネクタの内部に、第1コネクタの係止凹部に係合する一対の係合爪を設け、第2コネクタを第1コネクタに接続したときに係合爪が係止凹部に係合して、第1コネクタと第2コネクタとを接続状態で離脱不能に結合するようにしたものがある。
【0004】
【発明が解決しようとする課題】
この従来のコネクタ構造では、第2コネクタを一旦第1コネクタに接続すれば、両者の接続状態を解除できないので、第2コネクタを外して不正行為を働く等の不正対策用としては効果的であり、また第2コネクタの不測の脱落等を防止できる利点がある。
【0005】
しかし、第1コネクタに一対の係合凹部を、第2コネクタに一対の係合爪を夫々設けているため、各コネクタが形状的に大型化して、スペース的に制約がある箇所には採用できない欠点がある。また接続後に第2コネクタを取り外して点検等を行うことができず、第2コネクタの着脱を必要とする箇所では使用できない。
【0006】
本発明は、このような従来の問題点に鑑み、コネクタの大型化を伴わずに第2コネクタの不測の脱落等を防止できる遊技機を提供することを目的とする。
【0007】
【課題を解決するための手段】
本発明は、基板16,75を収容する基板ケース17,76と、前記基板16,75側に装着された第1コネクタ27と、該第1コネクタ27に着脱自在に接続された第2コネクタ28とを備えた遊技機において、前記第2コネクタ28の前記第1コネクタ27からの外れを、解除可能に規制する規制手段54を前記基板ケース17,76に設けたものである。
【0008】
【発明の実施の形態】
以下、本発明の各実施形態を図面に基づいて詳述する。図1〜図6は本発明をパチンコ機に採用した第1の実施形態を例示する。図1及び図2において、1は遊技機本体で、外枠2と、この外枠2に開閉自在に枢着された前枠3とを有する。前枠3には遊技盤4が裏側から着脱自在に装着されると共に、遊技盤4の下側に、発射用の遊技球を貯留する上皿5が装着されている。また前枠3の下部には、余剰球を貯留する下皿ユニット6と、発射手段7の発射ハンドル8とが設けられている。
【0009】
前枠3の裏側には、遊技盤4を裏側から押さえる裏機構板9が開閉自在に装着されている。裏機構板9には、遊技盤4の裏側の裏カバー10が嵌合する開口部11が形成され、その上側に遊技球タンク12及びタンクレール13が、左右方向の一側に払い出し手段14が、下側に通路ユニット15が夫々設けられている。遊技球タンク12は、遊技球補給系から補給された遊技球を貯留して、タンクレール13を経て払い出し手段14側へと供給するようになっている。払い出し手段14はモータ駆動による回転式であって、通路ユニット15等を経て上皿5側へと遊技球を払い出すようになっている。
【0010】
裏カバー10は、遊技盤4に装着された特別図柄表示手段等の複数個の遊技部品を裏側から覆うためのもので、遊技盤4に着脱自在に固定されている。裏カバー10には、主制御基板16を収容する主制御基板ケース17と、ランプ制御基板18を収容するランプ制御基板ケース19と、音声制御基板20を収容する音声制御基板ケース21とが着脱自在に装着されている。主制御基板ケース17は裏カバー10の上部側に配置され、この主制御基板ケース17の下側にランプ制御基板ケース19と音声制御基板ケース21とが左右に配置されている。
【0011】
通路ユニット15の裏側には、ケース取り付け板22を介して制御基板ケース23が着脱自在に装着され、この制御基板ケース23内に電源基板24と払い出し制御基板25とが左右に収容されている。
【0012】
主制御基板16は図3、図4に示すように矩形状、その他の適宜形状であって、その一側面にCPU、その他の電子部品26が装着されると共に、隣り合う2辺等の周辺部にその各辺に沿って1個又は複数個の第1コネクタ27が装着されている。各第1コネクタ27には、フラットケーブル、リード線等の接続線29側の第2コネクタ28が着脱自在に接続されている。各第1コネクタ27は図6に示すように複数個の接触ピン30と、周辺部分に平面視コ字状に設けられた側壁部31とを有し、側壁部31の開放側が主制御基板16の内側となるように装着されている。第2コネクタ28は主制御基板16の板厚方向の外側から第1コネクタ27の側壁部31内に着脱自在に挿入されている。なお、第1コネクタ27は主制御基板16の短辺側に3個、長辺側に6個配置されているが、その数は単なる例示に過ぎず、必要に応じて適宜増減すれば良い。
【0013】
主制御基板ケース17は主制御基板16に応じた形状の箱状、例えば左右方向に長い矩形箱状であって、図3〜図5に示すように、主制御基板16を一側から覆うベース体32と、主制御基板16を他側から覆うカバー体33とを備えると共に、隣り合う一方の二辺に係合手段34,35が、隣り合う他方の二辺の内側に複数個の封止手段36が夫々設けられ、この係合手段34,35と封止手段36とによりベース体32とカバー体33とが開閉自在に結合されている。
【0014】
ベース体32は、図3及び図4に示すように略矩形板状の下底板37と、この下底板37の一方の短辺及び長辺側から起立する長側板38,39と、他方の短辺及び長辺側から起立する短側板40,41とを一体に備えている。ベース体32には、下底板37の内側近傍にボス部等を介して主制御基板16が着脱自在に固定され、また下底板37の外側にノイズ防止用の導体板42が着脱自在に装着されている。
【0015】
カバー体33は、略矩形板状の上底板43と、この上底板43の一方の短辺及び長辺側から起立する長側板44,45と、他方の短辺及び長辺側から起立する短側板46,47とを一体に備え、その短側板46,47と内側の嵌合リブ48との間にベース体32の長側板38,39の上端側が嵌合している。なお、ベース体32及びカバー体33の各側板38〜41,44〜47は同じ高さでも良いし、カバー体33側の側板44〜47の全体を高くして、ベース体32側を偏平な板状に構成しても良い。上底板43の外側には、検査履歴の記録紙等を貼付する貼付部49と、放熱用の多数の小孔50とが設けられている。
【0016】
カバー体33の各長側板44,45には、内側に凹入する凹部51と、この各凹部51の主制御基板16側の端部から外側に屈曲する段部52とが一体に形成されている。各段部52は主制御基板16の電子部品26の装着側に近接又は当接しており、この各段部52に長孔状のコネクタ嵌合孔53が各辺に沿って1個又は複数個形成されいる。コネクタ嵌合孔53は各辺に沿って2個(複数個)あり、その各コネクタ嵌合孔53に1個又は複数個の第1コネクタ27が嵌合している。
【0017】
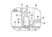
カバー体33には、第2コネクタ28の第1コネクタ27からの外れを規制する規制手段54が、外れ止め対象とするコネクタ27,28に対応して一体に設けられている。各規制手段54は、図5及び図6に示すように、第2コネクタ28の外れ方向である主制御基板16と反対側から第2コネクタ28に当接又は近接して係合する爪部55と、この爪部55をカバー体33の長側板44,45に連接する板状の爪支持部56とを有し、カバー体33の各凹部51内でその長側板44,45に設けられている。爪支持部56は第2コネクタ28の第1コネクタ27に対する着脱方向に沿って配置され、爪部55と反対の主制御基板16側の端部でカバー体33の長側板44,45の端部と一体になっており、他の部分はカバー体33の長側板44,45から分離されている。爪支持部56はそれ自体の弾性、又は長側板44,45との連接部分の弾性等により、爪部55が第2コネクタ28に対して係脱する方向に弾性変形可能である。
【0018】
なお、この実施形態では短辺側の3個のコネクタ27,28の内、その隣り合う2個のコネクタ27,28が一方のコネクタ嵌合孔53に、1個のコネクタ27,28が他方のコネクタ嵌合孔53に夫々嵌合しているため、カバー体33の短辺側の長側板44にはその2個のコネクタ27,28の対向端部に対応する規制手段54と、1個のコネクタ27,28の中間部に対応する規制手段54とが設けられている。また長辺側の6個のコネクタ27,28の内、その隣り合う4個のコネクタ27,28が一方のコネクタ嵌合孔53に、2個のコネクタ27,28が他方のコネクタ嵌合孔53に夫々嵌合しているため、カバー体33の長辺側の長側板45にはその隣り合う各2個のコネクタ27,28の対向端部に夫々対応する3個の規制手段54が設けられている。各規制手段54は、第1コネクタ27の側壁部31の開放側よりも内側で段部52側に設けられている。
【0019】
係合手段34は主制御基板ケース17の長手方向の一端側にあり、図3及び図4(A)に示すように、ベース体32の短側板40の先端から内側に屈曲形成された係合部58と、カバー体33の段部52から外側に突出する係合片59とを備え、係合片59を係合部58の下側に挿入して係脱自在に係合するようになっている。
【0020】
係合手段35は幅方向の一端側にあり、図4(B)に示すように、ベース体32の短側板41の外側に長手方向の突起状に形成された係合爪部60と、カバー体33の段部52の外側に長手方向に沿って形成された長孔状の係合凹部61とを備え、係合手段34側を支点としてカバー体33を開閉方向に回動させたときに、係合爪部60と係合凹部61とが係脱するようになっている。なお、係合爪部60、係合凹部61は、必ずしも長く構成する必要はない。
【0021】
封止手段36は、図3及び図4に示すように、主制御基板ケース17の内部側で各係合手段34,35と反対の短辺及び長辺側に夫々複数個設けられており、ベース体32及びカバー体33の側板の近傍に、各側板に沿って列状に4個配置されている。これは、最大4回まで開封、封止を可能にするためである。
【0022】
各封止手段36は、ベース体32とカバー体33とを閉状態で封止し且つ開封時に開封痕跡が残るように所用箇所を切断して開封する構造であって、ベース体32とカバー体33とを結合する結合ピン62等を備え、所用箇所を切断したときに、結合ピン62によるベース体32とカバー体33との結合が解除されるようになっている。なお、この封止手段36は、開封後に痕跡が残るものであれば良く、その構造は別段問題ではない。
【0023】
ベース体32、カバー体33、係合手段34,35、封止手段36及び規制手段54は、内部の主制御基板16を外部から透視できるように、その全体が無色透明又は着色透明の合成樹脂材料により構成された合成樹脂製である。なお、主制御基板ケース17は、内部の主制御基板16を透視できれば良く、必要箇所に透視孔を設ける等によって、その全体又は一部を半透明又は不透明の合成樹脂材料により構成しても良い。
【0024】
上記構成の実施形態によれば、次のような利点がある。即ち、主制御基板ケース17内に主制御基板16を組み込む場合には、先ずベース体32側に主制御基板16を固定する。次にカバー体33で主制御基板16を覆うように、ベース体32とカバー体33とを係合手段34,35と封止手段36とにより結合する。これによって各第1コネクタ27がカバー体33の各コネクタ嵌合孔53に嵌合して外部に突出する。
【0025】
第1コネクタ27に第2コネクタ28を接続する場合には、規制手段54の爪部55側を内側へと図6のa矢示方向に押圧する。これによって爪支持部56が内側へと弾性変形するので、その状態で第1コネクタ27に第2コネクタ28を挿入して両者を接続する。その後、押圧を解除すると、爪支持部56が弾性によって戻り、爪部55が第2コネクタ28に係合してその外れを規制する。第2コネクタ28を外す場合には、爪支持部56をa矢示方向に押圧した後に、第2コネクタ28を第1コネクタ27から抜き取れば良い。
【0026】
この実施形態では、第1コネクタ27に第2コネクタ28を接続すると、規制手段54によって接続状態で第2コネクタ28を規制できるので、第2コネクタ28の第1コネクタ27からの不測の外れ等を防止でき、組み立て等の作業に際して第2コネクタ28が接触、その他で抜けるようなことがない。また規制手段54を主制御基板ケース17、取り分けそのカバー体33側に設けているので、第1コネクタ27、第2コネクタ28を大型化する必要もない。
【0027】
規制手段54は第2コネクタ28に係合する爪部55と、この爪部55をカバー体33に連接する爪支持部56とを備え、その爪支持部56が爪部55の第2コネクタ28に対して係脱方向に弾性変形するようになっているので、その構造を簡単にでき、しかも操作を容易にできる。また隣り合う2個の第2コネクタ28に対応して1個の規制手段54を設けているため、1個の規制手段54により2個の第2コネクタ28を規制でき、第2コネクタ28の数に対して規制手段54の数を少なくできる。
【0028】
更に電子部品26の装着側から主制御基板16を覆うカバー体33に、その主制御基板16に近接又は当接する段部52があり、この段部52に、第1コネクタ27が嵌合するコネクタ嵌合孔53を設けると共に、段部52側に爪部55、爪支持部56等の規制手段54を設けているので、カバー体33側に規制手段54があるにも拘らず、主制御基板ケース17の大型化も容易に防止できる。規制手段54は第1コネクタ27の側壁部31の開放側にあるため、第1コネクタ27の開放側に向けて第2コネクタ28に外れ方向の外力がかかった場合でも、爪支持部56が弾性変形しない限り、第2コネクタ28の抜け落ち等を防止できる。
【0029】
主制御基板ケース17を開ける場合には、封止手段36の切断部を切断する。このため、切断部に開放痕跡が残り、その痕跡と貼付部49の記録紙等の検査履歴とを照合すれば、そのときの開放が不正か否かを容易に判断できる。また規制手段54を含む主制御基板ケース17の全体が内部を透視できる透明な合成樹脂製になっているので、仮に封止手段36に痕跡が残らないように主制御基板ケース17を開放して、内部の主制御基板16側の電子部品26、その他に不正工作を施した場合でも、その不正工作が主制御基板16の表裏両面の外側にあれば、主制御基板ケース17内を外部から透視することにより、その不正工作を容易に発見できる。
【0030】
図7及び図8は本発明の第2の実施形態を例示する。この実施形態では、カバー体33の側板の外側に、主制御基板16に当接又は近接する段部52が設けられ、この段部52に第1コネクタ27が嵌合するコネクタ嵌合孔53と、第2コネクタ28の第1コネクタ27からの外れを規制する規制手段54とが一体に設けられている。コネクタ嵌合孔53は側板44に近接している。規制手段54は、爪部55と爪支持部56とを備え、コネクタ嵌合孔53に対して側板44と反対側で各コネクタ27,28毎に設けられている。
【0031】
爪支持部56は接続状態の第2コネクタ28に近接して段部52から起立しており、基部側等の適当箇所に破壊部64が設けられている。破壊部64は爪部55を第2コネクタ28から離脱させる場合に切断、その他により爪支持部56を破壊するためのものである。第2コネクタ28には、爪部55が係脱自在に係合する凹入状の係合部65と、爪支持部56が嵌合する溝状の嵌合部66と、破壊部64を破壊する際にカッター等の工具との干渉を避けるための凹部67とが設けられている。なお、爪支持部56はそれ自体で爪部55が第2コネクタ28に対して係脱する方向に弾性変形可能であるが、破壊部64で弾性変形可能にしても良い。
【0032】
第1コネクタ27に第2コネクタ28を接続する場合には、爪支持部56を第1コネクタ27と反対側に弾性変形させて、その状態で第2コネクタ28を第1コネクタ27に挿入する。その後、爪支持部56が戻ると、爪部55が第2コネクタ28の係合部65に係合して、第2コネクタ28を第1コネクタ27から外れないように規制する。爪部55が係合部65に入れば、爪支持部56が嵌合部66に入って、爪部55、爪支持部56の何処にも離脱方向に操作する部分がないので、通常の状態では規制手段54による第2コネクタ28の規制を解除できない。そこで、第2コネクタ28を外す場合には、爪支持部56の破壊部64をカッター、その他の適宜工具で切断して破壊し、爪部55を第2コネクタ28の係合部65から外す。
【0033】
このようにすれば、破壊部64を破壊しない限り、第2コネクタ28が第1コネクタ27から外れないので、第2コネクタ28を外して不正工作を施した場合には、それを容易に発見できる。
【0034】
なお、この実施形態では爪支持部56の一部が第2コネクタ28の側面から外側に突出しているが、爪部55、爪支持部56は第2コネクタ28の側面と略面一状か若しくは第2コネクタ28の側面から突出しないように、第2コネクタ28の係合部65、嵌合部66内に嵌め込んでも良い。
【0035】
図9及び図10は本発明の第3の実施形態を例示する。この実施形態では、主制御基板ケース17の段部52にコネクタ嵌合孔53が形成され、主制御基板16に、コネクタ嵌合孔53に嵌合して段部52の外側に突出する第1コネクタ27が横向きに装着されている。そして、第1コネクタ27及び第2コネクタ28を保護する保護カバー68が段部52に着脱自在に装着され、この保護カバー68に規制手段54が設けられている。
【0036】
第2コネクタ28は、第1コネクタ27に対して主制御基板ケース17の外側から段部52に沿って内外方向に挿脱自在に挿入されている。保護カバー68は、隣り合う2個(複数個)のコネクタ27,28を覆うように設けられている。そして、保護カバー68は2個のコネクタ27,28を段部52と反対側で覆う平板状の保護部69と、この保護部69の長手方向の両端の取り付け脚部70とを有し、その各取り付け脚部70が段部52に当接して段部52側の係止爪71で着脱自在に係止されている。
【0037】
保護部69には、隣り合う2個のコネクタ27,28の対向端部に対応して、爪部55、爪支持部56を備えた規制手段54が一体に設けられている。爪支持部56の両側にはスリット72があり、この爪支持部56は爪部55の第2コネクタ28に対する係脱方向に弾性変形可能である。主制御基板ケース17のベース体32、カバー体33等と同様に、保護カバー68も透明な合成樹脂材料により構成された合成樹脂製である。
【0038】
このように主制御基板ケース17の段部52等に、そのコネクタ27,28を覆う保護カバー68を設け、この保護カバー68に爪部55、爪支持部56等からなる規制手段54を一体に設けることも可能である。なお、規制手段54は1個で複数個の第2コネクタ28を規制するようにしても良いし、各第2コネクタ28毎に設けても良い。
【0039】
図11は本発明の第4の実施形態を例示する。この実施形態では、遊技部品73の裏側等の所定箇所にボス部74等を介して制御基板75が装着されると共に、その制御基板75を収容する制御基板ケース76が遊技部品73に係止手段77、ネジ78等で着脱自在に装着されている。制御基板ケース76は遊技部品73と反対側から制御基板75を覆うカバー体33により構成されている。カバー体33には、制御基板75側の電子部品26を覆う部分よりも制御基板75側に近接する段部52が設けられ、その段部52にコネクタ嵌合孔53と規制手段54とが設けられている。制御基板ケース76、規制手段54は透明な合成樹脂製であり、また規制手段54は爪部55、爪支持部56等を備えている。
【0040】
このように遊技部品73に制御基板75が装着されている場合には、制御基板ケース76は、その遊技部品73との間で制御基板75を覆うようにカバー体33により構成することも可能である。このような構造の制御基板ケース76でも、その段部52に規制手段54を設けて、第2コネクタ28の第1コネクタ27からの外れを防止するようにしても良い。
【0041】
図12(A)(B)は本発明の第5の実施形態を例示する。この実施形態では1個のコネクタ27,28に対してその一側に2個以上の複数個の規制手段54がコネクタ27,28の長手方向に所定の間隔をおいて設けられている。コネクタ27,28が長い場合には、このように2個以上の複数個、例えば2個の規制手段54を所定の間隔をおいて設けることにより、その第2コネクタ28の外れを確実に規制できる。
【0042】
図13(A)(B)は本発明の第6の実施形態を例示する。この実施形態では1個のコネクタ27,28に対してその両側に2個以上の複数個の規制手段54がコネクタ27,28の長手方向に所定の間隔をおいて設けられている。基板ケース17,76にコネクタ27,28に近接する突出部等がない場合には、このように1個のコネクタ27,28の両側に規制手段54を設けることにより、その第2コネクタ28の外れを確実に規制できる。なお、この実施形態では、コネクタ27,28が長いため、その両側に所定の間隔をおいて2個の規制手段54を設けているが、両側の規制手段54は1個づつでも良い。その場合、両側の各1個の規制手段54は相対向して配置しても良いし、コネクタ27,28の長手方向の異なる位置に配置しても良い。
【0043】
図14(A)(B)は本発明の第7の実施形態を例示する。この実施形態では長手方向に隣り合う2個のコネクタ27,28の対向端部に跨がって、その対向端部を挟むように両側に規制手段54が設けられている。このように2個のコネクタ27,28が隣接する場合に、その両側に規制手段54を設けても良い。
【0044】
図15は本発明の第8の実施形態を例示する。この実施形態ではコネクタ27,28の両側にコネクタ27,28の長手方向に1個又は複数個の規制手段54が配置され、その一方側の規制手段54が他方側の隣接する規制手段54間の中間に配置されている。例えば一方側の規制手段54はコネクタ27,28の長手方向の略中央に、他方側の規制手段54はコネクタ27,28の長手方向の両端部に夫々配置されている。このようにコネクタ27,28の両側に規制手段54を設ける場合には、一方側が他方側の中間に位置するように配置しても良い。
【0045】
以上、本発明の各実施形態について説明したが、本発明はこの各実施形態に限定されるものではなく、本発明の趣旨を逸脱しない範囲内で種々の変更が可能である。
【0046】
例えば第1の実施形態では主制御基板16を収容する主制御基板ケース17について例示したが、ランプ制御基板18を収容するランプ制御基板ケース19、音声制御基板20を収容する音声制御基板ケース21等、各種の制御基板を収容する各種の制御基板ケースにおいても同様に実施可能である。また規制手段54は1個で1個の第2コネクタ28を規制するようにしても良いし、1個で2個以上の複数個の第2コネクタ28を規制するようにしても良い。
【0047】
規制手段54の構造は、第2コネクタ28に対して係脱自在に係合する爪部55と、この爪部55を支持する爪支持部56とを備えたものが一般的であるが、他の形状、構造でも良い。また爪支持部56に破壊部64を備えた規制手段54の場合には、爪部55は第2コネクタ28に係合すれば、その後は第2コネクタ28から外れないようにしても良い。第1の実施形態等では主制御基板ケース17のカバー体33に規制手段54を一体に設けているが、規制手段54は一体か否かを問わず基板ケースに設けておれば十分であり、別々に成型して接着、ネジ止め、その他で固定しても良い。
【0048】
制御基板は通常各種の制御素子を含む電子部品26が装着されているが、基板ケース内の基板は、中継専用の基板等のように回路パターンと第1コネクタ27のみを設けたものでも良い。また基板ケースは、第1の実施形態のようにベース体32とカバー体33との2部材で構成したり、第4の実施形態のようにカバー体33の1部材で構成したりする他、ベース体32とカバー体33との間に別の中間部材を介在して3部材以上で構成しても良い。第1コネクタ27が基板のベース体32側にある場合には、ベース体32に規制手段54を設けても良い。
【0049】
保護カバー68は、第3の実施形態では第1コネクタ27と第2コネクタ28との両者を覆うように設けているが、その保護目的によっては第1コネクタ27又は第2コネクタ28を保護する構造でも良い。段部52はなくても良いが、段部52を設ける場合には、第1コネクタ27の装着側から基板を覆うカバー体33又はベース体32に形成すれば良い。
【0050】
更に本発明は、パチンコ機は勿論のこと、アレンジボール機、雀球遊技機等の弾球遊技機の他、回胴式遊技機等の各種の遊技機においても同様に実施可能である。
【0051】
【発明の効果】
本発明では、基板16,75を収容する基板ケース17,76と、基板16,75側に装着された第1コネクタ27と、該第1コネクタ27に着脱自在に接続された第2コネクタ28とを備えた遊技機において、第2コネクタ28の第1コネクタ27からの外れを、解除可能に規制する規制手段54を基板ケース17,76に設けているので、コネクタ27,28の大型化を伴わずに第2コネクタ28の不測の脱落等を防止できる。
【図面の簡単な説明】
【図1】本発明の第1の実施形態を示すパチンコ機の側面図である。
【図2】本発明の第1の実施形態を示すパチンコ機の背面図である。
【図3】本発明の第1の実施形態を示す主制御基板ケースの平面図である。
【図4】(A)は図3のA−A線拡大断面図、(B)は図3のB−B線拡大断面図である。
【図5】本発明の第1の実施形態を示す主制御基板ケースの要部の斜視図である。
【図6】本発明の第1の実施形態を示すコネクタ規制部分の拡大断面図である。
【図7】本発明の第2の実施形態を示す主制御基板ケースの要部の斜視図である。
【図8】本発明の第2の実施形態を示すコネクタ規制部分の拡大断面図である。
【図9】本発明の第3の実施形態を示す主制御基板ケースの要部の斜視図である。
【図10】本発明の第3の実施形態を示すコネクタ規制部分の拡大断面図である。
【図11】本発明の第4の実施形態を示す要部の断面図である。
【図12】(A)は本発明の第5の実施形態を示す正面図、(B)はその側面図である。
【図13】(A)は本発明の第6の実施形態を示す正面図、(B)はその側面図である。
【図14】(A)は本発明の第7の実施形態を示す正面図、(B)はその側面図である。
【図15】本発明の第8の実施形態を示す正面図である。
【符号の説明】
16 主制御基板
17 主制御基板ケース
27 第1コネクタ
28 第2コネクタ
32 ベース体
33 カバー第
52 段部
53 コネクタ口
54 規制手段
55 爪部
56 爪支持部
68 保護カバー
75 制御基板
76 制御基板ケース
Claims (1)
- 基板(16)(75)を収容する基板ケース(17)(76)と、前記基板(16)(75)側に装着された第1コネクタ(27)と、該第1コネクタ(27)に着脱自在に接続された第2コネクタ(28)とを備えた遊技機において、前記第2コネクタ(28)の前記第1コネクタ(27)からの外れを、解除可能に規制する規制手段(54)を前記基板ケース(17)(76)に設けたことを特徴とする遊技機。
Priority Applications (1)
| Application Number | Priority Date | Filing Date | Title |
|---|---|---|---|
| JP2001374472A JP3658366B2 (ja) | 2001-12-07 | 2001-12-07 | 遊技機 |
Applications Claiming Priority (1)
| Application Number | Priority Date | Filing Date | Title |
|---|---|---|---|
| JP2001374472A JP3658366B2 (ja) | 2001-12-07 | 2001-12-07 | 遊技機 |
Related Child Applications (1)
| Application Number | Title | Priority Date | Filing Date |
|---|---|---|---|
| JP2005006384A Division JP4444125B2 (ja) | 2005-01-13 | 2005-01-13 | 遊技機 |
Publications (2)
| Publication Number | Publication Date |
|---|---|
| JP2003169943A JP2003169943A (ja) | 2003-06-17 |
| JP3658366B2 true JP3658366B2 (ja) | 2005-06-08 |
Family
ID=19183028
Family Applications (1)
| Application Number | Title | Priority Date | Filing Date |
|---|---|---|---|
| JP2001374472A Expired - Lifetime JP3658366B2 (ja) | 2001-12-07 | 2001-12-07 | 遊技機 |
Country Status (1)
| Country | Link |
|---|---|
| JP (1) | JP3658366B2 (ja) |
Families Citing this family (27)
| Publication number | Priority date | Publication date | Assignee | Title |
|---|---|---|---|---|
| JP5327770B2 (ja) * | 2005-03-16 | 2013-10-30 | サミー株式会社 | 遊技機 |
| JP4817357B2 (ja) * | 2005-03-16 | 2011-11-16 | サミー株式会社 | 遊技機用基板ケース |
| JP4812402B2 (ja) * | 2005-11-04 | 2011-11-09 | 株式会社ソフイア | 遊技機 |
| JP5023343B2 (ja) * | 2006-04-01 | 2012-09-12 | 株式会社大一商会 | 遊技機 |
| JP5009026B2 (ja) * | 2007-04-04 | 2012-08-22 | 山佐株式会社 | コネクタ装置およびこのコネクタ装置を備えた遊技機 |
| JP4990046B2 (ja) * | 2007-06-29 | 2012-08-01 | 株式会社サンセイアールアンドディ | 遊技機 |
| JP5063221B2 (ja) * | 2007-06-29 | 2012-10-31 | 株式会社サンセイアールアンドディ | 遊技機 |
| JP4595974B2 (ja) * | 2007-08-22 | 2010-12-08 | 株式会社三洋物産 | 遊技機 |
| JP2008012351A (ja) * | 2007-10-01 | 2008-01-24 | Samii Kk | 遊技機用基板ケース |
| JP5398238B2 (ja) * | 2008-11-28 | 2014-01-29 | モレックス インコーポレイテド | 遊技機用コネクタ |
| JP5398239B2 (ja) * | 2008-11-28 | 2014-01-29 | モレックス インコーポレイテド | 遊技機用コネクタ |
| JP4881966B2 (ja) * | 2009-02-18 | 2012-02-22 | 京楽産業.株式会社 | 基板保護ケースの設置構造、コネクタカバー、及び遊技機 |
| JP5078923B2 (ja) * | 2009-02-18 | 2012-11-21 | 京楽産業.株式会社 | 遊技機 |
| JP5078922B2 (ja) * | 2009-02-18 | 2012-11-21 | 京楽産業.株式会社 | 遊技機 |
| JP5611530B2 (ja) * | 2009-03-04 | 2014-10-22 | モレックス インコーポレイテドMolex Incorporated | 遊技機用コネクタ |
| JP5093312B2 (ja) * | 2010-08-02 | 2012-12-12 | 株式会社三洋物産 | 遊技機 |
| JP5285753B2 (ja) * | 2011-09-27 | 2013-09-11 | 京楽産業.株式会社 | 遊技機 |
| JP5497812B2 (ja) * | 2012-02-13 | 2014-05-21 | 株式会社大都技研 | 遊技台 |
| JP5324683B2 (ja) * | 2012-06-18 | 2013-10-23 | 株式会社サンセイアールアンドディ | 遊技機 |
| JP5613969B2 (ja) * | 2013-08-01 | 2014-10-29 | 株式会社ソフイア | 遊技機 |
| JP5625171B2 (ja) * | 2013-08-01 | 2014-11-19 | 株式会社ソフイア | 遊技機 |
| JP6783561B2 (ja) * | 2016-06-20 | 2020-11-11 | 株式会社三共 | 遊技機 |
| JP6601464B2 (ja) * | 2017-08-08 | 2019-11-06 | 株式会社三洋物産 | 遊技機 |
| JP6579187B2 (ja) * | 2017-12-21 | 2019-09-25 | 株式会社三洋物産 | 遊技機 |
| JP6579188B2 (ja) * | 2017-12-21 | 2019-09-25 | 株式会社三洋物産 | 遊技機 |
| JP7339829B2 (ja) * | 2019-09-20 | 2023-09-06 | 株式会社平和 | 遊技機 |
| JP7346195B2 (ja) * | 2019-09-20 | 2023-09-19 | 株式会社平和 | 遊技機 |
-
2001
- 2001-12-07 JP JP2001374472A patent/JP3658366B2/ja not_active Expired - Lifetime
Also Published As
| Publication number | Publication date |
|---|---|
| JP2003169943A (ja) | 2003-06-17 |
Similar Documents
| Publication | Publication Date | Title |
|---|---|---|
| JP3658366B2 (ja) | 遊技機 | |
| JP4086930B2 (ja) | 遊技機用基盤ボックス | |
| JP4520020B2 (ja) | 遊技機の回路基板用ケース | |
| JP3915589B2 (ja) | 遊技機 | |
| JP4789183B2 (ja) | 遊技機 | |
| JP4870175B2 (ja) | 遊技機 | |
| JP4226613B2 (ja) | 遊技機 | |
| JP5222382B2 (ja) | 遊技機 | |
| JP4266996B2 (ja) | 遊技機 | |
| JP2002172243A (ja) | 遊技機における回路基板の閉止構造 | |
| JP4444125B2 (ja) | 遊技機 | |
| JP3959802B2 (ja) | 遊技機 | |
| JP2000185156A (ja) | 遊技機用基板ボックス | |
| JP4247353B2 (ja) | 制御ボックス装置 | |
| JP3960123B2 (ja) | 遊技機 | |
| JP3860723B2 (ja) | 遊技機 | |
| JP4166441B2 (ja) | 遊技機の制御基板収納ケース | |
| JP3630195B2 (ja) | 制御回路装置 | |
| JP4087079B2 (ja) | 遊技機 | |
| JP3832507B2 (ja) | 遊技機 | |
| JP2001204940A (ja) | 遊技機用基板ボックス | |
| JP4042796B2 (ja) | 遊技機 | |
| JP2011030598A (ja) | 遊技機の基板ケース | |
| JP4042795B2 (ja) | 遊技機 | |
| JP4525718B2 (ja) | 遊技機用基盤ボックス |
Legal Events
| Date | Code | Title | Description |
|---|---|---|---|
| A977 | Report on retrieval |
Free format text: JAPANESE INTERMEDIATE CODE: A971007 Effective date: 20041018 |
|
| A131 | Notification of reasons for refusal |
Free format text: JAPANESE INTERMEDIATE CODE: A131 Effective date: 20041116 |
|
| A521 | Written amendment |
Free format text: JAPANESE INTERMEDIATE CODE: A523 Effective date: 20050113 |
|
| TRDD | Decision of grant or rejection written | ||
| A01 | Written decision to grant a patent or to grant a registration (utility model) |
Free format text: JAPANESE INTERMEDIATE CODE: A01 Effective date: 20050308 |
|
| A61 | First payment of annual fees (during grant procedure) |
Free format text: JAPANESE INTERMEDIATE CODE: A61 Effective date: 20050311 |
|
| R150 | Certificate of patent or registration of utility model |
Free format text: JAPANESE INTERMEDIATE CODE: R150 Ref document number: 3658366 Country of ref document: JP Free format text: JAPANESE INTERMEDIATE CODE: R150 |
|
| FPAY | Renewal fee payment (event date is renewal date of database) |
Free format text: PAYMENT UNTIL: 20080318 Year of fee payment: 3 |
|
| FPAY | Renewal fee payment (event date is renewal date of database) |
Free format text: PAYMENT UNTIL: 20090318 Year of fee payment: 4 |
|
| R250 | Receipt of annual fees |
Free format text: JAPANESE INTERMEDIATE CODE: R250 |
|
| FPAY | Renewal fee payment (event date is renewal date of database) |
Free format text: PAYMENT UNTIL: 20090318 Year of fee payment: 4 |
|
| FPAY | Renewal fee payment (event date is renewal date of database) |
Free format text: PAYMENT UNTIL: 20100318 Year of fee payment: 5 |
|
| R250 | Receipt of annual fees |
Free format text: JAPANESE INTERMEDIATE CODE: R250 |
|
| FPAY | Renewal fee payment (event date is renewal date of database) |
Free format text: PAYMENT UNTIL: 20100318 Year of fee payment: 5 |
|
| FPAY | Renewal fee payment (event date is renewal date of database) |
Free format text: PAYMENT UNTIL: 20110318 Year of fee payment: 6 |
|
| R250 | Receipt of annual fees |
Free format text: JAPANESE INTERMEDIATE CODE: R250 |
|
| FPAY | Renewal fee payment (event date is renewal date of database) |
Free format text: PAYMENT UNTIL: 20120318 Year of fee payment: 7 |
|
| R250 | Receipt of annual fees |
Free format text: JAPANESE INTERMEDIATE CODE: R250 |
|
| FPAY | Renewal fee payment (event date is renewal date of database) |
Free format text: PAYMENT UNTIL: 20120318 Year of fee payment: 7 |
|
| FPAY | Renewal fee payment (event date is renewal date of database) |
Free format text: PAYMENT UNTIL: 20130318 Year of fee payment: 8 |
|
| R250 | Receipt of annual fees |
Free format text: JAPANESE INTERMEDIATE CODE: R250 |
|
| FPAY | Renewal fee payment (event date is renewal date of database) |
Free format text: PAYMENT UNTIL: 20140318 Year of fee payment: 9 |
|
| R250 | Receipt of annual fees |
Free format text: JAPANESE INTERMEDIATE CODE: R250 |
|
| R250 | Receipt of annual fees |
Free format text: JAPANESE INTERMEDIATE CODE: R250 |
|
| R250 | Receipt of annual fees |
Free format text: JAPANESE INTERMEDIATE CODE: R250 |
|
| R250 | Receipt of annual fees |
Free format text: JAPANESE INTERMEDIATE CODE: R250 |
|
| R250 | Receipt of annual fees |
Free format text: JAPANESE INTERMEDIATE CODE: R250 |
|
| R250 | Receipt of annual fees |
Free format text: JAPANESE INTERMEDIATE CODE: R250 |
|
| R250 | Receipt of annual fees |
Free format text: JAPANESE INTERMEDIATE CODE: R250 |
|
| R250 | Receipt of annual fees |
Free format text: JAPANESE INTERMEDIATE CODE: R250 |
|
| R250 | Receipt of annual fees |
Free format text: JAPANESE INTERMEDIATE CODE: R250 |
|
| EXPY | Cancellation because of completion of term |