JP5327770B2 - 遊技機 - Google Patents

遊技機 Download PDF

Info

Publication number
JP5327770B2
JP5327770B2 JP2005076085A JP2005076085A JP5327770B2 JP 5327770 B2 JP5327770 B2 JP 5327770B2 JP 2005076085 A JP2005076085 A JP 2005076085A JP 2005076085 A JP2005076085 A JP 2005076085A JP 5327770 B2 JP5327770 B2 JP 5327770B2
Authority
JP
Japan
Prior art keywords
case
connector
opening
side wall
control board
Prior art date
Legal status (The legal status is an assumption and is not a legal conclusion. Google has not performed a legal analysis and makes no representation as to the accuracy of the status listed.)
Expired - Lifetime
Application number
JP2005076085A
Other languages
English (en)
Other versions
JP2006255122A (ja
Inventor
明 村上
Current Assignee (The listed assignees may be inaccurate. Google has not performed a legal analysis and makes no representation or warranty as to the accuracy of the list.)
Sammy Corp
Original Assignee
Sammy Corp
Priority date (The priority date is an assumption and is not a legal conclusion. Google has not performed a legal analysis and makes no representation as to the accuracy of the date listed.)
Filing date
Publication date
Application filed by Sammy Corp filed Critical Sammy Corp
Priority to JP2005076085A priority Critical patent/JP5327770B2/ja
Publication of JP2006255122A publication Critical patent/JP2006255122A/ja
Application granted granted Critical
Publication of JP5327770B2 publication Critical patent/JP5327770B2/ja
Anticipated expiration legal-status Critical
Expired - Lifetime legal-status Critical Current

Links

Images

Landscapes

  • Slot Machines And Peripheral Devices (AREA)

Description

本発明は、スロットマシン等の遊技機に関し、その制御に用いる制御基板が収容される基板ケースの不正な開放を困難にし、仮に不正開放された場合でもその事実を容易に発見できるようにして、制御基板に対する不正行為を効果的に防止する等の遊技機に関する。
スロットマシンやパチンコ機等の遊技機においては、入賞役の抽選、図柄表示制御等のゲームの出玉に関する制御をメイン制御基板と呼ばれる制御基板により行なっている。また、近年、メイン制御基板の他に、出玉に関する実質的な制御をサブ制御基板と呼ばれる制御基板により行うものもある。
そして、このような遊技機において、メイン制御基板またはサブ制御基板の制御プログラムを記憶するROMを不正なものに交換したり、外部から制御基板に対し不正な信号を付与等することにより、本来とは異なる適正ではない遊技を実行させるといった不正行為が問題となっている。そこで、メイン制御基板等の制御基板を外部から目視可能な透明なケース基体とケース蓋とからなる基板ケースに収容し、これらを容易には開放できないようにして制御基板に対する不正なアクセスを防止する技術が知られている。
例えば、特許文献1には、互いに対向する円筒容器状の開口部をケース基体とケース蓋とにそれぞれ形成し、各開口部内に接続部材を挿入して閉塞することにより、接続部材の両端側に形成した係合凸部と各開口部内の係合凹部とが係合し、どちらかの開口部を基板ケースから切り離さない限りケース基体とケース蓋とを離脱不能とする、いわゆる「カシメ」と呼ばれる不正開放防止手段が開示されている。
図1は、従来の不正開放防止手段の構造を表した縦断面図である。同図によれば、ケース基体900の下側壁面には連結部904を介して円筒容器状の開口部902が延設され、開口部902の内壁の一部には係合凹部902aが形成されている。また、ケース蓋910の下側壁面には、ケース基体側の開口部902に対向する同様の開口部912が延設され、その内壁に係合凹部912aが形成されている。
接続部材920は中空の略円筒形状に形成されるもので、それぞれの両端には、上記開口部902、912の係合凹部902a、912aと係合する弾性変形可能な係合凸部921が形成されている。ケース蓋910がケース基体900に閉じた状態では、それぞれの開口部902、912に挿入された接続部材920の係合凸部921と各開口部の係合凹部902a、912aとが内部で係合するため、一旦、接続部材920を介して係合した開口部同士は離脱不能の状態で接続される。
なお、制御基板の動作チェック等するために基板ケースを開放して制御基板を取り出す場合があるが、その際には正面に位置するケース蓋910側の連結部914をニッパー等の工具で切断し開口部912をケース蓋910本体から切り離すことにより、ケース蓋910とケース基体900との封止状態を解除して基板ケースを開放している。すなわち、開口部912が切り離された痕跡により、基板ケースが一度開放された事実を示す客観的な履歴として残すことができ、また仮に基板ケースが不正に開放された場合でも、その切り離された痕跡を正面から容易に視認することができ、これにより不正開放の事実を迅速に発見できるよう意図されている。
特開2004−209238号公報
しかし、従来の基板ケースを筐体内に設けた遊技機においては、制御基板と他の機器等とを電気的に接続するためのハーネスが基板ケースの上述した不正開放防止手段に重なって配置され、開口部912の状態が正面から見え難くなってしまう場合があった。このような場合、基板ケースが一旦開放された痕跡を示す開口部912の切断状態を検査人が看過して、不正行為がされた事実の発見が遅れてしまうおそれがあった。
本発明は、こうした従来の問題に鑑みてなされたものであり、筐体内に設けられる制御基板用の基板ケースが不正な方法で開放されたとしても、その事実を容易または迅速に発見でき、かかる不正行為による被害をできるだけ抑える等の遊技機を提供することを目的としている。
上述した課題を解決するため、請求項1に記載の発明は、前面側に開口を有する筐体と、該筐体に開閉可能に取り付けられ前記開口を閉塞する前扉と、所要の電子部品を装備した制御回路基板を相対向する透明な一対のケース蓋とケース基体との間に介在させて収容し接続部材により前記ケース蓋及びケース基体とを離脱不能に係合接続する基板ケースとを有する遊技機であって、前記制御回路基板を収容した前記基板ケースの上側壁は前記筐体の天板の内壁に近接配置され、前記基板ケースの一側壁側は前記筐体の前記前扉が取り付けられた一側板の内壁に近接配置され、前記基板ケースの前記一側壁側とは対辺をなす他側壁側は前記前扉の前記一側板とは対辺をなす他側板の内壁に近接配置され、前記ケース蓋及び前記ケース基体の上側壁側並びに前記ケース蓋及び前記ケース基体の各他側壁には前記接続部材を装着する開口部が形成され、前記ケース基体の前記上側壁とは対辺をなす下側壁側に近接する側の前記制御回路基板の配線パターン領域に外部接続用の端子を有する第1のコネクタが配置され、前記ケース基体の一側壁側に近接する側の前記制御回路基板の配線パターン領域に外部接続用の端子を有する第2のコネクタが配置され、前記ケース蓋の前記制御回路基板の前記第1のコネクタが配置される位置に対応する箇所であって、前記ケース蓋の前記下側壁に対応する側に、ハーネス側コネクタを挿通させる第1のコネクタ挿通孔が設けられ、前記ケース蓋の前記制御回路基板の前記第2のコネクタが配置される位置に対応する箇所であって、前記ケース蓋の前記一側壁側に対応する側に、ハーネス側コネクタを挿通させる第2のコネクタ挿通孔が設けられ、前記ハーネス側コネクタを介して前記制御回路基板の前記第1のコネクタに接続されるハーネスが前記第1のコネクタ挿通孔から引き出され、前記筐体の前記基板ケースの下方方向に装着された電気で動作する部品と接続され、前記ハーネス側コネクタを介して前記制御回路基板の前記第2のコネクタに接続されるハーネスが前記第2のコネクタ挿通孔から引き出され、前記前扉の裏面側の前記基板ケースと水平方向に略同じ高さ位置に装着された電気で動作する部品と接続されていることを特徴とする。
請求項1に記載の遊技機によれば、第1及び第2のコネクタ挿通孔と開口部とは比較的距離をおいて配置されることとなる。これにより、第1及び第2のコネクタ挿通孔を通して制御回路基板の第1及び第2のコネクタに接続したハーネスが開口部に重なって干渉することを回避し、開口部が切り離され、または破壊されたことによって示される基板ケースの開放の痕跡を正面から見え易くする。また、ハーネスは、接続部材から離れた位置で引き出されるため、接続部材の確認が阻害されないようになる。
上述したように本発明の遊技機によれば、第1及び第2のコネクタ挿通孔と開口部とは比較的距離をおいて配置されることとなる。これにより、第1及び第2のコネクタ挿通孔を通して制御回路基板の第1及び第2のコネクタに接続したハーネスが開口部に重なって干渉することを回避し、開口部が切り離され、または破壊されたことで示される開放の痕跡を見え易くする。また、ハーネスは、接続部材から離れた位置で引き出されるため、接続部材の確認が阻害されないようになる。したがって、不正開放された事実の発見が遅れるといった事態を回避することができ、不正行為による被害を抑えることができる。
以下、本発明の好適な実施形態を図面に基づいて説明する。まず、本発明に関する遊技機としてスロットマシンを例にその構成を説明する。ここで、図2はスロットマシンの外観を表す正面図、図3はスロットマシンの前扉を開放してその内部の構造を表した図である。
始めに、図2を参照してスロットマシンSMの外観構造を説明する。スロットマシンSMは、いわゆるフロントパネルを形成する前扉FDが略矩形状の箱体である筐体(MB)に対し開閉可能に取り付けられている。前扉FDは、視覚効果を高めてデザインされた上部パネル部UPと下部パネル部LPとに概ね区分けされるが、これらは硬質プラスチックにより一体的に形成されている。また、前扉FDの下部には、メダルを貯留するための受皿部が形成された受皿ユニットTUが設けられている。
上部パネル部UPの周縁部分には、高輝度の発光ダイオードを内蔵する上部ランプUL及びサイドランプSLが配置されている。また、スピーカを内蔵し遊技に係る効果音を発生させる演出用放音部SAL、SARが上部パネル部UPの左右にそれぞれ配置されている。また、演出用放音部SAL、SARの間には、遊技の演出に係る映像を主に表示する演出表示装置としての液晶表示ユニットFPDが配置されている。
更に上部パネル部UPには平板状のパネル面を有するパネルユニットPUが取り付けられ、その中央に略長方形の透明な表示窓FWが形成されている。表示窓FWを通して目視されるリールR1、R2、R3は、それぞれ円筒形状を有して独立して回転可能であり、筐体内において軸方向に3個配列されている。遊技者は、各リールR1、R2、R3の外周面に配置した複数種類の図柄のうち、縦3個、横3列の図柄を表示窓FWを通して目視することができる。
上部パネル部UPと下部パネル部LPとの間には、遊技操作を行うためのスイッチ類が配置された操作卓OPTが一体的に形成されている。操作卓OPTには、メダルを投入するための投入口を有するメダル投入部MDと、ベットボタンBETと、スタートレバーSTLと、ストップボタンSTB1、STB2、STB3がそれぞれ配設されている。
ベットボタンBETは、スロットマシンの1ゲームに賭けるメダルの枚数を提示するためのボタンスイッチである。スロットマシンSMは、何れかのベットボタンBETが押圧操作されることにより当該ゲームにメダルが賭けられ、スタートレバーSTLが傾倒操作されるとリールR1、R2、R3を一斉に回転させる。このときスロットマシンSMは、入賞の抽選を内部的な処理で行う。そして、各ストップボタンSTB1、STB2、STB3が押圧操作されることで、対応するリールR1、R2、R3をそれぞれ停止させる。全てのリールが停止し、表示窓FWに設定される有効ライン上に表示した図柄の組合せが上述の内部抽選により当選した入賞に係る組合せと一致した場合、当該入賞が確定する。
下部パネル部LPには、スロットマシンSMのモデルタイプを遊技者へ認識させる等のため、登場キャラクターの絵などを表示する表示パネルDPが設けられている。下部パネル部LPの下側に配置される受皿ユニットTUには、入賞時等においてメダルを受皿部に排出するメダル払出口MEXと、スピーカを内蔵し演出効果音を発生させる演出用放音部SABがそれぞれ配置されている。
次に、図3を参照してスロットマシンSMの内部構造を説明する。筐体MB内の背板上部には、スロットマシンSMの全体動作を統括して制御するメイン制御基板MCBを基板ケース100に収容するメイン制御基板アッセンブリMCAが取り付けられている。メイン制御基板MCBは、MPU、ROM、RAM等を含むマイコンをベースに形成された制御回路基板であり、透明なプラスチックケースである基板ケース100に収容されている。
筐体MB内の中央には、リールR1、R2、R3を備えるリールユニットRUが設けられている。リールユニットRUは、前扉FDが筐体MB側に閉じられるとパネルユニットPUに形成された表示窓FWにリールR1、R2、R3が対向するように、筐体MB内の所定の高さに固定されたフレームに位置決めされて取り付けられている。なお、各リールR1、R2、R3は、それぞれの中心軸に連結するステッピングモータによって回転駆動される。リールユニットRUの上部には、各ステッピングモータへ4相の駆動パルス信号を送出する図示しない回胴装置基板が取り付けられており、メイン制御基板MCBが回胴装置基板に回胴駆動(励磁)パルスデータを送出することで、各リールの回転と制動及び停止の制御を行っている。
リールユニットRUの下方には、メダル投入部MDから投入されたメダルを貯留し、入賞の配当の際にメダル排出口MEXからメダルを排出するホッパ装置HPUと、ホッパ装置HPUから溢れたメダルを収容するための補助貯留部MSTと、スロットマシンSMに内蔵される各機器へ電力を配電する主電源装置PWUとが設けられている。
前扉FDの裏面上部には、上述の演出用放音部SAL、SARに対向してスピーカSPL、SPRが取り付けられている。また、図3には示していないが、スピーカSPL、SPRの間に、液晶表示ユニットFPDが取り付けられ、液晶表示ユニットの裏面側に当該液晶表示ユニット等を制御駆動するサブ制御基板SCBが透明な基板ケースに収容されて取り付けられている。サブ制御基板SCBは、液晶表示ユニットFPDによる演出映像の表示制御、上部ランプUL及びサイドランプSL等を使った照明制御、更には演出用放音部SAL、SAR、SABを使った演出効果音制御など、ゲームの演出に係る制御を主に行う。
サブ制御基板SCBの下方には、前面にリールR1、R2、R3を目視させるための透明な表示窓FWを有するパネルユニットPUが取り付けられる。パネルユニットPUの裏面側には、リールR1、R2、R3の外周面を照射して図柄を明るく表示させるための冷陰極蛍光ランプCFLと、スタートレバーSTL及びストップボタンSTB1、STB2、STB3等の操作スイッチ類の出力信号をメイン制御基板MCBへ転送する中継基板として機能する中央表示基板CDBとを備え、これらがユニット化されて形成されている。
パネルユニットPUの下方には、メダル選別装置MSUが取り付けられている。メダル選別装置MSUは、メダル投入部MDに投入されたメダルの適否を判別し振り分ける装置である。また、メダル選別装置MSUに内蔵されるメダルセンサはメダル投入部MDに投入された正規のメダルを検出し、その検出信号をメイン制御基板MCBへ送出する。
メダル選別装置MSUの下方には、これによって選別された正規のメダルをホッパ装置HPUへ案内するガイド部材G1と、メダル選別装置MSUにより排除されたメダル(または異物)をメダル排出口MEXへ案内するガイド部材G2が設けられている。また、前扉FDの裏面下部には、ホッパ装置HPUの排出口から排出されたメダルをメダル排出口MEXへ案内するガイド部材G3が設けられている。更に、メダル排出口MEXに隣接して、上述した演出用放音部SABに対向するスピーカSPBが取り付けられている。
かかる構成のスロットマシンSMは、先のゲームにおいて入賞しメダルの払い出しが完了した時、又は先のゲームにおいてハズレが確定すると待機状態となる。この待機状態においてベットボタンBETを押圧操作することで、内部に貯留したメダル(クレジット)から当該ゲームにメダルが賭けられゲーム開始の状態となる。ゲーム開始の状態でスタートレバーSTLが傾倒操作されると、メイン制御基板MCBは、3個のリールR1、R2、R3を一斉に回転させる。同時に入賞役を内部抽選し、その結果をフラグ(内部抽選フラグ)に記憶する。
次に、遊技者がストップボタンSTB1、STB2、STB3を任意の順番で押圧操作すると、メイン制御基板MCBは、それに従い順次対応するリールを停止させる。そして、全てのリールR1、R2、R3が停止したことを検知すると、各リールが表示する図柄と上述のフラグに対応する入賞役に係る図柄の組合せとが一致しているかどうか判定する。当選した入賞役に係る図柄が有効ラインに揃って表示され入賞が確定すると、当該入賞役の種類に応じて予め決められた配当数のメダルをクレジット数に加算し、またクレジットするメダルの枚数が上限値を超える場合には、ホッパ装置HPUを駆動して相当数のメダルを受皿ユニットTUの受皿部へ払い出すことで、遊技者に入賞メダルを配当する。
次に、かかるスロットマシンSMのメイン制御基板MCBを収容する基板ケース100、及びそれを用いたメイン制御基板アッセンブリMCAについて説明する。ここで、図4はメイン制御基板アッセンブリMCAの外観を表す斜視図、図5はその構成を表した分解斜視図、図6は基板ケース100を背後から見た分解斜視図である。
これらの図を参照し、メイン制御基板アッセンブリMCAは、メイン制御基板MCBと、互いに対向しメイン制御基板MCBを挟むようにして収容するケース基体200及びケース蓋300とを備えている。なお、基板ケース100は、ケース基体200とケース蓋300とから構成され、またメイン制御基板アッセンブリMCAは、左右一対のブラケット部材BRa、BRbを介し、ケース基体200を背面側にケース蓋300を正面側に配置して筐体MBの背板内側に取り付けられる。
図5において左側に位置する第1のブラケット部材BRaは、基板ケース100の背面に対向してこれを保持する平板部10と、平板部10の左縁に沿い前方へ立設する側壁部11と、平板部10の下縁から前方へ立設する支持台部12とを主に有して、これらが硬質のプラスチックで一体的に形成されている。また、平板部10には、遊技機の筐体MB(図3参照)の背板に取り付け固定するための取付ボルトを挿通させるボルト孔10aが所定の位置に適宜数形成されている。また、側壁部11の内側には基板ケース100のケース蓋300の側部に形成される嵌合突起306(図6参照)を嵌合させ基板ケース100を安定して保持するための嵌合凹部11aが上下2カ所に形成されている。
図5において右側に位置する第2のブラケット部材BRbは、第1のブラケット部材BRaと同様に硬質のプラスチックで一体的に形成されるもので、基板ケース100の背面に対向する平板部20と、平板部20の右縁に立設する側壁部21と、側壁部21の内方に形成される段部21aと、段部21aに植設され前方に延びる円柱状の2本の支持柱部23と、平板部20の下縁から前方へ立設する支持台部22と、平板部20の側壁部21に近接する位置に形成される複数(例えば4個)の円筒開口部24と、平板部20の上縁から前方に延び先端に係止突起25aが形成された弾性変形可能な係止アーム25とを主に有している。
ブラケット部材BRbの円筒開口部24は、メイン制御基板アッセンブリMCAを離脱不能に装着する係合手段としての不正離脱防止手段の一方を構成するもので、後述する円筒状の接続部材500が挿入されその係合凸部(502、504)を係合させる係合凹部(24a)が円筒容器の内壁に形成されている。また、平板部20には、第1のブラケット部材BRaと同様の取り付け用のボルト孔20aが適宜の箇所に形成されている。
なお、第1及び第2のブラケット部材BRa、BRbの平板部10、20を面一に連続させて一体形成し、1つのブラケット部材によりメイン制御基板アッセンブリMCAを取り付ける構造であってもよい。
次に、基板ケース100の一方を構成するケース基体200は、正面側が開放する略矩形箱体の形状を有して透明なプラスチックにより一体形成したものである。そして、リブが形成された底板203に不図示のネジを介してメイン制御基板MCBを固定する(図5参照)。
ケース基体200の下側壁204には、ケース蓋300と揺動可能にヒンジ接続するためのヒンジ軸受201が所定間隔をおいて3箇所に形成されている(図5参照)。なお、より詳細には、ケース基体200の下側壁204は、底板203の下辺端よりも若干内方にずれて形成され、下側に開放する弧状のヒンジ軸受201が底板203の下辺端よりも上方へ奥まった位置にそれぞれ形成されている。
また、ケース基体200の上側壁両端には、先端に係止孔202aを有し上下に弾性変形可能な係止アーム202が形成されている。
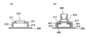
更に、ケース基体200の上側壁には、ケース蓋300を離脱不能に係合させるための角形の接続部材400を保持する2箇所の接続部材保持部210(不正開放防止手段)と、円筒状の接続部材500が挿入されてケース蓋300を係合させる有底円筒容器状の円筒開口部240と、予備の接続部材500を格納しておくための円筒容器開口部250とがそれぞれ形成されている。なお、ケース基体200とケース蓋300とは、主として角形の接続部材400を介して離脱不能に係合されるが、円筒開口部240に円筒状の接続部材500を挿入しても補助的にケース部材同士を係合することができるようになっている。
基板ケース100の他方を構成するケース蓋300は、背面側が開放する略矩形箱体の形状を有し、透明なプラスチックにより一体形成したものである。ケース蓋300の下側部分は、外壁302と内壁307とによる二重壁の構造となっており、内壁307の端辺にはケース基体200のヒンジ軸受201と位置整合してヒンジ軸301が複数形成されている(図6参照)。基板ケース100を組み立てる際には、ケース基体200のヒンジ軸受201にケース蓋300のヒンジ軸301を所定範囲内の角度で嵌め込むことで、ケース蓋300とケース基体200とが開閉揺動自在に接続される。
ケース蓋300の上側壁両端には係止突起303がそれぞれ形成されている。ケース蓋300をケース基体200側に揺動して閉じ、ケース基体200の係止アーム202を弾性変形させてその係止孔202aを係止突起303に係止させることにより、ケース部材同士の閉塞状態が保持されるようになっている。
また、ケース蓋300の上側壁には、接続部材400の角筒部410を挿入可能として四角形に開口する、有底の角筒開口部310が2箇所にそれぞれ連結部312を介して形成されている(不正開放防止手段)。なお、詳細は後述するが、角筒開口部310の内壁には、挿入された接続部材400の角筒部410の係合凸部412と係合し得る係合凹部311が形成されている。
更に、ケース蓋300の上側壁には、ケース基体200側の円筒開口部240と対向し接続部材500を介して補助的に係合するための円筒開口部340と、同じくケース基体200側の円筒容器開口部250に対向して予備の接続部材500を格納するための円筒容器開口部350とがそれぞれ連結部342、352を介して形成されている。
そして、ケース蓋300がケース基体200に閉じた際、接続部材保持部210と角筒開口部310とを共に含めて囲繞する囲枠部319と、円筒開口部240、340を囲繞する囲枠部349と、円筒容器開口部250、350を囲繞する囲枠部359とが、それぞれケース蓋300の上側壁に形成されている。
すなわち、囲枠部319は、角筒開口部310の外縁に倣い所定の間隙をおいて角筒開口部を囲む外郭枠としてケース蓋300に形成されるもので、接続部材保持部210に対向する側が開口となっており、ケース蓋300がケース基体200に閉じた際には、接続部材保持部210がこの開口を通して角筒開口部と係合し、これにより角筒開口部310と接続部材保持部210とを含む不正開放防止手段(係合手段)を囲繞する形態を有することとなる。囲枠部319により、不正開放防止手段に対する外部からの不正なアクセスを防御し、例えばカッター等を用いて係合状態を破壊する等の不正行為を困難にする。
同様に、円筒開口部240、340を囲繞する囲枠部349、及び円筒容器開口部250、350を囲繞する囲枠部359も、これら開口部に対する外部からの不正なアクセスを防御するために形成されている。
また、メイン制御基板アッセンブリMCAがブラケット部材BRa、BRbに取り付けられる際、ブラケット部材BRbの円筒開口部24と対向して開口する円筒開口部330がケース蓋300の側壁に連結部333を介してそれぞれ形成されている(不正離脱防止手段)。
ケース蓋300の上記の円筒開口部330が形成される側には、これら円筒開口部330を囲む矩形枠部304が形成されている。また、矩形枠部304の上側端に、ブラケット部材BRbの係止アーム25を係止させる係止突起308が形成されている。また、円筒開口部330が形成される反対側のケース蓋300側壁には、嵌合突起306が上下2箇所に形成されている。
なお、メイン制御基板MCBの電子回路を形成する信号、電源及びグランド等の導電パターンがプリントされた配線パターン領域には、遊技機に内蔵するサブ制御基板等の他の制御回路基板、またはホッパ装置等の内蔵機器等と電気的に接続するための複数の端子を有するコネクタC1、C2、C3、C4が実装されている。図5から明らかなように、メイン制御基板MCBがケース基体200に装着された状態では、不正開放防止手段を構成する接続部材保持部210と、円筒開口部240等が設けられているケース基体200の上側壁とは対辺をなす下側壁204に近接してコネクタC3、C4を配置し、また不正離脱防止手段を構成する円筒開口部330が配置される側とは対辺をなす側壁に近接してコネクタC1、C2を配置している。
そして、ケース蓋300には、メイン制御基板MCBに実装されたそれぞれのコネクタを挿通させ、またはハーネス側コネクタを挿通させて、上述の外部機器等と電気的な接続を可能とするためのコネクタ挿通孔361、362、363、364が対応する位置にそれぞれ形成されている。すなわち、コネクタC3、C4を外部接続させるコネクタ挿通孔363、364が、不正開放防止手段を構成する角筒開口部310、円筒開口部340と対辺をなす側に形成され、コネクタC1、C2を外部接続させるコネクタ挿通孔361、362が、不正離脱防止手段を構成する円筒開口部330と対辺をなす側に形成されている。
メイン制御基板アッセンブリMCAの組み立ては、メイン制御基板MCBをケース基体200にビスにより装着し、またケース基体200のヒンジ軸受201にケース蓋300のヒンジ軸301を所定範囲の角度で嵌め込むことでケース蓋300とケース基体200とが開閉揺動自在に接続される。そして、ケース蓋300を閉じると、図4に示されるように、ケース基体200側の係止アーム202の係止孔202aとケース蓋300側の係止突起303とが係合する。このとき、ケース基体200とケース蓋300とは、それぞれの周壁の端部同士が密着して嵌合するため、メイン制御基板MCBをケース外部から針金などを使って不正にアクセスすることができなくなる。
更に、ケース基体200にケース蓋300を閉じただけでは係止アーム202がその弾性変形力により係止突起303と係止しているだけであり、これら係止状態を解除すれば容易に開放できる状態にある。そこで、ケース基体200の一方、または両方の接続部材保持部210に接続部材400を挿着し、これを介してケース蓋300の角筒開口部310と係合接続することにより、ケース基体200とケース蓋300とを離脱不能に接続して、容易には開放できない状態でメイン制御基板MCBを収容している。
かかる基板ケース部材同士を離脱不能に係合する係合手段としての不正開放防止手段について以下詳細に説明する。ここで、図7は上述の接続部材400の外観斜視図、図8はケース基体200の接続部材保持部210を拡大して表す正面図、図9は図8における接続部材保持部210の縦断面図、図10は図8における接続部材保持部210の横断面図である。
まず、図7を参照し、接続部材400は、四角筒状の角筒部410と、角筒部410の底部に連接し当該角筒部410の軸線とは直交する一の方向(図面では上下方向)を長手方向とする略直方体形状の拡幅部420とを有して、これらが硬質のプラスチックで一体的に形成されている。角筒部410は、中空で四角形の筒体411からなり、筒体411の上下の面には、一辺を残すコの字状の溝413によって画成され、夫々上下に突出する係合凸部412が形成されている。係合凸部412は、角筒部410の被挿入側にテーパ(端から拡幅部420方向に次第に外方へ突出する斜面)を有し、またコの字状の溝413により筒体411の内部に向けて弾性変形可能となっている。
拡幅部420は、角筒部410の左右方向の幅に比して拡幅された寸法を有し、更にその長手方向は角筒部410の一辺よりも長く形成されている。なお図7に示されるように、拡幅部420の前面であって、角筒部410を挟む左右の拡幅された領域面を、ここでは「拡幅面」421と呼んでいる。
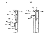
図8(a)は接続部材400を挿着する前の接続部材保持部210を拡大して示し、また図9(a)は、図8(a)に示すAv−Av線に沿う縦断面を示し、図10(a)は、図8(a)に示すAh−Ah線に沿う横断面を示している。これらの図面を参照し、接続部材保持部210は、ケースの上側壁から内部へかけて(図8及び図9においては上下方向に沿って)互いに対向する一対の案内壁部212と、案内壁部212の前方端、すなわち図示しないケース蓋(300)を臨む側の各案内壁部212の端から互いに対向するようにほぼ直角に折れ、それぞれ内方へ突出する係止凸部211とを有して形成されている。
接続部材保持部210は、上述の接続部材400を所定の位置及び姿勢で保持できるよう、接続部材400との相互の関係において各部の寸法形状が定められている。すなわち、上述の一対の案内壁部212は、接続部材400の拡幅部420の幅に相当する間隔で平行し、また係止凸部211は、ケース基体200の内方において開放するとともに、各係止凸部211の突出する長さが接続部材400の拡幅面421の幅に相当している。なお、接続部材保持部210へ接続部材400を挿入するための挿入口213が、ケース基体200の内部において、案内壁部212の端部に形成されている。
ケース蓋300を離脱不能に係合する際には、まず接続部材400が接続部材保持部210に挿着される。ここで、図8(b)は接続部材400がケース蓋の角筒開口部(310)と係合可能な所定位置に挿着された状態の、接続部材保持部210の正面外観を示し、また図9(b)は、図8(b)に示すBv−Bv線に沿う縦断面、図10(b)は、図8(b)に示すBh−Bh線に沿う横断面を示している。これらの図に示されるように、接続部材400を接続部材保持部210へ挿着するには、接続部材400の拡幅部420をその長手方向に沿ってケース基体200の内方から各案内壁部212の間(挿入口213)に挿入し、係合部410を各係止凸部211の隙間から突出させた状態でケース基体200の上側壁へとスライド移動させる。このとき、拡幅部420の両側面が各案内壁部212に挟持され摺接案内されることで、接続部材400はその姿勢(向き)を維持しながら上方の所定の位置までスライドされる。
接続部材保持部210において接続部材400が所定位置に挿着された状態では、案内壁部212の内方へせり出した係止凸部211に接続部材400の拡幅面421が当接するため、接続部材400は、ケース蓋300が離脱する方向への移動が規制されて抜け止めされた状態にある。
次に、上述の不正開放防止手段のもう一方の構成要素である、ケース蓋300側の角筒開口部310の詳細を説明する。ここで、図11(a)はケース基体200の接続部材保持部210とこれに対向する角筒開口部310の縦断面図、図11(b)は接続部材400を介して係合接続された状態を表す、接続部材保持部210と角筒開口部310の縦断面図である。
角筒開口部310は、上述したように接続部材400の角筒部410を挿入及び嵌合可能とすべく、角筒部410の寸法形状に整合して四角形の開口を有する容器状に形成され、ニッパー等の工具を用いて切断され得る連結部312を介してケース蓋300の本体に接続している。また、角筒開口部310の内壁には、角筒部410の係合凸部412と係合し得る拡径した段部である係合凹部311が上下2箇所に形成されている。また、角筒開口部310の外縁を囲むように、ケース蓋300の上側壁に囲枠部319が延設されている。
図11(b)に示されるように、ケース蓋300がケース基体200に閉じると、接続部材400の角筒部410がケース蓋300の角筒開口部310に挿入する。接続部材400の係合凸部412は、一旦、角筒部410の側面に倣うように内側に弾性変形し、係合凹部311に到達したとき元の突出状態に戻って当該係合凹部311に係合する。一方、ケース基体200側において接続部材400は、その拡幅部420が接続部材保持部210の係止凸部211に当接して抜け止めされている。このように、不正開放防止手段は、接続部材400を介してケース基体200及びケース蓋300の内部で係合し接続するので、一度この係合状態になるとこれら基板ケース部材同士を離脱することができなくなる。
かかる基板ケース部材同士を接続する不正開放防止手段によれば、連結部312を切断して角筒開口部310をケース蓋300本体から切り離さない限り、ケース蓋300とケース基体200とを開放することができないようになっている。逆に言えば、メイン制御基板MCBの動作チェック等のために基板ケース100を開放する場合には、連結部312を切断して角筒開口部310をケース本体から切り離すことが意図されている。すなわち連結部312の状態を見れば、基板ケース100が開放されたか否かを容易に確認することができるようになっている。
また、本実施形態の不正開放防止手段においては、四角筒状の角筒部410と、角筒部410よりも拡幅する略直方体の拡幅部420とを有して接続部材400を形成し、ケース基体200側において、拡幅部420の長手方向をケース基体200の上側壁に対して直交する姿勢で拡幅部420の両端を係止することにより、接続部材400を抜け止め不可に保持している。すなわち、接続部材保持部210は、ケース基体200の上側壁からケース内部方向にかけ比較的長い係止領域を設けて接続部材400の拡幅部420を保持しているので、例えばドリルを用いて不正に係止状態を解除しようとしても、ケース基体200の奥まで完全に破壊しなければ係止状態を解除することができない。
また、角筒開口部310と接続部材保持部210とを囲繞する囲枠部319をケース蓋300に設けたことにより、不正開放防止手段に対する外部からの不正なアクセスを防御し、カッターまたはドリル等を用いて係合状態を破壊する等の不正行為を更に困難にする。
更には、仮にこの係止状態が解除されるまで不正開放防止手段を破壊したとすれば、その破壊痕跡も甚大となるので、かかる不正行為の事実を容易または迅速に発見でき、これによる被害を最少限に抑えることができる。
次に、メイン制御基板アッセンブリMCAをブラケット部材BRa、BRbを介して筐体MB内に離脱不能に取り付ける不正離脱防止手段について説明する。ここで、図12はこの不正離脱防止手段に用いる接続部材500の外観斜視図、図13はブラケット部材BRbの円筒開口部24と、これに対向するケース蓋300側の円筒開口部330との構造を主に表す横断面図である。
図12を参照し、接続部材500は中空で円筒状の筒体501を有し、筒体501の両端には所定幅の切欠き溝である回転規制溝506、507が形成され、また筒体501のそれぞれの端近傍には、一辺を残すコの字状の溝503、505によって画成され径外方向に突出する係合凸部502、504がそれぞれ一対ずつ形成されている。
係合凸部502、504は、筒体501のそれぞれの端から中央に向かって次第に外方へ突出する斜面を有し、またコの字状の溝503、505により筒体501の内側に向けて弾性変形可能となっている。更に、係合凸部502、504は、それぞれの端側から見て反時計回り方向の角部が斜めに切り欠かれたテーパ面502a、504aを有している。
なお、接続部材500の両端に形成されている各回転規制溝506、507、及び各係合凸部502、504は、筒体501の円筒軸を中心に約90度位相をずらした位置関係にある。
次に図13を参照し、ブラケット部材BRbの平板部20に形成される円筒開口部24は、円筒の容器形状を有し、その内壁には、接続部材500の一方の端部が挿入された際その係合凸部504(または係合凸部502)を係合させる係合凹部24aが、対向する2箇所に拡径した段部として形成されている。また、円筒開口部24の底部内壁に突起部24bが2箇所形成されている。
ケース蓋300側の円筒開口部330は、ブラケット部材BRbに向けて開口する有底の円筒容器状を有し、連結部333を介してケース蓋300の本体と繋がっている。円筒開口部330の内壁には対向する2箇所に係合凹部331が形成され、また円筒開口部330の底部内壁には突起部332が2箇所に対向して形成されている。
メイン制御基板MCBを収容して組み立てられたメイン制御基板アッセンブリMCAを、ブラケット部材BRa、BRbを介して離脱不能に装着する手順は以下の通りである。ここで、ブラケット部材BRa、BRbは、図示しない取付ボルトをボルト孔10a、20aに挿通し遊技機の筐体背板に締着することで、予め固定されている。
まず、ブラケット部材BRbに形成されている何れかの円筒開口部24に接続部材400の一方の端部を挿入する。このとき係合凸部504は、一旦、筒体の内側に弾性変形した後、元の突出状態に戻って係合凹部24aに係合し円筒開口部24に嵌り込む。一方、ケース蓋300の側壁に形成された嵌合突起306(図6参照)をブラケット部材BRaの嵌合凹部11a(図5参照)に適度な角度で嵌合させながらケース本体をブラケット部材側へ倒し、矩形枠部304の支持孔305に支持柱部23を挿通させる。このとき、ブラケット部材BRbの円筒開口部24に挿入されている接続部材400の他方の端部が、対向するケース蓋300の円筒開口部330に挿入され、その係合凸部502が円筒開口部330の係合凹部331に係合して嵌り込む。これにより、メイン制御基板アッセンブリMCAは、ブラケット部材BRbに対し離脱不能に取り付けられる。なお、接続部材500をケース蓋300の円筒開口部330に先に嵌合させてからメイン制御基板アッセンブリMCAをブラケット部材BRa、BRbに装着してもよい。
メイン制御基板アッセンブリMCAの基板ケース本体は、ブラケット部材BRaの平板部10、側壁部11、支持台部12、及びブラケット部材BRbの平板部20、段部21aに支持され、またブラケット部材BRbの係止アーム25の係止突起25aとケース蓋300上端の係止突起308とが係止することにより、ブラケット部材BRa、BRbに対し安定して装着される(図4参照)。また、ブラケット部材BRa、BRbを筐体に固定するボルト孔10a、20aはケース基体200の背面で塞がれるため、ケース基体200を取り外さない限りブラケット部材BRa、BRbごとメイン制御基板アッセンブリMCAが遊技機の筐体から奪取されることもない。
なお、メイン制御基板MCBの検査等するためにメイン制御基板アッセンブリMCAを筐体から取り外す場合には、接続部材500が挿入された円筒開口部330の連結部333を切断し当該円筒開口部を切り離すことにより、基板ケース100をブラケット部材BRbから離脱することが可能となる。また、連結部333の切断状態を見れば、メイン制御基板アッセンブリMCAが筐体から取り外された経歴があるか否かを確認することができる。
例えば、遊技機を工場出荷するときには、複数の円筒開口部24、330のうち最も下に位置する円筒開口部に接続部材500が挿入されてメイン制御基板アッセンブリMCAが係合接続されている。そして、パチンコホール等の遊技店に遊技機を設置後メイン制御基板MCBを検査する際には、ニッパー等の工具を用いて連結部333を切断し、当該円筒開口部330をブラケット部材BRb側に残したままメイン制御基板アッセンブリMCAを筐体から取り外す。
検査をした後、メイン制御基板アッセンブリMCAをブラケット部材BRa、BRbに再び戻して装着するには、未使用の円筒開口部24、330に接続部材500を挿入して係合接続する。この際、円筒容器開口部250、350(図5参照)に格納しておいた予備の接続部材500を用いてもよいが、接続機能を失った使用済みの円筒開口部330から接続部材500を取り出して再使用してもよい。
すなわち、ブラケット部材BRb側に残された円筒開口部330を反時計回りに回転させると、接続部材500のテーパ面502a(または504a)が円筒開口部330(または24)の係合凹部331(または24a)側段部に当接し弾性変形して半径中心方向に引込むため、これらの係合状態が解除される。この状態では切り離された円筒開口部330を円筒開口部24から引き抜くことができ、内部の接続部材500を取り出すことができるようになっている。
なお、ケース蓋300の各円筒開口部330には、下から例えばA、B、C、Dと順にアルファベット文字の識別符号が付与されており、その符号が各円筒開口部に隣接してケース蓋300の前面に刻印されている。そして、上述したようにメイン制御基板アッセンブリMCAを取り外して検査をする際、再係合した円筒開口部330の識別符号と、検査日、検査担当者名、検査結果等の検査履歴をケース蓋300に貼り付けられた検査シートに書き込んで管理している。
上述したように、本実施形態のスロットマシンSMによれば、メイン制御基板MCBを収容する基板ケース100において、四角筒状の角筒部410と、該角筒部よりも拡幅する略直方体の拡幅部420とからなる接続部材400を介し、ケース基体200とケース蓋300とを離脱不能に係合接続する不正開放防止手段を備えることにより、不正な開放を効果的に防止し、仮に不正な方法で開放されたとしてもその事実を容易または迅速に発見することができる。
すなわち、ケース基体200に設けた接続部材保持部210は、ケース基体200の内部方向にかけて比較的長い係止領域を設けて接続部材400の拡幅部420を係止し保持するため、ケース背後から例えばドリル等を用いて拡幅部420を破壊し不正に係止状態を解除しようとしても、ケース基体200の奥まで完全に破壊しなければならない。したがって、かかる不正行為を完遂することは困難となる。また、角筒開口部310と接続部材保持部210とを囲繞する囲枠部319をケース蓋300に設けたことにより、不正開放防止手段に対する外部からの不正なアクセスを防御し、不正行為の完遂を更に困難にする。なお、仮にこの係止状態が解除されるまで不正開放防止手段を破壊したとすればその破壊痕跡も甚大となるので、かかる不正行為の事実を容易または迅速に発見できる。
また、外部機器等とハーネスを介して電気的に接続するためのコネクタ挿通孔363、364を不正開放防止手段の角筒開口部310側とは対辺をなす側に設け、同じくコネクタ挿通孔361、362を不正離脱防止手段の円筒開口部330側とは対辺をなす側に設けた。すなわち、コネクタ挿通孔361〜364を介してコネクタC1〜C4に接続されるハーネスは、角筒開口部310または円筒開口部330と比較的距離をおいて配置されるため、これら開口部がハーネスに重なって見え難くなるといった事態は回避される。これにより、基板ケース100の開放及び離脱の客観的な痕跡である、角筒開口部310及び円筒開口部330の切り離し状態を確実に目視することができ、不正な開放または離脱の事実発見が遅れることもないので、不正行為による被害をできるだけ抑えることができる。
なお、実施形態で説明した基板ケース100としては、スロットマシンのメイン制御基板の用途のみならず、演出を主に司るサブ制御基板等の他の制御回路基板を収容するものであってもよい。また、パチンコ機、じゃん球遊技機等のマイコンにより動作する他の遊技機に搭載される制御回路基板にも適用が可能である。
図1は従来例による基板ケースの不正開放防止手段の構造を表した縦断面図である。 図2は本発明の一実施形態によるスロットマシンの外観を表す正面図である。 図3は本発明の一実施形態によるスロットマシンの前扉を開放して筐体内の構造を表す正面図である。 図4は本発明の一実施形態によるメイン制御基板アッセンブリの外観を表す斜視図である。 図5は本発明の一実施形態によるメイン制御基板アッセンブリの構成を表す分解斜視図である。 図6は本発明の一実施形態による基板ケースを背後から見た分解斜視図である。 図7は本発明の一実施形態による不正開放防止手段に用いる接続部材の外観斜視図である。 図8は本発明の一実施形態による不正開放防止手段の接続部材保持部を拡大して表す正面図である。 図9は本発明の一実施形態による不正開放防止手段の接続部材保持部の縦断面図である。 図10は本発明の一実施形態による不正開放防止手段の接続部材保持部の横断面図である。 図11は本発明の一実施形態による不正開放防止手段の縦断面図である。 図12は本発明の一実施形態による不正離脱防止手段に用いる接続部材の外観斜視図である。 図13は本発明の一実施形態による不正離脱防止手段の横断面図である。
符号の説明
SM…スロットマシン、
FD…前扉、 MB…筐体、
UP…上部パネル部、 LP…下部パネル部、
TU…受皿ユニット、 UL…上部ランプ、 SL…サイドランプ、
SAL、SAR、SAB…演出用放音部、 FPD…液晶表示ユニット、
PU…パネルユニット、 FW…表示窓、
RU…リールユニット、 R1、R2、R3…リール、
OPT…操作卓、 STL…スタートレバー、
STB1、STB2、STB3…ストップボタン、 MEX…メダル払出口、
MCB…メイン制御基板、 MCA…メイン制御基板アッセンブリ、
HPU…ホッパ装置、 SCB…サブ制御基板、
CFL…冷陰極蛍光ランプ、 CDB…中央表示基板、
MSU…メダル選別装置、 G1、G2、G3…ガイド部材、
SPR、SPL、SPB…スピーカ、
BRa、BRb…ブラケット部材、 C1〜C4…コネクタ、
10…平板部、 10a…ボルト孔、
11…側壁部、 11a…嵌合凹部、 12…支持台部、
20…平板部、 20a…ボルト孔、 21…側壁部、 21a…段部、
22…支持台部、 23…支持柱部、
24…円筒開口部、 24a…係合凹部、 24b…突起部、
25…係止アーム、 25a…係止突起、
100…基板ケース、
200…ケース基体、
201…ヒンジ軸受、 202…係止アーム、 202a…係止孔、
203…底板、 204…下側壁、
210…接続部材保持部、 211…係止凸部、 212…案内壁部、 213…挿入口、
240…円筒開口部、 250…円筒容器開口部、
300…ケース蓋、
301…ヒンジ軸、 302…外壁、 303…係止突起、 304…矩形枠部、
305…支持孔、 306…嵌合突起、 307…内壁、 308…係止突起、
310…角筒開口部、 311…係合凹部、 312…連結部、 319…囲枠部、
330…円筒開口部、
331…係合凹部、 332…突起部、 333…連結部、
340…円筒開口部、 342…連結部、 349…囲枠部、
350…円筒容器開口部、 352…連結部、 359…囲枠部、
361、362、363、364…コネクタ挿通孔、
400…接続部材、
410…角筒部、 411…筒体、 412…係合凸部、 413…溝、
420…拡幅部、 421…拡幅面、
500…接続部材、
501…筒体、 502…係合凸部、 502a…テーパ面、 503…溝、
504…係合凸部、 504a…テーパ面、 505…溝、 506、507…回転規制溝、
900…ケース基体、 902…開口部、 902a…係合凹部、 904…連結部、
910…ケース蓋、 912…開口部、 912a…係合凹部、 914…連結部、
920…接続部材、 921…係合凸部

Claims (1)

  1. 前面側に開口を有する筐体と、該筐体に開閉可能に取り付けられ前記開口を閉塞する前扉と、所要の電子部品を装備した制御回路基板を相対向する透明な一対のケース蓋とケース基体との間に介在させて収容し接続部材により前記ケース蓋及びケース基体とを離脱不能に係合接続する基板ケースとを有する遊技機であって、
    前記制御回路基板を収容した前記基板ケースの上側壁は前記筐体の天板の内壁に近接配置され、前記基板ケースの一側壁側は前記筐体の前記前扉が取り付けられた一側板の内壁に近接配置され、前記基板ケースの前記一側壁側とは対辺をなす他側壁側は前記前扉の前記一側板とは対辺をなす他側板の内壁に近接配置され、
    前記ケース蓋及び前記ケース基体の上側壁側並びに前記ケース蓋及び前記ケース基体の各他側壁には前記接続部材を装着する開口部が形成され、
    前記ケース基体の前記上側壁とは対辺をなす下側壁側に近接する側の前記制御回路基板の配線パターン領域に外部接続用の端子を有する第1のコネクタが配置され、
    前記ケース基体の一側壁側に近接する側の前記制御回路基板の配線パターン領域に外部接続用の端子を有する第2のコネクタが配置され、
    前記ケース蓋の前記制御回路基板の前記第1のコネクタが配置される位置に対応する箇所であって、前記ケース蓋の前記下側壁に対応する側に、ハーネス側コネクタを挿通させる第1のコネクタ挿通孔が設けられ、
    前記ケース蓋の前記制御回路基板の前記第2のコネクタが配置される位置に対応する箇所であって、前記ケース蓋の前記一側壁側に対応する側に、ハーネス側コネクタを挿通させる第2のコネクタ挿通孔が設けられ、
    前記ハーネス側コネクタを介して前記制御回路基板の前記第1のコネクタに接続されるハーネスが前記第1のコネクタ挿通孔から引き出され、前記筐体の前記基板ケースの下方方向に装着された電気で動作する部品と接続され
    前記ハーネス側コネクタを介して前記制御回路基板の前記第2のコネクタに接続されるハーネスが前記第2のコネクタ挿通孔から引き出され、前記前扉の裏面側の前記基板ケースと水平方向に略同じ高さ位置に装着された電気で動作する部品と接続されている
    ことを特徴とする遊技機。
JP2005076085A 2005-03-16 2005-03-16 遊技機 Expired - Lifetime JP5327770B2 (ja)

Priority Applications (1)

Application Number Priority Date Filing Date Title
JP2005076085A JP5327770B2 (ja) 2005-03-16 2005-03-16 遊技機

Applications Claiming Priority (1)

Application Number Priority Date Filing Date Title
JP2005076085A JP5327770B2 (ja) 2005-03-16 2005-03-16 遊技機

Related Child Applications (1)

Application Number Title Priority Date Filing Date
JP2012028280A Division JP2012091035A (ja) 2012-02-13 2012-02-13 遊技機用基板ケース

Publications (2)

Publication Number Publication Date
JP2006255122A JP2006255122A (ja) 2006-09-28
JP5327770B2 true JP5327770B2 (ja) 2013-10-30

Family

ID=37094959

Family Applications (1)

Application Number Title Priority Date Filing Date
JP2005076085A Expired - Lifetime JP5327770B2 (ja) 2005-03-16 2005-03-16 遊技機

Country Status (1)

Country Link
JP (1) JP5327770B2 (ja)

Cited By (1)

* Cited by examiner, † Cited by third party
Publication number Priority date Publication date Assignee Title
JP3105153B2 (ja) 1995-07-17 2000-10-30 脇屋 洋子 浴用添加剤

Family Cites Families (10)

* Cited by examiner, † Cited by third party
Publication number Priority date Publication date Assignee Title
JP4316051B2 (ja) * 1999-06-15 2009-08-19 サミー株式会社 遊技機用の基盤ケース
JP3761420B2 (ja) * 2001-05-14 2006-03-29 株式会社サンセイアールアンドディ 遊技機
JP3658366B2 (ja) * 2001-12-07 2005-06-08 株式会社藤商事 遊技機
JP2004049428A (ja) * 2002-07-18 2004-02-19 Yamasa Kk 遊技機用制御基板ケースの封印装置
JP4227796B2 (ja) * 2002-10-29 2009-02-18 株式会社大都技研 遊技台の基板収納ケース
JP3693113B2 (ja) * 2003-03-24 2005-09-07 サミー株式会社 基板ケースの不正開放防止機構
JP4517161B2 (ja) * 2003-05-14 2010-08-04 サミー株式会社 回胴式遊技機
JP4512885B2 (ja) * 2003-05-14 2010-07-28 サミー株式会社 回胴式遊技機
JP4512884B2 (ja) * 2003-05-14 2010-07-28 サミー株式会社 回胴式遊技機
JP2005021444A (ja) * 2003-07-03 2005-01-27 Samii Kk スロットマシンの下パネル構造

Cited By (1)

* Cited by examiner, † Cited by third party
Publication number Priority date Publication date Assignee Title
JP3105153B2 (ja) 1995-07-17 2000-10-30 脇屋 洋子 浴用添加剤

Also Published As

Publication number Publication date
JP2006255122A (ja) 2006-09-28

Similar Documents

Publication Publication Date Title
JP4117296B2 (ja) 遊技機用基板ケース
JP4081097B2 (ja) 遊技機用基板ケース
JP5190851B2 (ja) 遊技機用基板ケース
JP4636537B2 (ja) 遊技機用基板ケース
JP4817357B2 (ja) 遊技機用基板ケース
JP4081096B2 (ja) 遊技機用基板ケース
JP5327770B2 (ja) 遊技機
JP4817398B2 (ja) 遊技機用基板ケース
JP3917626B2 (ja) 遊技機用制御基板アッセンブリ
JP2006255125A (ja) 遊技機用の制御基板アッセンブリ
JP4793890B2 (ja) 遊技機用基板ケース
JP4793889B2 (ja) 遊技機用基板ケース
JP4793888B2 (ja) 遊技機用基板ケース
JP2006158850A (ja) 遊技機用制御回路基板におけるコネクタ接続構造
JP2006255119A (ja) 遊技機用基板ケース
JP2014131697A (ja) 遊技機
JP2012091035A (ja) 遊技機用基板ケース
JP2011045766A (ja) 遊技機用基板ケース
JP4636534B2 (ja) 遊技機用制御基板アッセンブリ
JP2011016015A (ja) 遊技機用基板ケース
JP2011016016A (ja) 遊技機用基板ケース
JP2006158849A (ja) 遊技機用制御基板アッセンブリ
JP4878115B2 (ja) 遊技機用制御基板アッセンブリ
JP2006129895A (ja) 遊技機用制御基板アッセンブリ
JP2006129898A (ja) 遊技機用制御基板アッセンブリ

Legal Events

Date Code Title Description
A621 Written request for application examination

Free format text: JAPANESE INTERMEDIATE CODE: A621

Effective date: 20080131

RD02 Notification of acceptance of power of attorney

Free format text: JAPANESE INTERMEDIATE CODE: A7422

Effective date: 20100702

RD04 Notification of resignation of power of attorney

Free format text: JAPANESE INTERMEDIATE CODE: A7424

Effective date: 20100713

A977 Report on retrieval

Free format text: JAPANESE INTERMEDIATE CODE: A971007

Effective date: 20101006

A131 Notification of reasons for refusal

Free format text: JAPANESE INTERMEDIATE CODE: A131

Effective date: 20101008

A521 Request for written amendment filed

Free format text: JAPANESE INTERMEDIATE CODE: A523

Effective date: 20101203

A131 Notification of reasons for refusal

Free format text: JAPANESE INTERMEDIATE CODE: A131

Effective date: 20110805

A521 Request for written amendment filed

Free format text: JAPANESE INTERMEDIATE CODE: A523

Effective date: 20110922

A131 Notification of reasons for refusal

Free format text: JAPANESE INTERMEDIATE CODE: A131

Effective date: 20111213

A521 Request for written amendment filed

Free format text: JAPANESE INTERMEDIATE CODE: A523

Effective date: 20120213

A02 Decision of refusal

Free format text: JAPANESE INTERMEDIATE CODE: A02

Effective date: 20120309

A521 Request for written amendment filed

Free format text: JAPANESE INTERMEDIATE CODE: A523

Effective date: 20120607

A911 Transfer to examiner for re-examination before appeal (zenchi)

Free format text: JAPANESE INTERMEDIATE CODE: A911

Effective date: 20120615

A912 Re-examination (zenchi) completed and case transferred to appeal board

Free format text: JAPANESE INTERMEDIATE CODE: A912

Effective date: 20120713

A521 Request for written amendment filed

Free format text: JAPANESE INTERMEDIATE CODE: A523

Effective date: 20130426

A61 First payment of annual fees (during grant procedure)

Free format text: JAPANESE INTERMEDIATE CODE: A61

Effective date: 20130717

R150 Certificate of patent or registration of utility model

Ref document number: 5327770

Country of ref document: JP

Free format text: JAPANESE INTERMEDIATE CODE: R150

Free format text: JAPANESE INTERMEDIATE CODE: R150

R250 Receipt of annual fees

Free format text: JAPANESE INTERMEDIATE CODE: R250

R250 Receipt of annual fees

Free format text: JAPANESE INTERMEDIATE CODE: R250

R250 Receipt of annual fees

Free format text: JAPANESE INTERMEDIATE CODE: R250

S531 Written request for registration of change of domicile

Free format text: JAPANESE INTERMEDIATE CODE: R313531

R350 Written notification of registration of transfer

Free format text: JAPANESE INTERMEDIATE CODE: R350

R250 Receipt of annual fees

Free format text: JAPANESE INTERMEDIATE CODE: R250

R250 Receipt of annual fees

Free format text: JAPANESE INTERMEDIATE CODE: R250

R250 Receipt of annual fees

Free format text: JAPANESE INTERMEDIATE CODE: R250

R250 Receipt of annual fees

Free format text: JAPANESE INTERMEDIATE CODE: R250

R250 Receipt of annual fees

Free format text: JAPANESE INTERMEDIATE CODE: R250

R250 Receipt of annual fees

Free format text: JAPANESE INTERMEDIATE CODE: R250

EXPY Cancellation because of completion of term